Анализ оборудования для получения мезги в производстве яблочного сока
АНАЛИЗ ОБОРУДОВАНИЯ ДЛЯ ПОЛУЧЕНИЯ
МЕЗГИ В ПРОИЗВОДСТВЕ ЯБЛОЧНОГО СОКА
Е.В. Давыдова
Л.Ю. Мягкова
На сегодняшний день во всем мире возросло потребление соков. Это и не
удивительно, ведь соки очень полезны для здоровья. Особенно популярны соки на
основе яблок. Яблоко - самый полезный фрукт из всех существующих, так как
именно в яблоках комбинация полезных веществ наиболее удачна. Соки на основе
яблок являются источником витаминов, минеральных солей и других полезных
веществ и по своим пищевым и диетическим свойствам мало уступают свежим фруктам
[1]. Поэтому соки на основе яблок должны являться неотъемлемой частью
ежедневного рациона любого человека.
Основной компонент яблок - вода, которая является идеальной средой для
развития микроорганизмов. Поэтому длительное хранение и транспортировка яблок
на дальние расстояния исключены из-за того, что большая часть яблок при этих
процессах портится. Решение данной проблемы стало возможно с помощью процесса
концентрирования. Производство соков, получаемых из концентратов, получило
широкое развитие во всем мире.
Концентраты яблочного сока имеют целый ряд особенностей по сравнению с
натуральным яблочным соком. Во-первых, возможность длительного хранения
концентратов без потери полезных свойств яблок, обусловленная повышением
содержания сахаров и кислот, угнетающе действующих на жизнедеятельность
микроорганизмов. Это позволяет не только транспортировать концентраты яблочных
соков на большие расстояния, но и производить соки круглый год и создавать
резерв на годы с низким урожаем плодов. Во-вторых, за счет меньшего объема
транспортирование концентрата позволяет значительно экономить тару,
погрузочно-разгрузочные и транспортные средства. Это обусловлено тем, что путем
концентрирования содержание растворимых сухих веществ в яблочных соках можно
повысить до 70...75 % и, тем самым, уменьшить их объём по сравнению с
натуральными в 5...6 раз [2].
Яблоки, поступившие на предприятие, должны быть переработаны как можно
скорее. Короткое время их можно хранить на открытом воздухе навалом или в
горизонтальном силосе. После промежуточного хранения в силосе яблоки необходимо
доставить на мойку. На современных предприятиях наиболее эффективным является
использование гидротранспортеров или, так называемого, гидравлического конвейера
(рисунок 1).
Рисунок 1 − Технологическая схема подготовки яблок к отжиму сока:
- гидротранспортер; 2 - бункер-камнеуловитель; 3 - дозирующий
ворот-очиститель; 4 - вертикальный винтовой конвейер; 5 - подача воды для мойки
яблок; 6 - приемная воронка для сточной воды; 7 - насос для сточной воды; 8 -
трубопровод сточной воды; 9 - инспекционный конвейер; 10 - распылитель; 11 -
терочная дробилка; 12 - сборник для мезги; 13 - насос для мезги; 14 -
цилиндрическое сито; 15 - водяной резервуар; 16 - подвод воды; 17 - сборник
отходов
Принимая во внимание количество образующихся при транспортировке сточных
вод, большое значение приобретает их повторное использование. После отделения
на цилиндрическом сите перед повторным использованием вода сначала проходит
через отстойник. Потери адгезионной и пленочной воды, а также отделенная
суспендированная вода должны постоянно восполняться свежей водой.
После механизированного съема плодов с деревьев или сбора их с земли
перед дальнейшей переработкой яблоки должны быть очищены от листьев, травы и
т.п. Удаление чужеродных примесей целесообразно проводить методом
вентилирования, при котором примеси остаются в массе сырьевого материала и
удаляются из него на других фазах мойки. Эффективность мойки зависит от продолжительности,
температуры, воздействия механических средств, а также свойств моющей воды; при
этом применение моющих средств значительно увеличивает эффективность мойки.
Создание надежных и долговечных машин, обеспечивающих высокое качество
мойки яблок - одна из важнейших задач механизации и автоматизации процесса
первичной переработки яблок. Из-за больших различий в форме и размере яблок не
существует универсальной моечной машины, которая была бы пригодной для всех
видов плодов.
Анализ известных конструкций моечных машин показал, что наибольшей
производительностью обладает линейная моечная машина КУВ-1 (рисунок 2, а).
Принцип действия машины заключается в том, что яблоки, загружаемые в бункер 1,
попадают в ванну 3, заполняемую моющим раствором из патрубка 2. По транспортеру
4 яблоки поступают к душевому устройству, осуществляющему мойку яблок под
давлением. рассмотренная машина используется для слабо загрязнённого сырья,
поэтому её применение не целесообразно.

а б
Рисунок 2 − Конструкции машин для мойки яблок: а − линейная
моечная машина КУВ-1; б − моечно-встряхивающая машина КМЦ
Достаточной высокой производительностью, наименьшими габаритами и меньшей
массой обладает моечно-встряхивающая машина КМЦ (рисунок 2, б). Яблоки,
загружаемые в бункер 1, попадают на сита 5, совершающие
возвратно-поступательное движение. Орошение яблок водой осуществляется через
душевой коллектор 2. В ванне 3 предусмотрены отверстия для слива воды.
Следующим этапом процесса первичной переработки яблок является инспекция,
которая из-за огромного количества различных видов дефектов, производится
вручную. Использование инспекционных роликовых транспортеров для перемещения
яблок постоянно вращающимися роликами значительно упрощает визуальный контроль.
Измельчающие машины предназначены для размола сырья, полуфабрикатов и отходов
до очень малого размера частиц, обычно не более 12…20 мкм. Все измельчающие
машины разделены не следующие группы: дисковые (рисунок 3, а), многовалковые,
молотковые (рисунок 3, б), штифтовые, шариковые и комбинированные дробилки.


а б в
Рисунок 3 − Конструкции машин для измельчения яблок:а −
дисковая дробилка ВДР-5; б - молотковая дробилка ЛЕ-6; в - терочная дробилка
Принцип действия рассмотренных конструкций заключается в следующем. В
дисковой дробилке ВДР-5 яблоки, загружаемые в бункер 1, попадают на вращающийся
диск 2, где производится их грубое измельчение. Далее масса попадает на нижний
диск 4, который своими внутренними лопастями прижимает и окончательно
измельчает сырьё ножами. Измельченная масса под действием центробежной силы и
наружных лопастей удаляется через выгрузочный рукав 3. Молотковая дробилка ЛЕ-6
работает следующим образом. Сырьё поступает в верхнюю часть ситового цилиндра 2
в область 1. Под действием центробежной силы, возникающей при вращении молотков
3, продукт отбрасывается к внутренней поверхности цилиндра. При этом от удара и
трения растительная ткань разрушается и из нее вытекает сок. Измельчение плодов
происходит до тех пор, пока все частицы не пройдут через сито. Последние
выводятся из дробилки через конический патрубок 4.
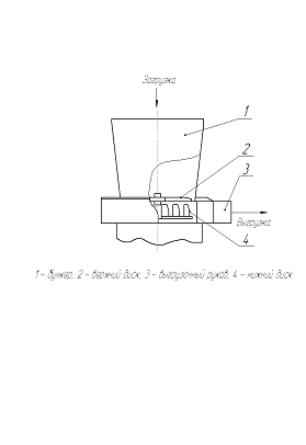
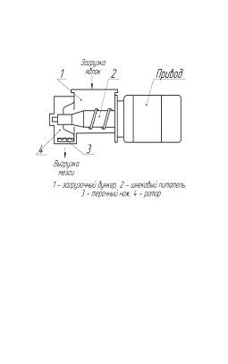
Для операции измельчения яблок наиболее широко используют терочные
дробилки (рисунок 3, в), конструкция которых оказывает решающее влияние на
эффективность отжима сока. Это обусловлено тем, что чем больше степень
измельчения, тем больше количество повреждаемых клеток, что способствует
увеличению выхода сока. Кроме того, с увеличением степени измельчения
значительно усложняется отделение сока от мякоти, а высоко содержание взвеси
приводит в конечном итоге к дополнительным затратам при осветлении сока. В
терочных дробилках возможна быстрая замена установленных зубчатых ножей
другими, с более или менее часто расположенными зубьями. Это позволяет
обеспечить оптимальную настройку машины на требуемую степень измельчения:
твердые яблоки измельчаются со средней или мелкой степенью измельчения, мягкие
- грубо. Процесс измельчения яблок в нашей стране малоизучен и требует
теоретического и экспериментального исследования.
яблоко
отжим сок дробилка
Литература
1.
Переработка продукции растительного и животного происхождения / под ред. А.В.
Богомолова и Ф.В. Перцевого. - Спб: ГИОРД, 2001. − 336 с.
. Шобингер,
У. Фруктовые и овощные соки: научные основы и технологии / под ред. А.Ю. Колеснова,
Н.Ф. Берестеня, А.В. Орещенко. − СПб: Профессия, 2004. − 640 с.