Автоматизация технологического процесса мельницы-вентилятора
Введение
В современном мире трудно
представить себе жизнь без использования топлива, причем не в первобытном
смысле - путем сжигания и только, а с максимальным использованием его теплового
потенциала. Имеется ввиду использование теплоты сгорания топлива для ведения
технологических процессов а также в энергетических установках непосредственно
или путем передачи ее с помощью промежуточного теплоносителя. Одним из самых
распространенных теплоносителей является бурый уголь и лигнит.
Бурый уголь и лигнит используется
для бытовых нужд как дешевое топливо, более эффективно его применение - в
тепловых электростанциях.
Можно долго перечислять сферы
применения бурого угля, но в нашей работе стоит цель разобраться, как получить
промышленные количества бурого угля и лигнита, как работает
мельница-вентилятор, как происходит ее автоматическое регулирование.
1. Технологическое
описание процесса и установки для размола до пылевидного состояния
.1 Описание
мельницы-вентилятора
Мельницы-вентиляторы
предназначены для размола до пылевидного состояния бурого угля и лигнита с
одновременной сушкой и транспортировкой пылегазовой смеси в системах
пылеприготовления котлов. Мельница изготавливается с левым или правым вращением
ротора.
Горение высоковлажных
топлив при недостаточно высоких температурах в топочной камере, обусловливаемых
их невысокой адиабатической температурой горения, происходит недостаточно
интенсивно, а вследствие ограниченных условий подсушки - недостаточно
устойчиво. Сжигание высоковлажных бурых углей и фрезерного торфа можно
значительно интенсифицировать глубокой подсушкой в системе пылеприготовления. В
топках с молотковыми мельницами, развивающими малый напор, нельзя отбирать газы
из топки для сушки топлива. Поэтому возможности сушки ограничиваются допустимой
температурой подогрева воздуха в воздушном подогревателе, не превышающей
практически 40СРС. В системе пылеприготовления с мельницами-вентиляторами (М-В)
в качестве сушильного агента используются продукты сгорания с температурой
900-1000°С, отбираемые из верхней части топки. Так, например, если горячим
воздухом фрезерный торф с начальной влажностью №р=50% можно сушить до
№пл=35-38%; то газами сушку можно довести до № пл = 20-25%. При поступлении на
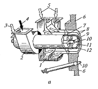
станцию более влажных торфов роль сушки увеличивается. На рис. 1.1 изображена
топка с МВ и прямым вдуванием парогенератора ПК-38 производительностью 75 кг/с
для назаровского угля. Под действием разрежения, создаваемого
мельницей-вентилятором, через газозаборное окно 2 отбираются топочные газы.
Рис. 1.1. Топка с
мельницами-вентиляторами
По газоходу 3 они
поступают в сушильную камеру 6, а затем в мельницу. В сушильную камеру в
горячее газы по течке 4 питателем 5 подается топливо. Для регулирования
температуры сушильного агента - газовоздушной смеси в газоход 3 по воздуховоду
7 подается горячий воздух. Угольная пыль в потоке отработанного сушильного
агента из мельницы-вентилятора через пылепровод 8 подается в центральный канал
вихревой горелки 9. Вторичный воздух подается в горелку через воздухопровод 10.
Мельницы-вентиляторы развивают напор в 2-2,5 кПа (200 - 250 мм вод. ст.), что
позволяет применять высоконапорные горелки. Благодаря глубокой подсушке
высоковлажного топлива топочными газами или их смесью с горячим воздухом в
топке с мельницей-вентилятором зажигание устойчивое, у корня факела температура
высокая и при сжигании фрезерного торфа достигает 900-1000°С. Рециркуляция
газов, отбираемых для сушки из верхней части топочной камеры, при сбросе отработанного
сушильного агента через горелки приводит к снижению адиабатической температуры
горения. Например, при газовой подсушке фрезерного торфа с влажностью от №р=50%
до W™=25% адиабатическая температура, подсчитанная по формуле, равняется
1600оС, тогда как при воздушной сушке, см. формулу она составляет 1690 С.
Уменьшение адиабатической температуры горения и балластирование инертными
газами снижает эффективность интенсификации процесса горения газовой сушкой
топлива. В ряде случаев эксплуатации топок при газовой сушке с повышенной
степенью рециркуляции по сравнению с работой топки при сушке топлива горячим
воздухом температура газов на выходе из топки не понижалась, а, напротив,
несколько повышалась. Поэтому применять газовую сушку следует с оптимальной
степенью рециркуляции. Для этого следует отбирать газы в меньшем количестве, но
с возможно высокой температурой и добиваться уменьшения присосов воздуха в
системе пылеприготовления, а сушку вести до оптимальной влажности пыли.
При эксплуатации топок с
прямым вдуванием ввод в топку всего организованно подаваемого воздуха и
поступающего в виде присосов в системе пылеприготовления через горелки
облегчает регулирование воздушного режима с соблюдением требуемого соотношения
«топливо - воздух».
Мельницы-вентиляторы
выпускаются различных типоразмеров и применяются для парогенераторов как малой,
так и большой производительности. Мельницы-вентиляторы как мельничный агрегат
достаточно надежны и экономичны в работе. Некоторое снижение надежности
наблюдается при их работе на фрезерном торфе из-за попадания в них
металлических предметов, поступающих вместе с торфом с торфопредприятий.
Благодаря простоте конструкции, достаточно высокой экономичности и надежности
работы, а также невысокой стоимости топки с мельницами-вентиляторами наводят
все большее применение для сжигания влажных бурых углей и фрезерного торфа.
Мельница представляет
собой агрегат, который одновременно выполняет функции мелющего механизма и
вентилятора, транспортирующего потоком воздуха готовую пыль. В верхнюю часть
газозаборной шахты поступают горячие газы, отсасываемые из топки, и
одновременно топливо, с которого снимается поверхностная влага, снижающая
температуру сушильного агента на входе в мельницу. Размол топлива производится
быстро вращающимся ротором за счет ударного и истирающего действия. Размолотое
топливо из зоны размола выносится сушильным агентом в сепаратор, где происходит
отделение из пылевоздушной смеси крупных фракций топлива и возвращение их на
домол. Конструкцией сепаратора предусмотрена регулировка тонкости готовой пыли.
Готовая угольная пыль воздушным потоком направляется по пылепроводам к горелкам
котла. Изменение вентиляционной производительности мельницы осуществляется
регулировочно-отсечным шибером, установленным на выходе из сепаратора. В силу
своих конструктивных особенностей мельница МВ проста и надежна в эксплуатации.
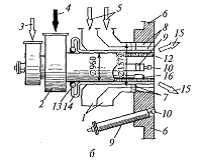
Мельница-вентилятор (МВ)
(рис. 1.2) предназначена для размола, главным образом, высоковлажных бурых
углей и фрезерного торфа. Применяют топки с МВ в котлоагрегатах средней
производительности. Мелющим органом МВ является массивная крыльчатка 1 (рис.
1.2) с частотой вращения 380… 1470 об/мин, расположенная в бронированном
корпусе б. К мельнице присоединена шахта 2, в которой происходит начальная
сушка топлива топочными газами, отсасываемыми МВ из топочной камеры. Для
охлаждения газов перед МВ до необходимой температуры используется менее горячий
воздух. Температура газовоздушной смеси перед МВ составляет 250… 330°С.
Окончательная подсушка топлива происходит в корпусе мельницы. Аэропыль из МВ
выносится в центробежный сепаратор 4, в котором крупные частицы отделяются от
готовой пыли и снова попадают по течке 5 в мельницу. Готовая пыль по ступает по
пылепроводу 3 к горелкам.
1 - крыльчатка; 2 -
сушильная наклонная шахта; 3 - пылепровод к горелкам; 4 центробежный сепаратор;
5 - течка для возврата крупных фракций топлива; б - бронированный корпус
Рисунок 1.2
Мельница-вентилятор
Системы пылеприготовления
с МВ компактны и просты по конструктивному оформлению, имеют низкие капитальные
затраты и несложны для обслуживания.
1.2 Описание основных
элементов мельницы-вентилятора
Для сжигания пылевидного
топлива применяют круглые и щелевые горелки. Они размещаются фронтально - на
передней стенке, встречно - на боковых стенках, а также по углам топки. Для
фронтального и встречного расположения применяют круглые турбулентные горелки,
создающие короткий факел.
Схемы турбулентных
пылевых горелок ЦКТИ-ТКЗ приведены на рисунке 1.4. В этих горелках
пылевоздушная смесь вводится в топку через кольцевой канал и затем поток ее
расходится в топочном объеме в виде полого конуса. Двигаясь в глубину,
воздушный поток захватывает и подсасывает часть топочных газов (рис. 1.5),
вследствие чего внутри объема, ограниченного конусообразным потоком, возникает
разрежение, тем большее, чем больше скорость движения потока. Этим
обеспечивается устойчивое и непрерывное движение газов высокой температуры из
глубины топочной камеры к внутренней Поверхности конусообразного потока
пылевоздушной смеси. Воспламенение угольной пыли под воздействием подведенной с
газами теплоты возникает на внутренней поверхности пылевоздушного потока и
распространяется в глубь его.

Рисунок 1.3 Турбулентные
пылевые горелки ЦКТИ-ТКЗ:
а - пылеугольная; б -
пылегазовая; 1 - короб вторичного воздуха; 2 - улитка первичного воздуха; 3 -
подача воздуха по осевому каналу; 4 - подача пылевоздушной смеси (аэросмеси); 5
- подача вторичного воздуха; 6 - обмуровка котла; 7 - завихривающие лопатки
вторичного воздуха; 8 - два кольцевых канала вторичного воздуха; 9 - труба для
мазутной форсунки; 10 - мазутная форсунка механического распыливания; 11 - осевой
канал для воздуха; 12 - кольцевой канал для выхода аэросмеси в топочную камеру;
13 - кольцевой короб для подачи газа; 14 - труба подачи газа; 15 - выход газа в
топочную камеру; 16 - газовый электрозапальник
Рисунок 1.4 Схема
смесеобразования на выходе из круглой горелки:
I
- пылевоздушная смесь; II
- вторичный воздух
2. Требования,
предъявляемые к разрабатываемой системе управления
.1 Цель создания
автоматизированной системы управления производством
До начала внедрения
автоматизированной системы управления М-В, обеспечивающая подготовку и подачу
топочных газов к котлу, регулирование технологическим процессом шло в ручном
режиме, поэтому при отработке системы управления основной задачей являлось
получение стабильно расхода к горелкам и регулирование скорости приводного вала
дробящего механизма, т.к. большая часть нагрузки ложиться именно на него.
Целью создания АСУТП
является повышение технико-экономических показателей работы предприятия за
счет:
- Оперативного получения
информации о ходе технологического процесса и принятия на его основе
обоснованных решений по стратегии управления;
- Ведения технологических
процессов в режимах близких к оптимальным;
- Качественного цифрового
регулирования;
- Применения эффективных
алгоритмов управления и современных средств автоматизации;
- Сокращения расходов,
связанных с производственными потерями;
- Улучшения условий работы
обслуживающего персонала.
2.2 Выполняемые функции
Для реализации поставленной цели АСУ
ТП должна выполнять следующие функции:
- Сбор и хранение
информации;
- Сигнализация и
регистрация нарушений норм технологического режима;
- Отображение информации о
технологическом процессе на мониторе ПК;
- Автоматическое
регулирование технологических параметров;
- Программно-логическое
управление;
- Оперативное управление
технологическими процессами;
- Регистрация и
документирование предаварийных и аварийных ситуаций;
- Формирование рапортов и
журналов;
- Получение предыстории
развития технологических параметров за длительное время в виде трендов,
графиков, таблиц;
- Контроль действий
оператора;
- Защита от
несанкционированного доступа к функциям системы.
2.3 Основные
технологические требования, к системам СПБТ И АСУ
Основные технологические требования,
предъявляемые к системам СПБТ И АСУ процесса ППТГ с МВ, определяются
необходимостью поддержания заданного диапазона температур пылевидного топлива и
расхода топочного газа, что накладывает высокие требования к точности приборов
измерения и исполнительных механизмов.
Основные требования, предъявляемые к
системе СПБТ И АСУ, характеризуются необходимостью по определенной программе,
обусловленной технологическими требованиями, изменять и стабилизировать
температурный режим процесса, а также расход топливного газа.
АСУ ТП ППТГ (подготовки и подачи
топочных газов) с М-В должна обеспечивать:
стабилизацию режимов ППТГ и
обеспечение стабильного расхода топочного газа с заданными характеристиками при
минимальных затратах энергетических и сырьевых ресурсов;
замену устаревшего контрольно-измерительного
и регулирующего оборудования;
повышения надёжности работы ППТГ;
создания автоматизированных средств
предупреждения нештатных и аварийных ситуаций;
создания благоприятных условий труда
для обслуживающего персонала.
На уровне управляющих контроллеров
должны быть предусмотрены средства противоаварийной автоматической защиты
(ПАЗ).
Для обеспечения повышенной
отказоустойчивости аппаратного комплекса в систему должны быть включены
средства дублирования электропитания и управляющей аппаратуры.
2.4 Определение
требований к системе
Система мельница-вентилятор (МВ)
должна обеспечивать: полностью автоматизированное управление размолом бурого
угля и лигнита, сушкой и транспортировкой.
Системы пылеприготовления (СПП) с
мельницами-вентиляторами находят широкое применение на котлах энергоблоков,
работающих на бурых и взрывоопасных углях, а также на фрезерном топливе. С
помощью мельниц-вентиляторов (М-В) производится размол топлива, сушка топлива и
транспорт готовой угольной пыли к горелкам котла. При этом система
пылеприготовления должна обеспечить подготовку топлива высокого качества,
гарантировать экономичность процесса сжигания топлива в заданных режимах работы
котла, иметь высокую надежность и экономичность при минимальных капитальных и
эксплуатационных затратах.
В настоящее время практическое
применение находят системы пылеприготовления с мельницами-вентиляторами,
имеющими постоянные обороты приводного вала, контролируемые программируемым
датчиком измерения скоростей вращения.
При выборе электропривода для
мельницы-вентилятора необходимо учитывать, что системы пылеприготовления с
мельницами-вентиляторами относятся к взрывоопасным установкам и управление
температурным режимом на установке осуществляется с помощью программируемых
датчиков, которые в случае необходимости обеспечивают быструю остановку ротора
мельницы-вентилятора при возникновении опасности взрыва угольной пыли.
3. Разработка
математической модели объекта атоматизации
.1 Алгоритм работы АСУ
подготовки и подачи топливного газа с МВ
Мельница-вентилятор (МВ)
предназначена для размола, главным образом, высоковлажных бурых углей и
фрезерного торфа. Применяют топки с МВ в котлоагрегатах средней
производительности. Мелющим органом МВ является массивная крыльчатка 1 с
частотой вращения 380… 1470 об/мин, расположенная в бронированном корпусе б. К
мельнице присоединена шахта 2, в которой происходит начальная сушка топлива
топочными газами, отсасываемыми МВ из топочной камеры для охлаждения газов
перед МВ до необходимой температуры используется менее горячий воздух.
Температура газовоздушной смеси перед МВ составляет 250… 330°С. Окончательная
подсушка топлива происходит в корпусе мельницы. Аэропыль из МВ выносится в
центробежный сепаратор 4, в котором крупные частицы отделяются от готовой пыли
и снова попадают по течке 5в мельницу. Готовая пыль по ступает по пылепроводу 3
к горелкам.
.2 Разработка
математической модели процесса регулирования расхода топочного газа
Поддержание номинального значения
расхода топочного газа (150м3/ч) значительно влияет на сушильную
способность системы.
Для разработки математической модели
процесса регулирования расхода газа, составим контур регулирования и опишем
в виде передаточных функций все элементы, участвующие в этом процессе.
1.
- ПФ
тиристорного преобразователя (3.1)
Где:
kТП - коэффициент передачи тиристорного преобразователя;
ТТП - постоянная времени тиристорного преобразователя.
Подставляем значения:
(3.2)
ТТП =
0.01 (с) (3.3)
Подставив полученные данные в ПФ,
получаем:
|
(3.4)
|
|
2.
- ПФ электродвигателя
(3.5)
где:
kЭД - коэффициент передачи электродвигателя;
ТЭ - электромеханическая постоянная времени;
ТМ - электромагнитная постоянная времени.
Подставляем значения:
(3.6)
ТЭ =
0.005 (с) (3.7)
ТМ
= 0.02 (с) (3.8)
Подставив полученные данные в ПФ,
получаем:
(3.9)
3.
- ПФ центробежного сепаратора (3.10)
где:
kЦС - коэффициент передачи центробежного сепаратора;
ТЦС - постоянная времени центробежного сепаратора;
ф - время сушения и дробления (время
выхода) (5 с).
Подставляем значения:
(3.11)
(с) (3.12)
Подставив полученные данные в ПФ,
получаем:
(3.13)
.
- ПФ датчика расхода
(3.14)
где:
kД
- коэффициент передачи датчика расхода
Подставляем значения:
(3.15)
Подставив полученные
данные в ПФ, получаем:
(3.16)
.3 Расчет системы
управления регулирования расхода топочными газами
После того как были описаны
все передаточные функции узлов регулируемого контура и рассчитаны все
коэффициенты и постоянные времени можно приступить к проверке работы нашей
системы. Определим ПФ разомкнутой исходной системы:
(3.17)
(3.18)
Занесем ПФ разомкнутой
исходной системы в MATLAB:
>>
W=zpk([], [0, - 100, - 100, - 100, - 5], 32.9/(0.01*0.01*0.01*0.2))/pole/gain:
164500000
s
(s+100)^3 (s+5)
(3.19)
Для определения переходного процесса
найдем ПФ замкнутой исходной системы:
>> F=feedback (W,
1)/pole/gain:
164500000
(s+122.5) (s^2 + 0.2788s + 150.2) (s^2 + 182.2s + 8941)
Для определения времени
установившегося процесса после подачи единичного ступенчатого воздействия,
строим переходную характеристику замкнутой системы:
>> step(F)
Рис. 3.2 - переходный процесс
исходной замкнутой системы
Как видно, процесс является
сходящимся, следовательно процесс устойчив. Время переходного процесса 40 с.
Перерегулирование составляет 44%, что не удовлетворяет требованиям нашей
системы.
Для улучшения характеристик исходной
замкнутой системы необходимо ввести корректирующее звено (регулятор), вид
которого будет зависеть от ПФ желаемой системы.
Желаемая ПФ строится исходя из ЛАЧХ
исходной ПФ.
Желаемая ПФ передаточная функция
имеет вид:
(3.20)
Занесем ПФ разомкнутой
желаемой системы в MATLAB:
>>
Wzh=zpk([], [0, - 100, - 100, - 100,], 46.47/(0.01*0.01*0.01))/pole/gain:
46470000
s
(s+100)^3
(3.21)
Найдем ПФ замкнутой
желаемой системы:
>>
Fzh=feedback (Wzh, 1)/pole/gain:
(s^2 + 18.68s
+ 2047) (s^2 + 281.3s
+ 2.27e004)
Переходная
характеристика желаемой системы представлена на рис. 3.3.
>> step(Fzh)
Рис. 3.3 - переходный
процесс желаемой системы.
Исходя из ЛАЧХ исходной
и желаемой системы, получим ПФ корректирующего устройства:
(3.22)
Запишем ПФ регулятора в
MATLAB:
>>
Wk=zpk([-5, - 100], [], 1.41*0.2*0.01)/pole/gain:
0.00282 (s+5) (s+100)
Найдем разомкнутую ПФ
скорректированной системы:
>>
Wck=W*Wk/pole/gain:
463890 (s+5) (s+100)
s
(s+100)^3 (s+5)
После сокращения ПФ
имеет вид:
(3.23)
Найдем ПФ замкнутой
скорректированной системы:
>> Fck=feedback
(Wck, 1)/pole/gain:
463890 (s+100) (s+5)
(s+154.8) (s+100) (s+5) (s^2 + 45.25s + 2998)
Переходный процесс скорректированной
системы имеет вид:
Рис. 3.4 - переходный процесс
скорректированной системы
Время переходного процесса и
перерегулирование составляют: 0.35 с и 18% соответственно, что удовлетворяет
условиям нашей системы.
Заключение
Для реализации поставленной цели был
проведен анализ технологического процесса, с учетом которого спроектирована
данная система управления. На основе проекта была разработана АСУ ТП подготовки
и подачи топливного газа с МВ.
Результатом выполненной работы стала
математическая модель удовлетворяющая требованиям, предъявляемые к нашей
системы.
Основным средством расчета
математической модели является пакет MATLAB.
Библиографический список
1. Бенькович Е.С.
Практическое моделирование динамических систем: Учеб. Пособие для вузов. СПб.:
БХВ - Петербург, 2002. -464 с: ил.
. Панько М.А. Расчет и
моделирование автоматических систем регулирования в среде Mathcad. - М.: Изд-во
МЭИ, 2001. - 92 с.
. Семенов А.С.
Информационные технологии: Объектно-ориентированное моделирование: Учеб. пособие
для вузов. М.: МГТУ «Станкин», 2000. - 82 с: ил.
. Фридман А.Л. Основы
объектно-ориентированной разработки программных систем М.: Финансы и
статистика. 2000. - 192 с: ил.