Автоматизация горелочных устройств парового котла

  • Вид работы:
    Дипломная (ВКР)
  • Предмет:
    Другое
  • Язык:
    Русский
    ,
    Формат файла:
    MS Word
    69,6 Кб
  • Опубликовано:
    2013-05-31
Вы можете узнать стоимость помощи в написании студенческой работы.
Помощь в написании работы, которую точно примут!

Автоматизация горелочных устройств парового котла

Введение

Автоматизация это применение комплекса средств, позволяющих осуществлять производственные процессы без непосредственного участия человека, но под его контролем. Автоматизация производственных процессов приводит к увеличению выпуска, снижению себестоимости и улучшению качества продукции, уменьшает численность обслуживающего персонала, повышает надежность и долговечность машин, дает экономию материалов, улучшает условия труда и техники безопасности. Автоматизация освобождает человека от необходимости непосредственного управления механизмами. В автоматизированном процессе производства роль человека сводится к наладке, регулировке, обслуживании средств автоматизации и наблюдению за их действием. Если автоматизация облегчает физический труд человека, то автоматизация имеет цель облегчить так же и умственный труд. По уровню автоматизации теплоэнергетика занимает одно из ведущих мест среди других отраслей промышленности. Теплоэнергетические установки характеризуются непрерывностью протекающих в них процессов. При этом выработка тепловой и электрической энергии в любой момент времени должна соответствовать потреблению (нагрузке). Почти все операции на теплоэнергетических установках механизированы, а переходные процессы в них развиваются сравнительно быстро. Этим объясняется высокое развитие автоматизации в тепловой энергетике. Автоматизация параметров дает значительные преимущества т.е.

) повышение производительности труда,

) приводит к изменению характера труда обслуживающего персонала,

) увеличивает точность поддержания параметров,

) повышает безопасность труда и надежность работы оборудования,

) увеличивает экономичность работы парогенератора.

Автоматизация котла включает в себя автоматическое регулирование, дистанционное управление, технологическую защиту, технологические блокировки и сигнализацию. Автоматическое регулирование обеспечивает ход непрерывно протекающих процессов питание водой, горение, перегрев пара и др. Дистанционное управление позволяет дежурному персоналу пускать и останавливать установку, а так же переключать и регулировать ее механизмы на расстоянии, с пульта, где сосредоточены устройства управления.

Теплотехнический контроль за работой оборудования осуществляется с помощью показывающих и самопишущих приборов, действующих автоматически. Датчики ведут непрерывный контроль процессов, протекающих в установке, или же подключаются к объекту измерения обслуживающим персоналом или информационно-вычислительной машиной. Технологические блокировки выполняют в заданной последовательности ряд операций при пусках и остановках механизмов установки, а так же в случаях срабатывания технологической защиты. Блокировки исключают неправильные операции при обслуживании установки, обеспечивают отключение в необходимой последовательности оборудования при возникновении аварии. Устройства технологической сигнализации информируют персонал о состоянии оборудования (в работе, остановлено и т.п.), предупреждают о приближении параметра к опасному значению, сообщают о возникновении аварийного состояния парогенератора и его оборудования. Применяются звуковая и световая сигнализация. Эксплуатация котла должна обеспечивать надежную и эффективную выработку пара требуемых параметров и безопасные условия труда персонала. Для выполнения этих требований эксплуатация должна вестись в точном соответствии с законоположениями, правилами, нормами и руководящими указаниями, в частности, в соответствии с «Правилами устройства и безопасной эксплуатации паровых котлов» Госгортехнадзора

«Правилами технической эксплуатации электрических станций и сетей», «Правилами технической эксплуатации теплоиспользующих установок и тепловых сетей» и др. На основе указанных материалов для каждой котельной установки должны быть составлены должностные и технологические инструкции по обслуживанию оборудования, ремонту, технике безопасности, предупреждению и ликвидации аварий и т.п. Должны быть составлены технические паспорта на оборудование, исполнительные, оперативные и технологические схемы трубопроводов различного назначения. Знание инструкций, режимных карт работы котла и указанных материалов является обязательным для персонала. Эксплуатация котлов производится по производственным заданиям, составляемым по планам и графикам выработки пара, расхода топлива, расхода электроэнергии на собственные нужды, обязательно ведется оперативный журнал, в который заносятся распоряжения руководителя и записи дежурного персонала о работе оборудования, а так же ремонтную книгу, в которую записывают сведения о замеченных дефектах и мероприятиях по их устранению. Должны вестись первичная отчетность, состоящая из суточных ведомостей по работе агрегатов и записей регистрирующих приборов и вторичная отчетность, включающая обобщенные данные по котлам за определенный период. Каждому котлу присваивается свой номер, все коммуникации окрашиваются в определенный условный цвет, установленный ГОСТом. Установка котлов в помещении должна соответствовать правилам Госгортехнадзора, требованиям техники безопасности, санитарно-техническим нормам, требованиям пожарной безопасности.

1. Обзор патентно-технической литературы

Обоснование важность и перспективы совершенствования огневых технологий в частности путем применения новой электроогневой технологии чистого сжигания любых веществ и газов с использованием электрических полей в качестве катализатора горения. Рассмотрено применение технологии в теплоэнергетике, тепловых двигателях транспорта, установках огневой утилизации отходов и др. Показано, что новая технология позволяет не только интенсифицировать процессы горения, но и повысить их управляемость (температуры, градиента теплопроводности, давление газов и прочее). Делается вывод о ее перспективности при решении острейших энергетических и экологических проблем цивилизации. Острота экологических проблем в мире нарастает, грозя перерасти в глобальную экологическую катастрофу. Главной причиной загрязнения атмосферы в больших городах является в первую очередь несовершенство огневых технологий (теплоэнергетики, тепловых машин, двигателей транспорта, сжигание отходов). Уже доказано, что их вклад в загрязнение атмосферы планеты приближается к 70-80%. Под огневыми технологиями понимают любые технологии сжигания топлива, веществ, газов.

Огневые технологии наиболее распространены в мире, без них немыслима современная цивилизация. Теплоэнергетика и транспорт, металлургия и пищевая промышленность, нефтегазоперерабатывающая и химическая промышленность, огневое обезвреживание отходов вот далеко не полный перечень использования огневых технологий. До тех пор, пока человечество не усовершенствует огневые технологии, глобальные экологические проблемы решить невозможно. Описана и раскрыта сущность новой технологии экологически чистого и эффективного видов топлива и отходов. Почему экологам трудно защитить природу современная методология и технология решения экологических проблем состоит в анализе степени и источников загрязнения окружающей среды (экологический мониторинг), а также в очистке атмосферы, воды и почвы от токсичных компонент в случае превышения в них предельно допустимых концентраций токсичных веществ. К сожалению, в настоящее время методы измерения огромного спектра токсичных веществ, выделяемых в атмосферу при горении веществ, а тем более методы их утилизации, объективно сложны, дороги и несовершенны. Даже использование идеальной техники для измерения загрязнения атмосферы продуктами горения является неэффективным, поскольку это уже борьба со следствиями несовершенства огневых и других технологий, а не с причинами загрязнения атмосферы. Экологическая и энергетическая эффективность известных огневых технологий известно, что на данный момент реальная эффективность преобразования химической энергии топлива в процессе горения остается низкой (например, в тепловых двигателях она составляет не более 25%, а эффективность преобразования тепловой энергии в электроэнергию на теплоэлектростанциях не превышает 40%). Если же учесть затраты энергии на добычу, переработку и доставку топлива потребителям, то суммарный КПД существующих огневых технологий (тепловых машин и установок) составит не более 10-15%! Это означает, что более половины химической энергии топлива переходит в тепло и в разнообразные токсичные вещества и отходящие газы, которые отравляют атмосферу планеты и создают кислотные осадки, глобальный «парниковый» эффект, грозящий потеплением климата, вселенский потопом и окончательным отравлением живой природы. Таким образом, вклад несовершенной энергетики в загрязнение природы составляет 70-80%! Как очистить атмосферу планеты, особенно мегаполисов мира, когда из выхлопных труб транспорта и дымовых труб производственных предприятий вылетают вещества и газы с химическим составом, превышающим половину таблицы Менделеева, и в количествах, которые уже сопоставимы с объемами оставшегося чистого воздуха планеты до тех пор, пока человечество не научится эффективно и экологически чисто сжигать вещества и газы, атмосфера планеты будет грязной и в недалеком будущем непригодной для жизни.

1.1 Физическая сущность и проблемы классического горения веществ

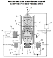
Горение это одно из самых сложных известных человеку явлений. С научной точки зрения, горение это цепная реакция последовательного дробления частиц топлива на все более мелкие заряженные радикалы, это и физико-химические процессы преобразования химической энергии межмолекулярных связей, это и физические процессы преобразования энергии на молекулярном и атомном уровнях в тепло и свет, а также многие другие процессы, протекающие одновременно. Со школьной скамьи известно, что горение это процесс взаимодействия топлива с окислителем, сопровождающийся выделением тепловой и световой энергии. В высшей школе добавляют к этому определению следующее: «…а также скрытой энергии химических связей отходящих газов». Процессы горения изучают и совершенствуют ученые и специалисты самых различных профилей (химики, физики, теплоэнергетики, теплофизики и т.д.). Известны фундаментальные исследования цепных реакций горения, проведенные русскими учеными Н.Н. Семеновым, Я.Б. Зельдовичем и их последователями. В настоящее время интенсивность горения топлива повышают преимущественно посредством воздушного дутья в зону горения, т.е. заведомо увеличивают объем отходящих токсичных газов в атмосферу. Зададим несколько наивных на первый взгляд вопросов. Зачем вообще нужен для горения веществ окислитель (воздух или кислород) можно ли вообще обойтись без традиционного окислителя как начинается и происходит процесс горения неясных вопросов в физике горения очень много. Как, например, регулировать температуру и интенсивность горения можно ли управлять теплопроводностью пламени как упорядочить тепловое движение частиц в пламени и в нагретых отходящих газах, и к чему это приведет, есть и еще одна проблема горения это сами углеводородные топлива, используемые в современных тепловых процессах. Еще великий русский ученый Д.И. Менделеев афористически утверждал, что использовать нефть все равно, что топить печь денежными ассигнациями. Поскольку углеводородные топлива являются сложными химическими веществами, а процессы горения пока несовершенны, то в процессе их горения образуется целый «букет» других попутных веществ и токсичных газов, которые бесцельно уносят неиспользованную внутреннюю энергию топлива в атмосферу и отравляют нашу планету. Известно, что идеальное топливо это водород, так как горение водорода в кислороде является практически идеально чистым. Однако, в настоящее время, технология получения водорода и кислорода остается дорогостоящей, а процесс горения водорода взрывоопасным. Поэтому водородные тепловые машины и технологии не нашли массового применения, а в качестве топлива по-прежнему повсеместно применяют органические вещества и газы. Физическая сущность новой электроогневой технологии. Каким же образом, можно сжечь углеводородное топливо экологически чисто? И как реализовать на практике такую экологически чистую огневую технологию? Краткий ответ таков: необходимо создать такие условия горения органического топлива, ввести такой катализатор горения, при которых энергия химических межмолекулярных и внутримолекулярных связей органического топлива практически полностью высвобождается и превращается в энергию электромагнитного излучения, например, в световую и тепловую энергию без образования промежуточных экологически вредных веществ и газов. После этого рабочее тело (например, воду) эффективно нагревают данным направленным и сконцентрированным электромагнитным излучением с использованием эффектов отражения и концентрации электромагнитных волн либо превращают электромагнитное излучение непосредственно в электроэнергию. В этом случае возникает новая возможность регулировать температуру пламени и предельно снизить объем окислителя, т.е. создать горение органики при минимальном объеме отходящих газов. Возможно ли в принципе такое «чистое» горение органических веществ и газов c использованием электрического поля в качестве «катализатора» да, возможно, но при правильно выбранных параметрах этого поля, точнее, если правильно «приручить» гигантские кулоновские силы электрического поля, путем взаимодействия электрически заряженных частиц топлива, окислителя с силовыми линиями электрического поля. Один из вариантов экспериментальной установки показан на рисунок 1.1

Рисунок 1.1 - Вариант экспериментальной установки

Блок-схема экспериментальной установки для исследования новой электроогневой технологии показана на рисунке 1.1, установка содержит корпус (1) с электроизолированными от корпуса плоскими электродами (2), (они могут быть размещены как в горизонтальной, так и в вертикальной плоскости). Электроды (2) размещены на противоположных внутренних стенах камеры горения (3). Устройство снабжено смесителем (4) с устройством подачи (5) топливной смеси в зону горения. Одновременно устройство (5) выполняет функции электрического воспламенения смеси. Описываемое устройство снабжено воздушным трактом (6), содержащим активизатор окислителя (7), который присоединен по цепи управления к регулятору (8) (управление степени активизации окислителя), а воздуховодом (9) к смесителю (4). На конце воздуховода возможно размещение вихревого устройства (на рисунке не показано). Устройство снабжено также топливным трактом (10), содержащим активизатор топлива (11) и регулятор (12) активизатора и расхода топлива, причем, блок (11) присоединен топливопроводном к смесителю (4). Устройство снабжено электрическим активизатором горения (14), который содержит высоковольтный преобразователь (15) напряжения и частоты, присоединенный по цепи управления к своему регулятору (16). Электрический выход блока (15) присоединен к одному из электродов (2), а второй выход надежно электрически заземлен контуром заземления (17). Высоковольтный провод с выхода блока (15) присоединен к электроду (2) через проходной электроизолятор (не показан на рисунке 1а). Устройство снабжено датчиком токсичности газов (18), присоединенным на вход оптимизатора режима (19), который является системой управления для взаимосвязанного регулирования всех параметров горения. Для этого выход оптимизатора режима (19) присоединен на входы управления регуляторов (8), (12), (16). Устройство работает следующим образом. Вначале подают активизированные окислитель О1 через воздушный тракт (6), активизатор (7) и воздуховод (9) в смеситель (4), затем подают в тот же смеситель (4) активизированное топливо Т1 через топливный тракт (10) и активизатор (11). В смесителе (4) готовят топливную смесь, которую распыляют и одновременно воспламеняют искрой от блока (5). В камере горения (3) пламя и отходящие газы обрабатывают сильным переменным электрическим полем, образованным от блока (14) в зазоре между электродами (2). В процессе горения пламени измеряют токсичность отходящих газов специальным датчиком токсичности (18). В зависимости от текущей токсичности взаимосвязано регулируют посредством оптимизатора режима (19) параметры горения пламени. Конкретно, через регулятор (6) изменяют расход окислителя и степень его активизации, через регулятор (12) изменяют расход топлива и степень его активизации, а через регулятор (16) изменяют напряженность и частоту переменного электрического поля от блока (14) в камере горения (2). Отметим, что электрическое поле в камере горения (3), конкретнее, в зазоре между электродами (2), каталитически воздействует не только на факел пламени, но и на отходящие газы. Сущность этого процесса состоит в том, что ускоряются процессы дробления и окисления радикалов топлива и молекул токсичных окислов, причем, чем выше напряженность этого поля и его частота, тем выше интенсивность горения и очистки токсичных газов. В результате взаимосвязанного регулирования всех перечисленных выше параметров достигается более полное и интенсивное «чистое» сжигание любого топлива.

1.2 Особенности применения окислителей в новой технологии

Из термодинамики и теории горения известно, что в обычном процессе горения оптимальное соотношение массы окислителя, например, воздуха и топлива составляет примерно 16:1. В наших опытах с электрополевым катализатором экологически чистое горение углеводородного топлива (мазута, солярки) достигалось и при дефиците окислителя (например, при соотношении массы окислителя и топлива 1:1). Для практиков это означает, что имеется реальная возможность снижения объема отходящих газов любых тепловых машин в 10-15 раз при сохранении их прежней мощности. При этом, как показывают опыты, из состава отходящих газов вообще устранялись сажа и углеводороды. Окиси углерода, азота в опытах снижались в 4-8 раз, а светимость пламени увеличивалась в 5-10 раз. Данные проведенных экспериментов, по сути, подтверждают гипотезу о возможности эффективного экологически чистого горения как процесса прямого преобразования химической энергии органического топлива в энергию электромагнитного излучения факела пламени (включая тепловой и оптический диапазоны). В процессе горения происходит устранение экологически вредных токсичных компонент в отходящих газах в результате многократной интенсификации процесса горения под действием электромагнитных катализаторов. Введенные в электроогневую технологию операции по регулируемой активизации окислителей топлива обеспечивают дополнительное улучшение процесса горения, особенно при сжигании тяжелых топлив и водотопливных эмульсий, что проверено нами экспериментально. Особенно эффективным является совместное воздействие на процесс горения путем обработки пламени сжигаемой активизированной топливной смеси с помощью переменного электрического поля. Благодаря введению операции регулирования всех параметров горения (расхода топлива, окислителя, степени их активизации и интенсивности горения), по информации о токсичности выходных отходящих газов удается достичь эффективного горения практически всех известных топлив и отходов. Наши опыты также доказывают эффективность сочетания операций обработки самого пламени, отходящих газов и воздуха (окислителя) переменным электрическим полем. Сущность такой дополнительной очистки отходящих газов состоит в дроблении частиц сажи и дымности электрическими силами переменного поля, а также в доокислении некоторых токсичных окислов в среде озонированного окислителя. Поперечного вращающегося электрического поля, изменение высоты факела пламени осуществляли с использованием продольного электрического поля. Проведенное нами исследование убедительно доказывает, что именно электрическое поле, прямо воздействующее на пламя, и эмиссия потока электронов (идеальный тип окислителя) в пламя могут наиболее эффективно интенсифицировать процесс горения и сделать его экологически чистым и безвредным для человека и для окружающей среды. Энергозатраты на активизацию горения пламени сильными электрическими полями малы и не превышают 1-3 процентов от тепловой энергии факела пламени. Достоинством данного изобретения является универсальность его применения при сжигании любых горючих веществ, что обусловлено расширением диапазона регулирования параметров электрического поля (напряженности и частоты), особенно в режиме их взаимосвязанного регулирования. Сущность каталитического воздействия переменного электрического поля на процесс горения пламени состоит в эффективном разрыве дипольных радикалов топлива активизированным (дипольным) окислителем, а также в лучшем перемешивании слоев горящего пламени с окислителем, благодаря устранению двойного электрического слоя на границе факела пламени. Таким образом, данное техническое решение благодаря своим существенным отличиям от аналогов позволяет достичь новых положительных эффектов. Становится возможным расширение сферы применения известного электроогневого способа на процессы сжигания любых горючих веществ. Кроме того, существенно повышается управляемость процесса горения пламени. Отметим также, что в опытах по сжиганию органических топлив в сильных электрических полях регулирование температуры факела пламени и его светимости достигалось при неизменном расходе топлива и окислителя, путем изменения параметров электрополевого катализатора горения (напряженности и частоты) продольного электрического (электромагнитного) поля. Вращение и стабилизацию факела пламени получали с помощью. Кроме того, экспериментально доказано, что энергозатраты, требуемые на создание и регулирование этого электрического поля и потока электронов, необходимых для интенсификации и экологизации горения, весьма малы по сравнению с энергией горения и составляют доли процента от энергии пламени. Таким образом, как ни парадоксально, наши опыты убедительно доказывают, что лучшие «окислители» и катализаторы горения это не избыточный воздух и кислород, а электрон и электрическое поле. Электрическое поле может служить не только эффективным катализатором горения, но и регулятором его интенсивности, кроме того, оно может управлять даже вектором теплопроводности. Опытами доказано, что можно регулировать параметры этого поля, а также управлять температурой пламени и градиентом теплопроводности пламени. Интересные результаты экспериментов получились при измерении полной теплоты сгорания одного и того же количества топлива при обычном способе сжигания топлива и с использованием электрических катализаторов горения, даже при дефиците окислителя. В последнем случае энергия горения топлив возрастает почти в 1,5 раза, что объясняется более полным выделением химической энергии топлива в электромагнитное излучение. При обычных же способах сжигания, химическая энергия органического топлива использовалась не полностью и оставалась в виде скрытой суммарной химической энергии межмолекулярных связей многочисленных токсичных отходящих газов, выбрасываемых тепловыми установками в атмосферу. На основании проведенных экспериментов можно предположить, что, по-видимому, удельные теплоемкости веществ при данном способе их сжигания на 20-50 % выше, чем при обычном способе. В этой новой физике горения и состоит суть новых электроогневых технологий. На способы управления и интенсификации процессов горения веществ в электрическом поле уже получены патенты на изобретения РФ.

Дудышев В.Д. «Способ интенсификации и управления горением пламени». Патент РФ № 2125682 с приоритетом от 06.06.95г. (развитие электроогневого метода).

2. Анализ задачи и концепция проекта

2.1 Описание и анализ объекта автоматизации

Котлоагрегат типа ТГМ изготовлен Таганрогским котельным заводом для сжигания мазута и природного газа. Котельный агрегат ТГМ предназначен для получения пара высокого давления. Котлоагрегат, однобарабанный вертикально-водотрубный, с естественной циркуляцией, регенеративным воздухоподогревателем (РВП-54М), радиационный, имеет П-образную компоновку. Он состоит из топочной камеры, являющейся восходящим газоходом и опускной конвективной шахты, разделённой на два газохода после кпп, топочная камера полностью экранирована и оборудована шестью газомазутными горелками. На стенах топочной камеры размещены панели испарительных экранов и радиационного пароперегревателя, потолок экранирован трубами потолочного пароперегревателя. В верхней части топки, в поворотной камере, соединяющей топку с конвективной шахтой, расположен ширмовый пароперегреватель. Конвективная шахта разделена по вертикали на две камеры прямоугольного сечения. В ней размещены конвективный пароперегреватель, водяной экономайзер. За водяным экономайзером находится нижняя поворотная камера газохода и далее по ходу газов расположены два регенеративных воздухоподогревателя.

Таблица 2.1 - Техническая характеристика котла

 

1.

Тип котла

ТГМ-84

 

2.

Станционный номер

 

3.

Номинальная паропроизводительность, т/ч

420

 

5.

Количество горелок на котел

6

6.

 



Не нашли материал для своей работы?
Поможем написать уникальную работу
Без плагиата!
Без нейросетей!