Пиротехническая установка для испытаний ракетной техники
Федеральное
государственное бюджетное образовательное
учреждение
высшего профессионального образования
«Ижевский
государственный технический университет имени М.Т. Калашникова»
Кафедра
«Тепловые двигатели и установки»
МАТЕМАТИЧЕСКАЯ
МОДЕЛЬ ПИРОТЕХНИЧЕСКОЙ УСТАНОВКИ ДЛЯ ИСПЫТАНИЯ РАКЕТНОЙ ТЕХНИКИ
Расчётно -
пояснительная записка к дипломной работе
РУКОВОДИТЕЛЬ
РАБОТЫ
д т.н. профессор
Н.В. Митюков
ДИПЛОМНИК
Студент
группы 8-57-2
Н.Н.
Соломенников
Ижевск 2013г.
Реферат
Объектом исследования является пиротехническая установка для испытания
ракетной техники, и её математическая модель. Методом исследования является
оптимизация по массе ствола пиротехнической установки.
Цель работы - определить оптимальные параметры установки для ударных
испытаний ракетной техники.
Исследовательская работа проводится в среде автоматизации математических
расчётов Mathcad с помощью численных методов интегрирования, таких как: метод
Эйлера, метод Рунге - Кутты 4 порядка, метод Рунге - Кутты Мерсона.
В результате работы получены данные о параметрах пиротехнической
установки для испытаний ракетной техники.
Пиротехническую установку для испытаний ракетной техники следует внедрять
предприятиям, проектирующим ракетную технику для её дальнейших ударных
испытаний.
На защиту выносится:
Математическая модель
Результаты расчётов
Оптимальные параметры ствола пиротехнической установки
Нормативные ссылки
В настоящей РПЗ использованы ссылки на следующие стандарты:
ГОСТ 2.109-73 ЕСКД. Основные требования к чертежам;
ГОСТ 2.701-84 ЕСКД. Схемы. Виды и типы. Общие требования к выполнению;
ГОСТ 2.105-95 ЕСКД. Общие требования к текстовым документам;
ГОСТ 7.32-2001 ЕСКД. Отчет о научно-исследовательской работе. Структура и
правила оформления.
Основные
условные обозначения и сокращения





















Введение
В настоящее время ракетная техника используется для решения большого
спектра задач, является важнейшей составляющей оборонной мощи страны, позволяет
выводить в космос оборудование и астронавтов для научных исследований.
Для этих целей служит большой ассортимент изделий, который при
транспортировке и хранении представляет потенциальную угрозу для обслуживающего
персонала и окружающей среды.
Для проектирования ракетной техники устойчивой к внешнему воздействию
следует проводить ударные испытания.
Ударные испытания проводятся с помощью нескольких типов установок имеющих
свои преимущества и недостатки.
Отчетная научно-техническая документация (ОНТД) дипломной работы
включает:
. Расчетно-пояснительная записка к дипломной работе «Пиротехническая
установка для испытаний ракетной техники», содержащая все расчеты по разделам
дипломной работы. Пояснительная записка выполняется в соответствии с ГОСТ 2.105-95
и ГОСТ 7.32-2001.
1 Информационный обзор
.1 Ударные испытания
Ударные испытания - динамические испытания, проводимые обычно на
специальных установках. Служат для определения значений ударной вязкости, а
также пластичности и твёрдости.
Ударная вязкость - это способность различных
материалов поглощать энергию ударной нагрузки, что является одним из важнейших
показателей прочности. Ударная вязкость того или иного материала чаще всего
определяется путем ударного изгиба образца материала, при этом оценивается
работа до разрыва либо разрушения определенного образца при ударной нагрузке,
которая и является показателем ударной вязкости. Испытание этого показателя
металла может проводиться при температуре от -100°С до 1200°С, в зависимости от
металла и цели испытания. Ударная вязкость металлов является показателем
надежности того или иного материала, указывает на его возможности
сопротивляться разрушению, вызванному растягивающим напряжением между атомами.
Падение ударной вязкости металлов при большом снижении
температуры является показателем их хладноломкости. Хладноломкость - это
увеличение уровня хрупкости металлов при снижении температуры. Такому явлению,
как хладноломкость, подвержены низколегированные стали и некоторые другие
металлы - тантал, вольфрам, хром, молибден, которые состоят из
объемоцентрированной кубической решетки атомов металла. Ударная вязкость
металлов зависит в первую очередь от температуры.
Ударная вязкость стали определяется структурой
испытуемой стали, в том числе величиной ее зерен и является хорошим показателем
качества металла. Поэтому испытание на ударную вязкость широко распространено.
Интервал температур, в котором ударная вязкость стали резко падает, называют
областью температурной хрупкости. И необходимо, чтобы эта область температурной
хрупкости не совпадала с температурой работы стали. Другими словами, рабочая
температура изделий из металла должна быть выше того порога, за которым
начинается область температурной хрупкости. Это нужно для того, чтобы материал
детали не начал трескаться и в конце концов не подвергся разрушению. Критерий
области температурной хрупкости тесно связан с уровнем ударной вязкости
металлов.
Оптимальной ударной вязкостью стали обладают
термически обработанная сталь и спокойная мартеновская сталь, показатели
области температурной хрупкости которых позволяют им обладать такими
характеристиками. Для каждого вида стали ГОСТ устанавливает свою температуру,
при которой определяется ударная вязкость, а также температуру, которая
является оптимальной для работы с тем или иным видом стали. Ударная вязкость
стали зависит не только от температуры, но также и от различных примесей,
наличия легирующих элементов и от самого состава стали. Формирование в стальных
изделиях закалочных структур серьезно снижает ударную вязкость стали. К
примеру, если при сварке с определенным нарушением технологии работы
образовался мартенсит, то ударная вязкость металла в зоне сварки может
снизиться в 13 раз.
Твердость - свойство материала оказывать сопротивление
упругой и пластической деформации или разрушению при внедрении в поверхностный
слой материала другого, более твердого и не получающего остаточной деформации
тела - индентора.
Способы определения твердости в зависимости от
временного характера приложения нагрузки и измерения сопротивления вдавливанию
индентора подразделяют на статические, динамические и кинетические.
При динамических методах определения твердости
индентор подействует на образец с определенной кинетической энергией,
затрачиваемой на упругую отдачу и/или формирование отпечатка, динамическую
твердость часто называют также твердостью материала при ударе. Твердость при
ударе характеризует сопротивление внедрению не только на поверхности образца,
но и в некотором объеме материала.
.2 Ударные установки использующие потенциальную энергию
Ярчайшим представителем установок использующих потенциальную энергию
является копёр.
Копёр - состоит из двух вертикальных направляющих, прикрепленных под
прямым углом к площадке с прорезью для прохода гирь, опирающейся на три винта
для регулировки вертикального положения направляющих; направляющие снабжены
выдвижными штырями для фиксации гири на высоте (1000±5) мм и направляющим
роликом для поднятия гири; площадка с прорезью оснащена двумя взаимно
перпендикулярно расположенными уровнями. Копёр комплектуется комплектом гирь
массой 0,5; 1; 2; 3; 4; 5; 7; 10; 15; 20 кг. Допускаемое отклонение по массе ±5
г. Гири имеют по бокам пазы для скольжения по направляющим копра и снабжены
съемным бойком, заканчивающимся полусферой диаметром (30±0,5) мм. Боек гири
выполняют из высокотвердой закаленной стали твердостью (60±5) HRCэ.
- площадка с прорезью для прохода гирь; 2 - регулировочные винты; 3 -
вертикальные направляющие; 4 - гиря с боковыми пазами и бойком; 5 - выдвижные
штыри; 6 - направляющий ролик; 7 - подкосы
Рисунок 1 - Копёр для испытаний на стойкость к ударным воздействиям
.3 Пневматические ударные установки
Стенд содержит метательную установку с размещенным в ее стволе ударником
и установленную на заданном расстоянии от ствола под заданным углом встречи с
ударником мишень, снабжен датчиками регистрации момента прохода лобовой
поверхностью ударника дульного среза ствола и момента соударения ударника с
мишенью. На выходе из ствола размещены платформа и пленочная диафрагма, при
этом ствол выполнен с возможностью вакуумирования участка между ударником и
пленочной диафрагмой. Ударник снабжен расположенным сзади обтюратором, причем
суммарная длина обтюратора и ударника больше расстояния от дульного среза
ствола до мишени.
метательная установка 2 ствол 3 ударник 4 платформа 5 плёночная диафрагма
6 штуцер 7 регулируемые по длине связи 8 мишень 9 обтюратор 10 датчик 11
лобовая поверхность 12 лобовая поверхность мишени 13 датчик 14 источник
давления
Рисунок 2 - Схема пневматической установки для ударных испытаний
В данной дипломной работе предлагается пиротехническая установка для
испытаний ракетной техники на удар, так как она имеет ряд преимуществ перед
представленными ранее конструкциями: простота конструкции, установку можно
расположить дальше от испытуемого образца, чем другие типы устройств.
пиротехнический
ударный установка ракетный
Математическая модель
Математическая модель описывает внутреннюю баллистику установки.
Снаряд, находящийся в канале ствола можно представить материальной
точкой, движущейся со скоростью v, подчиняющейся закону Ньютона:
,
где
p - давление пороховых газов;- давление окружающей среды;- площадь миделя ядра
(F = 0,25 π d2);- масса ядра;- ускорение свободного падения;
α - угол возвышения орудия;- коэффициент трения.
Давление
пороховых газов определяется из уравнения состояния:
где
M - текущая масса пороховых газов;- «сила пороха»; V - объем за ядром
-
объем каморы;- площадь канала ствола (S = 0,25 π D2);
ℓ
- текущая координата ядра при движении по каналу ствола:
.
Текущая
масса пороховых газов:
,
где
G1 - газоприход (в случае прогорания зерна он обнуляется); G2 - газорасход.
Газорасход
определяется по известным законам газовой динамики:
Здесь
k - показатель адиабаты продуктов сгорания; Fk - площадь прохода между ядром и
каналом ствола:
.
Газоприход
можно определить по законам внутренней баллистики:
где
de/dt - скорость горения; S(e) - поверхность горения; ρ - плотность пороха. При этом скорость горения можно
определить, считая закон горения артиллерийским
где
A - постоянная скорости горения.
Если
принять пороховое зерно в виде шара радиусом R, то поверхность горения S(e) как
функция от горящего свода e определится как:
.
Здесь
N - количество зерен, которое можно определить зная общую пороховую навеску mп:
.
Программная
реализация
Для
программной реализации была выбрана система компьютерной алгебры Mathcad 13 из
класса систем автоматизированного проектирования
<#"653163.files/image033.gif">
Рисунок
5 - график зависимости результатов от шага
Из графика следует, что метод точнее метода Эйлера, но в недостаточной
мере.
Метод Рунге - Кутты - Мерсона
Рисунок 6 - зависимость результата от точности.
В методе прослеживается участок удовлетворяющей точности при шаге от
0,00016 до 0,00019.
.1 Идентификация
Для проверки соответствия
разработанной программы действительности, был просчитан пример с исходными
данными:=0.035 м - диаметр канала ствола;=0.034м - диаметр снаряда;
α=90° - угол возвышения орудия;
Расчеты в целом подтверждают
правильность предложенной математической модели, поскольку выявлено совпадение
результатов численного моделирования с экспериментальными данными, полученными
на базе ООО "Ижевская пиротехническая лаборатория" .=37,23м -
максимальная высота траектории снаряда;=25.3м/с - дульная скорость снаряда;
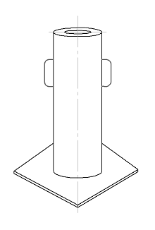
Рисунок 7 - схематическое
изображение пиротехнической установки
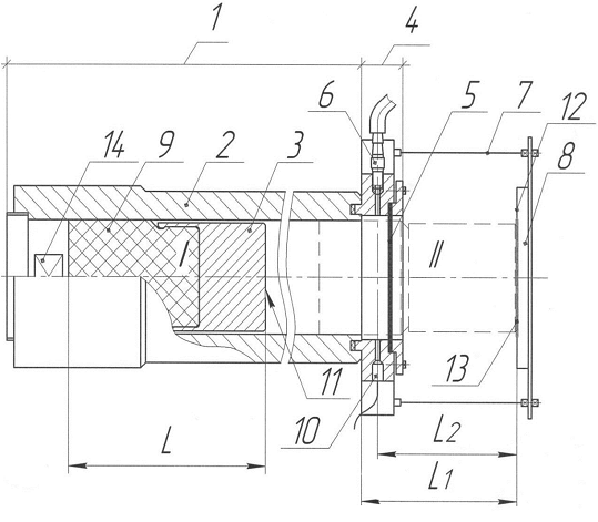
Рисунок 8 - устройство пиротехнической
установки
пиропатрон, 2 пороховой
заряд, 3резонатор, 4 ствол.
.2 Исследовательская часть
В целях оптимизации изделия
по массе при сохранении скорости 95м/с были проработаны данные с разными
пороховыми навесками, в следствии чего выяснилось, что оптимальными параметрами
являются
Рисунок 9 - зависимость
толщины стенки от массы пороховой навески
Рисунок 10 - график
зависимости длины ствола от массы пороховой навески.
В результате
исследовательской работы была выявлена оптимальная масса навески равная 0,7кг и
длина ствола равная 0,4м. При этих данных сохраняется дульная скорость заряда
равная 94,9 м/с.
Заключение
В ходе проведённой работы
была просчитана внутренняя баллистика пиротехнической установки и определена
оптимальная масса ствола установки при сохранении дульной скорости снаряда
равной 95 м/с.
Получены следующие основные
результаты:
разработана математическая
модель.
выбран оптимальный численный
метод
разработана программа для
расчёта внутренней баллистики
По результатам работы можно
сделать следующие выводы:
метод Рунге - Кутты - Мерсона
лучше всего соответствует требованиям предъявляемым к программе по точности
оптимальная масса пороховой
навески составляет 0.7кг
оптимальная длина ствола
составляет 0.4м
Список использованных
источников
1. Арефьев М.Г. Карпов Л.И. Производство стволов стрелкового оружия.
М.: Главная редакция вооружения и боеприпасов , 1945. 225 с.
. Горохов М.С. Внутренняя баллистика ствольных систем. М.:1982. 314
с.
3. Литвиненко Л.А. Электронный учебник по MATHCAD. М.: СК ПРЕСС, 1992. 216 с.
4. Митюков Н.В. Крауфорд
К.Р. Ганзий Ю.В. Идентификация параметров гладкоствольной артиллерии. //
ИНФОРМАЦИОННЫЙ БЮЛЛЕТЕНЬ АССОЦИАЦИИ ИСТОРИЯ И КОМПЬЮТЕР
<#"653163.files/image039.gif">
ш а г 1
ш а г 2
щ а г 3
шаг 4
шаг 5
шестая строка
седьмая строка
восьмая строка

девятая строка
деcятая строка
строка
строка
строка
строка
строка
строка
строка
строка
строка
строка
строка
22строка
строка

строка
шаг
шаг
шаг
шаг
шаг
шаг
шаг
шаг
шаг
шаг
шаг
шаг
шаг
шаг

шаг
шаг
шаг
шаг
шаг
шаг
шаг
шаг
шаг
шаг
шаг
шаг
шаг
шаг
шаг

шаг
шаг
шаг
шаг
шаг
шаг
шаг
шаг
шаг
шаг
шаг
шаг
шаг
шаг
шаг

шаг
шаг
шаг