Сравнительный анализ известных технологий производства коллекторных полос из кадмиевой бронзы

  • Вид работы:
    Курсовая работа (т)
  • Предмет:
    Другое
  • Язык:
    Русский
    ,
    Формат файла:
    MS Word
    393,79 Кб
  • Опубликовано:
    2013-10-21
Вы можете узнать стоимость помощи в написании студенческой работы.
Помощь в написании работы, которую точно примут!

Сравнительный анализ известных технологий производства коллекторных полос из кадмиевой бронзы

Министерство образования и науки РФ

Кафедра «Обработка металлов давлением»









Курсовая работа

по теме «Сравнительный анализ известных технологий производства коллекторных полос из кадмиевой бронзы»













Содержание

. Назначение коллекторных полос и требования к их качеству

. Технологические особенности пластической обработки кадмиевых бронз

. Технологический процесс получения коллекторных полос прокаткой с волочением

. Технологический процесс получения коллекторных полос прессованием с волочением

. Обоснование выбора наиболее перспективного варианта технологии изготовления коллекторных полос

Библиографический список

1. Назначение коллекторных полос и требования к их качеству

Машинный коллектор является механическим преобразователем частоты электрического тока, конструктивно объединенным с ротором электрической машины. Являются обязательной частью двигателей постоянного тока.

Коллектор состоит из ряда медных пластин трапецеидальной формы, электрически изолированных друг от друга и от корпуса ротора. Каждая пластина присоединяется к одному или нескольким виткам обмотки якоря. Обмотка якоря подключается к внешней электрической сети через угольные контактные щётки, которые при вращении якоря поочерёдно соприкасаются с пластинами коллектора.

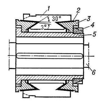
Наиболее распространены цилиндрические коллекторы (рис. 1.2) с щётками, прилегающими к наружной поверхности. Реже используют дисковые, с рабочей (контактной) поверхностью, перпендикулярной оси вращения ротора. Коллекторные пластины в машинах малой мощности (до 10 квт) запрессовывают в пластмассу; в машинах с мощностью 15-25 квт и выше и частотой вращения 3000 об/мин и выше пластины крепят стальными бандажными кольцами. В крупных электрических машинах для уменьшения механического напряжения в пластинах коллекторы иногда делают двойными и даже тройными. Недостатки значительный расход электротехнической меди, искрение, износ от трения щёток.

Схема многополосного коллекторного узла

-коллектор, 2-коллекторная полоса, 3-изоляционная прокладка, 4-щетки, 5-наружная часть сборки коллекторного профиля 6-контактирующая часть профиля

Цилиндрический коллектор

- коллекторная пластина; 2 - миканитовая манжета; 3 - конусная нажимная шайба; 4- кольцевая гайка; 5 - втулка; 6 - вал якоря.

Коллекторный генератор используется главным образом как источник трехфазного переменного тока, допускающий регулирование частоты тока независимо от частоты вращения ротора генератора.

Коллекторные двигатели (однофазные и трехфазные) в отличие от бесколлекторных, имеют гибкие регулировочные характеристики, но более дороги, тяжелы и менее надёжны.

Однофазные двигатели малой мощности широко используются в бытовых электроприборах. Трёхфазные двигатели мощностью до нескольких квт применяют главным образом в электроприводах с широким диапазоном регулирования скорости.

Коллекторные преобразователи частоты входят в состав электромашинных каскадов, а также используются для компенсации сдвига фаз напряжения и тока у асинхронного электродвигателя.

Профили коллекторных полос изготавливаются в соответствии с ГОСТ 4134-75. Поверхность профилей должна быть без трещин, закатов и посторонних включений. На поверхности допускаются отдельные дефекты - царапины, плены, заусенцы, глубиной не более предельных отклонений по размерам профилей.

На основаниях профиля высотой до 20 мм допускаются продольные выступы высотой до 1% от высоты профиля и риски глубиной 1% от высоты профиля, но не более 0,4 мм.

Допускаемая ширина выступа или риски не должна превышать их высоты.

Твердость профиля из кадмиевой бронзы по Бринеллю должна быть не менее 95 НВ.

Схема простейшего коллекторного двигателя

рис.1.3

. Технологические особенности пластической обработки кадмиевых бронз

Среди многочисленных марок бронз выделяется группа сплавов с малым (0.3 - 1%) содержанием легирующих элементов. Они отличаются тем, что обладают практически такой же электро- и теплопроводностью, как и чистая медь, но при этом они имеют большую твердость, предел текучести, износостойкость, предел усталости, и сохраняют работоспособность до более высоких температур за счет повышенной (по сравнению с чистой медью) температуры начала рекристаллизации.

К таким сплавам относятся:

Кадмиевые бронзы (Cd: 0.9-1.2%) - прутки, ленты и коллекторные полосы.

Хромокадмиевые бронзы (Cd: 0.2-0.5%, Cr: 0.35-0.65%) - прутки

Магниевые бронзы (Мg: 0.3-0.8%) - коллекторные полосы и проволока.

Серебряные бронзы (Ag до 0.25%) - прутки, проволока, полосы.

Хромистые бронзы (Cr: 0.5 - 1.0) - прутки, плиты, полосы для коллекторных пластин, проволока.

Циркониевые (Zr: 0.2 - 0.7%) - коллекторные полосы, трубы, полосы

Хромисто-циркониевые бронзы - прутки, плиты

Кадмиевая бронза БрКд1относится к низколегированным, безоловянистым бронзам. Горячая прокатка слитков этого сплава не производится из-за его крайне низкой пластичности в литом состоянии. Это приводит к усложнению технологического процесса, так как перед прокаткой предусматривается операция горячего прессования.

Исследование свойств образца сплава кадмиевой бронзы с исходной макроструктурой, представляющей собой зону мелких зерен (вблизи поверхности) и зону крупнозернистых столбчатых кристаллов в остальной части слитка, при деформации в направлении литейной оси слитка показало что деформация не приводит к дроблению зерен, а развивается внутри них. При низких значениях обжатия равных 5-10% деформация распределяется по зернам неоднородно: имеются зерна без скольжения и зерна в которых наблюдаются единичные линии скольжения.

Относительное обжатие, %

0,0

5,4

20,8

15,2

26,6

51,4

Твердость,НВ МПа

625

625

691

826

1000

1090


При обжатии >20% деформация охватывает весь оббьем образца и по телу зерен распределяется однородно

При нагреве деформированных образцов до температур да 400, 500, 600, 750˚С, и выдержке при каждой температуре 1ч. Анализ структуры показывает, что нагрев до 400˚С не снимает упрочнения от предшествующей холодной деформации.

Твердость слабодеформированных образцов после такого нагрева практически не изменилась, в образцах, деформированных на 26 и 51%, наблюдается сравнительно небольшое понижение прочности.

После отжига при 500˚С в образцах с различной степенью деформации получились зерна, близкие по размеру. Это объясняется тем, что в сильнодеформированных образцах в этих условиях успевает частично произойти собирательная рекристаллизация, в то время как у слабодеформированных не полностью прошла первичная.

Отжига при 600˚С приводит к получению рекристаллизационной структуры во всех образцах, причем в слабодеформированных зерна крупнее, несмотря на развитее в сильнодеформированных собирательной рекристаллизации.

Нагрев до 700˚С приводит к развитию собирательной рекристаллизации во всех образцах при этом твердость бронзы снижается с 625 до 400...415 МПа. Сравнивая значения твердости исходного и полностью отожженного металла можно предположить что упрочнение литого металла порожденное воздействием напряжений, возникающих при кристаллизации слитка , при последующей термообработке эффективно снижается лишь при высоких температурах.

Большое влияние на пластические свойства сплава оказывает наличие так называемых инокуляторов.

Инокуляторами называют частицы вещества в виде гранул, стружки и др. вводимые в жидкий металл для ускорения его охлаждения во всем обьеме. Способ заливки с введением инокуляторов называется суспензионным.

При температуре заливки 1180˚С и введением инокуляторов в количестве 1, 2и 3% температура расплава снижается соответственно до 1167, 1154, 1142. Ввод 1% инокулятора снижает температуру расплава в среднем на 10-15% ˚С. Микроструктура слитка в данном случае характеризуется наличием трех структурных зон: мелких кристаллов,столбчатых кристаллов и центральной зоны равноосных кристаллов. В опытных слитках зона столбчатых кристаллов присутствует, только если в расплав введен 1% инокуляторов, и исчезает при вводе 2 и 3% инокуляторов.

Это означает, что при суспензионном способе заливки удается значительно измельчить структуру меднокадмиего сплава.

Таким образом, выбирая рациональный размер и количество дисперсных инокуляторов, можно снизить негативное влияние масштабного фактора (размера слитка), материала и толщины стенки изложницы на chernehe металла.

Перспективными также являются следующие технические решения:

создание в процессе литья утолщенного переферийного слоя слитка с мелкозернистой структурой и остаточными напряжениями сжатия;

создание периферийного слоя обедненного по содержанию кадмием (слиток кадмиевой бронзы в медной оболочке) [3]

предварительная деформация слитка вхолодную на уровне 5…10% ковкой с большими подачами, обеспечивающая предпрокатное улучшение структуры слитка.

3. Технологический процесс получения коллекторных полос прокаткой с волочением

Прокатка полос осуществляется чередованием прокатки на гладкой бочке с прокаткой в ребровом калибре. Такая схема обеспечивает возможность быстро и без длительной настройки переходить с одной позиции сортамента на другую. Оптимальный эффект достигается на станах, у которых горизонтальные клети чередуются с вертикальными - в этом случае процесс прокатки и валковая арматура предельно просты.

При формировании клина из прямоугольной заготовки деформация по ширине полосы неравномерна, следствием чего являются тенденции к поперечному смещению полосы в сторону толстой кромки клина и ее серпения из-за преобладающей вытяжки по тонкой кромке. При формировании клиновидного профиля из клиновидной заготовки эти тенденции сохранялись, хоть и в меньшей степени. Для предотвращения этих явлений требуется установка жестких вводной и выводной проводок, способных противостоять значительным усилиям со стороны прокатываемой полосы.

При выборе режима обжатия стремятся к максимальной интенсивности обжатия, так как это снижает тенденцию к серпению, а также меньше вероятность изгиба полосы; т.к. в данном случае прокатка является предчистовой и некоторое снижение качества поверхности заготовки не является критическим.

Также при интенсивном обжатии наблюдается менее интенсивное охлаждение металла в процессе прокатки, ввиду перехода части энергии деформирования металла в тепловую энергию.

Кантование заготовок осуществляется при помощи ребровых калибров специальной формы.

Поскольку после прокатки не производится отжиг, горячекатаная заготовка получается более жесткой по сравнению с прессовано-холоднокатанной которая перед волочением подвергается отжигу. Это вызывает значительные колебания усилий волочения и давления на волоку и может привести к поломке твердосплавных вкладышей и растрескиванию стальных обойм составных волок. Для устранения этого недостатка и повышения стойкости волочильного инструмента было предпринято следующее:

) Увеличены углы волочильного канала: рабочего конуса, входной распушки. Это позволило расширить диапазон рабочих обжатий и устранить возможность скальпирования кромок клиновидного профиля при волочении слишком широкой заготовки.

) Смещен в сторону рабочего конуса калибрующий поясок, т.е. длина распушки увеоичена с 2 до 8…10 мм, что повысило прочность вкладышей, уменьшило их растрескивание и подняло стойкость обойм

4. Технологический процесс получения коллекторных полос прессованием с волочением

Коллекторные полосы из кадмиевой бронзы получают волочением клиновидных заготовок, полученных прессованием квадратных заготовок. Операция прессования используется из-за низкой пластичности сплава БрКд1 в литом состоянии , усложняющим его горячую прокатку вследствие грубого растрескивания в первых же проходах. С целью повышения качества поверхности пресс-изделий прессование ведется с рубашкой. Необходимость в повышении качества прессованной заготовки возникла в связи с тем, что при изготовлении коллекторов электрических машин имелись случаи вскрывшихся на пластинах продольных расслоений.

Слитки для прессования получают наполнительным литьем в водоохлаждаемую изложницу, режут их на заготовки длиной 420 мм и прессуют на горизонтальном гидравлическом прессе усилием 35 МН. Для исключения проникновения пресс-утяжины в готовое изделие отрезаются задние концы заготовок длиной 110…130 мм. При раскрое слитка одновременно удаляют литник длиной 60…100 мм.

В качестве инструмента волочения применяют как целиковые, так и составные волоки с твердосплавными рабочими вкладышами, для получения готового профиля чистовых размеров с регламентированными нормативными документами характеристиками волочение горячепрессованной заготовки проводят не менее чем за 3-4 прохода. При этом после каждого прохода предусмотрен комплекс вспомогательных операций, в частности полный рекристаллизационный отжиг и последующее травление.

.

5. Обоснование выбора наиболее перспективного варианта технологии изготовления коллекторных полос

В настоящий момент наиболее перспективным является изготовление коллекторных полос путем горячей прокатки заготовки, с последующим ее волочением. При такой схеме функция прессования ограничена получением крупногабаритной заготовки квадратного сечения (95х95) взамен тонкой клиновидной, а окончательно клиновидная полоса формируется посредством более производительной прокатки. Последующее волочение осуществляется в два прохода.

Достоинство данной схемы технологического процесса является:

Высокая производительность (20т/ч на совр. станах)

Получение с прокатного стана заготовки формой профиля и размерами сечения, близкими к профилю и сечению холоднотянутой коллекторной полосы, позволяет сократить трудоемкий волочильный передел до 1-2 проходов

Разгружено прессовое оборудование

Библиографический список

коллекторная полоса кадмиевая бронза

1. Красовский Б.Н. Коллекторы электрических машин. М.: Энергия, 1979. 169с.

. Железняк Л.М. и др. Широкосортаментная прокатка профилей из медных сплавов на полунепрерывном стане. Екатеринбург: УГТУ-УПИ, 1995. 154с.

. Логинов Ю.Н. и др. Профиль для коллекторов электрических машин. Патент РФ № 2309499. 27.10.2007 Бюл. №30

. ГОСТ 4134-75. Профили из медных сплавов для коллекторов электрических машин.

Похожие работы на - Сравнительный анализ известных технологий производства коллекторных полос из кадмиевой бронзы

 

Не нашли материал для своей работы?
Поможем написать уникальную работу
Без плагиата!
Без нейросетей!