Ремонт проушины ходовой части крана

  • Вид работы:
    Курсовая работа (т)
  • Предмет:
    Другое
  • Язык:
    Русский
    ,
    Формат файла:
    MS Word
    4 Мб
  • Опубликовано:
    2013-11-24
Вы можете узнать стоимость помощи в написании студенческой работы.
Помощь в написании работы, которую точно примут!

Ремонт проушины ходовой части крана

Введение

В процессе эксплуатации грузоподъёмных кранов их металлоконструкции подвергаются интенсивному воздействию различных статических и динамических нагрузок, которые способствуют физическому износу, коррозионным повреждениям, образованию трещин, остаточным деформациям и пр. Восстановление деталей - одно из важнейших направлений деятельности ремонтных предприятий, и ведущая роль в этой деятельности отводится сварке и наплавке. Так, при ремонте кранов сварке и наплавке принадлежит 45-50%. По ряду наиболее металлоемких и дорогостоящих деталей вторичное потребление восстановленных изделий значительно больше, чем потребление новых запасных частей.

Себестоимость восстановления для большинства деталей не превышает 56-60% стоимости новых, а расход материалов в 20-25 раз меньше, чем на их изготовление. В связи с этим, при обеспечении высокого качества работ, ремонтные предприятия могут быть вполне конкурентоспособны в условиях рыночной экономики.

Основная трудность, с которой сталкиваются специалисты при восстановлении деталей сваркой и наплавкой, это обоснование выбора наплавочного материала и источника питания сварочной дуги. Кроме того, при использовании режимов наплавки, не соответствующих рациональным, резко снижается работоспособность восстановленных изделий. Поэтому разработка рациональных технологических процессов сварки и наплавки, оценка их эффективности занимает значительное место в деятельности инженера-механика.

Целью курсовой работы является разработка технологического процесса ремонта кольцевой рамы (крепление проушины).

1. Назначение и техническая характеристика башенного крана КБМ-401П

Назначение КБ-401

Мобильный самомонтирующийся башенный кран КБМ-401П предназначен для механизации подъемно-транспортных работ при возведении жилых, гражданских и промышленных зданий и сооружений различной этажности с элементами строительных конструкций массой до 10 тонн.

Передвижной (на рельсовом ходу) полноповоротный (с поворотной башней) кран оснащен унифицированными механизмами, монтируется и демонтируется при помощи собственных механизмов и автокрана, перевозится в собранном виде на подкатных тележках. Строится согласно планам обследования, сроки проведения которых описываются в нормативном документе «Правила устройства и безопасной эксплуатации грузоподъемных кранов» (Постановление МЧС РБ от 03.12.2004г. №45, рег. НРПА №8/11889).

Рисунок 1 - кран КБМ-401П

Технические характеристики крана в наличии:

Грузоподъемность 10 т

Вылет стрелы 25 м

Высота подъема 57,8 м

Исполнение 28

Ходовая тележка - представляет собой двухколёсную тележку, с приводом на одно колесо. Конструкция аналогична типовым «унифицированным крановым тележкам» (с грузовым моментом до 200 т·м). Все четыре тележки являются ведущими и имеют электропривод, а также противоугонные захваты.

Ходовая рама КБМ-401П и КБМ-401ПА - выполнена в виде сборно-разборной конструкции. В рабочем положении представляет Х-образную форму. Состоит из кольцевой рамы, к которой прикреплены съёмные балки-флюгеры, опирающиеся на шкворни ходовых тележек крана. Все балки выполнены сварными и имеют коробчатое сечение. При транспортировке их отделяют и они перевозятся отдельно.

Рисунок 2 - Ходовая рама. Крепление. Вид сверху

Все балки выполнены сварными и имеют коробчатое сечение. При транспортировке их отделяют и они перевозятся Поворотная платформа - выполнена в виде плоской конструкции. Платформа опирается на ходовую раму с поворотными флюгерами (имеет в рабочем положении Х-образную форму) при помощи опорно-поворотное устройства, являющегося основным поворотным механизмом крана. Поворотный механизм представляет собой два поворотных круга и крепится в вильчатых опорах платформы.

. Основные дефекты кольцевой рамы (крепления проушины) башенного крана КБМ-401П

Проверка состояния проушины производится согласно планам обследования, сроки проведения которых описываются в нормативном документе «Правила устройства и безопасной эксплуатации грузоподъемных кранов» (Постановление МЧС РБ от 03.12.2004г. №45, рег.НРПА №8/11889).

Обследование состояния проушины проводится в рамках обследования металлоконструкции крана в целом. В табл. 1 приведены основные дефекты металлоконструкции кольцевой рамы крана.

Таблица 1

Основные характерные повреждения металлических конструкций кранов (выдержка из справочной таблицы нормативного документа «Правила устройства и безопасной эксплуатации грузоподъемных кранов» (Постановление МЧС РБ от 03.12.2004г. №45, рег. НРПА №8/11889)

Сборочная единица

Неисправность, вид повреждения, дефект

Метод контроля

Предельные значения дефекта,

узел (элемент крана)

подузел (элемент узла)

описание (признаки)

эскиз


повреждения

1

2

3

4

5

6

Г3-1.

Кольцевая рама (балка

Г3-1.1. Трещины в сварных швах, околошовной зоне или по основному металлу:  - Трещины в соединение вертикальных листов и стенкой кольцевой балки (обечайки);


Осмотр

Не допускается

Ходовая рама

)

- соединение вертикальных листов проушины с верхним листом; - соединение горизонтальной накладки с нижним листом проушины у основания; - стыковые соединения нижних листов рамы (см. вид А); - у основания нижней проушины;



Г3-1. Ходовая рама

Кольцевая рама (балка)

- вдоль швов, соединяющих привалочное кольцо под ОПУ с верхним горизонтальным листом.





Г3-1, 2. Выработка отверстий проушин под ось крепления флюгера Д.

.

Проверка по люфту или измерение диаметра оси и отверстия штангенциркулем при снятой оси.


По результатам проверки и контроля оформляется журнал осмотра с указанием соответствующих дефектов и повреждений, далее направляется вместе с краном на ремонтное предприятие, в том случае если осмотр и диагностика проводилась вне ремонтного предприятия.

Проушина кольцевой рамы крана предназначена для крепления флюгера ходовой тележки.

В процессе работы крана проушина кольцевой рамы башенного крана испытывает ударные нагрузки в горизонтальной плоскости, вследствие сил инерции, возникающих от веса металлоконструкции крана и груза, при разгоне крана и при его торможении.

В нашем случае после обследования выявлены следующие дефекты:

·  Трещины в обечайке возле проушины;

·        Трещины в ребре.

. Анализ патентной и научно-технической литературы по ремонту металлоконструкций грузоподъемных кранов

Ремонт металлоконструкций ГПК должен производиться по утвержденным технологическим процессам, разработанным в соответствии с требованиями Правил устройства и безопасной эксплуатации грузоподъемных кранов.

Ремонт металлоконструкций должен выполняться с учетом требований технического кодекса. Элементы металлоконструкций, отклонения которых от прямолинейности превышают допустимые, подлежат:

замене - при величине отклонения более удвоенного значения допустимого отклонения;

ремонту безударным методом - при величине отклонения менее или равном удвоенного значения допустимого отклонения.

Сварку крановых металлоконструкций необходимо производить по технологическому процессу, разработанному с учетом требований технического кодекса, а также специфики свариваемого изделия, используемого оборудования и оснастки. Технология сварки должна быть квалифицирована по технического кодекса.

В технологическом процессе необходимо устанавливать последовательность и способы сварки, порядок наложения швов и режимы сварки, диаметры и марки электродов и сварочной проволоки, требования к другим сварочным материалам и тд. Соблюдение технологического процесса сварки должно систематически контролироваться мастером и инженером по сварке, аттестованными по СТБ 1063 и СТБ 1355.

Сварка металлоконструкций должна производиться в помещениях.

Сварка металлоконструкций на открытом воздухе может производиться при условии обеспечения защиты зоны сварки от атмосферных осадков и ветра, в условиях отрицательных температур должны быть учтены требования технического кодекса.

При замене (ремонте) элемента непосредственно на смонтированном кране должны быть предусмотрены меры безопасности для лиц, работающих на кране, в том числе и по разгрузке и фиксации ремонтируемых узлов.

Устранять трещины по основному металлу в элементах металлоконструкций из углеродистых и низколегированных сталей необходимо в следующей последовательности:

очистить зону расположения трещины, установить ее начало и конец;

разметить и накернить разгрузочные отверстия за пределами трещины на расстоянии S (от начала и конца трещины), равном не менее толщины элемента dм плюс  (где D - диаметр разгрузочного отверстия, равный 4-8 мм). Для облегчения разделки трещины целесообразно принимать

= dм + ;

просверлить напроход разгрузочные отверстия;

разделать трещину, плавно закончить разделку в начале и конце за пределами трещины, но не доходя до разгрузочных отверстий. Это необходимо для предотвращения образования кратеров при сварке;

заварить трещину;

зачистить шов и околошовную зону, при необходимости - рассверлить разгрузочные отверстия сверлом на 1-2 мм более первоначального диаметра;

заглушить разгрузочные отверстия, во избежание проникновения в них влаги, герметиком для металла, эпоксидной композицией и т. п.;

зачистить плоскости заделанных отверстий.

Разделку трещины следует производить абразивным кругом, вырубкой или специальным инструментом:

при односторонней заварке - У-образная разделка с углом 50°-60°;

при двусторонней заварке (толщина элементов более 16 мм) - Х-образная разделка с углом 50°-60° с каждой стороны.

Заварка трещин должна выполняться электродами, обеспечивающими прочностные и пластические свойства не ниже, чем у основного металла.

Накладка должна привариваться продольными швами (вдоль усилия).

Накладка, расположенная вдоль ремонтируемого элемента, должна превышать длину трещины не менее чем на пять толщин ремонтируемого элемента с каждой стороны. Ширина накладки должна быть не менее трех ее толщин с каждой стороны трещины. Толщина накладки должна составлять 0,6-1,0 толщины ремонтируемого элемента. При толщине накладки более 10 мм последняя должна иметь скосы под шов катетом не более 10 мм.

Рассмотрим основные виды сварки применяемые при изготовлении металлоконструкций кранов.

При ремонте ответственных сварных конструкций допускается применение только электродуговой сварки. Применяемые методы и режимы сварки должны обеспечить провар всего сечения свариваемых элементов и особенно корня шва.

При ремонте металлоконструкций, имеющих трещины, необходимо руководствоваться следующими условиями:

-  трещина длинной боле 100 мм, расположенная параллельно основному шву, не должна находиться от него на расстоянии менее 100 мм;

-       трещина длинной менее 100 мм, расположенная параллельно основному шву, не должна находиться от него на расстоянии менее, чем толщина сваренного металла (но не менее 20 мм);

не допускается крестообразное с основным швом расположение трещин. Марки сталей, применяемых для ремонта сварных металлоконструкций, должны соответствовать маркам, указанным в чертежах, или равноценными им по механическим свойствам маркам стали согласно "Указаниям по выбору материалов для изготовления стальных конструкций грузоподъемных кранов РД 22-16-88".

Типы и марки электродов, сварочной проволоки и защитных газов, применяемых при ремонте, должны соответствовать техническим условиям заводов - изготовителей и выбираться применительно к маркам свариваемой стали так, чтобы механические свойства шва и сварочного соединения (предел прочности, предел текучести, относительное удлинение, угол загиба и ударная вязкость) были не менее нижнего предела указанных свойств основного металла конструкции, установленных стандартами или техническими условиями.

Рекомендуемые марки электродов для ручной дуговой сварки крановых металлоконструкций приведены в таблице 2, а режимы электродуговой ручной сварки с учетом диаметра электрода, его марки и положения сварки в таблице 3.

Таблица 2

Марки электродов для ручной дуговой сварки крановых металлоконструкций с температурой эксплуатации от плюс 40 до минус 40

Область применения

Электроды по ГСТ 9467-75

Для сварки несущих конструкций из углеродистых горячекатаных сталей

УОНИ - 13/45, СМ - 11, ОЗС - 2, АНО -3, ОЗС - 6, ОЗС - 4, УП 2/45, УП 1/45, АНО - 4, МР - 3

Для сварки несущих конструкций из низколегированных сталей в горячекатаном и термообработанном состоянии поставки

СМ - 11, УОНИ 13/55, УП 1/55, УП2/55, УОНИ - 13/65, К - 5А

Для сварки вспомогательных конструкций из углеродистых сталей

АНО - 1, АНО - 3, АНО - 4, АНО - 5, АНО - 6


Для сварки крановых металлоконструкций механизированной электродуговой сваркой в среде углекислого газа в соответствии с требованиями РД 22-16-88 следует применять проволоку марок Cв-08Г2С и Cв-09Г2СЦ диаметром до 1,6 мм (ГОСТ 2246-70).

Таблица 3

Режимы электродуговой ручной сварки

Обозначение электрода

Тип

Род сварочного тока, полярность

Диаметр электрода, мм

Сила сварочного тока, А





Положение сварки





нижнее

вертикальное

Потолочное

1

2

3

4

5

6

7

УОНИ 13/45

Э-42А

Постоянный, Обратная Переменный, постоянный, обратная или прямая Переменный, постоянный, обратная Переменный, постоянный, обратная Переменный, постоянный, обратная

4

130-150

130-140

130-140

УОНИ 13/55

Э-50А


5

170-200

160-180

-

УОНИ 13/65

Э-60А


6

210-240

-

-

АНО-3

Э-46


4

170-210

140-150

140-170

АНО-4

Э-46


5

190-270

150-170

-




6

270-320

-

-

ОЗС-2

Э-46


4

150-210

130-170

140-160

ОЗС-4

Э-46


5

210-300

170-180

-

ОЗС-6

Э-46


6

300-400

-

-

УП 1/45

Э-42А


4

140-160

130-150

130-150

УП 2/45

Э-42А


5

160-250

150-180

-

УП 1/55

Э-50А


6

280-350

-

-

МР-3

Э-46


4

160-200

140-180

140-180



Постоянный

5

180-260

160-200

-




6

280-320

-

-

К-5А

Э-50А


4

140-200

130-170

130-170




5

220-280

170-190

-




6

310-380

-

-


Примечание: Напряжение сварочного тока зависит от применяемого источника сварочного тока и устанавливается автоматически.

Таблица 4

Режимы сварки в углекислом газе в зависимости от диаметра электродной проволоки

Диаметр электродной проволоки, мм

Вылет электродной проволоки, мм

Сварочный ток, А

Напряжение, В

Расход углекислого газа, л/мин

Скорость подачи электродной проволоки, м/ч

0,5

6-10

30-100

18-20

12-14

90-180

0,8

8-12

60-150

18-22

14-16

100-180

1,0

8-14

80-180

18-24

14-16

100-210

1,2

10-15

90-220

18-28

16-18

120-250

1,6

14-20

120-350

18-32

18-20

120-270


Примечание: Скорость подачи электродной проволоки назначается в зависимости от марки сварочного полуавтомата.

Рекомендуемые режимы сварки в углекислом газе в зависимости от толщины свариваемого металла и типа соединения приведены в таблице 5.

Таблица 5

Режимы сварки в углекислом газе в зависимости от толщины свариваемого металла

Тип соединения

Толщина свариваем. металла, мм

Диаметр электрода, мм

Сварочный ток, А

Напряжение В

Расход углекислого газа, л/мин

Скорость сварки, м/ч

Скорость подачи электродной проволоки, м/ч

Стыковое Угловое, тавровое

3-5

0,8

120-150

18-20

14-16

18-20

150-200



1,0

150-180

18-20

14-16

20-22

150-180



1,2

180-200

18-24

16-18

20-22

150-180



1,6

180-200

24-28

18-20

20-22

150-180


6-8

1,0

160-180

20-24

14-16

18-20

180-210



1,2

200-220

20-24

14-16

18-22

180-200



1,6

200-250

24-30

16-18

20-22

180-200


8-12

1,2

200-250

24-28

18-20

18-20

180-200



1,6

250-300

28-30

18-20

18-20

180-200


3-4

1,2

160-180

18-22

16-18

18-20

180-200


5-6

1,6

200-240

24-28

16-18

20-22

180-200

1,6

200-250

24-30

18-20

20-22

180-200


Рассмотрим способы дуговой сварки

При ручной дуговой сварке покрытыми металлическими электродами, сварочная дуга горит с электрода на изделие, оплавляя кромки свариваемого изделия и расплавляя металл электродного стержня и покрытие электрода (рисунок 1). Кристаллизация основного металла и металла электродного стержня образует сварной шов.

Рисунок 3 - Схема сварки покрытым металлическим электродом

Электрод состоит из электродного стержня и электродного покрытия (см. рисунок 1). Электродный стержень - сварочная проволока; электродное покрытие - многокомпонентная смесь металлов и их оксидов. По функциональным признакам компоненты электродного покрытия разделяют:

-  газообразующие:

-       защитный газ;

-       ионизирующий газ;

-       шлакообразующие:

-       для физической изоляции расплавленного металла от активных газов атмосферного воздуха;

-       раскислители;

-       рафинирующие элементы;

-       легирующие элементы;

-       связующие;

-       пластификаторы.

Перед зажиганием (возбуждением) дуги следует установить необходимую силу сварочного тока, которая зависит от марки электрода, типа сварного соединения, положения шва в пространстве и др.

Зажигание (возбуждение) производиться двумя способами. При первом способе электрод подводят перпендикулярно к месту начала сварки и после сравнительно легкого прикосновения к изделию отводят верх на расстояние 25 мм. Второй способ напоминает процесс, зажигая спички. При обрыве дуги повторное зажигание ее осуществляется впереди кратера на основном металле с возвратом к наплавленному металлу для вывода на поверхность загрязнений, скопившихся в кратере. После этого сварку ведут в нужном направлении.

Применение того или иного способа зажигания дуги зависит от условий сварки и от навыка сварщика.

Положение и перемещение электрода при сварке

Положение электрода зависит от положения шва в пространстве. Различают следующие положения швов: нижнее, вертикальное и горизонтальное на вертикальной плоскости, потолочное. Сварку вертикальных швов можно выполнять сверху вниз и снизу вверх.

При сварке в нижнем положении электрод имеет наклон от вертикали в сторону направления сварки. Перемещение электрода при сварке может осуществляться способами "к себе" и "от себя".

При отсутствии поперечных колебательных движений конца электрода ширина валика равна (0,8-1,5) d электрода. Такие швы (или валики) называют узкими, или ниточными. Их применяют при сварке тонкого металла и при наложении первого слоя в многослойном шве.

Получение средних швов (или валиков), ширина которых обычно не более (2-4) d электрода, возможно за счет колебательных движений конца электрода. Основные варианты колебательных движений конца электрода показаны на рисунке 2.

В зависимости от длины различают короткие (250 300 мм), средние (350 1000 мм) и длинные (более 1000 мм) швы.

В зависимости от размеров сечения швы выполняют однопроходными или однослойными, многопроходными или многослойными. Однопроходная сварка производительна и экономична, но металл шва недостаточно пластичен вследствие грубой столбчатой структуры металла шва и увеличенной зоны перегрева. В случае многослойной сварки каждый нижележащий валик проходит термическую обработку при наложении последующего валика, что позволяет получить измельченную структуру металла шва и соответственно повышенные механические свойства шва и сварочного соединения.

Рисунок 4- Основные виды траекторий поперечных колебаний конца электрода

Расположение слоев при многослойной сварке бывает трех видов наложения; последовательное каждого слоя по всей длине шва, "каскадным" способом и способом "горки". Оба последних способа применяют при сварке металла значительной толщины (более 20-25 мм). При выполнении многослойных швов особое внимание следует уделять качественному выполнению первого слоя в корне шва. Провар корня шва определяет прочность всего многослойного шва.

Силу сварочного тока выбирают в зависимости от марки и диаметра электрода, при этом учитывают положение шва в пространстве, вид соединения, толщину и химический состав свариваемого металла, а также температуру окружающей среды. При учете всех указанных факторов необходимо стремиться работать на максимально возможной силе тока.

Достоинства способа:

простота оборудования;

возможность сварки во всех пространственных положениях;

возможность сварки в труднодоступных местах;

быстрый, по времени переход от одного вида материала к другому;

большая номенклатура свариваемых металлов.

Недостатки способа:

большие материальные и временные затраты на подготовку сварщика;

качество сварного соединения и его свойства во многом определяются субъективным фактором;

низкая производительность (пропорциональна сварочному току, увеличение сварочного тока приводит к разрушению электродного покрытия);

редные и тяжёлые условия труда.

Классификация способов сварки в защитных газах представлена на рисунке 3.

При сварке неплавящимся электродом в защитном газе (рисунок 4) в зону дуги, горящей между неплавящимся электродом и изделием через сопло подаётся защитный газ, защищающий неплавящийся электрод и расплавленный основной металл от воздействия активных газов атмосферы. Теплотой дуги расплавляются кромки свариваемого изделия. Расплавленный металл сварочной ванны, кристаллизуясь, образует сварной шов.

Неплавящийся электрод изготавливают из графита, вольфрама, меди, меди со вставкой из тугоплавкого металла - вольфрама, циркония, гафния.

Защитный газ должен быть инертен к металлу электрода и к свариваемому металлу. В качестве защитного газа при сварке вольфрамовым электродом применяют аргон, гелий, смесь аргона и гелия; для сварки меди медным электродом или медным электродом со вставкой из гафния (циркония) можно применить азот.

Для рационального расходования дорогостоящих инертных газов (Ar, He) при сварке сталей создают комбинированную защиту (рисунок 5).

Рисунок 5 - Классификация способов сварки в защитных газах

Рисунок 6 - Схема сварки неплавящимся электродом

Рисунок 7- Схема сварки неплавящимся электродом с комбинированной защитой

При сварке металла большой толщины для обеспечения проплавления основного металла и получения требуемых геометрических параметров сварного шва, сварку ведут по зазору или с разделкой кромок с добавлением присадочного (чаще всего в виде проволоки) металла (рисунок 4).

Достоинства способа сварки неплавящимся электродом:

Высокая устойчивость дуги независимо от рода (полярности) тока; Возможно получение металла шва с долей участия основного металла от 0 до 100%; Изменяя скорость подачи и угол наклона, профиль, марку присадочной проволоки можно регулировать химический состав металла шва и геометрические параметры сварного шва.

Рисунок 8 - Схема сварки неплавящимся электродом с присадкой

Недостатки способа сварки неплавящимся электродом:

низкая эффективность использования электрической энергии (коэффициент полезного действия от 0,40 до 0,55); - необходимость в устройствах, обеспечивающих начальное возбуждение дуги; - высокая скорость охлаждения сварного соединения; - области применения способа сварки неплавящимся электродом:- сварка тонколистового металла; - сварка сталей всех классов, цветного металла и их сплавов; - возможно получение качественных сварных соединений при сварке разнородных металлов.  При сварке плавящимся электродом в защитном газе (рисунок 7) в зону дуги, горящей между плавящимся электродом (сварочной проволокой) и изделием через сопло подаётся защитный газ, защищающий металл сварочной ванны, капли элетродного металла и закристаллизовавшийся металл от воздействия активных газов атмосферы. Теплотой дуги расплавляются кромки свариваемого изделия и электродная (сварочная) проволока. Расплавленный металл сварочной ванны, кристаллизуясь, образует сварной шов.

Рисунок 9 - Схема сварки в защитных газах

При сварке в защитных газах плавящимся электродом в качестве электродного металла применяют сварочную проволоку близкую по химическому составу к основному металлу. Выбор защитного газа определяется его инертностью к свариваемому металлу, либо активностью, способствующей рафинации металла сварочной ванны. Для сварки цветных металлов и сплавов на их основе применяют инертные одноатомные газы (аргон, гелий и их смеси). Для сварки меди и кобальта можно применить азот. Для сварки сталей различных классов применяют углекислый газ, но так как углекислый газ участвует в металлургических процессах, способствуя угару легирующих компонентов и компонентов - раскислителей (кремния, марганца), то сварочную проволоку следует выбрать с повышенным их содержанием. В ряде случаев целесообразно применять смесь инертных и активных газов, чтобы повысить устойчивость дуги, улучшить формирование шва, воздействовать на его геометрические параметры, уменьшить разбрызгивание.

Сварку в защитных газах плавящимся электродом ведут на постоянном токе обратной полярности, т.к. на переменном токе из-за сильного охлаждения столба дуги защитным газом, дуга может прерываться. Скорость подачи сварочной проволоки определяет силу сварочного тока.

Для сварки в защитных газах плавящимся электродом характерно высокий процент потерь электродного металла вследствие угара и разбрызгивания.

Разбрызгиванию способствует вид переноса электродного металла, зависящий от параметров режима сварки (рисунок 8):- крупнокапельный; - смешанный; - мелкокапельный.

При крупнокапельном переносе электродного металла образуется малое количество брызг, вследствие нечастых, но продолжительных коротких замыканий дугового промежутка. Высокое объёмное теплосодержание крупных капель приводит к надёжному соединению с поверхностью свариваемого металла.

При смешанном переносе электродного металла наблюдается максимальное образование брызг (потери на разбрызгивание могут достигать 20 30%) - такое явление также связано с короткими замыканиями дугового промежутка расплавленным электродным металлом и образованием в межэлектродном промежутке капель с разной массой и различной скоростью перемещения. В диапазоне сварочных токов, при котором возникает смешанный перенос электродного металла сварку не выполняют.

Рисунок 10 - Виды переноса электродного металла

Наименьшие потери на разбрызгивание наблюдаются при мелкокапельном переносе электродного металла. В определённом диапазоне сварочных токов (плотностей сварочных токов) перенос электродного металла приобретает мелкокапельный (струйный характер). Образовавшаяся на торце электрода, при таком процессе, капля не растягивается и не увеличивается до соприкосновения с основным металлом, что не приводит к коротким замыканиям, взрывам и образованиям брызг. Рекомендуемые значения силы тока для процесса сварки в углекислом газе представлены в таблице 6.

Таблица 6

Допускаемые плотности тока и диапазоны сварочного тока при сварке в углекислом газе

Диаметр электрода, мм

1,2

1,6

2,0

3,0

Плотность тока, А/мм2

88-195

90-160

60-140

45-70


310-440

200-350

160-240

78-110

Сварочный ток, А

100-220

180-320

200-450

300-500


350-500

400-700

500-750

550-800


Достоинства способа:

повышенная производительность (по сравнению с дуговой сваркой покрытыми электродами);

отсутствуют потери на огарки, устранены затраты времени на смену электродов; - надёжная защита зоны сварки;

минимальная чувствительность к образованию оксидов;

отсутствие шлаковой корки;

возможность сварки во всех пространственных положениях.

Недостатки способа:- большие потери электродного металла на угар и разбрызгивание (на угар элементов 5-7%, при разбрызгивании от 10 до 30%);

мощное излучение дуги;

ограничение по сварочному току;

сварка возможна только на постоянном токе.

При этом способе сварки электрическая дуга горит под зернистым сыпучим материалом, называемым сварочным флюсом (рисунок 11).

Рисунок 11 - Схема сварки под флюсом

Под действием тепла дуги расплавляются электродная проволока и основной металл, а также часть флюса. В зоне сварки образуется полость, заполненная парами металла, флюса и газами. Газовая полость ограничена в верхней части оболочкой расплавленного флюса. Расплавленный флюс, окружая газовую полость, защищает дугу и расплавленный металл в зоне сварки от вредного воздействия окружающей среды, осуществляет металлургическую обработку металла в сварочной ванне. По мере удаления сварочной дуги расплавленный флюс, прореагировавший с расплавленным металлом, затвердевает, образуя на шве шлаковую корку. После прекращения процесса сварки и охлаждения металла шлаковая корка легко отделяется от металла шва. Не израсходованная часть флюса специальным пневматическим устройством собирается во флюсоаппарат и используется в дальнейшем при сварке. крепление проушина башенный кран

Достоинства способа:

повышенная производительность;

минимальные потери электродного металла (не более 2%);

отсутствие брызг;

максимально надёжная защита зоны сварки;

минимальная чувствительность к образованию оксидов;

мелкочешуйчатая поверхность металла шва в связи с высокой стабильностью процесса горения дуги;

не требуется защитных приспособлений от светового излучения, поскольку дуга горит под слоем флюса;

низкая скорость охлаждения металла обеспечивает высокие показатели механических свойств металла шва;

малые затраты на подготовку кадров;

отсутствует влияния субъективного фактора.  Недостатки способа:

трудозатраты с производством, хранением и подготовкой сварочных флюсов; - трудности корректировки положения дуги относительно кромок свариваемого изделия; - неблагоприятное воздействие на оператора; - нет возможности выполнять сварку во всех пространственных положениях без специального оборудования. Пути повышения производительности:

. Сварка (наплавка) независимой дугой, горящей между двумя электродами (к изделию ток не подводят); при большом расстоянии от дуги до поверхности изделия основной металл вообще не проплавляется

. Сварка трёхфазной дугой, при которой глубина проплавления зависит от соотношения токов в дугах, горящих между электродами и изделием

. Сварка разнородными дугами. Питание дуги между электродами и изделием осуществляется при этом постоянным током, а дуги между электродами - переменным током

. Однофазная двухэлектродная наплавка, основанная на питании электродов и изделия от концов и середины вторичной обмотки сварочного трансформатора

. Наплавка с подачей присадочной проволоки в дугу (к проволоке ток не подводят)

. Сварка (наплавка) по подкладке из металла требуемого химического состава и выполняющую функции теплопоглощения сварочной дуги и повышения коэффициента наплавки

. Сварка комбинированной дугой (зависимой и независимой, горящей между основным и дополнительным электродами)

. Сварка расщеплённым электродом

. Сварка (наплавка) ленточным электродом

. Сварка многодуговая: в общую ванну; в разделённые ванны

4. Проектирование единичного технологического процесса ремонта кольцевой рамы (крепление проушины)

При составлении технологического маршрута необходимо учитывать следующие требования:

l  одноимённые операции по всем дефектам маршрута должны быть объединены;

l     каждая последующая операция должна обеспечить сохранность качества работы поверхностей детали, достигнутую при предыдущих операциях;

l     в начале должны идти подготовительные операции, затем восстановительные, слесарно-механические, шлифовальные и доводочные.

План рациональной последовательности технологического процесса восстановления крепления проушины принимаем следующий:

Очистка (очистка проушины от грязи и старой краски).

Дефектация (дефектовать проушину).

Слесарно-механическая (просверлить разгрузочное отверстие).

Слесарно-механическая (разделать трещину)

Сварочная (заварить трещину).

Сварочная (приварить накладку).

Контрольная (контролировать проушину).

Малярная (окрасить проушину).

Технологический маршрут восстановления проушины приведен в приложении А курсовой работы. Разгрузочное отверстие в конце трещины (рисунок 11) просверливаем сверлом 8 мм на расстоянии от конца трещины


где - толщина верхнего листа, мм, ; - диаметр разгрузочного отверстия, мм, .

Рисунок 12 - Разгрузочное отверстие в конце трещины

После этого разделываем трещину абразивным кругом - при односторонней заварке Y-образная разделка под углом 50-60 (рисунок 12).

Рисунок 13 - Схема разделки трещины

Заварку трещины производим электродом Э-42 ГОСТ 9467-75 (рисунок 13).

Рисунок 14 - Заварка трещины

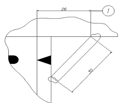
После заварки трещину усиливаем накладкой (рисунок 14), выполненной из стального проката листа  (рисунок 15).

Рисунок 15 - Приварка накладки

Рисунок 16 - Габаритные размеры накладки

Проведем анализ и выбор оборудования для ремонта проушины.

Для очистки проушины от грязи и старой смазки используется моечный аппарат высокого давления «Karcher HD 5/11 С(220V)».

Рисунок 17 - моечный аппарат высокого давления «Karcher HD 5/11С(220V)»

Характеристики:

Давление, Бар…………………….…………..115

Производительность, л/ч……………………500

Потребляемая мощность, кВт……………….2,2

Масса, кг……………………………………….19

Размеры (ДхШхВ), мм…………….75х360х935

Макс. температура воды на входе, град. С..70-80

Для контроля состояния сварных швов и основного металла на наличие скрытых трещин используем дефектоскоп УД-70 рисунок 17, таблица 7.

Рисунок 18 - Дефектоскоп УД-70

Ультразвуковой дефектоскоп предназначен для контроля продукции на наличие дефектов типа нарушения сплошности и однородности материалов, полуфабрикатов, готовых изделий и сварных соединений, для измерения глубины и координат их залегания, измерения отношений амплитуд сигналов от дефектов. Особенности дефектоскопа:

-  малые габариты;

-       большой электролюминесцентный экран с высокой разрешающей способностью (320х240точек) и высокой контрастностью;

-       запоминание 100 программ настройки прибора, что позволяет настраивать прибор в лаборатории и вызывать программу на объекте;

-       два независимых строба АСД;

-       встроенный глубиномер, измеряющий расстояние до эхо-сигнала в первом стробе по лучу, в координатах Х,У, а также расстояние между сигналами в двух стробах;

-       запоминание 2800 значений глубиномера;

-       запоминание и просмотр 100 изображений A-Scan с соответствующими настройками прибора; •цифровая ВРЧ; •порт RS232 для подсоединения компьютера;

-       встроенные часы и календарь;

-       прочный алюминиевый корпус для тяжелых условий эксплуатации.

Таблица 7

Техническая характеристика дефектоскопа УД-70

Диапазон толщин контролируемого материала (по стали), мм

2-5000

Рабочие частоты, МГц

0,4; 1.25; 1.8; 2.5; 5.0; 10.0

Частота зондирующих импульсов, МГц

30; 60; 120; 250; 500; 1000

- Rz

0.1-50


Для приваривания накладок используем сварочный трансформатор ТД-500 (рисунок 15) и электроды Э-42 ГОСТ 9467-75 диаметром 3 мм и длиной 350мм. Электроды Э-42 предназначены для электросварки ответственных конструкций из углеродистых сталей. Род тока - переменный, постоянный прямой полярности. Позволяют производить сварку в любом пространственном положении. Изготовитель: ОАО “Лосиноостровский электродный завод”, г. Москва.

Рисунок 19 - Конструктивная схема трансформатора ТСК-500 со снятым кожухом:

- сетевые зажимы для проводов; 2 - сердечник; 3 - рукоятка для регулирования тока; 4 - зажимы для подсоединения проводов; 5 - ходовой винт; 6 - катушка вторичной обмотки; 7 - катушка первичной обмотки; 8 - компенсирующий конденсатор.

Техническая характеристика ТСК-500 приведена в таблице 8.

Таблица 8

Техническая характеристика сварочного трансформатора ТД-500

Показатель

Значение

Напряжение холостого хода, В

60

Номинальный сварочный ток, А

500

Номинальная мощность, кВ.А

32

Масса, кг

280


Концы трещин засверливаем на проход электрической дрелью BM-600 C DWT

Рисунок 20 - Конструктивная схема дрель dwt VM600

Конструктивные особенности

-х скоростной редуктор в металлическом корпусе имеет высокую надежность и долгий срок службы. Быстрозажимной сверлильный патрон позволяет вручную заменять рабочие принадлежности - быстро и без использования специального ключа. Диапазон зажима быстрозажимного сверлильного патрона от 0.8 мм до 10 мм. Переключатель реверса дает возможность выбирать направление вращения. Технические характеристики:

Номинальная мощность [Вт] 600

Сила тока при напряжении 230 В

Число оборотов холостого хода [мин-1] 0-2500

Регулировка скорости - есть

Диапазон зажима патрона [мм] 0,8-10

Макс. Ø сверления в дереве [мм] 30

Макс. Ø сверления в стали [мм] 10

Контролируем сварной шов Универсальным шаблоном Красовского УШК - 1

Рисунок 21 - Универсальный шаблон Красовского

Шаблон А.И. Красовского. Применяется при проведении визуального и измерительного контроля сварных соединений, служит для контроля тавровых и нахлесточных сварных соединений, стыковых сварных соединений, измерения зазора между кромками свариваемых деталей по РД 03-6-06-03. Комплектность: шаблон, футляр, паспорт с метрологической аттестацией

Для разделки трещин и их зачистки используем ручную шлифовальные электрические машины Makita 9565 CV (рис.13)

Рисунок 22 - Угловая шлифовальная машина Makita 9565 CV.

Потребляемая мощность - 1400 Вт, скорость без нагрузки - 2800-11000 об/мин, максимальный диаметр диска - 125 мм, резьба шпинделя - М14, вес - 1.8 кг.

Окраску флюгера производим при помощи компрессорной установки СО-9Б рисунок 18 таблица 11.

Рисунок 23 - Компрессорная установка СО-9Б

Таблица 9

Техническая характеристика компрессорной установки СО-9Б

Производительность, м/час30


Максимальное давление сжатого воздуха, кгс/см6


Объем ресивера, л

25

Вес, кг

145

Мощность электродвигателя, кВт

4,0

Напряжение питания, В

380

Число оборотов, об/мин

2880


Для покраски используем пистолет-краскораспылитель PROCOAT259SC "Краском рисунок 22, таблица 12

Рисунок 24 - Пистолет-краскораспылитель PROCOAT259SC "Краском

Таблица 10

Характеристика пистолета-краскораспылителя PROCOAT AP 259SC "Краском

Производительность л/мин

320

Объем , л

0,35

Давление, кгс/см2

5


5. Расчет технологических режимов и норм времени

В данном пункте производим подбор параметров сварки и нормирование данного процесса.

Сварочный ток выбираем в зависимости от диаметра электрода. Он в свою очередь выбирается в зависимости от толщины свариваемого металла. Диаметр электрода равен 3 мм. Ток равен


Напряжение сварки равно .

Скорость сварки равно


При дуговой сварке весовая потребность в электродах определяется по общему весу наплавленного металла шва, к которому прибавляется 20-30% для электродов с тонким покрытием и 40-60% для электродов с толстым покрытием. Количество потребных электродов в штуках подсчитывается делением общего веса электродов на вес одного электрода с учетом веса покрытия.

Для упрощения подсчета количества наплавленного металла швов, выполненных в стык, можно пользоваться следующей формулой


где - коэффициент на угар, ;

 - толщина свариваемого металла, мм,

Норма времени включает ряд элементов: tо - основное время; tв - вспомогательное время; tорм - время обслуживания рабочего места; tп - время перерыва на отдых; Tп-з - подготовительно-заключительное время.

Основное время - время в течение которого происходит изменение размеров, формы и свойств обрабатываемых поверхностей детали.

Вспомогательное время включает две составляющие: время на установку и снятие детали и время, связанное с переходом.

Время обслуживания рабочего места и время перерыва на отдых принимается в процентах от оперативного времени, которое равно сумме основного и вспомогательного времени.

Подготовительно-заключительное время даётся на парию и не зависит от величины этой партии.

Штучно-калькуляционное время определяется по формуле:

,


где  - длина шва, м, ();

 - скорость сварки, см/мин, ();

 - коэффициент, учитывающий время обслуживания рабочего места, отдых и личные надобности рабочего;

 - вспомогательное время на установку, закрепление и снятие детали, мин, ;

- время на очистку и контроль погонного метра наплавленного валика, мин/м, ;

Техническое нормирование операций технологического процесса

Норма времени включает ряд элементов:

tо - основное время;

tв - вспомогательное время;

tорм - время обслуживания рабочего места;

tп - время перерыва на отдых;

Tп-з - подготовительно-заключительное время.

Основное время - время в течение которого происходит изменение размеров, формы и свойств обрабатываемых поверхностей детали.

Вспомогательное время включает две составляющие: время на установку и снятие детали и время, связанное с переходом.

Время обслуживания рабочего места и время перерыва на отдых принимается в процентах от оперативного времени, которое равно сумме основного и вспомогательного времени.

Подготовительно-заключительное время даётся на парию и не зависит от величины этой партии.

Штучно-калькуляционное время определяется по формуле:

,

Токарная обработка:

,

где Lpx - длина рабочего хода инструмента, мм; i - число проходов; n - частота вращения шпинделя, об./мин.; S - подача инструмента, мм/об.

мин.

,

где Тву - вспомогательное время на установку-снятие, с; Твп - вспомогательное время, связанное с переходом.

мин.

мин.

мин.

Вспомогательное время Тв затрачиваемое на настройку, пуск, на выключение установки, очистку наплавляемой поверхности. Дополнительное время Тдоп составляет 15 % от оперативного времени. Оперативное время Топ состоит из суммы основного и вспомогательного времени.


Подготовительно-заключительное время Тпз =16 мин. Нормируемое время выражается формулой:


6. Конструкторская разработка

Для начала стоит отметить, что в этом случае для приваривания накладки требуется не зажимы, так как деталь установлена под углом и не представляется возможным зажать ее в определенном положении.


В связи с этим был выбран магнитный фиксатор типа WM-L и WM-LS.

Рассчитаем силу притяжения магнита. Но сначала поясню: ферромагнетик, помещённый в магнитное поле магнита, сам превращается в постоянный магнит, который и взаимодействует с данным магнитом.

Сила их взаимодействия зависит от множества факторов - формы, размеров и взаимного расположения магнита и ферромагнетика, магнитной индукции поля в месте расположения ферромагнетика, его магнитной проницаемости и др. характеристик.

Начнем с массы накладки


Значит нужно рассчитать магнит который должен удержать мин 8,5 кг, так как магнит со временем теряет свои свойства 10-15%, а так же общий сила которую должен удержать магнит:

кг

Это в положении когда магнит весит на одной части.

Отсюда делаем вывод сила магнита должна быть не менее 15.

Формулы для приблизительного расчета несложных магнитных систем на основе постоянных магнитов, рекомендуемые английской фирмой Dexter, вполне доступные для понимания. Все последующие формулы, комментарии и картинки взяты непосредственно со страницы фирмы.

Расчет магнитной индукции для призматических магнитов намагниченных по длине, толщиной (h), шириной (b), шириной накладки(t), и длиной (a), для накладки расположенной вдоль поверхности магнитной оси производится по формуле:


Br - остаточная индукция, т.е. основная силовая характеристика постоянного магнита,

BHmax - энергетическое произведение

Таблица 10


Из этой таблицы выбираем по значению Br - Керамику (феррит), скручиваем ее планкой и сверху накручиваем гайку барашек.

Гайка барашек (DIN 315) - применяется в машиностроении, приборостроении, автомобилестроении и сантехнике. Также используется в менее ответственных соединениях, где требуется частая и быстрая сборка-разборка крепежного соединения без применения инструментов.

Для удобства использования и долговечности красим магниты в красный цвет.

Заключение

В курсовой работе разработан единичный технологический процесс восстановления проушины кольцевой рамы. Проведен анализ способов сварки. Для единичного ремонта трещин выбираем ручную дуговую сварку штучным электродом, изношенное отверстие наплавляем полуавтоматическим способом в среде СО2.

Произведены расчеты режимов обработки. Спроектирован магнитный фиксатор.

Список использованных источников

1. Технический кодекс установившейся практики ТКП 45-1.03-103-2009 (02250) «Краны грузоподъемные. Капитальный, полнокомплектный и капитально-восстановительный Ремонты». Правила выполнения. Министерство архитектуры и строительства Республики Беларусь. Минск 2009.

. Молодык Н.В., Зенкин А.С. Восстановление деталей машин. Справочник. - М.: Машиностроение, 1989. - 480 с.: ил.

. Руководящий нормативный документ.

РД 22-16-96 Машины грузоподъемные. Выбор материалов для изготовления, ремонта и реконструкции сварных стальных конструкций

Утвержден заместителем директора СКТБ башенного машиностроения Л.А. Невзоровым. Введен 12 января 1996 г.

. Справочник технолога-машиностроителя. Т.1 / Под редакцией А.Г. Косиловой и Р.К. Мещерякова. - М.: Машиностроение, 1972 г.

. Технология машиностроения: В2 т. Т. 2. Учебник для вузов / В.М. Бурцев, А.С. Васильев, О.М. Даеев и др.; Под ред. Г.Н. Мельникава. - 2-е изд., стереотип. - M.: Изд-во МГТУ им. Н.Э. Баумана,2001. - 640 с., ил.

. «Телефонные аппараты». Кузнецов Е.К. - 2-е издание, 1986. - 185 с.

Похожие работы на - Ремонт проушины ходовой части крана

 

Не нашли материал для своей работы?
Поможем написать уникальную работу
Без плагиата!
Без нейросетей!