Устройство ввода

  • Вид работы:
    Реферат
  • Предмет:
    Информатика, ВТ, телекоммуникации
  • Язык:
    Русский
    ,
    Формат файла:
    MS Word
    137,79 kb
  • Опубликовано:
    2009-01-12
Вы можете узнать стоимость помощи в написании студенческой работы.
Помощь в написании работы, которую точно примут!

Устройство ввода

Устройство ввода

Введение

Устройствами ввода являются те устройства, посредством которых можно ввести информацию в компьютер. Главное их предназначение - реализовывать воздействие на машину. Разнообразие выпускаемых устройств ввода породили целые технологии от осязаемых до голосовых. Хотя они работают по различным принципам, но предназначаются для реализации одной задачи - позволить человеку связаться с компьютером. Устройства ввода графической информации находят широкое распространение благодаря компактности и наглядности способа представления информации для человека. По степени автоматизации поиска и выделения элементов изображения устройства ввода графической информации делятся на два больших класса: автоматические и полуавтоматические. В полуавтоматических устройствах ввода графической информации функции поиска и выделения элементов изображения возлагаются на человека, а преобразование координат считываемых точек выполняется автоматически. В полуавтоматических устройствах процесс поиска и выделения элементов изображения осуществляется без участия человека. Эти устройства строятся либо по принципу сканирования всего изображения с последующей его обработкой и переводом из растровой формы представления в векторную, либо по принципу слежения за линией, обеспечивающей считывание графической информации, представленной в виде графиков, диаграмм, контурных изображений. Основными областями применения устройств ввода графической информации являются системы автоматизированного проектирования, обработки изображений, обучения, управление процессами, мультипликации и многие другие. К этим устройствам относятся сканеры, кодирующие планшеты (дигитайзеры), световое перо, сенсорные экраны, цифровые фотокамеры, видеокамеры, клавиатура компьютера, манипулятор "мышь" и другие.

Сканер

Сканер относится к автоматическим устройствам ввода графической информации. Существуют несколько типов сканеров, различающихся по способу перемещения считывающего механизма (его головки) и оригинала относительно друг друга: ручной, рулонный, планшетный, проекционный и барабанный.

Ручной сканер - самый простой тип сканера. Здесь роль привода считывающего механизма выполняет рука человека, и по характеру работы этот тип сканеров чем-то напоминает мышь. Очевидно что, насколько равномерно пользователь перемещает сканер, зависит степень искажения передаваемого в компьютер изображения. К основным достоинствам этого типа сканеров относятся небольшие габаритные размеры и сравнительно низкая цена, а недостатки вытекают из принципа конструкции. При помощи таких сканеров невозможно ввести изображение формата А4 за один проход, поскольку считывающая головка имеет малые габариты (стандартная ширина - 105 мм). Современные ручные сканеры могут обеспечивать автоматическую "склейку" изображения , то есть формируют целое изображение из отдельно вводимых его частей. В общем добиться высокого качества изображения с их помощью очень трудно, поэтому ручные сканеры можно использовать для ограниченного круга задач. Кроме того, они совершенно лишены "интеллектуальности", свойственной другим типам сканеров.

У рулонных сканеров сканирующая головка стоит на месте, а бумага перемещается относительно нее с помощью протяжного механизма (как в матричном принтере). Основное достоинство - при сравнительно невысокой цене сканера - возможность ввода документов формата А4. Однако отсканировать книгу удастся, лишь предварительно разделив ее на отдельные листы.

Этого недостатка лишены планшетные (наиболее распространенный тип) сканеры, у которых сканирующая головка перемещается относительно бумаги с помощью шагового двигателя. Первоначально использовались для сканирования непрозрачных оригиналов. Почти все модели имеют съемную крышку, что позволяет сканировать "толстые" оригиналы (журналы, книги). Дополнительно некоторые модели могут оснащаться механизмом подачи отдельных листов. В последнее время многие фирмы-лидеры в производстве планшетных сканеров стали дополнительно предлагать слайд-модуль (для сканирования прозрачных оригиналов). Слайд-модуль имеет свой расположенный сверху источник света. Такой слайд-модуль устанавливается на планшетный сканер вместо простой крышки и превращает его в универсальный.

У проекционных сканеров считывающая часть перемещается при помощи микромеханизма. Внешний вид их напоминает фотоувеличитель. Некоторые из этих сканеров не используют специального источника света, им достаточно естественного освещения. Хотя проекционные сканеры обеспечивают сканирование с высоким разрешением и качеством слайдов небольшого формата (как правило, размером не более 4 на 5 дюймов), документов, книг, добавляя способность вводить в компьютер проекции трехмерных предметов, они обладают существенным недостатком - низкой скоростью сканирования. Существуют две модификации: с горизонтальным и вертикальным расположением оптической оси считывания.

Основное отличие барабанных сканеров состоит в том, что оригинал закрепляется на прозрачном барабане, который вращается с большой скоростью. Считывающий элемент располагается максимально близко от оригинала. Данная конструкция обеспечивает наибольшее качество сканирования. Обычно в барабанные сканеры устанавливают три фотоумножителя, и сканирование осуществляется за один проход. "Младшие" модели у некоторых фирм с целью удешевления используют вместо фотоумножителя фотодиод в качестве считывающего элемента. Барабанные сканеры способны сканировать непрозрачные и прозрачные одновременно.

Типов оригиналов бывает всего два: прозрачные (негативные и позитивные слайды), которые сканируют в проходящем свете, и непрозрачные, сканируемые в отраженном свете. Непрозрачные оригиналы представляют собой либо аналоговые изображения - фотографии, либо дискретные - иллюстрации из печатных изданий.

Считывание изображения

Несмотря на большое многообразие, практически все они основаны на едином принципе считывания данных. Развертка изображения по оси Y осуществляется чисто механически, по оси X картинка считывается многоэлементным фотоприемными линейками с использованием протяженного осветителя и объектива: графическое изображение равномерно освещается и отраженный световой поток попадает на фотоприемную линейку, представляющую собой рецепторное поле. Каждый фотоприемник формирует на выходе электрический сигнал, пропорциональный принятому световому потоку то соответствующего элемента изображения. Выходы элементов линейки последовательно опрашиваются. Электрический сигнал с его выхода с помощью АЦП преобразуется в двоичный код (для многоградационных графических изображений); этот код совместно с номером фотоприемника представляет описание графического элемента, он передается в ЭВМ. Число фотоприемников в линейке составляет от 2000 и выше. Кроме стандартных решений с линейкой в последнее время стали применяться комбинированные датчики протяженного типа. Каждый элемент такого датчика представляет собой сочетание фотоприемника, осветителя и элементарного оптического преобразователя. Механизмы считывания изображения базируются или на фотоумножителе, или на ПЗС. Фотоумножитель проще всего сравнить с радиолампой-фотосенсором, у которой имеются пластины катода и анода и которая конвертирует свет в электрический сигнал. Считываемая информация подается на фотоумножитель точка за точкой с помощью засвечивающего луча. ПЗС - относительно дешевый полупроводниковый элемент довольно малого размера. ПЗС так же как и умножитель конвертирует световую энергию в электрический сигнал. Набор элементарных ПЗС-элементов располагают последовательно в линию, получая линейку для считывания сразу целой строки, естественно и освещается целая строка оригинала. Цветное изображение такими сканерами считывается за три прохода (с помощью RGB-светофильтра). Многие сканеры имеют три параллельные линейки ПЗС, тогда сканирование цветных оригиналов осуществляется за один проход, так как каждая линейка считывает один из трех базовых цветов. Потенциально ПЗС-сканеры более быстродейственны чем барабанные сканеры на фотоумножителях.

Типы обрабатываемых изображений

По данному критерию сканеры подразделяются на черно-белые, "серые" и цветные. Черно-белые сканеры предназначены для ввода рисунков, текста, чертежей и позволяют вводить изображение в единственном режиме - 1 bpp (бит на пиксель, bits per pixel). Значение этого бита (1 или 0) определяет черную или белую точку. "Серые" сканеры содержат аналого-цифровой преобразователь (АЦП) и позволяют вводить изображение в режиме несколько бит на точку. Количество градаций серого для таких сканеров равно 2n, где n - число bpp. Для bpp=8 имеется 2^8=256 градаций серого, для bpp=6 - 2^6=64 градаций. Уже стали достоянием истории сканеры, которые не имели АЦП и для получения числа bpp более 1 были вынуждены необходимое количество раз проходить одну и ту же строчку. Однако надо отличать "серые" сканеры от эмулирующих серое. Последние поддерживают полутоновый режим. При этом режиме число bpp не меняется и равно 1, а "серость" достигается за счет механизма dithering (размывания), обеспечивающего пользователю возможность получать "серую" картинку, сканируя изображение в черно-белом режиме (с числом bpp 1). Градации серого эмулируются с помощью плотности черных точек (то есть разного количества черных точек на единицу площади изображения). Происходит это следующим образом: все изображение разбивается на участки определенного размера (2*2, 4*4, 8*8), называемые dither pattern (размываемый шаблон). Для каждой точки участка существует свое значение порога, отделяющего черное от белого. Поэтому соседние точки, отличающиеся друг от друга по степени отражения света, могут в результате оказаться одинаковыми, в то время как при простом черно-белом сканировании они были бы разными. Размер участка определяет число градаций серого, которое способен эмулировать сканер. Dither pattern бывают нескольких разновидностей: "fine" (точный),"coarse" (грубый),"bayer" и другие. Для ручных сканеров имеется возможность выбора из трех или четырех, а вид pattern заранее предопределен. В отличии от них планшетные сканеры предоставляют возможность более широкого выбора, а также определения собственных pattern. У цветных сканеров число bpp обычно равно 24, то есть по 8 бит на точку для каждого из цветов (RGB). Соответственно число воспринимаемых цветов - 16777216. Цветные сканеры могут работать и в "сером", и в черно-белом режиме.

Качество изображения

Сканеры различаются по многим параметрам - технологии считывания изображения, типу механизма и некоторым другим. Рассмотрим более подробно параметры сканирующего устройства, влияющие на качество изображения. К таким параметрам относятся разрешающая способность, число передаваемых полутонов или цветов, диапазон оптических плотностей, интеллектуальность сканера, цветовые искажения, точность фокусировки (резкость). Разрешающая способность

При сканировании оригинал разбивается на отдельные части одинакового размера - пиксели. В процессе сканирования каждому пикселю назначается свой адрес. Каждому пикселю по каждому адресу присваивается цифровое значение, соответствующее уровню серого полутона, зарегистрированного считывающим элементом; это называется оцифровкой. Оцифровка штриховых оригиналов относительно проста. В процессе сканирования пиксель может быть либо белым, либо черным. Однако и здесь может быть потеря информации. Например, пиксель содержит 50% белого и 50% черного, тогда требуется выбор чего-то одного. Это приводит к получению эффекта "зубья пилы".

На практике для высококачественного сканирования штриховых оригиналов достаточно иметь разрешающую способность 1200 пикселей на дюйм. Кроме оптической разрешающей способности существует еще "математическая" или программная разрешающая способность (интерполированная). Увеличение разрешающей способности достигается следующим образом: специальная программа при сканировании оригинала анализирует значения двух соседних пикселей и математически находит промежуточное значение, то есть вводит еще один пиксель со значением, полученным математическим путем. Все это было бы хорошо, но не всегда это дает дополнительные преимущества при сканировании. Давайте представим себе оригинал с очень резким перехода тона или, что еще нагляднее, оригинал в виде иллюстрации из журнала, который уже не является аналоговым изображением. В этом случае математическое интерполирование может не совпасть с реальной картиной. Для того, чтобы получить качественное отпечатанное изображение, разрешающая способность при сканировании должна быть в два раза больше линеатуры растра при печати. Введем в это определение коэффициент увеличения изображения, который почти всегда присутствует, и получим формулу, чтобы получить значение разрешающей способности, необходимо линеатуру растра печати умножить на коэффициент увеличения и умножить на два. Существует много сканеров с высокой оптической разрешающей способностью. Вот наиболее часто встречающиеся значения: 1200, 2400, 4000, 5000, 6400 и даже более точек на дюйм. Разрешение более 2400 точек на дюйм трудно достижимо сканерами с ПЗС, или оно достижимо только на очень ограниченной площади, например, не более 40*60 мм.

Следующим качественным параметром является глубина точки, которая и определяет число передаваемых полутонов. Глубина точки - это количество бит, которые сканер может назначить при оцифровывании пикселя. Сканер с глубиной точки 1 бит может регистрировать только два уровня белый и черный, сканер с глубиной точки 8 бит может регистрировать 256 уровней, 12 бит - 4096 уровней. Существуют сканеры с глубиной 13, 14 и 16 бит на точку. Относительно сканеров с ПЗС следует сказать, что глубина точки более 13 бит трудно достижима, так как становится очень трудно отличить уровень сигнала от уровня помех. Так сканер с глубиной точки 13-14 бит может позволить воспроизвести более 1мрлд. цветовых оттенков.

Диапазон оптических плотностей

Один из важнейших параметров сканера - это диапазон оптических плотностей, воспринимаемых им. Диапазон оптических плотностей, являющийся логарифмической производной, измеряется в относительных единицах от нуля и до какого-то значения, которое обычно приводится в технических характеристиках. Глубина точки и динамический диапазон связаны между собой. Глубина точки показывает физическую возможность воспринимать большой диапазон оптических плотностей, а действительный диапазон сканера еще зависит и от чувствительности считывающего устройства, и от электроники, и от механики, применяемой в сканере. Не прозрачные оригиналы имеют диапазон плотностей, где максимальное значение не превышает 2.4-2.5, в то время как слайды могут иметь максимальное значение динамической плотности 4.0. Не много найдется сканеров, которые бы воспринимали динамические плотности от 3.2 и выше. Планшетные ПЗС-сканеры среднего класса имеют значение динамической плотности в диапазоне 2.8-3.0, у ПЗС-сканеров более высокого класса это значение достигает 3.6, и только барабанные сканеры на фотоумножителях имеют динамическую плотность 4.0.

Интеллектуальность сканера

Под интеллектуальностью обычно понимается способность сканера с помощью заложенных в нем аппаратных и поставляемых с ним программных средств автоматически настраиваться и минимизировать потери качества. Наиболее ценятся сканеры, обладающие способностью автокалибровки, то есть настройки на динамический диапазон плотностей оригинала, а также компенсации цветовых искажений. Допустим, нужно отсканировать слайд, имеющий максимальную оптическую плотность 4.0, сканером, воспринимающим оптический диапазон плотностей до 3.2. "Интеллектуальный" сканер сначала делает предварительное сканирование для анализа и получения диаграммы оптических плотностей. Обычно такая диаграмма выглядит приблизительно так, как показано на рисунке. После анализа диаграммы сканер производит свою автокалибровку с целью сдвига своего динамического диапазона восприятия оптических плотностей.

Цветовые искажения сканеров

Каждый сканер обладает своими собственными недостатками при восприятии цветов и общими недостатками, присущими данной модели. Общие недостатки обусловлены техническими возможностями и механическими характеристиками модели. Собственный недостаток сканера обусловлен индивидуальной особенностью освещающего оригинал источника света и считывающего элемента. Все продаваемые сканеры проходят заводскую калибровку. Однако, если сканер имеет функцию автокалибровки, то это большое преимущество перед сканером, лишенным такой функции. Автокалибровка сканера позволяет скорректировать цветовые искажения и увеличить число распознаваемых цветовых оттенков. Поскольку источник света имеет свойство изменять свои характеристики со временем, как, впрочем, и считывающий элемент, наличие автокалибровки приобретает первостепенное значение, если постоянно работать с цветными полутоновыми изображениями. Практически все современные модели сканеров обладают такой функцией.

Точность фокусировки

На заводе-изготовителе проводят настройку фокусировки сканера, тем не менее еще одним признаком интеллектуальности сканера является его способность автоматической настройки фокуса (резкости). Потребность в этом возникает потому, что толщина оригинала может быть различна и должна учитываться. Кроме того сам оригинал может быть не очень резким. Плохая резкость отсканированного изображения обычно приводит к плачевным результатам, особенно, если сканируется небольшой оригинал, изображение которого будет затем увеличиваться при печати.

Аппаратный интерфейс

Интерфейс с адаптером

Большинство ручных сканеров работают через собственную плату адаптера, вставляемую в 8-битовый или 16-битовый слот расширения материнской платы. При этом обмен данными идет через канал прямого доступа DMA с использованием прерывания, возникающего после считывания очередной строки. Практически на всех платах адаптеров существует возможность выбора банка используемых адресов (установкой переключателя в соответствующее положение). На многих платах выбирается также номер используемого канала DMA и номер используемого аппаратного прерывания. Благодаря этому можно избежать конфликта с другими внешними устройствами, уже использующими DMA, IRQ или порты, установленные по умолчанию. Наличие аппаратного прерывания присуще не всем сканерам, так в некоторых ранних моделях данная возможность отсутствовала. Это создавало сложности как для систем OCR, так и для других программных продуктов, поддерживающих в процессе сканирования динамическую запись получаемой информации на жесткий диск. Все современные модели ручных сканеров поддерживают аппаратное прерывание, возникающее при считывании строки. Для остальных типов сканеров данная проблема не актуальна, так как они умеют останавливаться после считывания одной строки. Многие модели рулонных сканеров и планшетных сканеров также работают через плату адаптера.

Интерфейс SCSI

С появлением SCSI производители сканеров стали выпускать устройства, поддерживающие этот интерфейс. В компьютере может быть только одна плата контроллера SCSI, устройства к ней подсоединяются по цепочке. С одной платой контроллера SCSI можно соединить до 7 устройств. Кроме того, SCSI не ориентирован на определенную аппаратную платформу (то есть работает на IBM PC, Macintosh, Sun и других машинах). Новые модели flatbed-сканеров практически всегда поддерживают SCSI.

Последовательный интерфейс (RS232)

Продолжают использоваться сканеры, у которых наряду с возможностью обмена данными через канал DMA существует альтернативный способ связи - через последовательный порт. Но существуют сканеры, обеспечивающие только этот способ связи. Для работы с такими сканерами не нужна плата адаптера, но их крупным недостатком является низкая скорость сканирования, обусловленная природой данного метода связи.

Параллельный интерфейс

В последнее время появляется все больше моделей сканеров, использующих для обмена данными стандартный параллельный порт принтера. Скорость сканирования у данных моделей значительно выше, чем через последовательный интерфейс, но ниже, чем через канал DMA.

Классификация задач, решаемых при помощи сканеров

2. Домашнее применение. Здесь приоритет за ручными и портативно-страничными сканерами. К данной группе можно отнести и использование сканеров в командировках, поездках, библиотеках и т.д., подключается к notebook'у через параллельный порт.

3. Профессиональное издательство. Используются планшетные и специальные (барабанные в том числе) сканеры фирм Agfa, Umax, Epson, Microtek и др.

4. Документооборот. В этой области применяются, главным образом, планшетные и скоростные сканеры фирм Fujitsu, Unisys, Hewlett-Packard, Primax.

5. Потокового ввода в архивы. Используются, как правило, скоростные сканеры фирм Kodak,Unisys, Fujitsu, Hewlett-Packard, Bell+Howell.

Проектирование. К этой группе относятся сканеры (проекционные, рулонные сканеры), применяемые в конструировании, медицине, военных нуждах.

Планшет

Планшет - это полуавтоматическое устройство ввода графической информации со свободно перемещаемым указателем координат. Планшет представляет собой некоторую ограниченную плоскость, полностью соответствующую по конфигурации рабочему полю экрана, но конструктивно с ним не связанную. Когда оператор "пишет" на поверхности планшета, положение соприкасающегося с ним контакта преобразуется в абсолютное значение координат формата экрана. Лучшие образцы планшетов обеспечивают преобразование положения пишущего устройства в координату с погрешностью 0,1%. Использование планшетов исключает необходимость наличия движущегося курсора на экране, так как изображение может воспроизводиться непосредственно в процессе рисования.

Одним из наиболее простых с точки зрения используемых физических принципов планшетов аналогового типа являются акустические, основанные на измерении времени распространения звуковой волны в твердом плоскостном звукопроводе. Так как скорость распространения акустических колебаний в твердых телах постоянна, измеренное время соответствует координате (относительно неподвижного излучателя) точки, в которой расположен приемник. Этот способ использован в кодирующем планшете, схема которого показана на рисунке.

Функцию звукопровода здесь выполняет стеклянный планшет П, к взаимно перпендикулярным торцам которого приклеены два пьезоэлектрических излучателя ПИх и ПИу. Пьезоэлектрический приемник ПП изготовлен в виде трехгранного стержня с заостренным наконечником, сечение которого является равносторонним треугольником. К каждой грани стержня приклеены идентичные пьезоэлементы. Для возбуждения акустических колебаний в звукопроводе используется генератор периодических прямоугольных импульсов Г, имеющий два независимых выхода Uх и Uу, к которым подключены соответственно излучатели ПИх и ПИу. Схема формирователя координатной метки ФКМ состоит из трех одинаковых усилителей, к выходу которых подключены пьезоэлементы приемника. Выходные напряжения усилителей суммируются, что позволяет сделать сигналы метки не зависимыми от повтора и наклона приемника относительно плоскости планшета. Время прохождения акустических волн от излучателей к приемнику измеряется схемами формирования координатных прямоугольных импульсов ФКИх и ФКИу, содержащими триггеры, устанавливаемые в положение "1" передними фронтами импульсов генератора и сбрасываемые в положение "0" импульсом координатной метки. На выходе схемы управления планшетом использован обычный преобразователь длительности импульса в код. Когда приемник прижат к поверхности планшета, ФКИх и ФКИу генерируют периодические импульсы, длительности которых tх и tу пропорциональны измеряемым координатам. Чтобы не возникла интерференция взаимно перпендикулярных волн, возбуждаемых в планшете, импульсы Uх и Uу сдвинуты на время, достаточное для полного затухания одной волны. В ряде магнитострикционных устройств используются магнитострикционные свойства материала, из которого изготовлено рабочее поле планшета. При возбуждении ультразвуковой волны внутри предварительно намагниченного магнитострикционного материала в месте прохождения фронта волны намагниченность изменяется. Это изменение напряженности магнитного поля улавливается катушкой индуктивности, расположенной в указателе координат, и преобразуется в электрический сигнал, свидетельствующий о том, что фронт ультразвуковой волны находится под катушкой. Определение координат в этих устройствах производится так же, как и в акустических,- путем измерения времени распространения фронта ультразвуковой волны от края планшета до указателя координат. Точностные характеристики рассматриваемых устройств относительно невысоки вследствие сильной зависимости скорости распространения волны от внешних факторов, в частности от температуры, давления, влажности, неизотропности структуры материала звукопровода. Важное место среди устройств ввода занимают устройства, называемые сеточными планшетами, основанные на электрическом принципе. Они делятся на контактные, и в зависимости от того, какая из составляющих электромагнитного поля участвует в формировании измерительного сигнала, эти устройства делятся на емкостные, в которых преобразуется электрическая составляющая электромагнитного поля, и индукционные, в которых преобразуется магнитная составляющая.

В контактных сеточных планшетах рабочее поле состоит из ортогональных координатных шин, разделенных тонким слоем диэлектрика, с отверстием в узлах пересечения. На планшет помещается носитель с графической информацией. Считывание осуществляется путем нажатия карандашом на выбранный элемент изображения, расположенный в узле матрицы шин. Верхний лист планшета упруго деформируется и происходит замыкание шины Уi на шину Хi(см. рисунок). Шины Х последовательно возбуждаются от Дш У. Сигнал с шины Хi преобразуется шифратором Шx в двоичный код. Одновременно осуществляется считывание кода координаты У со счетчика СчУ. Разрешающая способность таких планшетов зависит от шага координатной сетки.

На поверхности емкостных и индукционных планшетов создается система вертикальных и горизонтальных проводников, выполненных способом печатного монтажа. Ширина каждого из проводников и расстояние между ними составляет несколько десятков микрон, что позволяет организовать координатную сетку размерностью 1000*1000 градаций и более. Вертикальные и горизонтальные проводники разделены между собой тонкой изолирующей пленкой, а к концам их, выведенным на края планшета, подводится питание от распределителя импульсов. При протекании переменного электрического тока по проводникам координатной сетки вокруг них возникает переменное электромагнитное поле, преобразуемое кольцевым индукционным датчиком в измерительные сигналы, по которым судят о местоположении датчика, укрепленного на "рисующем" стержне, по отношению к координатным шинам планшета. Эти сигналы поступают в схему управления дисплеем, где дешифруются как координаты точки экрана. При движении стержня в памяти образуется последовательность координат, при этом получаемые данные непрерывно проверяются, чтобы обнаружить ошибку или отрыв стержня от планшета.

В емкостных сеточных планшетах указатель координат выполнен в виде штыревого зонда, соединенного с колебательным контуром, имеющим высокое резонансное сопротивление на частоте измерительного сигнала. На практике емкостные сеточные планшеты не получили широкого распространения из-за сложности обеспечения высокой помехозащищенности (для обеспечения достоверности результатов измерения в этих устройствах используются специальные приемы кодирования, в частности код Грея). Кроме того, на этих устройствах нельзя кодировать документы, выполненные карандашом, так как графит как токопроводящий материал вносит погрешность в измерения электрической составляющей поля.

В индукционных сеточных планшетах преобразование магнитной составляющей поля в электрический измерительный сигнал происходит в индукционном датчике, имеющем малое выходное сопротивление. Помехозащищенность такого датчика выше, чем у емкостного, что позволяет получить более высокую разрешающую способность устройства без использования специальных приемов кодирования сигналов, возбуждающих координатные шины планшета. Считывание информации на таких устройствах может производиться с любых немагнитных носителей, что расширяет их область применения по сравнению с емкостными сеточными планшетами.

Для устройств, соответствующих современному уровню развития техники, характерно наличие высокого уровня интеллекта. Это достигается путем встраивания внутрь однокристальных микроЭВМ, позволяющих реализовать в устройстве несколько режимов работы, таких как режим поточечного (однократного) вывода координат точек, режим непрерывного считывания координат, непрерывный инкрементальный режим, при котором происходит каждый раз по достижении любой из считываемых координат величины наперед заданного значения инкремента (0.1,0.2,0.3 мм и т.д.), режим выдачи координат местонахождения координатного указателя по запросу из ЭВМ, диагностический режим. МикроЭВМ позволяет также осуществлять выдачу значения координат как в двоичном, так и в символьном формате в зависимости от характера решаемых задач и типа используемой аппаратуры.

Световое перо

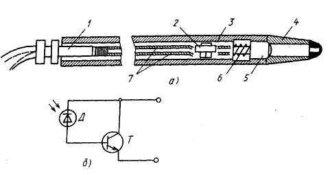
Световое перо относится к полуавтоматическим устройствам, осуществляющим непосредственный контакт с экраном, и работает по принципу временного совпадения. Пером это устройство названо условно, так как никакого воздействия на экран оно не оказывает, а само воспринимает его световое излучение. Конструктивно световое перо состоит из цилиндрического корпуса, внутри которого размещен светочувствительный элемент. На заостренном конце пера имеется отверстие, в котором закреплена линза, фокусирующая попадающий на нее свет и направляющая его на светочувствительный элемент. Последний связан с усилителями, воздействующими на пороговую схему. Все эти элементы обычно собраны в одном корпусе. Для исключения воздействия окружающего света перо включается лишь после прижатия его конца к поверхности экрана. В некоторых конструкциях пера связь с экраном осуществляется с помощью пучка оптических волокон, а светочувствительный элемент и усилители располагаются в отдельной сборке. При такой конструкции размеры и масса пера уменьшаются.

Конструкция (а) и электрическая схема (б) светового пера: 1 - соединительный кабель, 2 - транзистор, 3 - корпус, 4 - наконечник,5 - фотодиод, 6 - пружинный контакт, 7 - проводники.

Список литературы

Алиев Т.М., Вигдоров  Д.И.  Системы  отображения  информации - Москва: Высшая кола, 1988.

Гришин М.П., Курбанов Ш.М., Маркелов В.П. Автоматический ввод и обработка фотографических изображений на ЭВМ - Москва: Энергия,1976.

Гротта Д., Гротта С.В. Сканеры. // Компьютер дома - 1996 - N3.

Дьяков В. Сканирование рисунков ручным сканером. // Домашний компьютер - 1996 - N2.

Ларионов А.М., Горнец Н.Н. Периферийные устройства в вычислительных    системах - Москва: Высшая школа, 1991.

Лувишис И.,  Зарубин Ю., Мазо Б. Сканеры. // Компьютер Пресс - 1994    - N5.

Первый международный  сканерный форум - отражение сканерного рынка.    // HARD'n'SOFT - 1996 - N7.

Периферийное и  терминальное оборудование ЭВМ / под редакцией Смирнова Ю.М. - Москва: Высшая школа, 1990.

Сканеры. // HARD'n'SOFT - 1995 - N3.


Не нашли материал для своей работы?
Поможем написать уникальную работу
Без плагиата!
Без нейросетей!