Расчетно-пояснительная записка теплового расчета парового котла типа БКЗ-320-140
Министерство
образования и науки
Российской
Федерации
Федеральное
агентство по образованию
Московский
Энергетический Институт
(Национальный
Исследовательский Университет)
Институт
тепловой и атомной энергетики
Кафедра
котельных установок и экологии энергетики
Курсовой
проект
Расчетно-пояснительная
записка теплового расчета парового котла типа БКЗ-320-140
Группа: ТФ-04-10
Студент: Никифоров М.А.
Преподаватель: Тупов В.Б.
СОДЕРЖАНИЕ
1. Задание на проектирование
парового котла
. Описание проектируемого котла
.1 Топливный тракт котла.
Характеристики топлива. Выбор схемы подготовки топлива к сжиганию
.2 Воздушный тракт
.3 Водопаровой тракт
. Расчёт экономичности работы котла,
расход топлива, тепловой схемы
.1 Описание расчётной модели
.2 Выбор температуры воздуха на
входе в воздухоподогреватель и температуры уходящих газов по результатам
расчёта низкотемпературной коррозии
.3 Выбор и обоснование исходных
данных. Таблицы исходных данных для расчёта тепловой схемы.
. Сводная таблица результатов
расчёта тепловой схемы
.1 Анализ результатов расчёта
тепловой схемы котла. Графическое представление результатов
. Расчёт конвективного
пароперегревателя.
.1 Описание компоновки и конструкции
пароперегревателя котла
.2 Описание расчётной модели
.3 Выбор и обоснование исходных
данных
.4 Результаты расчёта, его анализ
. Расчёт экономайзера
.1 Компоновка и конструкция
экономайзера, методика расчёта
.2 Выбор и обоснование исходных
данных
.3 Результаты расчёта, его анализ
. Тепловой расчёт
воздухоподогревателя
.1 Расчёт температуры точки росы
дымовых газов
.2 Компоновка и конструкция
воздухоподогревателя, методика расчёта
Литература
1.
ЗАДАНИЕ НА ПРОЕКТИРОВАНИЕ ПАРОВОГО КОТЛА
тепловой
расчет котел
Спроектировать паровой котёл с
естественной циркуляцией типа Е-320-14 (прототип БКЗ 320-140)
производительностью по перегретому пару 
, давлением 
, температурой 
, работающем на каменном угле
Донецкого месторождения, марки Г.
Индивидуальное задание-вариантный
расчёт для определения влияния изменения температуры уходящих газов на расход
сжигаемого топлива.
2.
ОПИСАНИЕ ПРОЕКТИРУЕМОГО КОТЛА
Паровой котёл типа БКЗ-320-140 был
спроектирован для работы со следующими параметрами: номинальная
производительность - 320 т/ч, давление перегретого пара на выходе из котла - 14
МПа, температура-540
. Котельный агрегат имеет П-образную
компоновку и состоит из топочной камеры и конвективной шахты, соединенные в
верхней части горизонтальным газоходом. Все стены топочной камеры, переходного
газохода и верхней части конвективной шахты выполнены из сварных панелей. Котел
предназначен для работы под разрежением. В топочной камере размещены
радиационные панели первичного пароперегревателя, на выходе из топочной камеры
расположены ширмы. В горизонтальном газоходе последовательно по ходу газов
размещены: предвыходная ступень горячего пакета пароперегревателя, выходная
ступень горячего пароперегревателя, выходная ступень холодного пакета
конвективного пароперегревателя. Потолок топочной камеры, горизонтального
газохода и конвективной шахты, а также верхняя часть боковых, фронтовой и
задней стен конвективной шахты экранированы трубами горячего пароперегревателя.
В конвективной шахте расположены входная ступень холодного пароперегревателя,
входной экономайзер и трубчатый воздухоподогреватель. В горизонтальном газоходе
расположена вторая, третья и четвертая ступени пароперегревателя
(соответственно ширмовый пароперегреватель, предвыходные и выходные
микроблоки). В конвективной шахте расположены первая ступень пароперегревателя
(холодный пакет) и две ступени водяного экономайзера. Подогрев воздуха
осуществляется в трубчатом воздухоподогревателе.
Рис.1.1. Поперечный разрез парового
котла БКЗ-320-140.
) Выход шлака из топки котла; 2)
Холодная воронка топки; 3) Вихревые горелки нижнего яруса; 4) Горелки верхнего
яруса; 5) Фронтовой, левый боковой и задняя стенка экранов топки; 6) Пояс
жёсткости; 7) Подвесные трубы заднего экрана; 8) Ширмовый полурадиационный
пароперегреватель; 9) «Горячая» ступень КПП; 10) Выходная ступень КПП; 11)
Взрывной клапан; 12) Пароохладитель первой ступени; 13) Опускные трубы; 14)
Выносные циклоны; 15) Вход питательной воды; 16) Конденсаторы пароохладителей;
17) Выходной коллектор пароперегревателя; 18) Пароохладитель второй ступени;
19) Сборник дроби системы дробеочистки; 20) Потолочный радиационный
пароперегреватель; 21) «Холодная» ступень КПП; 22) Экономайзер; 23) Выход
горячего воздуха; 24) Одноступенчатый двухпоточный воздухоподогреватель; 25)
Вход холодного воздуха; 26) Выход уходящих газов.
Рис. 1.2. Поперечный разрез парового
котла БКЗ-320-140.
) Периодическая продувка; 2)Пояс
жёсткости; 3) Опускные трубы задней стены топки; 4) Подвесные трубы; 5) ШПП; 6)
Непрерывная продувка; 7) Выносной циклон; 8) Конденсатор пароохладителей; 9)
Воздушник; 10) Предохранительный клапан; 11) Сборник дроби; 12) Выход
перегретого пара; 13) Экономайзер; 14) Воздухоподгреватель.
2.1 Топливный тракт котла. Характеристики
топлива. Выбор схемы подготовки топлива к сжиганию.
Привёдем типовую схему пылеприготовления с
прямым вдуванием пыли, которая была выбрана из-за её простоты, компактности
пылеприготовительного оборудования, небольшом расходе электроэнергии на
транспорт аэропыли, простой системе автоматизации подачи топлива
.
Рис. 2. Индивидуальная схема пылеприготовления с
прямым вдуванием пыли в топочную камеру для работы на горячем воздухе под
давлением. 1 - бункер сырого угля; 2 - отсекающий шибер; 3 - питатель угля; 4 -
течка сырого угля; 5- углеразмольиая мельница; 5 - сепаратор пыли; 7 -
пылепровод; 8 - горелка; 9 - паровой котел; 10 - дутьевой вентилятор; 11 -
воздухоподогреватель; 12 - тракт первичного воздуха; 13 - тракт вторичного
воздуха; 14 - короб вторичного воздуха; 15 - подача холодного воздуха для
вентиляции мельницы; 16 - взрывной клапан; 17 - клапан-мн - галка; 18 -
автоматический быстроотсекающий шибер;
В задании на расчёт парового котла был задан
уголь Донецкого месторождения марки Г с теплотехническими характеристиками, приведёнными
ниже.
Таблица 1
|
Состав рабочей массы топлива, %
|
|
|
|
|
|
|
|
|
|
11,0
|
28,5
|
1,0
|
47,2
|
3,3
|
0,9
|
5,6
|
Низшая теплота сгорания 
, МДж/кгПриведённая влажность 
, %*кг/МДжПриведённая зольность 
, %*кг/МДжКоэффициент
размолоспособности
|
Выход
летучих на горючую массу  , %
|
|
|
|
|
|
18,
88
|
0,58
|
1,51
|
1,35
|
41,0
|
Таблица 2
|
Температура
начала нормального ЖШУ, Объёмы, м3/кг при 0 и 0,1 МПаЭнтальпия продуктов
сгорания при 2200 , кДж/кг
|
|
|
|
|
|
|
|
|
|
|
1460
|
5,00
|
0,91
|
3,96
|
0.58
|
20713
|
Для дальнейшего расчёта стоит определиться с
такими режимными параметрами, как тип шлакоудаления, выбор углеразмольной
мельницы и выбор основных расчётных температур.
Следует остановиться на твёрдом
шлакоудалении, так как зола угля достаточно тугоплавкая (
=1460
выход летучих велик (
) и в целом при твёрдом
шлакоудалении снижаются тепловые напряжения топки и снижаются выбросы оксидов
азота.
Выбор типа углеразмольных мельниц
определяется типом и размолоспособностью топлива, а также выходом летучих. При
заданных параметрах топлива оптимальной мельницей будет валковая среднеходная
мельница (СМ), предназначенная для принятой выше пылесистемой с прямым
вдуванием.
Расчёт оптимальных температур
воздуха после калорифера, уходящих газов, горячего воздуха является предметом
технико-экономического расчёта. Для нашего расчета выберем по табл.1.4., 1.5,
1.6 [1] по заданным теплотехническим характеристикам топлива температуру
уходящих газов 
, температуру воздуха после
калорифера 
, температуру горячего воздуха
. Заданные температуры и содержание
серы в рабочей массе топлива обеспечивают, с одной стороны, обеспечивают
минимум капитальных и эксплуатационных затрат, а с другой стороны-обеспечивают
надежную защиту воздухоподогревателя от низкотемпературной коррозии.
2.2 Газовоздушный тракт.
Воздушный тракт--комплекс оборудования для
забора и повышения давления атмосферного (холодного) воздуха, его подогрева,
транспортировки и подачи в топочную камеру. Воздушный тракт включает короба
холодного и горячего воздуха, воздухоподогреватель (воздушная сторона) и
горелочные устройства; аэродинамическое сопротивление воздушного тракта
преодолевается дутьевым вентилятором.
Газовый тракт - комплекс элементов оборудования
котельной установки, по которому осуществляется движение продуктов сгорания из
топки до выхода в атмосферу; он включает горизонтальный газоход и конвективную
шахту парового котла с расположенными в них поверхностями нагрева, газовый
короб, золоуловитель и заканчивается дымовой трубой. Аэродинамическое
сопротивление газового тракта преодолевается дымососом.
Воздушный и газовый тракты соединяются между
собой последовательно. Так образуется газовоздушный тракт парового котла.
Рис. 3. Схема газовоздушного тракта с
уравновешенной тягой:
- воздухозаборник 2 - короб горячего воздуха; 3
- присосы холодного воздуха; 4 - контроль разрежения на выходе из топки; Б -
барабан-сепаратор; ПП - пароперегреватель; ЭК - экономайзер; ВП -
воздухоподогреватель; ДВ - дутьевой вентилятор; ДС - дымосос; ДТ - дымовая
труба; ПС - система пылеприготовления; Г - горелка; Т - топочная камера.
2.3 Водопаровой тракт котла
Питательная вода подается питательными насосами
в водяной экономайзер. Он представляет собой противоточную трубную поверхность
нагрева с шахматной компоновкой труб, внутри которых протекает вода. Весь
экономайзер греет воду приблизительно до температуры насыщения. Из экономайзера
вода поступает в барабан.
Барабан - это цилиндрический сосуд , с
горизонтальным расположением оси симметрии. С барабаном связаны контуры
циркуляции: вода по опускным трубам попадает в обогреваемые экранные трубы. В
трубах образуется пароводяная смесь, которая по отводящим трубам направляется в
барабан, где происходит разделение воды и пара. Движение осуществляется за счет
естественной циркуляции, т.е разности плотностей воды и пароводяной смеси. Избыточное
количество солей, появившееся из-за меньшей их растворимости в насыщенном паре,
удаляется из контура при помощи непрерывной продувки.
Насщенный пар по трубопроводу направляется в
последующие пакеты пароперегревателей. В потолочном пароперегревателе пар
нагревается в основном под действием теплоты излучения и направляется в
холодную конвективную ступень, которая представляет собой коридорный
теплообменник противоточного типа. Холодная конвективная ступень получает
теплоту в основном за счет конвективного теплообмена. После холодной
конвективной ступени пар попадает в первый пароохладитель, а затем в ширмовый
пароперегреватель. Ширмы-- это U-образные ленты из большого числа параллельно
включенных труб. Ширмы воспринимают конвективное и радиационное тепло. После
ширм пар идет во второй пароохладитель и направляется в выходную конвективную
ступень. По конструкции она похожа на холодную ступень, но является
прямоточной. После нее перегретый пар заданных параметров направляется в
главный паропровод на турбину.
3. Расчёт экономичности работы котла, расхода
топлива, тепловой схемы
.1 Описание расчётной модели
Коэффициент полезного действия, %,
проектируемого парового котла определим методом обратного баланса:

).
Потери теплоты с уходящими газами 
зависит от температуры уходящих
газов и избытка воздуха:
где Hух - энтальпия уходящих газов,
кДж/кг или кДж/м3; определяется по из табл. 2.3 при избытке воздуха в
продуктах, сгорания за воздухоподогревателем; H°х.в - энтальпия холодного
воздуха при расчетной температуре tх.в и α=1:
При сжигании каменного угля
располагаемая теплота топлива определяется по формуле:
В случае предварительного (внешнего)
подогрева воздуха в калориферах перед его поступлением в воздухоподогреватель
котла теплоту такого подогрева 
включают в располагаемую теплоту
топлива:

+Δ
,
Где 
- отношение количества горячего
воздуха к теоретически необходимому, определяется по (1.10) [1]; Δ
выбирается по указаниям; 
-энтальпия теоретического объема
холодного воздуха.
- энтальпия теоретического объема
воздуха на входе в воздухоподогреватель.
Потери теплоты с химическим и
механическим недожогом топлива (qз+q4) зависят от вида топлива и способа его
сжигания и принимаются на основании опыта эксплуатации паровых котлов.
Потери теплоты от наружного
охлаждения через внешние поверхности котла (или одного корпуса при
двухкорпусном исполнении) q5, %, невелики и с ростом номинальной
производительности котла Dном, кг/с, уменьшаются, что выражается следующей
зависимостью при Dном =42-250 кг/с (160-900 т/ч)
Потери теплоты от наружного
охлаждения системы пылеприготовления невелики; они в значительной мере
компенсируются выделением теплоты при работе мельниц, и поэтому оба указанных
фактора не учитываются.
Потери с физической теплотой
удаляемых шлаков q6, %, при твердом шлакоудалении весьма невелики и учитываются
только для многозольных топлив, когда Ар>2,5 
, где 
выражено в МДж/кг.
Расчет потерь с физической теплотой
шлаков ведется по формуле:
где 
-доля шлакоулавливания в топочной
камере, 
-- энтальпия шлака.
Расход топлива В, кг/с, подаваемого
в топочную камеру парового котла, можно определить из баланса между полезным
тепловыделением при горении топлива и тепловосприятием рабочей среды в паровом
котле:
где 
-- расчётная паропроизводительность
котла, кг/с, 
,
, 
-- энтальпии соответственно
перегретого пара, питательной и кипящей воды в барабане парового котла, кДж/кг,

-- расход вторично перегретого пара,
кг/с, 
,
-- энтальпии вторично-перегреваемого
пара на входе и на выходе из пароперегревателей, 
-расход продувочной воды из барабана
парового котла, кг/с., составляющий 2% от расчётной паропроизводительности.
Рассчитывая расход топлива, не стоит
забывать, что из-за механического недожёга топлива сгорит лишь некоторая часть
всего поданного топлива. Этот расход топлива называют расчётным и считают как:
3.2
Выбор температуры воздуха на входе в воздухоподогреватель и температуры
уходящих газов по результатам расчёта низкотемпературной коррозии.
Расчёт оптимальных температур
воздуха после калорифера, уходящих газов, горячего воздуха является предметом
технико-экономического расчёта. Для нашего расчета выберем по табл.1.4., 1.5,
1.6 [1] по заданным теплотехническим характеристикам топлива температуру
уходящих газов 
, температуру воздуха после
калорифера 
, температуру горячего воздуха
. Заданные температуры и содержание
серы в рабочей массе топлива обеспечивают, с одной стороны, обеспечивают
минимум капитальных и эксплуатационных затрат, а с другой стороны-обеспечивают
надежную защиту воздухоподогревателя от низкотемпературной коррозии.
Вышеприведённые сведения подтверждены ниже расчётом температурой точки росы, п.
7.2.
4. Выбор и обоснование исходных данных. Таблицы
исходных данных для расчёта тепловой схемы.
Расчёт тепловой схемы осуществляется средствами
ЭВМ по вышеприведённой расчётной модели (3.1[1]). Приведём таблицу исходных
данных для программы BK14U1.
Таблица 3
|
№
|
Название
|
Обозн.
|
Примечание
|
Значение
|
|
Характеристики
топлива
|
|
1
|
Теоретический
обьём воздуха, м3/кг
|
Vo
|
Заданные
характеристики топлива (Табл 4.2[1])
|
5,00
|
|
2
|
Теоретическая
энтальпия газа при избыткевоздуха ά=1 и
температуре газов 2200 ◦С, кДж/кг
|
Hг
|
|
20713
|
|
3
|
Теоретический
обьем водяных паров, м3/кг
|
VH2O
|
|
0,58
|
|
4
|
Теоретический
обьем сухих трехатомных газов, м3/кг
|
VR2O
|
|
0,91
|
|
5
|
Теоретический
обьем сухих газов, м3/кг
|
Vго
|
|
5,51
|
|
6
|
Зольность
топлива, %
|
Ар
|
|
28,5
|
|
7
|
Низшая
теплота сгорания, кДж/кг
|
Qнр
|
|
18880
|
|
Давление
рабочей среды
|
|
1
|
За
экономайзером, МПа
|
Pэ’’
|
Заданные параметры курсового проектирования
|
16,6
|
|
2
|
В
барабане, МПа
|
Рб
|
|
15,8
|
|
3
|
За
потолочными трубами, МПа
|
Рпот
|
|
15,5
|
|
4
|
За
холодным пакетом конвективного пароперегревателя, МПа
|
Рхп’’
|
|
15
|
|
5
|
За
ширмовым пароперегревателем, МПа
|
Рш’’
|
|
14,5
|
|
6
|
За
горячим пакетом конвективного пароперегревателя, МПа
|
Рпе’’
|
|
14
|
|
Присосы
воздуха
|
|
1
|
В
топке
|
Δάт
|
Заданные параметры курсового проектирования
|
0.08
|
|
2
|
В
ширмах
|
Δάш
|
|
0
|
|
3
|
В
подвесных трубах
|
Δάпт
|
|
0
|
|
4
|
В
горячем пакете пароперегревателя
|
Δάгп
|
|
0.03
|
|
5
|
В
холодном пакете пароперегревателя
|
Δάхп
|
|
0.03
|
|
6
|
В
экономайзере
|
Δάэ
|
|
0.02
|
|
7
|
В
воздухоподогревателе
|
Δάвп
|
|
0.03
|
|
Характеристики
режима
|
|
1
|
Расход
перегретого пара, кг/с
|
D
|
Заданные параметры курсового проектирования
|
88,9
|
|
2
|
Расход
впрыска воды, кг/с
|
Dпр
|
|
4,445
|
|
3
|
Температура
насыщения пара при давлении в барабане, ◦С
|
ts
|
|
346,4
|
|
Температура
пара в перегревателе
|
tпе
|
|
540
|
|
4
|
Температура
питательной воды
|
tпв
|
|
230
|
|
5
|
Коэффициент
избытка воздуха в газах на выходе из топки
|
άт’’
|
|
1,15
|
|
Энтальпии
рабочей среды
|
|
1
|
Перегретого
пара, кДж/кг
|
hпе
|
|
3434,2
|
|
2
|
Насыщенного
пара в барабане, кДж/кг
|
hs’
|
|
1641,7
|
|
3
|
Кипящей
воды в барабане, кДж/кг
|
hs’’
|
|
2587
|
|
4
|
Приращение
энтальпии в горячем пакете пароперегревателя, кДж/кг
|
hгп
|
По
условиям регулирования температуры
|
240
|
|
Температура
воздуха и продуктов сгорания
|
|
1
|
Температура
воздуха после калорифера, ◦С
|
tвп’
|
Выбирается
табл.1.5
[1]
|
30
|
|
2
|
Температура
горячего воздуха, ◦С
|
tгв
|
Выбирается
табл.1.6
[1]
|
250
|
|
3
|
Температура
уходящих газов, ◦С
|
Θух
|
Выбирается
табл.1.4
[1]
|
125
|
|
4
|
Температура
на выходе из топки, ◦С
|
Θт’
|
По
рекомен. Стр.157 [1]
|
1100
|
|
|
|
|
|
|
Тепловые
потери
|
|
1
|
От
химического недожога, %
|
q3
|
Табл.
4.6 [1]
|
0
|
|
2
|
От
механического недожога
|
q4
|
Табл.
4.6 [1]
|
1.5
|
|
3
|
С
наружным охлаждением котла
|
q5
|
По
формуле (60/D)^0.5/lgDном
|
0,421
|
|
|
|
|
|
|
1
|
Допустимое
теплонапряжение обьема топки, кВт/м3
|
qдоп
|
Табл.
4.6 [1]
|
175
|
|
Конструктивные
характеристики топки
|
|
1
|
Ширина
топки, м
|
ат
|
Заданные параметры курсового проектирования
|
12,096
|
|
2
|
Глубина
топки, м
|
вт
|
|
6,7
|
|
3
|
Размер
выходной щели из холодной воронки, м
|
вхв
|
|
1
|
|
4
|
Высота
холодной воронки, м
|
hхв
|
|
4
|
|
5
|
Расстояние
от верха холодной воронки до оси горелок, м
|
hг
|
|
3
|
|
6
|
Высота
выхода газов из топки в ширмы, м
|
hш
|
|
7,5
|
|
7
|
Горизонтальный
размер выступа ширм в обьеме топки, м
|
cш
|
|
1,9
|
|
Конструктивные
характеристики ширм
|
|
1
|
Число
параллельных труб в ленте ширмы
|
nтр
|
Заданные параметры курсового проектирования
|
|
2
|
Число
ширм в поперечном сечении газохода
|
nш
|
|
16
|
|
3
|
Высота
ширм в выходном сечении, м
|
hшвых
|
|
5,1
|
|
4
|
Суммарная
глубина собственно ширм,
|
Cш
|
|
1,9
|
.1 Анализ результатов расчёта тепловой схемы
котла. Графическое представление результатов.
Приведём результаты расчёта тепловой схемы и
экономичности парового котла, индивидуального задания-- определения влияния
изменения температуры уходящих газов на расход сжигаемого топлива-- в виде
таблиц.
Таблица 4. Основной расчёт при
температуре уходящих газов 
,
|
|
Топка
|
Ширма
|
ПТ
|
ГП
|
ХП
|
Э
|
ВП
|
|
Избыток воздуха за элементом
|
1,15
|
1,15
|
1,15
|
1,18
|
1,21
|
1,23
|
1,26
|
|
Средний
объём дымовых газов, м3/кг
|
6,27
|
6,27
|
6,27
|
6,35
|
6,50
|
6,63
|
6,76
|
|
Объёмная
доля водяных паров
|
0,094
|
0,094
|
0,094
|
0,093
|
0,092
|
0,090
|
0,089
|
|
Суммарная
объёмная доля трёхатомных газов
|
0,239
|
0,239
|
0,239
|
0,237
|
0,232
|
0,227
|
0,223
|
|
Концентрация
золы в газах, г/м3
|
43,2
|
43,2
|
43,2
|
42,6
|
41,7
|
40,9
|
40,1
|
|
Температура
греющей среды: на входе,
|
1979
|
1079
|
955
|
948
|
783
|
528
|
273
|
|
на
выходе
|
1079
|
955
|
948
|
783
|
528
|
273
|
125
|
|
Температура
нагреваемой среды,
|
--
|
--
|
--
|
--
|
--
|
--
|
--
|
|
на
входе,
|
346
|
418
|
346
|
457
|
349
|
241
|
30
|
|
на
выходе
|
346
|
482
|
346
|
540
|
418
|
303
|
250
|
|
Энтальпия
греющей среды, кДж/кг
|
--
|
--
|
--
|
--
|
--
|
--
|
--
|
|
на
входе,
|
20679
|
10550
|
9213
|
9139
|
7548
|
5038
|
2548
|
|
на
выходе
|
10550
|
9213
|
9139
|
7548
|
5038
|
2548
|
1191
|
|
Энтальпия
нагреваемой среды, кДж/кг
|
--
|
--
|
--
|
--
|
--
|
--
|
--
|
|
на
входе,
|
1642
|
3023
|
-
|
3194
|
2673
|
1045
|
393
|
|
на
выходе
|
-
|
3277
|
-
|
3434
|
3023
|
1380
|
1666
|
|
Тепловосприятие
по балансу, кДж/кг
|
10083
|
1331
|
74
|
1589
|
2505
|
2483
|
1381
|
Таблица 5. Индивидуальный расчёт при
температуре уходящих газов 
,
|
ТопкаШирмаПТГПХПЭВП
|
|
|
|
|
|
|
|
|
Избыток
воздуха за элементом
|
1,15
|
1,15
|
1,15
|
1,18
|
1,21
|
1,23
|
1,26
|
|
Средний
объём дымовых газов, м3/кг
|
6,27
|
6,27
|
6,27
|
6,35
|
6,50
|
6,63
|
6,76
|
|
Объёмная
доля водяных паров
|
0,094
|
0,094
|
0,094
|
0,093
|
0,092
|
0,090
|
0,089
|
|
Суммарная
объёмная доля трёхатомных газов
|
0,239
|
0,239
|
0,239
|
0,237
|
0,232
|
0,227
|
0,223
|
|
Концентрация
золы в газах, г/м3
|
43,2
|
43,2
|
43,2
|
42,6
|
41,7
|
40,9
|
40,1
|
|
Температура
греющей среды: на входе,
|
1979
|
1100
|
970
|
963
|
798
|
545
|
258
|
|
на
выходе
|
1100
|
970
|
963
|
798
|
545
|
258
|
110
|
|
Температура
нагреваемой среды,
|
--
|
--
|
--
|
--
|
--
|
--
|
--
|
|
на
входе,
|
346
|
418
|
346
|
457
|
349
|
241
|
30
|
|
на
выходе
|
346
|
482
|
346
|
540
|
418
|
303
|
250
|
|
Энтальпия
греющей среды, кДж/кг
|
--
|
--
|
--
|
--
|
--
|
--
|
--
|
|
на
входе,
|
20679
|
10769
|
9373
|
9298
|
7703
|
5215
|
2405
|
|
на
выходе
|
10769
|
9373
|
9298
|
7703
|
5215
|
2405
|
1048
|
|
Энтальпия
нагреваемой среды, кДж/кг
|
--
|
--
|
--
|
--
|
--
|
--
|
--
|
|
на
входе,
|
1642
|
3023
|
-
|
3194
|
2673
|
1045
|
393
|
|
на
выходе
|
-
|
3277
|
-
|
3434
|
3023
|
1380
|
1666
|
|
Тепловосприятие
по балансу, кДж/кг
|
10083
|
1390
|
74
|
1594
|
2481
|
2803
|
1381
|
Таблица 6. Индивидуальный расчёт при
температуре уходящих газов 
,
|
|
Топка
|
Ширма
|
ПТ
|
ГП
|
ХП
|
Э
|
ВП
|
|
Избыток
воздуха за элементом
|
1,15
|
1,15
|
1,15
|
1,18
|
1,21
|
1,23
|
1,26
|
|
Средний
объём дымовых газов, м3/кг
|
6,27
|
6,27
|
6,27
|
6,35
|
6,50
|
6,63
|
6,76
|
|
Объёмная
доля водяных паров
|
0,094
|
0,094
|
0,094
|
0,093
|
0,092
|
0,090
|
0,089
|
|
Суммарная
объёмная доля трёхатомных газов
|
0,239
|
0,239
|
0,239
|
0,237
|
0,232
|
0,227
|
0,223
|
|
Концентрация
золы в газах, г/м3
|
43,2
|
43,2
|
43,2
|
42,6
|
41,7
|
40,9
|
40,1
|
|
Температура
греющей среды:
|
--
|
--
|
--
|
--
|
--
|
--
|
|
на
входе,
|
1979
|
1082
|
958
|
951
|
787
|
535
|
287
|
|
на
выходе
|
1082
|
958
|
951
|
787
|
535
|
287
|
140
|
|
Температура
нагреваемой среды,
|
--
|
--
|
--
|
--
|
--
|
--
|
--
|
|
на
входе,
|
346
|
418
|
346
|
457
|
349
|
241
|
30
|
|
на
выходе
|
346
|
482
|
346
|
540
|
418
|
303
|
250
|
|
Энтальпия
греющей среды, кДж/кг
|
--
|
--
|
--
|
--
|
--
|
--
|
--
|
|
на
входе,
|
20679
|
10579
|
9244
|
9169
|
7593
|
5115
|
2690
|
|
на
выходе
|
10579
|
9244
|
9169
|
7593
|
5115
|
2690
|
1334
|
|
Энтальпия
нагреваемой среды, кДж/кг
|
--
|
--
|
--
|
--
|
--
|
--
|
--
|
|
на
входе,
|
1642
|
3023
|
-
|
3194
|
2673
|
1045
|
393
|
|
на
выходе
|
-
|
3277
|
-
|
3434
|
3023
|
1380
|
1666
|
|
Тепловосприятие
по балансу, кДж/кг
|
10054
|
1329
|
74
|
1575
|
2473
|
2417
|
1381
|
Таблица 7. Сводная таблица результатов расчёта
тепловой схемы
|
tух
=125 tух=110 tух =140
|
|
|
|
Расход
топлива, кг/с
|
12,0
|
11,90
|
12,09
|
|
КПД
котла, %
|
93,2
|
94,0
|
92,5
|
|
Тепловая
потеря с уходящими газами, %
|
4,9
|
4,1
|
5,6
|
|
Площадь
стен топки, м2
|
987,8
|
950,3
|
987,8
|
|
Объём
топки, м3
|
1697,7
|
1616,6
|
1697,7
|
|
Невязка
теплового баланса, %
|
0,033
|
0,033
|
0,033
|
|
H-высота
нижней призматической части топки
|
14
|
13
|
14
|
|
R5-Теплота излучения из
топки в ширму, кДж/кг
|
912,8
|
921,9
|
909,4
|
|
R3-Теплонапряжение стен
топки, кВт/м3
|
122
|
124
|
123
|
|
E9-Теплонапряжение сечения
топки, кВт/м2
|
2793
|
2771
|
2816
|
|
R2-Объёмное теплонапряжение
в топке, кВт/м2
|
134,9
|
1405
|
135,9
|
|
Q9-Тепловосприятие
потолочного пароперегревателя, кДж/кг
|
606,1
|
617,8
|
604,4
|
|
F3-Площадь дополнительных
поверхностей ширм, м2
|
51,5
|
51,5
|
51,5
|
|
Y9-Поперечный шаг ширм, м
|
0,712
|
0,712
|
0,712
|
|
H2-Поверхность ширм, м2
|
456
|
456
|
456
|
|
A3-Коэффициент теплоотдачи
излучением в ширмах, Вт/(м2*К)
|
114,8
|
118,3
|
115,5
|
|
A1-Коэффициент теплоотдачи
конвекцией в ширмах, Вт/(м2*К)
|
29
|
29,1
|
29,2
|
|
A0-Коэффициент теплового
излучения топки
|
0,95
|
0,94
|
0,95
|
|
U-Средний коэффициент
тепловой эффективности топки
|
0,49
|
0,49
|
0,49
|
|
R6-Теплота излучением на
выходе из ширм, кДж/кг
|
250,8
|
261
|
250,5
|
|
N2-Тепловосприятие ширм,
кДж/кг
|
1790,8
|
1842,9
|
1786,5
|
Анализируя вышеприведённые
результаты расчётов, можно судить, что температура уходящих газов- один из
основополагающих параметров, определяющих экономичность и режим работы
котлоагрегата. Уменьшение температуры уходящих газов до 
, снижает потери тепла с уходящими
газами q2 с 4,9 до 4,1 %, что увеличивает КПД котла с 93,2 до 94, 0 % и как
следствие, уменьшает расход топлива с 12,0 до 11,9 кг/с (378432 против 375278
т/год) и увеличивает тепловосприятие поверхностей нагрева с 19446 до 19806
кДж/кг . Несомненно, с точки зрения термодинамического цикла такой котёл
экономичнее, нежели расчётный. Однако это приведёт к возрастанию капитальных
затрат на увеличение поверхностей нагрева, а также будет наблюдаться
низкотемпературная коррозия нижних ступеней трубчатого воздухоподогревателя.
Увеличение же температуры уходящих газов до 
приводит к падению КПД до 92,5
против 93,2% и к увеличению расхода топлива на 3154 т/год. Вышеприведённые
сведения гораздо легче привести графиками зависимости основных показателей
котла, как КПД, потерям с уходящими газами q2, тепловосприятием, расхода
топлива в зависимости от температуры уходящих газов.
Рис.5. Зависимость КПД котла от
температуры уходящих газов.
Рис.6. Зависимость тепловосприятия
поверхностей нагрева котла от температуры уходящих газов.
Рис.7. Зависимость потерь тепла с
уходящими газами от температуры уходящих газов.
Рис.8. Зависимость расхода топлива
от температуры уходящих газов.
5. Расчёт конвективного
пароперегревателя.
.1. Описание компоновки и
конструкции пароперегревателя котла
Пароперегреватель котла БКЗ-320-140
конструктивно выполнен четырехступенчатым. В горизонтальном газоходе
расположена вторая, третья и четвертая ступени пароперегревателя, в
конвективной шахте расположена первая ступень - “холодный пакет”. В целях
снижения общей стоимости пароперегревателя за счет сокращения веса
высококачественных и наиболее дорогих марок сталей в котлоагрегатах отдельные
элементы пароперегревателя выполнены из различных по качеству сталей. Каждая из
них в своей рабочей зоне температуры и давления используется максимально и
имеет небольшой запас прочности.
В пароперегревателях расчетная
температура пара уже близка к предельной по условиям прочности металла. Металл
змеевиков пароперегревателя работает в очень тяжелых температурных условиях,
практически на пределе своих механических свойств. Надежная работа
пароперегревателя обеспечивается в том случае, когда температура стенки трубы
не превышает максимально допустимого значения по условиям прочности металла.
Например, холодный пакет пароперегревателя выполнен из Ст.20 с предельно
допустимой температурой в 450◦С, а выходные микроблоки выполнены из стали
12Х1МФ с предельно допустимой температурой 550◦С.
Пароперегреватель по характеру
восприятия тепла делится на три части: радиационную, полурадиационную и
конвективную. Радиационную часть составляют трубы потолка, экранирующие потолок
топочной камеры и горизонтальный газоход. Полурадиационную часть составляют 24
ширмы, расположенные на входе в поворотный газоход. Конвективная часть
расположена в горизонтальном газоходе (третья и четвертая ступень
пароперегревателя) и конвективной шахте ("холодный" пакет
пароперегревателя).
Движение пара в пароперегревателе
происходит двумя отдельными потоками. Для уменьшения температурных разверток
пара применены переброс пара по ширине котла и перемешивание в камерах
пароохладителя.
Движение пара в пароперегревателе
котлов происходит по следующей схеме: из барабана по 12 трубам 133 х 13 мм.,
ст. 20, пар поступает в две камеры 219 х 25 мм., сталь 20, средних панелей
потолочного пароперегревателя. Средние панели экранируют среднюю часть потолка
котла и задней стенки поворотной камеры и выполнены из 149 труб 38 х 4 мм.,
сталь 20.
Пройдя средние панели, пар поступает
в две камеры 273 х 36 мм., сталь 20, из которых по двум трубам 273 х 36 сталь
20, направляется в две нижние входные камеры 273 х 36 мм., сталь 20,
"холодного" пакета. "Холодный" пакет выполнен из труб 32 х
4 мм., сталь 20, а выходные петли из стали 12Х1МФ.
Пройдя противотоком
"холодный" пакет, пар поступает в две выходные камеры 273 х 36 мм,
сталь 20, из которых попадает в два пароохладителя до ширм 273 х 36 мм., сталь
20, откуда по 12 трубам 133 х 13 мм., сталь 20, направляется в две камеры 273 х
36 мм., сталь 20 крайних панелей, экранирующих крайние части задней стенки
поворотной камеры и потолка котла.
Панели выполнены из 150 труб 38 х
4,5 мм., сталь 12Х1МФ. Пройдя крайние панели, пар поступает в две камеры 273 х
36 мм., сталь 20 из которых по 12 трубам 133 х 13 мм., сталь 20, подается в 12
крайних ширм, выполненных из труб 32 х 4 мм., сталь 12Х1МФ. Из крайних ширм пар
поступает в два пароохладителя 273 х 25 мм., сталь 12Х1МФ, второй ступени из
которых по 12 трубам 133 х 13 мм., сталь 12Х1МФ, проходит в 12 средних ширм,
выполненных из труб 32 х 4 мм., сталь 12Х1МФ. Пройдя средние ширмы, пар
поступает в две камеры 273 х 25 мм., сталь 12Х1МФ, из которых по 12 средним
предвыходным микроблокам, выполненных из труб 32 х 5 мм., сталь 12Х1МФ,
подается в два пароохладителя третьей ступени 325 х 36 мм., 12Х1МФ.
После пароохладителей третьей
ступени, пар поступает в 12 крайних предвыходных микроблоков, выполненных из
труб 32 х 5 мм., сталь 12Х1МФ, из которых поступает в 12 крайних выходных
микроблоков. Пройдя крайние выходные микроблоки, пар поступает в две
смешивающие камеры 273 х 36 мм., сталь 12Х1МФ, из которых по 12-ти средним
выходным микроблокам попадает по трубам 133 х 20 мм., сталь 12Х1МФ в
паросборную камеру 273 х 45 мм., сталь 12Х1МФ. Выходные микроблоки выполнены из
труб 32 х 5 мм., сталь 12Х1МФ. Выход пара двухсторонний.
.2 Описание расчётной модели
Тепловосприятие ступеней определим
по (5.6) [1], кДж/кг
где 
-расход рабочей среды через
рассчитываемую поверхность, кг/с, 
-- расчётный расход сжигаемого
топлива, кг/с.
Температурный напор определим по
(6.48) [1]
где 
и 
- средние температуры сред в
пределах поверхности, 
Длина одного змеевика перегревателя,
рассчитанная по наружной стороне труб, м
где 
- число труб пароперегревателя в
ряду, 
-число радов труб.
Число петель в пакете
пароперегревателя
где h- высота
горизонтального пакета перегревателя, м
Глубина пакета пароперегревателя по
ходу газов, м
где 
-шаг одной петли змеевика
пароперегревателя.
.3 Выбор и обоснование исходных
данных
Расчёт холодного пароперегревателя
осуществляется средствами ЭВМ по вышеприведённой расчётной модели (5.5[1]).
Приведём таблицу исходных данных для программы IRAG206.
Таблица 8.
|
№
|
Название
|
Обозн.
|
Примечание
|
Значение
|
|
Конструктивные
характеристики
|
|
1
|
Внутренний
диаметр труб , м
|
dвн
|
Заданные
конструктивные характеристики
|
0,024
|
|
2
|
Наружный
диаметр труб , м
|
dн
|
|
0,032
|
|
3
|
Cредняя высота газохода, м
|
hср
|
|
5
|
|
4
|
Ширина
топки, м
|
aт
|
|
12,096
|
|
5
|
Число
рядов труб у коллектора
|
zp
|
|
5
|
|
6
|
Предварительная
длина пакета, м
|
lоб
|
|
1
|
|
7
|
Глубина
газового объёма, м
|
Qнр
|
|
0,7
|
|
8
|
Поперечный
шаг труб, м
|
s1
|
|
0,12
|
|
9
|
Продольный
шаг труб, м
|
s2
|
|
0,064
|
|
10
|
Число
ходов пара в ступени
|
zx
|
|
1
|
|
Характеристики
продуктов сгорания
|
|
1
|
Теоретический
обьём сухого воздуха, м3/кг
|
Vo
|
Заданные
характеристики топлива (Табл 4.2[1])
|
4,42
|
|
2
|
Теоретическая
энтальпия газа при избыткевоздуха ά=1 и
температуре газов 2200 ◦С, кДж/кг
|
Hг
|
|
20713
|
|
3
|
Теоретический
обьем водяных паров, м3/кг
|
VH2O
|
|
0,58
|
|
4
|
Теоретический
обьем сухих трехатомных газов, м3/кг
|
VR2O
|
|
0,91
|
|
5
|
Теоретический
объём азота, м3/кг
|
Vго
|
|
5,51
|
|
6
|
Зольность
топлива, %
|
Ар
|
|
28,5
|
|
7
|
Доля
уноса золы, %
|
Аун
|
ТШУ
|
0,95
|
|
Режимные
параметры
|
|
1
|
Расход
пара через ступень, кг/с
|
|
D- Dпр +Dвпр
|
86,23
|
|
2
|
Расчётный
расход топлива, кг/с
|
|
|
11,99
|
|
3
|
Среднее
давление пара в ступени, МПа
|
|
(Pпот-Pхп)/2
|
15,25
|
|
4
|
Температура
пара на входе,  Расчёт тепловой схемы, Таблица
4349
|
|
|
|
|
5
|
Температура
пара на выходе,  418
|
|
|
|
|
6
|
Энтальпия
пара на входе, кДж/кг
|
|
|
2673
|
|
7
|
Энтальпия
пара на выходе, кДж/кг
|
|
|
3023
|
|
8
|
Избыток
воздуха за КПП
|
|
Заданные параметры курсового проектирования
|
1,21
|
|
9
|
Присосы
воздуха в КПП
|
|
|
0,03
|
|
10
|
Коэффициент
сохранения теплоты
|
|
|
0,998
|
|
11
|
Лучистая
теплота
|
|
|
0
|
|
12
|
Энтальпия
газа на входе, кДж/кг
|
|
Расчёт
тепловой схемы, Таблица 4
|
7548
|
|
13
|
Температура
продуктов сгорания на входе,  783
|
|
|
|
|
14
|
Коэффициент
рециркуляции газов
|
|
|
0
|
.4 Результаты расчёта, его анализ
Приведём результаты расчёта холодного пакета
конвективного пароперегревателя в виде таблицы вывода программы IRAG206.
|
№
|
Название
|
Значение
|
|
1
|
Тепловосприятие
пара, кДж/кг
|
2500
|
|
2
|
Тепловосприятие
пакета по балансу, кДж/кг
|
2505
|
|
3
|
Тепловосприятие
потолка, кДж/кг
|
101
|
|
4
|
Тепловосприятие
стен, кДж/кг
|
0
|
|
5
|
Средняя
высота газохода ,м
|
6
|
|
6
|
Поперечный
шаг труб, мм
|
21
|
|
7
|
Энтальпия
продуктов сгорания на выходе из пакета, кДж/кг
|
4850
|
|
8
|
Температура
продуктов сгорания на выходе из пакета, кДж/кг
|
517
|
|
9
|
Средний
температурный напор, 254
|
|
|
10
|
Коэффициент
теплоотдачи конвекцией от газов к стенке трубы, Вт/(м2*К)
|
44
|
|
11
|
Коэффициент
теплоотдачи излучением газов, Вт/(м2*К)
|
50
|
|
12
|
Коэффициент
теплоотдачи конвекцией от стенки трубы к пару, Вт/(м2*К)
|
4085
|
|
13
|
Коэффициент
теплопередачи, Вт/(м2*К)
|
60
|
|
14
|
Поверхность
нагрева собственно перегревателя,м2
|
2074
|
|
15
|
Число
петель
|
6
|
|
16
|
Глубина
пакета, м
|
2,93
|
6.
Расчёт экономайзера
.1 Компоновка и конструкция экономайзера, методика
расчёта
Рис. 9. Принципиальная схема двухпоточного
экономайзера
- входные коллекторы; 2 - выходные коллекторы; 3
- узел крепления труб (стойки и балки); 4 - трубы экономайзера
Расчету теплообмена в экономайзере, как и для
пароперегревателя, предшествует конструктивная и компоновочная проработка
поверхности: выбор диаметра, шагов, толщины труб, числа труб в ряду, числа
рядов труб, выходящих из коллекторов, число параллельно включенных труб,
определение проходных сечений по обеим средам, расположение змеевиков в
газоход.
Поверхность экономайзера набирается плоскими
змеевиками (трубы 32х4; Ст.20) с шахматным расположением труб (S1/d=2,34 ; S2/d=1,72)
и поперечным омыванием газами.
В данном случае экономайзер размещается в
конвективной шахте с нисходящим движением газов. При такой компоновке
наибольшему эрозионному износу подвергаются только змеевики, расположенные у
задней стены конвективной шахты, в результате концентрации золы у внешней
образующей при движении газов в поворотной камере.
При размещении коллектора экономайзера вдоль
боковой стены шахты число труб в одном ряду пакета экономайзера:
Так как применяется шахматный пучок,
то трубы выходят из коллектора несколько рядов (zp = 4).
В данной компоновке экономайзер
состоит из двух параллельно включенных половин с двусторонним движением воды и zк=2. При
этом змеевики каждой половины располагаются от боковой стенки до средней
плоскости с восходящим движением среды по пакету.
Скорости среды определяются
аналогично их расчету в пароперегревателе, т.е. по их действительным расходам
через экономайзер: с учетом обводов газового тракта и расхода воды на
пароохладитель и продувку.
Скорость дымовых газов находится для
межтрубных промежутков (в ряду труб) по размерам газохода экономайзера: по ее
размерам в свету аш и bш, с учетом загромождения газохода
трубами (z1*d*l). Т.е. площадь живого сечения f = aш*bш - z1*d*l.
Полученная скорость газов не должна
превышать допустимой скорости газов (7-14 м/с) по условиям истирания труб
золой.
При номинальной нагрузке скорость
воды в «некипящем» экономайзере или в «некипящей» части «кипящего» экономайзера
не должна быть меньше 0,3 м/с; в «кипящей» части - не менее 1 м/с.
При низких скоростях (ниже указанных
пределов) в «некипящем» экономайзере при недостаточной деаэрации питательной
воды возможно коррозионное изъязвление стенок труб, в «кипящем» экономайзере -
расслоенное движение пароводяной смеси, в результате чего произойдет перегрев
металла труб.
Повышение скорости воды в
экономайзере выше указанных пределов нецелесообразно, так как приводит к
увеличению гидравлического сопротивления, при этом теплопередача не
интенсифицируется.
Необходимая массовая скорость в
экономайзере может быть получена соответствующим подбором значения проходного
сечения по рабочей среде. Если нужную скорость не удается получить, варьируя
поперечный шаг труб s1, то следует изменить число рядов
труб zр,
присоединяемых к коллекторам.
Расход питательной воды через
экономайзер определяют с учетом работы пароохладителя и наличия расхода воды на
продувку. В данном случае производится впрыск собственного конденсата, поэтому Dвпр = 0, а
удельная энтальпия воды на входе в экономайзер:
где Δhк.п. - изменение
энтальпии в конденсационной установке.
Необходимую теплообменную
поверхность экономайзера Fэк определяют с использованием
уравнения теплообмена:
Полученная площадь позволяет
окончательно сконструировать экономайзер.
Длина каждого змеевика, определяемая
по наружному диаметру труб, м:
где z = z1zpzк-полное
число труб экономайзера, включенных параллельно.
Шаг одной петли экономайзера sпет»2*s2, тогда
полная высота пакета экономайзера:
hэк = zпет*sпет
Экономайзерные поверхности
компонуются пакетами высотой 1000 ¸ 1500 мм с разрывами между соседними
ступенями экономайзера в 600 ¸
800 мм. В итоге устанавливается высота, которую занимает в конвективной шахте
экономайзер.
6.2 Выбор и обоснование исходных данных
Расчёт экономайзера осуществляется средствами
ЭВМ по вышеприведённой расчётной модели (5.6[1]). Приведём таблицу исходных
данных для программы OLJAG206.
Таблица 10.
|
№
|
Название
|
Обознач.
|
Примечание
|
Величина
|
|
Конструктивные
характеристики
|
|
1
|
Наружный
диаметр труб поверхности, мм
|
d
|
Заданные параметры курсового проектирования
|
32
|
|
2
|
Толщина
стенки труб, мм
|
δ
|
|
4
|
|
3
|
Размеры
стороны конвективной шахты, параллельно которой располагаются входные
коллектора, м
|
bкш
|
|
9.97
|
|
4
|
Размер
другой стороны конвективной шахты, м
|
aкш
|
|
5.1
|
|
5
|
Число
рядов труб подключенных к входному коллектору
|
Zp
|
|
4
|
|
6
|
Высота
трубной поверхности, м
|
hп
|
|
1
|
|
7
|
Высота
предвключенного газового обьема, м
|
lоб
|
|
4
|
|
8
|
Поперечный
шаг труб, мм
|
S1
|
|
75
|
|
9
|
Продольный
шаг труб, мм
|
S2
|
|
55
|
|
10
|
Число
ходов рабочей среды
|
Zx
|
|
2
|
|
11
|
Число
входных коллекторов
|
Zк
|
|
2
|
|
Характеристики
продуктов сгорания топлива
|
|
1
|
Теоретический
объём сухого воздуха, м3/кг
|
V◦
|
Заданные
характеристики топлива (Табл 4.2[1])
|
4,42
|
|
2
|
Теоретический
объём трехатомных газов, м3/кг
|
VR2O
|
|
0,91
|
|
3
|
Теоретический
объём азота, м3/кг
|
VN2
|
|
3,96
|
|
4
|
Теоретический
объём водяных паров, м3/кг
|
VH2O
|
|
0,58
|
|
5
|
Энтальпия
продуктов сгорания, кДж/кг
|
H◦
|
|
20713
|
|
6
|
Зольность
топлива на рабочую массу, %
|
Ap
|
|
28,5
|
|
7
|
Доля
золы, уносимая газами
|
aун
|
ТШУ
|
0,95
|
|
Режимные
параметры
|
|
1
|
Расход
рабочей среды через рабочую поверхность, кг/с
|
D
|
Заданные параметры курсового проектирования
|
60.9
|
|
2
|
Расчётный
расход топлива, кг/с
|
Bp
|
|
12,0
|
|
3
|
Давление
рабочей среды, МПа
|
P
|
|
13
|
|
4
|
Температура
рабочей среды на входе, ◦С
|
t’
|
Расчёт
тепловой схемы, Таблица 4
|
241
|
|
5
|
Температура
рабочей среды на выходе, ◦С
|
t’’
|
|
303
|
|
6
|
Энтальпия
рабочей среды на входе, кДж/кг
|
h’
|
|
1045
|
|
7
|
Энтальпия
рабочей среды на выходе, кДж/кг
|
h’’
|
|
1380
|
|
8
|
Коэффициент
избытка воздуха в продуктах сгорания
|
ά
|
|
1,21
|
|
9
|
Присосы
холодного воздуха в газоходе рассчитываемой поверхности
|
Δά
|
Заданные параметры курсового проектирования
|
0.02
|
|
10
|
Коэффициент
сохранения теплоты
|
φ
|
|
0.995
|
|
11
|
Энтальпия
продуктов сгорания на входе, кДж/кг
|
H’рц
|
Расчёт
тепловой схемы, Таблица 4
|
5038
|
|
12
|
Энтальпия
продуктов сгорания на выходе, кДж/кг
|
H’’рц
|
|
2548
|
|
13
|
Температура
продуктов сгорания на входе в поверхность, ◦С
|
υ’
|
|
528
|
|
14
|
Температура
продуктов сгорания на выходе, ◦С
|
υ’’
|
|
273
|
|
15
|
Коэффициент
рециркуляции
|
Zрц
|
Топливо-каменный
уголь
|
0
|
|
16
|
Поправка
к коэффициенту загрязнения, (м2К)/Вт
|
Δζ
|
|
0.0017
|
6.3 Результаты расчёта, его анализ
Приведём результаты расчёта экономайзера в виде
таблицы вывода программы OLJAG206.
Таблица 11.
|
№
|
Название
|
Значение
|
|
1
|
Приращение энтальпии, кДж/кг
|
489
|
|
2
|
Тепловосприятие
поверхности, кДж/кг
|
2481
|
|
3
|
Скорость
продуктов сгорания, м/с
|
6,86
|
|
4
|
Коэффициент
конвективной теплоотдачи, Вт/(м2 К)
|
73,06
|
|
5
|
Коэффициент
теплоотдачи излучением, Вт/(м2 К)
|
10,44
|
|
6
|
Коэффициент
теплопередачи, Вт/(м2 К)
|
59,54
|
|
7
|
Температурный
напор, ◦С
|
90,48
|
|
8
|
Поверхность
нагрева ступени, м2
|
5528
|
|
9
|
Число
петель ступени
|
11
|
|
10
|
Высота
ступени, м
|
4,82
|
.
Тепловой расчёт воздухоподогревателя
.1 . Компоновка и конструкция
воздухоподогревателя, методика расчёта
С помощью заводских чертежей проектируемого
котла выполняют конструктивную и компоновочную проработку воздухоподогревателя:
выбирают диаметр внешний диаметр труб d,
толщину труб d, шаги труб s1,
s2, число труб в
ряду z1, число рядов труб
z2, число потоков по
воздуху zпот, определяют
направление движения газов (продольное, внутри труб) и воздуха (поперечное в
шахматном пучке труб), размеры поперечного сечения конвективной шахты газохода
воздухоподогревателя аш, bш,
высоту проходного сечения для воздуха (для каждого потока) hх.
Будем использовать трубы наружным диаметром d
= 40 мм и толщиной стенки d=1,5 мм. Поперечный
шаг s1 примем равным 70
мм, а продольный шаг труб s2,
равным 45 мм.
Данный трубчатый воздухоподогреватель
компонуется по двухпоточной схеме . Увеличение числа потоков позволяет увеличить
число ходов, приблизиться к противоточному движению и тем самым получить более
высокий температурный напор и более компактный воздухоподогреватель.
Аналогично предыдущим расчетам (экономайзера и
пароперегревателя) подсчитывают проходные сечения по газам и воздуху, используя
уравнения неразрывности. Далее рассчитывают скорости сред, значения которых
сравнивают с оптимальными скоростями.
Для воздухоподогревателя при продольном токе
газов в трубах и для регенеративных воздухоподогревателей минимальная скорость
газов должна быть не менее 8 м/с. Максимальная скорость должна быть не выше
экономической, подсчитанной с учетом самоочистки труб wэк.
Тепловосприятие воздухоподогревателя определяют
по формуле:
После определения по уравнению
теплообмена (аналогично предыдущим расчетам) поверхности нагрева
воздухоподогревателя Fтвп, по среднему диаметру dср, труб
находят высоту трубной поверхности:
Далее уточняют высоту одного хода
воздухоподогревателя (для одного потока):
hвп = hх*zход + Shоб
,где hоб - высота
ремонтного разрыва между соседними пакетами (по ходу газа)
воздухоподогревателя, м [разрыв выполняется, как правило, между первым и вторым
(по воздуху) ходами для облегчения смены интенсивно корродирующего «холодного»
куба первого хода], далее разрывы предусматривают после двух или нескольких
ходов с учетом возможной длины труб, используемых для воздухоподогревателя (до
9 м). Высота разрыва - 600 ¸1200
мм. Для эффективной работы воздухоподогревателя необходимо обеспечить
равномерную раздачу воздуха по воздухоподогревателю и по перепускным коробам
между кубами и ступенями; для этого устанавливают направляющие листы.
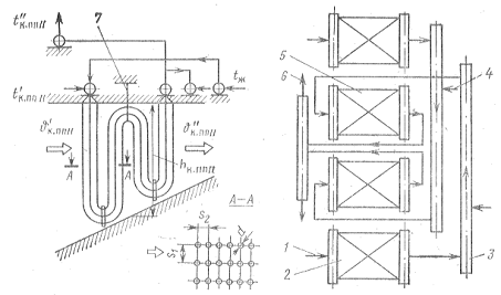
Рис. 10. Схема двухпоточного
воздухоподогревателя:
1 - вход
воздуха; 2 -
легкозаменяемые кубы первого хода; 3 - опорная рама; 4- второй и третий ходы; 5 - выход горячего воздуха; 6 -
линзовые компенсационные уплотнения:, 7 - экономайзер; 8 - конвективный
пароперегреватель
Таблица 12
|
Рассчитываемая
величина
|
Формула
или обоснование
|
Расчёт
|
Примечание
|
|
Температурный
напор противоточной схемы обогрева  , ◦С =  Расчёт тепловой схемы,таблица 4
|
|
|
|
|
Безразмерный параметр P
|
P= 23/(273-30)=0,10
|
|
|
|
Безразмерный параметр R
|
R= 95/23=4,13
|
|
|
|
Поправочный
коэффициент температурного напора перекрёстного тока ψ
|
Рис.
6.23, кривая 1, [1]
|
1
|
На
основании параметров P и R
|
|
Средний
температурный напор  , ◦С 51*1=51
|
|
|
|
|
Коэффициент
использования воздухоподогревателя ζ
|
Заданные параметры курсового проектирования
|
0,9
|
|
|
Поперечный
шаг труб  , мм66
|
|
|
|
|
Поперечный
шаг труб  , мм50
|
|
|
|
|
Длина
конвективной шахты а, м
|
|
9,97
|
|
|
Ширина
конвективной шахты b, м
|
|
5,1
|
|
|
Наружный
диаметр труб воздухоподогревателя  , мм40
|
|
|
|
|
Толщина
стенок труб воздухоподогревателя δ, мм
|
|
1,5
|
|
|
Параметр
Z1
|
Z1= (9,97-0,066)/0,066=150
|
|
|
|
Параметр
Z2
|
Z2= (5,1-0,050)/0,050=101
|
|
|
|
Количество
труб воздухоподогревателя  150*101=15150
|
|
|
|
|
Площадь
живого сечения конвективной шахты f, м2
|
f=
|
|
|
|
Удельный
объём газов  , м3/кг  5,51+1,016(1,26-1)5,00=6,83см.
Табл.3
|
|
|
|
|
Скорость
дымовых газов  , м/с 12,0*6,83((273+125)/2+273)/(273*18,91)=7,5
|
|
|
|
|
Конвективный
коэффициент теплоотдачи  , Вт/(м2 К)Монограмма 6.5 [1]74
|
|
|
|
|
Относительный
поперечный шаг трубного пакета   66/40=1,65
|
|
|
|
|
Относительный
продольный шаг трубного пакета   50/40=1,25
|
|
|
|
|
Поправка
на число поперечных рядов труб по ходу газов С1
|
Z2>10
|
1
|
|
|
Объёмная
доля водяных паров    =   =0,58/5=0,116
|
|
|
|
|
Коэффициент
Сф
|
Монограмма
6.4 [1]
|
1,05
|
|
|
Коэффициент
Сz
|
Монограмма
6.5 [1]
|
1
|
|
|
Коэффициент
теплоотдачи от газов к стенке  , Вт/(м2 К) 69*1*0,95=65,6
|
|
|
|
|
Коэффициент
теплоотдачи от стенки к воздуху  , Вт/(м2 К) 69*1*0,95=65,6
|
|
|
|
|
Коэффициент
теплопередачи k, Вт/(м2 К)
|
k= 65,6*65,6/(65,6+65,6)=32,8
|
|
|
|
Площадь
поверхности воздухоподогревателя F, м2
|
F= 1381*12,0/(32,8*51)=9907
|
|
|
|
Высота
трубной поверхности  , м = 8353/( *0,038*15150)=5,48
|
|
|
|
|
|
|
1,15-0,05-0,04+0,5*0,03=1,075
|
|
|
|
|
Расчётное
число ходов воздухоподогревателя  5,48/1,41=3,89
|
|
|
|
|
Число
ходов воздухоподогревателя Округление до целого не приводит к
высокой погрешности 4
|
|
|
|
|
Общая
высота воздухоподогревателя h, м
|
|
1,41*4+0,86=6,5
|
 -разрыв на ремонтный лаз
|
7.2. Расчёт температуры точки росы дымовых газов
Если температура труб воздухоподогревателя
окажется меньше температуры конденсации водяных паров то образующаяся влага
будет осаждаться на стенках труб. Температура конденсации-точка
росы-определяется парциальным давлением водяных паров и сильно зависит от
концентрации SO2 и SO3; она повышается с увеличением сернистости топлива. Влага
содержит серную и сернистую кислоты, а также кислород и другие компоненты
дымовых газов. Контакт такой влаги с металлическими поверхностями приводит к
интенсивной низкотемпературной коррозии и разрушению поверхности.
Таблица 11
Минимальная температура стенки 
, ◦С

=151Таблица 4,
|
Таблица
10.
|
|
|
|
|
Превышение
минимальной температуры стенки труб над температурой точки росы  , ◦С 151-130=21
|
|
|
|
Анализируя вышеприведённый расчёт, можно
сказать, что превышение минимальной температуры стенки труб над температурой
точки росы в полной мере гарантирует защиту нижних секций воздухоподогревателя
от низкотемпературной коррозии без применения специальных мер защиты.
Литература.
. Липов Ю.М., Самойлов Ю.Ф.,
Виленский Т.В. «Компоновка и тепловой расчёт парового котла» М.:Альянс, 2012г.
2. Самойлов Ю.В. «Методические
указания к выполнению курсового проекта парового энергетического котла по курсу
«Котельные установки и парогенераторы» М.:МЭИ 2000г.
. Резников М.И., Липов Ю.М.,
«Котельные установки электростанций: учебник для техникумов, 3-е изд.,
перераб.» М.: Энергоатомиздат. 1987 г.