Використання електронних вимірників тиску у навчальному процесі з фізики

  • Вид работы:
    Дипломная (ВКР)
  • Предмет:
    Педагогика
  • Язык:
    Украинский
    ,
    Формат файла:
    MS Word
    527,66 Кб
  • Опубликовано:
    2013-07-16
Вы можете узнать стоимость помощи в написании студенческой работы.
Помощь в написании работы, которую точно примут!

Використання електронних вимірників тиску у навчальному процесі з фізики

ЗМІСТ

ВСТУП

РОЗДІЛ 1. ЗАГАЛЬНІ ВІДОМОСТІ ПРО АТМОСФЕРНИЙ ТИСК

1.1 Історія відкриття

1.2 Поняття про атмосферний тиск

.3 Прилади для вимірювання атмосферного тиску

·   Манометр

·   Барометр

РОЗДІЛ 2. Шкільні та університетські досліди

.1 Передавання тиску рідиною. Закон Паскаля

.2 Залежність тиску рідини на дно посудини від висоти стовпа й густини

.3 Незалежність тиску рідини на дно посудини від її форми

.4 Залежність тиску рідини на стінки посудини від висоти стовпа рідини

.5 Напрям і величина тиску всередині рідини

.6 Сила тиску рідини на дно посудини

.7 Закон Архімеда

.8 Вивчення умов плавання тіла за допомогою картезіанського водолаза

.9 Будова й дія металевого манометра

РОЗДІЛ 3. Датчики, генератори, мікроконтролери: особливості, властивості, різновиди та застосування

3.1 Датчики тиску, складу газу, швидкості потоку й витрати газу

.2 Генератор на PIC16F84A і AD9850

.3 Датчики серії MPVZ

.4 Мікроконтролер AT90S2313 фірмиatmel

.5 Мікроконтролери AT90S2323 і AT90S2343

ВИСНОВКИ

СПИСОК ВИКОРИСТАНИХ ДЖЕРЕЛ

ДОДАТОК А

ЛІСТИНГ НАВЧАЛЬНОЇ КОМП’ЮТЕРНОЇ ПРОГРАМИ

ВСТУП

Актуальність теми. Фізика - наука експериментальна. Оскільки між фізикою - наукою і фізикою - навчальним предметом існує тісний зв'язок, навчання фізики полягає в послідовному формуванні нових для студентів фізичних понять і теорій на основі не багатьох фундаментальних положень, що опираються на дослід. У ході цього знаходить відображення індуктивний характер встановлення встановлення основних фізичних закономірностей на базі експерименту і дедуктивний характер виведення наслідків із встановлених таким чином закономірностей з використанням доступної для студентів експериментальної бази. Активне використання електронно-обчислювальної техніки та засобів вимірювальної радіоелектронної апаратури створюють умови для розвитку науки, вдосконалення виробничих процесів. Саме вдале поєднання цих засобів слід пов’язувати з сучасним навчальним експериментом, який виступає одночасно методом навчання і джерелом знань.

Мета нашого дослiдження пов’язана iз визначенням дидактичних функцій та можливостей використання навчальних генераторів і комп’ютерної техніки при вивченi фізики у середнiй школi та спектру їх застосування у рiзних галузях фізики та техніки.

У зв'язку iз визначеною метою необхiдно було розв'язати ряд задач:

* встановити значення i роль, мiсце електронних вимірників тиску у навчальному процесі з фiзики;

* опрацювати наукову та методичну лiтературу стосовно даного питання, проаналiзувати отриману інформацію;

* ознайомитись з iсторiєю розвитку використання електронних вимірників та їх можливостей при вивченнi шкiльного матерiалу з фiзики;

* розробити та написати комп'ютерну програму для вдосконалення вивчення елементів радіоелектронних пристроїв та приладів;

Методологічна основа досліджень пов'язана з методикою вивчення шкільного курсу фiзики. При цьому ми орієнтувалися на основнi принципи психології та дидактики, на розробки та роботи спеціалістів з методики викладання фiзики.

Робоча гіпотеза: використання передових технологiй при викладаннi шкільного курсу фізики сприяє кращому засвоєнню знань, вихованню в учнiв поваги до працi. Вчитеме цiнувати i берегти шкiльне фiзичне обладнання, а також формуватиме i розвиватиме практичнi вмiння та навички, підвищить якість навчання по фізиці, дасть позитивний виховний ефект.

Об’єктом дослідження ми обрали органiзацiю, змiст i форми навчальної дiяльностi учнiв та сам процес навчання при вивченнi основ фiзики.

Предметом дослідження ми обрали навчальну дiяльнiсть учнiв пiд час вивчення основ фiзики.

Практична значимість. Проведений аналiз використання навчальної комп'ютерної програми при вимірюванні атмосферного тиску в умовах загальноосвітньої школи дає пiдстави для доцiльної органiзацiї занять.

Положення. У зв’язку з визначеною метою необхідно розв’язати ряд задач:

) опрацювати наукову й методичну літературу стосовно виготовлення навчальної комп’ютерної програми для вивчення сучасних методів вимірювання атмосферного тиску, а також проаналізувати отриману інформацію;

) ознайомитися з можливостями і місцем використання розглянутих методик у сучасних наукових дослідженнях;

) з урахуванням психолого-педагогічних вимог написано та виготовлено навчальну програму максимально адаптовану до шкільних умов.

Апробація: експериментальна та конструкторська робота проводилась у фізичних лабораторіях СНУ при вивченні спецкурсів на фізичному факультеті Східноєвропейського національного університету імені Лесі Українки та під час другої педагогічної практики(Володимир-Волинська гімназія,10-А клас).

Практична значимість: виготовлення простої та доступної для відтворення навчальної комп’ютерної програми загальноосвітньої школи.

На захист дипломної роботи виносяться такі основні положення:

•аналіз основних методи вимірювання атмосферного тиску.

•методика використання навчальної комп’ютерної програми.

У вступі сформульовано основні задачі, висвітлено основні переваги використання запропонованої навчальної програми.

У першому розділі розглянуті питання щодо аналізу відомих методів вимірювання атмосферного тиску.

Другий розділ присвячено вивченню різних дослідів, пов’язаних із методикою вимірювання атмосферного тиску.

У третьому розділі звернена увага на електронні вимірники тиску.

У висновках зроблено підсумок проведеної роботи.

РОЗДІЛ 1. ЗАГАЛЬНІ ВІДОМОСТІ ПРО АТМОСФЕРНИЙ ТИСК

.1 Історія відкриття

Ще в давнину людина помічала, що повітря чинить тиск на наземні предмети, особливо під час негоди і ураганів. Вона користувалася цим тиском, змушуючи вітер рухати вітрильні судна, обертати крила вітряних млинів. Однак довго не вдавалося довести, що повітря має тиск. Тільки в XVII столітті був поставлений дослід, який довів наявність маси у повітря. Приводом до цього послужила випадкова обставина.

В Італії в 1640 році герцог Тосканський задумав влаштувати фонтан на терасі свого палацу. Воду для цього фонтану повинні були накачувати із сусіднього озера, але вода не йшла вище 32 футів (10,3 м). Герцог звернувся за роз'ясненнями до Галілея, тоді вже глибокого старця. Великий вчений був збентежений і не відразу не знав як пояснити це явище. І тільки учень Галілея Торрічеллі після довгих досліджень, довів, що повітря має тиск, і тиск атмосфери врівноважується стовпом води в 32 фути(10,3 м). Він пішов у своїх дослідженнях ще далі і в 1643 році винайшов прилад для вимірювання атмосферного тиску - барометр.

.2 Поняття про атмосферний тиск

Тиск (р) - фізична величина, що характеризує інтенсивність нормальних (перпендикулярних до поверхні) сил, з якими одне тіло діє на поверхню іншого. Середня величина тиску на будь-яку площину дорівнює відношенню середнього значення сили, що діє перпендикулярно цій площині, до її площі:

= dF/dS (1.1)

Якщо сили розподілені вздовж поверхні рівномірно, то тиск р на будь-яку частину поверхні дорівнює:

= F/S (1.2)

де F - сума прикладених перпендикулярно до поверхні сил; S - площа цієї частини.

Одиниця вимірювання тиску в системі СІ - паскаль (Па);

1. Па = 1Н · 1м2. Середній атмосферний тиск на рівні моря становить 1,01325 · 105 Па. Вимірюється тиск в міліметрах ртутного стовпчика, міллібарах (1 мб = 0,75 ммрт.Ст.) і в гектопаскалях (1мм = 1 мб).

У цілому атмосферний тиск залежить від висоти, простору й часу. Горизонтальний розподіл атмосферного тиску визначається рухом поверхневих тиском повітря.

Тиск, температура і густина - найважливіші характеристики будь-якого газу, в тому числі і повітря, з якого складається атмосфера.

Будь-який газ, що міститься в посудині, тисне на її стінки. Це відбувається тому, що молекули газу рухаються і створюють тиск - діють з певною силою на стінки посудини. Коли температура підвищується, а об’єм газу не змінюється, швидкість руху молекул збільшується і тиск зростає.

На стіни кімнати, в якій ми знаходимося, теж тисне повітря. Якщо кімната не дуже щільно закрита і повітря надходить через вікна і щілини, тиск всередині і зовні легко вирівнюється. Тому тиск всередині кімнати майже не відрізняється від тиску під відкритим небом. Якщо уявити якийсь об’єм повітря всередині атмосфери, то і його з усіх сторін теж будуть «бомбардувати» молекули газів, що знаходяться поза цим об’ємом. Виходить, що в будь-якій точці атмосфери або на земній поверхні є певна величина атмосферного тиску, що дорівнює вазі розміщеного вище стовпа повітря.

Атмосферний тиск виражають у грамах на см2 або в кілограмах на м2. На рівні моря тиск повітря становить близько 1 кг 33 г на 1 см2. Уявіть, що Ви засмагаєте на морському березі, лежачи на піску. Якщо площа вашого тіла приблизно дорівнює 1 м2, то повітря тисне на вас з силою близько 10 тонн! Але людина, як і будь-який інший організм, не відчуває цього, оскільки атмосферний тиск врівноважується внутрішнім.

З висотою тиск зменшується. Наприклад, на висоті 5 км він майже в 2 рази нижчий, ніж на рівні моря, а на рівні 10 км - майже в 4 рази.

Максимальний атмосферний тиск 815,85 ммрт.Ст. (1087 мб) зареєстровано взимку в Туруханську (Росія). Мінімальний - 641,3 ммрт. Ст. (854 мб) - в урагані «Ненсі” над Тихим океаном. З підніманням вгору тиск знижується: на висоті 5 км він менший вже в 2 рази, на висоті 15 км - в 8 разів, на 20 км - у 18 разів. У нижньому шарі тропосфери до висоти 1 км він знижується на 1 ммрт. Ст. на кожні 10 м, або на 1 мб (гп) на кожні 8 м. Чим вище, тим тиск знижується повільніше. Зміна тиску пояснюється переміщенням повітря. Він підвищується там, де повітря нагромаджується і знижується там, звідки повітря рухається. Головна причина переміщення повітря - його нагрівання і охолодження від підстилаючої поверхні. Нагріваючись від поверхні, повітря розширяється і спрямовується вгору. Досягнувши висоти, на якій його щільність стає більшою від щільності навколишнього повітря, воно розтікається в різні боки. Тому тиск на теплу поверхню знижується, але одночасно він збільшується на сусідні ділянки, хоча температура там не змінювалася. Над холодною поверхнею повітря охолоджується, ущільнюється, притискаючись до поверхні. Зверху його щільність зменшується, і сюди приходить повітря збоку. Кількість його над холодною поверхнею збільшується, тиск на неї зростає. Одночасно там, звідки повітря надійшло, тиск зменшується без зміни температури. Нагрівання і охолодження повітря від поверхні супроводжується його перерозподілом і зміною тиску.

У екваторіальних широтах тиск завжди знижений. Це пояснюється тим, що нагріваючись від поверхні, повітря підіймається і відходить у бік тропічних широт, створюючи там підвищений тиск. Над холодною поверхнею в Арктиці і Антарктиді тиск також підвищений. Його створює повітря, що приходить з помірних широт на місце ущільненого холодного повітря. Відтік повітря в полярні широти - причина зниження тиску в помірних широтах. В результаті формуються пояси зниженого (екваторіальний і помірні) і підвищеного тиску (тропічні і полярні). У залежності від сезону вони дещо зміщуються в бік півкулі, де в той час літо.

Полярні області високого тиску взимку розширюються, а влітку звужуються, але існують впродовж року.

Пояси зниженого тиску цілий рік зберігаються поблизу екватора і в помірних широтах Південної півкулі.

У помірних широтах Північної півкулі взимку тиск над материками сильно підвищується і пояс низького тиску «розривається». Він зберігається тільки над океанами у вигляді замкнутих областей зниженого тиску - Ісландського і Алеутського мінімумів. Над материками, навпаки, утворюються зимові максимуми: Азіатський(Сибірський) і Північноамериканський (Канадський). Влітку в помірних широтах Північної півкулі пояс зниженого тиску відновлюється. Величезна область зниженого тиску з центром в тропічних широтах формується над Азією - Азіатський мінімум. У тропічних широтах материки завжди нагріваються дещо сильніше, ніж над океанами, і тиск над ними нижчий. Тому над океанами існують субтропічні максимуми: Північно-Атлантичний(Азорський),Північно-Тихоокеанській,Південно-Атлантичний, Південно-Тихоокеанській і Індійський.

.1 Прилади для вимірювання атмосферного тиску

·  Манометр

Манометри - прилад для вимірювання тиску рідини, газу або пари. Вони застосовуються у всіх випадках, коли необхідно знати, контролювати і регулювати тиск. Найчастіше манометри використовують в теплоенергетиці, на хімічних, нафтохімічних підприємствах, і підприємствах харчової галузі.

Найпоширеніші манометри - механічні, в яких чутливим елементом, що сприймає тиск, служить трубка Бурдона, поршень, мембрана або інше тіло.

Принцип дії класичного манометра заснований на зрівноважуванні вимірюваного тиску силою пружної деформації трубчастої пружини або більш чутливої мембрани, один кінець якої запаяний в утримувач, а інший через тягу пов’язаний з трібко-секторним механізмом, що перетворює лінійне переміщення пружного чутливого елемента в круговий рух індикуючої стрілки.

Обираючи манометр, потрібно знати: межі вимірювання, діаметр корпусу, точності приладу. Також важливі розташування і різьблення штуцера. Ці дані однакові для усіх приладів, як вітчизняних, так і європейських.

Основою вимірювальної системи манометра є чутливий елемент, котрий виконує функцію первинного перетворювача тиску. Залежно від принципу дії і конструкції чутливого елемента розрізняють манометри рідинні, поршневі і деформаційні. Останнім часом знаходять застосування прилади, дія яких базується на вимірюванні змін фізичних властивостей різних речовин під дією тиску.

У більшості випадків первинні перетворювачі тиску мають неелектричний вихідний сигнал у вигляді сили або переміщення і об'єднані в один блок з вимірювальним приладом. Якщо результати вимірювань необхідно передавати на відстань, то застосовують проміжне перетворення цього неелектричного сигналу в уніфікований електричний або пневматичний. При цьому первинний і проміжний перетворювачі об'єднують в один вимірювальний перетворювач. За призначенням манометри бувають:

для вимірювання абсолютного тиску, відлік якого ведеться від нуля (абсолютного вакууму);

для вимірювання надлишкового тиску, тобто різниці між абсолютним і атмосферним тиском, коли абсолютний тиск більший від атмосферного (від 0,06 до 1000 Мпа) - манометри;

для вимірювання різниці двох тисків, що відмінні від атмосферного - мають назву дифманометри;

для вимірювання тиску розріджених газів (тиску нижче атмосферного, до мінус 100 кПа), а також надлишкового тиску (від 60 до 240000 кПа) - мановакуумметри;

манометри малих надлишкових тисків до 40 КПа - напороміри;

тягоміри - прилад для вимірювання малих величин вакуумметричного або надлишкового тиску природного газу та інших різних газів, які є неагресивними по відношенню до матеріалів приладу, які контактують з вимірюваним середовищем (сталі, кольорових металах і їх сплавів);

мановакуумметри з крайніми межами, не перевищують ± 20 кПа - тягонапороміри.

Барометр

Барометр був винайдений учнями Галілео Галлілея, італійцями Еванджеліста Торрічеллі та Вінченцо Вівіані у 1643 році. Виходячи з уявлення, що ми живемо на дні повітряного океану, що тисне на нас. Торрічеллі запропонував Вівіані зміряти цей тиск за допомогою запаяної з одного кінця трубки («трубка Торрічеллі»), заповненою ртуттю. При перекиданні трубки у посудину з ртуттю, ртуть з трубки виливалась не повністю, а зупинялася на деякій висоті, так, що в трубці над ртуттю утворювався порожній простір. За допомогою «трубки Торрічеллі» в 1664 році французький фізик і математик Блез Паскаль довів існування тиску атмосфери. Декарт відразу ж запропонував ідею вимірювання атмосферного тиску на різних висотах, яка також була реалізована Паскалем в 1648 році. У 1665 році англійський фізик і хімік Роберт Бойль назвав новий прилад барометром. У 1670 році англійський вчений Роберт Гук розробив шкалу барометра, де низький тиск відповідав дощу і шторму, а високий - гарній і сухій погоді. Такі позначення ми можемо бачити і на сучасних побутових барометрах, хоча такої простої залежності між тиском і погодою не існує, бо зв'язок цей набагато складніше.

Барометр (від грец. Βάρος - вага, тиск та грец. Μετρέω - виміряти) - прилад для вимірювання тиску атмосферного повітря. Тиск є сила, що діє на одиницю площі поверхні. Земна атмосфера, що протягується на сотні кілометрів нагору, натискає на поверхню Землі - барометр і служить для виміру цього тиску. Зміни атмосферного тиску, як правило, бувають зв'язані зі змінами погодних умов. Тиск звичайно падає перед негодою, а його підвищення передвіщає гарну погоду. Барометри були пристосовані для виміру висоти, тому що тиск атмосферного повітря зменшується зі збільшенням висоти над рівнем моря. Такими приладами (альтиметрами) обладнаються літаки, їх беруть із собою альпіністи.

Існують два основних види барометрів: ртутний і анероїд.

Ртутний барометр показує атмосферний тиск як висоту ртутного стовпа, яку можна виміряти по прикріпленій поруч шкалі. Являє собою скляну трубку довжиною біля 90 см, заповнену ртуттю, запаяну з одного кінця і перекинуту в чашку з ртуттю. Трубка встановлюється вертикально, відкритим кінцем униз, у посудину з рідиною. Під дією сили ваги частина ртуті виливається з трубки в чашку, а через тиск повітря на поверхню чашки ртуть піднімається по трубці. Коли між цими двома протидіючими силами встановлюється рівновага, висота ртуті в трубці над поверхнею рідини в резервуарі відповідає атмосферному тискові. Якщо тиск повітря зростає, рівень ртуті в трубці піднімається. Середня висота ртутного стовпа в барометрі на рівні моря складає біля 760 мм.

Барометр з рідиною

Поява першого барометра без ртуті пов'язане з ім'ям французького юриста Люсьена Віді, що став інженером-теплотехніком. Вивчення манометрів пробудило його інтерес до барометрів. У 1844 році, він побудував і запатентував барометр-анероїд. Проте інструмент, не отримав успіху у Франції і Віді звернувся до ринку Великої Британії, де йому пощастило більше. Але його патент скоро став центром тривалої судової тяжби між Віді й іншими винахідниками подібних інструментів.

Барометр-анероїд складається з запаяної коробки, з якої частково відкачано повітря. Одна її поверхня являє собою еластичну мембрану. Якщо атмосферний тиск збільшується, мембрана прогинається усередину, якщо зменшується - вигинається назовні. Прикріплений до неї покажчик фіксує ці зміни.

Барометри-анероїди компактні і порівняно недорогі і використовуються як у приміщенні, так і на стандартних метеорологічних радіозондах. В анероїді рідини немає (грец. «анероїд» - «безводний»). Він показує атмосферний тиск, що діє на гофровану тонкостінну металеву коробку, у якій створене розрідження. При зниженні атмосферного тиску коробки злегка розширюється, а при підвищенні - стискується і впливає на прикріплену до неї пружину.

Показники анероїда з часом змінюються, внаслідок зміни пружності стінок коробки, тому його необхідно час від часу звіряти з ртутним барометром. Завдяки своїй портативності, широко застосовується в експедиціях, а також як висотоміри (тоді шкалу анероїда градуюють у метрах).

До шкали анероїда часто прикріплений дугоподібний термометр, який служить для внесення поправки на температуру. Похибка вимірювань анероїд становить 1-2 мбар. Для отримання істинного значення тиску анероїд потребує три поправки:

на шкалу - зумовлена тим, що анероїд неоднаково реагує на зміну тиску в різних ділянках шкали;

на температуру - зумовлена залежністю пружних властивостей коробки і пружини від температури;

додаткова - обумовлена зміною пружних властивостей коробки і пружини з часом.

Побутовий барометр-анероїд

На практиці часто використовується кілька (до десяти) анероїдних коробок, з'єднаних послідовно, і встановлюється підоймова передатна система, що повертає стрілку, яка рухається по круговій шкалі, проградуйованій по ртутному барометру. Анероїд менше ртутного барометра, і його показання легко знімати. Їм можна користуватися в експедиційних умовах, на морських суднах, літаках. Якщо до його стрілки прикріпити перо, то він буде записувати показання. Такі барографи, тобто анероїди, що реєструють барометричний тиск є на всіх метеостанціях.

     

Схематичне зображення анероїду Конструкція анероїду

РОЗДІЛ 2. ШКІЛЬНІ ТА УНІВЕРСИТЕТСЬКІ ДОСЛІДИ

.1 Передавання тиску рідиною. Закон Паскаля

Дослід з кулею Паскаля

Обладнання: 1. Куля Паскаля. 2. Склянка з водою. 3. Великий кристалізатор або кювета.

Для досліду використовують прилад заводського виробництва, який називається кулею Паскаля (рис. 2.1). Цей прилад складається зі скляного циліндра з металевими оправами на обох кінцях і поршнем усередині. Обидві оправи мають гвинтову різьбу. На одну з оправ нагвинчено порожнисту металеву (нікельовану) кулю з дуже малими отворами, розміщеними в одній площині, яка проходить через центр кулі, а на другу - металеву муфту, що має отвір, крізь який проходить стержень поршня.

Рис. 2.1 Куля Паскаля (розібрана)

Для демонстрування вигвинчують муфту і, витягнувши поршень, наповнюють кулю і трубку водою, у трубку вставляють поршень і, нагвинтивши муфту, натискають на поршень. При цьому спостерігається витікання струменів води з усіх отворів (рис. 2.2).

Рис. 2.2 Рівномірне передавання тиску рідиною у всіх напрямах

Під час досліду трубку тримають над кюветою так, щоб площина, яка проходить крізь отвори кулі, була паралельна площині класної дошки. Щоб краще було видно, можна застосувати бічне підсвічування за допомогою ліхтарика для тіньової проекції, а воду зафарбувати флюоресцеїном.

Якщо кулі Паскаля заводського виробництва немає, то такий прилад можна виготовити самому. Для цього на звужений кінець скляної бюретки надівають і міцно прив’язують гумову кульку від дитячої пищалки або гумовий напальчник (продається в аптеках і застосовується для одягання на поранений палець, щоб захистити місце поранення від забруднення). У кульці роблять кілька проколів тонкою голкою. Бюретку й кульку наповнюють водою і відкритий кінець бюретки-щільно закривають пробкою, крізь яку пропущено коротку скляну трубку. Цю трубку з’єднують із гумовим нагнітальним насосом або насосом Шінца.

Повільно нагнітають повітря в трубку, створюючи таким чином тиск на воду, і спостерігають витікання струменів води з усіх отворів гумової кульки або напальчника (рис. 2.3).

Рис. 2.3 Рівномірне передавання тиску рідиною у всіх напрямах

Дослід, який підтверджує закон Паскаля

Обладнання: 1. Саморобний прилад для демонстрування закону Паскаля. 2. Гумовий насос від пульверизатора або насос Шінца. 3. Підфарбована вода. 4. Екран, який підсвічується. 5. Ящик-підставка.

Прилад для цього досліду легко виготовити зі скляної банки (придатна, наприклад, банка з-під майонезу або з-під гірчиці). До банки підбирають корок (або гумову пробку), який би щільно закривав отвір банки. У пробці просвердлюють чотири отвори діаметром, що відповідає діаметрам скляних трубок, узятих для виготовлення приладу (6-10 мм). Центри трьох отворів мають лежати на одному з діаметрів пробки. Четвертий отвір можна просвердлити в будь-якому місці пробки; у цей отвір вставляють трубку, крізь яку в банку вдувають повітря. Трубки згинають так, як показано на рис. 2.4, і вставляють в отвори пробки.

Рис. 2.4 Скляні трубки для виготовлення приладу Паскаля

Перед демонструванням банку на 1/3 її висоти наповнюють підфарбованою водою; при цьому вода має покривати отвори перших трьох трубок. Кінець четвертої трубки можна у воду не занурювати. Вдуваючи повітря в банку насосом або просто ротом через гумову трубку, надіту на зовнішній кінець четвертої скляної трубки, спостерігають піднімання води на однакову висоту в усіх трубках, що доказує рівномірне передавання тиску рідиною. Дослід найкраще показувати на фоні освітленої стінки ящика для підсвічування (рис. 2.5).

Рис. 2.5 Саморобний прилад для демонстрування закону Паскаля

Дослід методично дуже цінний, і ми рекомендуємо виготовити прилад для його демонстрування. Якщо пробки значного діаметра немає, то можна виготовити інший прилад.

Для цього беруть скляну банку місткістю 0,5-1 л і металеву кришку до неї з гумовою прокладкою (такі кришки продаються для домашнього консервування продуктів).

У чотирьох гумових пробках просвердлюють отвори для описаних вище скляних трубок (рис. 2.6). У кришці просвердлюють отвори для пробок.

Кришкою закривають банку і за допомогою спеціального ключа (такі ключі є в продажу) обкочують її краї.

У банку наливають підфарбованої води й отвори кришки закривають гумовими пробками з вставленими в них скляними трубками (рис. 2.6).

. Передавання тиску рідиною у сполучених посудинах

Обладнання: 1. Три скляні трубки завдовжки 15-20 см, діаметром 6-10 мм. 2. Скляний трійник. 3. Три штативи. 4. Три гумові трубки. 5. Лійка. 6. Підфарбована вода.

Патрубки скляного трійника з’єднують гумовими трубками зі скляними трубками, які закріплюють у лапках штативів (рис. 2.7).

Рис. 2.6 Саморобний прилад

Рис. 2.7 Передавання тиску рідиною іншої конструкції для у сполучених трубках демонстрування закону Паскаля

За допомогою лійки наповнюють систему трубок підфарбованою водою, стежачи за тим, щоб у трубках не залишилося бульбашок повітря, і звертають увагу учнів наоднаковий горизонтальний рівень води в усіх трубках (рівні води визначають за гумовими кільцями, надітими на трубки). Натискають на гумову трубку пальцями й демонструють, що вода в усіх трубках піднімається на однакову висоту. Дослід доцільно повторити, натискаючи на трубки в різних місцях.

.2 Залежність тиску рідини на дно посудини від висоти стовпа й густини

Обладнання: 1. Прилад Паскаля. 2. Підфарбована вода. 3. Насинений розчин солі. 4. Ящик-підставка. 5. Кристалізатор

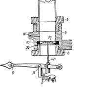
Для цього досліду використовують прилад Паскаля. Наводимо докладний опис приладу Паскаля і дослідів з ним.

Прилад (рис. 2.8) побудований так. На масивній чавунній підставці 9 закріплено муфту 6 із внутрішньою гвинтовою різьбою. З боку муфти розміщений патрубок 19 з надітою гумовою трубкою 17 і гвинтовим затискачем 12 для зливання води.

Рис. 2.8 Прилад Паскаля для демонстрування залежності тиску рідини на дно посудини від висоти стовпа рідини та її густини

Дном циліндра є гумова плівка 20 (рис. 2.9) завтовшки 0,3-0,4 мм, яка в натягнутому стані прив’язана до ебонітового кільця-шайби з жолобком 22; на плівку зверху покладено кільцеву прокладку 23, а знизу вона притиснута до виступаючої муфти 6 круглою гайкою 8. У верхню частину муфти 6 вкручують одну з трьох скляних посудин (без дна) однакової висоти, різного об’єму й форми: циліндричної 1 (рис. 2.10), конічної з розширенням угорі 24 і конічної з розширенням унизу 25. Нижня частина кожної посудини має внизу обойму 5, яка зовні має різьбу для вкручування у верхню частину муфти 6 (рис. 2.9).

Обойма при вкручуванні натискає на гумову прокладку, покладену на виступ у муфті 6, і забезпечує водонепроникність з’єднання. Вода, налита у встановлену на місце посудину, тисне на гумову плівку; тиск цей передається стержню стрілки 16 через стержень 21, який має диск угорі та противагу внизу.

Рис. 2.9 Муфта і дно приладу Паскаля

Рис. 2.10 Посудини приладу Паскаля

У противазі стержня 21 зроблено виріз, який дає змогу насаджувати стержень на коротке плече стержня стрілки. Стержень стрілки насаджено на вісь 18, закріплену на колінчастому кронштейні 11, який може підніматись або опускатися поворотом гвинта 10 (рис. 2.8).

Стержень стрілки насаджено на вісь 18, закріплену на колінчастому кронштейні 11, який може підніматись або опускатися поворотом гвинта 10 (рис. 2.8). До кронштейна підставки 9 прикріплена планка 13, яка вдержує шкалу без поділок 15. Початкове й кінцеве положення вістря стрілки відмічають рухомими стрілками-покажчиками 14.

Для визначення рівня води, налитої в посудину, є пересувний покажчик 2, що може вільно переміщатись по вертикальному стержню 4; його закріплено в отворі підставки гвинтом 7. Покажчик складається з двох частин: муфти 3, яка закріплюється стопорним гвинтом на стержні, і зігнутої стрілки 2, що вільно обертається і переміщається на стержні.

Щоб продемонструвати тиск рідини на дно посудини, у муфту приладу Паскаля вкручують циліндричну посудину й наливають у неї воду. Кінець стрілки при цьому піднімається вгору, що є доказом існування тиску рідини на дно посудини. Звертають увагу учнів на збільшення відхилення стрілки при збільшенні висоти стовпа рідини й роблять висновок про залежність тиску рідини на дно посудини від висоти її стовпа.

Залежність тиску рідини на дно посудини від густини рідини показують, наливаючи в циліндричну посудину приладу Паскаля майже доверху спочатку підфарбовану воду, а потім - насичений розчин кухонної солі. Рівень налитої води треба позначити стрілкою, а потім до такого самого рівня налити розчин кухонної солі. Відхилення стрілки буде більшим у випадку наповнення посудини розчином солі. Положення стрілки слід відмічати пересувними стрілками-покажчиками.

.3 Незалежність тиску рідини на дно посудини від її форми

Обладнання: 1. Прилад Паскаля. 2. Підфарбована вода. 3. Кристалізатор. 4. Ящик-підставка.

Прилад Паскаля встановлюють на ящик-підставку і вкручують у муфту приладу циліндричну посудину. У посудину наливають підфарбованої води й відмічають стрілкою її рівень. Другою пересувною стрілкою відмічають положення кінця стрілки, відхилення якої зумовлюється тиском рідини на дно посудини (рис. 2.11). Випускають воду в підставлений кристалізатор, і циліндричну посудину заміняють конічною з розширенням угорі. Повторюють дослід і показують, що тиск води на дно посудини (відхилення стрілки) буде однаковим при тій самій висоті стовпа води. Цей дослід демонструють із третьою посудиною, що має вигляд конуса, звуженого вгорі, і дістають той самий результат.

Роблять висновки про незалежність тиску рідини на дно від форми посудини.

Рис. 2.11. Незалежність тиску рідини на дно посудини від її форми

.4 Залежність тиску рідини на стінки посудини від висоти стовпа рідини

Обладнання: 1. Циліндрична посудина з отворами в бічній стінці. 2. Вода. 3. Ящик-підставка. 4. Кювета або великий кристалізатор.

Для досліду використовують бляшану циліндричну посудину заввишки 40-60 см, у бічній стінці якої є кілька (3-5) отворів, розміщених на одній твірній циліндра на однаковій відстані один від одного. Посудину ставлять на ящик-підставку й підставляють кювету або кристалізатор. Наливають у посудину воду і спостерігають, на якій відстані падають струмені рідини від основи циліндра (рис. 2.12). Роблять висновок про збільшення тиску рідини зі збільшенням висоти стовпа рідини над отворами циліндра.

Якщо заводського приладу немає, то його можна виготовити з алюмінієвої або залізної труби завдовжки 50-70 см, діаметром 40-90 мм. У стінці труби просвердлюють 5-7 отворів діаметром 0,6-1,0 мм.

Рис. 2.12 Залежність тиску рідини на стінки посудини від висоти стовпа рідини

Отвори мають бути розміщені на однаковій відстані один від одного на одній твірній циліндра. З однієї сторони трубу закривають дерев’яною або гумовою пробкою. Для демонстрування трубу закріплюють у лапці штатива вертикально, закритим кінцем униз.

Нарешті, якщо труби зазначеного діаметра немає, то дослід можна показати, використавши металеву трубку діаметром 5-12 мм, завдовжки 40-70 см. У трубці просвердлюють за наведеними вказівками отвори. Отвір з одного кінця трубки закривають гумовою пробкою або замазують віконною замазкою Трубку за допомогою штатива встановлюють вертикально, запаяним кінцем донизу. Верхній кінець трубки гумовим шлангом з’єднують зі скляною трубкою, пропущеною крізь гумову пробку, яка закриває тубус скляної посудини, встановленої на підйомному столику так, щоб дно посудини було вище верхнього кінця трубки (рис. 2.13).

У посудину наливають воду і спостерігають струмені води, які витікають у підставлене кювету або кристалізатор.

Рис. 2.13 Залежність тиску рідини на стінки трубки від висоти стовпа рідини

.5 Напрям і величина тиску всередині рідини

Обладнання: 1. Манометрична капсула. 2. Відкритий водяний манометр. 3. Гумова трубка. 4. Дві однакові скляні банки з водою і насиченим розчином кухонної солі. 5. Ящик-підставка.

Якщо попередні досліди дали можливість установити сам факт існування тиску всередині рідини, то завдання описуваного досліду ширше: показати, що тиск усередині рідини напрямлений у всі сторони й залежить від глибини занурення та від питомої ваги рідини. Для досліду використовують манометричну капсулу (рис. 2.14), що є циліндричною металевою коробочкою, одне дно якої металеве й має в центрі отвір із впаяною в нього металевою трубочкою, призначеною для приєднання коробочки до манометра. Другим дном коробочки є натягнута гумова плівка, прив’язана до бічної поверхні коробки.

До коробочки припаяно металеву скобу, що має отвір, крізь який проходить дротяна вісь. Навколо неї коробочка може обертатись. Вісь зігнута під прямим кутом і має довге коліно, яке є ручкою. На ручку надіта скоба, за допомогою якої капсулу можна закріплювати на стінці посудини на бажаній глибині. Для обертання капсули навколо осі під водою беруть зігнуту дротину.

Рис. 2.14 Манометрична капсула

Якщо манометричної капсули у фізичному кабінеті немає, то її можна замінити саморобною, виготовленою з пластмасової або скляної лійки, затягнутої гумовою плівкою. Лійку найкраще брати кулясту з довгою трубкою. Трубку відрізають (роблять надріз напилком і ламають) так, щоб біля лійки залишився патрубок завдовжки 3-4 см.

Для демонстрування манометричну капсулу або лійку з’єднують з відкритим водяним манометром і занурюють у банку з водою, тримаючи спочатку капсулу (лійку) гумовим дном догори. Манометр показує збільшення тиску зі збільшенням глибини занурення капсули. Повертаючи капсулу гумовим дном донизу й у різні сторони, упевнюються в існуванні тиску рідини з усіх боків (рис. 2.15).

Рис. 2.15 Установка для демонстрування тиску всередині рідини

Після цього демонструють однаковість тиску рідини з усіх сторін на однаковій глибині, для чого банку з водою обв’язують мотузком на деякій віддалі від дна і занурюють капсулу у воду так, щоб при горизонтальному положенні повернуте вгору або вниз гумове дно було на рівні мотузки (тобто на однаковій глибині), а при вертикальному або похилому положенні дна на цьому рівні був його центр. У всіх випадках покази манометра будуть однакові.

Щоб показати залежність тиску від питомої ваги рідини, капсулу занурюють на однакову глибину у воду і в насичений розчин кухонної солі. Різниця рівнів стовпів рідини в манометрі в другому випадку буде більша.

Для успішного проведення дослідів температура води в банці має дорівнювати температурі навколишнього повітря, щоб запобігти зміні тиску повітря, зумовленій зміною його температури при опусканні капсули у воду. Найкраще воду в банку налити напередодні досліду.

.6 Сила тиску рідини на дно посудини

Обладнання: 1. Скляний циліндр з притертою до нього скляною пластинкою. 2. Скляна банка з водою. 3. Універсальний штатив. 4. Ящик-підставка. 5. Ящик для підсвічування. 6. Підфарбована вода.

Прилад для проведення досліду складається з товстостінного скляного циліндра і всередині рідини, притертої до нього круглої скляної пластинки, до якої в центрі приклеєно металевий диск з крючком. До крючка прив’язана нитка. Банку з водою ставлять на фоні освітленої стінки ящика для підсвічування на ящик-підставку. Нитку протягують крізь отвір скляного циліндра й, натягнувши нитку, притискують пластинку до циліндра. Циліндр із пластинкою опускають у воду й закріплюють за допомогою пружної лапки універсального штатива. Відпускають нитку і спостерігають, що пластинка не відпадає - її вдержує напрямлений знизу вгору тиск води (рис. 2.16).

Наливають у циліндр підфарбовану воду і спостерігають відпадання пластинки в той момент, коли рівень води в циліндрі зрівнюється з рівнем води в банці, що дуже добре видно на фоні освітленої стінки ящика.

Рис. 2.16 Тиск рідини знизу вгору

Якщо у фізичному кабінеті немає описаного приладу, то його легко замінити саморобним. З органічного скла вирізують лобзиком круглу пластинку діаметром, на 1-2 мм більшим від діаметра циліндричного скла приладу Паскаля. У центрі пластинки просвердлюють отвір дуже малого діаметра, крізь який протягують тонкий мотузок із вузликом на кінці. Порядок демонстрування досліду залишається попереднім, тільки внаслідок нещільного прилягання пластинки до країв циліндра в останньому поступово просочується вода, через що відпадає потреба наливати в нього воду. Як тільки рівні води в циліндрі і в банці зрівнюються, пластинка відпадає.

Циліндричне скло прилада Паскаля в цьому досліді можна з успіхом замінити циліндричним ламповим склом.

.7 Закон Архімеда

Обладнання: 1. Штатив. 2. Відерце Архімеда. 3. Висока скляна банка з водою. 4. Хімічний стакан.

Для експериментальної перевірки закону Архімеда існує прилад, який називається відерцем Архімеда (рис. 2.17, а). Він складається з пружинного динамометра, шкала якого не градуйована, але має пересувний покажчик у вигляді стрілки, яка закріплюється в потрібному місці шкали. Пружина динамометра прикріплена верхнім кінцем до обойми, крізь отвір у зігнутому нижньому кінці якої проходить стержень з диском-покажчиком. Стержень верхнім кінцем підвішений до пружини, а на нижньому - має крючок. До крючка можна підвісити металеве відерце, що має впаяний у дно крючок, призначений для підвішування важка, об’єм якого дорівнює місткості відерця.

Рис. 2.17 Установка для досліду Архімеда

Динамометр із підвішеним до нього відерцем і важком закріплюють у лапці штатива і відмічають стрілкою-покажчиком положення диска (рис. 2.17, а), прикріпленого до стержня динамометра.

Занурюють важок у воду і спостерігають скорочення пружини, зумовлене дією виштовхувальної сили на важок (рис. 2.17, б).

Наливають у відерце воду і спостерігають поступове збільшення довжини пружини. Коли відерце вщерть наповниться водою, диск зупиняється проти стрілки; отже, виштовхувальна сила урівноважується вагою налитої у відерце води, об’єм якої дорівнює об’єму важка (рис. 2.17, в). Щоб доказати це учням, знімають важок та відерце й, виливши з відерця воду, кладуть у нього важок.

Недоліком описаного приладу (і досліду з ним) є його конструкція, яка наперед передбачає результат досліду. Крім того, дослід можна показати тільки з тілом певного об’єму й форми.

2.8 Вивчення умов плавання тіла за допомогою картезіанського водолаза

Обладнання: 1. Картезіанський водолаз.

Досвід слугує для з’ясування умов спливання, занурення і плавання тіл.

Прилад (рис. 2.18) складається зі скляного циліндра з водою, у якому плаває невеликий порожнистий поплавок. Циліндр зверху затягнутий гумовою перетинкою.

Особливість поплавка полягає в тому, що його вага трохи менше ваги витисненої ним води при повному зануренні, тому поплавок плаває в циліндрі, виступаючи не значною своєю частиною над поверхнею; знизу в поплавку є отвір.

Якщо натискувати гумову перетинку приладу, то тиск в циліндрі збільшується. Він передається через рідину в поплавок, внаслідок чого об’єм повітря в ньому зменшується і всередину входить деяка кількість води. Поплавок разом з водою, що ввійшла, стає важчим і починає поволі опускатися на дно.

Рис. 2.17 Установка для досліду Архімеда

Відпускаючи гумову перетинку, відновлюють в циліндрі попередній тиск. Повітря в поплавку розширюється і витісняє надмірну кількість рідини. Поплавок стає легшим і знов спливає вгору.

Поволі збільшуючи (або зменшуючи) натиск на перетинку, можна добитися такого тиску в циліндрі, коли поплавок плаватиме усередині рідини.

Щоб учні могли спостерігати зміну рівня води в поплавку, необхідно надіти на нього тонке гумове кільце. Місце розміщення кільця визначається рівнем води в поплавку, коли він вільно плаває всередині циліндра. У поплавку, плаваючому на поверхні, рівень води нижче за кільце, а в поплавку, зануреному до дна циліндра, рівень рідини - вище за кільце.

Поплавок для картезіанського водолаза можна виготовити з пробірки діаметром 10-15 мм і заввишки 50-60 мм. Заповнюють його таким способом. Спочатку в пробірку наливають воду приблизно на її об’єму; помічають рівень гумовим кільцем і опускають в яку-небудь мілку посудину з водою. Якщо поплавок занурюється повністю і починає опускатися на дно, значить, він важкий і воду з нього потрібно злити. Якщо ж поплавок спливає, підіймаючись над поверхнею більш ніж на 2-3 мм, - води в ньому мало. Отже, шляхом декількох проб поплавок наповнюють на стільки, щоб він підіймався над водою лише на 2-3 мм (рис. 2.18).

Під час заповнення гумове кільце застосовується для позначення рівня води в пробірці, який у процесі підготовки доводиться міняти кілька разів. Потрібно мати на увазі, що картезіанський водолаз є однією з кращих демонстрацій при поясненні принципу занурення і спливання підводного човна. Після цього досвіду корисно продемонструвати навчальний фільм «Плавання тіл в рідині».

На початку фільму стисло з’ясовують умови плавання тіл. З цією метою показуються два досліди: із залізною пластинкою, яка тоне у воді, і з плаваючим залізним човном, зробленим з тієї ж пластинки. Потім демонструють надводне плавання різних суден. Звертається увага на ватерлінію і з’ясовується її призначення. Далі демонструється підводний човен, який плаває на поверхні води, його поперечний і поздовжній розрізи. З’ясовується роль баластних цистерн при зануренні й підйомі підводного човна.

У кінці фільму дається достатнє уявлення про підйом за допомогою понтонів затонулого підводного човна й наведення понтонного моста для переправи через річку.

дидактичний електронний атмосферний фізика

2.9 Будова і дія металевого манометра

Обладнання: 1. Демонстраційний металевий манометр. 2. Насос Комовського або Шінца. 3. Технічні манометри.

Головучтехпром випускав для шкіл демонстраційний металевий манометр (рис. 2.19), будова якого майже не відрізняється від будови технічних манометрів відповідного типу (в манометрі Головучтехпрому для поліпшення демонстративності збільшено розміри шкали та стрілки). Демонстраційний манометр дуже зручний тим, що весь його механізм відкритий і може бути показаний не тільки безпосередньо, а й у проекції на екран.

Рис. 2.19 Демонстраційний металевий манометр

Манометр має шкалу, розраховану на 6 атм. Його можна використати не тільки для показу його будови і принципу дії, а й для багатьох інших дослідів, що значно підвищує його методичну цінність.

Основною деталлю механізму манометра є пружна, зігнута по дузі кола, металева трубка з перерізом, форму якого показано на рис. 2.20, причому зовнішня поверхня трубки - опукла, а внутрішня - плоска. Один кінець цієї трубки приварено до циліндричного патрубка із суцільною верхньою основою. Канал трубки з’єднано з каналом патрубка. Патрубок унизу не закритий і на зовнішній поверхні має гвинтову різьбу, за допомогою якої вкручується в отвір циліндричної металевої колонки, закріпленої на масивній чавунній тринозі. З протилежних боків у колонку вкручені два патрубки з кранами. Колонка отвору знизу не має.

Рис. 2.20 Переріз трубки металевого манометра

Отже, простір усередині пружної трубки манометра можна за допомогою гумових трубок, надітих на патрубки з кранами, сполучити з простором, у якому вимірюється тиск. При підвищенні тиску всередині пружної трубки манометра вона випрямляється через те, що сили тиску зсередини на опуклу та плоску поверхні трубки різні. Площа опуклої поверхні більша, тому на неї діє більша сила тиску, ніж на плоску поверхню. Внаслідок цього трубка випрямляється, причому деформація трубки тим більша, чим більший тиск, а отже і різниця сил тиску на поверхні трубки. При зменшенні тиску всередині трубки вона згинається більше.

Рух кінця трубки передається стрілці за допомогою механізму, який складається з важеля, зубчатки, надітого на вісь стрілки трибочка і спіральної пружини, один кінець якої приварено до осі стрілки, а другий - до нерухомого стержня (рис. 2.19). Увесь передавальний механізм змонтовано на металевій скобі, привареній до верхньої основи циліндричного патрубка, вкрученого в отвір колонки. До цієї скоби пригвинчено шкалу.

Стрілку манометра в певних межах можна переміщати. Для цього треба трохи відкрутити гвинт, що входить у проріз, зроблений у пластинці зубчатки, і переміщати кінець важеля разом із гвинтом відносно пластинки. Доцільно перемістити кінець стрілки так, щоб він показував не нуль, а одну атмосферу. Це зручно для деяких дальших дослідів.

З будовою манометра учнів ознайомлюють, показуючи його механізм безпосередньо і в тіньовій проекції на екран.

Дію манометра демонструють так: нагнітальний ніпель насоса Комовського або Шінца з’єднують з одним із патрубків манометра, відкриваючи його; кран другого патрубка при цьому закритий. Накачують повітря і спостерігають поступове збільшення показів манометра (рис. 2.21).

Рис. 2.21 Вимірювання металевим манометром тиску, більшого від атмосферного

Відкривають другий кран і помічають вихід повітря з каналу патрубка, який супроводжується характерним шипінням; одночасно манометр показує поступове зменшення тиску. Якщо стрілку манометра встановлено так, що вона при атмосферному тиску показує 1 атм, то патрубок манометра слід сполучити з всмоктувальним ніпелем насоса й повторити дослід, розріджуючи повітря в манометрі. Після цих дослідів доцільно показати учням технічні манометри (наприклад, котла Папена, парового котла діючої моделі парової машини, приладу Куземи для демонстрування закону Бойля-Маріотта ).

Якщо демонстраційного манометра у фізичному кабінеті нема, то за допомогою епідіаскопа на екран можна спроектувати рисунки механізму манометра або використати відповідну таблицю, після чого показати технічні манометри, які є у фізичному кабінеті.

РОЗДІЛ 3. ДАТЧИКИ, ГЕНЕРАТОРИ, МІКРОКОНТРОЛЕРИ. ОСОБЛИВОСТІ, ВЛАСТИВОСТІ, РІЗНОВИДИ ТА ЗАСТОСУВАННЯ

.1 Датчики тиску, складу газу, швидкості потоку й витрати газу

Прилади для вимірювання тиску застосовують майже у всіх галузях промисловості, особливо в машинобудуванні, хімічній, харчовій промисловості й енергетиці. Датчики тиску можна розділити на наступні кілька груп за типом вимірюваного тиску.

Датчики абсолютного тиску. Точкою відліку для них слугує нульовий тиск, тобто вакуум. Такі датчики застосовують переважно у хімічній, харчовій промисловості, у фармацевтиці - там, де параметри технологічного процесу залежать від абсолютного значення тиску. Вимірюваний абсолютний тиск звичайно не перевищує значення 50-60 бар.

Датчики відносного тиску. Покази цих датчиків відлічуються від значення зовнішнього атмосферного тиску. Це найпоширеніший тип датчиків тиску, які вимірюють тиск у системах водопостачання, різних трубопроводах і ємностях.

Датчики диференціального тиску. Датчики мають два входи, і результатом вимірів є різниця тисків між цими входами. Ця різниця може бути як позитивною, так і негативною, однак деякі моделі датчиків диференціального тиску вимірюють тільки однобічні зміни диференціального тиску. Вони застосовуються для контролю забруднення фільтрів при фільтрації газів або рідин. Їх використовують як датчики рівня рідини при вимірюванні рівня гідростатичним методом. За допомогою датчиків диференціального тиску вимірюють витрати рідини.

Одним з перших типів датчика тиску був датчик із чутливим елементом ємнісного типу. Такі датчики застосовують, наприклад, у приладах для вимірювання кров'яного тиску. Датчики тиску з ємнісним чутливим елементом мають високу точність вимірів, широкий діапазон і довготермінову стабільність. Наприклад, датчики тиску серії 3015 виробництва компанії Rosemount мають точність виміру 0,15%, довготермінову стабільність 0,125% протягом п'яти років експлуатації й діапазон 100:1. Іншим типом датчиків є датчик тиску із чутливим елементом у вигляді мембрани із закріпленими на ній тензодатчиками. Як правило, мембрана виготовляється з нержавіючої сталі або іншого стійкого металу. Тензодатчики звичайно роблять металевими - з манганіну, константану або кремнію.[7]

Недавно стали використовувати датчики тиску з мембраною з кераміки, з п'єзорезистивними датчиками. Датчики з такою мембраною мають більшу довготермінову стабільність показів і високу стійкість до перевантажень за тиском. Розвиток електроніки дає змогу в більшій мірі застосовувати мікропроцесорні технології в системах обробки сигналів датчиків тиску, реалізуючи цифрові інтерфейси виводу інформації з датчиків або їхнє переналаштування за діапазоном. Датчики тиску PF2057 виробництва IFM Electronic мають керамічну фронтальну мембрану, що дає змогу використовувати їх для вимірювання тиску в'язких середовищ і суспензій, а також у харчовій промисловості. Крім струмового виходу 4-20 мА датчик має граничний транзисторний вихід, світлодіодний дисплей і має змогу переналаштовуватися за діапазоном в 4 рази.

Датчики складу газів застосовують у хімічному виробництві для контролю за ходом технологічного процесу, а також для моніторингу стану атмосфери й забезпечення безпеки у виробничих цехах і житлових приміщеннях.

Датчики, що визначають наявність і концентрацію вибухонебезпечних газів, таких як метан, пропан, водень, ацетилен, зазвичай, використовують каталітичний принцип. У таких пристроях поверхня чутливого елемента покрита тонким шаром каталізатора, роль якого може виконувати, наприклад, платина, палладій або діоксид олова. Газ, що потрапляє на шар каталізатора, окисляється киснем повітря й викликає додаткове нагрівання цього шару. Зміна температури призводить до появи електричного сигналу, що підсилюється електронною схемою.

Датчики для визначення концентрацій токсичних газів, таких, наприклад, як аміак або сірководень, використовують електрохімічний принцип вимірювання. Газ надходить у ємність, де під дією електричного струму відбувається хімічна реакція. Вибираючи матеріал електродів і розділової мембрани у вимірювальній ємності, а також силу струму, можна домогтися того, що в реакцію буде вступати тільки певний газ, концентрацію якого необхідно виміряти.

Третім типом датчиків газу можна назвати ІЧ-датчики газу. Принцип вимірювання ґрунтується на поглинанні газами певних довжин хвиль ІЧ-діапазону. Той або інший газ поглинає лише певні довжини хвиль і коефіцієнт поглинання пропорційний концентрації газу. ІЧ-датчики газу мають низку переваг: довготермінова стабільність, відсутність чутливості до інших газів, висока точність. Незважаючи на те, що цей тип датчиків був розроблений давно, його широке застосування стримувалося високою вартістю устаткування. З появою нових приймачів і випромінювачів ІЧ-діапазону вартість таких приладів наближається до вартості звичайних датчиків газу.

.2 Генератор на PIC16F84A і AD9850

Вимірювальні генератори, в яких необхідне значення частоти встановлюють за допомогою клавіатури, ці прилади виконані на мікроконтролері, діапазон генерованих частот обмежений декількома мегагерцами, а набуття точного значення частоти неможливе.

Описуваний в статті генератор теж містить мікроконтролер, але використаний він тільки для управління спеціалізованої мікросхемою-синтезатором частоти AD9850. Застосування цієї мікросхеми дозволило розширити діапазон генерованих частот від доль герца до 60 Мгц, в межах якого можна отримати будь - яке значення частоти з точністю 1 Гц.[2] Він опитує клавіатуру SB1 - SB16, виводить інформацію на РК індикатор HG1, обчислює значення коду частоти і передає його по послідовному інтерфейсу в синтезатор DD2. Звуковипромінювач НА1 служить для підтвердження натиснення кнопок клавіатури. Мікросхема AD9850(DD2) використана в стандартному включенні. На виході її ЦАПа включений фільтр Z1. Після фільтру сигнал синусоїдальної форми подається на гніздо XW2 і на вхід компаратора мікросхеми DD2(висновок 16).

З виходу останнього сигнал прямокутної форми поступає на гніздо XW1. В якості тактового генератора для DDS застосований кварцовий генератор G1.Після скидання мікроконтролера робиться налаштування РК індикатора HG1 на режим обміну по шині 4 біта, що необхідно для зменшення числа ліній введення/виведення, потрібних для запису інформації.

Управляють генератором за допомогою клавіатури, що складається з кнопок SB1, - SB16. Оскільки усі лінії порту В, що є вхідними, підключені до джерела живлення через резистори, необхідності в зовнішніх резисторах, що підтягують порти RB4-RB7 до лінії живлення, немає. Резистори R3-R6 захищають виходи мікроконтролера від перевантаження при випадковому натисненні декількох кнопок одночасно.

Необхідну частоту встановлюють з клавіатури. Для цього, натискаючи на кнопки з відповідними цифрами, вводять потрібне значення(у герцах) і натискають кнопку "*". Якщо частота не перевищує максимально допустимої, на індикаторі на короткий час з'являється повідомлення " ОКИ" і генератор переходить в робочий режим, а якщо перевищує, - повідомлення " Error". В цьому випадку треба натиснути кнопку" "("Скидання") і наново набрати правильне значення. Так само поступають і при помилці в процесі введення частоти.

Двократне натиснення цієї кнопки переводить прилад в робочий режим зі встановленим раніше значенням частоти. У робочому режимі в крайньому правому знакомісці індикатора блимає символ зірочки.



Якщо поточне значення частоти введене із зовнішнього блоку управління(наприклад, з комп'ютера), то щоб повернутися до частоти, що відображається на індикаторі, досить натиснути кнопку "*".

Кнопки " U"(Up - вгору) і " D"(Down - вниз) дозволяють ступінчасто змінювати вихідну частоту генератора, відповідно збільшуючи або зменшуючи значення десяткового розряду на одиницю. Необхідний десятковий розряд вибирають, переміщаючи курсор кнопками " L"(Left - вліво) і " R"(Right - управо).

При натисненні кнопки "*" значення частоти і позиція курсора зберігаються в енергонезалежній пам'яті мікроконтролера, завдяки чому при наступному включенні живлення перерваний режим роботи автоматично відновлюється .

Оскільки обчислювальні здібності мікроконтролера обмежені, значення вихідної частоти виставляється з точністю близько 1 Гц, що досить для більшості випадків. Щоб повною мірою реалізувати можливості синтезатора, їм можна управляти за допомогою ПК. Для цього генератор необхідно допрацювати, доповнивши його вузлом, схема якого показана на мал. 3. ПК(чи інший пристрій, що управляє) підключають до розетки XS1.

При низькому логічному рівні на адресних входах А мультиплексори мікросхеми DD3 підключають входи управління синтезатором до мікроконтролера DD1, а при високому - до зовнішнього пристрою. Сигнали управління поступають через контакт " ENABLE" розетки XS1. Резистор R19 забезпечує низький логічний рівень на адресних входах DD3 при непідключеному облаштуванні управління.


Генератор зібраний і випробуваний на макетній платі. Якщо не вдасться придбати плату під корпус SSOP для мікросхеми DD2, можна використати для підключення її виведень до відповідних контактних майданчиків короткі(завдовжки 10 15 мм) відрізки лудженого дроту діаметром 0,2 мм. Виведення 1,2,5,10,19, 24, 26, 27, 28 сполучають із загальним дротом одним відрізком більшої довжини.

РК індикатор HG1 - 1ТМ1601(16-символьний однорядковий зі вбудованим контролером). НА1 - будь-який п'єзоелектричний випромінювач звуку зі вбудованим генератором, розрахований на напругу 5 В. В якості тактового генератора(G1) можна використати мікрозборку кварцевого генератора на частоту до 125 Мгц, допустиме застосування подібного вузла з кварцевою стабілізацією і на дискретних елементах.

Програма мікроконтролера, що управляє, залежить від частоти тактового генератора. При програмуванні мікроконтролера в конфігураційному слові встановлюють наступні значення бітів : тип генератора(OSC) - RC. сторожовий таймер(WDT) - вимкнений, затримка після включення живлення(PWRTE) - дозволена.[3]

.3 Датчики серії MPVZ

Датчики серії MPVZ від FreescaleSemiconductorMPVZ4006, MPVZ5004, MPVZ5010 відрізняються наявністю посиленого аксіального порту спеціальної конструкції, що полегшує кріплення трубок, що підводять тиск - він має велику висоту і збільшений діаметр.

Ще одна особливість - використання спеціального гелю для захисту від дії довкілля. Поєднання цих чинників робить цей датчик ідеальним для використання в таких застосуваннях, як контроль рівня рідини. На кристал датчика інтегровані ланцюгу температурної стабілізації, фільтрації і посилення вихідного сигналу - його можна подавати безпосередньо на вхід АЦП мікроконтролера.

Датчик серіїї MPVZ

Компанія HopeRF випускає HP03 - сімейство датчиків для виміру тиску має зручне конструктивне виконання у вигляді модулів, реалізованих на основі п'єзо-резистивного елементу. Високої точності виміру дозволяє добитися АЦП з дозволом до шістнадцяти розрядів і можливість програмно встановлювати одинадцяти поправочних коефіцієнтів. Модуль відрізняє низьке енергоспоживання, а наявність I2C- інтерфейсу істотно спрощує підключення до мікроконтролера.

Відмітні особливості:діапазон виміру: 30...110 кПа;

дельта-сигма АЦП з дозволом до 16 біт;

не потрібні зовнішні компоненти; напруга живлення: 2,2...3,6 В; інтерфейси: I2C;

температурний діапазон: - 20°C...60°С.

Функціональна схема HP03

Області застосування:системи контролю і виміру тиску, портативні альтиметри/барометри, GPS- приймачі, облаштування з функцією прогнозу погоди.

.4 Мікроконтролер AT90S2313 фірмиAtmel

S2313 - економічний 8 бітовий КМОП мікроконтролер, побудований з використанням розширеної RISC архітектури AVR. Виконуючи по одній команді за період тактової частоти, AT90S2313 має продуктивність близько 1MIPS на Мгц, що дозволяє розробникам створювати системи оптимальні за швидкістю і споживаній потужності.

У основі ядра AVR лежить розширена RISC архітектура, що об'єднує розвинений набір команд і 32 регістри загального призначення. Усі 32 регістри безпосередньо підключені до арифметико-логічного пристрою(АЛП), що дає доступ до будь-яких двох регістрів за один машинний цикл. Подібна архітектура забезпечує десятиразовий виграш в ефективності коду в порівнянні з традиційними CISC мікроконтролерами.S2313 пропонує наступні можливості: 2кБ завантажуваної флеш-пам'яті; 128 байт EEPROM; 15 ліній введення/виведення загального призначення; 32 робітників регістра; таймери, що настроюються, лічильники з режимом збігу; зовнішні і внутрішні переривання; програмований універсальний послідовний порт; програмований строжевий таймер зі вбудованим генератором; SPI послідовний порт для завантаження програм; два вибираних програмно режиму низького енергоспоживання. Неодружений режим(Idle Mode) відключає ЦПУ, залишаючи в робочому стані регістри, таймери/лічильники,SPI порт і систему переривань. Економічний режим(Power Down Mode) зберігає вміст регістрів, але відключає генератор, забороняючи функціонування усіх вбудованих пристроїв до зовнішнього переривання або апаратного скидання.

Мікросхеми робляться з використанням технології енергонезалежної пам'яті високої щільності фірми Atmel. Завантажувана флеш-пам'ять на кристалі може бути перепрограмована прямо в системі через послідовний інтерфейс SPI або доступним програматором енергонезалежної пам'яті.

Об'єднуючи на одному кристалі вдосконалений 8-бітовий RISC процесор із завантажуваною флеш-пам'яттю, AT90S2313 є потужним мікроконтролером, який дозволяє створювати досить гнучкі і ефективні за вартістю пристрої.S2313 підтримується повною системою розробки що включає макроасемблер, програмний відгадчик / симулятор, внутрішньо-схемний емулятор і налагоджувальний комплект.

.5. Мікроконтролери AT90S2323 і AT90S2343S2323 і AT90S2343 пропонують наступні можливості: 2кБ завантажуваної флеш пам'яті; 128 байт EEPROM; 128 байт статичного ОЗУ; 3(90S2323) або 5(90S2343) ліній введення/виведення загального призначення; 32 робітників регістра; 8 розрядний таймер/лічильник; зовнішні і внутрішні переривання; програмований сторожевий таймер зі вбудованим генератором;SPI послідовний порт для завантаження програм; два вибираних програмно режиму низького енергоспоживання.

Холостий режим (Idle Mode) відключає ЦПУ, залишаючи в робочому стані регістри, таймери/лічильники, SPI порт і систему переривань. Економічний режим (Power Down Mode) зберігає вміст регістрів, але відключає генератор, забороняючи функціонування усіх вбудованих пристроїв до зовнішнього переривання або апаратного скидання.

Порівняння 90S2323 і 90S2343 AT90S2323 розроблені для використання із зовнішнім керамічним або кварцевим резонатором. Час запуску резонатора можна встановлювати як 1 мС (для керамічних резонаторів) або 16мС(для кварцових резонаторів). Мікросхема має три ніжки введення/виведення.S2343 працює із зовнішнім джерелом тактових імпульсів або зі вбудованим RC генератором. [5]

Мікросхема має п'ять ніжок введення/виведення.Corporation - виготівник напівпровідникових електронних компонентів. Компанія заснована в 1984 році. Акції продаються на біржі, NASDAQ: ATML. Один з лідерів виробництва мікроконтролерів (MCS - 51, ARM, AVR, AVR32).

Також розробляє і робить невеликі модулі енергонезалежної пам'яті для електронних виробів, ПЛИС, цифрові мікросхеми-радіоприймачі і передавачі, сканери відбитків пальців. Компанія для своїх клієнтів може запропонувати систему на кристалі, що об'єднує компоненти, що зажадалися.

Продукція Atmel широко застосовується в комп'ютерних мережах, промисловості, медицині, зв'язку, автомобілях, космосі, військових пристроях, а також кредитних картах.

Стівен Лауб - президент і генеральний директор корпорації Atmel.

Перший мікроконтролер Atmel з'явився в 1993 році і був ґрунтований на класичному мікроконтролерному ядрі Intel 8051. Продукція Atmel включає мікроконтроллери MCS - 51, AT91SAM і AT91CAP (ґрунтовані на ядрі ARM), мікроконтролери на їх власних ядрах Atmel AVR і AVR32, радіочастотні(RF) пристрої, мікросхеми пам'яті типів EEPROM і флеш(включаючи пам'ять, ґрунтовану на Data Flash)і деяка кількість інших продуктів цієї ж галузі.поставляє свої пристрої як стандартні, повністю укомплектовані. В деяких випадках Atmel може запропонувати SoC рішення.

ВИСНОВКИ

У роботі була опрацьована та систематизована інформація з наукової, методичної та педагогічної літератури; проведена систематизація методики та практики впровадження самостійного виготовлення приладів для вимірювання атмосферного тиску. Вивчена їх історія розвитку та сучасний стан використання. З’ясовано важливість використання проаналізованих приладів на уроках фізики з метою підвищення ефективності їх використання. Виявлено місце і значення використання приладів з вимірювання атмосферного тиску у шкільному курсі фізики.

У зв’язку з визначеною метою розв’язано ряд задач:

) Опрацьовано наукову й методичну літературу стосовно використання приладів для вимірювання атмосферного тиску, а також проаналізовано отриману інформацію;

) ознайомилися з можливостями і місцем даних приладів та методів при використання у сучасних наукових дослідженнях;

) з урахуванням психолого-педагогічних вимог навчальну комп’ютерну програму максимально адаптували до умов шкільного використання.

Апробація пристрою проводилась під час другої педагогічної практики (Володимир-Волинська гімназія, 10-А Клас).

Розроблено навчальну комп’ютерну програму для вивчення сучасних електронних методів вимірювання атмосферного тиску та розроблена для неї методика адаптування для вивчення фізики в умовах школи.

список використаних ДЖЕРЕЛ

1. Дашко Н.А. Курс лекций по синоптической метрологии. 2005.

. Буров В.А.и др. Демонстрационный эксперимент по физике в средней школе. Ч. I.- М.: Просвещение, 1978.- 380 с.

. Буров В.А. и др. Демонстрационный эксперимент по физике в средней школе. Ч. I I.- М.: Просвещение, 1979. - 420 с.

.Покровский А.А. Демонстрационный эксперимент по физике в средней школе. Ч. I.- М.: Просвещение, 1979.- 352 с.

. Покровский А.А.- Демонстрационный эксперимент по физике в средней школе. Ч. I I. - М.: Просвещение, 1979.- 288 с.

. Калапуша Л.Р. Моделювання у вивченні фізики.- К.: Рад. шк., 1982.- 160 с.

. Калапуша Л. Р. Моделювання у викладанні фізики в школі.- К.: Рад. шк., 1968.- 124 с.

. Калапуша Л.Р., Муляр В.П., Федонюк А.А. Комп’ютерне моделювання фізичних явищ та процесів.- Луцьк: Вежа, 2007.- 190 с.

. Кобель Г.П., Калапуша Л. Р. Моделювання у вивченні молекулярної фізики.- Луцьк, 1994.- 50 с.

. Коршак Є.В. та ін. Фізика, 7 кл.: Підручник для серед. загальноосвіт. шк.- К.: Перун, 2005.- 160 с.

. Коршак Є.В. та iн. Фізика, 8 кл.: Підручник для серед. загальноосвіт. шк.- К.: Перун, 2005.- 192 с.

. Коршак Є.В. тa iн. Фізика, 9 кл.: Підручник для серед. загальноосвіт. шк.- К.: Перун, 2005.- 232 с.

. Коршак Є.В. тa iн. Фізика, 10 кл.: Підручник для серед. загальноосвіт. шк.- К.: Перун, 2004.- 312 с.

. Коршак Є.В. та ін. Фізика, 11 кл.: Підручник для серед. загальноосвіт. шк.- К.: Перун, 2004.- 288 с.

. Коршак Є.В., Миргородський Б.Ю. Методика і техніка шкільного фізичного експерименту. Практикум.- К.: Вища шк., 1981.- 280 с.

. Миргородський Б.Ю., Шабаль В.К. Демонстраційний експеримент з фізики. Молекулярна фізика.- К.: Рад. шк., 1982.- 140 с.

.Посудін Ю.І. Методи вимірювання параметрів навколишнього середовища. - К.: Світ, 2003.- 288 с.

. Посудін Ю.І. Фізика і біофізика навколишнього середовища. - К.: Світ, 2000.- 303 с.

. Ситник К.М., Брайон А.В., Гордецкий A.P., Брайон А.П. Словарь-справочник по экологии. - К.: Наукова думка, 1994. - 665 с.

.Иванов В.И. Курс дозиметрии. - М.: Энергоиздат, 1988. - 399 с.

. Мала гірнича енциклопедія. В 3-х т. / За ред. В.С. Білецького. - Донецьк: Донбас, 2004. - ISBN 966-7804-14-3.

. Кедроливанский В.Н., Стернзат М.С. Метеорологические приборы. - Л., 1953.

. Дуков В.М. Исторические обзоры в курсе физики средней школы. - М.: Просвещение, 1983.

ДОДАТОК А

Лістинг навчальної комп’ютерної програми

<HEAD>

<TITLE>by MIGSoft

</TITLE>

</HEAD>

<BODY>

<H2 ALIGEN=CENTER align="center"><font size="6">ВИМIРЮВАННЯ&nbsp;</font></H2>

<H2 ALIGEN=CENTER align="center"><font size="6">АТМОСФЕРНОГО ТИСКУ</font></H2>

<p ALIGEN=CENTER align="center">&nbsp;</p>

<p ALIGEN=CENTER align="center"><img src="UNIVER.JPG" width="780" height="556"><img src="1.JPG" width="360" height="558"></p>

<p ALIGEN=CENTER align="center">&nbsp;</p>

<p ALIGEN=CENTER align="center">&nbsp;</p>

<p ALIGEN=CENTER align="center">&nbsp;</p

><p ALIGEN=CENTER align="center">&nbsp;</p>

<ul>

<li>

<p align="center">

<A HREF="#Генератор на PIC16F84A і AD9850"><font size="5">Генератор на PIC16F84A і AD9850 &nbsp&nbsp&nbsp&nbsp</font></A></li>

<li>

<p align="center">

<A HREF="#Датчики серії MPVZ"><font size="5">Датчики серії MPVZ &nbsp&nbsp&nbsp&nbsp</font></A></li>

<li>

<p align="center">

<A HREF="#Мікроконтролер AT90S2313 фірми Atmel"><font size="5">Мікроконтролер AT90S2313 фірми Atmel &nbsp&nbsp&nbsp&nbsp</font></A></li>

<li>

<p align="center">

<A HREF="#Мікроконтролери AT90S2323 і AT90S2343"><font size="5">Мікроконтролери AT90S2323 і AT90S2343 &nbsp&nbsp&nbsp&nbsp</font></A></li>

</ul>

<P>

<font size="5">

<BR><BR></font><BR><BR><BR><BR><BR><BR><BR><BR><BR><BR><BR><BR><BR><BR>

<BR><BR><BR><BR><BR><BR><BR><BR><BR><BR><BR><BR><BR><BR><BR><BR>

<BR><BR><BR><BR><BR><BR><BR>

<P>&nbsp;

<P>&nbsp;

<P>

<BR><BR><BR><BR><BR><BR><BR><BR><BR>

<BR><BR><BR><BR><BR><BR><BR><BR><BR><BR><BR><BR><BR><BR><BR><BR>

<BR><BR><BR><BR><BR><BR><BR><BR><BR><BR><BR><BR><BR><BR><BR><BR>

<P>&nbsp;

<A NAME="Генератор на PIC16F84A і AD9850"></A>

<H3 ALIGEN=CENTER align="left"><a name="Генератор на PIC16F84A і AD9850"><font color="#FF00FF" size="6">Генератор

на PIC16F84A і AD9850</font></a></H3>

<p ALIGEN=CENTER align="left">&nbsp;</p>

<p align="left"> <font size="5">

Вимірювальні генератори, в яких необхідне значення частоти встановлюють за допомогою клавіатури,ці прилади виконані на мікроконтролері, діапазон генерованих частот обмежений декількома мегагерцами,а набуття точного значення частоти неможливе.

</font>

<p align="left"><font size="5">Описуваний в

&auml;&agrave;&iacute;i&eacute;

&iuml;&eth;&icirc;&atilde;&eth;&agrave;&igrave;

генератор теж містить мікроконтролер,але використаний він тільки для управління спеціалізованої мікросхемою-синтезатором частоти AD9850.Застосування цієї мікросхеми дозволило розширити діапазон генерованих частот від доль герца до 60 Мгц,в межах якого можна отримати будь-яке значення частоти з точністю 1 Гц.

</font>

<p align="center"><img

src="file:///C|/Program%20Files/Macromedia/Dreamweaver%204/Lessons/%20Files/1.JPG" width="647" height="514">

<p align="left"><font size="5">

Він опитує клавіатуру SB1 - SB16,виводить інформацію на РК індикатор HG1,обчислює значення коду частоти і </font><font size="5">передає його по послідовному інтерфейсу в синтезатор DD2.Звуковипромінювач НА1 служить для підтвердження натиснення кнопок клавіатури.

Мікросхема AD9850(DD2) використана в стандартному включенні.

На виході її ЦАПа включений фільтр Z1.Після фільтру сигнал синусоїдальної форми подається на гніздо XW2 і на вхід компаратора мікросхеми DD2(висновок 16).З виходу останнього сигнал прямокутної форми поступає на гніздо XW1.В якості тактового генератора для DDS застосований кварцевий генератор G1.

</font>

<p align="left"><font size="5">

Після скидання мікроконтролера робиться налаштування РК індикатора HG1 на режим обміну по шині 4 біта,що необхідно для зменшення числа ліній введення/виведення,потрібних для запису інформації.

</font>

<p align="center"><img

src="file:///C|/Program%20Files/Macromedia/Dreamweaver%204/Lessons/%20Files/2.JPG" width="621" height="242">

<p align="left"><font size="5">

Управляють генератором за допомогою клавіатури,що складається з кнопок SB1-SB16.Оскільки усі лінії порту В,що є вхідними,підключені до джерела живлення через резистори,необхідності в зовнішніх резисторах,"що підтягують"порти RB4-RB7 до лінії живлення, немає.

Резистори R3-R6 захищають виходи мікроконтролера від перевантаження при випадковому натисненні декількох кнопок одночасно.

Необхідну частоту встановлюють з клавіатури.

Для цього,натискаючи на кнопки з відповідними цифрами,вводять потрібне значення(у герцах) і натискають кнопку "*".

Якщо частота не перевищує максимально допустимої,на індикаторі на короткий час з'являється повідомлення"ОКИ"і генератор переходить в робочий режим,а якщо перевищує,- повідомлення "Error".В цьому випадку треба натиснути кнопку" "("Скидання") і заново набрати правильне значення.

</font>

<p align="left"><font size="5">

Так само поступають і при помилці в процесі введення частоти.

Двократне натиснення цієї кнопки переводить прилад в робочий режим зі встановленим раніше значенням частоти.

У робочому режимі в крайньому правому знакомісці індикатора блимає символ зірочки.

Якщо поточне значення частоти введене із зовнішнього блоку управління(наприклад,з комп'ютера),то щоб повернутися до частоти,що відображається на індикаторі,досить натиснути кнопку "*".

Кнопки "U"(Up- вгору) і "D"(Down-вниз) дозволяють ступі

нчасто змінювати вихідну частоту генератора,відповідно збільшуючи або зменшуючи значення десяткового розряду на одиницю.

Необхідний десятковий розряд вибирають,переміщаючи курсор кнопками "L"(Left-вліво) і "R"(Right-управо).

При натисненні кнопки "*" значення частоти і позиція курсору зберігаються в енергонезалежній пам'яті мікроконтролера,завдяки чому при наступному включенні живлення перерваний режим роботи автоматично відновлюється.

</font>

<p align="center"><img

src="file:///C|/Program%20Files/Macromedia/Dreamweaver%204/Lessons/%20Files/3.JPG" width="364" height="250">

<p align="left"><font size="5">

Оскільки обчислювальні здібності мікроконтролера обмежені,значення вихідної частоти виставляється з точністю близько 1 Гц,що досить для більшості випадків.

Щоб повною мірою реалізувати можливості синтезатора,їм можна управляти за допомогою ПК.

Для цього генератор необхідно допрацювати,доповнивши його вузлом,схема якого показана на мал.3.ПК(чи інший пристрій,що управляє) підключають до розетки XS1.При низькому логічному рівні на адресних входах А мультиплексори мікросхеми DD3 підключають входи управління синтезатором до мікроконтролера DD1,а при високому-до зовнішнього пристрою. Сигнали управління поступають через контакт "ENABLE" розетки XS1. Резистор R19 забезпечує низький логічний рівень на адресних входах DD3 при непідключеному облаштуванні управління.

Генератор зібраний і випробуваний на макетній платі.

Якщо не вдасться придбати плату під корпус SSOP для мікросхеми DD2,можна використати для підключення її виведень до відповідних контактних майданчиків короткі(завдовжки 10-15 мм) відрізки лудженого дроту діаметром 0,2 мм.

Виведення 1,2,5,10,19,24,26,27,28 сполучають із загальним дротом одним відрізком більшої довжини. РК індикатор HG1-1ТМ1601(16-символьний однорядковий зі вбудованим контролером). НА1-будь-який п'єзоелектричний випромінювач звуку зі вбудованим генератором,розрахований на напругу 5 В.

</font>

<p align="left"><font size="5">

В якості тактового генератора(G1) можна використати мікрозборку кварцового генератора на частоту до 125 Мгц,допустиме застосування подібного вузла з кварцовою стабілізацією і на дискретних елементах.

Програма мікроконтролера,що управляє,залежить від частоти тактового генератора.

</font>

<p align="left"><font size="5">

При програмуванні мікроконтролера в конфігураційному слові встановлюють наступні значення бітів:тип генератора(OSC)-RC.Сторожовий таймер(WDT) - вимкнений,затримка після включення живлення(PWRTE)-дозволена.

</font>

<p align="left"><font

size="5">&nbsp&nbsp&nbsp&nbsp&nbsp&nbsp&nbsp&nbsp&nbsp&nbsp

&nbsp&nbsp&nbsp

&nbsp&nbsp&nbsp&nbsp&nbsp&nbsp&nbsp&nbsp&nbsp&nbsp&nbsp&n&nbsp&nbsp&nbsp&nbsp&nbsp&nbsp

&nbsp&nbsp&nbsp&nbsp&nbsp&nbsp&nbsp&nbsp&nbsp&nbsp&nbsp&n&nbsp&nbsp&nbsp&nbsp&nbsp&nbsp

&nbsp&nbsp&nbsp&nbsp&nbsp&nbsp&nbsp&nbsp&nbsp&nbsp&nbsp&n&nbsp&nbsp&nbsp&nbsp&nbsp&nbsp

&nbsp&nbsp&nbsp&nbsp&nbsp&nbsp&nbsp&nbsp&nbsp&nbsp&nbsp&n&nbsp&nbsp&nbsp&nbsp&nbsp&nbsp

&nbsp&nbsp&nbsp&nbsp&nbsp&nbsp&nbsp&nbsp&nbsp&nbsp&nbsp&n&nbsp&nbsp&nbsp&nbsp&nbsp&nbsp

&nbsp&nbsp&nbsp&nbsp&nbsp&nbsp&nbsp&nbsp&nbsp&nbsp&nbsp&n&nbsp&nbsp&nbsp&nbsp&nbsp&nbsp

&nbsp&nbsp&nbsp&nbsp&nbsp&nbsp&nbsp&nbsp&nbsp&nbsp&nbsp&n&nbsp&nbsp&nbsp&nbsp&nbsp&nbsp

&nbsp&nbsp&nbsp&nbsp&nbsp&nbsp&nbsp&nbsp&nbsp&nbsp&nbsp&n&nbsp&nbsp&nbsp&nbsp&nbsp&nbsp

&nbsp&nbsp&nbsp&nbsp&nbsp&nbsp&nbsp&nbsp&nbsp&nbsp&nbsp&n&nbsp&nbsp&nbsp&nbsp&nbsp&nbsp</font>

<BR>

<BR>

<BR>

<BR>

<p align="center"><BR>

<BR>

<BR>

<BR>

<BR>

<BR>

<BR>

<BR>

<BR>

<BR>

<BR>

<BR>

<BR>

<BR>

<BR>

<BR>

<BR>

<BR>

<BR>

<BR>

<BR>

<BR>

<BR>

<BR>

<BR>

<BR>

<p align="center">&nbsp;</p>

<p align="center">&nbsp;</p>

<p align="center">&nbsp;</p>

<p align="center">&nbsp;</p>

<p align="center">&nbsp;</p>

<p align="center">&nbsp;</p>

<p align="center">&nbsp;</p>

<p align="center">&nbsp;</p>

<p align="center">&nbsp;</p>

<p align="center">&nbsp;</p>

<p align="center">&nbsp;</p>

<p align="center">&nbsp;</p>

<p align="center"><BR>

</p>

<A NAME="Датчики серії MPVZ"> </A>

<H3 ALIGEN=CENTER align="left"><a name="Датчики серії "><font color="#FF00FF" size="6">Датчики

серії MPVZ</font></a></H3>

<p ALIGEN=CENTER align="left">&nbsp;</p>

<p align="left"> <font size="5">

Датчики серії MPVZ від FreescaleSemiconductorMPVZ4006,MPVZ5004,MPVZ5010 відрізняються наявністю посиленого аксіального порту спеціальної конструкції,що полегшує кріплення трубок,що підводять тиск,-він має велику висоту і збільшений діаметр.

</font>

<p align="center"><img

src="file:///C|/Program%20Files/Macromedia/Dreamweaver%204/Lessons/%20Files/4.JPG" width="274" height="294">

<p align="left"><font size="5">

Ще одна особливість- використання спеціального гелю для захисту від дії довкілля.

Поєднання цих чинників робить цей датчик ідеальним для використання в таких застосуваннях,як контроль рівня рідини.

На кристал датчика інтегровані ланцюгу температурної стабілізації,фільтрації і посилення вихідного сигналу-його можна подавати безпосередньо на вхід АЦП мікроконтролера.

Компанія HopeRF випускає HP03-сімейство датчиків для виміру тиску має зручне конструктивне виконання у вигляді модулів,реалізованих на основі п'єзорезистивного елементу. </font>

<p align="left"><font size="5">Високої точності виміру дозволяє добитися АЦП з дозволом до шістнадцяти розрядів і можливість програмно встановлювати одинадцяти поправочних коефіцієнтів.

Модуль відрізняє низьке енергоспоживання,а наявність I2C-інтерфейсу істотно спрощує підключення до мікроконтролера.

Відмітні особливості:діапазон виміру:30...110 кПа;

дельтасигма АЦП з дозволом до 16 біт;не потрібно зовнішні компоненти;напруга живлення:2,2В...3,6 В;

інтерфейси:I2C;температурний діапазон:20°C...60°С.

</font>

<p align="center"><img

src="file:///C|/Program%20Files/Macromedia/Dreamweaver%204/Lessons/%20Files/5.JPG" width="647" height="354">

<p align="center"><font size="5">Функціональна схема HP03 </font>

<p align="left"><font size="5">

Області застосування:системи контролю і виміру тиску,портативні альтиметри/барометри,GPS-приймачі,облаштування з функцією прогнозу погоди.

</font>

<p align="center"><font

size="5">&nbsp&nbsp&nbsp&nbsp&nbsp&nbsp&nbsp&nbsp&nbsp&nbsp

&nbsp

&nbsp&nbsp&nbsp&nbsp&nbsp&nbsp&nbsp&nbsp&nbsp&nbsp&nbsp&n&nbsp&nbsp&nbsp&nbsp&nbsp&nbsp

&nbsp&nbsp&nbsp&nbsp&nbsp&nbsp&nbsp&nbsp&nbsp&nbsp&nbsp&n&nbsp&nbsp&nbsp&nbsp&nbsp&nbsp

&nbsp&nbsp&nbsp&nbsp&nbsp&nbsp&nbsp&nbsp&nbsp&nbsp&nbsp&n&nbsp&nbsp&nbsp&nbsp&nbsp&nbsp

&nbsp&nbsp&nbsp&nbsp&nbsp&nbsp&nbsp&nbsp&nbsp&nbsp&nbsp&n&nbsp&nbsp&nbsp&nbsp&nbsp&nbsp

&nbsp&nbsp&nbsp&nbsp&nbsp&nbsp&nbsp&nbsp&nbsp&nbsp&nbsp&n&nbsp&nbsp&nbsp&nbsp&nbsp&nbsp

&nbsp&nbsp&nbsp&nbsp&nbsp&nbsp&nbsp&nbsp&nbsp&nbsp&nbsp&n&nbsp&nbsp&nbsp&nbsp&nbsp&nbsp

&nbsp&nbsp&nbsp&nbsp&nbsp&nbsp&nbsp&nbsp&nbsp&nbsp&nbsp&n&nbsp&nbsp&nbsp&nbsp&nbsp&nbsp

&nbsp&nbsp&nbsp&nbsp&nbsp&nbsp&nbsp&nbsp&nbsp&nbsp&nbsp&n&nbsp&nbsp&nbsp&nbsp&nbsp&nbsp

&nbsp&nbsp&nbsp&nbsp&nbsp&nbsp&nbsp&nbsp&nbsp&nbsp&nbsp&n&nbsp&nbsp&nbsp&nbsp&nbsp&nbsp

<BR>

<BR>

<BR>

</font><BR>

<BR>

<BR>

<BR>

<BR>

<BR>

<BR>

<BR>

<BR>

<BR>

<BR>

<BR>

<BR>

<BR>

<BR>

<BR>

<BR>

<BR>

<BR>

<BR>

<p align="center">&nbsp; </p>

<p align="center">&nbsp; </p>

<p align="center"> <BR><BR><BR><BR><BR><BR><BR></p>

<p align="center">&nbsp; </p>

<p align="center">&nbsp; </p>

<p align="center">&nbsp; </p>

<p align="center">&nbsp; </p>

<p align="center">&nbsp; </p>

<p align="center">&nbsp; </p>

<p align="center">&nbsp; </p>

<p align="center">&nbsp; </p>

<p align="center">&nbsp; </p>

<p align="center">&nbsp; </p>

<p align="center">&nbsp;

</p>

<A NAME="Мікроконтролер AT90S2313 фірми Atmel"> </A>

<H3 ALIGEN=CENTER align="left"><a name="Мікроконтролер S2313 фірми Atmel"><font color="#FF00FF"

size="6">Мікроконтролер AT90S2313 фірми Atmel

ІНДИКАЦІЇЇ</font></a></H3>

<p ALIGEN=CENTER align="center">&nbsp;</p>

<p align="left"> <font size="5">

AT90S2313-економічний 8 бітовий КМОП мікроконтролер, побудований з використанням розширеної RISC архітектури AVR. Виконуючи по одній команді за період тактової частоти,AT90S2313 має продуктивність близько 1MIPS на Мгц,що дозволяє розробникам створювати системи оптимальні за швидкістю і споживаній потужності. У основі ядра AVR лежить розширена RISC архітектура,що об'єднує розвинений набір команд і 32 регістри загального призначення. Усі 32 регістри безпосередньо підключені до арифметико-логічного пристрою(АЛУ),що дає доступ до будь-яких двох регістрів за один машинний цикл. Подібна архітектура забезпечує десятиразовий виграш в ефективності коду в порівнянні з традиційними CISC мікроконтролерами.S2313 пропонує наступні можливості:

кБ завантажуваної флеш пам'яті;

байт EEPROM;

ліній введення/виведення загального призначення;

робітників регістра;

таймери,що настроюються;

лічильники з режимом збігу;

зовнішні і внутрішні переривання;

програмований універсальний послідовний порт;

програмований строжевий таймер зі вбудованим генератором;послідовний порт для завантаження програм;

два вибираних програмно режиму низького енергоспоживання.

Неодружений режим (IdleMode) відключає ЦПУ,залишаючи робочому стані регістри,таймери/лічильники,SPI порт і систему переривань.

Економічний режим (PowerDownMode) зберігає вміст регістрів,але відключає генератор,забороняючи функціонування усіх вбудованих пристроїв до зовнішнього переривання або апаратного скидання. Мікросхеми робляться з використанням технології енергонезалежної пам'яті високої щільності фірми Atmel. Завантажувана флеш пам'ять на кристалі може бути перепрограмована прямо в системі через послідовний інтерфейс SPI або доступним програматором енергонезалежної пам'яті.

Об'єднуючи на одному кристалі вдосконалений 8-бітовий RISC процесор із завантажуваною флеш пам'яттю,AT90S2313 є потужним мікроконтролером, який дозволяє створювати досить гнучкі і ефективні за вартістю пристрої.AT90S2313 підтримується повною системою

Розробки,що включає макроасемблер, програмний відгадчик / симулятор, внутрішньосхемний емулятор і налагоджувальний комплект

</font>

<p align="left"><font size="5"> </font><BR>

<BR>

<BR>

<BR>

<BR>

<BR>

<BR>

<BR>

<BR>

<BR>

<BR>

<BR>

<BR>

<BR>

<BR>

<BR>

<BR>

<BR>

<BR>

<BR>

<p align="center">&nbsp;</p>

<p align="center">&nbsp;</p>

<p align="center">&nbsp;</p>

<p align="center">&nbsp;</p>

<p align="center">&nbsp;</p>

<p align="center">&nbsp;</p>

<p align="center">&nbsp;</p>

<p align="center"><BR><BR><BR><BR><BR>

</p>

<A NAME="Мікроконтролери AT90S2323 і AT90S2343"> </A>

<H3 ALIGEN=CENTER align="left"><a name="Мікроконтролери S2323 і AT90S2343"><font color="#FF00FF"

size="6">Мікроконтролери AT90S2323 і AT90S2343</font></a></H3>

<p ALIGEN=CENTER align="left">&nbsp;</p>

<p align="left"> <font size="5">

AT90S2323 і AT90S2343 пропонують  наступні можливості:

кБ завантажуваної флеш пам'яті;

байт EEPROM;

байт статичного ОЗУ;

(90S2323) або 5(90S2343)ліній введення/виведення загального призначення;

робітників регістра;

розрядний таймер/лічильник;

зовнішні і внутрішні переривання;

програмований строжевий таймер зі вбудованим генератором;послідовний порт для завантаження програм;

два вибираних програмно режиму низького енергоспоживання.

Холостий режим(IdleMode) відключає ЦПУ,залишаючи в робочому стані регістри,таймери/лічильники,SPI порт і систему переривань.

Економічний режим (Power Down Mode)зберігає вміст регістрів,але відключає генератор,забороняючи функціонування усіх вбудованих пристроїв до зовнішнього переривання або апаратного скидання. Порівняння 90S2323 і 90S2343 AT90S2323 розроблені для використання із зовнішнім керамічним або кварцовим резонатором. Час запуску резонатора можна встановлювати як 1 мС (для керамічних резонаторів) або 16мС(для кварцових резонаторів). Мікросхема має три ніжки введення/виведення.AT90S2343 працює із зовнішнім джерелом тактових імпульсів або зі вбудованим RC генератором. [5] Мікросхема має п'ять ніжок введення/виведення.Corporation - виготівник напівпровідникових електронних компонентів.

Компанія заснована в 1984 році. Акції продаються на біржі,NASDAQ:ATML. Один з лідерів виробництва мікроконтролерів (MCS-51,ARM,AVR,AVR32).

Також розробляє і робить невеликі модулі енергонезалежної пам'яті для електронних виробів,ПЛИС,цифрові мікросхеми-радіоприймачі і передавачі,сканери відбитків пальців. Компанія для своїх клієнтів може запропонувати систему на кристалі,що об'єднує компоненти,що зажадалися. Продукція Atmel широко застосовується в комп'ютерних мережах,промисловості,медицині,зв'язку,автомобілях,космосі,військових пристроях,а також кредитних картах. Стівен Лауб-президент і генеральний директор корпорації Atmel. Перший мікроконтролер Atmel з'явився в 1993 році і був ґрунтований на класичному мікроконтролерному ядрі Intel 8051. Продукція Atmel включає мікроконтроллери MCS-51,AT91SAM і AT91CAP

ґрунтовані на ядрі ARM), мікроконтролери на їх власних ядрах Atmel AVR і AVR32, радіочастотні(RF) пристрої,мікросхеми пам'яті типів EEPROM і флеш(включаючи пам'ять, ґрунтовану на Data Flash)і деяка кількість інших продуктів цієї ж галузі. Atmel поставляє свої пристрої як стандартні,повністю укомплектовані. В деяких випадках Atmel може запропонувати SoC рішення.

&nbsp&nbsp&nbsp&nbsp&nbsp&nbsp&nbsp&nbsp&nbsp&nbsp&nbsp&n&nbsp&nbsp&nbsp&nbsp&nbsp&nbsp

&nbsp&nbsp&nbsp&nbsp&nbsp&nbsp&nbsp&nbsp&nbsp&nbsp&nbsp&n&nbsp&nbsp&nbsp&nbsp&nbsp&nbsp

&nbsp&nbsp&nbsp&nbsp&nbsp&nbsp&nbsp&nbsp&nbsp&nbsp&nbsp&n&nbsp&nbsp&nbsp&nbsp&nbsp&nbsp

&nbsp&nbsp&nbsp&nbsp&nbsp&nbsp&nbsp&nbsp&nbsp&nbsp&nbsp&n&nbsp&nbsp&nbsp&nbsp&nbsp&nbsp

&nbsp&nbsp&nbsp&nbsp&nbsp&nbsp&nbsp&nbsp&nbsp&nbsp&nbsp&n&nbsp&nbsp&nbsp&nbsp&nbsp&nbsp

&nbsp&nbsp&nbsp&nbsp&nbsp&nbsp&nbsp&nbsp&nbsp&nbsp&nbsp&n&nbsp&nbsp&nbsp&nbsp&nbsp&nbsp

&nbsp&nbsp&nbsp&nbsp&nbsp&nbsp&nbsp&nbsp&nbsp&nbsp&nbsp&n&nbsp&nbsp&nbsp&nbsp&nbsp&nbsp

&nbsp&nbsp&nbsp&nbsp&nbsp&nbsp&nbsp&nbsp&nbsp&nbsp&nbsp&n&nbsp&nbsp&nbsp&nbsp&nbsp&nbsp

&nbsp&nbsp&nbsp&nbsp&nbsp&nbsp&nbsp&nbsp&nbsp&nbsp&nbsp&n&nbsp&nbsp&nbsp&nbsp&nbsp&nbsp

&nbsp&nbsp&nbsp&nbsp&nbsp&nbsp&nbsp&nbsp&nbsp&nbsp&nbsp&n&nbsp&nbsp&nbsp&nbsp&nbsp&nbsp</font></p>

</BODY>

Похожие работы на - Використання електронних вимірників тиску у навчальному процесі з фізики

 

Не нашли материал для своей работы?
Поможем написать уникальную работу
Без плагиата!
Без нейросетей!