Цех по производству портландцемента по сухому способу из сырья Ухтинского района мощностью 1,0 млн.т/год

  • Вид работы:
    Курсовая работа (т)
  • Предмет:
    Геология
  • Язык:
    Русский
    ,
    Формат файла:
    MS Word
    208,61 Кб
  • Опубликовано:
    2013-09-19
Вы можете узнать стоимость помощи в написании студенческой работы.
Помощь в написании работы, которую точно примут!

Цех по производству портландцемента по сухому способу из сырья Ухтинского района мощностью 1,0 млн.т/год

Агентство по образованию РФ

Ухтинский государственный технический университет

Кафедра минералогии и геохимии, геологии, геодезии










Курсовой проект

по дисциплине: Лабораторные методы изучения минералов, пород и руд

тема: Цех по производству портландцемента по сухому способу из сырья Ухтинского района мощностью 1,0 млн.т/год









Ухта, 2005

Введение

Портландцементом называется гидравлическое вяжущее вещество, получаемое тонким измельчением портландцементного клинкера с гипсом, а иногда и со специальными добавками.

Клинкер получают обжигом до спекания тонкодисперсной однородной сырье-вой смеси, состоящей из известняка и глины и некоторых других материалов (мергеля, доменного шлака и пр.). При этом обеспечивается преимущественное содержание в нем высокоосновных силикатов кальция (70-80 %). Гипс в портландцемент добавляют для регулирования скорости схватывания и некоторых других свойств. Клинкерный порошок без гипса при смешивании с водой быстро схватывается и затвердевает в цементный камень, который характеризуется пониженными техническими свойствами.

По составу (ГОСТ 10178-76 с изм.) различают портландцемент без добавок, портландцемент с минеральными добавками, шлакопортландцемент. В портландцемент с минеральными добавками разрешается вводить гранулированные доменные и электротермофосфорные шлаки в количестве до 20% массы вяжущего, активные добавки осадочного происхождения (кроме глиежей) не более 10%. Другие активные добавки (вулканического происхождения, глиежи) допускается вводить до 15% массы получаемого цемента. Шлакопортландцемент должен содержать доменные или электротермофосфорные шлаки не менее 21 и не более 80% массы вяжущего. При производстве цемента для интенсификации процесса помола допускается введение специальных добавок в количестве до 1 % массы вяжущего.

Свойства портландцемента определяются прежде всего качеством клинкера. Вводимые в него добавки предназначены для их регулирования. Портландцемент и его разновидности - основной материал в современном строительстве. Из него возводят бетонные и железобетонные конструкции самых разнообразных зданий и сооружений. Жилищно-гражданское, промышленное, сельскохозяйственное, гидротехническое, горное, дорожное, ирригационное - вот неполный перечень видов строительства, где с успехом применяют бетон и железобетон на портландцементе.

Неуклонно улучшается качество цемента, повышаются его прочностные показатели, расширяется ассортимент, выпускаются специальные виды цемента для различных областей строительства.

1. Физико-химические основы производства

Для производства портландцемента широко используются такие распространенные осадочные горные породы, как известняки, глины и мергели, а также различные отходы производства - металлургические шлаки, пиритные огарки и т. д.

Известняковые породы. Из известняковых пород в этих целях применяются различные известняки, мел, мрамор, известняк-ракушечник, известковый туф и др.

Некоторые из содержащихся в известняковых породах примесей не оказывают вредного влияния ни на ход производства, ни на качество получаемого продукта: например, мелкие зерна: кварцевого песка или равномерно распределенные в известняке глинистые примеси.

В тех же случаях, когда окремнение известняков достигает значительного масштаба и включения кремневых желваков распределены неравномерно, использование пород становится затруднительным, так как это осложняет процесс помола материала и корректировки состава сырьевой смеси.

Вторым обстоятельством, ухудшающим качество известняков, является нередко наблюдающаяся их доломитизация. Поскольку магнезия в большом количестве отрицательно влияет на некоторые свойства цемента, сильно доломитизированные известняки не могут применяться для его производства.

Мергели. Мергели представляют собой природную смесь частиц кальцита и глинистых минералов.

Некоторые мергели по своему химическому составу близко подходят к применяемой для производства цемента сырьевой смеси.

Большей частью месторождения мергелей имеют пластовое строение - перемежающиеся пласты различного химического состава и сравнительно небольшой мощности. Мергели различаются также и по твердости, некоторые имеют землистую, как и мел, структуру, другие, как новороссийские, очень плотны и тверды, подобно плотным разновидностям известняков. Мергели различают по так называемому «титру», т. е. по содержанию углекислого кальция. При содержании углекислого кальция в количестве, отвечающем титру обычной искусственной цементной сырьевой смеси, мергели носят название «натуральных»; при большем, чем у последних, содержании углекислого кальция мергели называются «высокими», а при меньшем - «низкими». «Высокие» и «низкие» мергели в смесях соответствующей пропорции также используются для производства цемента по мокрому способу.

Глинистые породы. Глинистыми называют тонкодисперсные обломочные горные породы осадочного происхождения. В минералогическом отношении они слагаются преимущественно водными силикатами, являющимися продуктами разложения различных полевошпатовых или слюдосодержащих пород.

Глины чрезвычайно разнообразны как по своему химическому составу, так и по своим физическим свойствам.

Используемые в цементном производстве глины должны содержать в определенном соотношении кислотные окислы: кремнезем, глинозем и окись железа. Состав глин, содержащих недостаточное количество какого-либо из названных окислов, корректируют путем применения одновременно двух различных видов глины, либо дополнительного введения корректирующих добавок.

В глинах и глинистых породах не должно содержаться большого количества окиси магния, щелочей и серного ангидрида. Из глинистых пород в производстве цемента используются также глинистые сланцы и лёссовидные породы. Глинистыми сланцами называются уплотненные глины, обладающие ясно выраженной слоистостью и значительной прочностью. Лёсс - рыхлая порода, легко измельчаемая в тонкий порошок. По минералогическому составу лёсс главным образом состоит из тонкодисперсных частиц кальцита, слюды, каолинита, хлоритов, роговых обманок, полевых шпатов и кварца.

Корректирующие добавки. Корректирующие добавки могут быть как естественного, так и искусственного происхождения. Они вводятся в сырьевую смесь с целью увеличения содержания того или иного необходимого окисла. Так, например, при недостаточном количестве в смеси кремнезема добавляют глину с высоким его содержанием, трепел, опоку и некоторые другие осадочные кремнеземистые породы. В случае пониженного содержания окиси железа в сырьевую смесь вводят железистые глины, железную руду, отходы доменного производства - колошниковую пыль или отходы сернокислого производства - пиритные огарки.

Наиболее распространенной железистой добавкой являются пиритные (колчеданные) огарки. С целью увеличения содержания окиси алюминия обычно используют богатые глиноземом глины. Очень редко прибегают к введению в состав сырьевой, смеси бокситов.

Химический состав клинкера.

Химический анализ клинкера проводят по методике, регламентированной ГОСТ 5382-73. При этом определяют обычно общее процентное содержание оксида кальция, как связанного, так и находящегося в свободном состоянии; двуоксида кремния SiО2; полуторных оксидов Fe2О3 и А12О3; оксида-магния МgО; серного ангидрида SО3; оксида щелочных металлов Na2O, К2O, а также Р2О5, Мn2О3, ТiO2, Сг2О3, нерастворимого остатка и п. п. п.

Повышенное содержание оксида кальция (при условии обязательного связывания в химические соединения с кислотными оксидами) обусловливает обычно повышенную скорость твердения портландцемента, его высокую конечную прочность, но несколько пониженную водостойкость. Цементы с повышенным содержанием кремнезема в составе клинкерной части характеризуются пониженной скоростью твердения в начальные сроки при достаточно интенсивном нарастании прочности в длительные сроки. Они отличаются повышенной водо- и сульфато-стойкостью.

При повышенном содержании А12О3, а следовательно, и алюминатов цементы приобретают способность к ускоренному твердению в начальные сроки. Повышение количества глинозема придает цементам меньшую водо-, сульфато- и морозостойкость.

Соединения оксида железа способствуют снижению температуры спекания клинкера. Цементы, богатые Fe2О3, при низком содержании глинозема ведут себя аналогично высококремнеземпстым. Относительно медленно схватываясь и твердея в начальные сроки, они в дальнейшем достигают высокой прочности. Цементы с повышенным количеством оксида железа отличаются высокой стойкостью к действию сульфатных вод.

Повышенное содержание в клинкере МgО вызывает неравномерность изменения объема цемента при твердении.]По ГОСТ 10178-76 (с изм.), МgО в клинкере должно быть не больше 5 %.

Ангидрид серной кислоты SО3 в виде гипса необходим для регулирования сроков схватывания портландцемента, его содержание ограничивается пределами 1,5-3,5 %. Более высокое содержание SО3 может вызвать неравномерное изменение объема цемента вследствие образования гидротрисульфоалюмината кальция.

Двуоксид титана ТiO2 входит в клинкер с глинистым компонентом сырьевой смеси в количестве 0,1-0,5 %, что способствует лучшей кристаллизации клинкерных минералов. При содержании 2-4 % ТiO2, замещая часть кремнезема, способствует повышению прочности цемента, а при большем содержании снижает ее.

Количество Мn2О3 в клинкере обычно не превышает 1-2 % и существенно не влияет на физико-механические свойства цемента.

Фосфорный ангидрид Р2О5 и оксид хрома Сг2О3 в небольшом количестве (0,1-0,3%) оказывают легирующее действие на клинкер, увеличивая интенсивность твердения цемента в первые сроки и повышая его конечную прочность. При большем их количестве (I-2%) скорость твердения цементов замедляется, а прочность снижается.

Щелочи К2O+Na2O обычно присутствуют в клинкерах в количестве до 0,5-1 %, причем содержание К2O, как правило, в несколько раз больше, чем Na2O. Если щелочей более 1 %, то они вызывают непостоянство сроков схватывания цемента и образование выцветов на поверхности растворов или бетонов. Щелочные соединения могут явиться также причиной опасных деформаций в гидротехнических бетонах на заполнителях, содержащих кремнистые сланцы, опаловидные и другие аморфные видоизменения кремнезема. Для изготовления таких бетонов рекомендуется применять цементы, содержащие не более 0,6% щелочей (в пересчете на оксид натрия). В клинкерах заводского изготовления при химическом анализе может обнаружиться так называемый нерастворимый (в HCl) остаток, который состоит обычно из кварцевых частичек, не вступивших в реакцию с СаО во время обжига.

Минеральный состав клинкера.

В клинкере обычного состава главные оксиды образуют силикаты, алюминаты и алюмоферриты кальция в виде минералов кристаллической структуры, часть их входит в стекловидную фазу.

Основными минералами цементного клинкера являются алит ЗСаО*SiO или С3S и белит 2СаО*SiO 2 илиС2S.

Алит - важнейший клинкерный минерал-силикат, определяющий высокую прочность, быстроту твердения и ряд других свойств портландцемента. В клинкере он содержится обычно в количестве 45-60%. Алит рассматривают как твердый раствор трехкальциевого силиката и небольшого количества МgO, А12O3, Р2O5, Сг2О3 и др.

Чистый С3S устойчив в интервале температур от 1200-1250 до 1900-2070 °С. Ниже указанных температур С3S разлагается на С2S и СаО, а выше 2070 °С плавится. Практическое значение имеет нижняя температурная область, так как после обжига клинкер, охлаждаясь, находится некоторое время при 1200-1250 °С, что может вызвать его разложение, и, следовательно, ухудшение качества. При обычных температурах возможность его разложения резко уменьшается вследствие большого переохлаждения.

На прочность и другие свойства портландцемента значительно влияют форма кристаллов алита в клинкере, их размеры, распределение по величине, степень закристаллизованности и др.

Белит - второй основной минерал портландцементного клинкера, отличается медленным твердением, но обеспечивает достижение высокой прочности при длительном твердении портландцемента.

Белит, как и алит, представляет собой твердый раствор β-двухкальциевого силиката (β-2СаО*SiO2) и небольшого количества (1-3%) таких примесей, как А12О3, Fе2О3, Сг2О3 и др. Он содержится в клинкерах обычных портландцементов в количестве 15-30 % и обозначается формулой β-С2S (т. е. без учета примесей).

Установлено существование четырех полиморфных форм двухкальциевого силиката: α-С2S, α '- С2S, β-С2S. γ-С2S.

Переход β-С2S в γ-С2S сопровождается увеличением абсолютного объема примерно на 10%. В результате зерна материала растрескиваются и он рассыпается в порошок. γ-С2S при температурах до 100°С практически не взаимодействует с водой и, следовательно, не обладает вяжущими свойствами. Лишь при тепловлажностной обработке при 150-200°С в автоклавах он проявляет вяжущие свойства. Истинная плотность β-С2S равна 3,28, а γ-С2S - 2,97 г/см3.

Гидравлическая активность белита зависит от строения кристаллов (их величины, плотности, наличия трещин и включений). Цементы, в которых белит представлен округлыми плотными кристаллами с зазубренными краями со средним размером 20-50 мкм, характеризуются повышенной прочностью. Расщепление кристаллов, приводящее к развитию удельной поверхности системы, способствует повышению ее гидравлической активности.

Промежуточное вещество, расположенное между кристаллами алита и белита, включает алюмоферритную и алюминатную фазы, а также второстепенные минералы в кристаллическом виде и стекловидную фазу. Все эти фазы при высоких температурах обжига находятся в расплавленном состоянии. глина известняк производство сырье

Клинкерное стекло обычно присутствует в промежуточном веществе в количестве 5-15 %. Такие значительные пределы колебаний определяются условиями охлаждения клинкера после выхода его из зоны спекания в печи. Стекло состоит преимущественно из СаО, А12O3 и Fе2О3. В нем содержатся обычно МgО и щелочи.

Быстро охлажденное стекло в клинкере значительно интенсивнее реагирует с водой, чем медленно охлажденное, способствуя возрастанию тепловыделения и прочности в начальные сроки твердения цемента.

Помимо этих основных составляющих в клинкере содержатся также и некоторые другие кристаллические образования и, в частности, СаО и МgО в свободном состоянии.

СаОсвоб обнаруживается в свежеобожженном клинкере в виде бесцветных изотропных зерен с показателем светопреломления 1,836. Его должно быть, не больше 0,5-1 %. При более высоком содержании СаОсвоб снижает качество цемента и может вызывать неравномерное изменение его объема при твердении вследствие перехода в Са(ОН)2.

Оксид магния находится в клинкере в виде периклаза, в твердом растворе и алюмоферритной фазе или в трехкальциевом силикате, в клинкерном стекле. Вредное влияние МgО при содержании более 5 % на равномерность изменения объема цемента проявляется в том случае, когда она присутствует, в виде кристаллов периклаза размером более 10 мкм, медленно реагирующих с водой в уже затвердевшем цементе и дающих Мg(ОН)2, характеризующийся увеличенным удельным объемом.

Щелочи Na2O и К2О присутствуют в клинкере в виде сульфатов, а также входят в алюминатную и алюмоферритную фазы.

2. Характеристика исходного сырья

Портландцементный клинкер обычно получают в виде спекшихся мелких и более крупных гранул и кусков размером до 10-20 или до 50-60 мм в зависимости от типа печи.

По микроструктуре клинкер, получаемый спеканием, представляет собой сложную тонкозернистую смесь многих кристаллических фаз и небольшого количества стекловидной фазы.

Химический состав клинкера колеблется в сравнительно широких пределах. Главные оксиды цементного клинкера - оксид кальция СаО, двуоксид кремния SiO2, оксиды алюминия А12О3, железа Fе2О3, суммарное содержание которых 95-97%. Кроме них в состав клинкера в виде различных соединений в небольших количествах могут входить оксид магния МgО, серный ангидрид SО3, двуоксид титана ТiO2, оксиды хрома Сг2О3, марганца Мn2О3, щелочи Nа2О и К2О, фосфорный ангидрид Р2О5 и др. Содержание этих оксидов в клинкере колеблется в следующих пределах, %:

Таблица 1. Содержание оксидов в клинкере

СаО 63-66

SО3 0.3-1

SiO2 21-24

Nа2О+ К2О 0.4-1

А12О3 4-8

ТiO2+ Сг2О3 0.2-0.5

Fе2О3 2-4

Р2О5 0.1-0.3



Для данной работы было взято сырьё Ухтинского района. Комплексное исследование показало, что бельгопская глина является алевритистой с хлорит-каолинитовым составом глинистого вещества, с примесью гидрослюды и гумуса. Сюзъельская глина участка №2 является ленточной, озерно-ледникового происхождения, монтмориллонит-гидрослюдистого состава с примесью гидрохлорита. Первоначально использованные в качестве минеральной добавки бокситы Южно-Тиманского месторождения РК представляют собой тонкодисперсную аргиллитоподобную породу светло-серого цвета. В дальнейшем были использованы латеритные высокожелезистые бокситы Вежаю-Ворыквинского месторождения РК, которые представляют собой прочную, ожелезненную камнеподобную породу темно-вишневого цвета с гнездами хлорита, каолинита и гематита.

Химический состав глинистых и бокситовых пород приведен в табл.2:

Таблица 2. Химический состав месторождений Ухтинского района

Месторождение

Содержание оксидов, мас.%



SiO2

SiO 2 Своб.

А12O3

TiO2

Fе2O3

1

Бельгопское (г.Ухта,РК)

59,1

37,8

18,1

1,5

3,3

2

Сызьельское (г.Ухта,РК)

65,3

30,6

13,8

0,7

4,0

3

Бокситы Южнотиманские (г.Ухта)

16,6

-

57,0

1,6

3,5

4

Бокситы Вежаю-Ворыквинс-кие Среднего Тимана (г.Ухта)

16,7

0,2

41,1

2,0

20,3

Содержание оксидов, мас.%

 

FеО

СаО

МgО

SО3

Nа2О

К2О

ППП

Орг. прим.

Сумма

1

4,7

2,1

1,8

0,7

0,6

2,2

5,8

0,9

99,0

2

1,2

3,2

1,9

0,5

1,4

2,3

6,4

0,7

99,8

0,5

1,0

0,2

3,8

0,1

0,1

15,9

-

100

4

4,4

0,8

2,4

0,2

Сл.

Сл.

12,2

 

99,2


3. Оценка глинистого сырья и минеральных добавок

Для производства портландцементов применяют:

клинкер, изготовленный в соответствии с требованиями технологического регламента. Клинкер нормированного минералогического состава применяют в случаях, когда это предусмотрено нормативными документами на специальные цементы;

добавки минеральные, добавки технологические и регулирующие основные свойства цемента по соответствующим нормативным документам.

Оценка по химическому составу:

Таблица 3. Химический состав исследуемого сырья

Наименование сырья и добавок, мас.%

Содержание оксидов, мас.%


SiO2

А12O3

TiO2

Fе2O3

СаО

МgО

SО3

P2O5

Nа2О

К2О

Глина Бельгопского месторождения

59,1

18,1

1,5

3,3

2,1

1,8

0,7

-

0,6

2,2

Известняк - участок №3 Бельгопского месторождения

3,05

0,67

0,06

0,89

51,7

1,00

0,44

0,02

-

-

Аллит СТБР (Тиман)

17,0

39,5

2,0

21,5

0,4

0,5

-

-

0,4

0,3

16,4

41,1

2,0

20,3

0,8

1,4

-

-

Сл.

Сл.


Из таблиц 1 и 3 видно, что содержание оксидов в исследуемом сырье соответствует нормам. Отсюда можно сделать вывод, что данное сырьё для производства портландцемента использовать можно.

Оценка по пластичности:

Число пластичности Бельгопского сырья - 10,4, Сюзьельского - 12,1. Можно сделать вывод, что по пластичности данное сырье подходит для производства клинкера.

4. Расчет состава шихты из глин, известняка и красного шлама

Качество цементного клинкера может быть охарактеризовано: содержанием отдельных оксидов (химическим составом); численными значениями модулей, выражающих соотношения между количествами главнейших оксидов в процентах; микроструктурой клинкера, размерами и конфигурацией кристаллов минералов; содержанием основных клинкерных минералов.

Характеристика клинкера по численным значениям модулей дается на основании сведений о процентном содержании главных оксидов в составе клинкера. Значения модулей оказываются численно одинаковыми как для клинкера, так и для сырьевой смеси.

Первоначально для характеристики состава клинкера пользовались одним гидравлическим модулем (иначе называемым основным). Он выражает отношение количества связанного оксида кальция (%) к количеству кислотных оксидов ( % ) :

1.       ОМ = (СаОобщ - СаОсвоб)/((SiO2общ - SiO 2своб) +Al2O3+Fe2O3).

Значение основного модуля ОМ, обозначаемого также буквой m, у современных цементных клинкеров колеблется в пределах 1,7 - 2,4.

Силикатный или кремнеземистый модуль СМ (или n) показывает отношение между количеством кремнезема (%), вступившего в реакцию с другими оксидами, и суммарным содержанием в клинкере глинозема и оксида железа (%):

2.       СМ = (SiO 2 общ - SiO 2 своб)/(А12О3 + Fе2O3).

Численное значение СМ для обычного портландцемента равно 1,7- 3,5.

Глиноземный или алюминатный модуль ГМ (или р) представляет собой отношение содержания (%) глинозема к содержанию (%) оксида железа:

3.       ГМ = А12O3/Fе2O3.

Значение этого модуля для обычных портландцементов находится в пределах 1 - 2,5.

По рассмотренным выше модулям нельзя судить о тех соединениях, которые образуются в клинкере из оксидов и определяют свойства цементов. Поэтому Г. Кюль выдвинул понятие об «идеальном» клинкере, характеризующемся высокой прочностью и состоящем только из высокоосновных соединений. Отношения по массе между главными оксидами в таком случае должны определяться по формуле:

4.       CaO = СН (2,8 SiO2+1,65А12О3 + 0,7Fе2О3).

В этой формуле Г. Кюль ввел коэффициент СН, называемый «степенью насыщения» оксидом кальция кислотных оксидов. При «идеальном» клинкере этот коэффициент равен единице, но так как получить такой клинкер в производственных условиях трудно.

Позднее советские исследователи В. А. Кинд и В. Н. Юнг, принимая, что при обжиге клинкера в первую очередь образуются С2S, С3А, С4АF и СаSО4 и лишь в последующем избыток оксида кальция начинает связываться с C2S, давая С3S, предложили свою формулу для оценки соотношения между главными оксидами цементного клинкера:

5.       КН = (СаОобщ - СаОсвоб - 1 ,65А12О3 - 0,35Fе2О3 - 0 ,7SО3)/2,8(SiO2общ - SiO2своб).

Эта формула учитывает, что в клинкере может оказаться в несвязанном состоянии СаО, а также кремнезем. КН - коэффициент насыщения, показывает отношение количества оксида кальция в клинкере, фактически связанного с кремнеземом, к количеству его, теоретически необходимому для полного связывания двуоксида кремния в трехкальциевый силикат.

У клинкеров заводского изготовления КН колеблется в пределах 0,75-0,95.

Сейчас качество клинкеров принято характеризовать коэффициентом насыщения КН, силикатным СМ и глиноземным ГМ модулями.

Табл. 4. Химический состав исследуемых смесей

Наименование сырья и добавок, мас.%

Содержание оксидов, мас.


SiO2

Al2O3

Fe2O3

CaO

Бельгопская глина: известняк участка №3: аллит Тимана 20:75:5

14,96

6,10

2,41

43,00

Бельгопская глина: известняк участка №3: бокситовый шлам 20:75:5

14,93

6,18

2,48

43,02


Расчёт состава шихты по смесям:

1) Основной модуль:

ОМ1 = 43/(14,96 + 6,1 + 2,41) = 1,83;

ОМ2 = 43,02/(14,93 + 6,18 + 2,48) = 1,82;

2) Силикатный модуль:

СМ1 = 14,96/(6,1 + 2,41) = 1,78;

СМ2 = 14,93/(6,18 +2,48) = 1,72;

3) Глиноземный модуль:

ГМ1 = 6,1/2,41 = 2,50;

ГМ2 = 6,18/2,48 = 2,49;

4) Степень насыщения:

СН1 = (2,8*14,96 + 1,65*6,1 + 0,7*2,41)/43 = 1,10;

СН2 = (2,8*14,93 + 1,65*6,18 + 0,7*2,48)/43,02 = 1,12;

Коэффициент насыщения:

КН1 = (43 - 1,65*6,1 - 0,35*2,41 - 0,7*0,47)/2,8*14,96 = 0,76;

КН2 = (43,02 - 1,65*6,18 - 0,35*2,48 - 0,7*0,47)/2,8*14,93 = 0,76.

5. Методы испытаний

Методы испытаний цемента проводятся в соответствии с государственными стандартами.

ГОСТ 310.1-76 Цементы. Методы испытаний. Общие положения.

Настоящий стандарт распространяется на все виды цемента и устанавливает общие положения при испытании цементов для определения показателей:

нормальной густоты и сроков схватывания цементного теста;

равномерности изменения объема цемента;

предела прочности при изгибе и сжатии образцов-балочек, изготовленных из цементного раствора.

ГОСТ 310.2-76 Цементы. Методы определения тонкости помола.

Настоящий стандарт распространяется на все виды цемента и устанавливает методы испытаний для определения тонкости помола.

Стандарт соответствует требованиям СТ СЭВ 3920 - 82 в части определения тонкости помола.

В данном ГОСТе описывается определение тонкости помола цемента по остатку на сите и по удельной поверхности.

ГОСТ 310.3-76 Цементы. Методы определения нормальной густоты, сроков схватывания и равномерности изменения объема.

Настоящий стандарт распространяется на все виды цемента и устанавливает методы испытаний для определения нормальной густоты, сроков схватывания цементного теста, а также равномерности изменения объема цемента.

Стандарт соответствует требованиям СТ СЭВ 3920-82 в части определения нормальной густоты, сроков схватывания и равномерности изменения объема.

ГОСТ 310.4-81 Цементы. Методы определения предела прочности при изгибе и сжатии.

Настоящий стандарт распространяется на все виды цементов и устанавливает методы испытаний их для определения предела прочности при изгибе и сжатии.

Стандарт соответствует требованиям СТ СЭВ 3920-82 в части определения пределов прочности при изгибе и сжатии с использованием однофракционного песка.

ГОСТ 310.5-80 Цементы. Методы определения теплоты гидратации.

Настоящий стандарт распространяется на цементы и устанавливает метод определения теплоты гидратации твердеющего цемента путем непосредственного измерения температуры цементного раствора.

ГОСТ 5382-73 Цементы. Методы химического анализа.

Настоящий стандарт распространяется на цементы, приготовленные на основе портландцементного клинкера, и устанавливает методы химического анализа.

Химический анализ глиноземистых и гипсоглиноземистых цементов производится по ГОСТ 9552-76.

Методы химического анализа цементов, изложенные в настоящем стандарте, могут применяться также для анализа шлама, клинкера и шлака. Анализ клинкера и основного шлака производят по методам, изложенным для портландцемента, шлама и кислого шлака - по методам, изложенным для пуццоланового портландцемента.

В данном ГОСТе описываются как обычные (всего 15 определений), так и фотоколориметрические методы химического анализа (всего 11 определений).

Несоблюдение стандартов преследуется по закону.

6. Номенклатура изделий

В силу требований ГОСТ 23464-79 «Цемент. Классификация» по пункту 4.4:

. Классификация элементов по виду клинкера и вещественному составу

.1. Цементы на основе портландцементного клинкера.

.1.1. Портландцемент (без минеральных добавок).

.1.2 Портландцемент с добавками (с активными минеральными добавками не более 20%).

.1.3. Шлакопортландцемент (с добавками гранулированного шлака более 20%).

.1.4. Пуццолановый портландцемент (с активными минеральными добавками свыше 20%).

.2. Цементы на основе глиноземистого цементного клинкера.

1.2.1. Глиноземистый цемент с содержанием А120з более 30 и менее 60 %.

.2.2. Высокоглиноземистый цемент с содержанием А12О3 60 % и более.

.2.3. Гипсоглиноземистый цемент.

. Классификация цементов по прочности при твердении

.1. В зависимости от прочности цементы подразделяют на марки:

500 и более - высокопрочные;

300 и 400 - рядовые;

менее 300 - низкомарочные.

. Классификация цементов на основе портландцементного клинкера по скорости твердения

.1. Нормально- и медленнотвердеющие - с нормированием прочности, приобретенной за 28 сут.

.2. Быстротвердеющие - с нормированием 3-суточной прочности, равной не менее 55 % 28-суточной прочности.

.3. Особобыстротвердеющие с нормированием прочности в возрасте 1 сут и менее.

. Классификация цементов по срокам схватывания

.1. Медленносхватывающиеся - с нормируемым сроком начала схватывания более 2 ч.

.2. Нормальносхватывающиеся - с нормируемым сроком начала схватывания от 45 мин до 2 ч.

.3. Быстросхватывающиеся - с нормируемым сроком начала схватывания менее 45 мин.

. Классификация цементов по нормированию специальных свойств

.1. Цементы, к которым не предъявляют специальных требований.

.2. Цементы, к которым предъявляют специальные требования

.2.1. По сульфатостойкости (с применением клинкера нормированного состава) - согласно ГОСТ 22266.

.2.2. По объемной деформации при твердении (с нормированным значением расширения или усадки цемента):

безусадочные, с величиной расширения в 3-суточном возрасте не более 0,1 % при испытании по ГОСТ 11052;

расширяющиеся, с величиной расширения в 3-суточном возрасте более 0,1 % при испытании по ГОСТ 11052;

напрягающие, для которых нормируется энергия самонапряжения.

.2.3. По тепловыделению (с нормированным значением тепловыделения цемента):

низкотермичные, с величиной тепловыделения в 3-суточном возрасте не более 230 Дж/г (~ 55 кал/г), в 7-суточном возрасте не более 270 Дж/г (~ 65 кал/г) при испытании термосным методом;

умереннотермичные, с величиной тепловыделения в 7-суточном возрасте не более 315 Дж/г (~ 75 кал/г) при испытании термосным методом.

.2.4. По декоративным свойствам (с нормированной белизной или эталоном цвета):

цветные, для которых установлен эталон цвета;

белые, со степенью белизны не менее 68 % абсолютной шкалы.

Табл.5. Марки цемента

Классификационные признаки цементов

Основное назначение

Допускается применение

Не рекомендуется

Прочность при твердении

Марки

Высокопрочные марок 550, 600 и более

Для бетонов марок М500 и более

Для бетонов марок М400 и М450



Повышенной прочности марки 500

Для бетонов марок М400 и М450, а также марок М300 и М350 при повышенной отпускной прочности

Для бетонов марок М200, М350 и М500

Для бетонов марок менее М200 и строительных растворов



Рядовые марок: 400

Для бетонов марок М200-М350 и М150 при повышенной отпускной прочности

Для бетонов марок менее М200 и строительных растворов

Для бетонов марок М400 и более



300

Для бетонов марок не более М150 и строительных растворов

Для бетонов марок не более М250

Для бетонов марок более М250



Низкомарочные ниже марки 300

Для строительных растворов и бетонов марок М100 и менее

Для бетонов марок М150

Для бетонов марок более М150

7. Описание технологической схемы

В настоящее время в России преобладает мокрый способ, удельный вес которого составляет около 90%. При этом способе на энергозатраты падает главная часть расходов в структуре себестоимости цемента, их уровень достигает 75% и выше. Особенно велики затраты по топливу - до 230 кг условного топлива на обжиг тонны клинкера.

Переход на сухой способ снижает затраты топлива до 110-120 кг усл.т. и себестоимость цемента на 15-20%. уменьшает капитальные затраты на 30-40%.

При сухом способе затраты теплоты на обжиг клинкера достигают 3150-4190 кДж/кг, что значительно меньше затрат при производстве по мокрому способу (5900-6700 кДж/кг).

При сухом способе изготовления клинкера исходные материалы (известняк, глина и др.) после дробления подвергаются высушиванию и совместному помолу в шаровых и иных мельницах до остатка 6-10 % на сите № 008.

Обжигают сырьевую муку в коротких вращающихся печах с предварительной тепловой обработкой ее в циклонных теплообменниках, в которых отходящими из печей газами материал нагревается до 800-850 °С с частичной декарбонизацией его (на 30-40 %) или в циклонных теплообменниках и далее в специальных реакторах, в которых температура муки повышается до 920-950 °С, а декарбонизация материала перед его поступлением в печь достигает 85-90%. Такой эффект получается за счет сжигания в реакторах дополнительного небольшого количества топлива. Тепловую обработку сырьевой муки производят также в конвейерных кальцинаторах за счет теплоты отходящих из печей газов (печи «Леполь»). Кроме того, сырьевую муку в виде гранул можно обжигать в автоматических шахтных печах и на конвейерной решетке. В зависимости от способа обжига сырьевой муки схемы производства несколько различаются.

Подготовка сырья и его обжиг во вращающихся печах с теплообменниками, декарбонизаторами и кальцинаторами.

Клинкер по сухому способу во вращающихся печах с циклонными теплообменниками, а в новейших системах в сочетании с реакторами (декарбонизаторами) получают по технологической схеме (при использовании известняка и глины), изображенной в приложении №1.

Добытый известняк вначале подвергают двухстадийному, а иногда одностадийному дроблению до кусков размером 1-3 см. Полученную щебенку направляют на усреднительный склад, где с помощью комплекса машин осуществляется первичная гомогенизация сырья. Добытую глину вначале также подвергают дроблению при одновременной сушке с последующей подачей полученного материала на усреднительный склад для гомогенизации. С этих складов известняк и глину направляют через автоматические дозаторы в требуемом соотношении по массе в шаровые мельницы, где осуществляются сушка и тонкий помол сырья. Для сушки в мельницы направляют дымовые газы, образующиеся во вращающихся печах при сжигании топлива. Шаровые мельницы часто работают в замкнутом цикле с сепараторами (проходными или центробежными). Из мельниц мука в виде пылегазовой смеси направляется в осадительные циклоны, а затем в горизонтальные электрофильтры, в которых выделяется твердая фаза.

Сырьевая мука, получаемая в результате помола в мельницах, направляется на гомогенизацию и корректирование в специальные железобетонные силосы вместимостью до 500-2000 м3 (в зависимости от масштабов производства и однородности сырья). Чем неоднороднее сырье, тем меньше обычно вместимость отдельных силосов. Муку в них перемешивают сжатым воздухом, вводимым через керамические пористые плитки, укладываемые на днище силосов.

После гомогенизации проверяют состав сырьевой муки по содержанию оксида кальция (титр муки). Если оно соответствует требуемому, то смесь направляют на обжиг. Если же выявляется отклонение, то муку из двух силосов направляют в третий в таком соотношении, чтобы получить смесь требуемого состава. После заполнения общего силоса материалы в нем тщательно перемешивают до полной однородности.

Для перемешивания применяют обычно воздух, очищенный от масла и паров воды, под давлением до 0,15- 0,2 МПа. Через 1 м2 пористых плиток подается в 1 мин около 2 м3 воздуха. Затраты электроэнергии на гомогенизацию составляют 0,4 - 0,6 кВт-ч на 1 т муки; общий расход энергии на всю установку (подача материала в силосы, его выгрузка и перемешивание) 2,2-2,5 кВт*ч/т. В месте выхода готовой муки, из силосов устанавливают пробоотборники, автоматически отбирающие пробы массой 10 - 15 г/т материала. Силосы снабжают также устройствами для обеспыливания отработанного воздуха и удаления воздуха из готовой муки.

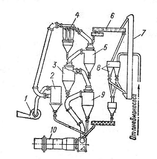
В тех случаях, когда муку обжигают во вращающихся печах, снабженных циклонными теплообменниками, сухую смесь из силосов с помощью пневмонасосов того или иного типа направляют в приемный бункер 8 печной установки (Рисунок). Отсюда элеватором 7 материал подают на ленточный конвейер-дозатор 6, передающий его в газоход батарейного циклона 4. Здесь он подхватывается отходящими газами из циклона 5 и поступает в циклон 4. Далее таким же образом он проходит газоходы и циклоны 5, 3, 9 и поступает в печь 10. Во время перемещения по газоходам и циклонам сырьевая мука постепенно нагревается и поступает в циклон 9 с температурой 800-850°С частично (на 30-40%) декарбонизированной. Нагревается мука в газовом потоке циклонных теплообменников очень интенсивно. Циклоны 3 и 9 изнутри футеруют огнеупорами. Газы через систему циклонов движутся под действием дымососа 1. Отработанные газы с температурой 200-300°С очищаются от пыли в циклоне 2 и в электрофильтрах или же сначала используются для сушки муки.

Рисунок. Система циклонных теплообменников

Вращающиеся печи с циклонными теплообменниками имеют размеры 5X75 и 7X95 м, их суточная производительность 1600 и 3000 т. Расход топлива 3250- 3500 кДж на 1 кг клинкера. Мощные печи оснащают двумя ветвями четырехступенчатых теплообменников.

В материале, обжигаемом в рассматриваемых печах, идут те же процессы, что и при обжиге смеси в виде шлама. Полученный клинкер после охлаждения в холодильниках того или иного типа направляют на склад, а затем перерабатывают в цемент.

Обжиг в шахтных печах. Шахтные печи рассчитаны на производительность 150-250 т клинкера в сутки. Они работают на короткопламенных видах топлива (антрацит, кокс). Эти печи характеризуются пониженным расходом теплоты -3750-4600 кДж на 1 кг клинкера. Вместе с тем по качеству получаемого клинкера эти печи уступают вращающимся.

Готовый клинкер разгружается с помощью решетки, которая может вращаться с разной скоростью в зависимости от протекания процесса обжига. Чтобы предотвратить выбивание воздуха из печи, при выгрузке продукта устанавливают двух- или трехшлюзовый затвор. Верхнюю часть печи футеруют огнеупором, а внизу устанавливают чугунные кольца, лучше выдерживающие абразивное действие клинкера.

При обжиге материала в шахтных печах сырьевые гранулы вначале подвергаются сушке отходящими дымовыми газами. Затем по мере перемещения их вниз в зону более высоких температур и нагревания до 400- 500°С в них проходит дегидратация глинистых минералов. В это время начинается горение топлива (антрацита, кокса с содержанием летучих не более 3-5 %), находящегося в гранулах. Это резко повышает температуру материала, что сопровождается декарбонизацией известняка и выделением СО2.

Образовавшийся клинкер в нижней части печи интенсивно охлаждается. Затем его выгружают и направляют, как обычно, на склад и помол.

Конвейерная решетка. Среди прочих обжиговых устройств, пригодных для получения клинкера, наилучшие показатели, по мнению авторов работы [!!] имеет конвейерная решетка. Она представляет собой ленточный конвейер, полотно которого набрано из жаростойких колосников и имеет борта высотой до полуметра. На движущееся полотно укладывается слой гранулированной топливосодержащей шихты, которая поджигается специальными горелками. За счет прососа воздуха сквозь шихтовый слой зона горения топлива постепенно смещается к колосникам. Скорость движения полотна регулируется таким образом, чтобы зона горения достигала колосников несколько раньше, чем полностью обожженный участок шихты сойдет с конвейера. В сравнении с вращающейся печью конвейерная решетка имеет ряд важных преимуществ:

- технологическая универсальность: решетка пригодна для обжига любого сырья, включая шихты, образующие вязкие или легкоплавкие расплавы. Их обжиг во вращающихся печах принципиально невозможен ввиду «настылеобразования» - замазывания внутреннего пространства печи. По указанной причине глиноземистый цемент, например, получают либо доменной плавкой, либо плавлением в электропечах, либо другими способами;

- конструкционная компактность, позволяющая совместить процессы тепловой подготовки шихты, ее обжига и охлаждения продукции в едином агрегате. Обжиг во вращающейся печи предполагает комплекс из отдельных устройств по подогреву, обжигу и охлаждению клинкера;

- высокая удельная производительность, обусловленная повышенной интенсивностью теплообменных процессов в шихтовом слое. Для сравнения: при обжиге клинкера колосниковая решетка имеет примерно такие же размеры, что и устройство для охлаждения клинкера (колосниковый холодильник), комплектующее вращающуюся печь равной с конвейерной решеткой производительности, т. е. высокая интенсивность тепловых процессов на конвейерной решетке предопределяет невысокую стоимость обжигового устройства и низкие затраты на процесс обжига;

- минимальная тепловая инерция, связанная со спецификой теплообмена и сжигания топлива, конструкционными особенностями и малой массой устройства. На практике это означает, что конвейерная решетка допускает наряду с непрерывным, трехсменным, режимом работы прерывистый, например односменный, режим эксплуатации, т, е. дешевый цементный клинкер на данном устройстве можно получать независимо от объемов партии выпускаемой продукции.

Кроме вышеперечисленных преимуществ конвейерная решетка имеет другие достоинства. Она не нуждается в огнеупорах, имеет пониженный пылевынос, а ее конструкция позволяет без больших затрат «подгонять» длину устройства под нужную производительность. В случае необходимости конвейерная решетка, предназначенная для получения клинкера, может использоваться для обжига извести или получения аглопорита, заполнителя в легких бетонах.

Следует указать, что качество клинкера, полученного на конвейерных решетках, несколько ниже, чем у продукта, обожженного на аналогичном сырье во вращающейся печи. Указанное обстоятельство объективно вытекает из различия в режимах обжига для сравниваемых агрегатов. Непосредственно обжиг во вращающейся печи составляет 20-30 мин, а температура процесса относительно умеренная -1450... 1500 °С. На конвейерной решетке обжиг отдельной шихтовой гранулы продолжается 1-2 мин.

Столь значительную разницу в продолжительности процесса удается в определенной степени компенсировать за счет увеличения температуры обжига на решетке до 1700-1900°С. Однако в этом случае процессы массопереноса, сопровождающие формирование клинкерных фаз, не достигают полного завершения, что неизбежно ухудшает качество вяжущего, полученного ускоренным обжигом. При использовании такого клинкера в закладочных смесях потребуется некоторое (примерно на 5-10 %) увеличение норм расхода вяжущего, но оно с избытком компенсируется за счет общего снижения стоимости вяжущего, полученного на местном сырье при низких, в сравнении с традиционной технологией, капитальных и эксплуатационных затратах.

Технология обжига клинкера на конвейерной решетке предусматривает:

- измельчение и помол сырьевых компонентов, мелкое дробление шихтового топлива (кокса, антрацита, тощего каменного угля);

- смешение сырьевых компонентов, твердого топлива и их увлажнение;

- грануляция смеси и укладка гранул на движущееся полотно решетки;

- зажигание твердого топлива, содержащегося в поверхностном слое шихты специальными горелками, расположенными над слоем;

- последовательный обжиг сверху вниз, в направлении просасывания воздуха, отдельных горизонтов шихтового слоя.

Заключение

В данной работе описаны теоретические основы производства, дана характеристика и проведена оценка исходного сырья, сделаны расчеты по составу шихты, описаны методы испытаний и номенклатура (в соответствии с ГОСТами) и приведено описание технологической схемы.

По данному курсовому проекту можно сделать следующие выводы:

1.      Сырьё Ухтинского района можно использовать для производства портландцемента, так как содержание оксидов и пластичность сырья соответствует нормам;

2.      Из расчета состава шихты видно, что все модули, выражающие соотношения между количествами главнейших оксидов в процентах, соответствуют современным требованиям;

.        Для цементов существуют несколько видов испытаний и все они проводятся в соответствии с ГОСТами;

.        Все цементы классифицируются также в соответствии с ГОСТами;

.        Существуют следующие марки цементов: <300, 300, 400, 500, 550, 600;

.        В настоящее время в России преобладает мокрый способ производства цемента, но переход на сухой способ может сократить капитальные затраты, а значит и уменьшить себестоимость цемента.

Библиографический список

1. «Волгоцеммаш» и сухой способ производства цемента в России// Цемент и его применение. - стр. 6-9. - № 3,2003.

2.      Волженский А.В. Минеральные вяжущие вещества/ А.В.Волженский - 4-е изд., перераб. и доп. - М.: Стройиздат, 1986. - 464 с.

.        ГОСТ Бетон и бетонные изделия. Методы испытаний материалов. Часть 2. - М.: Издательство стандартов, 1985. - 288 с.

.        Юнг В.Н. Технология вяжущих веществ/ В.Н.Юнг, Ю.М.Бутт, В.Ф.Журавлёв, С.Д.Окороков. - М.:Стройиздат, 1952. - 600 с.

Похожие работы на - Цех по производству портландцемента по сухому способу из сырья Ухтинского района мощностью 1,0 млн.т/год

 

Не нашли материал для своей работы?
Поможем написать уникальную работу
Без плагиата!
Без нейросетей!