Преступность и методика ее изучения

  • Вид работы:
    Реферат
  • Предмет:
    Антикризисный менеджмент
  • Язык:
    Русский
    ,
    Формат файла:
    MS Word
    29,54 kb
  • Опубликовано:
    2008-11-06
Вы можете узнать стоимость помощи в написании студенческой работы.
Помощь в написании работы, которую точно примут!

Преступность и методика ее изучения

Добыча нефти с помощью насосов

По статистике только чуть более 13% всех скважин в России эксплуатируются фонтанным и газлифтным способами (Хотя эти скважины дают более 30% всей российской нефти). В целом статистика по способам эксплуатации выглядит так:

Способ эксплуатации

Число скважин, %

Средний дебит, т/сут

Добыча, % от общей

нефти

жидкости

нефти

жидкости

Фонтанный

8,8

31,1

51,9

19,5

9,3

Газлифтный

4,3

35,4

154,7

14,6

УЭЦН

27,4

28,5

118,4

52,8

63,0

ШСН

59,4

3,9

11,0

16,1

13,1

Прочие

0,1

-

-

-

-

ШСН – Штанговые скважинные насосы;

Эксплуатация скважин штанговыми насосами

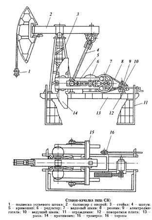
Вообще, у обывателя при разговоре о нефтяном деле всегда появляется образ двух станков: первый из них – это буровой станок, второй – станок-качалка. Изображения этих двух устройств встречаются всюду в нефтегазовой отрасли: на эмблемах, плакатах, гербах нефтяных городов и пр. Поэтому, я думаю, что внешний вид станка-качалки известен всем. Все же, на всякий случай, вот как выглядит станок-качалка.

Рисунок 15.1.

Если кто не видел такое устройство в жизни, то в кино уж точно встречал.

Станок-качалка и есть один из элементов эксплуатации скважин штанговым насосом. По сути, станок-качалка является приводом штангового насоса, расположенного на дне скважины. Этот насос по принципу действия очень похож на ручной насос велосипеда, который возвратно-поступательные движение преобразует в поток воздуха. Нефтяной насос возвратно-поступательные движения от станка-качалки преобразует в поток жидкости, которая по насосно-компрессорным трубам (НКТ) поступает на поверхность.

Если уж по порядку описать происходящие процессы при данном виде эксплуатации, то получится следующее:

На электродвигатель станка-качалки подается электричество. Двигатель вращает механизмы станка-качалки так, что балансир станка начинает двигаться как качели и подвеска устьевого штока получает возвратно-поступательные движения. Далее энергия передается через штанги – длинные стальные стержни, скрученные между собой специальными муфтами. В свою очередь от штанг энергия передается штанговому насосу, который захватывает нефть и подает ее наверх.

Эксплуатация скважин штанговыми насосами характерна тем, что к добываемой нефти не предъявляются строгие требования, которые имеют место при других способах эксплуатации, такие как наличие мех.примесей, высокий газовый фактор и пр. Так же данный способ эксплуатации отличается достаточно высоким КПД.

В России изготавливаются станки-качалки 13 типоразмеров по ГОСТ 5688-76. Штанговые насосы производят ОАО «Элкамнефтемаш» г.Пермь и ОАО «Ижнефтемаш» г.Ижевск.

Эксплуатация скважин бесштанговыми насосами.

Для отбора из скважин больших количеств жидкости используют лопастный насос с рабочими колесами центробежного типа, обеспечивающий большой напор при заданных подачах жидкости и габаритах насоса. Наряду с этим, в нефтяных скважинах некоторых районов с вязкой нефтью необходима большая мощность привода относительно подачи. В общем случае эти установки носят название электропогружные электронасосы. В первом случае — это установки центробежных электронасосов (УЗЦН), во втором — установки погружных винтовых электронасосов (УЗВНТ).

Скважинные центробежные и винтовые насосы приводятся в действие погружными электродвигателями. Электроэнергия подводится к двигателю по специальному кабелю. Установки ЭЦН и ЭВН довольно просты в обслуживании, так как на поверхности имеются станция управления и трансформатор, не требующие постоянного ухода.

При больших подачах УЭЦН имеют достаточный КПД , позволяющий конкурировать этим установкам со штанговыми установками и газлифтом.

При этом способе эксплуатации борьба с отложениями парафина проводится достаточно эффективно с помощью автоматизированных проволочных скребков, а также путем нанесения покрытия внутри поверхности НКТ.

Межремонтный период работы УЭЦН в скважинах достаточно высок и составляет до 600 сут.

Скважинный насос имеет 80—400 ступеней. Жидкость поступает через сетку в нижней части насоса. Погружной электродвигатель маслозаполненный, герметизированный. Во избежание попадания в него пластовой жидкости устанавливается узел гидрозащиты. Электроэнергия с поверхности подается по круглому кабелю, а около насоса — по плоскому. При частоте тока 50 Гц частота вращения вала двигателя синхронная и составляет 3000 мин(-1).

Трансформатор (автотрансформатор) используют для повышения напряжения тока от 380 (напряжение промысловой сети) до 400— 2000 В.

Станция управления имеет приборы, показывающие силу тока и напряжение, что позволяет отключать установку вручную или автоматически.

Колонна НКТ оборудуется обратным и сливным клапанами. Обратный клапан удерживает жидкость в НКТ при остановках насоса, что облегчает запуск установки, а сливной освобождает НКТ от жидкости перед подъемом агрегата при установленном обратном клапане.

Список литературы

Для подготовки данной работы были использованы материалы с сайта http://ngfr.ru/


Не нашли материал для своей работы?
Поможем написать уникальную работу
Без плагиата!
Без нейросетей!