Улучшение условий эксплуатации, повышения надежности и долговечности оборудования

  • Вид работы:
    Курсовая работа (т)
  • Предмет:
    Геология
  • Язык:
    Русский
    ,
    Формат файла:
    MS Word
    798,79 Кб
  • Опубликовано:
    2013-01-12
Вы можете узнать стоимость помощи в написании студенческой работы.
Помощь в написании работы, которую точно примут!

Улучшение условий эксплуатации, повышения надежности и долговечности оборудования

Оглавление

Введение

1. Анализ параметров и функций выполняемых циркуляционной системы

2. Расчетная часть

.1 Выбор буровой установки и основного оборудования

.2 Расчет расхода бурового раствора

.3 Определение пропускной способности гидроциклонов и их геометрические размеры

. Ремонт и эксплуатация циркуляционной системы

.1 Ремонт блока приготовления бурового раствора

3.2 Ремонт ситогидроциклонных установок

Заключение

Список использованных источников

Введение

Циркуляционные системы предназначены для очистки бурового раствора от частиц выбуренной породы, сброса их в амбар, приготовления, химической обработки, хранения, транспортирования раствора от устья скважины до приема буровых растворов в блоке очистки при бурении нефтяных и газовых скважин.

В современной технологии бурения скважин предъявляют особые требования к буровым растворам, согласно которым оборудование по очистке раствора должно обеспечивать качественную чистку раствора от твёрдой фазы, смешивать и охлаждать его, а также удалять из раствора газ, поступивший в него из газонасыщенных пластов во время бурения. В связи с этими требованиями современные буровые установки комплектуются циркуляционными системами с определённым набором унифицированных механизмов - емкостей, устройств по очистке и приготовления буровых растворов.

Целью курсового проекта является улучшение условий эксплуатации, повышения надежности и долговечности оборудования.

1. Анализ параметров и функций выполняемых циркуляционной системы

Циркуляционная система включает в себя наземные устройства и сооружения, обеспечивающие промывку скважин путем многократной принудительной циркуляции бурового раствора по замкнутому кругу: насос -забой скважины - насос. Замкнутая система дает сокращение расхода химических материалов, входящих в состав промывочной жидкости.

Циркуляционная система состоит из взаимосвязанных устройств и сооружений, предназначенных для:

очистки бурового раствора от частиц выбуренной породы;

сброса их в амбар (при амбарном бурении) или в контейнер с последующим вывозом на автотранспорте (при безамбарном бурении);

химической обработки, хранения, транспортирования раствора от устья скважины до приема буровых растворов в блоке очистки при бурении нефтяных и газовых скважин в условиях умеренного и холодного макроклиматических районов по ГОСТ16350-80.

К основным функциям циркуляционной системы можно отнести:

транспортирование раствора от устья скважины до очистного оборудования;

очистка бурового раствора от частиц выбуренной породы и сброса их в амбар (или в автомобиль при безамбарном бурении);

дегазация бурового раствора;

регулирование содержания твердой фазы в буровом растворе с помощью центрифуги;

химическая обработка и хранение раствора;

подвод раствора к буровым насосам;

подача раствора в доливную емкость;

приготовление бурового раствора.

Циркуляционная система монтируется на отдельных блоках. Это обеспечивает компактность, упрощает монтаж и техническое обслуживание. В состав данной системы входят:

. Блок приготовления растворов:

.1 силосы (2 штуки) - для хранения порошкообразных материалов;

.2гидроэжекторный смеситель (1 штука) - для приготовления бурового раствора;

.3диспергатор (1 штука) - для измельчения твердой фазы;

.4перемешиватели - для перемешивания бурового раствора;

.5 фрезерно-струйная мельница - для измельчения и приготовления бурового раствора.

. Блок очистки

.1 вибро-сито (0,16 мм);

.2 гидроциклонный пескоотделитель (0,08) (диаметр 150-300 мм);

.3 гидроциклонныйилоотделитель (0,04);

.4 цинтрифуга (<0.03 мм);

.5 насосы (центро-бежные);

.6 винтовой насос для подачи раствора в цинтрифугу;

.7 дегазатор (после вибросита);

.8 газосепаратор (до вибросита);

.9 специальное вибросито с мелкой ячеистой сеткой, для отделения частиц утяжелителей глины;

.10эжекторные гидроциклонные устройства для удаления избытка глины при утяжелении раствора;

.11 шнек;

.12 металлический поддон.

. Другое оборудование:

.1 блок обработки раствора;

.2 блок подпорных насосов (для буровых насосов);

.3 резервуарный блок;

.4 мерный отсек;

.5 центробежный насос для долива скважин.

. Приборы контроля:

.1 манометры: буровые насосы, подпорные насосы, камера эжекторногогидросмесителя, на входе в гидроциклон;

.2 уровнемеры на каждой емкости;

.3 расходомеры; приборы на панели для контроля плотности;

.4 гидравлический измеритель массы порошкообразных материалов;

.5 тахометр для измерения частоты вращения центрифуги.

Общая схема циркуляционной системы приведена на рисунке 1.

- устье скважины; 2 - желоб; 3 - вибросито; 4 - гидроциклон; 5 - блок приготовления бурового раствора; 6 - ёмкость; 7 - шламовыйнасос; 8 - приёмная ёмкость; 9 - буровой насос; 10 - нагнетательный трубопровод.

Рисунок 1 - Циркуляционная система бурового раствора

1.1 Устройства для приготовления и утяжеления бурового раствора

Основным требованием к циркуляционной системе является качественное приготовление, контроль и поддержание состава и физико-химических свойств бурового раствора.

Устройства для приготовления и утяжеления делятся по принципу действия на механические и гидравлические. В последние годы, в связи с частым применением порошкообразных материалов, широкое распространение получили гидравлические. Они обладают повышенной производительностью.


- трубопровод; 2 - воронка; 3 - поворотная заслонка; 4 - камера смещения тройника; 5 - переходник; 6 - нагнетательный трубопровод; 7 - насадка.

Рисунок 2 - Гидроэжекторный смеситель

Буровые насосы под давлением Р = 4МПа нагнетает жидкость через эжектор за счет разрешения из трубопровода засасывается порошковая смесь, перемешивается с жидкостью и сливается в приемную емкость циркуляционной системы.

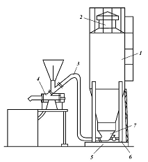
Наиболее широко применяются блоки приготовления БПР-70 (Хадыженский машзавод), с пропускной способностью 100 м3/ч.Который представляет собой (рисунок 3) два цельнометалических бункера 1, которые оборудованы разгрузочными пневматическими устройствами 7, резинотканевыми гофрированными рукавами 3 и воздушными фильтрами 2. В комплект БПР входит выносной гидроэжекторный смеситель 4, который монтируется непосредственно на емкости циркуляционной системы и соединяется с бункером гофрированным рукавом.

Бункера предназначены для приема, хранения и подачи порошкообразных материалов в камеру гидроэжекторного смесителя. Они представляют собой цилиндрические резервуары с коническими днищами и крышей, которые установлены на четырех приваренных к раме 5 стойках 6. Порошкообразный материал подается в них из автоцементовозов по трубе, закрепленной на внешней поверхности цилиндрической части бункера.

К коническому днищу прикреплено разгрузочное устройство, включающее аэратор, поворотную шиберную заслонку и воздушный эжектор. На крыше бункера установлен воздушный фильтр.

- цилиндрические емкости; 2 - воздушный фильтр; 3 - резинотканевые гофрированные рукава; 4 - гидроэжекторный смеситель; 5 - рама; 6 - стойки.

Рисунок 3 - Схема блока приготовления бурового раствора

В приемных емкостях циркуляционной системы устанавливают гидравлические и механические перемешиватели (рисунки 4 и 5 соответственно), обеспечивающие равномерное распределение компонентов бурового раствора и предотвращает его расслоения.

Рисунок 4 - гидравлический перемешиватель

Рисунок 5 - Механический перемешиватель

Гидравлические перемешивающие устройства действуют подобно гидромониторному, по средствам бурового или центробежного насоса раствор подается на гидроперемешиватель. Реактивная пара сил от высокоскоростного истечения раствора через насадки обеспечивает вращение.

Механическийперемешиватель состоит из мотора, редуктора и мешалки. Мешалка располагается на небольшом расстоянии от дна емкости и при вращении создает потоки, перемешивающие раствор.

.2 Очистные устройства циркуляционной системы

На забое и в открытом стволе скважины буровой раствор загрязняется обломками выбуренной породы, глинистыми и другими твердыми частицами. Поэтому очистные сооружения должны обеспечить тщательное удаление всех перечисленных примесей.

Очистка бурового раствора осуществляется путем последовательного удаления крупных и мелких частиц выбуренной породы и других примесей, содержащихся в поступающем из скважины бурового раствора.

Первичная очистка проводится вибрационными ситами (рисунок 6), посредствам которого удаляются частицы более 75 мкм. Частицы вредных примесей размерами до 40 мкм удаляются пескоотделителем, 25 мкм - илоотделителем и 5 мкм - центрифугами.

На виброситах частицы просеиваются через сито под действием вибрации, которая создается инерционным вибратором. Привод вибратора состоит из электродвигателя и клиноременной передачи.

Частицы бурового раствора, превышающие размеры ячеек вибросита, оседают на нем и по транспортерному желобу сбрасываются в отвал посредствам шнека. Очищенный раствор, пройдя через ячейки сетки, поступает в приемные емкости циркуляционной системы.

Пропускная способность и степень очистки бурового раствора зависит от типа, рабочего состояния и размеров ячеек сетки.

- основание; 2 - приемник; 3 - вибратор; 4 - сетка; 5 - вибрирующая сетка; 6 - амортизаторы; 7 - поддон для сбора очищенного бурового раствора.

Рисунок 6 - Вибросито

Последующая более тонкая очистка бурового раствора осуществляется гидромеханическим способом. Для этого в песко и илоотделителях используют конические гидроциклоны. Схема гидроциклона представлена на рисунке 7.

Рисунок 7 - Схема гидроциклона для очистки бурового раствора от шлама

В гидроциклон буровой раствор подается под давлением по питающей насадке. Благодаря тангенциальному расположению насадки и высокоскоростному истечению буровой растворинтенсивно вращается относительно оси гидроциклона. Наиболее крупные частицы отбрасываются центробежными силами во внешний поток раствора, образующийся в пристенной зоне корпуса. Опускаясь по винтообразным траекториям они удаляются через насадку. В центре циклона образуется столб низкого давления воздуха и жидкости. Восходящий поток очищенного раствора направляется в приемные емкости циркуляционной системы.

Пескоотделитель ПГ-50 состоит из 4 гидроциклонов диаметром 150 мм.

В илоотделителе ИГ-45 используется 16 гидроциклонов диаметром 75 мм.

Для предохранения от износа и коррозии внутренней поверхности корпуса покрывается резиновыми чехлами. Насадки изготовляются из износостойких сталей и сплавов.

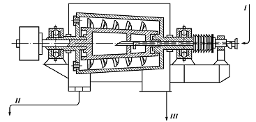
Центрифуги предназначены для извлечения тонкодисперсных частиц утяжелителя из промывочной жидкости.

Основная часть центрифуги (рисунок 8) - барабан с дырчатыми фильтрующими стенками, вращающиеся в неподвижном корпусе. Разделение твердых частиц происходит под действием центробежных сил.

I- подача раствора; II- выход утяжеленной пульпы; III - слив раствора.

Рисунок 8 - Схема шнековой центрифуги для регенерации утяжелителя

2. Расчетная часть

2.1 Выбор буровой установки и основного оборудования

Тип буровой установки выбирается по её грузоподъёмности с учетом необходимой гидравлической мощности насосов, возможности её транспортировки, требований охраны окружающей среды.

Выбор буровой установки осуществляется по её главному параметру - допускаемой нагрузке на крюке (наиболее тяжелой колонны). Допускаемая нагрузка на крюке - это вертикальная статическая нагрузка на крюк, которая не должна быть превышена в процессе всего цикла строительства скважины независимо от вида и продолжительности выполнения операций.

При выборе буровой установки учитывают технические характеристики буровых установок ГОСТ 16293-89.

.1.1 Обоснование глубин спуска и диаметров обсадных колонн

Кондуктор Ø324 мм спускается на глубину 300м с целью крепления устья скважины и неустойчивой зоны ММП. Цементируется до устья. Диаметр долота для бурения подкондуктор470мм.

Промежуточная колонна Ø245мм спускается на глубину 2000м с целью перекрытия неустойчивой части разреза меловой, юрской, триасовой части пермской системы. Цементируется до устья. Устье оборудуется ПВО. Диаметр долота под промежуточную колонну 295,3мм.

Эксплуатационная колонна Ø193,7мм спускается до проектной глубины 3700м с целью разобщения продуктивных горизонтов и последующего раздельного испытания продуктивных горизонтов. Цементируется до глубины 1850м. Устье оборудуется колонной головкой и фонтанной арматурой. Диаметр долота под эксплуатационную колонну 215,9мм. Общие сведения о конструкции скважины приведены в таблице 1.

Таблица 1 - Общие сведения о конструкции скважины

№ колонны в порядке спуска

Наименование колонны

Интервал установки колонны

Номинальный диаметр ствола скважины, мм

Количествово раздельно спускаемых частей, шт

Номер в порядке спуска

Интервал расположения частей

Данные по каждой спускаемой части колонны



От (низ)

До (верх)




От (низ)

До (верх)

Диаметр обсадных труб, мм

Типы соединений в одноразмерной части колонны

Максимальный наружный диаметр соединений

1

Кондуктор

300

0

470

1

300

0

406,4

Резьба Батрес

431,8

2

Промежуточная

2000

0

295,3

1

1

2000

0

273,1

CSG

298,4

3

Эксплуатационная

3700

0

215,9

1

1

3700

0

193,7

Резьба Батрес

216


.1.2 Выбор буровой установки

Буровая установка выбирается по допускаемой нагрузке на крюке. Допускаемая нагрузка на крюк рассчитывается по весу наиболее тяжелой промежуточной или эксплуатационной колонн с учетом коэффициента запаса 1,1 или по весу бурильной колонны на конечной глубине бурения с учетом коэффициента запаса 1,5 - 1,67. Кондуктор во внимание не принимается, так как его вес незначителен.

Допускаемая нагрузка на крюк определяется по формуле:


где  - допускаемая нагрузка на крюк от веса наиболее тяжелой обсадной или бурильной колонны, кН;

 - вес в воздухе наиболее тяжелой обсадной колонны (секции колонны, хвостовика, включая вес труб, на которых производится их спуск), кН;

 - вес в воздухе наиболее тяжелой бурильной колонны, кН;

- коэффициенты запаса допускаемой нагрузки на крюке соответственно для обсадной и бурильной колонн.

Вес в воздухе обсадных труб промежуточной колонны:


где - вес 1 погонного метра обсадных труб промежуточной колонны;

 - длина промежуточной колонны.

кН.

Вес в воздухе обсадных труб эксплуатационной колонны:


где  - вес 1 погонного метра обсадных труб промежуточной колонны;

 - длина промежуточной колонны.

кН;

кН.

Вес в воздухе бурильной колонны:

где  - глубина скважины, м;

 - длина УБТ, м;

 - вес 1 погонного метра бурильных труб и УБТ соответственно, кН;

кН;

кН.

Сравниваем значения  и по наибольшему значению выбираем буровую установку из условия

 или .

По второму условию выбираем буровую установку БУ 4000/250 ЭК - БМ.

.1.3 Выбор буровой вышки

Буровая вышка выбирается по допускаемой нагрузке на крюке. Допускаемая нагрузка определена в пункте 2.1.2. Исходя из этого, выбираем буровую вышку А-образную мачтового типа УМ 45/320 - Р.

.1.4 Выбор талевой системы

Талевый блок является подвижной частью талевой системы. Конструктивно он связан с крюком, который предназначен для подвешивания бурильных и обсадных колонн при бурении и СПО.

Талевый канат выбираем по разрывному усилию каната в целом.

,

где  - максимальное натяжение ходовой ветви талевого каната, кН;

,

где  - максимальная грузоподъемность крюка;

 - вес талевой системы;

 - число подвижных струн;


кН;

кН.

При выборе каната используем соотношение .

Выбираем канат 32-1568-2.

Оснастку выбираем по числу подвижных струн каната в талевой системе:


где  - коэффициент запаса прочности каната.


Принимаем =10. Выбираем оснастку 56.

Крюкоблок используется при ручной расстановке свеч и выбирается по допускаемой нагрузке на крюке. Выбираем Крюкоблок УТБК-5-270.

Кронблок монтируется на верхней раме мачты или на подкронблочных балках вышки. Он удерживает на весу подвижную часть талевой системы и служит для размещения свободно вращающихся шкивов талевой системы.

Кронблок выбираем по его допускаемой нагрузке:

,

где  - натяжение неходового конца талевого каната;

,

кН;

кН.

По рассчитанному параметру выбираем кронблок УКБ-6-325.

.1.5 Выбор ротора

Роторы предназначены для передачи вращательного движения бурильной колонне и долоту, для поддержания на весу бурильной колонны при СПО и вспомогательных работах, а также для поддержания на весу обсадной колонны при спуске ее в скважину.

По диаметру отверстия в столе ротора определяется его тип:

,

где  - диаметр долота при бурение под направление скважины;

      - диаметральный зазор, необходимый для свободного прохода долота;

=630+50=680 мм.

По рассчитанному диаметру принимаем ротор типа Р700.

2.1.6 Выбор вертлюга

Вертлюг можно отнести к одному из узлов механизма подачи, который обеспечивает свободное вращение колонны бурильных труб и подачу жидкости через буровой рукав от неподвижного стояка манифольда в бурильные трубы. Его главная функция - восприятие нагрузки от веса колонны бурильных труб. Вертлюг выбираем по допускаемой нагрузке на крюк, рассчитанной в пункте 2.1.2. Выбираем вертлюг УВ-320МА.

.1.7 Выбор буровой лебедки

Буровые лебёдки являются основным механизмом спуско-подъемного комплекса буровой установки. Основная функция лебедки - наматывание на барабан, сматывание с барабана и стопорение ведущей струны талевого каната при выполнении следующих операций технологического процесса строительства скважин: спуск и подъем бурильного инструмента; спуск обсадных труб; подача инструмента на забой; передача вращения ротору; подъем и опускание вышки; аварийный подъем инструмента.

Выбор буровой лебедки производится по натяжению ходового конца талевого каната. Натяжение ходового конца каната рассчитано в пункте 2.1.4. Выбираем буровую лебедку ЛБУ 900 ЭТ-ЭА.

.1.8 Выбор циркуляционной системы

Рассмотрев функции насосно-циркуляционного комплекса в процессе проводки скважины, условия бурения, а также устройство уже существующих циркуляционных систем и опыт их эксплуатации, подбираем ЦС 4000 для бурения скважин до глубины 4000 м.

2.2 Расчет расхода бурового раствора

Расчёт потребности в буровом растворе в случае, когда для бурения рассматриваемого интервала используют тот же раствор, с которым бурили предыдущий интервал:

Исходный объем бурового раствора, необходимого для бурения, зависит от класса буровой установки. Суммарный полезный объем циркуляционной системы БУ 4000/250 ЭК - БМ (6 класс) 150 м3.

Дополнительное количество раствора необходимо для:

увеличения объема запасного раствора

бурения рассматриваемого интервала:

Vдоп=ΔVзап+Vбур

Увеличение объема запасного раствора:

ΔVзапm=Vзапm - Vзапm -1

ΔVзапm= 94,2-0=94,2м3(при переходе с интервала 0-300 на 300-2000);

ΔVзапm=348,5-94,2=254,3м3 (при переходе с интервала 300-2000 на2000-3700).

Объём раствора необходимый для бурения скважины рассчитывается по формуле:

бур = nmlm,

где nm- норма расхода бурового раствора для бурения рассматриваемого интервала, м3/м;

lm - длина интервала применения данной нормы, м.

для интервала 0-300: Vбур=0,314·300=94,2м3;

для интервала 300-2000: Vбур=0,205·1700=348,5 м3;

для интервала 2000-3700: Vбур=0,230·1700=184м3.

Результаты расчёта сведены в таблицу 2.

Таблица 2 - расход бурового раствора по интервалам.

интервал

количество метров бурения

диаметр скважины, мм

норма расхода бурового раствора,м3/мин

Расход бурового раствора, м3

потребность в буровом растворе на запас на поверхности

от

до






0 300 2000

300 2000 3700

300 1700 1700

470 295,3 215,9

0,314 0,205 0,230

94,2 384,5 194,0

-- 94,2 254,3


Таким образом,Vдоп будет равен:

V = 254,3 +94,2 +348,5 + 92,0 +92,0 = 881 м3.


Рисунок 9 - схема гидроциклона с указанием основных размеров

Пропускная способность гидроциклонов:


где К1 - опытный коэффициент, К1 = 0,12;

dn- диаметр питающей насадки;

п = (0,12…0,25)Dг;

с- диаметр сливной насадки;

c = (0,25…0,50)Dг;

г - диаметр гидроциклона, Dг = 360 мм;

Рв - давление на входе в гидроциклон, Рв = 0,25 МПа;

h1 - высота цилиндрической части гидроциклона;

h1 = (1,0…1,2)Dг;

h2 - высота конусной части гидроциклона;

2 = Dг/(2tga/2);

Принимаем Dг = 360 мм.

c = (0,25…0,50)360 = 90…100 мм, принимаем dc =100 мм;

dп = (0,12…0,25)360 = 43,2…90 мм, принимаем dп = 50мм;

dт = (0,15…0,45)100 = 15…45 мм, принимаем dт = 20мм;

h1 = (1,0…1,2)360 = 360…432 мм, принимаем h1 = 400 мм;

h2= 360 / 0,3536 = 1036 мм.


3. Ремонт и эксплуатация циркуляционной системы

.1 Ремонт блока приготовления бурового раствора

.1.1 Ремонт глиномешалок

В процессе работы глиномешалок наибольшему износу подвергаются сальниковые уплотнения рабочих валов, подшипники, лопасти и шестерни.

Текущий ремонт проводят на буровой установке, а капитальный в РММ.

При текущем ремонте выполняется:

проверка и подтяжка крепления лопастей и корпусов подшипников;

проверки сальниковых уплотнений и при необходимости их замена, также замена не пригодных крепежных деталей, проверка легкости вращения валов, проверка смазки и смазка подшипников.

При капитальном ремонте выполняется:

проводят полную разборку глиномешалки, дефектовку всех деталей, замена или восстановление негодных деталей, в том числе и шкива;

ремонт корпуса, смазка подшипников и окраска.

Перед разборкой глиномешалку очищают от грязи и промывают. Затем приступают к разборке. Снимают кожухи, демонтируют привод. После демонтажа сальниковых коробок демонтируют валы.

Ремонт корпуса и рамы в основном сводится к сварочным работам.

Рабочие валы при изгибе >3 мм правят, а при меньшем износе в местах работы сальниковых уплотнений восстанавливают электродуговой наплавкой с последующей механической обработкой.

Лопасти правят на кузнечных молотах.

Изношенные шестерни и сальниковые уплотнения заменяются новыми.

Основные требования к отремонтированным глиномешалкам:

Все детали должны быть отремонтированы в соответствии с чертежами и ТУ на ремонт. Износ деталей не должен превышать предельных размеров на выбраковку.

Сварные швы не должны иметь трещин, пузырей и других дефектов.

Основания рабочих и трансмиссионных валов должны быть параллельны. Допускается не параллельность 3 мм по всей длине.

Зазор между лопастями и корпусом не должен быть менее 10 мм.

На рабочих поверхностях зубьев зубчатых колес не должно быть раковин и других дефектов литья. Допускается предельное отклонение от перпендикуляра зуба к торцевой поверхности колеса не более 0,5 мм на всей длине зуба.

Сальники и спускной клапан не должны пропускать жидкость.

Валы должны проворачиваться плавно без заеданий.

Наружная поверхность должна быть окрашена, а трущиеся поверхности смазаны.

3.1.2 Ремонт гидроэжекторных смесителей

Ремонт в основном сводиться к замене быстро изнашивающихся сопел, гидромониторов, и к сварным работам по ремонту напорной линии и емкости. Напорная линия гидромешалок работает в среде абразивных жидкостей при давлении нагнетания 12 МПа. В результате чего трубы линии быстро изнашиваются. Поэтому ремонту обвязки следует уделить особое внимание. При этом толщина стенок труб проверяется дефектоскопом.

По окончанию ремонтных работ обвязку проверяют пробным давлением.

.1.3 Ремонт фрезерно-струйных мельниц

При ремонте ФСМ особое внимание следует обращать на состояние и регулировку сменных лопастей, отражательного щитка, предохранительной плиты, ловушки и сетки. А также на проверку состояния состояние сальниковых уплотнений и подшипников.

Текущий ремонт проводится на месте установки, капитальный в РММ.

При текущем ремонте следует произвести:

проверку и подтяжку креплений лопастей и отражательного щитка;

замену предохранительного штифта, сальниковых уплотнений, негодных крепежных деталей;

проверку герметичности ловушки и смену подшипников.

При капитальном ремонте:

полная разборка мельницы, дефектовка всех деталей, сборка, испытание и окраска.

Перед разборкой мельницу очищают от грязи и промывают.

Разборку начинают со снятия кожухов, ремней электрических двигателей, далее разбирают корпус, вынимают лопастной вал. После разборки вала все детали мельницы дефектуют.

Ремонт корпуса и рамы сводится к сварным работам.

Вал восстанавливается электрической дуговой наплавкой, лопасти заменяются новыми. Собранный вал балансируется.

После сборки производится обкатка на холостом ходу с подачей воды, при этом устраняются вибрации, течи и другие неполадки.

Требования к отремонтированным ФСМ сводятся к выполнению ТУ на ремонт и гарантию срока работы.

.2 Ремонт ситогидроциклонных установок

При текущем ремонте ситогидроциклонных установок выполняют:

проверку сетки и ее натяжения;

проверку состояния резиновых насадок и при необходимости делают их замену;

проверку и подтяжку ремней передачи и крепежи деталей;

При капитальном ремонте полностью разбирают ситогидроциклонную установку, определяют дефекты все деталей, восстанавливают или заменяют их, в том числе: валы, гидроциклоны, раму и емкость, шламовый насос и его обвязку.

По окончанию ремонтных работ и сборки проверяют работу проверяют работу шламового насоса и вибросита.

Заключение

циркуляционный буровая скважина центрифуга

В данном курсовом проекте был проведён анализ основных элементов циркуляционной системы буровой, таких как гидроэжекторный смеситель, вибросито, гидроциклон, и центрифуга. Был проведён анализ применяемого оборудования, выявлены технические характеристики, подобраны виды применяемого оборудования. Исходя из допускаемой нагрузки на крюке, подобрана установка необходимая при бурении скважины. Также произведен расчет расхода жидкости и представлен ремонт циркуляционного оборудования.

Список использованных источников

1.           Абубакиров В.Ф., Архангельский В.Л., Буримов Ю.Г., Малкин И.Б., Межлумов А.О., Мороз Е.П. Буровое оборудование: Справочник: В 2-х т. - М.: Недра, 2000. - Б 91 Т. 1. - 268 с.

2. Аваков В.А. Расчеты бурового оборудования. - М.: Недра, 1981. - 269с.

. Баграмов Р.А. Буровые машины и комплексы: Учебник для вузов, - М.: Недра,1988. - 500с.

. Буровые комплексы. Современные технологии и оборудование / под общ.ред. А.М. Гусмана и К.П. Порожского. - Екатеринбург: УГГТА,2002. - 592с.

. Колчерин В.Г., Колесников И.В., Копылов В.С., Баренбойм Ю.Л. Новое поколение буровых установок Уралмашзавода в Западной Сибири, - Сургут: ГУП ХМАО "Сургутская типография",2000. - 320с.

. Раабен А.А., Шевалдин П.Е., Максутов Н.Х. Монтаж и ремонт бурового и нефтепромыслового оборудования. 2-е изд., перераб. и доп. М., Недра, 1980, 398 с.

Похожие работы на - Улучшение условий эксплуатации, повышения надежности и долговечности оборудования

 

Не нашли материал для своей работы?
Поможем написать уникальную работу
Без плагиата!
Без нейросетей!