Совершенствование технологии закладочных работ при отработке Стрельцовского месторождения
ВВЕДЕНИЕ
Горнодобывающая промышленность является основой
материальной базы и экономики страны в целом. Все работы, направленные на
повышение эффективности деятельности горнодобывающих предприятий, весьма
значительны по величине трудовых и материальных затрат. Большое значение имеют
показатели полноты и качества извлечения полезного ископаемого из недр и
уровень технической вооруженности основных производственных процессов подземных
горных работ.
За последние десятилетия в технологии подземной разработки месторождений
произошли существенные изменения: резко возросли механизация основных и
вспомогательных процессов, энерговооруженность труда, расширилось использование
искусственных смесей для заполнения выработанного пространства, что позволит
повысить полноту извлечение руды из недр и обеспечить более высокую
безопасность горных работ.
Непрерывный рост потребности в минеральном сырье и ограниченность
трудовых ресурсов требуют, дальнейшего повышения производительности труда
подземных рабочих.
Решение этой задачи осуществляется путем технического перевооружения
горнорудных предприятий, постоянного совершенствования технологии подземной
разработки рудных месторождений. Наиболее важными факторами при выборе
технологии разработки являются безопасность ведения работ, повышение
производительности и эффективности.
1. ГЕОЛОГИЧЕСКАЯ ЧАСТЬ
1.1 Общие сведения о районе месторождения
Приаргунское производственное горно-химическое
объединение расположено на юго-востоке Забайкальского края. Промышленное
освоение месторождений природного урана началось в конце 60-х годов прошлого
столетия. Тогда же началось строительство города Краснокаменск. Сообщение с
городом в настоящее время осуществляется железнодорожным и автомобильным
транспортом. Ближайшей железнодорожной станцией, расположенной в 18 км от
города, является ст. Урулюнгуй, размещенной на ветке Чита -Приаргунск.
Месторождения Стрельцовской группы находятся в
холмисто-равнинной местности, в степной зоне Забайкалья на Северо-Западном
склоне Аргунского хребта. Природные условия неблагоприятны, в особенности зимой
весной, отличающимися сильными ветрами. Район ведения работ отличается
относительной безводностью. Климат резко-континентальный со значениями
среднегодовых температур от - 1,5° до - 3° и коротким, жарким летом.
Рельеф местности характерен для Восточного Забайкалья.
Абсолютные отметки отдельных вершин составляют 650... 1000 м. Широко развиты
различно ориентированные сухие пади.
Электро- и теплоснабжение предприятия, его цехов и
жилищного фонда города осуществляется от собственной ТЭЦ, работающей на углях
близлежащего разреза «Уртуйский».
1.2 Краткая горно-геологическая характеристика месторождения
Стрельцовская группа урановых и молибдено-урановых
месторождений образовалась в результате процессов, протекавших в связи с
познемезозойской вулканомагматической активизацией, и объединена единой
рудовмещающей структурой - кальдерой проседания. Кальдера имеет сложную
полигональную форму, площадь её составляет 120 м2. В строении кальдеры
выделяются два структурных этажа: нижний - фундамент, представленный породами
протерозоя и палеозоя, и верхний, сложенный осадочно-вулканогенными отложениями
верхнеюрского и нижнемелового возрастов.
Фундамент кальдеры сложен метасоматическими гранитами
палеозойского возраста с ксенолитами раннепротерозойских метаморфических пород,
представленных доломитизированными известняками, кристаллическими сланцами,
амфиболитами, кварцитами, филлитовидными сланцами.
Верхний структурный этаж представлен комплексом
осадочных и вулканогенных пород, имеющим мощность 500...600 м. В наиболее
погруженных участках кальдеры мощность верхнего структурного этажа достигает
1400 м и более. В разрезе этих отложений выделяется верхнеюрская Приаргунская
свита, состоящая из трех перемежающихся покровов базальтов и трех покровов
трахидацитов, разделяемых горизонтами осадочных и туфогенно-осадочных пород.
Приаргунская свита перекрывается тургинской свитой, относимой к нижнему мелу.
Разрывные нарушения, определяющие структуру
Стрельцовской кальдеры, представлены тремя типами: 1) глубинные разломы
меридионального и северо-восточного простирания, имеющие региональное значение
и выходящие за пределы кальдеры; 2) бортовые разломы, ограничивающие кальдеру;
3) зоны тектонических нарушений, прослеживаемые на площади кальдеры. Урановое и
молибденово-урановое оруденение, залегающие в породах верхнего структурного
этажа, связано преимущественно с последним типом разрывных нарушений.
Позднемезозойская вулканотектоническая активизация
завершилась в пределах Стрельцовской кальдеры мощным гидротермальным процессом,
вызвавшим соответственное изменение пород и образование уранового и
мо-либденово-уранового оруденения. Растворы, поднимаясь по крупным
тектоническим разрывам, распространялись по более мелким трещинам, насыщая всю
толщу раздробленных пород. Минералообразование происходило путем метосоматоза,
так и выполнением открытых трещин.
Процесс рудообразования охватил всю толщу пород,
участвующую в строении кальдеры. В связи с этим промышленные урановые и
молибденово-урановые руды образовались как в породах фундамента - гранитах,
доломитизированных известняках, так и во всех породах, слагающих верхний
структурный этаж: базальных конгломератах, базальтах, трахидацитах, фельзитах и
в отдельных случаях в горизонтах осадочных пород, обогащенных органическим
материалом, породах жерловых фракций. При этом более благоприятными для
рудоотложения оказались породы среднего и кислого состава: трахидациты и
фельзиты, с которыми связаны основные запасы урановых и молибденово-урановых
руд.
В Стрельцовское рудное поле входят около 19 основных
урановых и молибденово-урановых месторождений. В настоящие время в промышленном
освоении находятся следующие месторождения: Стрельцовское, Антей, Лучистое,
Мартовское, Октябрьское и Мало-Тулукуевское. Эта группа месторождений является
уникальным по запасам полезного ископаемого и содержанию металла в руде и
характеризуется весьма разнообразными типами рудных залежей и сложными
горно-геологическими условиями залегания.
Формы рудных залежей месторождений Стрельцовского
рудного поля определила структурная подготовка. В зонах трещиноватости пород
преимущественно среднего и кислого состава образовались штокверкоподобные
рудные залежи (68 % суммарных запасов урана). Рудные залежи, контролируемые
отдельными разрывами, распространенными в основных породах, имеют жилообразную
рудную форму, в которых сосредоточено 24 % запасов урана. Рудные залежи в
горизонтах осадочных пород представлены пластообразными рудными телами (8%
запасов урана).
Размеры рудных залежей колеблются по простиранию от
первых сотен метров до одного и более километра, с отдельными перерывами.
Ширина залежей достигает 200...300 м. Рудные залежи состоят из более мелких
образований - рудных тел, являющихся объектами отработки. Рудные тела имеют
размеры по простиранию от 20...30 до 250...300 м, по падению до 150...200 м.
Мощности рудных тел колеблются от долей метра до 50.. .70 м.
Вертикальный размах оруденения весьма значителен. В
породах верхнего структурного этажа промышленное оруденение, в отдельных
случаях приближаясь к поверхности, прослеживается до глубины 400...500 м. В
породах фундамента промышленные руды установлены на глубине 1500... 1800 м и не
оконтурены.
На месторождениях Стрельцовского рудного поля выделены
следующие типы рудных тел, приуроченных к определенным рудовмещающим разрывным
нарушениям:
1) Жильные, жилообразные и линзообразные рудные тела,
качество руд высокое. Протяженность рудных тел изменяется в пределах 40...300 м
по простиранию и 20...250 м по падению, мощность варьируется от 2 до 16 м.
Рудные тела локализованны в зонах дробления и брекчирования сквозных разрывов,
пересекающих всю вулканогенно-осадочную толщу пород и уходящих в фундамент.
2) Жилы и линзы имеющие большую прерывистость и
рассредоточенность в контуре залежи, качество руд рядовое. Размеры обособленных
рудных тел по падению и по простиранию не превышают 120... 160 м, средняя
мощность составляет 3...6 м. Рудные тела, локализованы в зонах достаточно
выдержанных по падению и простиранию тектонических разрывов, проявленных только
в породах чехла или фундамента. Границей их развития является контакт
структурных этажей.
) Жилообразные рудные тела, являющиеся элементами
штокверкоподобных залежей, руды рядовые. Длина их по простиранию колеблется от
первых десятков до 200...300 м, по падению - не более 60...80 м, мощность
составляет 2...3 м. Рудные тела, приурочены к тектоническим разрывам,
проявленным только в породах нижней и верхней толщи стратиграфического разреза
верхнего структурного этажа. В большей своей части они относятся к трещинам опережения
сквозных и внутриэтажных тектонических швов и зачастую представлены серией
сближенных кулис.
) Линзы, гнезда и неправильной формы рудные скопления,
составляющие основную часть рудной площади штокверкоподобных залежей, руды
богатые. Размеры таких залежей по простиранию и мощности редко превышают
соответственно 10...15 м и 1...2 м.
Рудные тела приурочены к небольшим трещинам и зонам
мелкой трещиноватости, развитым внутри отдельных покровов эффузивов, и
ограничены по вертикали пологими срывами по их контактам.
) Пластообразные рудные тела вытянуты вдоль
крутопадающих разрывных нарушений в плане, качество руд рядовое. Длина рудных
тел 1600... 1800 м, ширина от 60...80 м до 300...400 м, мощность колеблется в
пределах 0,5.. .6,0 м.
Рудные тела сформированы в месте пересечения
крутопадающими разрывами маломощных прослоев туфогенно-осадочных пород, по
контакту которых с подстилающими и перекрывающими породами развиты пологие
тектонические срывы.
Руды Стрельцовской группы месторождений по
качественной характеристике разделяются на контрастные и высококонтрастные. По
результатам опробования выделяют следующие технологические сорта руд:
· забалансовые руды с содержанием
металла от нижнего предела до бортового содержания 0,011.. .0,030 %;
· беднобалансовые руды с содержанием
0,03...0,16 %;
· рядовые руды с содержанием металла от
нижнего предела до верхнего предела, принятого для обогащения руды на РОФ
0,16.. .0,30 %;
· богатые руды с содержанием металла
выше установленного верхнего придела для рядовых руд и весьма богатые руды
>0,30 %.
1.3 Вещественный и качественный состав руд
По условиям образования месторождения Стрельцовского рудного поля
относятся к гидротермальным молибден-урановой рудной формации.
Основным рудным минералом является урановая смолка, на глубоких
горизонтальных месторождениях Антей минералы урана представлены титанитом урана
типа браннерита и силикатом урана (возможно коффинитом). Распространенность
перечисленных минералов в рудных залежах месторождения различна.
Урановые руды на месторождениях содержат повышенные концентрации
молибдена, бериллия, золота, свинца, цинка, из которых только молибден имеет
промышленное значение.
В составе рудных залежей, наряду с урановыми и молибденовыми минералами,
широко развиты нерудные минералы. В обломках рудных брекчий наблюдается
сидерит, кварц, анкерит, хлорит, нитрит, кальций, альбит, флюорит и другие.
Минералы урана имеют следующие размеры и форму:
- зерна титаната урана имеют пластинчатую и игольчатую, реже неправильную
форму размером в сотые и тысячные доли миллиметра;
урановая смолка образует мелкие вкрапления, иногда, прожилки корковидные
выделения размером от сотых до тысячных долей миллиметра (редко прожилки 2-3
мм);
силикат урана наблюдается в виде реликтовых образований в настуране и по
трещинам в последнем размером в сотые доли миллиметра.
Минеральный состав руд, их текстурные и структурные особенности не
остаются постоянными на различных участках залежей. При этом химический состав
руд отличается сравнительным однообразием и несущественно отличается для руд,
локализованных в гранитах и в вулканогенных осадочных разностях. По составу
основной массы руды относятся к алюмосиликатному типу без тория, с небольшим
содержанием флюорита, сульфидов и карбонатов.
С глубиной доля кремнозема увеличивается от 70 до 80% (в трахидацтах
64-67%), содержание глинозема меняется в незначительных пределах (10-13%);
несколько уменьшается содержание TiO2, CaO, более значительно CO2 (в 2 раза), флюорита в 2-4 раза.
Содержание свободной кремнекислоты в породах и рудах не превышает 40%.
1.4 Гидрогеологические условия эксплуатации
месторождения
На шахтных полях рудников №1 и Глубокий, как и на всем Стрельцовском
рудном поле, развиты трещинные и трещиножильные воды, приуроченные к скальным
эффузивно-осадочным породам и поднимающим их породам палеозойского фундамента.
Трещинные воды приурочены к верхней выветренной зоне эффузивно-осадочных
пород, поэтому глубина их распространения, связанная с глубиной выветривания,
незначительна и составляет 150-200 м. Породы до этой глубины отмечаются
сравнительно небольшой водообильностью.
Трещинно-жильные воды, которым принадлежит основная роль в обводнении
месторождений Стрельцовского рудного поля, приурочены к пологим тектоническим
зонам и разрывным крутопадающим нарушениям, имеющим повсеместное
распространение и прослеживающимся на значительную глубину.
Трещинно-жильные воды связаны с трещинными водами выветренной зоны и
образуют единую гидравлическую систему. Подстилающие эффузивно-осадочную толщу
пород граниты обводнены слабо.
Абсолютная отметка уровня подземных вод при естественном режиме
составляет 670 м. В настоящее время под влиянием шахтного водоотлива,
ведущегося на шахтах Стрельцовского рудного поля с 1964 года, уровни
водоносного горизонта значительно снижены.
По данным геолого-производственного отчета п/я А-1768 уровень подземных
вод в центре депрессионной воронки - на Центральном и Глубинном участках
Стрельцовского месторождения - расположен ниже горизонта VII (абсолютная отметка +302 м)
В последние годы снижение уровней подземных вод на площади шахтного поля
рудника №1 существенно замедлилось. Из этого следует, что статические запасы
подземных вод в пределах депрессионной воронки, особенно ее центральной части,
в основном, сработаны и притоки в горные выработки в настоящее время формируются
за счет динамических притоков, приобретая более или менее равномерный характер.
Тем не менее, по данным предприятия п/я А-1768, фактический приток
подземных вод в горные выработки рудника, который на протяжении ряда лет
сохранялся постоянным на уровне 400-500 м3/ч, в последнее время значительно
вырос и составил 650-750 м3/ч. Одной из причин повышения общешахтного притока
на руднике №1 является цепочка оборотных вод хвостохранилища ТМЗ и дренаж их
горными выработками. По данным геологической службы рудника №1 величина
дополнительного притока за счет утечек из хвостохранилища составляют около 100
м3/ч.
Кроме того, значительную часть в балансе откачиваемых вод рудника
составляет техническая вода, подаваемая в выработки для целей пылеподавления и
от твердеющей закладки, а также за счет утечек шахтной водопроводной сети.
По химическому составу шахтные воды рудников являются, в основном,
гидрокарбонатно-сульфатными натриево-кальциевыми, с сухим остатком до 600 мг/л.
Содержание взвешенных механических частиц в шахтных водах колеблется, как
правило, в пределах 500-600 мг/л или 650 мг/л. Воды прямые, минерализация их, в
основном, 0,1-0,6 гр/л. Концентрация водородных коков колеблется в пределах PH 7¸8,6. Температура подземных вод увеличивается с глубиной и выражается
величиной от 12 до 32°С.
Наибольшая температура +32°С отмечена в подземных водах, вскрытых скважиной на глубине 1115 м от
поверхности (абсолютная отметка 400 м).
По отношению к бетону и металлу подземные воды не агрессивны. Содержание
урана в подземных водах колеблется в значительных пределах от 6,35×10-5 гр/л на участках рудоносных зон
до 2×10-6 - 9,5×10-6 - гр/л на безрудных участках.
Согласно действующим нормам радиационной безопасности (НРБ-76), содержание
отдельных радионуклидов в шахтных водах близко к предельно допустимым
концентрациям, а суммарная активность смеси вышеприведенных радионуклидов
превышает допустимые нормы. В связи с этим во избежание загрязнений
гидрографической сети шахтными водами предусматривается очистка их от радионуклидов.
1.5 Инженерно-геологические условия
По сложности геологического строения месторождения
отнесены к третьей группе. Рудные тела обладают сложным строением и крайне
неравномерным распределением полезного компонента. Проектирование
горнодобывающих предприятий для месторождений указанной сложности допускается
на базе утвержденных запасов категории С1. Размеры рудных тел по простиранию
достигают 500...600 м. Горно-геологические условия работ сложные. Вмещающие
породы по контактам с рудой нередко сопровождаются зонами дробления,
отличающимися низкой устойчивостью.
Руды являются источниками выделения радона, что
налагает свой отпечаток на особые условия проветривания горных выработок.
Основными физико-техническими свойствами горного
массива оказывающими влияние на устойчивость горных пород Стрельцовского
рудного поля являются физико-механические свойства горных пород и руд,
тектоническая нарушенность и характер выполнения трещин, обводненность массива.
Физико-механические свойства горных пород и руд
Стрельцовской группы месторождений определяются литологическим составом,
текстурно-структурными особенностями и степенью гидротермальных изменений.
Физико-механические свойства горных пород отличаются друг от друга на каждом из
месторождений Стрельцовского рудного поля.
В целом по Стрельцовской группе месторождений руды в
пределах рудных залежей относятся к сильнотрещиноватым и трещиноватым (I-II группа трещиноватости), породы вмещающие оруденение средне и
слаботрещиноватые (III- IV группа трещиноватости).
С учетом доразведки геологические запасы по Стрельцовскому месторождению
утвержденные ГКЗ составили 31,6 млн. т. руды, в том промышленные запасы 31,6
млн. т., эксплуатационные запасы 39,7 млн. т руды. На текущий момент 60%
балансовых запасов рудника отработано, балансовые запасы с учетом отработки
составляют 12,64 млн.т.
2. ГОРНАЯ ЧАСТЬ
2.1 Исходные положения для проектирования
Угол падения рудных тел в их большинстве на руднике №1
Уранового горно-рудного управления колеблется в основном в пределах 80 - 90°.
Рудные тела отличаются высокой сложностью строения и отличаются различной
мощностью - от 0,4.. .0,5 м до 30 и более м. Часть рудных запасов
сконцентрирована в мощных штокверкообразных рудных телах, мощность остальных
рудных тел составляет в среднем 0,5.. .3 м. Богатые мощные урановые залежи
практически отработаны, а оставшиеся часть запасов сконцентрирована в
маломощных разветвленных жилах.
Контакты рудных тел с вмещающими породами весьма
изменчивы. Руды в основном неустойчивы, а породы обладают средней устойчивостью.
При этом руды, локализованные в штокверкообразных залежах, обладают
преимущественно средней устойчивостью.
Коэффициент крепости руд по шкале проф. М.М.
Протодьяконова составляет 8... 12, а крепость пород соответственно 8... 16.
Руды не склонны к слеживанию и самовозгоранию. Плотность руды в целике
составляет в среднем 2500 кг/м3, коэффициент разрыхления - 1,5. Земная
поверхность требует ее сохранения при ведении горных работ. Это обусловлено, в
том числе спецификой разработки стратегического сырья, сопровождающейся
жесткими требованиями к экологической безопасности работ.
2.2 Определение годовой производительности рудника
Годовая производительность рудника №1 по руде рассчитана, исходя из
нормативных величин годового понижения, оптимального срока существования и
уточнена по горным возможностям с учетом принятой схемы отработки запасов,
системы и организации работ
Аг = S ∙ V∙ K1 ∙ K2 ∙
K3 ∙ K4 ∙ Ku ∙ S
∙
ρ / (1 - p) , т/год, (2.1)
где V - среднее годовое понижение уровня
выемки, м/год
К1 - поправочный коэффициент уровня выемки в зависимости от угла падения.
К2 - поправочный коэффициент к величине годового понижения уровня выемки
в зависимости от мощности рудного тела.
К3 - поправочный коэффициент к величине годового понижения уровня выемки
в зависимости от числа этажей, находящихся одновременно в работе (зависит от
системы разработки)
К4 - поправочный коэффициент к величине годового понижения выемки в
зависимости от числа этажей, находящихся в одновременной работе;
Ки - коэффициент извлечения руды, д. ед.
Р - коэффициент разубоживания, д. ед.
S -
средняя величина рудной площади этажа, тыс/м3.
g - плотность руды, т/м3.
Ки=1-П.
где П - потери руды, д. ед.
Ки=1-0,05=0,95
т/год
Срок
существования рудника определяем по формуле
, лет
(2.2)
где
Б - балансовые запасы руды, т.
лет
С
учетом развития и затухания производства t=26+3+2=31 год.
2.3 Вскрытие месторождения
2.3.1 Высота этажа
Высота этажа является одним из важнейших параметров
вскрытия. В связи с тем, что в условиях рудника №1 основной системой является
нисходящая слоевая выемка с твердеющей закладкой, высота этажа составляет 60 м.
Эта высота является наиболее приемлемой по горнотехническим и экономическим
соображениям.
.3.2 Способ и схема вскрытия
Вскрытие урановых месторождений Стрельцовской группы,
отрабатываемых рудником № 1 осуществляется шахтными стволами 1К, 3Р, 3В, 2В, 8К
и 9К (остальные стволы законсервированы). Схема вскрытия рудника №1 показана на
рис.1. Месторождение рассматривается как одно шахтное поле и вскрывается двумя
выдачными 9К, 8К и одним вспомогательным 1К стволами шахт. Существующие шахтные
стволы 3В,3Р и 2Р предусматривается использовать в качестве вентиляционных.
Выдачные стволы №8К и №9К располагаются с западной стороны месторождения
между Западным и Глубинным участками. Глубина стволов соответственно 370 и 430
м. Оба ствола проходятся диаметром в свету 6 м с бетонным креплением с
двухэтажными клетями на вагонетку емкостью 2,2м3. Производительность каждого
ствола по горной массе 800 тыс. т. в год, в том числе по руде 600 тыс. т. в
год.
Основной вспомогательный ствол шахты 1К располагается над Центральным
участком и предназначается для спуска-подъема людей, подачи материалов и оборудования.
Ствол имеет диаметр в свету 6 м, бетонное крепление и оборудован двухклетьевым
подъемом на вагонетку емкостью 2,2 м3. Глубина ствола 460 м.
К стволам шахт 8К и 9К транспортируется горная масса со всех участков. От
ствола 1К до рабочих мест участков люди доставляются в специальных вагонетках.
Для проветривания участков рудника свежий воздух подается по стволам 1К и 2В, а
исходящая струя выдается через стволы 3В, 3Р и 9К, 8К.
2.4 Горно-капитальные работы
В настоящий момент основная часть горно-капитальных работ закончена, в
этом разделе приводим основные характеристики вскрывающих выработок:
1. Ствол 9К: глубина Н = 735м; назначение - главный грузовой;
размеры сечения в свету: S =
28,3м2; d = 6м; форма - круглый; вид крепи -
бетон; производительность подъема по горной массе максимум 850 тыс. т./год;
вентиляционный режим - выдача воздуха Q = 340 м3/сек.; подъемные машины 2Ц6×2,8; подъемные сосуды - 2КН 3,6×3 (2 взаимноуровнавешанных
двухэтажных клети); вагонетки - ВГ - 4 м; колея - 750 мм; надшахтные здания -
эстакады, опрокиды; бункера.
2. Ствол 1К: глубина Н = 580 м; назначение - вспомогательный грузо -
людской; размеры сечения в свету S =
28,3 м2; d = 6 м; форма - круглый; вид крепи -
бетон; производительность подъема по горной массе максимум 400 тыс. т./год;
вентиляционный режим - подача воздуха; проекты Qв = 220/280 м3/сек., факт. Qш = 100/150 м3/сек.; вентиляционная установка - ВОКД - 30;
подъемная машина - 2Ц6×2,4; подъемный сосуд - 2КН 3,6×3 (2 двухэтажных, взаимноуравновешанных клети); вагонетки -
ВГ 4 м; колея - 750 мм; надшахтные здания - 2 опрокида.
. Ствол 2В: глубина Н = 450 м; назначение - вентиляционный;
размеры сечения в свету S =
28,3 м2; d = 6 м; форма - круглый; вид крепи -
бетон; вентиляционный режим - подача воздуха; проекты Qв = 340/550 м3/сек., факт. Qш = 280/430 м3/сек.; вентиляционная установка - ВРЦД- 4,5.
. Ствол 3В: глубина Н = 445,6 м; назначение - вентиляционный;
размеры сечения в свету S =
28,3 м2; d = 6 м; форма - круглый; вид крепи -
бетон; вентиляционный режим - выдача воздуха; Qв = 425 м3/сек.; подъемная машина - 2Ц3,5×1,7; подъемный сосуд - 2КН 3,6×3.
. Ствол 3Р: глубина Н = 380 м; назначение - вентиляционный,
грузовой; размеры сечения в свету S = 19,6 м2; d = 5 м; форма -
круглый; вид крепи бетон; вентиляционный режим - выдача воздуха; Qв = 232 м3/сек.; подъемная машина -
2Ц-4×2,3; подъемный сосуд - 2КН 3,6×3.
. Основные квершлага: прямоугольно - сводчатой формы; площадь
сечения в свету S = 8,6 м2; тип
крепи - набрызг - бетон, в местах ослаблений применяется анкерная крепь в
сочетании с набрызг - бетоном. Оборудован однопутевым рельсовым путем, состоит
из рельс Р = 33, уложенных на деревянные шпалы.
. Околоствольный двор ствола 1К собственной конструкции
предприятия, объем Vод = 24900 м3.;
его состав: подъемная двухпутевая выработка, объездная 1К - 800; подстанция,
камера ожидания, подстанция, электровозное депо; электроподстанция, насосная;
водосборник.
2.5 Проведения капитального квершлага
2.5.1 Краткая горно-техническая характеристика
Квершлаг проводится по трахидацитам. Устойчивость пород средняя.
Структура пород крупноблочная. Коэффициент крепости пород по шкале проф. М.М.
Протодьяконова f = 12…14.
Проходка выработки осуществляется бригадой в составе шести человек в три смены по
два человека в смене. Продолжительность смены 7 ч.
При бурении шпуров используют установки ЛКР-1У с переносными
перфораторами ПП-54. Бурение шпуров под анкерную крепь производим телескопными
перфораторами ПТ-38. Заряжание шпуров патронированным аммонитом 6ЖВ - вручную.
Для отгрузки горной массы из забоя в вагонетки ВГ-4 применяют погрузочную
машину ППН-3. Обмен вагонеток производится на тупиковой разминовке,
устанавливаемой периодически через 100..200 м. Проветривание забоя осуществляем
по нагнетательной схеме вентилятором
ВМ-5М.
2.5.2 Форма и площадь поперечного сечения
квершлага
Учитывая горно-технические факторы, а также опыт проведения выработок на
предприятии, принимаем прямоугольно-сводчатую форму квершлага.
По габаритам подвижного состава и необходимыми зазорами определяем ширину
выработки В, мм:
мм,
(2.4)
где
m - зазор между бортом выработки, мм;
А
- ширина электровоза К-10, мм;
n- зазор для
прохода людей, мм.
Высота
выработки Н, мм находится по формуле:
мм,
где
- высота вертикальной стенки от уровня почвы до пяты
свода, мм;
hб - высота
балластного слоя, мм;
h0 - высота
свода, мм;
мм -
высота
свода;
Радиус
дуги свода:
мм
Радиус
боковой дуги:
мм
Площадь
сечения выработки в свету:
м2 (2.5)
Площадь
сечения выработки вчерне:
м2 (2.6)
2.5.3 Расчет параметров БВР
Для проведения горизонтальной выработки, площадь сечения которой Sчер=8,6 м2, по породам устойчивым и
средней устойчивости с коэффициентом крепости ¦=14 по шкале проф. Протодьяконова принимаем для
производства взрывных работ патронированное ВВ диаметром d =32 мм - аммонит 6ЖВ, плотность ρВВ=1100 кг/м3.
Выбираем глубину шпура lшп=1,8
м применяемую на руднике, максимальная глубина бурения установкой ЛКР-1У lmax=2,25 м.
Удельный расход ВВ
кг/м3
(2.7)
где
q0 - удельный нормативный заряд ВВ, кг/м3;
Rз.п. -
коэффициент зажима пород,
;
с.п.
- коэффициент структуры пород;
е
- коэффициент относительной работоспособности,
Количество
ВВ на забой
кг (2.8)
Средняя
масса шпурового заряда
кг (2.9)
где
dп - диаметр патрона; мм;
Rзш. -
коэффициент заполнения шпура;
ρВВ - плотность ВВ в патроне, кг/м3.
Количество
шпуров на забой
шп
(2.10)
Выбор
типа вруба: На основании практики проведение выработки на предприятии принимаем
вертикально - клиновой тип вруба.
Количество
шпуров по группам:
врубовых
;
отбойных
;
оконтуривающих
.
Длина
шпуров по группам:
длина
шпуров оконтуривающих:
м;
длина
отбойных шпуров:
м;
длина
врубовых шпуров:
м.
Длина
уходки за взрыв
м;
Расчет
ЛНС (линия наименьшего сопротивления), м
, (2.11)
где
d - диаметр шпура, м;
m - коэффициент
сближения зарядов.
м
Расстояние
между шпурами:
между
устьями врубовых шпуров:
м
где:
в- расстояния между концами шпуров, м;
оконтуривающими
м;
отбойными
м;
расстояние
между парами врубовых шпуров - 0,4 м.
Объем
породы, отбиваемой за один взрыв
м3
Распределения
ВВ по шпурам:
врубовых
кг
отбойным
кг
оконтуривающим
кг
Количество
патронов в шпурах:
во
врубовых
патронов
в
отбойных
патронов
в
оконтуривающих
патронов
Фактический
расход ВВ на взрыв
. (2.12)
кг
Таблица
2.3. Показатели БВР
|
№ п/п
|
Наименования показателей
|
Ед. изм.
|
Кол-во
|
|
1
|
Число шпуров на цикл
|
шт
|
32
|
|
2
|
Диаметр шпура
|
мм
|
42
|
|
3
|
Общая длина шпуров
|
м
|
59,6
|
|
4
|
Средняя длина шпура
|
м
|
1,8
|
|
5
|
КИШ
|
|
0,85
|
|
6
|
Подвигания забоя на цикл
|
м
|
1,53
|
|
7
|
Объем отбитой горной массы
за взрыв
|
м3
|
13,2
|
|
8
|
Расход СВ на цикл:
|
|
|
|
Электродетонатор
|
шт
|
32
|
|
провод
|
м
|
50
|
|
9
|
Расход ВВ на цикл
|
кг
|
37,2
|
|
10
|
Удельный расход шпурометров
|
м/м3
|
4,52
|
|
11
|
Удельный расход ВВ
|
кг/м3
|
2,82
|
Общая длина шпуров
м
Удельный
расход шпуров на 1м3 горной массы
м/м3
удельный
расход ВВ на 1м3 горной массы
кг/м3
.5.4 Расчет параметров вентиляции
Согласно
ЕПБ количество воздуха, необходимого для проветривания тупиковой выработки,
должно рассчитываться по наибольшему числу работающих в забое, по пыли, газом
взрывных работ, а также по минимальной скорости движения воздуха, причем к
учету принимается наибольшие количества воздуха, полученное по указанным
факторам.
1. Количества воздуха по числу работающих в забое
м3/сек ,
(2.13)
где
6 м3/мин - норма воздуха на одного человека.
2. Количество воздуха, необходимого для проветривания от ядовитых газов
после взрывных работ
м3/сек
(2.14)
где
t - расчетное время проветривания; мин;
A -
одновременный расход ВВ, кг;
S - сечения
выработки, м2;
l - длина
тупиковой части выработки, м;
b - газовость ВВ,
40л/кг.
3. По спец. фактору (выделение радона)
сп. = 0,52 [ D · W / (1 - Eпр)] 0,5, (2.15)
где D -- дебит спец.газа, кБк/с;
D = 8 W ·C,
где W - объем пустот, W = 4,95 м3;р - - среднее содержание радона, Cр =
0,18.
D = 8
· 4,95 · 0,18 = 7,1 кБк/с;
Eпр - проектная
загрязненность воздуха, Eпр =
0,3.
Qсп. =
0,52 [ 7,1 · 4,95 / (1 - 0,3)] 0,5 = 3,7 м3/с.
4. Количество воздуха по пылевому фактору
, (2.16)
где
a - расстояния от груди забоя до конца вентиляционного
воздуха м;
l - длина
выработки, м;
N0 - начальная
концентрация пыли в зоне отброса продуктов взрыва

мг/м3;
вх - запыленность входящей вентиляционной струи, мг/м3;
Nд -
предельно допустимая концентрация пыли, мг/м3;
qт -
коэффициент пылеподавления орошением;
p -
коэффициент утечек воздуха.
м3/сек
5. Необходимое количество воздуха для проветривания выработки по
минимальной скорости струи
м3/сек,
(2.17)
где
Umin - допустимая минимальная скорость движения воздуха по
выносу пыли, м/сек.
м3/сек
Аэродинамическое
сопротивление трубопровода
, (2.18)
где
- коэффициент аэродинамического сопротивления, Па/с2×м4;
Lтр -
длина трубопровода, м;
dтр -
диаметр трубопровода, м;
H×с2/м4
скорость
движения воздуха в трубопроводе
м/сек.
(2.19)
статистическое
давление:
Па (2.20)
По полученным результатам выбираем вентилятор местного проветривания
ВМ-5М и нагнетательный способ проветривания. Вентиляционный трубопровод из
текстовинита имеет диаметр 600 мм.
2.5.5 Выбор и расчет анкерной крепи
Квершлаг проводится в породах средней устойчивости, практика показывает,
что анкерная крепь является достаточно эффективным средством поддержания
выработок.
Для данных условий применяем железобетонные штанги на кровле выработки,
сталь периодического профиля диаметром d=16…18мм. Штанги устанавливаются перпендикулярно плоскости
напластования пород не позднее 10 суток после окончания проходки.
Расчетные данные железобетонного анкера: расчетное сопротивление по СниП
- 21 - 75 - Rр =360мПа; коэффициент работы - m = 0,9; бетон - М 400.
Расчетная несущая способность стержня анкера на разрыв, кН:
кН (2.21)
Несущая
способность стержня при закреплении в бетон, кН:
, (2.22)
где
- удельная сцепление стержня;
Rc - поправочный
коэффициент на длину заделки;
m - коэффициент
условий работ замка;
кН.
Дальнейший
расчет ведется по наименьшей способности анкера
кН,
длина анкера
мм.
Определяем
площадь расстановки анкеров:
, (2.23)
где
nн - коэффициент перегрузки.
шт/м2
Расстояние
между анкерами в кровле:
м
Принимаем
крепление по сетке: а = 1,0 x 1,0 м. Для бурения шпуров под анкер принимаем
перфораторы ПТ - 38, для заполнения шпуров бетоном используется
пневмонагнетатель ПН - 1.
2.5.6 Расчет графика организации работ в забое
Проходческие работы в штреке производят по цикличной организации труда. В
состав проходческого цикла входят следующие производственные процессы:
навеска вентиляционных труб - 1,53 м;
погрузка породы ППН-3 в вагонетку ВГ-4М - V=13,2 м3;
бурение шпуров под анкера перфоратором ПТ-38 - 1,2м ∙6шт =7,2 м;
крепление штрека анкерами - 6 шт;
настилка временного рельсового пути - 1,53 м;
проведение водоотливной канавки 0,2 м3;
бурение шпуров в забое установками ЛКР-1У Σl=59,6 м;
заряжание, монтаж электровзрывной цепи и взрывание - 43 м.
В общем виде выражение для расчета трудоемкости производственного процесса
(qi) выглядит следующим образом
= Vi / Hi выp ,
(2.24)
где Vi - объем работ по I - тому процессу;
Hi выp - норма выработки на выполнение
процесса по ЕНВ-85.
Продолжительность выполнения I - того производственного процесса (ti), ч определяют по выражению
= qi · Tсм / писп., (2.25)
где Tсм - продолжительность смены, ч;
писп - количество исполнителей, чел.
Производим расчет трудоемкости по операциям:
. расчет трудоемкости на навеску вент. трубопрповода
вен =
Vi / Hвенвыp = 1,53 / 120,6 = 0,02 чел.-см.
2. расчет трудоемкости на погрузку породы
пог = Vi / Hпвыp =
13,2 /42,6 = 0,31 см.
. расчет трудоемкости на бурение шпуров под анкера перфораторами ПТ-38
бур1 =
Vi / Hбур1выp = 7,2 /37,4 = 0,19 чел.-см.
4. расчет трудоемкости на крепление анкерами
кр = Vi
/ Hкрвыp = 6 / 64,5 = 0,09 чел.-см.
. расчет трудоемкости на настилку временного пути
рел =
Vi /Hрвыp = 1,53 / 14,9 = 0,11 чел.-см.
. расчет трудоемкости на проведение водоотливной канавки
кан =
Vi / Hканвыp = 0,2 / 3,05 = 0,07 чел.-см.
. расчет трудоемкости на бурение шпуров в забое
бур =
Vi / Hбурвыp = 59,6 /51,6 = 1,16 чел.-см.
. расчет трудоемкости на заряжание и взрывание шпуров
зар =
Vi / Hзарвыp = 43 /206 = 0,21 чел.-см.
Общая трудоемкость работ в цикле
Σq = qвен+ qпог+ qбур1+ qкр+ qрел+ qкан+ qбур+ qзар,,
Σq = 0,02+ 0,31+ 0,19+ 0,09+ 0,11+
0,07+1,16+0,21=2,16 чел.-см.
Коэффициент выполнения нормы k= Σq/Nраб=2,16/2=1,08
Производим расчет времени на проходческие операции:
. расчет времени на навеску вент. трубопровода
вен = qвен · Tсм / k∙ писп. = 0,02 · 7 / 1,08∙1 = 0,12 ч.
. расчет времени на погрузку породы
пог = qпог · Tсм / k∙ писп. = 0,31 · 7 /1,08∙ 1 = 2,0 ч.
. расчет времени на бурение шпуров под анкера перфораторами ПТ-38
бур1 =
qбур1 · Tсм / k∙ писп. =0,19· 7 / 1,08∙2 = 0,62 ч.
. расчет времени на крепление анкерами
кр = qкр · Tсм / k∙ писп. = 0,09 · 7 /1,08∙ 2 = 0,29 ч.
. расчет времени на настилку временного пути
рел = qрел · Tсм / k∙ писп. = 0,11 · 7 /1,08∙ 2 = 0,36 ч.
. расчет времени на проведение водоотливной канавки
. расчет времени на бурение шпуров в забое
tбур =
qбур · Tсм / k∙
писп. = 1,16 · 7 / 1,08∙2 = 3,76 ч.
8. расчет времени на заряжание и взрывание шпуров
зар = qзар · Tсм / k∙ писп. = 0,21 · 7 /1,08∙ 2 = 0,65 ч.
Общие время цикла
ΣТ = tвен+ tпог+ tбур1+ tкр+ tрел+ tкан+ tбур+ tвзар,,
ΣТ = 0,12+ 2,0+ 1,24+ 0,58+ 0,36+
0,23+3,76+0,65= 8,94 ч.
График организации работ представлен в таблице 2.4. Процессы по погрузке
пород и креплению условно совмещены по времени (на предприятии допускается
отставание анкерной крепи от зобоя до 20м, поэтому процессы крепления выполняют
в одну из смен через 7 циклов).
|
№
|
Наименование процессов
|
Ед. изм
|
Объем работ
|
Норма выработки
|
Трудоемкость, чел.смен
|
Кол-во рабочих
|
Продолжительность ,час
|
Смена, час
|
|
|
|
|
|
|
|
|
1
|
2
|
3
|
4
|
5
|
6
|
7
|
Перерыв
|
|
1
|
Погрузка горной массы
|
м3
|
13,2
|
42,6
|
0,31
|
2
|
2,0
|
|
|
|
|
|
|
|
|
|
2
|
Навеска вент.трубопр.
|
м
|
1,53
|
120,6
|
0,02
|
1
|
0,12
|
|
|
|
|
|
|
|
|
|
|
3
|
Бурение шпуров под анкер
|
м
|
7,2
|
37,4
|
0,19
|
1
|
1,24
|
|
|
|
|
|
|
|
|
|
|
|
4
|
Крепление ж/б анкерами
|
шт
|
6
|
64,5
|
0,09
|
1
|
0,58
|
|
|
|
|
|
|
|
|
|
|
|
5
|
Настилка рельсового пути
|
м
|
1,53
|
14,9
|
0,11
|
2
|
0,36
|
|
|
|
|
|
|
|
|
|
|
6
|
Проведение вод.канавки
|
м3
|
0,2
|
30,5
|
0,07
|
2
|
0,23
|
|
|
|
|
|
|
|
|
|
|
|
7
|
Бурение шпуров
|
м
|
59,6
|
51,6
|
1,16
|
2
|
3,76
|
|
|
|
|
|
|
|
|
|
|
|
8
|
Заряжание и взрывание
|
м
|
43
|
206
|
0,21
|
2
|
0,65
|
|
|
|
|
|
|
|
|
|
|
9
|
Проветривание
|
|
|
|
|
|
0,5
|
|
|
|
|
|
|
|
|
|
|
|
|
|
|
|
|
|
|
|
|
|
|
|
|
|
|
|
|
|
|
|
Таблица 2.4. График организации работ в забое
2.5.6 Основные показатели проходки
квершлага
Месячная скорость проходки квершлага
м/мес
(2.26)
Производительность труда проходчика:
П=V / (N∙m∙n∙λ), (2.27)
где V- скорость проведения квершлага,
м/мес
N -
число проходчиков в звене;
m -
число рабочих дней в месяц;
n -
число смен в сутки;
λ - коэф. производительности труда;
П=105,6 / (2∙21∙3∙1,08)=0,78 п.м/чел-см или 6,67 м3/
чел-см.
2.5.7 Экономическая часть проведения квершлага
Таблица 2.5. Расчет комплексной нормы выработки и расценки на проходку
квершлага сечением 8,6 м² .
|
№
|
Виды работ, процесс
|
Объем работ на 1м
|
Норма выработки чел/смену
|
Норма времени чел/смен на 1
п.м
|
Разряд работы (по ТКС)
|
Тарифная ставка, р./чел
смену
|
Расценка р./1 м
|
|
1
|
Бурение шпуров, шп.м
|
39,0
|
51,6
|
0,75
|
VI
|
950,4
|
712,8
|
|
2
|
Заряжение и взрывание, шп.
м
|
28,1
|
206
|
0,4
|
VI
|
950,4
|
380,16
|
|
3
|
Погрузка, м³ машинист Рабочий
|
8,6
|
42,6
|
0,2
|
VI
|
910,4
|
182,08
|
|
4
|
Навеска вент.труб, п.м
|
1
|
120,6
|
0,01
|
V
|
910,4
|
9,104
|
|
5
|
Проходка канавки, м³
|
0,13
|
30,5
|
0,01
|
V
|
910,4
|
9,104
|
|
6
|
Настилка путей, п. м.
|
1
|
14,9
|
0,07
|
V
|
910,4
|
63,728
|
|
7
|
Бурение шпуров под анкера,
шп. м
|
4,7
|
37,4
|
0,3
|
VI
|
945,4
|
283,62
|
|
8
|
Крепление ж/б анкерами, шт
|
3,9
|
64,5
|
0,06
|
VI
|
945,4
|
56,724
|
|
Итого
|
|
|
|
|
|
1697,32
|
Таблица 2.6. Капитальные затраты и годовые амортизационные отчисления на
оборудование
|
Наименован. Оборудования
|
Оптовая цена, р.
|
Кол-во един.
|
Сумма, р.
|
Транспорт и монтаж, р. 20%
|
Полная стоимость, р.
|
Норма амортизации, %/год
|
Сумма годовой амортизации,
р.
|
|
ЛКР-1У
|
35860
|
2
|
71720
|
14344
|
86064
|
25
|
21516,00
|
|
ПП-54В
|
11200
|
2
|
22400
|
4480
|
26880
|
50
|
13440,00
|
|
ПТ-38
|
17500
|
2
|
35000
|
7000
|
42000
|
50
|
61000,00
|
|
ППН-3
|
265500
|
1
|
265500
|
53100
|
318600
|
25
|
79650,00
|
|
Вентилятор ВМ-5М
|
25000
|
1
|
25000
|
5000
|
30000
|
50
|
15000,00
|
|
Электровоз К - 10
|
540000
|
1
|
540000
|
108000
|
648000
|
14,3
|
152664,00
|
|
Вагоны ВГ-4М
|
78400
|
7
|
548800
|
109760
|
658560
|
22,8
|
350151,00
|
|
Итого
|
|
|
|
|
|
|
693421,00
|
Величина амортизационных отчислений, приходящихся 1 п.м рассчитывается по
формуле:
р
где
А год - сумма годовой амортизации оборудования, занятого на проходке выработки,
р.;
V - месячная
скорость проходки выработки, п.м.
Таблица 2.7. Расчет затрат на сжатый воздух
|
№, п/п
|
Наименование потребителей
|
Кол-во
|
Расход, м3/мин
|
Время работы, мин.
|
Общий расход, м3
|
Цена един., руб/м3
|
Затраты, руб
|
|
|
|
|
|
|
|
всего
|
на 1 п.м
|
|
1
|
ПТ-38
|
2
|
3,2
|
37,2
|
238,08
|
0,22
|
52,3
|
34,91
|
|
2
|
ЛКР-1У
|
2
|
3,8
|
225,6
|
1714,56
|
0,22
|
377,2
|
251,46
|
|
3
|
ППН-3
|
1
|
15
|
60
|
900
|
0,22
|
198
|
132
|
|
ИТОГО расходы на сжатый
воздух:
|
|
418,38
|
Таблица 2.8. Расчет затрат на электроэнергию
|
№, п/п
|
Наименование потребителей
|
Кол-во
|
Мощн., кВт
|
Общая мощн., кВт
|
Время работы, ч
|
Цена, р/кВт.ч.
|
Затраты, руб.
|
|
|
|
|
|
|
|
всего
|
на 1 п.м
|
|
1
|
Вент. ВМ-5М
|
1
|
24
|
24
|
8,0
|
0,75
|
144
|
96
|
|
2
|
Электровоз К - 10
|
1
|
66
|
66
|
1,0
|
0,75
|
49,5
|
33
|
|
ВСЕГО расходы на
электроэнергию:
|
|
129
|
Таблица 2.9. Калькуляция себестоимости проведения 1 п.м выработки.
|
№ п/п
|
Наименование статей расходов
|
Разряд
|
Ед. изм.
|
Кол-во единиц на 1 п.м
|
Стоим ед. р.
|
Сумма. р.
|
|
1
|
Зарплата
|
|
|
|
|
1697,32
|
|
Итого по тарифу Доплата за
ночное время (20 % от тарифа) Премия (20% от тарифа) Итого с ночными и
премией
|
|
|
|
|
1697,32 339,46 339,46
2376,25
|
|
Итого основная зарплата с
районным коэффициентом и северными надбавками (р.к.-80%) Дополнительная
зарплата (15-20 % от основной) Итого с дополнительной зарплатой Страховые
начисления (40% от осн. и доп. зар.платы.)
|
|
|
|
|
3734,1 746,82 448,92
1792,37
|
|
Всего зарплаты с начислениями
|
|
|
|
|
6273,29
|
|
2
|
Материалы: Буровая штанга
Коронка ВВ (аммонит 6ЖВ) провод Электродетонатор Вентиляционный рукав Шпалы
деревянные Рельсы Р33 Провод троллейный Итого
|
|
кг шт кг м шт м м3 кг м
|
3,4 1,44 24,3 32,6 20,9
1,0 0,17 66,0 1,0
|
58,05 180,00 18,50 1,80
1,20 200,10 1264,12 10,06 95,76
|
197,37 259,20 449,80 58,82
25,10 200,10 219,90 663,96 95,76 2170,01
|
|
Итого материалов (с учетом
транспортных расходов 20%)
|
|
|
|
|
2604,01
|
|
3
|
Энергия: Электроэнергия
Сжатый воздух
|
|
0,21 0,05
|
129 418,38
|
|
Итого энергии
|
|
|
|
|
547,38
|
|
4
|
Амортизационные отчисления
(по отдельному расчету)
|
|
|
|
|
550,33
|
|
Итого прямых затрат
|
|
|
|
|
9975,01
|
|
5
|
Услуги вспомогательных
цехов 80%
|
|
|
|
|
7980,0
|
|
Итого основных затрат
|
|
|
|
|
17955,02
|
|
6
|
Накладные расходы 20%
|
|
|
|
|
3591,0
|
|
Всего расход на 1 м пог.
длины выработки
|
|
|
|
|
21546,02
|
2.6 Горно-подготовительные работы
Месторождения разрабатываются в основном, с применением систем разработки
горизонтальных слоев с твердеющей закладкой. Небольшой объем составляют
камерные системы разработки с твердеющей закладкой.
Очистные блоки имеют ортовую кольцевую подготовку. К
горно-подготовительным работам при сплошной слоевой системе разработки с
нисходящей выемкой слоев относится проведение на каждом основном горизонте
кольцевых откаточных штреков, откаточных ортов, блоковых восстающих,
рудоспусков, заездов на них, а также проходка вентиляционно-закладочных
восстающих. Кроме этого на каждом слое проходится слоевой орт.
К нарезным относятся выработки в границах рудных залежей: сбойки, заезды,
ниши, загрузо-разгрузочные камеры и т. п . Минимальный объем нарезных выработок
определяется параметрами радиуса разворота применяемого оборудования.
3. СПЕЦ. ЧАСТЬ: СОВЕРШЕНСТВОВАНИЕ ЗАКЛАДОЧНЫХ РАБОТ ПРИ ОТРАБОТКИ
СТРЕЛЬЦОВСКОГО МЕСТОРОЖДЕНИЯ
3.1 Технология приготовления твердеющей закладки и возведения
закладочного массива
В последнее время все большее применение находят
системы разработки с закладкой выработанного пространства. Это связано с
углублением горных работ и усложнением горно-геологических условий при
подземной разработке месторождений полезных ископаемых.
Систему закладкой выработанного пространства широко
применяют на уранодобывающем предприятии ОАО «ППГХО».
Правильный выбор составляющих закладочной смеси
оказывает существенное влияние на эффективность процесса образования твердеющих
(монолитных) массивов. Это связано как с технологическими, так и с
экономическими аспектами.
Выбор состава твердеющей смеси необходимо начинать с
установления пригодности местных материалов вблизи рудника, определения их
запасов в зависимости от необходимого объема закладки с учетом ожидаемого
дальнейшего их поступления, возможных способов добычи и доставки к месту
закладочных работ. На втором этапе необходимо проводить исследования
физико-механических свойств заполнителей, активности вяжущих веществ.
Рациональный состав закладки определяют опытным путем, изготовлением и
испытанием на прочность и транспортабельность образцов закладки различного
состава.
Состав твердеющего материала необходимо подбирать в
зависимости от требуемой прочности искусственного массива, принятого способа
доставки смеси, технологии возведения закладочного массива, интенсивности
схватывания вяжущего вещества и экономичности закладочных работ.
Достоинствами систем с твердеющей закладки являются:
· гибкость, позволяющая отрабатывать сложные по строению рудные
тела с минимальными потерями;
· Снижение потерь и разубоживания до 3 - 4%;
· создание безопасных условий труда при отработке неустойчивых
руд;
· снижение эммонации радона за счет изоляции выработанного
пространства твердеющей закладкой.
· полнота выемки, уменьшение потерь (как правило, в 3-4 раза),
разубоживание руды.
· Так же существует ряд основных
недостатков применения твердеющей закладки на руднике ОАО «ППГХО»:
· устаревшее оборудование на закладочном комплексе;
· значительный расход цемента;
· высокие трудозатраты на возведение закладочного массива и
деревянных перемычек;
· дефицит сухого зольного микронаполнителя;
· Замерзание закладочной смеси в трубопроводе в зимнее время;
· Смерзаемость ПГС в зимнее время;
· Расслоение бетонной смеси при транспортировании по
закладочному трубопроводу на большие расстояния, что приводит к последующему
разубоживанию руды и повышению опасности ведения горных работ;
· Недозаливы при закладке заходок;
Все эти недостатки приводят приводит к повышению себестоимости добычи
руды.
Центральный закладочный комплекс предназначен для подачи закладочной
смеси в выработанное пространство. В состав закладочного комплекса входят
четыре силосные башни ёмкостью по 250 т каждая, внутри помещения расходные
ёмкости по 50 т.
Состав закладочной смеси: цемент 120 кг; ПГС 1460 кг; вода 320 кг; зола
(для транспортабельности смеси) 839 кг. Подача ПГС регулируется шибером. ПГС
загружается в бункер-дозатор краном перегружателем с ковшом типа «Грейфер».
Смесь привозится с карьера ПГС и доставляется на приёмную площадку бульдозером
Т-330.
Управление процессами автоматизировано, контроль осуществляется
оператором, находящемся в ЦЗК. После смешивания компонентов в смесителе, закладочный
раствор транспортируется по трубам в шахту.
Для приготовления твердеющих смесей на руднике предусматривается
использование литого способа. При этом способе предлагается получать смесь
вяжущего активизатора, заполнения воды, близкому по составу к литому бетону,
позволяющую транспортировать ее по трубопроводам и размещать в выработанном
пространстве под определенным углом наклона за счет действия гравитационных сил
без принудительного уплотнения.
Шлаки со склада траншейного типа загружают при помощи бульдозера через
грохота в рабочие бункера, откуда подают вибропитателями на ленточный конвейер
и далее в шаровую мельницу. Из мельницы пульпа поступает в смеситель
непрерывного действия, туда же конвейером доставляют песок. Смесь доувлажняется
до подвижности 10-15 см. Количества песка и шлака, подаваемых конвейером
контролируется весами. Цемент (активная добавка) подают в смеситель из складов
также при помощи конвейера. После смешивания, готовый раствор поступает в
вертикальный вибросмеситель. Смесь проходя по грузонесущему органу,
представляющему из себя вертикальный шнек подвергается воздействию вибрации.
Амплитуда колебания рабочего органа составляет 0,6мм, частота колебаний 50 Гц.
Активизация смеси в вибросмесители повышает прочность образцов на 30%. После
этого готовый раствор поступает в воронку трубопровода проложенного в скважине.
Доставка закладки производится по трубопроводам, проложенным в скважинах.
Закладочная смесь движется самотечно за счет перепада абсолютных отметок начала
движения и место доставки смеси.
Закладочная смесь должна обеспечивать нормативную прочность закладки sн = 3,0 МПа. Технологическая схема
приготовления закладочной смеси представлена на рисунке 3.2.
Заполнение выработанного пространства закладочной
смесью осуществляется в две стадии. В первую закладочная смесь с нормативной
прочностью sн = 3,0 МПа
заполняет пространство на высоту «нижней» пачки в 1,0 м, во вторую стадию
закладочная смесь с прочностью sн = 1,0 МПа заполняет все остальное пространство. Применяемые составы смесей
на предприятии приведены в таблице 3.1.
Таблица 3.1. Применяемые составы смесей на
предприятии.
|
Объем закладки т.м3
|
Нормативная прочность МПа.
|
Расход материалов кг/ м3
|
|
|
ПЦ М400
|
Зола
|
ПГС
|
вода
|
|
150 т.м3
|
1,0
|
100
|
100
|
1590
|
320
|
|
150 т.м3
|
3,0
|
170
|
100
|
1530
|
320
|
|
150 т.м3
|
6,0
|
240
|
100
|
1470
|
320
|
Закладку заходок производят секциями, длина секции для
жестких и расслаивающихся смесей составляет 15 м. секции отделяются
изолирующими перемычками (Рис.3.1).
Рис.3.1. Закладочная перемычка.
Ри.3.2.Технологическая схема приготовления закладочной смеси ЦЗК.
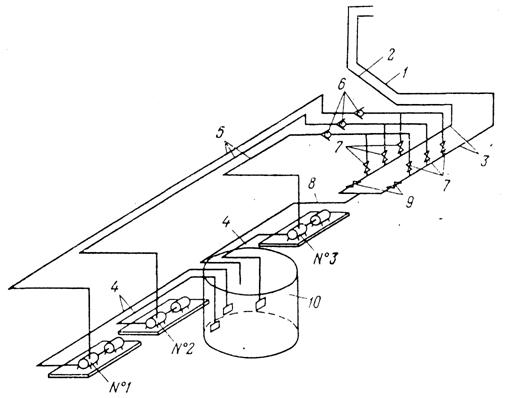
Погашение выработанного пространства на предприятии ОАО «ППГХО», в блоке
производится твердеющей закладкой по мере отработки слоевых заходок.
Закладку заходок производят секциями, длина секции для жестких и
расслаивающихся смесей составляет 15 м. секции отделяются изолирующими
деревянными перемычками.
Погашению подлежат все горизонтальные слоевые выработки, полнота закладки
выработанного пространства должна быть не менее 85% по объему. Закладочный
материал подается с закладочного комплекса который располагается на
поверхности, по трубопроводам через восстающие в закладочные орты и далее в
очистные заходки (Рис.3.1).
Контроль прочности твердеющей закладки осуществляется электрометрическими
датчиками контроля прочности, а также производятся испытания контрольных
образцов закладки на одноосное сжатие заформованных на закладочном комплексе.
Закладочный массив формируется твердеющей закладкой, так в стенках
закладочного массива, обнажаемых выработкой высотой до 3,5 м, нормативная
прочность закладки должна быть не менее 1,0 МПа. Необходимая нормативная
прочность закладки в кровле нижележащей очистной заходки при толщине
монолитного несущего слоя не менее 1,0 метра составляет 2.…3 МПа. Закладочный
массив выше несущего слоя +1.0 м формируется с нормативной прочностью не менее
1,0 МПа. Применяемая технология закладочных работ и составы закладочных смесей
должны обеспечивать однородность и монолитность закладочного массива.
Перед началом армирования и возведения закладочного массива почва
закладываемой выработки должна быть очищена от рудной мелочи, отходов леса и
мусора. Несущий слой армируется путем установки вертикальными рядами через 2 м
металлических крючьев длиной 1,5 м, количество крючьев в ряду не менее 2 штук.
На почву заходки укладывается металлическая сетка 50×3
мм поперек выработки с
нахлестом не менее 250 мм. Концы сетки на стенках выработки закрепляются с
помощью клиньев забиваемых в подбурки или на стойках гвоздями.
При производстве закладочных работ в очистных заходках
предусматривается применение деревянных изолирующих перемычек, устанавливаемых
в заходке на конце секции длиной 15 м. Контроль за закладкой осуществляется
через окна (лазы) в перемычке, которые закрываются при подходе к ним уровня
закладки. Несущий каркас перемычки выполняется из стоек D=150..200 мм и обшивается слоем досок
толщиной 40 мм. Уплотнение выполняется из мешковин или стеклоткани.
Закладка рядовой заходки 3,7×3,5
м выполняется в
следующем порядке:
в начале производят армирование массива вертикальными
металлическими крючьями и сеткой;
возведение изолирующей деревянной перемычки;
монтаж бетоновода;
закладка несущего слоя прочностью 2.…3 МПа.
закладка остальной части заходки с нормативной
прочностью 1 МПа.
3.2 Направление совершенствования технологии возведения закладочного
массива и приготовления составов твердеющих смесей
В связи с тем, что на «ОАО ППГХО» система разработки с нисходящей слоевой
выемкой и закладкой выработанного пространства обладает рядом основных
недостатков, такими как:
· устаревшее оборудование на закладочном комплексе;
· высокие трудозатраты на возведение закладочного массива и
деревянных перемычек;
· Замерзание закладочной смеси в трубопроводе в зимнее время;
· значительный расход цемента;
· дефицит сухого зольного микронаполнителя;
· Смерзаемость ПГС в зимнее время;
· Расслоение бетонной смеси при транспортировании по
закладочному трубопроводу на большие расстояния, что приводит к последующему
разубоживанию руды и повышению опасности ведения горных работ;
· Недозаливы при закладке заходок;
Предлагаются различные технологические совершенствования:
3.2.1 Современные закладочные комплексы
а). MEKAMIX-150 - стационарный, полностью автоматизированный бетонный
завод всесезонного исполнения (рис.3.3). Компактность, простота эксплуатации,
надежность. Высокая производительность, возможность задавать различные
характеристики изготавливаемому бетону, легкий процесс производства. И самое
главное, для обслуживания такого завода потребуется совсем немного
специалистов. Бетонный завод не требует большой площади, мощного фундамента и в
случае необходимости легко демонтируются и перемещаются на другие производственные
площадки. Верхняя кромка бункеров инертных не превышает 4 метров -
соответственно не нужен высокий пандус. При сборке установок практически не
применяется сварка, большинство деталей имеют болтовые крепления. Высокая
степень ремонтопригодности изделий и простота замены изнашивающихся деталей.
Элементы электроприводов, пневматики, механики расположены в легкодоступных
местах, замена любых деталей не требует подъемных механизмов. Установки
экономичны по энергозатратам.
|
Производительность закладочного
комплекса составляет
|
 .
|
|
Тип подачи инертных
материалов в смеситель
|
наклонный конвейер
|
|
Объем бетоносмесителя
сухой/уплотненный
|
6000/4000л.
|
|
Тип смесителя -
горизонтальный
|
2-вальный,
|
|
Бункеры для инертных
заполнителей
|
2 x (3 x 30) шт x м3.
|
|
Силосы для цемента
|
2 x 100 шт. x тн.
|
|
Дозатор инертных
заполнителей
|
0 - 6600кг.
|
|
Дозатор цемента
|
2000кг.
|
|
Дозатор воды
|
1200кг.
|
|
Дозатор жидких химических
добавок
|
0 - 20кг.
|
|
Установленная/потребляемая
мощность
|
265/185кВт.
|
|
Имеет два режима работы
|
автоматический и ручной
|
|
Эксплуатация при
температуре окружающей среды (°С)
|
30…+40
|
Обслуживающий персонал 4 человека. Стоимость завода составляет 8,5 млн.
рублей.
б). МЕКА GRAND MOBILE-100 - Полностью автоматизированный мобильный
бетонный завод (рис.3.4, рис.3.5). Транспортировка осуществляется 2-мя
седельными тягачами! Установка производится без фундамента.
В состав завода входят:
Двухвальный бетоносмеситель объемом 3000/2000 л, мобильные (на автошасси)
бункера инертных материалов 4 х 30 м. куб, скиповый подъемник,
автоматизированная система управления SIEMENS, дозаторы цемента, воды,
химдобавок и другое оборудование.
Время монтажа-запуска бетонного завода - 2 рабочие смены! Установка
смесительного блока осуществляется при помощи штатных гидравлических
подъемников без использования крана. В отличие от стандартных моделей
100-кубовых мобильных заводов принципиально новая, оригинальная конструкция
МЕКА GRAND MOBILE -100 позволяет реально обеспечить производство 100 м. куб
готовой смеси в час и исключает необходимость сооружения высокого пандуса для
загрузки бункеров инертных! Стоимость завода составляет примерно 6,7
млн.рублей.
Так же при использовании мобильного завода возможно избежать расслоение
бетонной смеси, путем уменьшения длинны трубопровода. В данное время длинна
трубопровода составляет 2000 м.
3.2.2 Закладочные перемычки
Т.к. возведение деревянных закладочных перемычек требует высокие
трудозатраты и ресурсы, предлагается изолирующих пневматическая перемычка
многоразового использования (Рис.3.6)
Горные выработки на рудниках «ОАО ППГХО» проходят, в основном,
буровзрывным способом, вследствие чего стенки выработок имеют неровную
поверхность. Для предупреждения проникновения закладки в горные выработки,
перед установкой перемычки, бока и почву выработки тщательно зачищают, а иногда
сооружают канавку длинной до 0,5 м по почве или по периметру. Это значительно
повышает трудоемкость возведения перемычек.
В настоящее время перемычки на предприятии изготавливают из дерева. При
этом процесс изготовления трудоемкий и требует длительного времени на её
установку. После затвердевания закладки перемычка, хотя уже и не нужна,
навсегда остается в месте её установки. В своей работе мы хотим предложить
пневматическую перемычку. Эта перемычка по сравнению с традиционной имеет ряд
существенных преимуществ. К ним относятся: многократность использования;
быстрота возведения и демонтажа; хорошая приспосабливаемость к неровностям
стенок выработки; универсальность конструкции.
Техническая характеристика: Сечение перекрываемой выработки, от 5 до 20
м2 Высота заливаемого слоя, 6м. Габаритные размеры мягких оболочек, диаметр
0,6м длина 2,5м. Масса мягкой оболочки, 17кг в том числе: Покрышки, 12кг
камеры, кг 5 Рабочее давление сжатого воздуха в мягких оболочках, 0,1 - 0,15
МПа. Поддержание давления сжатого воздуха в мягких оболочках автоматическое.
Пневматическая перемычка состоит: мягких оболочек 1, двух боковых 2 и
двух центральных 3 несущих стоек, соединенных между собой распорками 4,
воздухораспределительной стойки 5 и пневматической системы 6.
Мягкая оболочка 1 состоит из покрышки и камеры со штуцером. Покрышка и
камера имеют цилиндрическую форму со сферическими торцами. Покрышка
изготавливается из тканого капронового рукава типа СТН, а камера из полиэстера.
Несущие стойки 2 и 3 - металлические, винтовые. Распорки 4 также металлические,
винтовые. Пневматическая система 6 предназначена для заполнения мягких оболочек
сжатым воздухом и автоматического поддержания в них заданного давления. Она
представляет собой воздухораспределительную стойку со штуцерами, к которым
подсоединяется воздухопроводный шланг, второй конец которого соединяется с
пневмосистемой оболочки. Посредине стойки установлен редуктор давления. Мягкие
оболочки раскрепляются в горной выработке на несущих стойках 2 и 3, а
противостоит давлению закладки сжатый воздух, заключенный в оболочках. При
плотности закладочной смеси, ориентировочно, 2 т/м3, и высоте заливки 5 м
давление сжатого воздуха в мягких оболочках должно составлять 0,1 МПа. При
увеличении высоты заливки закладочной смесью давление сжатого воздуха в
оболочках будет постепенно увеличиваться. Для контроля давления сжатого воздуха
в пневмосистеме предусмотрен манометр.
Предотвращение замерзания закладочной смеси в трубопроводе в зимнее время
Для предотвращения замерзания закладочной смеси предлагается:
а). Греющий кабель Thermopads.
Саморегулирующийся греющий кабель Thermopads типа FPC-SR- это ленточный
электрический нагреватель с параллельными проводниками. Саморегулирующий кабель
для обогрева труб, позволяет в каждом индивидуальном случае эффективно и с
минимальными расходами обеспечить поддержание и разогрев до необходимой
температуры трубопроводов, продуктопроводов, нефтепроводов, емкостей или
резервуаров. Благодаря уникальному свойству - саморегулированию, термокабель
выделяет больше или меньше тепла в зависимости от температуры окружающей среды,
тем самым экономит электроэнергию, не перегревается и не перегорает. Недостаток
греющего кабеля Thermopads состоит в не большом расстоянии подогрева.
б). «Скин-система».
В Скин-системе применяются специальные нагревательные элементы,
использующие явление Скин-эффекта (эффекта близости) в проводниках из
ферромагнитных материалов на переменном токе промышленной частоты (50 Гц).
Оптимальный способ подогрева трубопроводов длиной более от 2…6 км.
Меньшие капитальные затраты относительно других систем обогрева
трубопроводов. Даже при длине 2…6 км стоимость Скин-систем остается вполне
сравнимой с другими способами подогрева (резистивные или саморегулирующиеся
нагревательные кабели).
Большой срок службы - не менее 25 лет. Это связано с тем, что
скин-проводник большого сечения разгружен от функции тепловыделения и выполняет
фактически функцию встроенной сопроводительной сети электропитания.
Металлическая труба при правильной обработке и обустройстве заземления также
весьма долговечна, поскольку находится под слоем теплоизоляции и защитной
оболочкой трубопровода. Прочные тепловыделяющие элементы в виде стальных труб
обеспечивают механическую прочность и защиту токонесущих проводников от
повреждений.
Электро- и взрывобезопасность. Наружная поверхность тепловыделяющего
элемента (скин-трубки) имеет нулевой потенциал относительно земли, она
заземлена, полностью экранирует и защищает находящийся внутри токонесущий
скин-проводник. Соответствующее исполнение соединений и конструкции протяжных и
соединительных коробок также обеспечивает безопасность.
Хороший тепловой контакт. Металлический тепловыделяющий элемент
(скин-трубка) непосредственно приваривается к магистральному трубопроводу или
прикрепляется к нему с помощью специальных элементов. Для улучшения
теплопередачи между обогреваемой трубой и скин-трубкой используется специальная
теплопроводящая паста.
Симметрирование токов. В системе питания применяется устройство питания
одно-, двухфазных индукционно-резистивных нагрузок, обеспечивающее симметрию в
первичной трехфазной сети. Применение данного устройства позволяет решить
проблему так называемого "перекоса фаз" (неравномерного распределения
токов по фазам). "Перекос фаз" является основным недостатком всех
одно-, двухфазных скин-систем, смонтированных до настоящего времени.
Простота монтажа. Тепловыделяющие элементы не имеют наружной
электрической изоляции, которую можно повредить при монтаже.
Проводник имеет двойную изоляцию из прочных термостойких материалов.
Для дополнительной защиты проводника в СКИН-трубку протягивается
гофрированная полимерная трубка, при этом также уменьшается и усилие на
протаскивание проводника. В таблице 3.2 указана стоимость комплектующих
необходимых для подогрева труб длинной в 2000м в условиях Краснокаменска.
Таблица 3.2.
|
№
|
Наименование
|
Обозначение
|
Ед. изм.
|
Кол-во
|
Цена, руб.
|
Стоимость, руб.
|
|
1
|
Саморегулирующаяся
электрическая нагревательная лента
|
80ВТХ-2ВР
|
м.
|
2100
|
1 057,28
|
2220288
|
|
2
|
Комплект для соединения
|
CP-7
|
шт.
|
20
|
850,78
|
17015,60
|
|
3
|
Коробка соединительная
|
РТВ 602-1П/2П
|
шт.
|
2
|
4 337
|
8675.20
|
|
4
|
Шкаф управления
|
ШУ-ССТ
|
шт.
|
5
|
275 000
|
1375000
|
|
5
|
Регулятор температуры
электронный
|
РТ-400
|
шт.
|
1
|
6 210.16
|
6 210,16
|
|
6
|
Термопреобраэователь
|
ТС1388
|
шт.
|
4
|
1 750.00
|
7 000.00
|
|
7
|
Коробка соединительная
|
РТВ 404-1П/2П
|
шт.
|
4
|
2 709,48
|
10 837,92
|
|
8
|
Этикетка: Внимание
электрообогрев
|
|
шт.
|
600
|
15,00
|
9 000.00
|
|
9
|
Лента крепежная
|
FT/HTM
|
шт.
|
12
|
526,87
|
6 322.44
|
|
10
|
Устройство для ввода кабеля
под теплоизоляцию
|
LEK/U
|
шт.
|
50
|
244.26
|
12 213.00
|
|
11
|
Комплект
|
TKR
|
шт.
|
45
|
281.43
|
12 664,35
|
Итого комплектующие по спецификации: 3 685 226,67.
В том числе НДС 18%: 562 153,22
3.2.4 Способы повышения эффективности
закладочных смесей
Добыча руды данной системой ведется с высокой себестоимостью, так как
затраты на закладку выработанного пространства составляют до 45 % от общих
затрат на ведение очистных работ, это связано с тем что, для приготовления
закладочной смеси необходимо большое количество цемента. Поэтому существует
несколько способов по уменьшению использования цемента без потери качества
закладочной смеси.
а). Магнитная активация воды.
Компания ЗАО «МАКСМИР-М» предлагает аппарат УПОВС-2 для активации воды. В
магнитном активаторе на обрабатываемую воду действует совокупное сочетание
нескольких физических факторов: магнитного, электрического полей, а также, при
необходимости, и ультразвукового поля. В аппарате используется не просто
суммирование эффектов действия указанных полей, а дополнение и усиление
действия одного фактора другим. Например, ультразвук значительно усиливает
действие магнитного поля, удаляя из воды СО2, защищает электроды
электроактиватора от пассивирующего действия растворенных в воде газов.
Электрическое поле способно в широких, а главное в необходимых, пределах
изменять физико-химические свойства воды, насыщая ее ионами металлов и тем
самым ускоряя и усиливая процессы кристаллизации и активации ,с сохранением
новых приобретенных водой свойств на несколько суток.
Поскольку в процессе твердения цемента, определяющими физико-химическими
процессами являются растворение и кристаллизация в водной среде, а именно эти
процессы могут значительно активироваться в воде, прошедшей обработку в
аппаратах, то, естественно, в результате получаем интенсификацию самого
процесса твердения и созревания бетонного камня.
Эффект от использования активатора.
Применение инновационной технологии затворения цемента омагниченной водой
обеспечивает:
· повышение прочности изделий до 30-45%;
· сокращение расхода цемента на 10-15% и воды на 15-25%;
· сокращение времени тепловой обработки изделий на 20-30%, что
приводит к значительной экономии электроэнергии;
· снижение (вплоть до полного отказа) расхода пластификаторов
(дорогостоящие и токсичные добавки);
· повышение морозостойкости бетонов и их устойчивости к
действию химических реагентов;
· возрастание морозостойкости;
· уменьшение пористости;
· значительное снижение газопроницаемости;
· повышение пластичности;
· улучшение удобоукладываемости;
· уменьшение размеров цементных гранул, с образованием
мелкозернистой структуры;
· увеличение удельной поверхности твердой фазы.
Использование данного метода возможно практически на любой воде. Кроме
того, существует возможность осуществлять экспресс контроль за степенью активации
воды затворения.
б). Для уменьшения расхода цемента предлагаются использование различного
вида химических добавок (пластификаторов).
При укладке бетонных смесей сегодня в большинстве случаев используют
пластификаторы для бетона. Использование пластификаторов - необходимая мера,
которая позволяет значительно улучшить реологические свойства бетонной смеси и
физико-механические показатели самого бетона. Различные пластифицирующие
добавки позволяют контролировать качество бетона на всех стадиях производства.
Так же использование пластификаторов является достаточно действенным методом
борьбы с расходом цемента. На 15-25% можно снизить расход цемента при
использовании новейших добавок таких как:
Полипласт СП-1Л - представляет собой нафталинформальдегидный
суперпластификатор с оптимизированным молекулярно-весовым распределением для
бетонов и строительных растворов. Применение добавки ПОЛИПЛАСТ СП-1Л позволяет
достичь следующих показателей:
· Улучшить смачивание и равномерность диспергирования цемента;
· Улучшить удобоукладываемость бетонной смеси без снижения
прочности бетона в нормируемые сроки;
· За счет водопонижения повысить раннюю прочность,
водонепроницаемость и долговечность бетона или снизить расход цемента при
неизменных характеристиках бетона;
· Сократить трудозатраты и энергозатраты при укладке бетона и
формовании изделий;
· Снизить количество воды затворения;
Суперпластификатор Полипласт СП-1Л не содержит хлоридов и может
применяться при изготовлении армированных и предварительно напряженных железобетонных
конструкций.
Полипласт СП-2ВУ - суперпластификатор на основе
полиметиленнафталинсульфоната натрия и водоудерживающего компонента.
Применение добавки ПОЛИПЛАСТ СП-2ВУ позволяет достичь следующих
показателей:
· Улучшить смачивание и равномерность диспергирования цемента;
· Уменьшить расслаиваемость бетонной и растворной смеси;
· Улучшить удобоукладываемость бетонной смеси без снижения
прочности бетона в нормируемые сроки;
· За счет водопонижения повысить раннюю прочность,
водонепроницаемость и долговечность бетона или снизить расход цемента при
неизменных характеристиках бетона;
· Сократить трудозатраты и энергозатраты при укладке бетона и
формовании изделий;
· Снизить количество воды затворения.
Суперпластификатор Полипласт СП-2ВУ не содержит хлоридов и может
применяться при изготовлении армированных и предварительно напряженных
железобетонных конструкций.
«ПОЛИПЛАСТ ЛЮКС» - это нафталинформальдегидный суперпластификатор,
модифицированный добавлением регуляторов структурообразования.
Суперпластификатор «ПОЛИПЛАСТ ЛЮКС» в низких дозировках используется при
производстве сборного железобетона и обеспечивает:
· увеличение подвижности бетонной смеси;
· снижение водопотребности бетонной смеси до 15%;
· повышение ранней прочности бетона;
· сокращение трудозатрат на вибрирование;
· сокращение энергозатрат на тепло-влажностную обработку;
· увеличение сцепления бетона с закладной арматурой.
· Суперпластификатор «ПОЛИПЛАСТ ЛЮКС» в высоких дозировках
используется для производства товарного бетона и обеспечивает:
· увеличение подвижности бетонной смеси;
· увеличение сохраняемости подвижности бетонной смеси до 120
минут;
· снижение водопотребности бетонной смеси до 25%;
· повышение ранней прочности бетона за счет водопонижения;
· сокращение трудозатрат на вибрирование.
Суперпластификатор «ПОЛИПЛАСТ ЛЮКС» не содержит хлоридов и может
применяться при изготовлении стальных и предварительно напряженных
железобетонных конструкций.
в). Увеличение сухого зольного микронаполнителя.
Закупка золы Харанорской ГРЭС, позволит подавать составы твердеющих
смесей с расходом 240 кг/м3. С уменьшением расхода цемента на 30кг. Так же
использование Харанорской золы избавит предприятие от дефицита сухого зольного
микронаполнителя. Стоимость золы Харанорской ГРЭС с транспортировкой составляет
375р/т.
3.3 Совершенствование технологии приготовления и оптимизации состава
закладочной смеси
Проанализировав предлагаемые решения проблем связанных с ведением
закладочных работ на предприятии, можно сделать вывод, что некоторые технологии
можно применить при разработке Стрельцовского месторождения, так же при
использовании этих технологий будет лучший экономический эффект. Повысить
производительность и снизить себестоимость добычи по нашему мнению можно путём
применения нового закладочного комплекса для приготовления бетонной смеси,
уменьшения расхода цемента, путем закупки сухого зольного микронаполнителя с
Харанорской ГРЭС. Так же уменьшить расход цемента используя активацию воды.
3.3.1 Замена закладочного комплекса
Мы рассмотрели предлагаемые заводами закладочные комплексы, комплекс
MEKAMIX-150 который представлен на (рис.3.3), удовлетворяет всем требованиям,
для того, что бы его можно было использовать для приготовления твердеющей
закладочной смеси на уранодобывающем предприятии «ОАО ППГХО». Закладочный
комплекс MEKAMIX-150 выпускает фирма "Мека Engineering Industry Co
Ltd" (г. Анкара, Турция) - это одного из ведущих мировых производителей
стационарных, передвижных и мобильных всесезонных бетоносмесительных установок.
MEKAMIX-150
- это стационарный, полностью автоматизированный бетонный завод всесезонного
исполнения. Завод компактен, прост в эксплуатации и надежен. Обладает высокой
производительностью до 
. Также
возможно задавать различные характеристики изготавливаемому бетону, легкий
процесс производства. И самое главное, для обслуживания такого завода
потребуется всего 4 специалиста. Бетонный завод не требует большой площади
(рис3.8), мощного фундамента и в случае необходимости возможно легко
демонтировать и переместить на другую производственную площадку. Завод обладает
небольшими размерами, верхняя кромка бункеров инертных не превышает 4 метров,
соответственно не нужен высокий пандус. При сборке установок практически не
применяется сварка, большинство деталей имеют болтовые крепления. Высокая
степень ремонтопригодности изделий и простота замены изнашивающихся деталей.
Элементы электроприводов, пневматики, механики расположены в легкодоступных
местах, замена любых деталей не требует подъемных механизмов.
|
Производительность
закладочного комплекса составляет
|
 .
|
|
Тип подачи инертных
материалов в смеситель
|
наклонный конвейер
|
|
Объем бетоносмесителя
сухой/уплотненный
|
6000/4000л.
|
|
Тип смесителя -
горизонтальный
|
2-вальный,
|
|
Бункеры для инертных
заполнителей
|
2 x (3 x 30) шт x м3.
|
|
Силосы для цемента
|
2 x 100 шт. x тн.
|
|
Дозатор инертных
заполнителей
|
0 - 6600кг.
|
|
Дозатор цемента
|
2000кг.
|
|
Дозатор воды
|
1200кг.
|
|
Дозатор жидких химических
добавок
|
0 - 20кг.
|
|
Установленная/потребляемая
мощность
|
265/185кВт.
|
|
Имеет два режима работы
|
автоматический и ручной
|
|
Эксплуатация при
температуре окружающей среды (°С)
|
30…+40
|
Технологическая схема приготовления закладочной смеси представлена на
рисунке 3.7. Эксплуатация завода возможна при температурах окружающей среды
от-30 до +40°С, что удовлетворяет климату г.Краснокаменск. Стоимость завода
составляет 4,7 млн.рублей.
Рисунок 3.7 Технологическая схема приготовления закладочной смеси
предлагаемого комплекса.
Рис.3.8. Схема размещения завода на пром. площадке.
Таблица 3.3. Базовые составы твердеющей закладки.
|
Объем закладки т.м3
|
Нормативная прочность МПа.
|
Расход материалов кг/м3
|
|
|
ПЦ М400
|
Зола
|
ПГС
|
вода
|
|
150 т.м3
|
1,0
|
100
|
100
|
320
|
|
150 т.м3
|
3,0
|
170
|
100
|
1530
|
320
|
|
150 т.м3
|
6,0
|
240
|
100
|
1470
|
320
|
. Необходимый объем закладочной смеси
м3/год
(3.1)
где Аг - годовая производительность рудника, т/год;
Кнд - коэффициент неравномерности добычи;
Ку - коэффициент усадки твердеющей закладки;
р -
плотность руды, т/м3.
Производительность закладочного комплекса составит:
м3/год
Часовая производительность закладочного комплекса
м3/час
(3.2)
где
nд - число рабочих дней в году;
nсм - число смен
в сутки;
Тсм
- продолжительность смены, ч.;
Тпз
- продолжительность подготовительно-заключительных операций, ч.
2. Расчет доставки закладочного материала по трубопроводам.
Диаметр трубопровода находим по формуле
мм (3.3)
где
Un - скорость движения пульпы в трубопроводе, м/сек.
При
транспортировке твердеющей закладки оптимальные значения Un =
0,5...0,7 м/сек;
При
меньших значениях возможна закупорка трубопровода, при больших - резкое
увеличение сопротивления движению пульпы.
По
результатам расчетов принимаем трубы из полиэтилена, d = 230 мм.
3. Максимальная протяженность горизонтального участка самотечного
транспортирования, м
, (3.4)
где
Кзп - коэффициент заполнения закладкой вертикального ствола трубопровода;
Н
- высота вертикального ствола, м;
ρпп - плотность пульпы, т/м3.
т/м3
(3.5)
ΔР - удельное сопротивление 1м трубопровода, ГПа;
h - остаточный
напор на выходе струи из трубопровода, м;
-
суммарные потери напора в коленах и закруглениях, м.
где
n1 n2 - число колен в трубопроводе с углом поворота,
соответственно 90˚ и 45˚;
l1 , l2 -
эквивалентная длина одного колена при угле поворота, соответственно 90˚ и
45˚.
м.
м
Истинная
длина горизонтального участка трубопровода находится в пределах 2000 м.
3.3.2 Повышение эффективности закладочных смесей
Для решения проблемы недостатка сухого зольного микронаполнителя было
предложено закупать золу с Харанорской ГРЭС. «ВНИПИпромтехнологии» по программе
«АТОМРЕДМЕТЗОЛОТО» была разработана ТЭО по применению микронаполнителя
закладочной смеси Харанорской ГРЭС.
При введении в эксплуатацию на Харанорской ГРЭС узла сухого
пылеулавливания, возможна утилизация золы 120тыс. тн. золы в год.
Использование
золы Харанорской ГРЭС позволит подавать составы твердеющих смесей с расходом
золы 240 
.
Согласно
СТП 0106-087-2002 «Твердеющая закладка. Требования к закладочным материалам.
Составы закладочных смесей» при расходе золы 240 кг/м3 возможно снижение
расхода цемента на 30 кг/м3.
3.3.3 Обоснование составов
закладочных смесей с добавлением золы Харанорской ГРЭС
Произведём расчет необходимого расхода веществ в
составе 1 м3 закладки с применение золы Харанорской ГРЭС, а также определим
соотношение для закладочной смеси с прочностью s = 3,0 МПа по формулам:
Цель: Снижение содержания цемента для уменьшения
себестоимости закладки.
, (3.8)
где Qц - расход цемента на 1 м3 по
базовому составу, кг;
Qц2 -
расход цемента на 1 м3 по составу с добавкой, кг;
К - уменьшение расхода цемента при введении золы (30%), д.ед.
Расход добавки на 1 м3 смеси
, (3.9)
где С - дозировка золы, (120) % от массы цемента, д.ед.
Расчет для смесей с добавкой золы находится по системе уравнений:
(3.10)
Qц2 , Qз , Qп и В - расход цемента, золы, ПГС и
воды, кг/м3;
ρц , ρв , ρп и ρз - плотность цемента, воды, ПГС и
золы, кг/м3.
b3 -
водоудерживающая способность заполнителя 0,35 т/т.
b3 -
водоудерживающая способность ПГС 0,14 т/т.
НГ - нормальная густота цементного теста, (для цемента М400 НГ=25 %),
доли единицы;
; (3.11)
, (3.12)
А - общий расход тонких, кг/м3.
Расчет для твердеющей смеси прочностью 3,0 МПа
Расход цемента на 1 м3.
кг/м3;
Расход
золы на 1 м3 смеси
кг/м3;
;
кг/м3;
кг/м3;
кг,м3
Следовательно
соотношение Ц:З:П:В=1:1,2:9,5:1,8.
Производим
проверку по методу абсолютных объёмов:
Расчет нормативной прочности для sн = 1,0 МПа и sн = 6,0 МПа, производится аналогично
по формулам, конечные результаты приведены в таблице 3.4.
Таблица 3.4. Предлагаемые составы смесей с использованием золы
Харанорской ГРЭС .
|
Объем закладки т.м3
|
Нормативная прочность МПа.
|
Расход материалов кг/ м3
|
|
|
ПЦ М400
|
Зола
|
ПГС
|
вода
|
|
150 т.м3
|
1,0
|
80
|
240
|
1455
|
310
|
|
150 т.м3
|
3,0
|
140
|
240
|
1410
|
310
|
|
150 т.м3
|
6,0
|
210
|
240
|
1345
|
310
|
Технико-экономическое обоснование:
При годовом объеме закладки 609900 м3 экономия цемента составит:
900 м3 х 0,03 = 18 297 тн., или
297 тн. х 3680 руб. = 67 332 960 руб.
Затраты на приобретение и транспортировку недостающего количества золы
Харанорской ГРЭС составит:
500 тн. х 375 руб./тн. = 34 312 500 руб.
где 375 руб./тн. стоимость золы Харанорской ГРЭС с транспортировкой,
500 тн. - необходимое количество золы Харанорской ГРЭС.
Экономический эффект от применения золы Харанорской ГРЭС составит:
332 960 руб. - 34 312 500 руб. = 33 020 460 руб.,
где 34 312 500 руб. - затраты на приобретение и транспортировку золы
Харанорской ГРЭС
332 960 руб. - экономия цемента при использовании золы Харанорской ГРЭС.
б). Также для уменьшения количества цемента нами предлагается
использование магнитного активатора воды аппаратом УПОВС-2 «МАКСМИР». С помощью
этого активатора возможно сокращение использования цемента и воды на 5%. В
аппарате УПОВС-2 на обрабатываемую воду действует совокупное сочетание
нескольких физических факторов: магнитного, электрического полей, а также, при
необходимости и ультразвукового поля. В данном аппарате используется не просто
суммирование эффектов действия указанных полей, а дополнение и усиление
действия одного фактора другим. Ультразвук значительно усиливает действие
магнитного поля, удаляя из воды СО2, защищает электроды электроактиватора от
пассивирующего действия растворенных в воде газов. Электрическое поле способно
в широких, а главное в необходимых, пределах изменять физико-химические
свойства воды, насыщая ее ионами металлов и тем самым ускоряя и усиливая
процессы кристаллизации и активации , с сохранением новых приобретенных водой
свойств на несколько суток. Поскольку в процессе твердения цемента,
определяющими физико-химическими процессами являются растворение и
кристаллизация в водной среде, а именно эти процессы могут значительно
активироваться в воде, прошедшей обработку в аппаратах, то, естественно, в
результате получаем интенсификацию самого процесса твердения и созревания
бетонного камня.
3.3.4 Обоснование составов закладочных смесей с активацией воды
Цель: Снижение содержания цемента для уменьшения
себестоимости закладки. С помощью активатора возможно сокращение использования
цемента и воды на 5%.
Произведем расчет для твердеющей смеси с применением
активатора воды:
,
где
Qц - расход цемента на 1 м3 по базовому составу, кг;
Qц2 - расход
цемента на 1 м3 по составу с добавкой, кг;
К
- уменьшение расхода цемента при активации воды (5%), д.ед.
Расход
добавки на 1 м3 смеси:
,
где
С -1,7 %
Расчет
для смесей с активацией воды находится по системе уравнений:
ц2 , Qз , Qп и В - расход цемента, золы, ПГС и
воды, кг/м3;
ρц , ρв , ρп и ρз - плотность цемента, воды, ПГС и
золы, кг/м3.
b3 -
водоудерживающая способность заполнителя 0,35 т/т.
b3 -
водоудерживающая способность ПГС 0,14 т/т.
НГ - нормальная густота цементного теста, (для цемента М400 НГ=25 %),
доли единицы;
;
,
А
- общий расход тонких, кг/м3.
Расчет
для твердеющей смеси прочностью 3,0 МПа
Расход
цемента на 1 м3:
кг/м3;
Расход
золы на 1 м3 смеси
кг/м3;
;
кг/м3;
кг/м3;
кг,м3
Следовательно
соотношение Ц:З:П:В=1:1,7:9,5:1,8.
Производим
проверку по методу абсолютных объёмов:
Для твердеющих смеси прочностью 1 и 6,0 МПа, расчет производится по
аналогичной схеме.
Таблица 3.5. Предлагаемые составы смесей с использованием золы
Харанорской ГРЭС и активацией воды.
|
Объем закладки т.м3
|
Нормативная прочность МПа.
|
Расход материалов кг/ м3
|
|
|
ПЦ М400
|
Зола
|
ПГС
|
вода
|
|
150 т.м3
|
1,0
|
73
|
240
|
1467
|
300
|
|
150 т.м3
|
3,0
|
133
|
240
|
1427
|
300
|
|
150 т.м3
|
6,0
|
203
|
240
|
1357
|
300
|
Таблица3.6 Сравнение предлагаемых составов смесей с базовыми
|
Нормативная прочность МПа.
|
|
Расход материалов кг/ м3
|
|
|
ПЦ М400
|
ПЦ М400
|
ПЦ М400
|
ПЦ М400
|
|
1,0
|
Базовая
|
100
|
100
|
1590
|
320
|
|
Зола Х-ГРЭС
|
80
|
240
|
1455
|
310
|
|
Актив-я.
|
73
|
240
|
1467
|
300
|
|
3,0
|
Базовая
|
170
|
100
|
1530
|
320
|
|
Зола Х-ГРЭС
|
140
|
240
|
1410
|
310
|
|
Актив-я.
|
133
|
240
|
1427
|
300
|
|
6,0
|
Базовая
|
240
|
100
|
1470
|
320
|
|
Зола Х-ГРЭС
|
210
|
240
|
1345
|
310
|
|
Актив-я.
|
203
|
240
|
1357
|
300
|
Технико-экономическое обоснование активации воды:
Использование активированной воды позволит подавать составы закладочных
смесей с возможностью снижения расхода цемента и воды на 7%, с требуемыми
прочностями согласно СТП 0106-087-2002 «Твердеющая закладка. Требования к
закладочным материалам.
При годовом объеме закладки 609900 м3 экономия цемента составит:
900 м3 х 0,007 = 4269тн., или
тн. х 3680 руб. = 15 709 920 руб.
Затраты на приобретение оборудования для активации воды с
транспортировкой составят 1 118 000 рублей
Экономический эффект от активации воды составит:
709 920 руб. - 1 118 000 руб. = 15 598 120 руб.,
где 1 118 000 руб. - затраты на приобретение оборудования для активации
воды с транспортировкой.
709 920 руб. - экономия цемента после активации воды.
Общий экономический эффект с добавлением золы Харанорской ГРЭС и
активацией воды составит:
332 960 руб. + 15 709 920 руб. = 84 042 880 руб.,
где 15 709 920 руб. - экономия цемента после активации воды.
332 960 руб. - экономия цемента при использовании золы Харанорской ГРЭС.
3.3.5 Экономическая часть
Расчет затрат базового закладочного комплекса и закладочных смесей
Таблица 3.7. Расчет затрат заработной платы на 1м3.
|
№
|
Наименование статей
расходов
|
Кол-во. чел/смен
|
Разряд работы (по ТКС)
|
объем закладочных работ
1м3/смен.
|
Время работы ч
|
Тарифная ставка, р/ч
|
Расценка р./1м3
|
|
1
|
Электрослесарь
|
1
|
VI
|
583
|
7
|
96
|
1,1
|
|
2
|
Оператор
|
3
|
V
|
583
|
7
|
84,5
|
3,1
|
|
3
|
Бульдозерист
|
1
|
VI
|
583
|
7
|
85,4
|
1
|
|
4
|
Механик
|
1
|
VI
|
583
|
7
|
91,7
|
1,1
|
|
Итого:
|
6,3
|
Таблица 3.8 Годовые отчисления на ремонт оборудования применяемого на
ЦЗК.
|
Наименован. оборудования
|
Оптовая цена, р.
|
Кол-во един.
|
Сумма, р.
|
Отчисления на рем-т. %/год
|
Сумма годовой амортизации,
на 1т
|
|
Бункер мелкой фракции
|
75000
|
1
|
75000
|
0,2
|
1500
|
|
Двери ВЦ-11-1
|
6000
|
1
|
6000
|
0,3
|
150
|
|
Дробилка КМД - 1750
|
810150
|
1
|
810150
|
5,3
|
32406
|
|
Дозатор цемента
|
15800
|
1
|
15800
|
4,2
|
663,6
|
|
итого
|
|
|
|
|
34 719
|
Величина отчислений на ремонт оборудования приходящихся на 1 т
вычисляется по формуле:
р/
(3.12)
где
А год - сумма годовой амортизации оборудования, занятого на закладочном
комплексе, р.;
Qгод - годовая
производительность рудника , т.
Таблица 3.9. Расчет затрат на сжатый воздух
|
№,
|
Наименование
|
Кол-во.
|
Расход,
|
Время работы, мин.
|
Общий расход, м3
|
Цена един., руб/м3
|
Затраты, руб
|
|
п/п
|
потребителей
|
|
м3/мин
|
|
|
|
|
|
|
|
|
|
|
|
смен.
|
На 1 м3
|
|
1
|
Пневмоэжекторы
|
1
|
240
|
3120
|
0,22
|
655,2
|
1,12
|
|
2
|
Насос НВП-63 - 2
|
4
|
2
|
240
|
1920
|
0,22
|
403,2
|
0,69
|
|
ИТОГО расходы на сжатый
воздух:
|
1058,4
|
1,81
|
Таблица 3.10. Расчет затрат на электроэнергию
|
№, п/п
|
Наименование потребителей
|
Кол-во
|
Мощн., кВт
|
Общая мощн., кВт
|
Время работы, ч
|
Цена, р/кВт.ч.
|
Затраты, руб.
|
|
|
|
|
|
|
|
смен.
|
На 1м3
|
|
1
|
Насос НВП-63 - 2
|
4
|
10
|
40
|
4
|
0,76
|
121,6
|
0,20858
|
|
2
|
Смеситель
|
1
|
100
|
100
|
7
|
0,76
|
532
|
0,91
|
|
3
|
Главный конвейер
|
1
|
50
|
50
|
7
|
0,76
|
266
|
0,45
|
|
4
|
Дозатор цемента
|
1
|
20
|
20
|
7
|
0,76
|
106,4
|
0,18
|
|
5
|
Дозатор золы
|
1
|
20
|
20
|
7
|
0,76
|
106,4
|
0,18
|
|
6
|
Питатель ПГС
|
1
|
24
|
24
|
7
|
0,76
|
127,68
|
0,21
|
|
7
|
Вентилятор
|
1
|
40
|
40
|
7
|
0,76
|
212,8
|
0,36
|
|
ВСЕГО расходы на
электроэнергию:
|
1472,88
|
2,52
|
Таблица 3.11. Калькуляция себестоимости закладки на 1м3 по базовому
варианту.
|
№
|
Наименование статей
расходов
|
Разряд
|
Ед. изм.
|
Кол-во единиц на 1м3
|
Часов в смену
|
Стоим руб/м3
|
Сумма на 1м3
|
|
1
|
Зарплата:
|
|
|
|
|
|
|
|
Итого по тарифу
|
|
|
|
|
|
6,32
|
|
Доплата за ночное время (20
% от тарифа)
|
|
|
|
|
|
1,264
|
|
Премия (20% от тарифа)
|
|
|
|
|
|
1,264
|
|
Итого с ночными и премией
|
|
|
|
|
|
8,848
|
|
Итого основная зарплата с
районным коэффициентом и северными надбавками (р.к.-80%)
|
|
|
|
|
|
13,904
|
|
Дополнительная зарплата (20
% от основной)
|
|
|
|
|
|
2,7808
|
|
Итого с дополнительной
зарплатой
|
|
|
|
|
|
16,6848
|
|
Страховые начисления (40%
от осн. и доп. зар.платы.)
|
|
|
|
|
|
6,67392
|
|
Всего зарплаты с начислениями
|
|
|
|
|
|
23,3587
|
|
2
|
Материалы:
|
|
|
|
|
|
|
|
Цемент
|
|
кг
|
170
|
|
3,8
|
646
|
|
Зона - унос ТЭЦ
|
|
кг
|
100
|
|
0,34
|
34
|
|
Песчано - гравийная смесь
|
|
кг
|
1530
|
|
0,16
|
244,8
|
|
Вода
|
|
м3
|
320
|
|
0,3
|
96
|
|
Итого
|
|
|
|
|
|
1020,8
|
|
Итого материалов (с учетом
транспортных расходов 20%)
|
|
|
|
|
|
1224,96
|
|
Электроэнергия
|
|
кВт/м3
|
|
|
0,75
|
2,52
|
|
Сж.воздух
|
|
м3
|
|
|
0,05
|
1,81
|
|
4
|
Амортизационные отчисления
(по отдельному расчету)
|
|
|
|
|
|
0,053
|
|
Всего расход на закладку к
1 м3 руды
|
|
|
|
|
|
1253,98
|
Себестоимости закладки на 1т по базовому варианту находится по формуле:
руда месторождение вскрытие закладочный
р/т. (3.13)
где
- себестоимость закладки на 1т.;
p - плотность
закладки.
Расчет затрат при использовании нового закладочного комплекса и
предлагаемых смесей
Таблица 3.12. Капитальные затраты и годовые амортизационные отчисления
бетонный завод MEKAMIX-150.
|
Наименован оборудования.
|
Кол-во.
|
Сумма, р.
|
Транспорт и монтаж, р.
|
Полная стоимость, р.
|
Норма амортизации, %год
|
Сумма годовой амортизации,
р.
|
|
MEKAMIX-150
|
1
|
8 500 000
|
850 000
|
9 350 000
|
15
|
1 402 500
|
Величина амортизационных отчислений, приходящихся на 1т вычисляется по
формуле:
р/
.
где
А год - сумма годовой амортизации закладочного комплекса занятого на
закладочном комплексе, р.;
Qгод - годовая
производительность рудника, т.
Таблица 3.13. Расчет затрат заработной платы на 1м3
|
№
|
Наименование статей
расходов
|
Кол-во. чел/смену
|
Разряд работы (по ТКС)
|
объем закладочных работ м3
смену
|
Норма времени ч
|
Тарифная ставка, р./ч
|
Расценка р./1м3
|
|
1
|
Электрослесарь
|
1
|
VI
|
583
|
7
|
96
|
1,15
|
|
2
|
Оператор
|
1
|
V
|
583
|
7
|
84,5
|
1,01
|
|
3
|
Бульдозерист
|
1
|
VI
|
583
|
7
|
85,4
|
1,02
|
|
4
|
Механик
|
1
|
VI
|
583
|
7
|
91,7
|
1,10
|
|
Итого:
|
4,29
|
Таблица 3.14. Расчет затрат на сжатый воздух.
|
№,
|
Наименование
|
Кол-во.
|
Расход,
|
Время работы, мин.
|
Общий расход, м3
|
Цена един., руб/м3
|
Затраты, руб
|
|
п/п
|
потребителей
|
|
м3/мин
|
|
|
|
|
|
|
|
|
|
|
|
смен.
|
На 1 м3
|
|
1
|
Пневмоэжекторы
|
13
|
1
|
240
|
3120
|
0,22
|
655,2
|
1,12
|
|
2
|
Насос НВП-63 - 2
|
4
|
2
|
240
|
1920
|
0,22
|
403,2
|
0,69
|
|
ИТОГО расходы на сжатый
воздух:
|
1058,4
|
1,81
|
Таблица 3.15. Калькуляция себестоимости закладки на 1м3 с использованием
предлагаемого закладочного комплекса и применением предлагаемых составов
смесей.
|
№
|
Наименование статей
расходов
|
Разряд
|
Ед. изм..
|
Кол-во единиц на 1м3
|
Часов в смену
|
Стоим руб/м3
|
Сумма на 1м3
|
|
|
1
|
Зарплата:
|
|
|
|
|
|
|
|
|
Итого по тарифу
|
|
|
|
|
|
4,29
|
|
|
Доплата за ночное время (20
% от тарифа)
|
|
|
|
|
|
0,858
|
|
|
Премия (20% от тарифа)
|
|
|
|
|
|
0,858
|
|
|
Итого с ночными и премией
|
|
|
|
|
|
6,006
|
|
|
Итого основная зарплата с
районным коэффициентом и северными надбавками (р.к.-80%)
|
|
|
|
|
|
9,438
|
|
|
Дополнительная зарплата (20
% от основной)
|
|
|
|
|
|
1,8876
|
|
|
Итого с дополнительной
зарплатой
|
|
|
|
|
|
11,3256
|
|
|
Страховые начисления (40%
от осн. и доп. зар.платы.)
|
|
|
|
|
|
4,53024
|
|
|
Всего зарплаты с
начислениями
|
|
|
|
|
|
15,8558
|
|
|
2
|
Материалы:
|
|
|
|
|
|
|
|
|
Цемент
|
|
кг
|
140
|
|
3,8
|
532
|
|
|
Зона - унос ТЭЦ
|
|
кг
|
240
|
|
0,34
|
81,6
|
|
|
Песчано - гравийная смесь
|
|
кг
|
1410
|
|
0,16
|
225,6
|
|
|
Вода
|
|
м3
|
310
|
|
0,3
|
93
|
|
|
Итого
|
|
|
|
|
|
932,2
|
|
|
Итого материалов (с учетом
транспортных расходов 20%)
|
|
|
|
|
|
1118,64
|
|
|
Электроэнергия
|
|
кВт/м3
|
|
|
0,75
|
0,46
|
|
Сж.воздух
|
|
м3
|
|
|
0,05
|
1,81
|
|
4
|
Амортизационные отчисления
(по отдельному расчету)
|
|
|
|
|
|
2,15
|
|
Всего расход на закладку к
1 м3 руды
|
|
|
|
|
|
1138,92
|
|
|
|
|
|
|
|
|
|
|
Себестоимости закладки на 1т с использованием предлагаемого закладочного
комплекса и применением предлагаемых составов смесей находится по формуле:
р/т.
где
- себестоимость закладки на 1т.;
p - плотность
закладки.
Расчет затрат при использовании предлагаемых закладочных смесей
Таблица 3.16. Калькуляция себестоимости закладки на 1м3 с активацией
воды.
|
№
|
Наименование статей
расходов
|
Разряд
|
Ед. изм.
|
Кол-во единиц на 1 м3
|
Часов в смену
|
Стоим руб/ м3
|
Сумма на 1 м3
|
|
1
|
Зарплата:
|
|
|
|
|
|
4,29
|
|
Доплата за ночное время (20
% от тарифа)
|
|
|
|
|
|
0,858
|
|
Премия (20% от тарифа)
|
|
|
|
|
|
0,858
|
|
Итого с ночными и премией
|
|
|
|
|
|
6,006
|
|
Итого основная зарплата с
районным коэффициентом и северными надбавками (р.к.-80%)
|
|
|
|
|
|
9,438
|
|
Дополнительная зарплата (20
% от основной)
|
|
|
|
|
|
1,8876
|
|
Итого с дополнительной
зарплатой
|
|
|
|
|
|
11,3256
|
|
Страховые начисления (40%
от осн. и доп. зар.платы.)
|
|
|
|
|
|
4,53024
|
|
Всего зарплаты с
начислениями
|
|
|
|
|
|
15,8558
|
|
Материалы:
|
|
|
|
|
|
|
|
Цемент
|
|
кг
|
133
|
|
3,8
|
505,4
|
|
Зона - унос ТЭЦ
|
|
кг
|
240
|
|
0,34
|
81,6
|
|
Песчано - гравийная смесь
|
|
кг
|
1427
|
|
0,16
|
228,32
|
|
Вода
|
|
м3
|
300
|
|
0,3
|
90
|
|
Итого
|
|
|
|
|
|
905,32
|
|
Итого материалов (с учетом
транспортных расходов 20%)
|
|
|
|
|
|
1110,79
|
|
Электроэнергия
|
|
кВт/ м3
|
|
|
0,75
|
0,46
|
|
Сж.воздух
|
|
м3
|
|
|
0,05
|
1,81
|
|
Амортизационные отчисления
(по отдельному расчету)
|
|
|
|
|
|
2,15
|
|
Всего расход на закладку к
1м3 руды
|
|
|
|
|
|
1115,4
|
Себестоимости закладки на 1т находится по формуле:
р/т.
где
- себестоимость закладки на 1т.;
p - плотность
закладки.
Экономический
эффект рассчитывается по формуле:
руб.
(3.14)
руб. (3.15)
руб.
=84 038
121 руб.
Из расчетов видно, что применение зольного микронаполнителя Харанорской
ГРЭС и активации воды выгодно с экономической точки зрения.
3.4 Система разработки нисходящих горизонтальных слоев с твердеющей
закладкой
.4.1 Конструкция и параметры системы разработки
Система разработки имеет следующие параметры: высота блока - 60 м; длина
блока - 100 м; ширина блока - равна мощности рудной залежи; высота слоя - 3 м;
ширина заходок - при средней выемочной мощности прожилков 1,2 м рассчитывается
по габаритам применяемого оборудования с учетом контуров жилы и составит 2,55 м
с креплением НКР и 2,05 м без крепления; угол наклона заходок - 3…5 °.
Очистные блоки имеют ортовую кольцевую подготовку, блок готовится на
откаточном горизонте двумя полевыми штреками и центральным ортом. Горизонты
сбиваются блоковыми восстающими и рудоспусками.
Блок отрабатывают горизонтальными слоями, начиная с верхнего под защитой
искусственной кровли, которую для каждого очередного слоя образуют из
твердеющей закладки по мере выемки вышележащего слоя. Выемка первого слоя
блока, а также очистных заходок на других слоях, при несовпадении контуров
рудных тел отрабатываемого слоя с контурами вышележащего слоя производится под
естественной кровлей. Отработка запасов слоя производится одинарными заходками
высотой 3 м по обе стороны от разрезного слоевого орта. Зарезку слоя
осуществляют из рудоспуска или восстающего, или по уклону из слоевой выработки.
Очистные работы включают: отбойку рудного массива, уборку рудной массы в
рудоспуски, проветривание и крепление очистного пространства, выпуск и погрузку
рудной массы из рудоспусков, установку в отработанных заходках изолирующих
перемычек и заполнение выработанного пространства твердеющей закладкой.
Отработка слоевых заходок ведется буровзрывным способом, бурение шпуров
производится установками ЛКР-1У, а также буровыми каретками. Проветривание
заходок осуществляется вентиляторами местного проветривания ВМ-5 на один магистральный
трубопровод D=600 мм. Для доставки горной массы в
блоках используется погрузочно-доставочные машины. Крепление очистного
пространства в зависимости от прочности и структуры закладочного массива
осуществляется рамами НДО, подвесной крепью или контрольными стойками из
расчета 20 м2 обнажения кровли на стойку. Кроме того, предусматривается
армировка заходок перед закладкой с образованием подвесной крепи, связывающей
между собой все заложенные по вертикали заходки и укладкой металлической сетки на
почву выработки и ее креплении. Погашение выработанного пространства в блоке
производится твердеющей закладкой по мере отработки слоевых заходок. Закладку
заходок производят секциями, длина секции для жестких и расслаивающихся смесей
составляет 15 м (объем секции около 150…200 м3), секции отделяются изолирующими
перемычками. Погашению подлежат все горизонтальные слоевые выработки, полнота
закладки выработанного пространства должна быть не менее 85 % по объему.
Закладочный материал подается с закладочного комплекса на поверхности, по
трубопроводам через восстающие в закладочные орты и далее в очистные заходки.
Контроль прочности твердеющей закладки осуществляется электрометрическими
датчиками контроля прочности.
3.4.2 Выбор средств механизации основных и вспомогательных
производственных процессов очистной выемки
В целях снижения величины разубоживания и увеличения производительности и
механизации труда ГРОЗ принимаем для ведения очистных работ малогабаритную
самоходную технику.
Для бурения шпуров используем буровую каретку МИНИБУР 1ФЭ с
гидравлическим перфоратором НL 300
(фирмы TAMROCK).
Характеристика: МИНИБУР 1ФЭ
|
Площадь обуриваемого забоя,
м2 Число бурильных маши Перфоратор Стрела Податчик Тип ходовой части Привод
Радиус поворота Основные размеры в транспортном положении, мм: длина ширина
высота Масса, кг Диаметр шпуров , мм Глубина бурения шпуров ,м Скорость
передвижения, км/ч Преодолеваемый уклон, %
|
До 26 1 HL
300 B 14 NV NVTF
телескопический Колесно-шинный Электрический 5100/3400 8470
1200 1850 8000 45 3,5 3 30
|
Для погрузки горной массы в очистном забое и последующей ее доставки в
рудоспуск предусматривается применение погрузочно-транспортной машины ковшового
типа MICROSCOOP 100Е.
Характеристика: MICROSCOOP 100E
|
Габаритные размеры высота
ширина длина Емкость ковша, м3 Максимальная полезная нагрузка, кг Масса в
рабочем состоянии, кг Скорость движения передним и задним ходом км/ч
Электропитание, В Двигатель: 380 или 500-575 В / 50 Гц Двигатель:
440 В / 60 Гц
|
2100 1050 5030 0,54 1000
3650 От 0 до 8,5 Переменного тока, 380 или 440 Гидростатические и
гидравлические перемещения при откатке:30 кВт при 1450 об./мин
Гидростатические и гидравлические перемещения при откатке:30 кВт при 1780
об./мин
|
Выбор данной ПТМ обусловлен тем, что ее силовые установки и двигатель
хода, в отличие от других подобных дизельных ПТМ, приводятся в действие
электроэнергией.
Габариты очистного оборудования позволяют уменьшить ширину заходки до
В=2550 мм с креплением НКР при средней мощности прожилков 1200 мм, что приведет
к уменьшению разубоживания. Дальнейшее уменьшение ширины заходки может привести
к повышению потерь руды из-за наклона рудных тел. Сечение очистной заходки
составит Sчер= Н×В=3×2,55=7,65
м2.
Проветривание заходок осуществляется вентиляторами местного проветривания
ВМ-5М на один магистральный трубопровод D=600 мм.
При крепление очистных заходок деревянной крепью применяют пневмопилы
ПШЛ. Доставка материалов и оборудования на рабочий слой осуществляется через
материальные восстающие с помощью лебедки с пневмоприводом ЛПТ - 3,5.
3.4.2 Подсчет движения запасов руды в блоке
Подсчет запасов руды в блоке проводится на основании конструкции системы
разработки, приведенной на чертеже, все данные расчета приведены в табл. 3.11.
На основании табл. 3.11. рассчитывают следующие показатели:
коэффициент потерь руды в блоке:
%, (3.16)
где
Σ
П - суммарное количество потерянной руды
в блоке, т;
Б-
балансовые запасы руды в блоке, т.
коэффициент
разубоживания руды в блоке:
%, (3.17)
где
ΣВ - общее количество примешанной пустой породы, т;
И
- извлекаемые запасы руды в блоке, т.
коэффициент
подготовительных работ:
м/1000
т, (3.18)
где
ΣLп -
суммарная длина подготовительных выработок, м;
ТЭ
- эксплуатационные запасы руды в блоке, т.
коэффициент
линейных нарезных работ:
м/1000т,
где
ΣLн -
суммарная длина линейных нарезных выработок, м.
коэффициент
кубажных подготовительно-нарезных работ:
м3/1000т,
(3.19)
где
ΣV -
объем кубажных подготовительно-нарезных выработок, м3.
удельный
вес камерных запасов:

где
Тэк - эксплуатационные запасы камеры, т.
3.4.3 Расчет параметров БВР
В условиях разработки Стрельцовского месторождения применяется метод
шпуровых зарядов при одной свободной поверхности - на очистной выемке руды при
системе горизонтальные слои с закладкой. Чтобы свести до минимума нарушение
пород законтурного массива и прихват закладочного материала необходимо в
процессе бурения шпуров и взрывании в них зарядов обеспечить перераспределение
энергии взрыва в сторону второй свободной поверхности и в зависимости от
крепости разрушаемых пород исключить прихват законтурного массива зарядами ВВ
контурных шпуров.
Для проведения очистной заходки, площадь сечения которой Sчер=Н×В=3×2,55=7,65
м2, по породам
устойчивым и средней устойчивости с коэффициентом крепости ¦=14 по шкале проф. Протодьяконова для
производства взрывных работ выбираем взрывчатое вещество по скорости детонации
и теплоте взрыва.
|
Наименование выработок
|
Кол-во
|
Длина одной выработки, м
|
Сечение, м2
|
Общий объем , м3
|
Балансовые запасы, т
|
потери
|
Извлекаемые запасы, т
|
Разубоживание
|
Эксплуатационные запасы, т
|
|
|
По руде
|
По породе
|
общая
|
По руде
|
По породе
|
общая
|
По руде
|
По породе
|
общая
|
|
Кол-во, т
|
%
|
|
Кол-во, т
|
%
|
|
|
Подготовительные работы
|
|
Отк.штрек
|
2
|
-
|
100
|
100
|
-
|
8,6
|
8,6
|
-
|
1720
|
1720
|
|
|
|
|
|
|
|
|
Откат. орт
|
1
|
8,4
|
21,6
|
30
|
8,6
|
8,6
|
8,6
|
72,2
|
185,
|
258
|
180
|
5,4
|
3
|
174,6
|
9,0
|
5
|
183,6
|
|
Заклад. орт
|
2
|
8,4
|
6,6
|
15
|
8,6
|
8,6
|
8,6
|
144
|
113
|
258
|
360
|
10,8
|
3
|
359,2
|
18
|
5
|
367,2
|
|
Рудоспуск
|
2
|
-
|
60
|
60
|
-
|
2,5
|
2,5
|
-
|
300
|
300
|
|
|
|
|
|
|
|
|
Блоковые восстающие
|
2
|
-
|
60
|
60
|
-
|
6,2
|
6,2
|
-
|
744
|
744
|
|
|
|
|
|
|
|
|
Вент.заклад. восстающие
|
2
|
-
|
60
|
60
|
-
|
2,5
|
2,5
|
-
|
300
|
300
|
|
|
|
|
|
|
|
|
Наклон с-д.
|
1
|
-
|
288
|
288
|
-
|
8,0
|
8,0
|
-
|
2304
|
2304
|
|
|
|
|
|
|
|
|
всего
|
|
|
|
|
|
|
|
216
|
|
5884
|
540
|
16,2
|
3
|
523,8
|
27
|
5
|
550,8
|
|
Нарезные работы
|
|
Сл. дост.орт
|
19
|
8,4
|
11
|
20
|
8,2
|
8,2
|
8,2
|
1309
|
1807
|
3116
|
3274
|
98
|
3
|
3174
|
164
|
5
|
3338
|
|
Слоевой заклад. орт
|
38
|
8,4
|
11
|
20
|
8,2
|
8,2
|
8,2
|
2618
|
3614
|
6232
|
6546
|
196
|
3
|
6348
|
328
|
5
|
6676
|
|
всего
|
|
|
|
|
|
|
|
3927
|
|
9348
|
9820
|
294
|
3
|
9522
|
492
|
5
|
10014
|
|
Очистные работы
|
|
Заходки
|
|
|
|
|
3,6
|
4,0
|
7,6
|
46256
|
5203
|
9829
|
115640
|
5782
|
5
|
109858
|
6013
|
52
|
169990
|
|
Итого:
|
|
|
|
|
|
|
|
|
|
|
115640
|
5782
|
5
|
109858
|
6013
|
52
|
169990
|
|
Всего:
|
|
|
|
|
|
|
|
50400
|
|
|
126000
|
6092
|
5
|
119903
|
6065
|
50
|
180554
|
|
|
|
|
|
|
|
|
|
|
|
|
|
|
|
|
|
|
|
Таблица 3.11. Подсчет запасов руды в блоке.
Марка ВВ для разрушения пород в контуре горной выработки должна
соответствовать следующим параметрам:
Начальное детонационное давление, (Н/м2)
Рн = ( 0,00126 γпСп - 1,7 ∙103), (3.20)
где γп - плотность пород, кг/м3
Сп - скорость распространения продольных волн в массиве, м/с.
Рн = ( 0,00126∙2620∙5600 - 1,7 ∙103)=16786 Н/м2
Скорость детонации (м/с)
= 1450 [Рн / ρвв]0,5, (3.21)
где ρвв - плотность заряжания, кг/м3.
D =
1450 [16786 / 1250]0,5 = 5365 м/с
Теплота взрыва, (кДж/кг)
= [Pн / 2(n-1)ρвв] 103, (3.22)
где n - показатель адиабаты, зависящий от
начальной плотности ВВ, кг/м3.
Qv =
[16786/ 2 (3,2-1) 1250] 103 = 3050 кДж/кг
Из гранулированных ВВ наиболее подходит гранулит А-6, с характеристиками:
D = 4200 м/с при ρн = (0,8…0,85) г/см3; Qv = 4640 кДж/кг; работоспособность Р =
430 см3;
При плотности заряжания Δ3 = 1,2 г/см3 , нагнетательным
зарядчиком
ЗП-2 скорость детонации гранулита А-6 составит:
Dф =
4200 + 3500 (1,25 - 0,8) = 5600 м/с.
Выбираем глубину шпура по оптимальной глубине для выработки сечением Sчер=7,65 м2, и коэффициенте крепости ¦=14. Максимально возможная глубина
бурения кареткой lmax=2,5 м.
Удельный расход ВВ
кг/м3
(3.23)
где
q0 - удельный нормативный заряд ВВ, кг/м3;
Rз.п. -
коэффициент зажима пород,
;
с.п.
- коэффициент структуры пород;
е
- коэффициент относительной работоспособности,
Количество
ВВ на забой
кг (3.24)
Средняя
масса шпурового заряда
кг (3.25)
где
dз - диаметр заряда, мм;
Rзм. -
коэффициент заполнения шпура;
-
плотность ВВ в шпуре, кг/м3.
Количество
шпуров на забой
шп
(3.26)
Выбор
типа вруба и количества шпуров по группам: принимаем прямой призматический вруб
на 4 заряжаемых шпуров и 1 незаряжаемый шпур, отбойных - 8 шпуров, контурных
16. Итого 29 шпуров, из них 28 заряжаемых.
длина
шпуров оконтуривающих:
м;
длина
отбойных шпуров:
м;
длина
врубовых шпуров:
м.
Длина уходки за взрыв
м.
Расчет
ЛНС (линия наименьшего сопротивления), м
, (3.27)
где
d - диаметр шпура, м;
m - коэффициент
сближения зарядов.
м
Расстояние
между шпурами:
между
врубовыми шпурами
м
оконтуривающими
м;
отбойными
м.
Объем
породы, отбиваемой за один взрыв
м3
Распределения
ВВ по шпурам:
врубовых
кг
отбойным
кг
оконтуривающим
кг
Фактический
расход ВВ на взрыв
. (3.28)
кг
Общая
длина шпуров
м
Удельный
расход шпуров на 1м3 горной массы
м/м3
(3.29)
удельный расход ВВ на 1м3 горной массы
кг/м3
(3.30)
Таблица 3.17. Показатели БВР
|
№ п/п
|
Наименования показателей
|
Ед. изм.
|
Кол-во
|
|
1
|
Число шпуров на цикл
|
шт
|
28
|
|
2
|
Диаметр шпура
|
мм
|
42
|
|
3
|
Общая длина шпуров
|
м
|
59,0
|
|
4
|
Средняя длина шпура
|
м
|
2,0
|
|
5
|
КИШ
|
|
0,95
|
|
6
|
Подвигания забоя на цикл
|
м
|
1,90
|
|
7
|
Объем отбитой горной массы
за взрыв
|
м3
|
14,6
|
|
8
|
Расход СВ на цикл:
|
|
|
|
СИНВ Ш
|
шт
|
28
|
|
провод
|
м
|
100
|
|
9
|
Расход ВВ на цикл
|
кг
|
52,6
|
|
10
|
Удельный расход шпурометров
|
м/м3
|
4,06
|
|
11
|
Удельный расход ВВ
|
кг/м3
|
3,62
|
Способ взрывания с помощью СИНВ-Ш. Порядок инициирования - обратный.
3.4.4 Расчет погрузки и доставки руды
Определяем потребное количество доставочных машин в блоке по норме
выработке
м = Рсм/(Нвыр·γ )=100 / (59,2·2,5) =1 (3.31)
где Нвыр - норма выработки погрузочно-доставочной машины MICROSCOOP 100E, м3/см.
3.4.5 Расчет подержания выработанного
пространства
Необходимость крепления очистных заходок и слоевых ортов определяются по
геомеханическим условиям устойчивости. Основным горно-техническим фактором для
определения возможности и необходимости крепления очистной выработки является
необходимая устойчивость вертикального породного и рудного обнажения высотой не
менее 3,0 м.
В процессе ведения очистных работ извлекается наиболее раздробленная
рудная зона, поэтому геомеханические расчеты по устойчивости обнажений следует
вести исходя из положения, что породы кровли и бортов кровли и бортов выработки
относительно к первой группе трещиноватости, размер элементарного блока
отдельности которой составляет до 0,05 м.
Предельный размер горизонтального пролета обнажения
м. (3.32)
Допустимый
размер горизонтального пролета обнажения
м. (3.33)
При
фактической ширине заходки до 2,55 м - коэффициент запаса устойчивости будет
. (3.34)
Предельный
вертикальный пролет обнажения:
м.
Допустимый
вертикальный пролет обнажения:
м.
При
фактической проекции вертикального пролета обнажения, hфакт. в. = 3,0
м - коэффициент запаса устойчивости будет:
Крепления
очистных заходок при Куст.г ≥ 2 не требуется (при монолитной структуре
закладочного массива). Но так как массив является не однородным, с высокой
степенью трещиноватости принимаем установку рам НКР через 1,8 метра
3.4.6 График подготовки и нарезки блока
К горно-подготовительным работам при сплошной слоевой системе разработки
с нисходящей выемкой слоев относится проведение на каждом основном горизонте
кольцевых откаточных штреков, откаточных и закладочных ортов, блоковых восстающих,
рудоспусков, заездов на них, а также проходка вентиляционно-закладочных
восстающих. Кроме этого на каждом слое проходится слоевой и закладочные орты.
График подготовки и нарезки блока составляется на основе принятых средних
скоростей проведения выработок и представлен в табл. 3.18.
Таблица 3.18. График подготовки и нарезки блока.
|
Наименование выработки
|
Ед. изм.
|
Длина, м
|
Месячная ско- рость
проходки
|
Время проведения, мес
|
месяцы
|
|
|
|
|
|
1
|
2
|
3
|
4
|
5
|
6
|
7
|
8
|
9
|
10
|
|
Откаточный штрек
|
м
|
2×100
|
120
|
1,7
|
|
|
|
|
|
|
|
|
|
|
|
|
Откаточный орт
|
м
|
30
|
90
|
0,3
|
|
|
|
|
|
|
|
|
|
|
|
|
Закладочный орт
|
м
|
2×15
|
90
|
0,6
|
|
|
|
|
|
|
|
|
|
|
|
|
Блоковый восстающий
|
м
|
2×60
|
60
|
2,0
|
|
|
|
|
|
|
|
|
|
|
|
|
|
Заклад. восстающий
|
м
|
2×60
|
60
|
2,0
|
|
|
|
|
|
|
|
|
|
|
|
|
|
Рудоспуск (2 КВ)
|
м
|
2×60
|
80
|
1,5
|
|
|
|
|
|
|
|
|
|
|
|
|
Наклонный съезд
|
м
|
288
|
100
|
3,0
|
|
|
|
|
|
|
|
|
|
|
|
Слоевой доставочн. орт
|
м
|
30
|
90
|
0,3
|
|
|
|
|
|
|
|
|
|
|
|
|
Слоевой закладочн. орт
|
м
|
60
|
90
|
0,6
|
|
|
|
|
|
|
|
|
|
|
|
3.4.7 График организации
очистных работ в блоке
В
состав очистных работ рабочих забойной группы входит:
бурение
шпуров кареткой МИНИБУР 1ФЭ;
заряжание
зарядчиком ЗП-2 и взрывание;
доставка
горной массы из забоя MICROSCOOP 100Е;
навеска
вентиляционных труб;
подъем
инструментов, лесоматериалов и технологического оборудования на рабочий слой;
крепление
выработанного пространства НКР.
Трудоемкости
отдельных операций рассчитываю по формуле, чел.час:
, (3.31)
где
Vi - объем работ по отдельной операции;
Нвр.
i. - норма времени по отдельной операции, чел.час.
- трудоемкость бурения шпуров МИНИБУР 1ФЭ
чел. час
погрузка и доставка рудной массы MICROSCOOP 100Е
чел. час
подъем
материалов на слой
чел. час
крепление очистной заходки
чел. час
навеска вентиляционного рукава
чел. час
заряжания зарядчиком ЗП-2 и взрывания
чел. час
Трудоемкость
всех работ в цикле составит, чел. час
, (3.32)
ц=2,95+1,98+1,90+2,39+0,12+1,03=10,37
чел. час
В
связи с трудоемкостью цикла Nц=10,74 чел. час - выполняем 2 цикла в разных заходках
с совмещением операций, при Nц=3,06 чел. см. состав звена в смену 3 человека,
коэффициент перевыполнения нормы при совмещении операций принимаем Rн=1,0
Продолжительность
каждого процесса, ч:
, (3.33)
- навеска вентиляционного рукава
ч.
погрузка и доставка рудной массы MICROSCOOP 100Е
ч.
подъем
материалов на слой
ч.
крепление НКР
ч.
бурение шпуров МИНИБУР 1ФЭ
ч.
заряжение зарядчиком ЗП-2 и взрывание
ч.
Общие время цикла
ΣТ = tвен+ tпог + tмат + tкр + tбур+ tзар,,
ΣТ = 0,06+1,98+0,95+1,19+2,95+0,52=
7,65 ч.
По полученным результатам строим график организации работ в забое,
совмещая операции по времени в 2-х забоях, график показан в табл. 3.19.
|
Наименование процессов
|
Ед. изм
|
Объем работ
|
Норма времени
|
Трудоемкость, чел.час
|
Кол-во рабочих
|
Продолжительность ,час
|
Смены, час
|
|
|
|
|
|
|
|
|
8
|
9
|
10
|
11
|
12
|
13
|
14
|
перерыв
|
16
|
17
|
18
|
19
|
20
|
21
|
22
|
перерыв
|
|
1 забой
|
Бурение шпуров
|
м
|
59
|
0,05
|
2,95
|
1
|
2,95
|
|
|
|
|
|
|
|
|
|
|
|
|
|
|
|
|
|
|
|
Заряжание и взрывание
|
м
|
38,4
|
0,0268
|
01,03
|
2
|
0,52
|
|
|
|
|
|
|
|
|
|
|
|
|
|
|
|
|
|
|
|
Проветривание
|
|
|
|
|
|
0,5
|
|
|
|
|
|
|
|
|
|
|
|
|
|
|
|
|
|
|
|
Доставка руды
|
м3
|
14,6
|
0,136
|
1,98
|
1
|
1,98
|
|
|
|
|
|
|
|
|
|
|
|
|
|
|
|
|
|
Крепление НКР
|
рам
|
1
|
2,39
|
2,39
|
2
|
1,19
|
|
|
|
|
|
|
|
|
|
|
|
|
|
|
|
|
|
|
|
|
|
Навеска вент.трубопр.
|
м
|
1,9
|
0,058
|
0,12
|
2
|
0,06
|
|
|
|
|
|
|
|
|
|
|
|
|
|
|
|
|
|
|
|
Доставка материалов
|
м3
|
1,05
|
1,46
|
1,90
|
2
|
0,95
|
|
|
|
|
|
|
|
|
|
|
|
|
|
|
|
|
|
|
|
|
|
2 забой
|
Бурение шпуров
|
м
|
59
|
0,05
|
2,95
|
1
|
2,95
|
|
|
|
|
|
|
|
|
|
|
|
|
|
|
|
|
|
|
|
Заряжание и взрывание
|
м
|
38,4
|
0,0268
|
01,03
|
2
|
0,52
|
|
|
|
|
|
|
|
|
|
|
|
|
|
|
|
|
|
|
|
Проветривание
|
|
|
|
|
|
0,5
|
|
|
|
|
|
|
|
|
|
|
|
|
|
|
|
|
|
|
|
Доставка руды
|
м3
|
14,6
|
0,136
|
1,98
|
1
|
1,98
|
|
|
|
|
|
|
|
|
|
|
|
|
|
|
|
|
|
|
|
|
|
Крепление НКР
|
рам
|
1
|
2,39
|
2,39
|
2
|
1,19
|
|
|
|
|
|
|
|
|
|
|
|
|
|
|
|
|
|
|
|
|
|
Навеска вент.трубопр.
|
м
|
1,9
|
0,058
|
0,12
|
2
|
0,06
|
|
|
|
|
|
|
|
|
|
|
|
|
|
|
|
|
|
|
|
|
|
Доставка материалов
|
м3
|
1,05
|
1,46
|
1,90
|
2
|
0,95
|
|
|
|
|
|
|
|
|
|
|
|
|
|
|
|
|
|
|
|
|
|
|
|
|
|
|
|
|
|
|
|
|
|
|
|
|
|
|
|
|
|
|
|
|
|
|
|
|
|
|
|
|
|
|
|
|
|
|
|
|
|
|
|
|
|
|
|
Таблица 3.19. График организации очистных работ в блок
3.4.8 Расчет закладки выработанного пространства
Поддержание выработанного пространства при нисходящей слоевой системе с
твердеющей закладкой осуществляется закладкой очистных заходок твердеющей
смесью. Рядовые слои отрабатываются тупиковыми заходками шириной 2,55 м и
высотой 3,0, которые подлежат последующей закладке твердеющей смесью. Заходки в
слоях располагаются в шахматном порядке, что позволяет повысить устойчивость
искусственной кровли. Для обеспечения полноты закладки все заходки имеют уклон
3-5°.
Погашение выработанного пространства в блоке производится твердеющей
закладкой по мере отработки слоевых заходок. Закладку заходок производят
секциями, длина секции для жестких и расслаивающихся смесей составляет до 12,5
м (объем секции около 150…200 м3), секции отделяются изолирующими перемычками.
Погашение выработанного пространства в блоке производится твердеющей
закладкой по мере отработки слоевых заходок. Закладку заходок производят
секциями, длина секции для жестких и расслаивающихся смесей составляет до 12,5
м (объем секции около 150…200 м3), секции отделяются изолирующими перемычками.
Погашению подлежат все горизонтальные слоевые выработки, полнота закладки
выработанного пространства должна быть не менее 85 % по объему. Закладочный
материал подается с закладочного комплекса на поверхности, по трубопроводам
через восстающие в закладочные орты и далее в очистные заходки. Контроль
прочности твердеющей закладки осуществляется электрометрическими датчиками
контроля прочности.
Закладочный массив формируется твердеющей закладкой, так в стенках
закладочного массива, обнажаемых выработкой высотой до 3,0 м, нормативная
прочность закладки должна быть не менее 1,0 МПа. Необходимая нормативная
прочность закладки в кровле нижележащей очистной заходки при толщине
монолитного несущего слоя не менее 1,0 метра составляет 2.…3 МПа. Закладочный
массив выше несущего слоя +1.0 м формируется с нормативной прочностью не менее
1,0 МПа. Применяемая технология закладочных работ и составы закладочных смесей
должны обеспечивать однородность и монолитность закладочного массива.
Перед началом армирования и возведения закладочного массива почва
закладываемой выработки должна быть очищена от рудной мелочи, отходов леса и
мусора. Несущий слой армируется путем установки вертикальными рядами через 2 м
металлических крючьев длиной 1,5 м, количество крючьев в ряду не менее 2 штук.
На почву заходки укладывается металлическая сетка 50×3
мм поперек выработки с
нахлестом не менее 250 мм. Концы сетки на стенках выработки закрепляются с помощью
клиньев забиваемых в подбурки или на стойках гвоздями.
При производстве закладочных работ в очистных заходках
предусматривается применение деревянных изолирующих перемычек, устанавливаемых
в заходке на конце секции длиной 12,5 м. Контроль за закладкой осуществляется
через окна (лазы) в перемычке, которые закрываются при подходе к ним уровня
закладки. Несущий каркас перемычки выполняется из стоек D=150..200 мм и обшивается слоем досок
толщиной 40 мм. Уплотнение выполняется из мешковин или стеклоткани.
При производстве закладочных работ в очистных заходках
предусматривается применение деревянных изолирующих перемычек, устанавливаемых
в заходке на конце секции длиной 12,5 м. Контроль за закладкой осуществляется
через окна (лазы) в перемычке, которые закрываются при подходе к ним уровня
закладки. Несущий каркас перемычки выполняется из стоек D=150..200 мм и обшивается слоем досок
толщиной 40 мм. Уплотнение выполняется из мешковин или стеклоткани.
Закладка рядовой заходки 2,55×3,0
м выполняется в
следующем порядке:
в начале производят армирование массива вертикальными
металлическими крючьями и сеткой;
возведение изолирующей деревянной перемычки;
монтаж бетоновода;
закладка несущего слоя прочностью 2.…3 МПа.
закладка остальной части заходки с нормативной прочностью
1 МПа.
3.4.9 Расчет графика
организации закладочных работ
В основу расчета графика организации закладочных работ в заходке положено
определение времени на операции по нормам выработки.
Определяем продолжительность работ по закладке заходки
Sпр=7,65 м2 , при длине секции в
заходке Lср=12,5 м .
Время на производство армирования массива
вертикальными металлическими крючьями и сеткой звеном из 2-х человек
осуществляется в течении 2-х смен.
Время на возведение деревянной перемычки:
пер=Sпер/(Нвыр×Nраб)= 7,65/(5,9×2)=0,65смены=5,53 часа (3.34)
Время на монтаж бетоновода с наружным диаметром
трубопровода из полиэтилена 172 мм при толщине стенки 12 мм (внутренний диаметр
160 мм):
бет=(Lбет×Нвр)/Nраб= (25×0,761)/2=9,5 часа (3.35)
Время на закладку несущего слоя 1 м прочностью 2.…3
МПа:
слоя=V1слоя/(Sтруб×υсм)= 83/(0,02×0,7)=
5928 сек= 1,64 часа
(3.36)
где Vслоя
- объем закладки слоя высотой 2,6 м и прочностью 2…3 МПа.
слоя = Взах×h слоя
×Lзах=2,55×2,6×12,5=82,9
м3.
На основе
подсчитанных показателей строим график организации закладочных работ в
закладываемой секции заходки.
Таблица 3.20.
График организации закладочных работ в секции заходки.
|
№
|
Наименование работ
|
Ед.изм
|
Объем работ
|
Норма выработки (времени)
|
Время процесса, смен
|
смены
|
|
|
|
|
|
|
1
|
2
|
3
|
4
|
5
|
6
|
|
1
|
Армировка массива
|
м2
|
18
|
0,03
|
1,2
|
|
|
|
|
|
|
|
|
2
|
Монтаж бетоновода
|
м
|
25
|
0,761
|
1,36
|
|
|
|
|
|
|
|
|
|
3
|
Возведение деревянной
перемычки
|
м2
|
7,65
|
5,9
|
0,7
|
|
|
|
|
|
|
|
|
|
4
|
Закладка 1 слоя - 3 МПа
|
м3
|
45
|
|
0,3
|
|
|
|
|
|
|
|
|
|
|
|
|
|
|
|
|
|
|
|
|
|
|
|
|
Общие время на закладку секции в слоевой заходки Sпр=7,65 м2 , составит
Т= Tарм+Tбет +Tпер +Tслоя
=1,2+1,36+07+0,3=6,56 смен = 2,2 суток
Время на закладку заходки с учетом набора нормативной
прочности в течении 7 суток составит 9,2 суток..
3.4.10 Проветривание блока
Проветривание заходок осуществляется вентиляторами местного проветривания
на один магистральный трубопровод. В рассматриваемом блоке место установки
вентилятора - сопряжение откаточного орта с вентиляционно - ходовым восстающим.
Количества воздуха, необходимого для проветривания забоев очистных
заходок определяем по следующим факторам:
по наибольшему числу рабочих в забое
м3/с
(3.37)
где
Qнв- норма воздуха на одного человека, м3/мин;
n - максимальное
число рабочих в забое.
- по количеству ядовитых газов от взрывных работ:
м3/с,
(3.38)
где
t - расчетное время проветривания, мин;
S - площадь
сечения выработки, м2;
l - длина
тупиковой части выработки, м;
в
- газовость ВВ, л/кг;
А
- одновременный расход ВВ, кг.
- по спец. фактору (выделение радона)
3. = 0,52 [ D · W / (1 - Eпр)] 0,5, (3.39)
где D -- дебит спец.газа, кБк/с;
= 8 W ·C,
где W - объем пустот, W = 2,05 м3;р - - среднее содержание радона, Cр =
0,18.
D = 8
· 2,05 · 0,18 = 3 кБк/с;
Eпр -
проектная загрязненность воздуха, Eпр = 0,3.
Q3. =
0,52 [ 3 · 2,05 / (1 - 0,3)] 0,5 = 1,6 м3/с.
по пылевому фактору:
м2/с,
(3.40)
где
а - расстояние от груди забоя до конца вентиляционного рукава, м;
-
начальная концентрация пыли в зоне отброса продуктов взрыва, мг/м3;
Nвх -
запыленность входящей струи, мг/м3;
Nд - предельно
допустимая концентрация пыли, мг/м3;
gт - коэффициент
пылеподавления;
р
- коэффициент утечек воздуха.
по
минимальной скорости воздушной струи:
м3/с,
(3.41)
где
Umin - минимальная скорость воздушной струи, м/с.
Для
проветривания заходок принимаю наибольшее расчетное количество воздуха по
минимальной скорости воздушной струи Q4 = 1,9 м3/с.
Выбор
вентилятора местного проветривания.
Необходимая
подача воздуха вентилятором:
м3/с.
(3.42)
Напор
вентилятора:
Па
где
R - потеря напора, вызванная сопротивлением
трубопровода, H×с2/м4;
,
где
- коэффициент аэродинамического сопротивления, Па/с2×м4;
Lтр -
длина трубопровода, м;
dтр -
диаметр трубопровода, м;
H×с2/м4
Расчетным данным удовлетворяет вентилятор местного проветривания - ВМ-5М.
3.4.11 Основные меры безопасности по системе
разработки
1) Подготовительные и нарезные работы в блоке должны начинаться
только после окончания проходки необходимых откаточных выработок (штреков,
ортов) с наличием в них сквозного проветривания от общешахтной вентиляционной
струи.
2) При поочередном ведении очистных работ на подэтажах рудоспуски на
уровне верхнего подэтажа следует надежно перекрывать, а на нижнем отгораживать
от незаложенных выработок
) Прочность твердеющей закладки на сжатие в кровле нового слоя
перед его зарезкой должна быть не менее 1,5 МПа. При прочности менее 1,5 МПа
работы по зарезке должны вестись по специальному проекту утвержденному главным
инженером рудника.
) Очистные работы рядом с заложенными выработками должны производится
не ранее, чем через 7 суток после окончания подачи твердеющей смесей в них при
прочности закладочного массива не менее 0,5 МПа.
) Крепление всех горных выработок должно производится своевременно
и в соответствии с утвержденными для них паспортами на крепление и управление
кровлей.
) Места разгрузки горной массы должны быть оборудованы водяными
завесами.
3.4.12 Основные показатели системы
разработки
Время отработки заходки Sпр=7,65 м2 и длиной Lср=50 м составляет
Т= Lср/Lух=50/1,9=26,3 смен=8,8 суток
Общие время на закладку слоевой заходки Lср=50 м , длина закладываемых секций
12,5 м, количество секций в заходке n=4 и Sпр=7,65 м2 , составит
Тзах= Tсек·n=9,2 · 4= 36,8 суток
Принимая во внимание, что очистное оборудования работает одновременно на
2-х заходках производительность одного комплекта очистного оборудования
Рзах=36,5 т/см × 2 заходки = 73 т /смену.
Месячная производительность системы разработки определяется по формуле
Рмес=Рзах ∙Nр.зах
∙Nсм∙Nдн=36,5 ∙2 ∙3 ∙23=5037 т/мес, (3.43)
где Nр.зах - кол-во одновременно
отрабатываемых забоев;
Nдн -
число рабочих дней в месяц;
Nсм -
число смен в сутки;
Производительность труда ГРОЗ:
П= Рмес/(N ∙Nсм ∙Nдн
)=5037/ (3 ∙3 ∙23)= 24,3 т/чел.см или 9,7 м3/см(3.44)
где N - число ГРОЗ в смену (1 звено из 3
человек).
Время отработки блока:
при одном комплекте оборудования
месс =
2,8 лет (3.45)
при
2-х комплектах оборудования
года
Экономическая
часть расчета очистной добычи 1 т руды по системе НСВ
Таблица
3.21. Расчет комплексной нормы выработки и расценки на очистную добычу 1 т (1
м3).
|
№
|
Виды работ, процесс
|
Объем работ на 1м3
|
Норма времени чел.час на
ед.
|
Норма времени чел/смен на 1
м3
|
Разряд работы (по ТКС)
|
Тарифная ставка, р./чел смену
|
Расценка р./1 м3
|
|
1
|
Бурение, шп. м
|
4,0
|
0,05
|
0,02
|
VI
|
154,70
|
3
|
|
2
|
Заряжение и взрывание, шп.
м
|
2,6
|
0,0268
|
0,009
|
VI
|
154,70
|
1,3
|
|
3
|
Доставка руды, м³
|
1,0
|
0,136
|
0,017
|
VI
|
154,70
|
2,63
|
|
4
|
Доставка материалов,
|
0,07
|
1,46
|
0,015
|
V
|
140,70
|
2,11
|
|
5
|
Крепление НКР, м³
|
0,06
|
2,39
|
0,020
|
V
|
140,70
|
2,8
|
|
6
|
Навеска вент.труб, п.м
|
0,09
|
0,058
|
0,0007
|
V
|
140,70
|
0,1
|
|
7
|
Армировка массива,м2
|
0,33
|
0,03
|
0,001
|
V
|
140,70
|
0,14
|
|
8
|
Монтаж бетоновода, м
|
0,16
|
0,761
|
0,02
|
V
|
140,70
|
2,81
|
|
9
|
Возведение деревянной
перемычки, м2
|
0,06
|
5,6
|
0,05
|
V
|
140,70
|
7,04
|
|
10
|
Закладка секции, м3
|
1,0
|
|
0,002
|
V
|
140,70
|
0,28
|
|
Итого
|
|
|
|
|
|
22,21
|
Расценки на очистную добычу 1т руды по зар.плате:
р.
Таблица 3.22. Капитальные затраты и годовые амортизационные отчисления на
оборудование.
|
Наименован. оборудования
|
Оптовая цена, р.
|
Кол-во един.
|
Сумма, р.
|
Транспорт и монтаж, р. 20%
|
Полная стоимость, р.
|
Норма амортизации, %/год
|
Сумма годовой амортизации,
р.
|
|
Минибур 1ФЭ
|
5000000
|
1
|
5000000
|
1000000
|
6000000
|
25
|
1500000
|
|
Microscop 100 F
|
2500000
|
1
|
2500000
|
500000
|
3000000
|
25
|
750000
|
|
Зарядчик ЗП-2
|
12500
|
2
|
25000
|
5000
|
30000
|
33,3
|
9990,0
|
|
Вентилятор ВМ-5м
|
25000
|
2
|
50000
|
10000
|
60000
|
50
|
30000,0
|
|
Вибропитатель ПВ 1,2/3,1
|
61400
|
2
|
122800
|
24560
|
147360
|
20,0
|
29472,0
|
|
Итого
|
|
|
|
|
|
|
2319462
|
Величина амортизационных отчислений, приходящихся на 1 т добытой руды
рассчитывается по формуле
р/т
=72.5 р/м3
где
А год - сумма годовой амортизации оборудования очистных работ, р.;
Р
бл - годовая производительность блока, т.
Таблица 3.23. Расчет затрат на сжатый воздух
|
№, п/п
|
Наименование потребителей
|
Кол-во
|
Расход, м3/мин
|
Время работы, мин.
|
Общий расход, м3
|
Цена един., руб/м3
|
Затраты, руб
|
|
|
|
|
|
|
|
всего
|
на 1 м3
|
|
1
|
Зарядчик ЗП-2
|
1
|
1,0
|
45
|
45
|
0,22
|
2,25
|
0,12
|
|
ИТОГО расходы на сжатый
воздух:
|
|
0,12
|
Таблица 3.24. Расчет затрат на электроэнергию
|
№, п/п
|
Наименование потребителей
|
Кол-во
|
Мощн., кВт
|
Общая мощн., кВт
|
Время работы, ч
|
Цена, р/кВт.ч.
|
Затраты, руб.
|
|
|
|
|
|
|
|
всего
|
на 1 м3
|
|
1
|
Вент. ВМ-5М
|
1
|
24
|
24
|
8,0
|
0,75
|
40,32
|
2,08
|
|
2
|
Минибур 1ФЭ
|
1
|
45
|
45
|
1,96
|
0,75
|
18,52
|
0,96
|
|
3
|
Вибропитатель ПВ-1,2/3,1
|
2
|
18
|
36
|
1,0
|
0,75
|
7,56
|
0,39
|
|
4
|
Microscop100 F
|
1
|
30
|
30
|
2,44
|
0,75
|
15,37
|
0,8
|
|
ВСЕГО расходы на
электроэнергию:
|
|
4,23
|
Таблица 3.25. Калькуляция себестоимости очистной добычи 1м3 руды.
|
№ п/п
|
Наименование статей
расходов
|
Разряд
|
Ед. изм.
|
Кол-во единиц на 1м3
|
Стоим ед. р.
|
Сумма. р.
|
|
1
|
Зарплата
|
|
|
|
|
22,21
|
|
Итого по тарифу Доплата за
ночное время (20 % от тарифа) Премия (20% от тарифа) Итого с ночными и
премией Итого основная зарплата с районным коэффициентом и северными
надбавками (р.к.-80%) Дополнительная зарплата (20 % от основной) Итого с
дополнительной зарплатой Страховые начисления (40% от осн. и доп. зар.платы.)
|
|
|
|
|
22,21 4,4 4,4 31,01 55,8
11,16 66,96 26,7
|
|
Всего зарплаты с
начислениями
|
|
|
|
|
93,66
|
|
2
|
Материалы: Буровая сталь
Твердые сплавы ВВ СИНВ-Ш Вентиляционный рукав Лесоматериал Закладка Итого
|
|
0,27 4,3 1,8 1,5 0,08
0,012 229,7
|
58,18 2,57 10,50 1,20
200,10 1190,50 4,3
|
15,70 11,05 18,9 1,8 16,00
14,28 1115,461,84
|
|
Итого материалов (с учетом
транспортных расходов 20%)
|
|
|
|
|
1406,9
|
|
3
|
Энергия: Электроэнергия
Сжатый воздух
|
|
кВт м3
|
|
0,21 0,05
|
4,23 0,12
|
|
Итого энергии
|
|
|
|
|
4,35
|
|
4
|
Амортизационные отчисления
(по отдельному расчету)
|
|
|
|
|
72,5
|
|
Итого прямых затрат
|
|
|
|
|
1520,3
|
|
5
|
Услуги вспомогательных
цехов 80%
|
|
|
|
|
1200
|
|
Итого прямых затрат
|
|
|
|
|
|
|
6
|
Накладные расходы 20%
|
|
|
|
|
304
|
|
Всего расход на добычу 1м3
руды
|
|
|
|
|
3040
|
|
Всего расход на добычу 1т
руды
|
|
|
|
|
1216
|
4. ГОРНО-МЕХАНИЧЕСКАЯ ЧАСТЬ
4.1 Внутришахтный транспорт
4.1.1 Выбор оборудования локомотивного транспорта
Транспортирование горной массы осуществляется в вагонах ВГ-4м, емкостью
2,2 м3 электровозами К-10 по откаточным выработкам. Согласно проекта,
предусмотрена кольцевая откатка, что позволяет производить транспортировку
порожнякового состава от ствола и груженого состава к стволу одним локомотивом,
с соблюдением правил безопасности имея его постоянно в голове состава.
Производственная мощность рудника №1 650 тыс.т/ год, при расстоянии
транспортирования по горным выработкам до 2,5 км.
4.1.2 Тяговый расчет
Исходные данные для проектирования:
. План пути всех откаточных выработок, показан на листе вскрытия
графической части проекта, включая околоствольный двор и места погрузки
поездов, уклон пути - i =
4‰.
2.
Одновременно на руднике отрабатывается три участка с производительностью по
каждому A
=220 т/см, A
=220 т/см, А3=2200 т/см;
.
Длина откатки до первого погрузочного пункта составляет L
= 950 м,
до второго L
= 540 м, до третьего L3= 960 м;
Определяем
средневзвешенную длину откатки Lсв, м по формуле
св=
, (4.1)
где
A
,A
,A3 - грузопоток на каждом из маршрутов,
.
Lсв=
м
Определяем
сменную производительность откатки A,
по
формуле
=
A
+A
+A
, (4.2)
=220+220=220=660
.
Определение
веса прицепной части поезда и количества вагонеток в составе:
Определяем
вес поезда Q по условию трогания состава с места, кН
для
порожнего состава Qn на подъем на прямолинейном участке, кН по формуле
=Р×g
, (4.3)
где
Р-масса электровоза, т;
-
коэффициент сцепления колес с рельсами;
n- основное удельное сопротивление движению порожних
вагонеток,
;
iс- спрямленный
откаточный уклон,‰;
min - минимальное ускорение поезда при трогании с места,
.n = 10×9,8
кН
для
груженого состава Qг на прямолинейном подъеме, кН по формуле
Qг
= Р×g
, (4.4)
где
- основное удельное сопротивление движению груженых
вагонеток,
.г = 10× 9,8
кН
Определяем
вес поезда Q по условию трогания на кривой, кН:
для
порожнего состава Qn на подъем на криволинейном участке, кН по формуле
n = Рg
,
где
- дополнительное удельное сопротивление вагонетки от
движения в кривой,
.n = 10× 9,8
кН
для
груженого состава Qг на криволинейном участке, кН по формуле
г
=Рg
,
г
= 10×9.8
кН
Определяем
вес поезда Q по условию сцепления колес с рельсами при установившемся движении
с равномерной скоростью, кН
на
прямолинейном подъеме Qn , кН по формулеn = Р×g
,
n =10× 9,8
кН
на
прямолинейном спуске Qг, кН по формуле
г
= Р×g
,
г
= 10×
9,8
кН
Принимаем
по полученным результатам минимальное значение веса поезда:
для
порожнего состава Qn min = 765 кН
для
груженого состава Qг min = 990,8 кН
Определяем
число вагонеток в составе:- для порожних Zn, по формуле
=
, (4.5)
где
q
- масса вагонетки, кН.
Zn =
для
груженых Zг, по формуле
г
=
, (4.6)
где
q- масса груза, т
=
k
V φ ,
где
k
- коэффициент заполнения вагонетки;
V - вместимость
вагонетки, м
;
φ - плотность транспортируемого груза ,
.
q =
т
Zг =
Принимаем
число вагонеток в груженом и порожнем составах Zг и Zп
равным 16, по количеству вагонеток в груженом составе.
Производим
коррекцию веса поезда для порожнего состава при 16 вагонетках по формуле
,
кН
Проверка
веса поезда по нагреву тяговых двигателей и величине тормозного пути:
Осуществляем
проверку массы поезда по нагреву тяговых двигателей:
Часовой
ток тягового двигателя ЭРТ - 16,6 электровоза К10 находим технической
характеристике электровоза I
= 145 А, длительный ток I
= 62 А.
Определяем
силу тяги в грузовом Fг и порожняковом Fn направлениях,
Н
Fг =
, (4.7)
где
n
- число электродвигателей электровоза.
Fг =
Н
=
, (4.8)
=
Н
По
электромеханической характеристике тяговых двигателей находим по силе тяги Fг и Fn
значение скорости движения и токов двигателя с груженым и порожним составами:
в
грузовом направлении Iг = 50 А; υг = 18,5
в
порожняковом направлении In = 60 А; υп = 17
Производим
проверку массы поезда по величине тормозного пути:
Определяем
удельную тормозную силу груженного состава bm.г.,
по формуле
.г
=
,
где
- коэффициент сцепления колес с рельсами;
Р
- масса электровоза , т ;
Qг - минимальное
значение веса порожнего состава , кН.
bm.г =
Определяем
допустимую скорость движения груженого состава на преобладающем уклоне
υдоп.г. =
, (4.9)
где
lm - тормозной путь, м;
bm - удельная
тормозная сила ,
;
-
дополнительное удельное сопротивление вагонетки от движения в кривой,
;
-
основное удельное сопротивление движению груженых вагонеток,
.
υдоп.г. =
Так
как υдоп.г. = 14,8
< υ г = 18,5
,
следовательно скорость движения состава по технической возможности не позволяет
остановиться поезду на регламентируемом ПБ тормозном пути в 40 м. Поэтому для
движения по выработкам принимаем скорость движения грузового состава υ г = υдоп.г. =
14,8
.
Определяем
удельную тормозную силу порожнего состава bm.п.,
по формуле
.п
=
,
bm.п =
Определяем
допустимую скорость движения груженого состава на преобладающем уклоне
υдоп.п. =
, (4.10)
υдоп.п. =
Так
как υдоп.п. = 17,2
> υ п = 17
,
следовательно скорость движения состава по технической возможности позволяет
остановиться поезду на регламентируемом ПБ тормозном пути в 40 м. Поэтому для
движения по выработкам принимаем скорость движения грузового состава υ п = 17
.
Определяем
время движения состава tг и tn
в
грузовом направлении tг =
,
г
=
мин
в
порожняковом направлении tп =
,
п
=
мин
Определяем
время рейса T , мин по формуле
T = tг + tn +
+
+
, (4.11)
где
- продолжительность нахождения электровоза в
околоствольном дворе за цикл, мин;
-
продолжительность нахождения электровоза в пункте погрузки, мин;
мин
-
продолжительность дополнительных остановок в местах пересечения транспортных
магистралей, мин.
T = 3,4 + 2,9+
15 + 20 + 5 = 46,3 мин
Определяем
средний эквивалентный (эффективный) ток Iэф, А по
формуле
эф=
, (4.12)
эф
= 1,2
А
Так
как Iэф = 24,3 А < I
= 62 А, следовательно, тяговые двигатели не
перегреваются.
По
произведенным расчетам и проверке массы поезда по нагреву тяговых двигателей и
величине тормозного пути принимаем: вес груженого состава Qг = 865 кН, вес
порожнего состава Qn = 228 кН, количество вагонеток в составе 16.
Определение
необходимого числа электровозов:
Определяем
число рейсов для вывоза груза nг, по формуле
, (4.13)
где
- коэффициент неравномерности выдачи груза;
А
- сменная производительность откатки,
;
- число
груженых вагонеток;
- масса
груза, т;
Определяем
полное число рейсов в смену nп, рейс по формуле
п
=
,
где
- число рейсов для перевозки людей, материалов,
оборудования;
- число
рейсов для вывоза груза.
nп = 14 + 4 = 18
Определяем
число возможных рейсов одного электровоза в течение одной смены n,
рейс по формуле
=
, (4.14)
где
T
- продолжительность смены, ч;
T - время рейса
, мин
n =
Определяем
число рабочих электровозов на горизонте N
по формуле
N
=
, (4.15)
=
Определяем
инвентарное число электровозов N
по формуле
= Nр+Nрез
,
= 3+1=4
Определяем
сменную производительность одного рабочего локомотива
,
по
формуле
, (4.16)
где
L - длина до околоствольного двора , м ;
-
сменная производительность откатки ,
.
Определяем
сменную производительность одного инвентарного локомотива
,
по
формуле
,
Определяем
необходимое число вагонеточного парка путем расстановки составов по рабочим
местам: на каждый рабочий электровоз принимается по одному составу - 16
вагонетки, плюс число вагонеток, находящихся на разгрузке в околоствольном
дворе - 32 вагонеток.
, (4.17)
вагонеток
4.1.3 Расчет мощности тяговой подстанции
Проектирование электроснабжения электровозной откатки осуществляется по III категории бесперебойности снабжения
электроэнергией в соответствии с классификацией электрических установок,
резервное питание не предусматривается.
Питание электроэнергией шахтных контактных тяговых сетей осуществляется
от тяговых подстанций, преобразующих переменный ток в постоянный и
распределяющих постоянный ток. В оборудование тяговых преобразовательных
подстанций входят: питающая трансформаторная подстанция, выпрямительный
агрегат, аппаратура коммутации и защиты преобразовательных подстанций и тяговых
сетей.
Определяем средний ток электровоза Iср, А по формуле
, (4.18)
А
Мощность
тяговой преобразовательной подстанции, кВт, рассчитывается по формуле
, (4.19)
где
kгр - коэффициент одновременности работы групп
электровозов;
U - напряжение
на шинах тяговой подстанции, В;
Ni - число
однотипных по мощности электровозов;
koi -
коэффициент одновременности работы электровозов в группе, при Nр£2 koi =1;
Iср - средний
ток электровоза, А.
кВт
По расчетной общей мощности подстанции Р=20,9 кВт выбираем тяговые
агрегаты типа АТП-500/275М1-У5.
Число агрегатов, устанавливаемых на тяговой подстанции определяем по
формуле
, (4.20)
где
Pa - мощность одного преобразовательного агрегата (по
каталогу), кВт.
Принятая
преобразовательная установка проверяется по перегрузочной способности:
knIср £ kn.у Iн
где
kn.у - допустимый коэффициент перегрузки
преобразовательной установки (kn.у = 2);
kn - коэффициент
перегрузки преобразовательной установки.
,5·38
£ 2·500 58 £ 1000
Следовательно,
перегрузок преобразовательной установки не будет.
Расход
электроэнергии при откатке контактными электровозами на шинах переменного тока
тяговой подстанции, кВт×час находим по формуле за один рейс
, (4.21)
где
aэ - коэффициент учитывающий расход энергии во время
маневров;
tр - время
рейса, мин;
hс - к.п.д. тяговой
сети (hс =0,9…0,95);
hп - к.п.д. тяговой
подстанции на полупроводниках (hп =0,9…0,95).
кВт×час
за
смену
,
кВт×час
Расход
электроэнергии на шинах ЦПП W, кВт×час находим по формуле
,
где
hс.п - к.п.д. сети от тяговой подстанции до ЦПП.
кВт×чаc
4.2 Проветривание рудника
4.2.1 Выбор оборудования вентиляторной установки
При проветривании горизонтов рудника №1 воздух в шахту подается по
нагнетательному стволу 1К, на котором установлен вентилятор главного
проветривания и работает на нагнетание, отработанный воздух выдается через
вентиляционные стволы 9К и 3Р, 3В. Требуемая производительность вентилятора Q = 180 м3/с, минимальное давление
Ну.ст.min = 150 даПа, максимальное давление
Ну.ст.max = 170 даПа. Срок службы установки
Т=20 лет.
Выбор вентиляторов при заданных Q , Ну.ст.min и Ну.ст.max осуществляют по сводным графикам
областей их промышленного использования.
Наносим точки Q, Ну.ст.min и
Ну.ст.max на сводные графики областей
промышленного использования вентиляторных установок и находим, что в заданных
условиях проветривание шахты может обеспечить вентиляторная установка ВОД-30М.
По аэродинамической характеристике установоки определяем к. п. д. при
Ну.ст.min и Ну.ст.max:
для установки ВОД-30М: ηmin = 0,65; ηmах = 0,7.
Средний к. п. д. за период эксплуатации установок ηср = 0,67.
Окончательно принимаем установку с двумя вентиляторами ВОД-30 при частоте
вращения n = 500 об/мин.
4.2.2 Определение способа регулирования и расчет рабочих режимов
вентилятора
Способ регулирования рабочих режимов предусмотрен конструкцией
вентилятора. Расчеты по регулированию заключаются в определении числа ступеней
регулирования и рабочих режимов на этих ступенях, а также продолжительности
работы на каждой ступени.
Регулирование рабочих режимов установки осуществляется изменением углов
установки лопастей рабочего колеса и направляющего аппарата.
Находим характеристики вентиляционной сети:
Постоянная сети R,
определяется по формуле
при минимальном давлении
, (4.22)
где
Ну.ст.min - минимальное давление вентиляционной сети, дПа;
Q - требуемая
производительность вентилятора, м3/с.
при
максимальном давлении
,
где
Ну.ст.mах - максимальное давление вентиляционной сети, дПа.
Уравнения
характеристик сети при минимальном и максимальном давлениях, находятся по
формулам
Ну.ст.min
=0,0046Q2 , (4.23)
Ну.ст.max =
0,0052Q2.
В
полученные выражения подставляем значения Q от 0 до 1,25 требуемой
производительности вентилятора ВОД-30М и получаем соответствующие значения
давления, записанные в виде табличных данных.
Таблица
4.1. Показатели для построения аэродинамической сети при мах и мin
давлении.
|
Показатели
|
0,25Q
|
0,5Q
|
0,75Q
|
Q
|
1,25Q
|
|
Q, м3/с
|
45
|
90
|
135
|
180
|
225
|
|
Ну.ст.min,
дПа
|
9,3
|
37,2
|
83,8
|
150
|
212,6
|
|
Ну.ст.max,
дПа
|
10,5
|
42,1
|
94,8
|
170
|
263,2
|
По полученным данным на аэродинамической характеристике вентиляторной
установки ВОД-30М строим характеристики 1 и 2 вентиляционной сети (рис. 4.1).
Рис. 4.1. Аэродинамическая характеристика вентилятора ВОД-30М.
Рабочие режимы. Через точки а и Ь заданных режимов проводим прямую линию
и находим режим с ( Qc = 180 м3/с; Нс=
150 дПа) как точку пересечения линии ab с характеристикой вентилятора, соответствующей углу установки лопастей
на рабочих колесах θк = 30°. Согласно графика работа вентилятора будет
осуществляться при угле установки лопастей на рабочих колесах θк = 40 (от режима d до е).
На первой ступени регулирования угол установки лопастей рабочих колес
равен θ1=
40°. При этом в начале
работы будет обеспечен режим d (Qd
=200 м3/с; Hd = 180 дПа), а в конце при θ2
= 40° режим в точке е (Qe= 190 м3/с; He =200 дПа).
При общей продолжительности работы вентиляторной установки Т=20 лет и
допущении линейности закона изменения от Ну.ст.min до Ну.ст.max устанавливаем продолжительность работы:
на первой ступени
, (4.24)
где
Т - общая продолжительность работы вентиляторной установки, лет;
He, Hа, He -
давление развиваемое вентилятором соответственно в точках d, а,
e, дПа.
года.
на
второй ступени
,
года.
Резерв
производительности вентилятора определяется режимами k ( Qk =
225 м3/с; Hk = 230 Па) и n (Qn = 215 м3/с; Hn =
250 Па) при характеристиках 1 и 2 вентиляционной сети и угле установки лопастей
рабочего колеса θ=
45°.
Резерв
производительности при характеристике сети 1
, %
определяется по формуле
, (4.25)
где
Qк, Qа - производительность вентилятора соответственно в
точках к и а, м3/с.
.
Резерв
производительности при характеристике сети 2
, %
определяется по формуле
,
.
Определяем
резерв средней производительности вентилятора
,% по
формуле
=
,
=
.
Реверсирование
вентиляционной струи центробежного вентилятора ВОД-30М обеспечивается вращением
двигателя в обратном направлении. Перевод на реверсивный режим должен
осуществляться не более чем за 10 мин, причем расход воздуха проходящего по
выработкам в реверсивном режиме, должен составлять не менее 60% от нормального
режима проветривания.
4.2.3 Определение мощности двигателя и его выбор
Расчетную мощность двигателя находят для каждой ступени регулирования по
максимальному давлению на этой ступени.
Запас мощности принятого двигателя по отношению к расчетной мощности
должен составлять 10 ... 15 %.
Среднегодовой расход электроэнергии определяют за период эксплуатации на
каждой ступени регулирования.
Мощность двигателя Nmin,
кВт на первой ступени регулирования по режиму с определяется по формуле
, (4.26)
где
Qс - производительность вентилятора соответственно в
точке d, м3/с;
Hd - давление
развиваемое вентилятором в точке с, Па;
Ηd - к.п.д.
работы вентилятора в точке d.
кВт
Мощность
двигателя Nmaxn, кВт на второй ступени регулирования по режиму n
определяется по формуле
,
где
Qе - производительность вентилятора соответственно в
точке е, м3/с;
Hс - давление
развиваемое вентилятором в точке е, Па;
ηе - к.п.д. работы вентилятора в точке е.
кВт
Для
работы на первой и второй ступени регулирования принимаем асинхронный
электродвигатель АКН-2-16-48-12У4 мощностью N=630кВт; n=
500об/мин; ηд= 0,94; cosφ = 0,8; U = 6000 В.
Определяем
коэффициент запаса мощности kД на первой ступени регулирования по формуле
, (4.27)
Определяем
коэффициент запаса мощности kД на второй ступени регулирования по формуле
,
Среднегодовой
расход электроэнергии в диапазоне режимов d и e Wг,
кВт ч определяем по формуле
, (4.28)
где
Q1ср - средняя производительность вентилятора на
ступени регулирования, м3/с;
м3/с
1ср
- среднее давление развиваемое вентилятором на ступени регулирования, Па;
Па
η1ср - среднее к.п.д. работы вентилятора на 1 ступени регулирования;
nч -число
рабочих часов вентилятора в сутки;
nД -число
рабочих дней вентилятора в году;
ηр - к.п.д. сети;
ηр - к.п.д. регулирования учитывающие связанные с ним затраты энергии,
0,8;
ηД - к.п.д. двигателя.
кВт ч
4.3 Расчет подъемной установки
При подъеме на руднике №1 руда выдается клетевым стволом 9К, он
оборудован двумя двухэтажными, взаимноуравновешанными клетями. Высота подъема с
VI горизонта 377 м. Годовая
производительность рудника 490 тыс.т/год. Тип вагонеток ВГ-4м.
4.3.1 Продолжительность подъемной операции и
средняя скорость движения сосудов
1. Часовая производительность подъемной установки
(4.29)
где
С-коэффициент резерва производительности подъемной установки, учитывающий
неравномерность ее работы, по ПТЭ;
а
- коэффициент, учитывающий выдачу породы,;
Аг
- годовая производительность подъемной (машины) установки по транспортированию
полезного ископаемого, т;
nд - число
рабочих дней в году;
nч - расчетное
число часов работы установки в сутки по транспортированию полезного ископаемого
и породы, подъем рассчитываем на трехсменную работу, ч.
т/ч
.
Оптимальная грузоподъемность клети,
(4.30)
где
H - общая высота подъема, м.
Высота
подъема принимается равной сумме высоты hв от устья
шахты до верхней приемной площадки, высоты hс от уровня
верхней приемной площадки до верхнего зажима каната, высоты hn
переподъема (согласно ПТЭ не менее 6м).
H=377+10+6+6=399
м
т
где
tп - время паузы, сек.
Принимаем
клеть 2НВ310-2, вагонетка ВГ-4м. Грузоподъемность Qп =10400 кг,
собственная масса клети Qс=6930 кг.
.
Число подъемных операций в час
(4.31)
.
Время движения подъемных сосудов
Тр=Тр.п
- tn= 128 - 45=83 c (4.32)
.
Средняя и орентировочная минимальная скорости подъема, м/с
м/с
(4.33)
Umax=ac * Uср ,
(4.34)
где
aс - множитель скорости - отношение максимальной
скорости к средней.
Umax=1,25*4,8=6,0
м/с.
4.3.2 Механическая часть подъемной установки
1. Высота копра при расположении шкивов в одной вертикальной плоскости
hк=hв+hс+hп+0,75Rн.ш.+Dн.ш+1 (4.35)
Принимаем копер высотой 30м.
. Подъемный канат. Линейная масса каната.
(4.36)
где
z - запас прочности каната;
rо - условная плотность каната, для канатов двойной свивки, кг/м3;
sв - временное
сопротивление разрыву проволок каната, Н/м3.
кг/м
Ориентировочно
принимаем канат типа ЛК-Р06*36 имеющий: Qp=985500 H, dк=39,5
мм, р=6,08 кг/м.
Запас
прочности каната:
(4.37)
.
Органы навивки. Принимаем цилиндрический неразрезной барабан
б=79·dк=79·39,5=3120,5
мм (4.38)
Принимаем
диметр барабана Dб=4м, диаметр направляющего Dн.ш.= 2 м.
Ширина
барабана обслуживающего оба каната:
, (4.39)
где
Н - длина каната равная высоте подъема, м;
lн - длина
испытательного каната, м;
nв.т.- число
витков трения;
bз - зазор между
витками каната, мм;
nв.з.- зазор
между свивающимся и навивающимся канатами.
мм
Принимаем
подъемную машины типа 2Ц-4·2,3.
Максимальное
статическое натяжение каната по формуле
Тст.max=(Qn+Qc+pHк)g=
(10400+6930+9,91·732)9,81=244809 H
Максимальная
разность статических натяжений канатов
ст.max=(Qn+pH)g=
(10400+9,91·732)9,81=173010,3 H
Окончательно
принимаем машину 2Ц-4·2,3, у которой Тст.max=250кН, Fст.max=160
кН и маховый момент = 5000000 H*м2.
4.3.3 Расположение подъемной установки
Высота копра hк=30м, приняв
угол наклона струны к горизонту b=460, С=1м- расстояние от уровня земли до оси вала барабана.
Расстояние между осями ствола и барабана
м (4.40)
Длины
струн
м (4.41)
Ширина
барабана, занятая одной ветвью каната, составила Вк.в.=2,3 м, то для получения
значения a, отвечающего требованиям ПТЭ, закрепление каната
необходимо произвести, отступив от реборды на расстояние, м:
bp = B - Bр.з.-Bк
bp = 2,3 - 0,6 -
1,5 = 0,2 м
Угол
отклонения короткой струны каната при подходе к реборде:
что
допустимо.
4.3.4 Кинематика подъемной системы
Для клетьевого подъема принимаем трехпериодную диаграмму скорости и
ускорения. Ускорение а1 принимается 1м/с2, замедление аз=0,75 м/с2.
. Модуль ускорений подъема, м/с2
м/с2
.
Максимальная скорость подъема
(4.42)
м/с
Фактическая
максимальная скорость подъема должна быть больше или равна максимальной
расчетной скорости подъема, т.е.
-
условие выполняется.
.
Продолжительность и путь ускоренного движения
сек
м
.
Продолжительность и путь замедленного движения
сек
м
.
Путь h2 и продолжительность t2 равномерного
движения
2
= H-h1-hз = 399-18-24=357 м
сек
6. Продолжительность движения подъемных сосудов
=t1+t2+t3=6+60+8=74 сек
. Фактический коэффициент резерва производительности подъемной установки
Условие
Сф ³ С - выполняется.
Годовой
расход электроэнергии, кВт·ч/год
(4.43)
где
кВт - мощность двигателя;
Kt - коэффициент
учитывающий отношение чистого времени работы установки в течении смены к общему
времени;
Ku - коэффициент
использования мощности двигателя по мощности;
Kn - коэффициент
потерь энергии.
кВт·ч/год
4.4 Расчет общешахтного водоотлива
Водоотлив осуществляется по стволу 3Р, водоотливная установка находится
на VI горизонте, нормальный приток воды Qн.п = 220 м3/мин и максимальный Qм.п = 280 м3/мин, напор насосной
установки Hг = 380 м. Вода нейтральная.
Водоотливная установка шахты согласно ПБ должна быть оборудована не менее
чем тремя одинаковыми насосами, каждый из которых должен иметь подачу,
обеспечивающую откачку нормального суточного притока воды не более чем за 20 ч
на рудниках.
Требуемая расчетная подача насоса
м3/ч,
(4.44)
где
Qн.п - нормальный приток воды, м3/ч;
Т
- нормативное по ЕПБ время работы насоса, ч.
Геометрический
напор
Нг
= 380 + 3 + 1 = 384 м, (4.45)
где
3м- ориентировочная геометрическая высота всасывания;
м-
превышение труб над уровнем выхода из ствола.
Ориентировочный
напор насоса
Нор=1,1·Нг
= 1,1·384 =423 м.
Предусматривается
установка трех насосов ЦНС 300-480, имеющих в оптимальном режиме подачу Qопт
= 300 м3/ч и напор Нопт = 480 м, при напоре на одно рабочее колесо Нк= 60 м.
Напор одного рабочего колеса при нулевой подаче Нк.о = 67 м.
Необходимое
число последовательно соединенных рабочих колес насоса
(4.46)
Принимаем
Zк = 8.
Напор
насоса при нулевой подаче
Но
= Zк ·Нк.о = 8·67 = 536 м.
где
Zк - число последовательно соединенных рабочих колес
насоса;
Нк.о
- напор одного рабочего колеса при пулевой подаче, м.
Проверка
по условию устойчивой работы;
Нг
≤ 0,95 Но = 0,95·536 = 509 м т. е. 423 < 509 что и необходимо.
Предусматриваем
оборудование водоотливной установки двумя напорными трубопроводами. Составляем
схему трубопроводов (рис 4.2).
Длина
подводящего трубопровода lп = 13 м, в его арматуру входят: приемная сетка с
клапаном и три колена.
Длина
напорного трубопровода lн = 540 м; его арматура: одна задвижка, один обратный
клапан, девять колен и один тройник.
Оптимальный
диаметр напорного трубопровода по формуле
опт=k·0,0131Q0.476
= 1·0,0131 ·3000.476=0,198 м (4.47)
где k - коэффициент,
зависящий от числа напорных трубопроводов.
Принимаем трубы с наружным
диаметром 219 мм . При определении требуемой толщины стенки принимаем срок
службы трубопровода Т=10 лет, материал труб - сталь 3.
Давление у напорного патрубка
находим по формуле
Р =1,25· 10-6 · ρ· g
·Нор= 1,25 · 10-6 · 1025· 9,8 · 423 = 5,4 МПа.
где ρ - плотность шахтной воды, кг/м3 ,
Нор - ориентировочный напор насоса, м.
Толщина стенки в соответствии с указаниями к формуле (4.48)
мм
где k1 -
коэффициент материала труб;
D - наружный диаметр трубы, м;
р - давление в нижней части колонны труб, МПа;
α1 - скорость коррозионного износа
наружной поверхности труб, мм/год;
α2 - скорость коррозионного износа
внутренней поверхности;
Т - срок службы трубопровода, лет;
kc -
коэффициент, учитывающий минусовый допуск толщины стенки, %.
Рис. 4.2. Схема расположения трубопроводов насосной камере при двух
напорных ставах в стволе: 1, 2 - рабочий и резервный напорные ставы, 3 -
коллектор, 4 - подводящий трубопровод, 5 - напорные трубопроводы, 6 - обратные
клапаны, 7 - управляемые распределительные задвижки, 8 - выпускная труба
применяемая при ремонте, 9 - задвижки, 10 - колодец.
Принимаем толщину стенки δ=8 мм.
Таким образом, окончательно принимаем для напорного трубопровода трубы
бесшовные горячедеформированные (ГОСТ 8732-78) с внутренним диаметром dн= 203
мм и толщиной стенки δ=8 мм; для подводящего трубопровода принимаем трубы с
наружным диаметром 273 мм и внутренним диаметром dп = 259 мм.
Скорость воды в подводящем трубопроводе
м/с
То
же в напорном трубопроводе
м/с
Коэффициент
гидравлического трения в подводящем трубопроводе по формуле
То
же в напорном трубопроводе
Принимая
значения коэффициентов местных сопротивлений, определяем суммарные потери
напора в подводящем трубопроводе
м (4.49)
где λ - коэффициент гидравлического трения;
l - длина прямых участков трубопровода одинакового диаметра,
м;
d - внутренний диаметр трубопровода, м;
υ - скорость воды в трубопроводе, м/с.
То же в напорном трубопроводе
м
Суммарные
потери в трубопроводе
Σh=Σhп+Σhн=1+35,7=36,7
м Принимаем Σh = 40 м.
где Σ hП и Σ hН - суммарные потери напора на местных сопротивлениях
подводящего и напорного трубопроводов, м.
Напор насоса
Н = Нг + Σh = 384+ 40 = 424 м.
Характеристика трубопровода строится в соответствии с формулой
Н = Нг + RQ2, (4.50)
где R -
постоянная сети (трубопровода).
Откуда
Следовательно,
Н
= 424+ 0,00044Q2
Результаты
расчетов по этому выражению приведены ниже:
Таблица
4.2. Данные характеристики трубопровода
|
0
|
¼
Q
|
½
Q
|
¾
Q
|
Q
|
5/4 Q
|
|
Q, м3/ч
|
0
|
75
|
150
|
225
|
300
|
375
|
|
H, м
|
424
|
426
|
434
|
446
|
463
|
585
|
На рис. 4.3 показана характеристика насоса ЦНС 300-480 и характеристика
трубопровода, построенная по приведенным данным. По точке пересечения этих
характеристик устанавливаем рабочий режим насоса: Q= 320 м3/ч; Н= 470 м; η= 0,7; Нвдоп =4,0 м. Режим находится на
рабочей части характеристики.
К. п. д. трубопровода по формуле
ηт = Нг/Н=384/424=0,91
Проверка вакуумметрической высоты всасывания. Геометрическая высота
всасывания ориентировочно принята 4 м.
Действительная вакуумметрическая высота всасывания
Нв=3+Σhп=3+1=4
м
Так как по характеристике насоса в рабочем режиме Нвдоп = 4,0 м, то
соблюдается условие Нв ≤Нвдоп.
Рис. 4.3. Рабочий режим насоса ЦНС 300-480.
По формуле расчетная мощность двигателя
кВт,
(4.51)
где
ρ
- плотность воды, кг/м3;
η - к.п.д. насоса.
Принимаем
электродвигатель ВАО-560-L4 (N = 630 кВт, n= 1500 об/мин, ηд=0,945).
Коэффициент
запаса мощности двигателя
kд = N/Nр=630/488=1,29
, что допустимо.
Число
часов работы насоса в сутки при откачивании нормального притока
ч
Число
часов работы насоса в сутки при откачивании максимального притока
ч
Годовой
расход энергии по формуле
, (4.52)
где η, ηд и ηс - к. п. д. соответственно насоса,
двигателя и электрической сети;
nч.н и nч.м -
число часов работы в сутки по откачке соответственно нормального и
максимального притока;
nд.н и nд.м -
число дней в году соответственно с нормальным и максимальным притоком.
кВт·ч
4.5 Расчет пневмохозяйства рудника
Потребители пневмоэнергии и объемы потребления сжатого воздуха отражены в
табл. 4.3.
Таблица 4.3. Определение производительности станции.
|
№, п/п
|
Наименование потребителей
|
Кол-во
|
Расход воздуха, м3/мин
|
Коэффициенты
|
Максималь-ный расход
воздуха, Vmax, м3/мин
|
Средний расход воздуха, Vср,
м3/мин
|
|
|
|
|
износа, Ки
|
Загрузки, Кз
|
Включения, Кв
|
|
|
|
1
|
ЛКР-1У
|
6
|
25,0
|
1,2
|
1,0
|
1,0
|
180,0
|
180,0
|
|
2
|
ППН - 3
|
6
|
15,0
|
1,15
|
0,25
|
0,4
|
25,8
|
10,3
|
|
3
|
ПТ - 38
|
6
|
6,0
|
1,15
|
1,0
|
0,65
|
27,6
|
17,9
|
|
4
|
ПП - 63В
|
12
|
7,0
|
1,0
|
1,0
|
0,65
|
96,6
|
62,8
|
|
5
|
Пневмонагнетатель
|
6
|
1,0
|
1,0
|
0,7
|
1,0
|
4,2
|
4,2
|
|
ИТОГО:
|
|
36
|
|
|
|
|
334,2
|
275,2
|
Средневзвешенный коэффициент включения (Кв) определяем по выражению
Кв = ΣVср / ΣVmax = 275,2 / 334,2 = 0,8. (4.53)
Средневзвешенный коэффициент одновременности работы Ко = 1,0.
Производительность компрессорной станции Vкс, м3/мин в конце работ составит
кс = Кр · Ко · Vmax + Vут· L +
Vпр · nпр , (4.54)
где Кр - коэффициент резерва производительности компрессорной станции;
Vут -
допустимые утечки через неплотности соединений на 1 км магистрального
трубопровода, м3/км;
L-
протяженность магистрального трубопровода, км;
Vпр -
утечки через неплотности соединений потребителей, м3/ед.;
nпр -
число мест присоединений потребителей.
Vкс =
1,1 · 1,0 · 1144,2 + 326,3 · 2,0 + 0,4 · 90 = 1383,0 м3/мин.
Производительность компрессорной станции в начале работ должна составлять
Vкс =
1,1 · 1,0 · 1144,2 + 3 · 2,0 + 0,4 · 90 = 1310,0 м3/мин.
Расход воздуха на утечки в конце работ составит
утк =
(Vут · L + Vпр · nпр) / Vкс · 100 %,
утк = (3 · 26,3 + 0,4 · 90) / 1310,0 ·100 = 8,3 %.
Расход воздуха на утечки в начале работ составит
Vутн =
(3 · 2,0 + 0,4 · 90) / 1310,0 · 100 = 3,0 %.
Среднее значение расхода воздуха на утечки за период работ составит
ср = (Vутк + Vутн) / 2 = (8,3 + 3,0) / 2 = 5,6 %.
Исходя из расчетной производительности компрессорной станции Vкс = 1383,8 м3 / мин. выбираем
центробежный компрессор марки К-500-61-1. Количество компрессоров - 5, в т.ч. 3
в работе и 2 компрессора в резерве. Компрессор оснащён синхронным двигателем СТМ-3500-2
N=3500 кВт.
Необходимое избыточное давление сжатого воздуха на компрессорной станции
Ркс, МПа
Ркс = Рп + ΔРм · L + Δ Рш , (4.55)
где Рп - избыточное давление у потребителя, МПа;
ΔРм - средние удельные потери давления
в магистральном трубопроводе, МПа/км;
L -
длина воздухопровода от компрессорной станции до самого уделенного потребителя,
км;
Δ Рш- общешахтные потери давления, МПа.
Ркс = 0,5 + 0,03 · 10,0 + 0,3 = 0,83 МПа.
Определяем расход воздуха на отдельных участках
а) на участке 1 - 2 расход воздуха будет равен производительности
компрессорной станции, т.е. V1-2 =
1383,8 м3/мин;
б) расход воздуха на участках 3-а, 4-а и 5-а будет одинаков, поскольку на
этих участках будут находиться одинаковое число потребителей.
Число потребителей на участке 3-а равно 30. Средневзвешенный коэффициент
включения (Кв) составит
Кв = Σ Vср / Σ Vmax , (4.56)
Кв = 364,8 / 384,5 = 0,9.
Количество воздуха, поступающего на участок 3-а составит
3-а = Кр · Ко · Vmax +
Vут · L + Vпр · nпр ,
3-а = 1,1 · 1,0 · 384,5 + 3,0 · 4,0 + 0,4 · 30 = 447,0 м3/мин.
4-а = V5-а = V3-а = 447,0 м3/мин.
В свою очередь V2-3 =
V3-4 + V3-а = 447,0 + 447,0 = 894,0 м3/мин.
На следующем этапе определяем диаметры трубопровода и потери давления на
всех участках воздухопроводной сети
|
Участок 1-2
|
dст = 432 мм;
|
Участок 2-5
|
dст = 227 мм;
|
|
Участок 2-3
|
dст = 384 мм;
|
Участок 3-а
|
dст = 205 мм;
|
|
Участок 3-4
|
dст = 259 мм;
|
Участок 4-а
|
dст = 205 мм;
|
|
Участок 5-а
|
dст = 205 мм.
|
|
Средняя плотность сжатого воздуха, кг/м3 на всех участках сети составит
ρср = (Рабс + Рп) / (2R · Тср), (4.57)
где Рабс- абсолютное давление у компрессорной станции, МПа;
Рп- абсолютное давление у потребителей, МПа;
R-
газовая постоянная воздуха, Дж/кг·К;
Тср- среднегодовая температура воздуха в сети, 0К.
ρср = (0,83 + 0,5) / (2 · 287 · 293) =
7,9 кг/м3.
Скорость движения воздуха, м/с
в = V · ρ0 / [ 60 π d2 / 4 · ρср],
где ρ0 - плотность воздуха, кг/м3.
Результаты расчетов скорости движения воздуха по участкам приведены ниже
|
Участок 1-2
|
vв = 14,3 м / с;
|
Участок 2-5
|
vв = 7,4м / с;
|
|
Участок 2-3
|
vв = 13,7 м / с;
|
Участок 3-а
|
vв = 6,5 м / с;
|
|
Участок 3-4
|
vв = 10,1 м / с;
|
Участок 4-а
|
vв = 6,5 м / с;
|
|
Участок 5-а
|
vв = 6,5 м / с.
|
|
Расчетная длина трубопроводов, м определяемая по выражению
р = Lт · 1,1,
для всех участков составит:
|
Участок 1-2
|
Lр = 687,5 м;
|
Участок 2-5
|
Lр = 4950,0 м;
|
|
Участок 2-3
|
Lр = 132,0м;
|
Участок 3-а
|
Lр = 4400,0 м;
|
|
Участок 3-4
|
Lр = 1166,0м;
|
Участок 4-а
|
Lр = 4400,0 м;
|
|
Участок 5-а
|
Lр = 4400,0 м.
|
|
Удельные (Δруд) и оптимальные (Δро) потери давления в трубопроводах
по участкам
|
Участок 1-2
|
Δруд = 0,021;
|
Δро = 0,014
|
Участок 2-5
|
Δруд = 0,024;
|
Δро = 0,118
|
|
Участок 2-3
|
Δро = 0.003
|
Участок 3-а
|
Δруд = 0,025;
|
Δро = 0,110
|
|
Участок 3-4
|
Δруд = 0,023;
|
Δро = 0,026
|
Участок 4-а
|
Δруд = 0,025;
|
Δро = 0,110
|
|
Участок 5-а
|
Δруд = 0,025;
|
Δро = 0,110
|
|
|
|
|
|
|
|
|
|
|
Расчетные потери давления, МПа определяем по формуле
Δр = λ · Lр · v 2 · ρср / (2 d), (4.58)
где λ - коэффициент гидравлического трения.
Расчетные потери давления по участкам:
|
Участок 1-2
|
Δр = 0,028 МПа;
|
Участок 2-5
|
Δр = 0,075 МПа;
|
|
Участок 2-3
|
Δр = 0,0046 МПа;
|
Участок 3-а
|
Δр = 0,012 МПа;
|
|
Участок 3-4
|
Δр = 0,060 МПа;
|
|
|
Потери давления на участке трубопровода от компрессорной станции до
наиболее удаленного потребителя (по линии 1-2-5)
ΣΔр = 0,028 + 0,075 = 0,103 МПа.
Избыточное давление на выходе компрессорной станции
Ркс = рп + ΣΔр + Δ Рш = 0,5 + 0,075 + 0,03 = 0,63 МПа
(4.59)
Средняя производительность компрессорной станции, м3/мин составит
ср = (Vккс + Vнкс) / 2, (4.60)
ср = (1383,8 + 1310,0) / 2 = 1346,9 м3 / мин.
Среднегодовая выработка сжатого воздуха, м3/год
год = 60 Vср · nч · nдн , (4.61)
где nч - время работы компрессора в сутки,
ч;
nдн -
число рабочих дней в году.
Vгод =
60 · 1346,9 · 20 · 260 = 412151000,0 м3/год.
Годовой расход электроэнергии, кВт·ч/год составит
, (4.62)
где
Nдв - мощность одного электродвигателя компрессора,
кВт.
кВт·ч/год.
4.6 Закладочный комплекс
4.6.1 Поверхностный закладочный комплекс
Центральный закладочный комплекс предназначен для подачи закладочной
смеси в выработанное пространство. В состав закладочного комплекса входят
четыре силосные башни ёмкостью по 250 т каждая, внутри помещения расходные
ёмкости по 50 т.
Состав закладочной смеси: цемент 120 кг; ПГС 1460 кг; вода 320 кг; зола
(для транспортабельности смеси) 839 кг. Подача ПГС регулируется шибером. ПГС
загружается в бункер-дозатор краном перегружателем с ковшом типа «Грейфер».
Смесь привозится с карьера ПГС и доставляется на приёмную площадку бульдозером
Т-330.
Управление процессами автоматизировано, контроль осуществляется
оператором, находящемся в ЦЗК. После смешивания компонентов в смесителе,
закладочный раствор транспортируется по трубам в шахту.
Для приготовления твердеющих смесей на руднике предусматривается
использование литого способа. При этом способе предлагается получать смесь
вяжущего активизатора, заполнения воды, близкому по составу к литому бетону,
позволяющую транспортировать ее по трубопроводам и размещать в выработанном
пространстве под определенным углом наклона за счет действия гравитационных сил
без принудительного уплотнения.
Шлаки со склада траншейного типа загружают при помощи бульдозера через
грохота в рабочие бункера, откуда подают вибропитателями на ленточный конвейер
и далее в шаровую мельницу. Из мельницы пульпа поступает в смеситель
непрерывного действия, туда же конвейером доставляют песок. Смесь доувлажняется
до подвижности 10-15 см. Количества песка и шлака, подаваемых конвейером
контролируется весами. Цемент (активная добавка) подают в смеситель из складов
также при помощи конвейера. После смешивания, готовый раствор поступает в
вертикальный вибросмеситель. Смесь проходя по грузонесущему органу,
представляющему из себя вертикальный шнек подвергается воздействию вибрации. Амплитуда
колебания рабочего органа составляет 0,6мм, частота колебаний 50 Гц.
Активизация смеси в вибросмесители повышает прочность образцов на 30%. После
этого готовый раствор поступает в воронку трубопровода проложенного в скважине.
Доставка закладки производится по трубопроводам, проложенным в скважинах.
Закладочная смесь движется самотечно за счет перепада абсолютных отметок начала
движения и место доставки смеси.
4.6.2 Расчет закладочного комплекса
1. Необходимый объем закладочной смеси
м3/год
(4.63)
где
Аг - годовая производительность рудника, т/год;
Кнд
- коэффициент неравномерности добычи;
Ку
- коэффициент усадки твердеющей закладки;
р -
плотность руды, т/м3.
Производительность закладочного комплекса составит
м3/год
2. Часовая производительность закладочного комплекса
м3/час
(4.64)
где
nд - число рабочих дней в году;
nсм - число смен
в сутки;
Тсм
- продолжительность смены, ч.;
Тпз
- продолжительность подготовительно-заключительных операций, ч.
3. Расчет доставки закладочного материала по трубопроводам.
Диаметр трубопровода находим по формуле
мм (4.65)
где
Un - скорость движения пульпе в трубопроводе, м/сек.
При
транспортировке твердеющей закладки оптимальные значения Un =
0,5...0,7 м/сек, при меньших значениях возможна закупорка трубопровода, при
больших - резкое увеличение сопротивления движению пульпы.
По
результатам расчетов принимаем трубы из полиэтилена, d = 230 мм.
4. Максимальная протяженность горизонтального участка самотечного
транспортирования, м
, (4.66)
где
Кзп - коэффициент заполнения закладкой вертикального ствола трубопровода;
Н
- высота вертикального ствола, м;
ρпп - плотность пульпы, т/м3.
т/м3
(4.67)
ΔР - удельное сопротивление 1м трубопровода, ГПа;
h - остаточный
напор на выходе струи из трубопровода, м;
-
суммарные потери напора в коленах и закруглениях, м.
где
n1 n2 - число колен в трубопроводе с углом поворота,
соответственно 90˚ и 45˚;
l1 , l2 -
эквивалентная длина одного колена при угле поворота, соответственно 90˚ и
45˚.
м.
м
Истинная
длина горизонтального участка трубопровода находится в пределах 2000 м.
4.7 Расчет электроснабжения
4.7.1 Расчет освещения горных выработок
Для освещения главных откаточных выработок принимаем светильники типа
РП-200, мощностью Nсв=200 Вт; для
освещения откаточных и слоевых ортов, восстающих и стволов - светильники СН-60
мощностью Nсв=60 Вт, для освещения камерных
выработок - светильники РВЛ-80 с мощностью Nсв=80 Вт.
Таблица 4.4. Удельная мощность освещения выработок.
|
Наименование выработок
|
Удельная мощность, Вт/м2
|
|
Очистные и подготовительные
забои
|
5,0
|
|
Главные откаточные
выработки
|
1,0…2,0
|
|
Электромашинные камеры
|
8,0…10,0
|
|
Околоствольные дворы
|
6,0…8,0
|
|
Вспомогательные выработки
|
1,0
|
Требуемая мощность оборудования на освещение выработок, Вт
Росв = Lвыр · Ввыр · Uуд , (4.68)
где Lвыр - общая протяженность выработок,
м;
Ввыр - ширина выработки, м;
Uуд -
удельная мощность, Вт / м2.
Результаты расчетов мощности сведены в таб. 4.5.
Таблица 4.5. Определение общей мощности на освещение выработок.
|
№,
|
Наименование
|
Lвыр ,
|
Ввыр ,
|
Uуд ,
|
Росв ,
|
|
п/п
|
выработок
|
м
|
м
|
Вт / м2
|
Вт
|
|
1
|
Околоствольный двор
|
210,0
|
6,0
|
7,0
|
8820,0
|
|
2
|
Проходческий забой
|
300,0
|
4,0
|
5,0
|
6000,0
|
|
3
|
Наклонный съезд
|
5500,0
|
4,5
|
1,0
|
24750,0
|
|
4
|
Слоевой орт
|
450,0
|
4,0
|
2,0
|
3600,0
|
|
5
|
Квершлаг
|
1500,0
|
3,0
|
1,0
|
4500,0
|
|
6
|
Откаточный штрек
|
3000,0
|
3,0
|
1,0
|
9000,0
|
|
7
|
Откаточный орт
|
2000,0
|
3,0
|
1,0
|
6000,0
|
|
8
|
Восстающий
|
2100,0
|
1,8
|
1,0
|
3780,0
|
|
9
|
Шахтный ствол
|
3120,0
|
9,0
|
3,0
|
84240,0
|
|
10
|
Электромашинные камеры
|
120,0
|
2,0
|
8,0
|
1920,0
|
|
Всего ΣРосв
|
|
|
|
152600
|
Расчет количества светильников nсв, шт и расстояния между ними lсв, м производим по выражениям
св = Рсв / Nсв . (4.69)
lсв = Lвыр / nсв . (4.70)
Результаты расчетов количества светильников (nсв) и расстояния между ними (lсв) сведены в табл. 4.6.
Таблица 4.6. Количество и расстояние между светильниками.
|
№,
|
Наименование
|
nсв ,
|
lсв ,
|
|
п/п
|
выработок
|
шт.
|
м
|
|
1
|
Околоствольный двор
|
110,0
|
2,0
|
|
2
|
Проходческий забой
|
100,0
|
3,0
|
|
3
|
Наклонный съезд
|
412,0
|
13,0
|
|
4
|
Слоевой орт
|
60,0
|
7,5
|
|
5
|
Квершлаг
|
23,0
|
65,0
|
|
6
|
Откаточный штрек
|
150,0
|
20,0
|
|
7
|
Откаточный орт
|
100,0
|
20,0
|
|
8
|
Восстающий
|
63,0
|
33,0
|
|
9
|
Шахтный ствол
|
1400,0
|
2,2
|
|
10
|
Электромашинные камеры
|
24,0
|
4,8
|
Годовой расход электроэнергии на освещение выработок Wгод, кВт·ч/год составит
год = ΣРосв · nч · nдн . (4.71)
год = 152,6 · 16,4 · 250 = 625660,0 кВт·ч/год.
Мощность трансформатора на освещение лампами накаливания Nнтр, кВ·А
нтр = Рн / (1000 · ηн ), (4.72)
где Рн - мощность лампы накаливания, Вт;
ηн - к.п.д. лампы накаливания.
Nнтр =
150,0 /(1000 · 0,6 ) = 25,0 кВ·А.
Мощность трансформатора на освещение люминесцентными лампами Nлтр, кВ·А. определяем по выражению
лтр = Рл / (1000 · ηл ),
где Рн - мощность люминесцентной лампы, Вт;
ηн - к.п.д. люминесцентной лампы.
Nлтр =
1,92 / (1000 · 0,65 ) = 2,9 кВ·А.
Суммарная мощность трансформаторов на освещение ΣNтр, кВ·А составит
ΣNтр = Nнтр + Nлтр .
(4.73)
ΣNтр = 25,0 + 2,9 = 27,9 кВ · А.
4.7.2 Расчет освещения поверхностных зданий и сооружений
Удельная мощность зданий и сооружений (Руд) составляет, Вт / м2:
|
1. АБК
|
6,5;
|
4. Компрессорная станция
|
8,0;
|
|
2. Копер
|
3,8;
|
5. Калориферная
|
11,0;
|
|
3. Электроподстанция
|
5,0;
|
6. Столовая
|
12,0
|
|
7. Мех. мастерские
|
12,0.
|
|
|
|
|
|
|
Требуемую мощность на освещение Росв , кВт находим по выражению
Росв = Руд · S · n, (4.74)
где S- площадь освещения, м2;
n-
количество зданий и сооружений.
Результаты расчетов заносим в табл. 4.7.
Таблица 4.7. Определение потребной мощности на освещение зданий.
|
№,
|
Наименование зданий
|
Руд
|
S,
|
n,
|
Росв ,
|
|
п/п
|
и сооружений
|
Вт / м2
|
м2
|
ед.
|
кВт
|
|
1
|
АБК
|
6,5
|
2650,0
|
1
|
22,5
|
|
2
|
Копер
|
3,8
|
400,0
|
6
|
9,1
|
|
3
|
Электроподстанция
|
5,0
|
500,0
|
1
|
2,5
|
|
4
|
Компрессорная станция
|
8,0
|
450,0
|
1
|
3,6
|
|
5
|
Калориферная
|
11,0
|
500,0
|
1
|
5,5
|
|
6
|
Столовая
|
12,0
|
700,0
|
1
|
8,4
|
|
7
|
Механические мастерские
|
12,0
|
1000,0
|
1
|
12,0
|
Мощность трансформатора на освещение зданий и сооружений лампами
накаливания Nнтр, Вт
нтр = Рн / (1000 · ηн ),
где Рн - мощность лампы накаливания, Вт;
ηн - к.п.д. лампы накаливания.
Nнтр =
26,6 / (1000 · 0,6 ) = 4,4 кВ·А.
Мощность трансформатора на освещение зданий и сооружений люминесцентными
лампами Nлтр, Вт определяем по выражению
лтр = Рл / (1000 · ηл ),
где Рн - мощность люминесцентной лампы, Вт;
ηн - к.п.д. люминесцентной лампы.
Nлтр =
37,0 / (1000 · 0,65 ) = 56,9 кВ·А.
Годовой расход электроэнергии на освещение зданий и сооружений Wгод, кВт·ч/год составит
год = К · ΣРосв · Т / (1000 · 0,754), (4.75)
где К- коэффициент запаса мощности;
Т- продолжительность работы приборов освещения в течение года, ч.
Wгод =
1,1 · 63600,0 · 3260,0 / 754,0 = 302479 кВт·ч/год.
4.7.3 Расчет электроснабжения эксплуатационного блока
Рабочее напряжение для силовых приемников принимаем U рс = 380 В, а для приборов освещения
U росв = 127 В.
В блоке на электроприводе работают машины и установки с характеристиками,
приведенными в табл. 4.7. Кроме того, освещение блока производится приборами
СН-60 с номинальной мощностью 27,0 кВт и суммарной номинальной мощностью ΣРном = 225,0 кВт.
Выбор трансформатора участковой подстанции сопровождается предварительным
расчетом коэффициента спроса (Кс)
Кс = 0,29 + 0,71Р maxн /
ΣРном, (4.76)
где К- коэффициент запаса мощности, К = 1,1;
Р maxн- номинальная мощность
наибольшего(по мощности) электродвигателя, кВт.
Таблица 4.7. Потребители энергии.
|
№, п/п
|
Наименование машин,
установок и приборов
|
Номинальная мощность (Рн),
кВт
|
Номинальный ток (Iн),
А
|
К.П.Д. (η),ед.
|
|
1
|
Погрузочно-транспортная
машина Microscop 100F
|
45,0
|
59,1
|
0,95
|
0,80
|
|
2
|
Вентилятор ВМ-5
|
14,0
|
21,5
|
0,70
|
0,67
|
|
3
|
Вибропитатель ПВГ-1
|
20,0
|
29,2
|
0,72
|
0,71
|
Для двигателя Microscop 100F Р maxн составит
Р maxн = Рдв / (cos φ ·
η) = 45,0 / (0,8 · 0,95) = 59,0 кВт.
Тогда Кс = 0,29 + 0,71 · 59,0 / 225,0 = 0,48.
Расчетная мощность трансформатора Рр, кВ·А составит
Рр = Кс · ΣРном / cos φср , (4.77)
где cos
φср-
средневзвешенный коэффициент мощности электроприемников.
Тогда уточненная мощность трансформатора Ру, кВ·А может быть определена
по выражению
Ру = Рр / Кис, (4.78)
где Кис - коэффициент использования шахтных участковых подстанций.
Ру = 145,0 / 1,25 = 116,0 кВ·А.
Расчет фидерного кабеля производим по нагрузке на фидер Iф, А
ф =
1000 Рном / (31/3 · Uн · cos φср), (4.79)ф = 1000 · 116,0 / (31/3 · 380 ·
0,74) = 238,0 А.
По полученному значению принимаем двойной полугибкий кабель ЭВТ с
сечением 3 × 70 мм.
Участковую подстанцию размещаем в специальной нише штрека.
Для питания вентиляторов и машины Microscop 100F кабель выбираем по расчетной силе тока Iр, А
р = Кс · ΣРном / (31/3 · Uн · cos φ). (4.80)
р = 0,48 · 116,0 / (31/3 · 380 · 0,73) = 118,0 А.
Принимаем кабель СБ 50 × 3 + 1 × 35. Длина кабеля Lк = 90,0 м.
Аналогично поступаем при выборе кабеля для освещения блока
Iр =
0,48 · 80,0 / (31/3 · 127 · 0,72) = 82,0 А.
Принимаем кабель для освещения марки КРПСН 3×10+1×6.
Длина кабеля Lк = 100 м.
Для подключения машин в блоке принимаем следующие кабели:
а) для Microscop 100F - кабель КРПСН 3×10+1×6, Lк = 100,0 м;
б) для вентилятора ВМ-6 - кабель КРПСН 3×1+1×2,5,
Lк = 200,0 м;
в) для ПВГ-1- кабель КРПСН 3×6+1×4, Lк = 150,0 м.
Количество фидерных автоматов АФВ - 1 шт.; УПП с силовым трансформатором
ТСВП-160/6 - 1 шт.; трансформатор для освещение АП-4 - 10 шт.; магнитные
пускатели ПМВИ и ПРИ - 16 шт.
4.7.4 Расчет мощности поверхностной подстанции
Таблица 4.8. Расчет мощности поверхностной подстанции
|
№, п/п
|
Наименование потребителя
|
Рном
|
Кс
|
cosφ
|
tgφ
|
Рр
|
Qр
|
|
1
|
2
|
3
|
4
|
5
|
6
|
7
|
8
|
|
I. Высоковольтные потребители
|
|
1
|
Шахтный подъем
|
2200,0
|
0,70
|
0,7
|
1,02
|
1540,0
|
1570,0
|
|
2
|
Компрессорная станция
|
3500,0
|
0,60
|
0,7
|
1,02
|
2100,0
|
2142,0
|
|
3
|
Вентиляторная установка
|
500,0
|
0,50
|
0,7
|
1,02
|
250,0
|
255,0
|
|
4
|
Водоотливная установка
|
250,0
|
0,80
|
0,7
|
0,48
|
200,0
|
96,0
|
|
5
|
Тяговая подстанция
|
143,0
|
0,80
|
0,9
|
0,48
|
144,0
|
69,0
|
|
6
|
Перегрузочные пункты
|
738,0
|
0,65
|
0,7
|
1,02
|
479,0
|
489,0
|
|
ИТОГО по высоковольтным
потребителям:
|
4713,0
|
4621,0
|
|
I. Низковольтные потребители
|
|
Освещение:
|
|
|
|
|
|
|
|
1
|
поверхности
|
63,6
|
1,0
|
0,9
|
0
|
63,9
|
0
|
|
2
|
подземных выработок
|
152,6
|
1,2
|
0,9
|
1,02
|
183,0
|
164,0
|
|
3
|
Питание поверхностного
оборудования
|
220,0
|
0,6
|
0,7
|
1,02
|
132,0
|
134,0
|
|
ИТОГО по низковольтным
потребителям:
|
378,0
|
298,0
|
Полная расчетная мощность трансформатора Ртр, кВ·А
Ртр = (ΣР2р + Q2р)0,5.
(4.81)
Ртр = (5091,02 + 4919,02)0,5 = 7079,0 кВ·А.
По полученным расчетным данным принимаем трансформатор ТМН-10000 / 110,
обладающий мощностью 10000 кВ ·А.
Поскольку на предприятии имеются потребитель первой категории - клетьевой
подъем, вентиляторы главного проветривания, водоотливные станции, то, согласно
требованиям ПУЭ, принимаем два трансформатора (nтр).
5. ЭКОНОМИЧЕСКАЯ ЧАСТЬ ПРОЕКТА
Таблица 5.1. Смета затрат на горно-капитальные работы
|
Наименование выработок
|
Ед. изм
|
Кол-во выработок
|
Объем выработки, м3
|
Объем всего, м3
|
Сметная стоимость, р.
|
Общая сумма затрат, тыс.р.
|
Амортизационные отчисления,
|
|
|
|
|
|
1 м
|
1 м3
|
|
Всего тыс.р
|
на 1т р
|
|
Выработки группы I
|
|
Ствол 1К
|
м
|
1
|
16200
|
16200
|
23780
|
840,0
|
13680,0
|
653,2
|
1,33
|
|
Ствол 9К
|
м
|
1
|
20800
|
20800
|
42252
|
840,0
|
17472,0
|
838,7
|
1,71
|
|
Ствол 3Р
|
м
|
1
|
7641
|
7641
|
23780
|
840,0
|
6418,5
|
308,1
|
0,62
|
|
Ствол 3В
|
м
|
1
|
12629
|
12629
|
23780
|
840,0
|
10659,6
|
511,7
|
1,04
|
|
Ствол 2В
|
м
|
1
|
11179
|
11179
|
23780
|
840,0
|
9390,0
|
450,7
|
0,92
|
|
ИТОГО
|
|
|
|
|
|
|
45308,1
|
2762,4
|
5,62
|
|
Выработки группы II
|
|
Околоствольные дворы
|
м3
|
24
|
6000,0
|
144000
|
18200
|
910,0
|
131040,0
|
6289,9
|
12,83
|
|
Квершлаги
|
м3
|
24
|
2150,0
|
51600
|
10940
|
1270,0
|
65532,0
|
3145,5
|
6,42
|
|
ИТОГО
|
|
|
|
|
|
|
196542,0
|
9434,0
|
19,25
|
|
ВСЕГО
|
|
|
|
|
|
|
241850,1
|
12196,4
|
24,87
|
Таблица 5.2 Смета затрат на промышленные здания и сооружения
|
Наименование зданий и
сооружений
|
Ед. изм.
|
Кол- во
|
Цена за ед-цу, тыс.р.
|
Сумма затрат, тыс.р.
|
В том числе тыс.р
|
Норма амортиз. %
|
Амортизац. отчисления
|
|
|
|
|
|
за кап. ремонт
|
на восстановление
|
|
всего тыс.р
|
на 1т р
|
|
Здания и сооружения группы I
|
|
Надшахтное здание
|
ед.
|
5
|
2379,0
|
11895
|
118,9
|
178,4
|
2,5
|
297,37
|
0,61
|
|
Здание подъемной машины
|
ед.
|
5
|
1963,1
|
9815,5
|
98,15
|
147,2
|
2,5
|
245,39
|
0,50
|
|
Здание вентиляционной
установки
|
ед.
|
2
|
3150,0
|
6300,0
|
63,0
|
94,5
|
2,5
|
157,5
|
0,32
|
|
Закладочный комплекс
|
ед.
|
2
|
3647,0
|
7294,0
|
72,9
|
109,4
|
2,5
|
182,35
|
2,15
|
|
Здание компрессорной
установки
|
ед.
|
1
|
2500,0
|
2500,0
|
25,0
|
37,5
|
2,5
|
62,5
|
0,12
|
|
Шахтный копер
|
ед.
|
5
|
1396,4
|
6982,0
|
69,8
|
104,7
|
2,5
|
174,55
|
0,36
|
|
Электроподстанция
|
ед.
|
1
|
1456,2
|
1456,2
|
14,5
|
21,8
|
2,5
|
36,4
|
0,07
|
|
ИТОГО
|
|
|
|
46242,7
|
|
|
|
1156,06
|
2,36
|
|
Здания и сооружения группы II
|
|
Здание АБК
|
ед.
|
1
|
8673,1
|
86731,0
|
867,3
|
1300,9
|
2,5
|
2168,27
|
4,42
|
|
Здание мех. мастерских
|
ед.
|
1
|
1381,2
|
1381,2
|
13,8
|
2,5
|
34,53
|
0,07
|
|
Здание склада
|
ед.
|
3
|
440,2
|
1320,6
|
13,2
|
19,8
|
2,5
|
33,01
|
0,06
|
|
Дороги
|
км
|
20
|
58,2
|
1164,0
|
11,6
|
17,4
|
2,5
|
29,1
|
0,06
|
|
ИТОГО
|
|
|
|
90596,8
|
|
|
|
2264,92
|
6,62
|
|
ВСЕГО:
|
|
|
|
136839,5
|
|
|
|
3420,98
|
8,60
|
Таблица 5.3. Смета затрат на приобретение оборудования
|
Виды работ и наименование
оборудования
|
Количество
|
Цена за ед., тыс.р.
|
Сумма затрат, тыс.р.
|
Доставка и монтаж,
|
Общая сумма затрат, тыс.р.
|
Норма амор- тизац. %
|
Годовые амортизац.
отчисления, руб.
|
|
|
|
|
%
|
тыс.р.
|
|
|
|
|
I. Нарезные и очистные работы
|
|
Минибур 1ФЭ
|
6
|
5000
|
30000
|
20,0
|
6000
|
36000
|
25
|
9000000,00
|
|
Microscop 100F
|
6
|
2500
|
15000
|
20,0
|
3000
|
18000
|
25
|
4500000,00
|
|
Зарядчик ЗП 2
|
6
|
12,5
|
75
|
20,0
|
15
|
90
|
33,3
|
29970,00
|
|
ВМ-5М
|
24
|
25,0
|
600,0
|
20,0
|
120
|
720,0
|
50
|
360000,00
|
|
|
ПВ-1,2/3,1
|
16
|
61,4
|
982,4
|
20,0
|
196,4
|
1178,8
|
20
|
235760,00
|
|
|
ИТОГО
|
55988,8
|
|
14125730,0
|
|
|
II. Горно-подготовительные работы
|
|
|
ППН-3
|
3
|
265,5
|
796,5
|
20,0
|
195,3
|
955,8
|
25
|
238950,00
|
|
|
ЛКР-1У
|
6
|
35,860
|
215,16
|
20,0
|
43,03
|
258,2
|
25
|
64550,00
|
|
|
ВМ-5М
|
3
|
25,0
|
75,0
|
20,0
|
15,0
|
90,0
|
50
|
45,00
|
|
|
2КВ
|
2
|
1500,0
|
3000,0
|
20,0
|
600,0
|
3600,0
|
20
|
720000,00
|
|
|
ИТОГО:
|
4904
|
|
1023545,00
|
|
|
III. Стационарное и прочее оборудование
|
|
|
ВОКД - 3
|
2
|
405,1
|
810,2
|
20,0
|
162,03
|
972,18
|
11,6
|
113005,2
|
|
|
ВОД-50
|
2
|
768,2
|
1536,4
|
20,0
|
307,28
|
1843,68
|
16,1
|
296832,48
|
|
|
К-10
|
9
|
540,0
|
4860,0
|
20,0
|
972,0
|
5832,0
|
14,3
|
833976,00
|
|
|
ВГ-4
|
231
|
78,4
|
18110,4
|
20,0
|
3622,0
|
21732,40
|
22,8
|
4955005,44
|
|
|
2Ц-3,5×1,7
|
1
|
839,9
|
839,9
|
20,0
|
167,98
|
1007,88
|
6,7
|
67527,96
|
|
|
2Ц-6×2,8
|
4
|
820,0
|
3280,0
|
20,0
|
656,0
|
3936,0
|
6,7
|
263712,00
|
|
|
2КН 3,6-3
|
10
|
14,53
|
145,3
|
20,0
|
29,26
|
174,36
|
25
|
43590,00
|
|
|
К-500
|
5
|
720,4
|
3602,00
|
20,0
|
720,40
|
1082,40
|
22,0
|
238128,00
|
|
|
ЦНС 300-480
|
3
|
80,40
|
241,20
|
20,0
|
48,24
|
289,44
|
14,3
|
41389,92
|
|
|
АФВ
|
54
|
6,5
|
349,9
|
20,0
|
70,0
|
419,90
|
20,0
|
83980,80
|
|
|
УПП с ТСВП
|
9
|
170,0
|
1530,0
|
20,0
|
306,0
|
1836,00
|
25,0
|
459000,0
|
|
|
АП-4
|
24
|
40,0
|
960,0
|
20,0
|
192,0
|
1152,00
|
25,0
|
288000,0
|
|
|
ИТОГО:
|
40278,24
|
|
7684147,80
|
|
|
Неучтенное оборудование
|
3210,85
|
|
681997,89
|
|
|
ВСЕГО
|
68405,99
|
|
14513975,6
|
|
Таблица 5.4.
Сводная смета на строительство рудника
|
№ п/п
|
Наименование работ и
капитальных затрат
|
Сумма капитальных затрат,
тыс. р.
|
Годовая проектная мощность
предприятия, тыс.т.
|
Затраты на 1 т добычи, р.
|
Сумма годовых амортизац.
отчислений, тыс. р.
|
Амор- тизация на 1 т
годовой добычи, р.
|
|
1
|
Горно-капитальные работы
|
241850,1
|
490
|
493,57
|
12196,40
|
24,87
|
|
Промышленные здания и
сооружения
|
136839,5
|
490
|
279,26
|
3420,98
|
6,98
|
|
|
Приобретение оборудования,
инструмента, инвентаря
|
68405,9
|
490
|
124,37
|
14513,9
|
26,38
|
|
|
Прочие затраты
|
25273,0
|
490
|
45,95
|
1609,5
|
2,92
|
|
|
Всего:
|
472368,5
|
|
943,15
|
31740,78
|
61,15
|
|
|
|
|
|
|
|
|
|
|
|
|
|
|
Таблица 5.5 Расчет штатов и фонда заработной платы трудящихся подземного
рудника.
|
Категория персонала и виды
работ
|
Численность, чел.
|
Структура штата, %
|
Месячный фонд заработной
платы, тыс.р.
|
Годовой фонд заработной
платы, тыс.р.
|
|
Явочная
|
Списочная
|
|
По тарифным ставкам и
разряд.
|
Премии и прочие доплаты
|
Итого основной заработной
платы
|
Итого с районным
коэффициентом
|
Дополнительная заработная
плата
|
|
|
А. Подземные рабочие
|
|
|
|
|
|
|
|
|
|
|
Основная группа: ГРОЗ ГПР
|
46 21
|
65 30
|
20,7 9,4
|
207,415 95,731
|
82,966 38,292
|
390,381 134,023
|
522,685 241,242
|
104,537 48,248
|
7526,665 3473,886
|
|
Итого
|
67
|
95
|
30,1
|
303,146
|
128,258
|
524,404
|
763,927
|
152,785
|
13730,172
|
|
Вспомогательная группа:
|
|
|
|
|
|
|
|
|
|
|
ВШТ Водоолив Вентиляция
Электромехан.
|
42 3 9 6
|
59 5 13 9
|
18,9 1,3 4,0 2,7
|
122,289 9,760 26,945 21,829
|
48,915 3,904 10,778 8,731
|
171,204 13,664 37,723
30,560
|
308,16 24,595 67,901 55,009
|
61,633 4,919 13,580 11,002
|
4437,524 354,168 977,775
792,129
|
|
Итого
|
60
|
86
|
27,0
|
180,823
|
72,328
|
253,151
|
455,665
|
91,134
|
6561,596
|
|
Итого подземных рабочих
|
127
|
181
|
57,2
|
483,969
|
200,586
|
777,555
|
1219,592
|
243,919
|
|
Б. Поверхностные рабочие
|
|
|
|
|
|
|
|
|
|
|
Вентиляторная Подъем
Компрессорная Закладочный Элек.снабжение Мастерские Склады
|
6 9 9 8 6 9 6
|
9 13 13 12 9 13 9
|
2,7 4,0 4,0 3,6 2,7 4,0 2,7
|
11,722 18,384 18,384 15,629
17,701 18,384 11,722
|
4,688 7,353 7,353 6,251
7,080 7,353 4,688
|
16,410 25,737 25,737 21,880
24,781 25,737 16,410
|
29,539 46,327 46,327 39,385
44,606 46,327 29,539
|
5,907 9,265 9,265 7,877
8,921 9,265 5,907
|
425,360 667,110 667,110
567,144 642,327 667,110 425,360
|
|
Итого поверхностных рабочих
|
53
|
78
|
23,8
|
111,926
|
44,766
|
156,692
|
282,050
|
56,407
|
3419,377
|
|
Итого рабочих на руднике
|
180
|
259
|
81,0
|
595,895
|
245,352
|
934,247
|
1501,579
|
300,326
|
23711,145
|
|
В. ИТР Г. Служащие Д. МОП
|
24 12 6
|
34 17 9
|
10,8 5,4 2,7
|
142,800 35,700 13,500
|
57,120 14,280 5,400
|
199,920 49,980 18,900
|
359,856 89,964 34,020
|
71,971 17,992 6,804
|
5181,926 1295,472 489,888
|
|
Всего трудящихся по руднику
|
222
|
319
|
100
|
787,895
|
322,152
|
1203,047
|
1985,419
|
397,093
|
27948,81
|
|
|
|
|
|
|
|
|
|
|
|
|
|
|
|
|
|
|
Таблица 5.6. Сводная ведомость производительности труда, трудоемкости и
средней заработной платы.
|
№ п/п
|
Категория трудящихся
|
Производительность труда
|
Трудоемкость, чел-смен
1000т
|
Средняя заработная плата,
р/мес.
|
|
|
В смену т
|
В месяц т
|
|
|
|
|
|
|
|
|
|
1
|
Рабочие: а) забойные на
проходч. работах; б) забойные на очистной выемке; в) подземные; г) по руднику
|
28,6 62,0 14,1 10,0
|
1527,7 3906,0 888,3 630,0
|
26,7 13,4 79,4 108,9
|
289490,50 627222,10
1144181,00 1975928,75
|
|
2
|
ИТР
|
|
|
|
431827,16
|
|
3
|
Служащие и МОП
|
|
|
|
148780,00
|
|
4
|
Трудящиеся по руднику
|
8,1
|
510,8
|
132,2
|
2329067,50
|
Таблица 5.7. Определение расходов на материалы и их стоимость
|
Наименование материала по
видам работ
|
Ед. измерения
|
Норма расхода на 1 т руды
|
Количество потребляемого
материала
|
Цена за ед., р.
|
Сумма затрат на материалы,
тыс.р.
|
|
ГПР: Буровая штанга Коронка
ВВ Электродетонатор Провод Вент. рукав Шпалы деревянные Рельсы Р33 Провод
троллейный
|
кг шт кг шт шт м м3 кг м
|
0,013 0,006 0,085 0,064
0,006 0,004 0,001 0,264 0,004
|
7150 3300 46750 352000
3300 2200 550 145200 2200
|
58,05 180,00 18,5 1,20
1,10 200,10 1264,12 10,06 95,76
|
415,057 594,000 864,875
422,400 3,930 440,220 695,266 1460,712 210,672
|
|
Итого
|
|
|
|
|
4896,46
|
|
Нарезные и очистные работы:
Буровая сталь Твердые сплавы ВВ СИНВ-Ш Вент. рукав Лесоматериал
|
кг кг кг шт м м3
|
0,11 1,72 0,6 0,59 0,04
0,006
|
60500 946000 330000
324500 2200 3300
|
58,18 2,57 18,50 1,20
200,10 1190,50
|
3519,890 2431,220
6105,000 389,400 440,220 3928,650
|
|
Итого
|
|
|
|
|
16814,38
|
|
ВШТ: Шпалы деревянные
Рельсы Р33 Троллей
|
м3 кг м
|
0,001 0,088 0,001
|
550 48400 550
|
1264,12 10,06 95,76
|
695,266 486,904 52,668
|
|
Итого
|
|
|
|
|
1234,838
|
|
Вентилят. уст-ка: Смазка
универсаль. Обтир. материал
|
кг кг
|
0,003 0,001
|
1650 550
|
9,35 0,86
|
15,427 0,473
|
|
Итого
|
|
|
|
|
15,900
|
|
Шахтный подъем: Канат d=50,5
мм Смазка Обтир. материал
|
м кг кг
|
0,002 0,001 0,0003
|
1100 550 165
|
17,05 9,35 0,86
|
18,755 5,142 0,141
|
|
|
Итого
|
|
|
|
|
24,038
|
|
|
Водоотлив: Трубы Смазка
Обтир. материал
|
кг кг кг
|
0,003 0,007 0,0003
|
1650 3850 165
|
17,05 9,35 0,86
|
28,132 35,997 0,141
|
|
|
Итого
|
|
|
|
|
64,270
|
|
|
Пневмо.хозяйство: Трубы
Смазка Обтир. материал
|
кг кг кг
|
0,042 0,001 0,0003
|
23100 550 165
|
17,05 9,35 0,86
|
393,855 5,142 0,141
|
|
|
Итого
|
|
|
|
|
399,138
|
|
|
Наименование материала по
видам работ
|
Ед. измения
|
Норма расхода на 1 т руды
|
Количество потребляемого
материала
|
Цена за ед., р.
|
Сумма затрат на материалы,
р.
|
|
|
Электроснабжение: Кабель
Трансформаторное масло
|
м кг
|
0,003 0,002
|
1650 1100
|
120,00 9,40
|
198,000 10,340
|
|
|
Итого
|
|
|
|
|
208,340
|
|
|
ВСЕГО
|
|
|
|
|
23657,364
|
|
|
|
|
|
|
|
|
|
|
|
|
Таблица 5.8. Сводная смета затрат и калькуляция себестоимости добычи, на
1т руды
|
№ п/п
|
Элементы и статьи затрат
|
Проектируемые годовые
затраты, тыс. р.
|
Затраты на 1 т руды
|
|
|
|
|
р.
|
%
|
|
1
|
Основная заработная плата
производственных рабочих
|
27948,81
|
57,04
|
7,7
|
|
2
|
Дополнительная заработная
плата производственных рабочих
|
5589,76
|
11,40
|
1,5
|
|
3
|
Отчисления на социальные
нужды
|
11179,52
|
22,80
|
3,1
|
|
4
|
Вспомогательные материалы
|
23657,364
|
438,28
|
6,5
|
|
5
|
Энергия на технологические
цели
|
43637,00
|
89,00
|
12,0
|
|
6
|
Амортизационные отчисления
|
32378,6
|
66,08
|
8,8
|
|
7
|
Расходы по закладке пустот
|
35630,85
|
526
|
9,7
|
|
8
|
Внутрирудничное перемещение
грузов
|
22198,00
|
45,30
|
6,1
|
|
9
|
Расходы на содержание и эксплуатацию
оборудования
|
14513,9
|
29,62
|
4,0
|
|
10
|
Расходы на подготовку и
освоение производства
|
34211,80
|
69,82
|
9,4
|
|
11
|
Общецеховые (общерудничные)
расходы
|
60466,00
|
132,40
|
16,5
|
|
12
|
Попутная добыча
|
2944,90
|
6,01
|
0,8
|
|
13
|
Налог на добычу полезных
ископаемых
|
17105,9
|
34,91
|
4,6
|
|
14
|
Прочие производственные
расходы
|
15552,6
|
31,74
|
4,3
|
|
15
|
Производственная
себестоимость
|
347000,5
|
708,15
|
95
|
|
16
|
Внепроизводственные расходы
|
17347,00
|
35,40
|
5,0
|
|
Полная себестоимость
|
364350,52
|
1193
|
100
|
|
|
|
|
|
|
|
|
Таблица 5.9. Технико-экономические показатели
|
№ п/п
|
Наименование показателей
|
Ед. изм.
|
По данным рудника
|
Фактически по проекту
|
|
|
1
|
Запасы руды: Балансовые
эксплуатационные
|
т
|
12640000 13963000
|
12640000 125667000
|
|
|
2
|
Производительность рудника
|
т / год
|
650000
|
650000
|
|
|
3
|
Срок службы рудника
|
лет
|
31
|
31
|
|
|
4
|
Удельные капитальные
затраты
|
р.год/т
|
61,15
|
61,15
|
|
|
5
|
Потери руды
|
%
|
5
|
5
|
|
|
6
|
Разубоживание руды
|
%
|
40
|
40
|
|
|
7
|
Производительность
основного забойного оборудования:
|
т/смену
|
148,0
|
148,0
|
|
|
8
|
Производительность труда
забойного рабочего
|
т/смену
|
24,2
|
20,5
|
|
|
9
|
Удельный вес в общей
численности трудящихся: забойных рабочих подземных рабочих ИТР
|
%
|
20,7 57,2 10,8
|
20,7 57,2 10,8
|
|
10
|
Себестоимость добычи руды
|
р./т
|
1345
|
1216
|
|
11
|
Рентабельность работы
рудника
|
%
|
30
|
38
|
|
12
|
Срок окупаемости
капитальных вложений
|
лет
|
16,4
|
16,4
|
|
13
|
Экономическая эффективность
от внедрения предлагаемой технологи
|
тыс.р / год
|
-
|
84 038 121
|
|
|
|
|
|
|
|
|
|
6. ОХРАНА
ТРУДА
Строительные и эксплуатационные работы на верхних горизонтах рудника
ведутся в соответствии с требованиями:
ЕПБ при разработке рудных, нерудных и россыпных месторождений
подземным способом;
ЕПБ при взрывных работах;
ПТЭ рудников, приисков и шахт, разрабатывающих месторождения
цветных, редких и драгоценных металлов;
Санитарных норм проектирования предприятий, заводов и установок
(СниП-77);
Временной инструкцией по безопасному применению в подземных
условиях самоходного оборудования с пневматическим и дизельным
приводами.
Все рабочие перед спуском их к объекту деятельности обязаны проходить
ежемесячный инструктаж по технике безопасности.
6.1 Мероприятия по снижению концентрации радона в горных выработках
Все не находящиеся в эксплуатации или временно используемые выработки
должны быть изолированы герметичными перемычками, а все основные
воздухопадающие выработки должны быть торкретированы. Уменьшению объемов
проветриваемых выработок должно способствовать ведение работ с учетом
нормативов непогашенных пустот. Снижение содержания поступающего в рудничную
атмосферу радона до допустимых санитарных норм способствует нагнетательная
схема проветривания.
6.2 Борьба с пылью
Согласно санитарным нормам каждый рудник, независимо от содержания
кремнезема (SiO2) в породах относят к категории
силикозоопасных предприятий (по группе болезней, относящихся к пневмокониозам).
В связи с этим необходимо проведение комплекса мероприятий, включающего:
обеспыливание вентиляционных потоков;
удаление пыли воздушной струей при проветривании
выработки;
применение туманообразователей в местах пылевыделения;
применение средств обеспыливания при выполнении всех
производственных процессов.
Для уменьшения запыленности подаваемого воздуха предусматривается
применение высотного воздухозабора на шахте 12В. Территория вблизи
воздухозаборного сооружения должна быть частично асфальтирована и озеленена в
радиусе не менее 100 м, а участки прилегающих дорог должны систематически
орошаться. Поступивший в шахту воздух подвергается дополнительной очистке
водяными завесами, размещаемыми на основных воздухопадающих выработках.
Удаление пыли осуществляется общешахтной струей и вентиляторами местного
проветривания (ВМП). На ВМП размещают многослойные каркасные фильтры МКФ,
которые изготавливают в ремонтных мастерских.
Пылеподавление на рабочих местах производят с применением следующих
методов:
применением в процессе бурения промывочных жидкостей;
орошение забоев ручными оросителями перед взрыванием и перед
погрузкой горной массы;
периодическим орошением навала рудной массы в процессе погрузкии
доставки.
В качестве дополнительной меры для защиты персонала от попадания пыли в
органы дыхания применяют различные конструкции респираторов.
6.3 Мероприятия по снижению воздействия на персонал вибраций и шума
Работа эксплуатируемого на рудниках горное оборудование в большинстве
своем сопровождается уровнями шума и вибрации, превышающими санитарные нормы.
Существующие средства защиты органов слуха от шумовых нагрузок
(звукопоглощающие наушники) позволяют снизить уровень шума лишь до 5…7 Дб, что
не удовлетворяет требованиям санитарных норм. В этой связи наиболее эффективным
способом являются противошумные вкладыши «беруши».
В целях ограничения воздействия вибраций рабочих механизмов на персонал
необходимо применение виброгасящих устройств, либо использование оборудования,
не требующего непосредственного контакта его с персоналом (бурильных установок,
самоходной техники с дистанционным управлением, компьютеризации работы горной
техники).
6.4 Промсанитария
Нормами радиационной безопасности определен максимальный уровень
воздействия на организм человека, базирующийся на трех позициях:
гамма-облучение долгоживущими радионуклидами и скрытой
энергией дочерних продуктов распада радона;
содержанием компонента в добываемой руде и рудной массе;
уровень экспозиции за счет долгоживущих радионуклидов, связанный
концентрацией пыли и содержанием в ней металла.
Основными мерами по снижению воздействия указанных факторов являются
интенсификация проветривания горных выработок и выноса пыли, а также применение
респираторов типа «лепесток».
Основными мероприятиями, снижающими уровень воздействия на персонал так
называемых спец. факторов, являются:
уменьшение геометрии облучения за счет повышения уровня
централизации добычных работ;
производство ремонтных работ за пределами зон с прямым
излучением;
предупреждение нарушений режимов проветривания;
подача в очистные и проходческие забои воздуха с наименьшими
начальными концентрациями в нем скрытой энергии и интенсивное
проветривание;
применение средств индивидуального дозиметрического контроля.
В перечень общих санитарных норм входят мероприятия:
предварительный и периодический медицинский контроль;
обеспечение персонала индивидуальными средствами защиты и
питьевой водой;
создание в забоях приемлемых условий труда с точки зрения теплового
режима, например, подогрев воздуха калориферными установками в зимний период
времени до температуры не ниже + 20С.
6.5 Служба контроля условий труда и охрана окружающей среды
Производственная деятельность горного предприятия в целом создает
предпосылки для загрязнения окружающей среды отходами производства и нарушения
рельефа местности. Отходами от процесса добычи руды подземным способом являются
выдаваемые «на-гора» пустые породы, забалансовые руды, выбросы воздуха шахтной
вентиляции и шахтные воды. Нарушение ландшафта обусловлено изъятием земли из
системы ее государственного оборота для размещения на ней зданий и сооружений
надшахтного комплекса. В условиях рудника № 1 пустые породы в объеме до 30%
может быть подвергнута утилизации, а именно - частичного ее использования при
приготовлении закладочных составов. В случае, если содержание в породе вредных
компонентов ниже ПДК, она может быть использована при подсыпке автодорог,
планировки местности, заполнения техногенных котлованов.
Забалансовые руды направляют на кучное выщелачивание с последующим
использованием части из них в качестве заполнителя закладочных смесей.
Шахтные воды, выдаваемые на поверхность содержат не только трещинные и
грунтовые воды, но и, например, отработанную промывочную жидкость. Шахтные воды
могут быть использованы в технологических целях (например для обеспечения
гидрообеспыливания при бурении шпуров и скважин).
Газообразные отходы (выбросы шахтной атмосферы) должны содержать вредные
включения в пределах санитарных норм. Кроме того выработки исходящей струи,
имеющие выход на поверхность, должны размещаться с тем учетом, чтобы выбросы по
«розе ветров» не распространялись на объекты жизнедеятельности населения.
6.6 Противопожарные мероприятия
На поверхности, в 1,5 км от ствола 1К, размещены три пожарных емкости, из
них две - объемом по 2000 м3, а третья - объемом 400 м3. Емкости соединены
трубопроводами со всеми пожарными гидрантами, расположенными на промплощадке
рудника.
В подземных выработках первичные средства пожаротушения размещают, в
частности, в следующих местах:
в камерах участковых трансформаторных подстанций;
в камерах электровозных депо;
на расходном складе ВМ;
в камерах ремонтных мастерских;
в электрораспределительных пунктах;
в камерных выработках главного водоотлива и околоствольных дворов.
Основные места хранения противопожарных рукавов:
на расходном складе ВМ;
околоствольные дворы - по два с каждой стороны;
камеры водоотлива, участковые подстанции, ЦПП;
камеры хранения ГСМ, ремонтные мастерские.
На руднике производится количественный учет персонала, спустившегося в
шахту и вышедшего на поверхность. Каждый, спускающийся в шахту, обеспечивается
спец.одеждой и обувью установленного образца, исправным головным светильником и
самоспасателем СПП-4.
6.7 План ликвидации аварий
План ликвидации аварий разрабатывается на одно полугодие и включает
оперативную часть и пояснительную записку.
Пояснительная записка в настоящем проекте рассмотрена с позиции
обязанностей лиц технического надзора.
Обязанности начальника и заместителя начальника аварийной службы
Начальник или зам.начальника аварийного участка обязаны:
немедленно лично (или через своих рабочих) сообщить о своем
местонахождении руководителю работ (ответственному лицу). В случае, если
начальник участка или его заместитель находятся в шахте, принимает меры к выводу
персонала из опасной зоны и ликвидации аварии;
находясь на поверхности, по указанию ответственного руководителя работ
спускается в шахту, выясняет число оставшихся на подземном участке людей и
принимает меры к выводу персонала в безопасное место, как это предусмотрено
планом ликвидации аварии для каждого конкретного случая. В своих действиях
постоянно ставит в известность ответственного руководителя;
один из помощников или начальник участка во время работ по ликвидации
аварии остается при ответственном руководителе работ для владения информацией о
состоянии выработок, оборудования и т.д.
Обязанности сменного горного мастера аварийного участка
Сменный горный мастер аварийного участка:
застигнутый аварией, принимает меры к спасению людей и выводу их из аварийного
участка согласно диспозиции, предусмотренной ПЛА, и немедленно сообщает о
происшедшей аварии диспетчеру или оператору телефонной системы «Зенит» для
вызова ОВГСО;
находясь на поверхности и узнав об аварии, немедленно является для
получения распоряжений к ответственному руководителю работ.
ЗАКЛЮЧЕНИЕ
В дипломном проекте представлена геология месторождения, годовая
производительность рудника составила 650000 т/год при сроке работы предприятия
31 год.
В спец.части проекта при проектировании системы разработки с нисходящей
слоевой выемкой и твердеющей закладкой, предложена технология совершенствования
ведения закладочных работ. Предложенная технология современного закладочного
оборудования, уменьшение использования цемента за счет закупки зольного микронаполнителя
и активации воды значительно снижает затраты на закладку тем самым уменьшает
себестоимость добычи 1 т руды.
В горно- механической части проекта выбрано оборудование и рассчитаны
параметры подземного транспорта рудника, вентиляции, главного подъема,
водоотлива, компрессорной станции, закладочного комплекса, и электроснабжения
участка.
В экономической части проекта произведен расчет затрат и калькуляции
себестоимости добычи по руднику 1т руды - 1216р/т. Рентабельность работы
рудника составила 38 %.
Список литературы
1. Агошков
М.И., Борисов С.С., Боярский В.А. Разработка рудных и нерудных месторождений. -
М.: Недра, 1983. - 690 с.
. Единые
правила безопасности при разработке рудных, нерудных и россыпных месторождений
полезных ископаемых подземным способом. -М.: ГУП «НТЦ по безопасности в
промышленности Госгортехнадзора России», 2004 -261с.
. Именитов
В.Р. Процессы подземных горных работ при разработке рудных месторождений. - М.:
Недра, 1984. - 503 с.
4. Ирназаров
Р.Ф. Экономика и менеджмент горного производства. Метод.указ. - Чита: ЧитГТУ,
2003, - 62 с.
5. Нормы
технологического проектирования рудников цветной металлургии с подземным
способом разработки. - М.: Недра, 1986. - 221 с.
6. Единые
нормы выработки и времени на подземные очистные, горнопроходческие и нарезные
горные работы. Часть1.- М.: Недра, 1985.
7. Пирогов
Г.Г. Подземная разработка месторождений цветных металлов. Учеб. пособие. -
Чита: ЧитГТУ, 1997. - 190 с.
. Правила
технической эксплуатации рудников, приисков и шахт, разрабатывающих
месторождения цветных, редких и драгоценных металлов.- М.: Недра,1980.-241 с.
. Рудничная
вентиляция: Справочник/ Н.Ф.Гращенков, А.Э.Петросян, М.А.Фролов и др.; Под ред.
К.З. Ушакова. - М.:Недра,1988.-440с.
. Справочник
по горнорудному делу./ Под ред. В.А. Гребенюка, - М.: Недра, 1983. - 815 с.
11. Справочник
по закладочным работам / Под ред. Д.М. Бронникова, М.Н. Цыгалова. - М.: Недра,
1989. - 320 с.
12. Справочник.
Подземный транспорт шахт и рудников. Под общей ред. Г.Я.Пейсаховича,
И.П.Ремезова. -М.:Недра,1985.-565с.