Методика программирования в LabView

  • Вид работы:
    Дипломная (ВКР)
  • Предмет:
    Информационное обеспечение, программирование
  • Язык:
    Русский
    ,
    Формат файла:
    MS Word
    1,29 Мб
  • Опубликовано:
    2013-01-29
Вы можете узнать стоимость помощи в написании студенческой работы.
Помощь в написании работы, которую точно примут!

Методика программирования в LabView

Содержание

Введение

. Среда программирования LabView - основные понятия

.1 Как работает LabVIEW?

.2 Структура VI

.3 Передняя панель

.4 Блок-схема

.5 Пиктограммы и Разъёмы входа/выхода

. Разработка ТЗ

.1 Разработка структурной схемы лабораторного стенда и алгоритма функционирования

.2 Схема принципиальная электрическая преобразователя напряжение-частота

.2.1 Несинхронизируемые ПНЧ

.2.2 Компораторы

.2.3 Одновибратор

.3 Разработка методического обеспечения

.3.1 Цель разработки задания

.3.2 Язык программирования

. Организационно-экономическая часть

.1 Технико-экономическое обоснование проекта

.2 Цели и задачи работы представлены в виде схемы «Дерево целей»

.3 Организационная часть

.4 Экономическая часть

.5 Расчет расходов на материалы

.6 Расчеты затрат на содержание и эксплуатацию оборудования

.7 Общая смета затрат на разработку лабораторной работы

.8 Вывод

. Безопасность и экологичность проектных решений

.1 Мероприятия по безопасности труда и сохранению работоспособности

.1.1 Планировка помещения, размещение оборудования

.1.2 Эргономические решения по организации рабочих места пользователей ПЭВМ

.1.3 Цветовое оформление помещения

.2 Обеспечение оптимальных параметров воздуха рабочих зон

.2.1 Нормирование параметров микроклимата

.2.2 Нормирование уровней вредных химических веществ

.2.3 Нормирование уровней аэроионизации

.3. Создание рационального освещения

.4 Защита от шума

.5 Обеспечение режимов труда и отдыха

.6 Обеспечение электробезопасности

.7 Обеспечение пожарной безопасности

. Выводы

Заключение

Список литературы

Примечание: Программная оболочка

Введение

- прикладная программа разработки пользовательских приложений, очень схожая с языками C или БЕЙСИК, или National Instruments LabWindows/CVI. Однако, LabVIEW отличается от этих прикладных программ в одном важном отношении. Другие системы программирования используют текстово - ориентированные языки, для создания строк исходного кода программ, в то время как LabVIEW использует графический язык программирования, под кодовым названием "G", для создания программ в форме блок-схемы., подобно C или БЕЙСИКУ, является универсальной системой программирования с мощными библиотеками функций для различных задач программирования. LabVIEW включает в себя библиотеки инструментов для:

· сбора данных,

· обмен данными с устройства по GPIB (Многофункциональный Интерфейс фирмы HP) ,

· обмен данными с устройства по стандарту RS-232,

· анализа данных,

· представления данных,

· хранения обработанных данных на носителях различного типа.

LabVIEW также включает стандартные средства автоматического проектирования приложений, такие, что Вы можете устанавливать контрольные точки, представлять в виде стендовой модели выполнение Вашей программы, так, чтобы видеть, как данные проходят через программу шаг за шагом, чтобы упростить понимание происходящих процессов.

1. Среда программирования LabView - основные понятия

Labview это программа, созданная для воссоздания эксперимента с помощью компьютера. Её использует множество ученых и инженеров во всем мире. Labview предоставляет возможность работать с численными, двоичными, строковыми данными, а также с группами и массивами. Кроме того существует возможность вывода результата в виде графика, то есть построения графиков различных функций.

Среднестатистический пользователь LabVIEW - инженер, ученый, разрабатывающий реальную компьютерную систему ввода/вывода и обработки сигналов различной природы (температура, звук, видео и др. или их модели), человек, который не может себе позволить (или не хочет) окунаться в тонкости программирования для современных 32-х разрядных операционных систем. Когда конфигурация и функциональная схема системы определены, вопрос рутинного программирования становится зачастую камнем преткновения и главным тормозом в работе.

Решение проблемы - средство программирования, которым может воспользоваться любой человек, знакомый с функциональными блок-диаграммами, а не только программист - гуру,. Именно таким инструментом и стал LabVIEW для десятков тысяч пользователей во всем мире. Более десяти лет назад National Instruments предложила и запатентовала новый, графический язык программирования «G». Оперируя знакомыми понятиями : функциональный блок, соединение, диаграмма, инженер быстро и, что очень важно наглядно, решает поставленную задачу, не углубляясь в дебри программирования. По самым осторожным оценкам у разработчиков на LabVIEW сроки выполнения работ сокращаются как минимум в 4-10 раз. Если при этом принять во внимание, что LabVIEW компилирует графические картинки (блок-диаграммы) в машинный код, что обеспечивает высокую скорость выполнения программ, то популярность такого решения становится понятна.

Должную надежность обеспечивает широкое использование готовых (значит тысячи раз проверенных другими программистами) программных модулей. Это драйвера устройств ввода/вывода сигналов, полный набор математики от элементарной арифметики до сложной обработки сигналов, индикаторы, переключатели и графики на лицевой панели, функции для работы с массивами и сложными структурами данных, функции сетевого взаимодействия и др.

Основная цель статьи дать возможность попробовать LabVIEW на вкус. Для чего рассмотрим простой пример: генератор случайного сигнала. Подразумевается, что у Вас уже установлен LabVIEW 5.0 или более поздний и вы готовы потратить полчаса для того, что бы узнать как это работает. Возможно, не все будет получаться с первого раза. Не торопитесь, прочитайте инструкции еще раз. Очень скоро вы удивитесь, как удачно и понятно работают элементы LabVIEW. Идея - проста: вы создаете виртуальный прибор - VI (Virtual Instrument) - аналог традиционных измерительных устройств. Функционирование такого прибора определяет блок-диаграмма, где вы просто соединяете функциональные блоки проводниками. Начнем, однако, мы с «одежки», по которой принимают или с лицевой панели прибора.

1. Запускаем и создаем новый VI (меню File->New или New VI). На экране должно появиться два окна: Лицевая панель Untitled 1 (серое поле 1) и Блок-диаграммы Untitled 1 Diagram (белое поле 2).

Рис.1

- лицевая панель,

- панель блока-диаграмм,

- кнопка запуска программы на исполнение "Run"

Для сохранения трудов рекомендую сохранить ваш виртуальный прибор (VI) под именем "test.vi". В дальнейшем будем именовать элементы нашего прибора просто лицевая панель (серое поле) и окно диаграммы (белое поле). Выведите набор инструментовTools (меню Windows->Show Tools Palette).

Рис.2

1 - Positioning/Size/Select, стрелка позиционирования и масштабирования объектов,

2 - Operate Value, указатель, позволяет воздействовать на графические объекты,

3 - Connect Wire, катушка, служит для проведения соединений

С помощью различных представленных в нем инструментов вы будете выполнять различные действия. Общее правило для всех элементов: Если подвести курсор к какому либо элементу и подождать пару секунд - в желтой рамке появится название инструмента или кнопки. Название элементов набора Tools отвечает их назначению и будет понятно по мере их использования. Для начала выберем Positioning/Size/Select (обычный курсор-стрелка на рисунке отмечен цифрой 1).

2. Нажатие правой кнопки мыши на лицевой панели (серое поле) вызывает набор индикаторов и органов управления, которые используются для создания собственной лицевой панели для управления и отображения информации. Создадим панель как показано на рисунке ниже. Для этого выберем (удерживая правую кнопку нажатой) из появившегося набора Controls объект-график Graph->WaveformChart , отпустим кнопку и перенесем его на нашу лицевую панель и нажатием левой кнопки поместим его в нужном месте.

Рис.3

1 - Из палитры органов управления "Controls" выберите меню "Graph",

2 - А в нем график "Waveform Chart" и поместите его на переднюю панель,

3 - Задайте графику имя "Случайный процесс"

3.В появившемся справа над изображением органа управления сером квадрате введем имя (в нашем случае «Случайный процесс»), набрав текст на обычной и «Enter» на цифровой клавиатуре (или соответствующую кнопку под пунктом меню File в верхнем правом углу). Если по каким-либо причинам имя потерялось, нажмите на правую кнопку мыши над серой рамкой графика, появится меню, выберите в нем Show->Label и введите текст с помощью инструмента Edit Text (буква «А» в верхнем ряду инструментов на Рис.2). Общее правило: левая кнопка мыши - выбор элемента, правая - вызов его меню.

4. Перейдите в окно блок-диаграммы (Windows/Show Diagram). Там вы должны обнаружить изображения-терминалы созданного вами на лицевой панели графика «Случайный процесс» (оранжевый прямоугольник).

5. Дополним картину как показано на Рис.4. Нужные функциональные блоки вы найдете, нажав на правую кнопку мыши на пустом поле блок-диаграммы в наборе функций Functions->Numeric->Random Number (0-1), (изображение игральных костей - генерация случайных чисел от 0 до 1), Functions->Numeric->Multiply (Умножение) Расставьте их согласно рисунка с помощью инструмента Positioning/Size/Select.

Рис.4

1 - Функция генерации случайного числа в диапазоне от 0 до 1,

2 - Функция умножения двух чисел "x * y",

3 - Представление графика "WaveformChart" в панели блока диаграмм

6. Для расширения диапазона сигнала умножим полученное случайное число на 10 (фактически выполним усиление). Для этого зададим константу на входе пиктограммы Multiply (Умножение). Нажатие на правую кнопку в левом нижнем углу желтого треугольника с изображением «х» вызовет меню. Выберем пункт «Create Constant» и введем соответствующее значение «10» (для изменения числовых значений можно использовать инструмент Operate Value №2 на Рис.2).

7. Соедините функциональные блоки и их терминалы в блок-диаграмму как показано на Рис.5 (слева - входы, справа - выходы).

Рис.5

1 - Выберите инструмент "катушка с проводом",

2 - При соединении около входов и выходов функций появляется их краткое описание

Для этого выберите «катушку с проводом» ConnectWire из палитры инструментов Tools (Рис.2). Подведите курсор (он должен быть в виде катушки) к источнику сигнала (например терминал «Случайный процесс»). Он должен при этом замигать. Нажмите/отпустите на нем левую кнопку мыши один раз (зацепите «провод») и переместите катушку (протяните «провод» - пунктир) к точке второго соединения: второму входу функции умножение (она замигает) и нажмите/отпустите левую кнопку еще один раз. Пунктирная линия должна превратиться в сплошную. Соединение готово. Цвет линий и терминалов говорит о типе передаваемых данных. Если не получилось - попробуйте еще раз. Удалить плохие соединения можно, как и другие функциональные элементы диаграммы выделив их (инструмент Positionong/Size/Select) и нажав DELETE.

8. Перейдите на лицевую панель и запустите Ваш первый VI. Для этого нажмите несколько раз кнопку Run (Рис.1 <#"607501.files/image006.gif">

Рис.6

1 - Цикл с условием While Loop,

2 - Все, что находится в кольце цикла исполняется до его завершения,

3 - терминал - условия продолжения выполнения цикла

Если сразу не получится, то сделайте операцию «Undo» (только LabVIEW 5) из меню «Edit» и попробуйте снова.

10. На рисунке рис.6 стрелка 3 указывает на зеленую пиктограмму условия продолжения цикла. Если на нее подать значение «False» (Ложь), то цикл остановится, а если подать «True» (Истина), то цикл будет продолжаться. Для этого создадим орган управления аналогично созданию константы в п.6. Если щелкнуть правой кнопкой мыши на изображении терминала условия, то появится контекстное меню из которого выберите второй пункт Create Control, после чего автоматически на переднюю панель добавится кнопка управления циклом. Остается перейти на переднюю панель и расположить эту кнопку в нужном месте. Управление кнопкой осуществляется инструментом в виде кисти руки Operate Value (Рис.2)

11. Включите прибор (кнопка в положении «ON») и запустите VI (кнопкастрелка Run на Рис.1). На графике появится бегущее изображение случайного процесса. Выключить прибор вы можете вернув кнопку в положение «OFF». Запустите генератор еще раз и перейдите к блок-диаграмме. Нажмите кнопку отладки (лампочка по пунктом меню Project) и вы увидите, как работает ваша программа! Верните кнопку-лампочку в исходное положение.

12. Наконец, введем плавное задание коэффициента усиления. Для этого необходимо заменить константу, на которую умножается случайное число, на ручку регулирования. Для этого установите на передней панели элемент из Controls->Numeric->Knob. Этот элемент выглядит как ручка, поворачивая которую мышкой можно задавать числовые значения от 0 до 10 рис.7.

Рис.7

- Выберите орган ручка управления,

- Поместите его на переднюю панель и задайте имя "Усиление",

- В блок диаграмме программы подключите элемент "Усиление" вместо константы

Как и в случае с графиком задайте новому элементу управления имя "Усиление". Затем в панели блока диаграмм удалите константу "10" и связывающие ее проводники. Поместите отображение ручки "Усиление" на место константы и соедините ее с освободившимся входом оператора умножения рис.7. Запустите программу и попробуйте вращать ручку.

13. Теперь превратим наш прибор в подпрограмму. Выделите часть диаграммы внутри серой рамки цикла с помощью инструмента - стрелки Position/Size/Select и выберите пункт меню Edit->CreatSubVI. Ваша диаграмма свернется в один блок с соответствующими входами и выходами и заданными вами функциями. Щелкните левой кнопкой дважды на этом блоке. Откроется лицевая панель и блок-диаграмма нового выбранного блока или SubVI - аналога подпрограммы на других языках программирования. Вы можете сохранить этот блок в отдельном файле (назовите его например «Генерация случайного сигнала») и затем использовать его как готовый модуль в следующих программах.

14. Вернитесь в блок-диаграмму первого созданного модуля и выберите пункт меню Help->Show Help. На экране появится окно оперативной подсказки дающее информацию о каждом элементе блок-диаграммы на который в данный момент указывает курсор мыши. Например - созданного вами в п.13 SubVI. Такая подсказка - прекрасный инструмент для изучения примеров. Теперь вы умеете работать в LabVIEW и можете создавать или моделировать более сложные системы, работающие с реальными устройствами ввода/вывода сигналов. Осталось последовательно освоить обширный набор библиотек и возможностей LabVIEW для чего лучше начать с примеров (меню Help->Search Examples). Обратите внимание на блок диаграммы (меню Windows->Show Diagram). Подробную информацию вы найдете во встроенной справке (меню Help).

1.1 Как работает LabVIEW?

LabVIEW - универсальная система программирования, но также включает библиотеки функций и средств проектирования, разработанных определенно для сбора данных и инструментов управления и обработки данных. Программы LabVIEW названы виртуальными приборами (VIs), потому что их действия и внешний вид может имитировать реальные приборы. В тоже время, VIs подобны функциям стандартных языков программирования. Однако, VIs имеют ряд преимуществ перед функциям стандартных языков программирования:

· VIs более наглядны,

· просты для конструирования измерительных модулей и взаимодействия с оператором,

· Внутренняя структура VIs является для пользователя “чёрным ящиком” с известными входами и выходами, что упрощает применение VIs и обеспечивает автоматическую совместимость различных VIs. Однако в этом можно обнаружить существенный недостаток. Из за того, что неизвестна внутренняя структура VIs, то не известны и погрешности, возникающие внутри VIs. Соответственно, в случае если погрешности не документированы их приходится принимать равными нулю.

 

1.2 Структура VI

VI состоит из интерактивного интерфейса пользователя, диаграммы прохождения данных, которая служит исходным текстом, и пиктограммы соединения (входы и выходы), которые позволяют VI быть вызванными из VIs более высокого уровня.

Более определенно, проектируемый VI структурирован следующим образом:

· Интерактивный интерфейс пользователя VI назван Передней Панелью, потому что он моделирует панель реального прибора. Передняя панель может содержать кнопки, переключатели, индикаторы, диаграммы, графики, и другие средства отображения и управления. Вы вводите данные, используя мышь и клавиатуру (имитируя действия с реальной передней панелью ) , и затем просматриваете результаты на экране компьютера.

· VI получает команды от блок-схемы,(состоящей из VIs более низкого уровня и примитивов), которую Вы создаете в языке визуального проектирования “G”. Блок-схема - это иллюстрированный алгоритм действий VI, одновременно являющийся исходным текстом VI.

· Пиктограммы соединений VI и связи между ними работают подобно разъёмам и соединяющей шине в реальных приборах, и необходимы для того, чтобы VIs могли обмениваться данными друг с другом. Пиктограммы соединений и связи между ними позволяют Вам использовать свои VIs как модули в других VIs.

При наличии всех этих свойствами, LabVIEW однозначно является средством визуального модульного проектирования. Вы разбиваете свою прикладную алгоритм на ряд субалгоритмов, которые Вы также можете разбить ещё раз, до тех пор, пока сложный прикладной алгоритм не превратиться в ряд простых подзадач. Вы формируете VI, чтобы выполнить каждую подзадачу, а затем объединять эти VIs на другой блок-схеме, чтобы выполнить глобальную задачу. В заключение, ваш основной VI содержит совокупность субVIs, которые являются совокупностями функций LabVIEW.

Отладка алгоритма намного облегчается тем, что Вы можете выполнять каждый субVI отдельно от кроме остальной части прикладной задачи. Кроме того, многие субVIs низкого уровня часто выполняют типовые действия, общие для различных прикладных задач, так, что Вы можете разработать специализированный набор субVIs хорошо подходящий для нужных вам задач.

1.3 Передняя панель

Интерфейс пользователя VI подобен интерфейсу пользователя реального прибора. Передняя панель VI может выглядеть примерно так, как на рис.1:

Рисунок 1. Возможный вариант передней панели VI

Передняя панель VI - прежде всего комбинация средств управления и индикаторов. Средства управления моделируют реальные устройства ввода данных и обеспечивают их поступление в блок-схему VI. Индикаторы, моделируют реальные устройства вывода, которые отображают данные, полученные на выходе блок-схемы VI.

Вы добавляете средства управления и индикаторы на переднюю панель, выбирая их из т.н. “всплывающей палитры средств управления”(из списка имеющихся в наличии компонент), показанной на рис.2:

Рисунок 2."Всплывающая палитра компонент LabVIEW"

Вы можете изменять размер, форму, и позицию переключателей или индикаторов. Кроме того, каждый переключатель или индикатор имеет всплывающее меню, которое Вы можете использовать, чтобы изменить различные свойства или выбрать различные параметры редактируемого объекта.

 

1.4 Блок-схема

Окно диаграммы содержит блок-схему VI, которая является графическим исходным текстом VI для LabVIEW. Вы создаете блок-схему путем объединения вместе объектов, которые выдают или принимают данные, выполняют необходимые функции, и управляют процессом выполнения задачи.

На рис .3. приведены передняя панель и блок-схема простого VI, который вычисляет сумму и разность между двумя числами. На блок-схеме приведены базисные объекты, необходимые для решения задачи - узлы, выходы элементов управления и набора исходных данных, входы индикаторов, и провода.

Рисунок 3. Блок-схема и часть передней панели VI сложения и вычитания двух чисел

Когда Вы помещаете элемент управления и набора исходных данных, или индикатор на переднюю панель, LabVIEW помещает соответствующий ему пиктограмму входа/выхода в блок-схему. Вы не можете удалить пиктограмму входа/выхода, которая принадлежит элементу управления или индикатору. Пиктограмма исчезнет сама тогда, когда Вы удалите элемент управления или индикатор.

Функции Add(Добавить) и Subtract(Уменьшить) также имеют пиктограммы входа/выхода. Их можно воспринимать как порты(разъёмы) выхода и входа. Данные, которые Вы вводите в элементах управления на передней панели (в данном случае это “a” и “b”) передаются через пиктограммы входа/выхода в блок-схему. Затем данные поступают в функции Add и Subtract. Когда функции Add и Subtract завершают свои внутренние вычисления, они выдают обработанные данные в свои пиктограммы выхода. Данные поступают на пиктограммы входа у индикаторов и повторно выводятся на переднюю панель.

Узлы - это выполнимые элементы программы. Они аналогичны инструкциям, операторам, функциям, и подпрограммам в стандартных языках программирования. Функции Add и Subtract являются одним и тем же типом узла. LabVIEW имеет мощную библиотеку функций для математических вычислений, сравнений, преобразований, Ввода/вывода, и других действий. Другой тип узлов - структура. Структуры - это графические представления циклов и операторов выбора традиционных языков программирования, которые повторяют блоки исходного текста или выполняют их в зависимости от условия. LabVIEW также имеет специальные узлы для компоновки с внешним текстово-основанным кодом и для обработки текстово-основанных формул.

Провода - линии данных между источником и приемником. Вы не можете присоединить пиктограмму выхода к другой пиктограмме выхода, или пиктограмму входа к пиктограмме входа. Вы имеете возможность присоединять один источник к нескольким приемникам. Каждый провод имеет различный вид или цвет, в зависимости от типа данных, которые передаются по этому проводу. Предыдущий пример показывает вид провода для числового скалярного значения - тонкая, сплошная линия.

Принцип, который управляет выполнением программы LabVIEW, назван Принципом Передачи Данных :

· Узел выполняется только тогда, когда все на все его входы поступили данные;

· Узел выдаёт данные на все выходы, только тогда, когда заканчивает выполняться заложенный в нем алгоритм;

· Данные передаются от источника к приёмнику без задержки.

Этот принцип заметно отличается от методов выполнения стандартных программ, в которых команды выполняются в той последовательности, в который они написаны.

 

1.5 Пиктограммы и Разъёмы входа/выхода

Когда пиктограмма VI “A” помещена в диаграмму VI “B”, то VI “A” становится субVI, (в LabVIEW аналог подпрограммы). Элементы управления и индикаторы субVI получают и возвращают данные из/в VIs, которые произвели их вызов .

Разъём входа/выхода - набор пиктограмм, через который происходит присоединение VI к элементам управления или индикаторам. Пиктограмма - это иллюстрированное представление алгоритма VI, или текстовое описание этого VI.

Каждый VI имеет заданную по умолчанию пиктограмму, которая отображается в области “Окна Пиктограммы” в верхнем правом углу “Окна блок-схемы” и “Окна передней панели”. Такая пиктограмма приведена на рис.4.:

Рисунок 4. Пример пиктограммы VI

Каждый VI также имеет разъем входа/выхода, который можно найти выбрав, “Show Connector” в области окна пиктограммы на передней панели. Когда Вы определяете разъём входа/выхода впервые, LabVIEW предлагает Вам образец такого разъёма. Вы можете выбрать необходимое вам число входов и выходов в разъёме.

2. Разработка ТЗ

 

2.1 Разработка структурной схемы лабораторного стенда и алгоритма функционирования

Исторически, преобразователи напряжения в частоту (ПНЧ) использовались как входной каскад для цифровых записывающих устройств. Медленно меняющееся аналоговые сигналы сначала преобразовались в частоту, затем записывались на подходящий магнитный носитель. Такое сочетание обеспечивало высокую точность работы устройств регистрации аналоговых сигналов, на вход которого поступала частота цифрового сигнала. Позднее, ПНЧ нашли применение в устройстве предварительной обработки недорогих цифровых вольтметров, а также других дешевых аналогов- цифровых схем. Интегральный таймер КР 1006ВИ1, который изучался на седьмом занятие, является представителем класса ПНЧ.

Базой ПНЧ является интегрирующая схема на основе ОУ. Входное напряжение подается, а интегратор, который линейно увеличивает его до заданного уровня. По достижении этого уровня, входное напряжение заменяется на опорное с противоположной полярностью, которое интегрируется до нижнего заданного уровня. В этой точке опорный сигнал заменяется на входной. Периодически процесс повторяется. Выходное напряжение представляет собой логический ноль во время интегрирования опорного сигнала, и логическую единицу во время интегрирования опорного сигнала. В результате высокий уровень выходного сигнала имеет постоянную длительность, а длительность низкого уровня сигнала пропорциональна амплитуде входного сигнала. Частота сигнала на выходе пропорциональна уровню входного сигнала , ПНЧ состоит из четырех блоков, построенных на основе ОУ электронного ключа, интегратора, компаратора и одновибратора.

Рис.1 Схема структурная преобразователя напряжения в частоту

Входное Vin (обычно отрицательное) линейно увеличивается схемой интегратора. В следующем примере выходное напряжение возрастает от- 10 вольт до 0 вольт. Опорное напряжение компаратора - 0 вольт. При данном напряжении (верхний придел) компаратор переключается из состояния с высоким уровнем напряжения в состояние с низким, создавая при этом импульс отрицательной полярности. Этот импульс используется как пусковой на следующей стадии - в схеме одновибратора на базе КР1006ВИ1. Как только одновибратор запущен, его выходное напряжение (положительной полярности) замещает сигнал, входящий в схему. На время длительности импульса одновибратора, напряжение интегратора линейно спадает. Когда импульс заканчивается, напряжение одновибратора замещается на входное, и цикл повторяется.

На следующей диаграмме показано ситуация, когда входное напряжение равно 5 вольт. Верхняя величина опорного напряжения - 0 вольт, а нижняя задается импульсом одновибратора. Напряжение на конденсаторе показано пунктирной линией (с большим шагом). Входное напряжение одновибратора меняется от 0 вольт до 5 вольт (сплошная линия). Выход реактора, показанный тонкой пунктирной линией, меняется от +15 до- 15 и снова возвращается до +15 вольт.

labview виртуальный преобразователь напряжение

Рис.2 Временная диаграмма напряжений ПНЧ на графическом индикаторе программы LabVIEW

Уменьшение уровня входного сигнала приводит к уменьшению скорости заряда (наклон пунктирной линии), увеличивая период и сокращая частоту.

Интегратор на основе ОУ

Если традиционной инвертирующей схеме на основе ОУ поместить в ОС конденсатор, то в нем будет накапливаться полный ток. Таким образом, входное напряжение становится суммой всех входящих зарядов.

Рис.3. Принципиальная схема интегратора на базе ОУ

Вы помните со второго занятия , что входное напряжение интегратора представляет из себя интеграл от входного сигнала, умноженный на постоянную заряда RC

Vвых = -1/RC Vвх dt (1)

Если входное напряжение постоянно и отрицательно то выходное напряжение нарастает линейно до величины положительного верхнего напряжения ограничения. Если вы смените, полярность входного сигнала то выходное напряжение ОУ будет спадать линейно, пока не достигнет отрицательного напряжения ограничения. Выходное линейно меняющееся напряжения есть просто

Vвых = - Vвх / RC t (2)

Для моделирования работы ПНЧ весь период времени делится на интервалы. Для вычисления выходного напряжения V’out в конце каждого временного интервала используется разностная форма уравнения приведенного выше:

V/вых = Vвых - (Vвх / RC) ∆t (3)

где Vвых - это напряжение в начале соответствующего времени интервала, а t -длительность интервала.

Работа схемы интегратора на основе ОУ.

Запустите программу integrator 1.vi из восьмой главы библиотеки программа моделирует динамику работы ОУ, используя уравнение. Каждый раз, когда вы нажимаете на кнопку Run, программа вычисляет выходное напряжение и показывает его на графике (напряжение на конденсаторе в зависимости от времени). Начальное выходное напряжение установлено в - 3 вольта. При Vin = -5 вольт, R = 150 кОм и С = 0.1 мкф приращение напряжения на миллисекундном интервале будет 0.333 вольта. Нажмите несколько раз бодрят кнопку Run, и вы увидите линейно возрастающие напряжения. В любое время, изменив Vin, R или С, вы измените скорость нарастания напряжения (наклон прямой линии). Если вы измените, знак входного сигнала, выходное напряжение будет линейно убывать.

Нажмите кнопку Run 10 раз. После этого измените знак входного напряжения. Снова нажмите на кнопку Run 10 раз. Какого типа сигнал вы только что сгенерировали?

Реальный интегратор на основе ОУ.

Используйте ОУ К140УД6, чтобы построить схему интегратора, показанную ниже.

Рис. 4. Принципиальная схема интегратора с ручным запуском

Подайте на вход прямоугольный сигнал с амплитудой 2 вольта и частотой 100 кГц. Наблюдайте одновременно входное и выходное напряжение при помощи двухканального осцилогрофа или многофункциональной платы ввода - вывода.

Посмотрите, что произойдет, когда амплитуда станет слишком большой.

Что произойдет, когда частота сигнала станет очень низкой при амплитуду?

Как вы думаете, что произойдет, входной сигнал будет иметь треугольную форму? Попробуйте!

Компаратор

В схеме без входного резистора и резистора ОС операционной усилитель становится компаратором. Если сигнал в суммирующей точке (-) больше сигнала на неинвертирующем входе (+), тогда выходное напряжение мгновенно переходит на максимально отрицательный уровень. Если сигнал в суммирующей точке (-) меньше сигнала на неинвертирующем входе (+), тогда выходное напряжение мгновенно переходит на положительный максимальный уровень. Скорость изменения напряжения от одного предела к другому определяется КУ ОУ с разомкнутой цепью ОС и называется скоростью нарастания выходного напряжения. Если подать опорное напряжение (Vret) на один из входов, уровень срабатывания компаратора будет определятся Vret, отрицательное выходное напряжение будет сигнализировать о том, что входное напряжение больше опорного.

Рис. 4. Принципиальная схема компаратора на базе ОУ

 

Компаратор на основе ОУ в действии.

Запустите программу integrator 1. vi из восьмой главы библиотеки нажмите на кнопку Run. Обратите внимание, что на выходе компаратора могут быть только два значения напряжения - верхнее и нижнее напряжения ограничения. В схеме ПНЧ опорное напряжение будет 0 вольт. Измените в данной программе опорное напряжение до этой величины и снова запустите виртуальный прибор

Последовательное соединение интегратора и компаратора.

Запустите программу integrator 2. vi из восьмой главы библиотеки каждый раз, когда вы нажимаете на кнопку Run, программа вычисляет новое значение выходного напряжения. В начале выходное напряжение интегратора установлено в - 3 вольта. Как и раньше, при Vin = 5 вольт, R = 150 кОм и С = 0. 1 мкф приращение напряжения за временной интервал 1 миллисекунда равна 0.333 вольта. Наблюдайте, каково будет выходное напряжение компаратора, когда выходное напряжение интегратора достигнет величины опорного напряжения компаратора в 0 вольт. Run до тех пор, пока на выводе интеграфа будет +3 вольта. Теперь поменяйте полярность входного сигнала. Прямая интегрирования спадает, проходя через значения опорного напряжения до тех пор, пока выходное напряжение интегратора достигнет -3 вольта. Повторите цикл (Vin = -5 В, 10 нажатий на кнопку Run, Vin = +5В 10 нажатий на кнопку Run) еще раз. Знак выходного напряжения компаратора сигнализирует, когда входное напряжение схем является положительным или отрицательным. Отметим, что компаратор изменит свое состояние (или переключится) всякий раз, когда напряжение на выходе интегратора проходит через 0. В таком режиме компаратор выполняет функцию детектора пересечения нулевого уровня. Обратите внимание на форму сигналов, полученных на выходе интегратора и компаратора.

В схеме ПНЧ величина опорного напряжения будет 0 вольт (верхний предел), а величина нижнего предельного уровня (начальное напряжение) будет установлена в некоторое отрицательное значение.

Рис.5. Принципиальная схема одновибратора

Рис.6. Принципиальная схема реального ПНЧ

Рис. 7. Модель: применение схемы одновибратора для

Рис. 8. Временная диаграмма напряжения ПНЧ

Рис. 10.

рис. 11. Расположение компонентов схемы ПНЧ

 

2.2 Схема принципиальная электрическая преобразователя напряжение-частота

 

Преобразователи напряжение-частота ПНЧ (Voltage-to-Frequency Converters VFC) являются наиболее дешевым средством преобразования сигналов для многоканальных систем ввода аналоговой информации в ЭВМ, обеспечивающим высокую помехозащищенность и простоту гальванической развязки. ПНЧ - отличное решение для задач измерения усредненных параметров, расхода, а также задач генерирования и модуляции частоты.

ПНЧ относятся к классу интегрирующих преобразователей, поэтому обладают соответствующими достоинствами: хорошей точностью при минимальном числе необходимых прецизионных компонентов, низкой стоимостью, высокой помехоустойчивостью, малой чувствительностью к изменениям питающего напряжения, отсутствием дифференциальной нелинейности.

ПНЧ преобразует входное напряжение в частоту выходных импульсов, которые могут передаваться на большие расстояния без искажения информационного параметра - частоты. Второй этап аналого-цифрового преобразования: «частота-код» осуществляется путем подсчета импульсов за фиксированный интервал времени, то есть усреднением. Если этот интервал сделать кратным периоду основной помехи (20 мс), то помеха подавляется полностью. Это свойство особенно полезно для измерения зашумленных низкоуровневых сигналов, например э.д.с. термопары.

В интегральных микросхемах ПНЧ используется метод интегрирования входного сигнала с импульсной компенсацией заряда интегрирующего конденсатора. Для получения высокой точности и стабильности преобразования необходимо обеспечить постоянство вольт-секундной площади импульса обратной связи. Лучшей точностью и стабильностью обладают синхронизируемые ПНЧ, в которых длительность импульса обратной связи стабилизирует кварцевый резонатор.

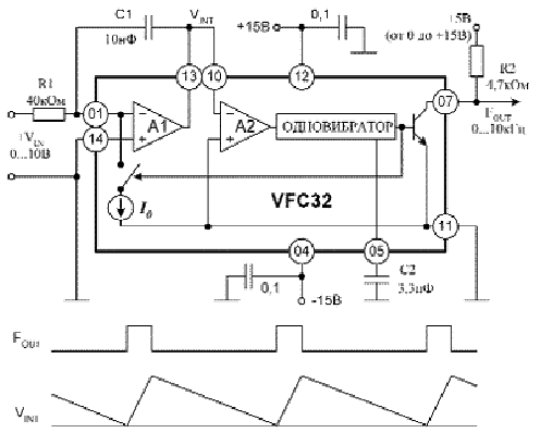
2.2.1 Несинхронизируемые ПНЧ

Отечественная промышленность выпускает несинхронизируемый ПНЧ типа КР1108ПП1 и аналогичный КР1143ПП1. Их зарубежные аналоги, совместимые по выводам - ADVFC32 фирмы Analog Devices, VFC32 и VFC320 фирмы Burr-Brown. Упрощенная функциональная схема такого ПНЧ показана на рис. 1. ПНЧ включает в себя усилитель А1, компаратор А2, одновибратор, источник стабильного тока I0, аналоговый ключ S и выходной транзистор. Для построения ПНЧ микросхему следует дополнить двумя конденсаторами С1, С2 и двумя резисторами R1, R2. Элементы R1, С1, А1 образуют интегратор. Конденсатор С2 задает длительность импульса одновибратора t = kC2, где k определяется характеристиками микросхемы (в VFC32 I0 = 1 мА, k = 75 кОм). Импульсы тока I0 уравновешивают ток, вызываемый входным напряжением VIN

/ R1 = kC2I0.

Откуда f = 1 / T = VIN / (kI0R1C2). (1)

Рис. 1. Типовая схема включения и диаграммы сигналов ПНЧ VFC32

Из (1) следует, что стабильность характеристики преобразования ПНЧ зависит от стабильности внешних элементов R1, C2 и внутренних параметров k, I0 микросхемы. Кроме того, для обеспечения высокой линейности преобразования конденсатор С1 необходимо выбирать с малой утечкой и малым коэффициентом диэлектрической абсорбции (полипропиленовый, полистирольный, поликарбонатный).

Диапазон входных токов задается равным 0,25I0, а резистор R1 устанавливает входной диапазон напряжения от 0 до VINmax = 0,25I0R1.

ПНЧ содержит выходной каскад с открытым коллектором. Напряжение питания этого каскада выбирается из условия согласования с последующими цифровыми цепями. Допустимый ток его достаточен для управления светодиодом оптрона или обмоткой импульсного трансформатора в схемах гальванической изоляции аналоговых входов.

С помощью рассматриваемого ПНЧ можно преобразовывать отрицательные напряжения, но для этого нужно изменить подключение входного сигнала. Иными словами, прямое преобразование биполярных сигналов не предусмотрено.

При расширении диапазона изменения выходной частоты все заметнее проявляется конечное время переключения аналоговых ключей, что выражается в интегральной нелинейности преобразования. Ее минимальная погрешность (0,01 %) достигается в узком диапазоне частот 0-10 кГц. В расширенном диапазоне выходных частот (0-500 кГц) погрешность нелинейности увеличивается до 0,2 %.

Еще один популярный ПНЧ - AD654 фирмы Analog Devices (рис. 2) - имеет следующие отличительные особенности: питание от одного источника напряжения 5 В, ток потребления 2 мА, высокое входное сопротивление (250 МОм), малые смещение (1 мВ) и дрейф нуля (4 мкВ/°С), небольшие начальное отклонение (±10 %) и температурный дрейф коэффициента преобразования (50*10-6/°С). Микросхема требует всего два внешних элемента RT и CT для задания характеристики преобразования:

f = VIN / (10 RT CT).

Рис. 2. Схема включения AD654 с изолированным выходом

Максимальная частота может быть установлена до 500 кГц при динамическом диапазоне 80 дБ (диапазон входного тока - от 100 нА до 1 мА). С помощью RT диапазон входных напряжений можно устанавливать от 10 мкВ - 100 мВ до 3 мВ - 30 В.

Входной усилитель позволяет работать напрямую с малыми сигналами термопары или тензодатчика. Выходной каскад AD654 согласуется с КМОП- и ТТЛ-схемами, управляет светодиодом оптрона, работает на длинный кабель.

 

2.2.2 Компораторы

Компараторы частоты WM-10, WM-11

Измерители временных отклонений Wandermeter WM-10 / WM-11 предназначены для измерений дрейфа фазы (вандера) в цифровых сетях связи.

При включении прибора предусмотрено автоматическое тестирование основных функций. По запросу пользователя производится расширенная проверка.

Данные верны после прогрева прибора в течение не менее 30 мин. Время прогрева выбирается 30 мин, 4ч или 24ч.

Режимы работы

Автономный режим: WM-10/WM-11 позволяют проводить измерения вандера синхросигнала в автономном режиме (без внешнего компьютера). Во время измерений характеристика ОВИ обновляется на дисплее прибора в режиме реального времени.

Режим работы с внешним компьютером: WM-10/WM-11 управляются с помощью внешнего компьютера с установленным программным обеспечением WanderView. Во время измерений характеристика ОВИ не обновляется на дисплее прибора.

В обоих режимах возможно измерение разности фаз двух входных синхросигналов.

Измеряемые характеристики

ОВИ

Ошибка временного интервала - отображаемая и обновляемая на дисплее прибора характеристик в режиме реального времени при работе в автономном режиме

МОВИ

Максимальная ошибка временного интервала - рассчитываемая характеристика по данным ОВИ и отображаемая после завершения измерений ОВИ

ДВИ

Девиация временного интервала - рассчитываемая характеристика по данным ОВИ и отображаемая после завершения измерений ОВИ

Встроенные маски МОВИ и ДВИ

PRC

G.811, (ETS 300 462 - 3)

SSU

G.812, (ETS 300 462 - 3)

SEC

G.813, (ETS 300 462 - 3)

SSU (режим захвата)

G.812, (ETS 300 462 - 4)

SEC (режим захвата)

G.813, (ETS 300 462 - 5)

Существует возможность создания дополнительных масок, определяемых пользователем

Характеристики входных синхросигналов

Тип синхросигналов для WM-10

2048 кГц; 2048 кбит/с

Тип синхросигналов для WM-11

4 кГц; 8 кГц; 64 кбит/с; 1544 кГц; 1544 кбит/с; 2048 кГц; 2048 кбит/с; 10 МГц; 27 МГц; 34 Мбит/с; 45 Мбит/с; 52 Мбит/с;15,750 кГц (NTSC);15,625 кГц (PAL)

Размах

от -5В до +5В

Вид сигнала для WM-10

Симметричный импульс (частотный сигнал); данные в коде HDB-3 (информационный сигнал)

Вид сигнала для WM-11

Симметричный импульс (частотный сигнал); несимметричные повторяющиеся импульсы (частотный сигнал); данные в коде HDB-3, AMI B8ZS, B3ZS (информационный сигнал)

Измерение ошибки временного интервала (ОВИ):

Источник опорного синхросигнала

Встроенный рубидиевый стандарт или внешний эталонный генератор (fэ= 10 МГц)

Интервал измерений для WM-10

фиксированный 2ч, 24ч или заданный пользователем в ручном режиме

Интервал измерений для WM-11

фиксированный 30мин, 2ч, 24ч или заданный пользователем в ручном режиме

Период дискретизации в автономном режиме измерений для времени измерений

30мин, 2ч, 4ч

1 отсчет в 1 с

24ч

0,18 отсчета в 1 с ( ~ 1 отсчет за 6 с)

заданного пользователем интервала

16000 отсчетов за измеряемый промежуток времени; максимально возможная выборка составляет 1 отсчет в 1 с

Период дискретизации в режиме работы с внешним компьютером

до 30 отсчетов в 1 с

Встроенная память данных (используется в автономном режиме)

Тип

Энергонезависимая память

Кол-во настроек прибора

5

Количество экранных заставок

3 (ОВИ, МОВИ или ДВИ)

Кол-во характеристик ОВИ

1 (16000 отсчетов ОВИ)

Защита записи

Сохраненные данные могут быть защищены от перезаписи


Измеряются и выводятся на дисплей следующие параметры:

тип сигнала (частотный, информационный)

частота (для частотного сигнала)

ширина импульса (для информационного сигнала)

размах напряжения (мин. 120 мВ)

Графический дисплей

Отображаемые данные

ОВИ, МОВИ, ДВИ

Вертикальная шкала

автоматический или установленный в ручную масштаб и диапазон отображаемых значений

Горизонтальная шкала

автоматический или установленный в ручную масштаб и диапазон отображаемых значений

Характеристики входных параметров измеряемого синхросигнала:

Разъем

BNC

Допустимый размах входного напряжения

± 5В

Чувствительность

60 мВ (размах)

Входной импеданс

75 Ом

Максимально допустимое эффективное напряжение на входе

12 В, f≤2 МГц, 6 В f=10 МГц

Тип входной цепи

открытый вход

Вход источника эталонного синхросигнала

Разъем

BNC

Входная частота

10 МГц

Эффективное напряжение

от 0,5 до 5 В

Импеданс

50 Ом

Максимально допустимое эффективное напряжение на входе 30 В, f?1 кГц, 6 В, f=10 МГц

30 В, f≤1 кГц, 6 В, f=10 МГц

Тип входной цепи

закрытый вход

Выходной опорный синхросигнал

Разъем

BNC

Частота

10 МГц

Выходные уровни

TTL: Ур. "0" < 0.4 В; Ур. "1" > 1.8 В

Выходное сопротивление

50 Ом

Форма сигнала

Выходной синхросигнал 2048 кГц (для WM-10 требуется установка дополнительной опции №35)

РазъемBNC

Частота

2048 кГц

Джиттер

< 0,01 ЕИ

Вандер

МОВИ <15 нс + τ / (Δf/fн)*

Выходной уровень

в соответствии с G.703 п.13; ±1,2В ± 10%

Выходное сопротивление

75 Ом

Форма сигнала

прямоугольные импульсы

* (Δf/fн) - относительная ошибка частоты источника опорного синхросигнала

1544 / 2048 кГц выход генератора (WM-11)

Разъем

BNC

Частота

1544 / 2048 кГц

Джиттер

< 0,01 ЕИ

Вандер

МОВИ <15 нс + τ / (&Deltaf/fн)*

Выходной уровень

в соответствии с G.703 п.13 ; &plusmin;1,2В &plusmin; 10%

Выходное сопротивление

75 Ом

Форма сигнала

прямоугольные импульсы

* (Δf/fн) - относительная ошибка частоты источника опорного синхросигнала

Порт управления RS232

Разъем

DB9

Битовая скорость

9600 бит/с

Формат данных

8 информационных бит, 1 стоповый бит, без четности

Ethernet (WM-11)

Порт связи

разъем: RJ45

Протокол

10Base-T

Калибровка

Принцип

автоматическая калибровка встроенного рубидиевого стандарта путем подачи сигнала от внешнего эталона

Калибровочные частоты WM-10

1; 2,048; 5 или 10 МГц

Калибровочные частоты WM-11

100 кГц, 1; 1,544; 2,048; 5 или 10 МГц

Точность калибровки

<±2х10-12 + ошибка калибровочного стандарта


Стабильность внутреннего рубидиевого стандарта

Температура

от 20°С до 26°С от 0°С до 50°С

<2х10-11 <3х10-10

Уход частоты за период

24 часа 1 месяц

<2х10-12 <5х10-11

Кратковременная стабильность за период

1 с  10 с

<3х10-11 <1х10-11

Стабильность во время прогрева оборудования

10 мин

<4х10-10

Точность заводской калибровки


<±2х10-12

Точность автоматической калибровки


<±2х10-12 + ошибка калибровочного стандарта


Параметры окружающей среды

Температура работы

от 0°С до 50°С

Температура хранения

от -20°С до 70°С

Влажность при работе

от 20°С до 30°С, 90% от 30°С до 50°С, 70%

Влажность при хранении

95%

Высота над уровнем моря

3000м при работе 12000м при хранении

Питание

Эффективное напряжение сети переменного тока

от 100 до 240 В ±10%, 47 Гц ÷ 63 Гц

-48В DC

38В до 72В DC, < 60Вт (только WM-11)

Потребляемая мощность

< 60 Вт

Размеры и вес

Размеры

342 х 177 х 305 мм

Вес

нетто 5 кг

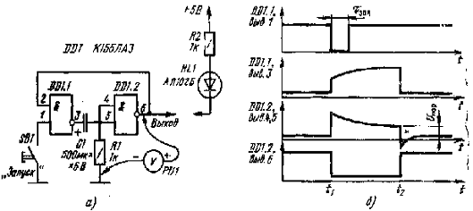
2.2.3 Одновибратор

Так называют генератор одиночных импульсов. При кратковременном сигнале на входе он формирует электрический импульс прямоугольной формы вполне определенной длительности (она не зависит от длительности входного, т. е. запускающего импульса), после чего переходит в ждущий режим и остается в таком состоянии до прихода следующего запускающего сигнала.

Часто в технической литературе можно встретить и другое название этого устройства- ждущий мультивибратор. Сейчас это название применяют все реже.

Схему простейшего одновибратора вы видите на рис. 1, а. В нем также два логических элемента, но первый из них используется по своему прямому назначению - как логический элемент 2И-НЕ а второй как инвертор. Кнопочный выключатель SB1 выполняет функцию датчика запускающих сигналов.

Рис. 1 Одновибратор

Чтобы генерируемые импульсы можно было индицировать вольтметром постоянного тока, лампой накаливания или иным подобным сравнительно инерционным прибором, емкость конденсатора С1 должна быть не менее 50 мкФ, а сопротивление резистора R1-1...1.5 кОм. Можно, конечно, обойтись без выключателя SB1, имитируя сигнал датчика замыканием отрезком монтажного провода вывода 1 первого элемента на общий провод, однако в этом случае могут иногда наблюдаться сбои в работе устройства, которые возникают из-за «дребезга» замыкаемых контактов. Ниже мы вернемся к подробному рассмотрению этого явления и способах борьбы с ним.

Смонтировав одновибратор и включив питание, сразу же измерьте напряжение на входах и выходах элементов. На входном выводе 2 элемента DD1.1 и выходе элемента DD1.2 оно должно соответствовать высокому уровню, а на выходе первого элемента и входах второго- низкому. Следовательно, в ждущем режиме первый элемент находится в нулевом состоянии, а второй- в единичном.

Затем подключите вольтметр к выходу второго элемента и, наблюдая за стрелкой индикатора, кратковременно замкните контакты выключателя SB1. Как на это реагирует измерительный прибор? Его стрелка резко отклоняется влево почти до нулевой отметки шкалы, а примерно через 2 с также резко возвращается в исходное положение. Прибор фиксирует появление импульса низкого уровня. А светодиод? Он светит во время импульса. Повторите опыт несколько раз.

Подключите параллельно конденсатору еще один - емкостью 1000 мкф- и повторите опыт. Длительность выходного импульса увеличится почти втрое. Замените постоянный резистор R1 переменным, сопротивлением около 2 кОм (но не более 2,2 кОм). Теперь, пользуясь только этим резистором, вы сможете в некоторых пределах изменять длительность генерируемых импульсов. Но при его сопротивлении менее 100 Ом одновибратор перестанет работать.

Вывод напрашивается сам: длительность одиночных импульсов одновибратора будет тем больше, чем больше емкость времязадающего конденсатора С1 и сопротивление резистора R1. При небольшой емкости конденсатора и малом сопротивлении резистора импульсы становятся столь короткими, что индикаторы, которыми вы пользуетесь, оказываются неспособными на них реагировать.

Разобраться в сущности действия одновибратора помогут временные диаграммы, изображенные на рис. 1, б. Поскольку в ждущем режиме входной вывод 1 элемента DD1.1 ни с чем не соединен (контакты кнопочного выключателя разомкнуты), это эквивалентно подаче на его вход высокого уровня напряжения. На входе элемента DD1.2 присутствует низкий уровень напряжения, так как падение напряжения на резисторе, создаваемое входным током элемента, удерживает входной транзистор элемента закрытым. Значит, на выходе этого элемента - высокий уровень; такой же уровень и на верхнем по схеме входе элемента DD1.1. Таким образом, на выходе элемента DD1.1 низкий уровень, конденсатор практически разряжен.

Поданный на входной вывод 1 запускающий импульс низкого уровня (длительностью Т зап на верхнем графике) переключает элемент DD1.1 в единичное состояние. Создающийся в этот момент ti скачок положительного напряжения (его принято называть положительным перепадом напряжения) на его выходе передается через конденсатор на вход элемента DD1.2 и переключает его из единичного состояния в нулевое. Теперь на верхнем по схеме входе элемента DD1.1- низкий уровень, поэтому его состояние не изменяется и после размыкания контактов SB1, т. е. после окончания действия запускающего импульса.

С момента появления положительного перепада напряжения на выходе элемента DD1.1 начинает заряжаться конденсатор через резистор R1. По мере зарядки конденсатора напряжение на резисторе уменьшается. Как только оно снизится до порогового, элемент DD1.2 переключится в единичное состояние, а DD1.1- в нулевое. Теперь конденсатор быстро разрядится через выходную цепь элемента DD1.1 и входную DD1.2 и устройство возвратится в ждущий режим.

При проведении опытов и экспериментов с одновибратором учитывайте, что для нормальной его работы длительность запускающего импульса должна быть меньше длительности генерируемого выходного импульса.

 

2.3 Разработка методического обеспечения

.3.1 Цель разработки задания

Данная разработка необходима для удобства в работе при выполнении лабораторной работы.

С использованием данной оболочки пользователь в состоянии ознакомится с принципами работы с LabView а также запустить его без особого труда.

А также он в состоянии самостоятельно выполнить лабораторную работу, а в случае затруднений посмотреть принцип формирования данной работы.

.3.2 Язык программирования

В качестве оптимального языка программирования используем Visual FoxPro 8.0

Этот язык позволяет использовать структуру визуального программирования, а также работает с базами данных, что позволяет быстро разработать оболочку с требуемым заданием.

Структурная схема оболочки


3. Организационно-экономическая часть

.1 Технико-экономическое обоснование проекта

В настоящее время информационные технологии вывели измерительную технику на новый уровень, позволяющий быстрее и с меньшими затратами разрабатывать информационно-измерительные приборы и системы различной сложности: от измерения параметров до ввода и обработки видиоизображений с передачей результатов через внешнюю сеть на любые расстояния. Прогресс в области преобразования дискретных сигналов, вычислительной техники и цифровых устройств позволил существенно упростить и сделать универсальным комплекс объект - измерение.

Программный продукт LabVIEW как средство прикладного программирования не требует написания текстов программ, а использует язык графического программирования для создания программ в виде блок-схем, т.е. похож на объектно-ориентированные языки программирования, привычные для широкого круга пользователей.

Реализации программ в LabVIEW называются виртуальными приборами или виртуальными инструментами, поскольку их внешнее графическое представление и способ функционирования могут имитировать работу реальных физических устройств и результаты измерений характеристик.

Виртуальная лабораторная работа имеет доступную для изучения теоретическую часть и предусматривает выполнение на основе усвоенного материала лабораторного практикума.

Исходя из структуры и содержания лабораторной работы она будет полезна следующим категориям пользователей:

·   студентам технических специальностей вузов, изучающим измерительные информационные системы как самостоятельную дисциплину;

·   преподавательскому составу, осуществляющему теоретическую и практическую подготовку студентов по дисциплине « Информационно - измерительная техника» и «Цифровые устройства»;

·   преподавателям других дисциплин, использующим персональные компьютеры в качестве технического средства обучения и (или) средства подготовки учебно - методических материалов (бумажных и электронных) по своей предметной области;

·   лицам, самостоятельно изучающим или осваивающим аппаратные и программные средства вычислительной техники.

Целью настоящей лабораторной работы является изучение работы схемы преобразователь напряжение в частоту (ПНЧ) .

Данная виртуальная лабораторная работа позволяет не только сократить время на изготовление реального ПНЧ, но и позволяет отказаться от дорогостоящего оборудования.

3.2 Цели и задачи работы представлены в виде схемы «Дерево целей»

























Рис.1 Дерево целей

 

3.3 Организационная часть

В организационной части дипломного проекта рассчитывается трудоемкость разработки лабораторной работы. Для выполнения работы выделяется специальная группа в составе двух человек.

Состав группы разработчиков и их заработная плата приведены в таблице №1.

Таблица №1

Категория работающих

Количество человек

Тарифный разряд

Тарифный коэффициент

Должностной оклад руб/мес.

Ведущий инженер

1

16

3,9

2340

Инженер - программист

1

14

3,36

2020


Заработная плата разработчиков рассчитана исходя из 18-ти разрядной тарифной сетки при ставке 1-го разряда 600 рублей.

Этапы и работы по разработке лабораторной работы представлены в виде таблицы №2.

Таблица №2

Этап

Содержание работ, входящих в этап

Вид отчетности

Кол-во исполнителей

Исполнители

Продолжительность работ (дни.)

 

1

2

3

4

5

6

 

1. Обзорная часть

1.1.Ознакомление с заданием на разработку лабораторной работы

Лист задания

1

Инженер- программист

1

 


1.2.Подбор и изучение научно-технической литературы

Запись в рабочей тетради

1

Инженер- программист

2

 


1.3.Анализ исходной информации по заданному вопросу

Литературный обзор

1

Инженер-программист

3

 


1.4.Выработка технических требований

Запись в рабочей тетради

2

Ведущий инженер

2

 





Инженер-программист


 


1.5.Разработка, согласование и утверждение технического задания

Утвержденное техническое задание

2

Ведущий инженер

1

 





Инженер-программист


 

2. Разработка ТЗ

2.1.Изучение материалов подобранной литературы

Литературный обзор

1

Инженер-программист

4

 


2.2.Структурирование данных и составление плана

Запись в рабочей тетради

1

Инженер-программист

2

 


2.3.Написание материалов, оформление ТЗ

Запись в рабочей тетради

2

Ведущий инженер

2





Инженер-программист


3. Разработка структурной схемы

3.1.Изучение проектного материала

Литературный материал

1

Инженер-программист

2


3.2.Разработка предварительной структурной схемы

Запись в рабочей тетради

1

Инженер-программист

7


3.3.Окончатель-ное оформление структурной схемы и ее утверждение

Утвержденная структурная схема

2

Инженер-программист

5

 





Ведущий инженер

1

 

4. Разработка программного обеспечения

4.1.Выбор языка программирования

Литературный материал

2

Инженер-программист

6

 





Ведущий инженер

1

 


4.2.Разработка СУБД

Работа с ПК

1

Инженер-программист

4

 


4.3.Разработка программного комплекса

Работа с ПК

1

Инженер-программист

10

 

5. Разработка методического обеспечения

5.1.Написание методического обеспечения

Работа с ПК

1

Инженер-программист

10

 

6. Организационно-экономическая часть

6.1.Выбор ГОСТов

Литературный материал

1

Инженер-программист

4

 


6.2.Расчетная часть лабораторной работы

Работа с ПК

1

Инженер-программист

10

 

7. Внедрение лабораторной работы

7.1. Оформление и утверждение лабораторной работы

Утвержденная лабораторная работа

2

Инженер-программист

7

 





Ведущий инженер

2

 

8. Передача пользователю

8.1. Передача пользователю диска с лабораторной работой

Диск CD-R

1

Инженер-программист

8

 

ИТОГО:

94

 


.4 Экономическая часть

В экономической части производится расчет сметы затрат на разработку лабораторной работы.

В смету затрат входят следующие расходы:

. На материалы;

. Основная заработная плата разработчиков;

. Дополнительная заработная плата (20% от основной заработной платы);

. Единый социальный налог (35,6% от суммы основной и дополнительной заработной платы);

. Затраты на содержание и эксплуатацию оборудования;

. Прочие денежные расходы (130% от основной заработной платы разработчиков).

3.5 Расчет расходов на материалы

Расходы на материалы вычисляются в размере 14% от стоимости технических средств (ЭВМ).

Стоимость технических средств 40280 руб. Тогда расходы на материалы 5639,2 руб.

Расчет заработной платы разработчиков.

Таблица №3

Должность

Оклад руб./мес.

Оплата руб./дн.

Продолжительность работ (дней)

Итого руб.

Ведущий инженер

2340

106,36

9

957,27

Инженер-программист

2020

91,82

90

8 263,8

Тарифная заработная плата

9 221,07

Доплата (40% от тарифной заработной платы)

3 688,43

Основная заработная плата

12 909,5

Дополнительная заработная плата (20% от основной заработной платы)

2 581,9

Основная и дополнительная заработная плата

15 491,4

Единый социальный налог (35,6% от суммы основной и дополнительной заработной платы);

5 514,94


Прочие денежные расходы (130% от основной заработной платы разработчиков) составляют 16 782,35 руб.

 

3.6 Расчеты затрат на содержание и эксплуатацию оборудования

Расходы на содержание оборудования вычисляются исходя из количества часов его использования. При разработке методики лабораторной работы:

Затраты=Т х Ст1ч., где

Т - время работы оборудования (дни х 6часов);

Ст1ч - стоимость одного машинного времени (20 руб./час)

Затраты= 34 х 6 х 20= 4 080 руб.

 

3.7 Общая смета затрат на разработку лабораторной работы

Таблица №4

№ п/п

Затраты по элементам

Сумма (руб.)

1

Материалы

5 639,2

2

Основная заработная плата

12 909,5

3

Дополнительная заработная плата

2 581,9

4

Единый социальный налог

5 514,94

5

4 080,00

6

Прочие денежные расходы

16 782,35

ИТОГО:

47 507,89

 

3.8 Вывод

Виртуальная лабораторная работа «Преобразователь напряжения в частоту» позволит студентам не только ознакомится с системой графического программирования LabVIEW, но и изучить работу виртуального преобразователя напряжения в частоту, разработанного по средствам LabVIEW.

Представленный в лабораторной работе материал существенно повысит уровень знаний студентов в области графического программирования и повысит качество понимания частотных процессов.

Лабораторная работа находится на CD-R носителе, что очень удобно, так как может быть установлена на несколько рабочих мест (компьютеров) сразу.

4. Безопасность и экологичность проектных решений

 

. Цель и решение задачи

В настоящее время в производстве нашли широкое применение персональные компьютеры. Но компьютер не только квалифицированный помощник, но и источник профессиональных заболеваний. Поэтому необходимо каждому пользователю знать о вредном воздействии машин на организм человека и необходимых мерах защиты, чтобы сохранить здоровье и производительно работать на ПК в течении рабочего дня. Для того чтобы человек мог работать, ему нужно создать оптимальные условия труда.

Для работы с информационной системой необходимо оборудовать рабочее место. При планировании рабочих мест необходимо учитывать удобство расположения дисплеев, системных блоков, клавиатуры, рабочего стола а также зоны досягаемости рук оператора. Важно обратить внимание на экологичность данного оборудования и факторы, воздействующие на окружающую среду, возникшие в процессе эксплуатации ПЭВМ, периферийных устройств и другой оргтехники, применяемой для решения данной задачи.

Рабочее место должно быть хорошо освещено. При естественном и искусственном освещении прямой свет не должен попадать на экран монитора, что очень сильно понижает контрастность.

Основная цель безопасности проектных решений состоит в обеспечении нормальных условий деятельности людей их жизни, в защите человека и природной среды от воздействия вредных факторов, превышающих нормально-допустимые уровни. Поддержание оптимальных условий деятельности и отдыха человека создает предпосылки для условий появления наивысшей работоспособности и продуктивности.

2. Опасные и вредные факторы при работе с ПЭВМ

При работе с вычислительной машиной могут иметь место потенциально опасные и вредные факторы, воздействие которых на организм человека может принести ему вред и привести к травматизму.

Опасные и вредные факторы, влияющие на работников в служебных помещениях приведены в таблице 1.

 

Таблица 1

П.№

Факторы

Действие на человека

1

Спектр излучений и полей от ПЭВМ и качество дисплея

Нагрузка на мозг, усталость, рассеянность, нагрузка на зрение

2

Вредные вещества

Аллергическое, общетоксическое, канцерогенное, раздражающее, нарушение тканевого дыхания, действие на центральную нервную систему

3

Несоответствие норме параметров микроклимата

Нарушение терморегуляции, возникновение простудных заболеваний

4

Нерациональное освещение

Усталость глаз, повышенная утомляемость, снижение работоспособности

5

Высокое напряжение тока в электросети

Электротравмы (ожоги)

6

Несоответствие нормам параметров рабочих помещений и рабочей мебели

Снижение работоспособности, возможны изменения опорно - двигательного аппарата

7

Повышенный уровень шума

Усталость, раздражительность, снижение работоспособности

8

Напряженный умственный труд и эмоциональные нагрузки при дефиците времени

Нервно-психическое, нагрузка на мозг и орган зрения

9

Монотонность труда

Мышечное напряжение, утомляемость, снижение работоспособности и интереса к работе


3. Характеристика объекта исследования

Тема дипломного проекта - виртуальная лабораторная работа «Преобразователь напряжения в частоту».

Объект исследования - компьютерный класс, где производится выполнение лабораторной работы.

Главным средством для проведения проектирования и создания виртуальной лабораторной работы является применение основной действующей системы компьютерного обеспечения типа IBM PC AT, оснащенной монитором SVGA который является основным источником негативного воздействия на здоровье человека (оператора).

Следовательно, основным объектом анализа следует выбрать именно процесс и средства взаимодействия оператора с компьютером. Также следует обратить внимание на экологичность данной установки и факторы, воздействующие на окружающую среду, возникшие в процессе эксплуатации ЭВМ, периферийных устройств и другой оргтехники, находящейся в компьютерном классе.

В основе мероприятий по обеспечению безопасности и экологичности компьютерного класса заложены выявления и оценка вредных и опасных факторов, разработка организационных мероприятий и технических средств, обеспечивающих безопасность (в том числе электро- и пожаробезопасность), сохранение здоровья и работоспособности человека в процессе труда.

4.1 Мероприятия по безопасности труда и сохранению работоспособности

.1.1 Планировка помещения, размещение оборудования

Расчет помещения приходящегося на одного человека:

Пуд - площадь приходящаяся на 1чел.

Ууд - объем приходящийся на 1чел.

Пуд=

Пп - По

 и

Ууд=

Уп - Уо


 ч



 ч


где, ч - количество людей работающих в помещении;

Пп и Уп - соответственно площадь и объем помещения;

По и Уо - соответственно площадь и объем занятые крупногабаритным оборудованием и мебелью.

Пуд=

90,0м2 - 25,5м2

= 6.5 м2

 


 10


 

Ууд=

360,0 м3- 100,0 м3

=26 м3


 10


Расчетные данные фактически соответствуют нормативам по СанПиН 2.2.2.542-96.

                                                             10,0

,0



Рис.1 Планировка помещения, размещение оборудования.

4.1.2 Эргономические решения по организации рабочих места пользователей ПЭВМ

Работа оператора является малоподвижной и монотонной, что приводит к быстрому утомлению .

Для сохранения работоспособности и предупреждения развития заболеваний опорно-двигательного аппарата пользователей ПЭВМ рабочее место организуется согласно требованиям ГОСТ 12.2.033-78


Не нашли материал для своей работы?
Поможем написать уникальную работу
Без плагиата!
Без нейросетей!