Цикли газотурбінних установок
РЕФЕРАТ
Об' єктом дослідження курсової
роботи є газотурбінні енергоустановки (ГТУ).
Метою роботи є дослідження циклів
газотурбінних установок.
У курсовій роботі наведені загальні
відомості про газотурбінні установки, їх застосування в техніці, проведено аналіз
ідеальних циклів газотурбінних установок, а також їх порівняння. Крім того, в
роботі наведені методи підвищення термічного ККД ГТУ.
ГАЗОТУРБІННА УСТАНОВКА, ІДЕАЛЬНИЙ
ЦИКЛ, ІЗОБАРА, АДІАБАТА, ТЕРМІЧНИЙ ККД, р, v - і Т, s - ДІАГРАМИ, РЕГЕНЕРАЦІЯ
ТЕПЛОТИ, СТИСНЕННЯ
ВСТУП
Основним недоліком поршневих
двигунів внутрішнього згорання є обмеженість їх потужності і неможливість
адіабатного розширення робочого тіла до атмосферного тиску. Ці недоліки
відсутні у газотурбінних установках, де робочим тілом є продукти згорання
рідкого або газоподібного палива. Робоче тіло, яке має високі температуру і
тиск, із камери згорання спрямовується до сопла, в якому воно розширюється і з
великою швидкістю надходить до лопаток газової турбіни, де використовується
його кінетична енергія для одержання механічної роботи. Характерними якостями
газотурбінного двигуна також є: простота теплової і кінематичної схеми,
відносна простота конструкції, мала маса, що доводиться на одиницю потужності,
висока маневреність, порівняно проста автоматизація управління. Все це призвело
до того, що останніми роками газотурбінні установки широко застосовуються в
різних галузях промисловості.
ГТУ є універсальним двигуном, що має
різне призначення. Проте переважне використання ГТУ отримали в двох областях -
авіації і далекому газопостачанні.
У авіації турбінний двигун займає
провідне місце, майже повністю витіснивши двигун внутрішнього згорання. На
компресорних станціях магістральних газопроводів ГТУ використовується в якості
приводів для газоперекачуючого компресора. Паливом служить природний газ, що
відбирається з магістральної лінії.
Крім того останніми роками є значні
досягнення як в області аеродинаміки турбомашин, так і в розробці жароміцних
сталей і сплавів. Успіхи аеродинаміки і металургії дозволили підняти теплову
економічність ГТУ до необхідного рівня і створити передумови для впровадження
ГТУ в різні області народного господарства.
1. ЗАГАЛЬНІ ВІДОМОСТІ ПРО
ГАЗОТУРБІННІ УСТАНОВКИ
Газотурбінна установка - це агрегат,
що складається з газотурбінного двигуна, редуктора, генератора і допоміжних
систем (рисунок 1.1). Потік газу, утворений в результаті згорання палива, діючи
на лопатки турбіни, створює крутівний момент і обертає ротор, який у свою чергу
сполучений з генератором. Генератор виробляє електроенергію. В основу
улаштування газотурбінного агрегату покладений принцип модульності : ГТУ
складаються з окремих блоків, включаючи блок автоматики. Модульна конструкція
дозволяє в найкоротші терміни робити сервісне обслуговування і ремонт, нарощувати
потужність, а також економити засоби за рахунок того, що усі роботи можуть
робитися швидко на місці експлуатації. Газотурбінні енергоустановки
застосовуються в якості постійних, резервних або аварійних джерел тепло - і
електропостачання в містах, а також віддалених, важкодоступних районах. Основні
споживачі продуктів роботи ГТУ це:
Нафтовидобувна промисловість
Газовидобувна промисловість
Металургійна промисловість
Лісова і деревообробна промисловість
Муніципальні утворення
Сфера ЖКГ
Сільське господарство
Водоочисні споруди
Утилізація відходів
Електрична потужність газотурбінних
енергоустановок коливається від десятків кіловат до сотень мегават. Найбільший
ККД досягається під час роботи в режимі когенерації (одночасне вироблення
теплової й електричної енергії) або тригенерації (одночасне вироблення
теплової, електричної енергії й енергії холоду).
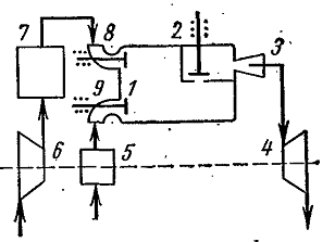
Рисунок 1.1 - Зовнішній вигляд ГТУ
типу ТА потужністю 1000 кВт: 1 - вхідний патрубок; 2 - компресор; 3 -
відведення повітря до камери згорання; 4 - турбіна високого тиску; 5 - турбіна
низького тиску; 6 - вихід газу; 7 - регулятор; 8 - редуктор; 9 - рама; 10 -
пусковий електродвигун; 11 - форсунка; 12 - вхід повітря до камери згорання; 13
- камера згорання
Можливість одержання недорогої
теплової й електричної енергії передбачає швидку окупність встановленої
газотурбінної установки. Така установка, сполучена з котлом-утилізатором
вихлопних газів, дозволяє виробляти одночасно тепло - й електроенергію, завдяки
чому досягаються найкращі показники ефективності використання палива.
Відпрацьовані гази, що виходять з турбіни, залежно від потреб замовника
використовуються для виробництва гарячої води або пари. Газотурбінний агрегат
може працювати як на газоподібному, так і на рідкому паливі. Так, в
газотурбінних установках може використовуватися:
Дизельне паливо
Гас
Природний газ
Попутний нафтовий газ
Біогаз (утворений з відходів стічних
вод, сміттєвих звалищ тощо)
Шахтний газ
Коксовий газ
Деревний газ та ін.
Більшість газотурбінних установок
можуть працювати на низькокалорійних паливах з мінімальною концентрацією метану
(до 30%).
Перевагами газотурбінних
електростанцій є:
Мінімальна шкода довкіллю: низька
витрата масла; можливість роботи на відходах виробництва; викиди шкідливих
речовин : в межах 25 ppm.
Низький рівень шуму і вібрацій. Цей
показник не перевищує 80 - 85 дБ.
Компактні розміри і невелика вага
дають можливість розмістити газотурбінну установку на невеликій площі, що
дозволяє істотно заощадити кошти. Можливі варіанти розміщення газотурбінних
установок невеликої потужності на даху.
Можливість роботи на різних видах
газу дозволяє використовувати газотурбінний агрегат в будь-якому виробництві на
найбільш економічно вигідному виді палива.
Експлуатація як в автономному
режимі, так і паралельно з мережею. Можливість роботи, впродовж тривалого часу,
при дуже низьких навантаженнях, у тому числі в режимі холостого ходу.
Максимально допустиме
перевантаження: 150% номінального струму впродовж 1 хвилини, 110% номінального
струму впродовж 2 годин.
Здатність системи генератора і
збудника витримувати не менше 300% номінального безперервного струму генератора
впродовж 10 секунд у разі трифазного симетричного короткого замикання на клемах
генератора, тим самим, забезпечується достатньо часу для спрацювання вимикачів.
2. ІДЕАЛЬНІ ЦИКЛИ ГАЗОТУРБІННИХ
УСТАНОВОК
Газотурбінні установки (ГТУ)
відрізняються від поршневих двигунів внутрішнього згорання тим, що корисна
робота виконується в них за рахунок кінетичної енергії газу, що рухається з
великою швидкістю . Робочим тілом в цих установках служать продукти згорання,
що утворюються при спалюванні палива в спеціальних камерах під тиском.
Газотурбінні установки мають, в
порівнянні з поршневими двигунами, ряд техніко-економічних переваг, а саме:
а) меншу вагу і малі габарити
установки при великій потужності;
б) відсутність кривошипного -
шатунового механізму;
в) рівномірність ходу і можливість
безпосереднього сполучення із споживачами роботи - електричними генераторами,
відцентровими компресорами тощо;
г) простота обслуговування;
д) здійснення циклу з повним
розширенням, а отже і з великим термічним ККД;
е) можливість застосування дешевих
сортів палива (гас).
Ці переваги ГТУ сприяли їх поширенню
в багатьох галузях техніки: для локомотивів, суден і особливо в авіації.
Конструкція першої газової турбіни
була розроблена інженером-механіком російського флоту П. Д. Кузьминським в 1897
р. Вона призначалася для невеликого катера. Головною особливістю цієї турбіни
була її робота з водяною парою, яка упорскувалася в камеру згорання для
зниження температури газів перед турбіною.
Широке поширення ГТУ стало можливим
лише після вирішення двох основних проблем: створення газового компресора з
високим ККД (турбокомпресора) і отримання нових жаротривких сплавів металу,
здатних довго працювати при температурах 650 - 750˚С і вище.
В основі роботи ГТУ лежать ідеальні
цикли, що складаються з простих термодинамічних процесів. ГТУ можуть працювати
із згоранням палива при постійному тиску і при постійному об'ємі. Відповідні їм
ідеальні цикли поділяють на цикли з підведенням теплоти при постійному тиску і
при постійному об'ємі. Найбільше практичне застосування отримав цикл з
підведенням теплоти при р = const [3, 4].
2.1 Принципіальна схема й ідеальний
цикл газотурбінної установки з підведенням тепла при постійному тиску
Принципіальна схема газотурбінної
установки із згоранням палива при постійному тиску зображена на рисунку 2.1.
Рисунок 2.1 - Схема ГТУ із згоранням
палива при постійному тиску
Компресор засмоктує атмосферне
повітря, стискує його до необхідного тиску і спрямовує через форсунки 7 в
камеру згорання 1. Туди ж паливним насосом 5 через форсунки 6 подається паливо,
яке може бути як рідким, так і газоподібним. В останньому випадку замість
насоса застосовується газовий компресор.
Згорання палива відбувається в
камері згорання при р = const. Продукти згорання, після розширення до тиску
близького до атмосферного в комбінованих соплах газової турбіни , потрапляють
на лопатки турбіни 3, виконують там роботу за рахунок своєї кінетичної енергії
і потім викидаються в атмосферу через випускний патрубок. Тиск відпрацьованих
газів дещо перевищує атмосферний.
До 40 - 50% потужності, генерованої
турбіною, споживається компресором.
Ідеалізований цикл даної
газотурбінної установки зображений на рисунках 2.2, 2.3.
Стискування робочого тіла в
компресорі моделюється адіабатою 1-2. Горіння палива в камері згорання
організовується таким чином, що його можна моделювати ізобарою 2-3, уздовж якої
до робочого тіла, що залишається хімічно незміненим, підводиться відповідна
кількість тепла q1. Розширення робочого тіла в газовій турбіні моделюється
адіабатою 3-4. Все це призводить до ідеалізованого робочого процесу 1234
розглянутої ГТУ.
Процес 1234 є розімкненим, оскільки
робоче тіло безперервно обмінюється.
У випадку ГТУ цей процес може бути
умовно замкнений ізобарою виду 4-1, уздовж якої від робочого тіла відводиться
кількість тепла q2.
Рисунок 2.2 - Цикл ГТУ з підведенням
теплоти при р = const на P, v - діаграмі
Рисунок 2.3 - Цикл ГТУ з підведенням
теплоти при р = const на T, s - діаграмі
Основним термодинамічним показником
ефективності циклу є його термічний ККД:
Якщо вважати робоче тіло
ідеальним газом з постійною теплоємністю, то кількість тепла, що підводиться,
визначається за формулою:
,
а кількість тепла, що
відводиться, - за формулою:
.
Тоді, термічний ККД циклу дорівнює:
Його зазвичай виражають як
функцію міри підвищення тиску σ. Для адіабати
1 - 2 маємо:
звідки:
Для ізобари 2-3:
звідки
Для адіабати 3-4:
звідки:
Підставляючи отримані значення
температур Т2, Т3 і Т4 в рівняння термічного ККД, отримаємо:
(2.1)
Термічний ККД ГТУ з
підведенням тепла при постійному тиску залежить від міри підвищення тиску σ і
показника адіабати k, зростаючи із збільшенням цих величин [1].
Відпрацьований газ після
газової турбіни доцільно спрямовувати в теплообмінний апарат для підігрівання
повітря, що надходить в камеру згорання, або відправляти для потреб
комунального господарства на отримання гарячої води, пари тощо.
На T, s - діаграмі ККД циклу
газотурбінної установки з підведенням теплоти при постійному тиску визначаємо
із співвідношення площ (рисунок 2.3) :
Розглядаючи роботу реальних
ГТУ необхідно окремо враховувати втрати на безповоротність процесів в
турбокомпресорі і в газовій турбіні.
Витрата енергії на тертя в
компресорі спричиняє збільшення температури робочого тіла, оскільки робота
тертя перетворюється на теплоту і сприймається робочим тілом, а це у свою чергу
призводить до збільшення роботи, витраченої на стискування повітря (втратою
теплоти в зовнішнє середовище нехтуємо). З рисунка 2.4 видно, що теоретичний
цикл ГТУ з підведенням теплоти при р = const на Т, s - діаграмі зображується
пл. 12341, а реальний цикл - пл. 12'34'1, де лінія 1-2' являє собою умовну
безповоротну адіабату стискування в компресорі, а лінія 3-4' - умовну
безповоротну адіабату розширення в турбіні.
Рисунок 2.4 - Цикл реальної
ГТУ з підведенням теплоти при р = const на Т, s - діаграмі
Теоретична робота стискування
в компресорі дорівнює
а дійсна:
(2.2)
де
-
адіабатний ККД турбокомпресора, що дорівнює відношенню
Нині адіабатний ККД
турбокомпресора досягає 0,8 - 0,85.
Розширення газу в проточній
частині турбіни супроводжується втратами на тертя об стінки сопел, лопаток і на
завихрення потоку, внаслідок чого частина кінетичної енергії робочого тіла
перетворюється на теплоту й ентальпія газу, на виході з турбіни, буде більше за
ентальпію оборотного процесу розширення i4. Теоретична робота розширення в
турбіні дорівнює:
Відношення внутрішньої
дійсної роботи розширення реальної турбіни до теоретичної роботи ідеальної
турбіни називають внутрішнім відносним ККД газової турбіни:
(2.3)
Чим краще виконана проточна
частина турбіни, чим менші в ній втрати від тертя газу і завихрень, тим вище
внутрішній відносний ККД газової турбіни. У сучасних турбін воно дорівнює 0,8 -
0,9.
Дійсна корисна робота, яка
може бути отримана в газотурбінній установці, lд дорівнює різниці дійсних робіт
розширення і стискування:
де ηмех
- механічне ККД.
Відношення корисної роботи
ГТУ lд до кількості витраченої теплоти q1д називають ефективним ККД
газотурбінної установки [2, 4]:
(2.4)
2.2
Принципіальна схема й ідеальний цикл газотурбінної установки з підведенням
тепла при постійному об'ємі
На рисунку 2.5 наведена схема
ГТУ із згоранням палива при постійному об'ємі. У цій установці стиснене в
турбокомпресорі 6 повітря надходить з ресивера (посудини великої місткості для
вирівнювання тиску) 7 через повітряний клапан 8 в камеру згорання 1. Сюди ж
паливним насосом 5 через паливний клапан 9 подається рідке паливо. Продукти
згорання, пройшовши через сопловий клапан 2, розширюються в соплі 3 і
призводять до обертання ротора газової турбіни 4.
Для здійснення періодичного
процесу горіння необхідно подавати повітря і паливо через керовані клапани 8 і
9 у визначені періоди часу. Процес горіння здійснюється при закритих клапанах 2
і 8. Займання палива походить від електричної іскри. Після згорання палива тиск
в камері 1 підвищується, відкривається сопловий клапан 2 і продукти горіння
спрямовуються в сопло 3, де і розширюються до кінцевого тиску.
Рисунок 2.5 - Схема ГТУ із
згоранням палива при постійному об'ємі
На рисунках 2.6, 2.7 на p, v - і T,
s - діаграмах зображений ідеальний цикл ГТУ з підведенням теплоти при v =
const. Робоче тіло з початковими параметрами р1, v1, Т1 стискується по адіабаті
1-2 до точки 2, тиск в якій визначається мірою підвищення тиску. Далі по
ізохорі 2-3 до робочого тіла підводиться деяка кількість теплоти q1, потім
робоче тіло розширюється по адіабаті 3-4 до початкового тиску (точка 4) і
повертається в первинний стан по ізобарі 4-1, при цьому відводиться теплота q2.
Рисунок 2.6 - Ідеальний цикл ГТУ з
підведенням теплоти при v = const в p, v - координатах
Рисунок 2.7 - Ідеальний цикл ГТУ з
підведенням теплоти при v = const в Т, s - координатах
Характеристиками циклу є міра
підвищення тиску в компресорі β = р2/р1
і міра додаткового підвищення тиску λ = р3/р2.
Кількість теплоти, що підводиться,
визначається за формулою:
а кількість теплоти, що
відводиться, - за формулою:
Підставивши значення q1 і q2
у вираз для термічного ККД циклу, отримаємо:
Виразимо температури Т2, Т3 і
Т4 через початкову температуру робочого тіла Т1:
для адіабати 1-2:
для ізохори 2-3:

Підставимо отримані значення
температур у вираз для термічного ККД циклу [4]. Тоді:
(2.5)
2.3
Порівняння циклів ГТУ
На рисунку 2.8 наведені цикли
ГТУ при однакових мірах підвищення тиску і однакових максимальних температурах.
З рисунка видно, що цикл ГТУ з ізохорним підведенням теплоти має більший ККД.
Дійсно, з рисунка 2.8 видно, що в циклі з підведенням теплоти при v = const
середньоінтегральна температура підведення теплоти Т'v буде вище, а середньоінтегральна
температура відведення теплоти Т''v нижче, ніж в циклі з підведенням теплоти
при р = const :
ηt ізох > ηt ізоб.
Порівняння циклів ГТУ при
різних мірах підвищення тисків і однакових максимальних температурах
підтверджує висновок, отриманий під час дослідження роботи поршневих двигунів,
що цикл з підведенням теплоти при р = const матиме більший ККД, ніж в циклі з
підведенням теплоти при v = const, тобто ККД, визначуваний за
середньоінтегральними температурами, має більше значення для циклу ГТУ з
підведенням теплоти при р = const:
ηt ізоб
> ηt ізох.
Рисунок 2.8 - Цикли ГТУ при
однакових мірах підвищення тиску і однакових максимальних температурах
Рисунок 2.9 - Цикли ГТУ при різних
мірах підвищення тиску і однакових максимальних температурах
3. МЕТОДИ ПІДВИЩЕННЯ ККД ГТУ
Термічний ККД ГТУ із згоранням
палива при р = const зростає зі збільшенням міри підвищення тиску σ.
Проте
із зростанням σ збільшується
і температура газів наприкінці згорання палива Т3, внаслідок чого швидко
руйнуються лопатки турбін і соплові апарати, охолодження яких і так викликає
труднощі [4].
Одним із заходів підвищення
термічного ККД ГТУ є застосування регенерації тепла. Регенерація тепла полягає
у використанні тепла відпрацьованих газів для підігрівання повітря, що
надходить до камери згорання. Схема газотурбінної установки із згоранням при р
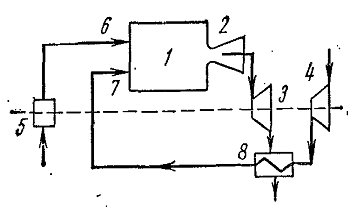
= const і з регенерацією тепла наведена на рисунку 3.1.
Рисунок 3.1 - Схема ГТУ із згоранням
палива при постійному тиску і з регенерацією тепла
Відмінність газотурбінної установки
з регенерацією тепла від установки без регенерації полягає в тому, що стиснене
повітря надходить з компресора 4 не відразу в камеру згорання 1, а заздалегідь
проходить через повітряний регенератор-теплообмінник 8, в якому воно
підігрівається за рахунок тепла відпрацьованих газів, що вийшли з камери
згорання через сопло 2 в турбіну 3. Відповідно гази, що виходять з турбіни,
перед виходом їх в атмосферу проходять через повітряний регенератор, де вони
охолоджуються, тим самим підігріваючи стиснене повітря. Підігріте повітря із
регенератора 8 через форсунку 7, а паливо з паливного насоса 5 через форсунку 6
спрямовується до камери згорання 1. Таким чином, певна частина тепла, що раніше
відносилася відпрацьованими газами в атмосферу, тепер корисно використовується.
Цикл газотурбінної установки з
регенерацією і з ізобарним підведенням тепла на P, v - і T, s - діаграмах
зображений на рисунках 3.2, 3.3.
Рисунок 3.2 - Цикл ГТУ з підведенням
тепла при р = const і з регенерацією на P, v - діаграмі
Рисунок 3.3 - Цикл ГТУ з підведенням
тепла при р = const і з регенерацією на T, s - діаграмі
Даний цикл складається з адіабатного
процесу стискування повітря в компресорі 1-2, процесу 2-5, що являє собою
ізобарне підігрівання повітря в регенераторі, ізобарного процесу 5-3, що
відповідає підведенню тепла в камері згорання за рахунок згорання палива,
процесу адіабатного розширенні газів 3-4 в турбіні, ізобарного охолодження
вихлопних газів в регенераторі 4-6 і, нарешті, умовного ізобарного процесу, що
замикає цикл, 6-1, при цьому тепло передається довкіллю.
Якщо припустити, що охолодження
газів в регенераторі відбувається до температури повітря, що поступає в нього,
тобто від Т4 до Т6 = Т2, а стисле повітря буде нагріто в регенераторі до
температури газів, тобто від Т2 до Т5 = Т4, то регенерація буде повна.
Кількість тепла, що підводиться до
робочого тіла в ізобарному процесі 5-3:
а що відводиться в ізобарному
процесі 6-1:
Підставляючи q1 і |q2| в
загальне співвідношення
отримаємо:
Температури в основних точках
циклу (рисунок 3.3) :
Тоді:
(3.1)
Термічний ККД циклу ГТУ з
підведенням тепла при р = const і повною регенерацією залежить від початкової
температури Т1 і температури у кінці адіабатного розширення Т4.
Практично повну регенерацію
здійснити не можна. Повітря, що нагрівається в регенераторі, матиме температуру
Т7, дещо меншу Т5, а охолоджувані гази - температуру Т8, вищу, ніж Т6 (рисунок
3.3). Тому ηt
циклу
залежатиме від міри регенерації.
Мірою регенерації
"r" назвемо відношення кількості тепла, отриманого стисненим повітрям
в регенераторі, до тієї кількості тепла, яку він міг би отримати, якщо був би
нагрітий від Т2 до Т5 = Т4 на виході з газової турбіни:
(3.2)
Термічний ККД циклу ГТУ з
неповною регенерацією, тобто при r < 1, визначається таким чином:
(3.3)
Величина міри регенерації
залежить від конструкції теплообмінника [1].
Регенерацію теплоти можна
здійснити і в ГТУ з підведенням теплоти при v = const. Оскільки процес
регенерації здійснюється в теплообміннику при постійному тиску, то підведення
теплоти в цьому випадку здійснюється як по ізобарі, так і по ізохорі (рисунок
3.4). Цей цикл складається з наступних процесів: 1-2 - адіабатне стискування
повітря в компресорі; 2-3 - нагрівання стисненого повітря в регенераторі при р
= const; 3-4 - підведення теплоти при v = const в камері згорання; 4-5 -
адіабатне розширення продуктів згорання в соплах турбіни; 5-6 - відведення
теплоти від газів при р = const до теплоприймача.
газотурбінний
установка цикл тиск
Рисунок 3.4 - Цикл ГТУ з
підведенням теплоти і регенерацією при v = const на р, v - діаграмі
Кількість підведеної і
відведеної теплоти складе:
Термічний ККД даного циклу дорівнює:
(3.4)
Термічний ККД циклу ГТУ з
підведенням теплоти при v = const, в результаті регенерації теплоти також
зростає. Застосування регенерації дозволяє зменшити найбільший тиск в циклі без
зниження його економічності.
Крім того, економічність ГТУ
можна підвищити, здійснивши ізотермічне підведення і відведення теплоти. Проте
на практиці, через конструктивні труднощі, неможливо повною мірою здійснити
ізотермічні процеси стискування і підведення теплоти. Для наближення дійсного
процесу стискування до ізотермічного в компресорах застосовують
багатоступінчасте стискування з проміжним охолодженням. Так само в газових
турбінах для наближення дійсного процесу підведення теплоти до ізотермічного
застосовують ступінчасте згорання з розширенням продуктів згорання в окремих
ступенях турбіни. Чим більше число ступенів розширення і стискування у циклі,
тим вище його термічний ККД. Але застосування великого числа камер згорання і
холодильників недоцільно, оскільки це значною мірою ускладнює конструкцію ГТУ і
збільшує втрати від безповоротності процесів.
Зазвичай виходячи з
техніко-економічних міркувань ГТУ роблять з двоступінчатим розширенням і
триступінчатим стискуванням. У такій установці атмосферне повітря послідовно
стискується в окремих ступенях тиску компресора і охолоджується в проміжних
холодильниках. Стиснене до високого тиску повітря надходить до першої камери
згорання, де нагрівається до максимальної температури. Після розширення в
турбіні газ надходить до другої камери згорання, де внаслідок спалювання палива
при постійному тиску він знову нагрівається до граничної температури. Потім
продукти згорання розширюються в другій турбіні (чи в другому ступені турбіни)
і викидаються в атмосферу. Якщо в ГТУ здійснюється цикл з регенерацією теплоти,
то нагрівання стислого повітря може бути здійснено за рахунок охолодження
вихлопних газів.
Ідеальний цикл ГТУ зображений
на Т, s - діаграмі на рисунку 3.5.
Рисунок 3.5 - Ідеальний цикл
ГТУ з двоступінчатим розширенням і триступінчатим стискуванням з регенерацією
теплоти
Застосовані заходи -
регенерація теплоти, ступінчасте стискування, ступінчасте підведення теплоти -
значно підвищують ККД ГТУ, а ідеальний цикл при цьому наближається до
узагальненого (регенеративного) циклу Карно.
Усе дійсні ГТУ працюють за
розімкненою схемою, в якій продукти згорання після роботи на лопатках турбіни
викидаються в атмосферу. У цих схемах застосовують рідке або газоподібне
паливо, що містить мінімальну кількість твердих часток, які не викликають
передчасного зносу лопаток турбіни.
Під час використання твердих
палив ГТУ працюють за замкненим процесом, де робочим тілом є чисте повітря або
інший газ, що нагрівається в поверхневих теплообмінниках. У такій установці
одна і та ж порція повітря або газу проходить через газову турбіну і
теплообмінники, внаслідок чого виходить замкнений процес робочого тіла.
Замкнений процес має ряд
переваг. У ньому можна використовувати дешеві тверді палива і застосовувати
повітря при підвищених тисках, що призводить до зменшення об'єму робочого тіла,
а отже, і габаритів установки. У таких установках замість повітря
використовують важчі гази і низькокиплячі речовини, наприклад, вуглекислоту.
Заміна повітря вуглекислотою дозволяє замість компресора застосовувати насос,
що підвищує ККД і надійність установки. Недоліком замкненої схеми є великі
габарити теплообмінників [4].
ВИСНОВКИ
Газотурбінні енергоустановки
застосовуються в якості постійних, резервних або аварійних джерел тепло - і
електропостачання в містах, а також віддалених, важкодоступних районах.
Газотурбінні установки (ГТУ)
відрізняються від поршневих двигунів внутрішнього згорання тим, що корисна
робота виконується в них за рахунок кінетичної енергії газу, що рухається з
великою швидкістю . Робочим тілом в цих установках служать продукти згорання,
що утворюються при спалюванні палива в спеціальних камерах під тиском.
У основі роботи ГТУ лежать ідеальні
цикли, що складаються з простих термодинамічних процесів. ГТУ можуть працювати
із згоранням палива при постійному тиску і при постійному об'ємі. Відповідні їм
ідеальні цикли поділяють на цикли з підведенням теплоти при постійному тиску і
при постійному об'ємі. Найбільше практичне застосування отримав цикл з
підведенням теплоти при р = const.
Порівняння циклів ГТУ при різних
мірах підвищення тисків і однакових максимальних температурах вказує на те, що
цикл з підведенням теплоти при р = const матиме більший ККД, ніж цикл з
підведенням теплоти при v = const. Одним із заходів підвищення термічного ККД
ГТУ є застосування регенерації теплоти. Регенерація теплоти полягає у
використанні теплоти відпрацьованих газів для підігрівання повітря, що
надходить до камери згорання. Крім того підвищити ККД можна за рахунок
ступінчастого стискування і ступінчастого підведення теплоти. Усе дійсні ГТУ
працюють за розімкненою схемою, в якій продукти згорання після роботи на
лопатках турбіни викидаються в атмосферу. У цих схемах застосовують рідке або
газоподібне паливо, що містить мінімальну кількість твердих часток, які не
викликають передчасний знос лопаток турбіни.
1. Троян
Е.Н. Теплотехника: Учебно-практ. пособие / Е.Н. Троян, И.А. Бахтина. - Барнаул:
Б.И., 2005 - 155 с.
2. Чечеткин
А.В. Теплотехника / А.В. Чечеткин, Н.А. Занемонец. - М.: Высшая школа, 1986.
. Архаров
А.М. Теплотехника / А.М. Архаров, С.И. Исаев, И.А. Кожинов и др.; Под общей
ред. В.И. Крутого. - М.: Машиностроение, 1986.
. Нащокин
В.В. Техническая термодинамика и теплопередача: Учебн. пособие для
неэнергетических специальностей вузов / В.В. Нащокин. - М.: Высшая школа, 1975.
- 496 с.
. Недужий
И.А. Техническая термодинамика и теплопередача: Учебн. пособие для вузов / И.А.
Недужий, А.Н. Алабовский. - К.: Вища школа, 1981. - 248 с.