Алгоритм виконання операції множення чисел в прямому коді
Міністерство освіти України
Вінницький державний технічний
університет
Кафедра обчислювальної техніки
Курсова робота
з дисципліни
«Прикладна теорія цифрових автоматів»
м. Вінниця - 1998р.
Зміст
Технічне завдання
Вступ
1. Розробка операційного автомату
1.1 Методи виконання операції множення
.2 Методи прискорення операції множення
.3 Визначення знаку добутка
.4 Описання операційного автомату
.5 Алгоритм множення
.6 Приклад множення
.7 Синтез операційного автомату
2. Синтез керуючого автомату
2.1 Теоретичні відомості
.2 Керуючий автомат
3. Організація контролю виконання операції додавання
Висновки
Література
Технічне завдання
. Розробити алгоритм виконання операції множення чисел в
прямому коді, починаючи з молодших розрядів із пропусканням тактів сумування.
а). Система числення - двійкова.
б). Форма представлення чисел - з фіксованою комою.
в). Розрядність операндів - 16 розрядів.
Розробити операційний автомат по отриманому алгоритму.
. Розробити схему керуючого автомату Мілі на основі
побудованого операційного автомату.
. Описати технологію числового контролю операції додавання по
модулю 9. Проілюструвати на числах 0,3437 та - 0,5431.
Вступ
Найважливішою функцією більшості обчислювальних приладів є
виконання арифметичних операцій. В зв'язку з цим в ЕОМ виділяють спеціальний
функціональний блок - арифметичний пристрій (АП), призначений для виконання
операцій над числовими кодами. Числа, які беруть участь в арифметичних
операціях, що виконуються цифровим автоматом, називаються операндами. [1]
Основною операцією в ЕОМ є операція додавання - по способу її виконання
виділяють паралельні, послідовні та паралельно-послідовні АП. Для виконання
операцій над числами використовують прямий, обернений та доповняльний коди.[2 -
3]
В данній курсовій роботі необхідно розробити алгоритм
множення чисел у прямому коді, починаючи з молодших розрядів, пропускаючи такти
додавання та побудувати відповідний цьому алгоритму операційний автомат.
Друге завдання цієї курсової роботи побудувати керуючий
автомат з жорсткою логікою (автомат Мілі) та описати технологію числового
контролю операції додавання по модулю 9.
Розділ 1. Розробка машинного алгоритму операції множення та
операційного автомату
1.1 Методи виконання операції множення
Існує чотири основних методи виконання операції множення у
двійковій системі числення:
Метод 1. Множник В = 0,в1в2...вn
перетворюється по схемі Горнера:
Тоді
Тут множення починається з молодших розрядів та зсувається вправо сума
часткових добутків.
Час множення: Тмн1 = n ×(tдод + tзс)
Метод 2. Множник записується таким чином:
В цьому випадку
що означає: множення починається з молодших розрядів і
множене зсувається вліво на один розряд в кожному такті.Час множення: Тмн2 = n ×tдод
Метод 3. Якщо множник записати по схемі Горнера:
то
У цьому випадку множення починається зі старшого розряду і в кожному
такті зсувається вліво сума часткових добутків.
Метод 4. Припустимо В - множене (В>0), А - множник (А>0), С - добуток.
Тоді у випадку зображення чисел у формі з фіксованою комою, отримуємо:
А = 0,а1а2...аn;
В = 0,в1в2...вn =
Звідси:

Множник 2-n означає зсув на n розрядів вправо числа, яке
заключене в дужки, тобто в даному випадку зсувається вправо множене і множення
починається зі старших розрядів. [2]
1.2 Методи прискорення операції множення
Методи прискорення множення діляться на апаратні та логічні.
Як ті, так і інші потребують додаткових витрат апаратури. При використанні
апаратних методів додаткові витрати апаратури прямо пропорційні числу розрядів
в операндах. [1]
До логічних методів прискорення множення відносяться:
пропускання тактів сумування, комбінація групування розрядів множника з
додатковими логічними елементами для зсуву кодів; розподілення множника на
частини; множення з запам’ятовуванням перенесення та інші. [2]
У нашому випадку будемо використовувати перший способ
множення.
1.3 Визначення знаку добутка
Оскільки операнди мають знакові розряди, то треба визначитись
зі знаком добутка. Існують такі підходи:
1
При
використанні прямих кодів знаковий розряд визначають за допомогою операції
додавання за модулем 2.
2
У
оберненому коді знак добутку визначається автоматично за рахунок внесення
поправок у звичайний добуток операндів.
3
У
доповняльному коді вносяться поправки у випадку від’ємного множника. [2]
В нашому випадку використаємо перший підхід, тому
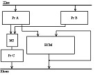
1.4 Описання операційного автомату
Для реалізації множення чисел з фіксованою комою у прямому
коді потрібні такі функціональні вузли: шина вхідних даних Швх,
через яку в пристрій надходять множене та множник; шина вихідних даних Швих,
через яку з пристрою видається добуток; регістри РгА і РгВ, які потрібні для
зберігання операндів; нагромаджувальний суматор, який необхідно використовувати
для накопичування часткових добутків і який складається з комбінаційного
суматора та з регістру РгС. Оскільки ми маємо прямий код, то для формування
знака результату необхідно мати суматор за модулем 2 m2 та трігер ТЗНС, де буде
зберігатись знак добутку. Також нам необхідний лічильник ЛІЧ. Структурна схема
операційного автомату, що реалізує операцію множення на рис.1. Алгоритм, який
реалізує прискорене множення наведено на рис.2.
1.5 Алгоритм множення
Згідно всього вищесказаного можна скласти алгоритм для
множення чисел з фіксованою комою в прямих кодах. Розглянемо алгоритм,
накреслений в додатку.
1.
Із
вхідної шини в регістри РгА і РгВ поступають прямі коди відповідно множеного і
множника. Накопичувальний суматор, в якому буде відбуватися операція додавання
та зберігатися часткові добутки, а також регістр РгС, в якому будемо зберігати
знак результату, обнуляються (тобто початкове значення регістра С відповідає
додатньому результату).
2.
Далі
перевіряємо операнди на рівність нулю. Якщо множене (РгА) дорівнює нулю, то на
шину вихода подаємо вміст накопичувального суматора та знак (вміст регістра С) - тобто 0. Якщо РгА не
дорівнює нулю, то перевіряємо на рівність нулю вміст РгВ і якщо він дорівнює
нулю, то виконуємо ті ж дії, які були описані для випадку нульового значення
РгА. Якщо РгВ не дорівнює нулю, то переходимо до пункту 3.
4.
Здвигаємо
на один розряд вправо регістр РгВ та суматор.
5.
Перевіряємо
лічильник на рівність нулю. Якщо він не дорівнює нулю, то переходимо до пункту
3, а якщо дорівнює нулю, то переходимо до слідуючого пункту.
6.
Аналізуємо
знакові розряди множеного та множника. Результат вибирається згідно таблиці:
Таблиця 1. Таблиця істинності операції сума по модулю 2.
|
Рг А
|
Рг В
|
Результат
|
|
0
|
0
|
0
|
|
0
|
1
|
1
|
|
1
|
0
|
1
|
|
1
|
1
|
0
|
Тобто ця таблиця відповідає таблиці істинності операції “сума
по модулю 2”. У разі неістинного значення (тобто різні знаки операндів) регістру
С присвоюємо значення одиниці (від’ємний результат). У разі однакових знакових
розрядів (результат додатній) переходимо до слідуючого пункту.
1.
Вихідній
шині присвоюємо значення регістру С (знак результату) та вміст накопичувального
суматора (результат). [2]
1.6 Приклад множення
Тепер розглянемо дію цього алгоритму на прикладі множення в
прямому коді конкретних чисел: 0,3437 і - 0,5431
,3437(10) = 0,010101111100 (2)
,5431(10) = 1,1000101100001000 (2)
Похибка при переводі з десяткової у двійкову систему числення
буде дорівнювати вазі молодшого розряду, тобто 1/216 = 1/65536 =
1,52587890625×10-5. [2]
Для зручності виконаємо множення, враховуючи 8 розрядів
(таблиця 2)
Таблиця 2. Приклад множення.
|
СМ
|
РгВ
|
Примітки
|
|
0000000000000000
|
10001011
|
[СМ]=0; [Рг В] = В;
[Рг А] = А
|
|
01010111.
|
|
В8 = 1 [СМ] = [СМ]
+[ Рг А]
|
|
0101011100000000
|
|
|
|
0010101110000000
|
_1000101
|
[СМ]; [Рг В]
|
|
01010111.
|
|
В7= 1; [СМ] = [СМ]
+ [Рг А]
|
|
1000001010000000
|
|
|
|
0100000101000000
|
_ _ 100010
|
[СМ]; [Рг В]
|
|
0010000010100000
|
_ _ _ 10001
|
В6= 0; [СМ]; [Рг В]
|
|
01010111.
|
|
В5= 1; [СМ] = [СМ]
+ [Рг А]
|
|
0111011110100000
|
|
|
|
0011101111010000
|
_ _ _ _ 1000
|
[СМ]; [Рг В]; В4= 0
|
|
0001110111101000
|
_ _ _ _ _100
|
[СМ]; [Рг В]; В3= 0
|
|
0000111011110100
|
_ _ _ _ _ _10
|
[СМ]; [Рг В]; В2= 0
|
|
0000011101111010
|
_ _ _ _ _ _ _ 1
|
[СМ]; [Рг В]; В1= 1
|
|
01010111.
|
|
[СМ] = [СМ] + [Рг
А]
|
|
0101111001111010
|
|
|
|
0010111100111101
|
_ _ _ _ _ _ _ _
|
СМ; Рг В
|
Після виконання операції результат буде розташований в
накопичувальному суматорі. Отже добуток в прямому коді дорівнює: 10111100111101
(2) = 0.18666346. Множення за даним алгоритмом виконалось правильно, отже
алгоритм був розроблений вірно.
У нашому випадку ми використаємо шини входу та виходу,
регістри, суматор по модулю 2 та накопичуючий суматор, який складається з
комбінаційного суматора та регістра для зберігання часткових добутків.
Рис.1 Структурна схема операційного автомату
Розставимо керуючі сигнали для операційного автомату. Для
цього накреслимо змістовну блок-схему алгоритма. Вкажемо в його операторних
вершинах відповідні керуючі сигнали, в умовних - умови переходів (рис. 2).
Позначимо стани та виходи автомата Мілі, який буде реалізувати ці керуючі
сигнали.
На рис.2 команди мають слідуючий зміст:
® РгA:= Швх® РгB:= Швх® РгС:= 0® СМ:= 0® Ліч:= n® СМ:= СМ + [РгА]® СМ:= R1 CM ® РгВ:= R1 РгВ® РгС:= 1 ® Швих:= См
Умовні вершини:
Х1 ® РгА = 0
Х2 ® РгВ = 0
Х3 ® РгВ [n] = 1
Х4 ® Ліч = 0
Х5 ® РгА [0] = РгВ[0]
Позначимо відповідні отримані керуючі сигнали та умови
переходів на кресленні операційного автомату (додаток).
Рис.2 Блок - схема алгоритму
множення керуючий операційний автомат
Розділ 2. Синтез керуючого автомату
2.1 Теоретичні відомості
Керуючий автомат (КА) генерує послідовність керуючих
сигналів, яка передбачена мікропрограмою і відповідає значенням логічних умов.
Інакше кажучи, керуючий автомат задає порядок виконання дій в операційному
автоматі, який виходить з алгоритму виконання операцій. Найменування операції,
яку необхідно виконувати у пристрої, визначається кодом операції. По відношенню
до керуючого автомату сигнали коду операції, за допомогою яких кодується
найменування операції, і повідомлювальні сигнали х1,...,хl,
які формуються в операційному автоматі, грають однакову роль: вони впливають на
порядок генерування керуючих сигналів y. Тому сигнали коду операції і умовні
сигнали відносяться до одного класу - до класу повідомлювальних сигналів, які
поступають на вхід керуючого автомату. [3,4]
В основі опису керуючих автоматів лежить принцип
мікропрограмного керування. Він полягає в тому, що будь-яка операція
розглядається як скадна, що містить більш прості операції, які називаються
мікроопераціями; тобто кожна операція-це визначена послідовність мікрооперацій.
Існують два основні типи керуючих автоматів:
. Керуючий автомат з жорсткою, чи схемною, логікою.
Для кожної операції будується набір комбінаційних схем, які в потрібних тактах
збуджують відповідні керуючі сигнали. Іншими словами, будується скінчений автомат, в якому необхідна множина
станів представляється станами k запам’ятовуючих елементів:
q = {q1, q2, …, qk}
. Керуючий автомат з зберігаємою в пам’яті логікою
(програмованою логікою). Кожній операції, що виконується в операційному
пристрої, ставиться у відповідність сукупність зберігаємих в пам’яті
слів-мікрокоманд, кожна з яких містить інформацію про мікрооперації, що підлягають виконанню на
протязі одного машинного такту, та вказівку (яка в загальному випадку залежить від
значень вхідних сигналів), яке повинно бути вибране з пам’яті наступне слово
(наступна мікрокоманда). Таким чином, в цьому випадку функції переходів та виходів А та Ві
керуючого автомату реалізуються зберігаємою в пам’яті сукупністю мікрокоманд.
[3]
Послідовність мікрокоманд, що виконують одну машинну
команду чи окрему процедуру, створює мікропрограму. Звичайно мікропрограми
зберігаються в спеціальній пам’яті мікропрограм (керуючій пам’яті).
В керуючих автоматах з зберігаємою в пам’яті програмою
мікропрограми використовуються в явній формі, вони програмуються в кодах
мікрокоманд і в такому вигляді заносяться в пам’ять. Тому такий метод
управління цифровим пристроєм називається мікропрограмуванням, а керуючі блоки, що використовують цей
метод-мікропрограмними керуючими пристроями. [1,3]
В залежності від прийнятого способу кодування мікрооперацій
розрізняють три варіанти організації мікропрограмного керування: горизонтальне, вертикальне та комбіноване
мікропрограмування. При горизонтальному мікропрограмуванні для кожної
мікрооперації виділяється один розряд у мікрокоманді. При такому кодуванні всі
операції, що виконуються одночасно, визначаються одиницями у відповідних розрядах однієї
мікрокоманди. Код операції задає адресу першої мікрокоманди в мікропрограмі.
Адреси наступних мікрокоманд визначаються за принципом примусової адресації, згідно цього мікрокоманда
складається з двох частин-мікроопераційної та адресної. Основною перевагою
горизонтального мікропрограмування є висока швидкодія як за рахунок простоти та
можливості одночасної генерації довільного числа сигналів мікрооперацій, так і за рахунок швидкого
формування адреси наступної мікрокоманди. Однак при горизонтальному
мікропрограмуванні довжина поля мікрооперації повинна бути не менша за
максимальну кількість несумісних мікрооперацій, тобто вимагаються довгі
формати мікрокоманд та комірки запам’ятовуючого пристрою, що призводить до значних
витрат обладнання. Крім того, лише невелике число розрядів в полі мікрооперації
буде містити одиниці, тобто запам’ятовуючий пристрій буде використовуватись
неефективно. [3]
Скоротити довжину мікрокоманд дозволяє застосування
вертикального мікропрограмування, при якому кожна мікрооперація кодується ]log2
n[ - розрядним кодом, де n - загальна кількість мікрооперацій. Таке кодування
накладає обмеження на методи виконання операцій, а саме: не повинно бути операцій, що потребують одночасного
виконання ряда мікрооперацій. В тих випадках, коли це обмеження виконати
неможливо, треба використовувати складні мікрооперації, що складаються з сукупності
простих.[3]
Внаслідок недоліків, притаманних горизонтальному та
вертикальному способам мікропрограмування, вони не отримали широкого
використання в чистому вигляді та застосовуються тільки в тих випадках, де специфіка наборів
мікрооперацій та мікроалгоритмів згладжує ці недоліки. Усунути в значній мірі
недоліки розглянутих способів мікропрограмування дозволяє комбіноване (змішане)
мікропрограмування, при якому всю множину мікрооперацій розбивають на підмножини, що не перетинаються.
Функція керуючого автомату - це операторна схема алгоритму
(мікропрограми), функціональними операторами якої є символи у1,...,уm,
які ототожнюються з мікроопераціями, в якості логічних умов (предікатів)
використовуються булеві змінні х1,...,хl. Кожна з цих
формул визначає обчислювальний процес в послідовному аспекті - встановлює
порядок перевірки логічних умов х1,...,хl і порядок
виконання мікрооперацій у1,...,уm. [3]
В залежності від способу визначення вихідного сигналу в
керуючих автоматах розрізняють три типи абстрактних автоматів: автомат Мілі,
автомат Мура, С-автомат. В абстрактному автоматі Мілі функція виходів l задає відображення (XxS)®Y. В абстрактному автоматі
Мура функція виходів l задає відображення S®Y. В абстрактному С-автоматі
вводяться дві функції виходів l1 і l2, що задають відображення (XxS)®Y1 і S®Y2 відповідно. При
цьому алфавіт виходів С-автомата, Y=Y1=Y2 або Y=Y1ÈY2.
Довільний абстрактний атомат Мілі або Мура має один вхідний і
один вихідний канали. Довільний абстрактний С-автомат має один вхідний і два
вихідних канали [2].
Наш алгоритм будем реалізовувати для автомата Мілі.
2.2 Керуючий автомат
Як видно з рис.3.4.1 автомат повинен мати 7 станів (а0
- а6). Для його реалізіції потрібно використати ]log27[ =
3 тригера. Закодуємо всі стани автомата (таблиця 3)
Таблиця 3
|
Стани автомата
|
Стани тригерів
|
|
Т2
|
Т3
|
Т4
|
|
а0
|
0
|
0
|
0
|
|
а1
|
0
|
0
|
1
|
|
а2
|
0
|
1
|
0
|
|
а3
|
0
|
1
|
1
|
|
а4
|
1
|
0
|
0
|
|
а5
|
1
|
0
|
1
|
|
а6
|
1
|
1
|
0
|
Суміщена таблиця переходів та виходів зображена на кресленні
додатку.
Використаємо таблицю 3 для побудови граф - схеми автомата
Мілі. Роботу автомата можна представити у вигляді графа (рис. 2).
Рис 3. Граф автомату.
Автомат будемо будувати на D-тригерах, так як для даного
випадку вони є найбільш простими і прийнятними. Викорисаємо таблицю переходів і
виходів щоб записати функції збудження D-тригерів:
= y6 x3 + y7 y8 x3
+ y7 y8 + y9 x4 x5 + y6
x3 x4 + y7 y8 x3 x4=
y2 y3 y4 + y5 x1 x2
+ y9 x4 x5
D3 = y1 + y5 x1 x2
+ y7 y8 x3 + y7 y8 + y7
y8 x3 x4
Після мінімізації аналітичним методом одержимо слідуючі значення
цих функцій:
D1 = y6 x3 + y7 y8
+ y9 x4 x5
D2 = y2 y3 y4 + y5
x1 x2 + y9 x4 x5
D3 = y1 + y5 x1 x2
+ y7 y8
Користуючись таблицею переходів і виходів (додаток) можна
записати керуючі сигнали через стани автомата:
у1 = а12 = y3 = y4
= а25 = а3 x1 x26 = а4 x3
7 = y8 = a59 = а6 x4 x510
= а0
По отриманим збуджуючим функціям синтезуєм керуючий автомат
Мілі, який вироблятиме сигнали для керування операційним автоматом (креслення в
додатку).
Розділ 3. Організація контролю виконання операції додавання
Арифметичні коди можна розділити на дві групи: коди, що
знаходять помилки, і коди, що виправляють помилки. Самим простим та широко
розповсюдженим серед арифметичних кодів першої групи є коди з перевіркою по
модулю. Принцип побудови такого кода полягає в тому, що в його контрольні
разряди записують остачу від ділення вихідного числа на деяке попередньозадане
ціле число (модуль) dm. При цьому усі машинні числа можна умовно розглядати як
цілі, хоча насправді як числа з фіксованою комою, так і числа з плаваючою комою
є складні слова. Код з перевіркою по модулю може знайти всі помилки за
виключенням тих, що кратні вибраному модулю. [5]
Арифметичність кода основана на тому, що остача від ділення
на dm добутку має бути рівним добутку остач від ділення на dm вихідних чисел,
тобто в цьому випадку маємо прямий зв`язок між контрольними розрядами операндів
і результата операції.
Якщо добуток остач перевищує сам модуль dm, то він теж
береться по модулю dm (ділимо на dm).
Таким чином, для організації контроля арифметичних операцій в
машинах, потрібно мати допоміжне обладнання, а саме множник для остач
операндів; схему швидкого визначення остачі від ділення добутку на модуль;
схему зрівняння добутків остач операндів з остачою добутку [1].
Проілюструємо виконання контролю додавання на числах 0,3437
та - 0,5431.
,3437(10) = 0,010101111100 (2)
(2) = 1404 (10)= mod (1404,9) = 0 (10) = 0 (2) - остача по
модулю 9, для першого числа.
,5431(10) = 1,1000101100001000 (2)
(2) = 35592= mod (35592,9) = 6 (10) = 110 (2) - остача по
модулю 9, для другого числа.
Тепер виконаємо додавання цих двох чисел у двійковому коді:
.0000010101111100
.1000101100001000
.1001000010000100
(2) = 36996 (10)= mod(36996,9) = 6(10) = 110(2) - остача по
модулю 9 отриманої суми, представленої в двійковому коді
Перевіримо правильність додавання:
+ r2 = 0 + 6 = 6, mod(6,9) = 6(10) = 110 (2)+ r2 = r3,
отже додавання виконано правильно. Тепер внесемо помилку в
результат:
.0000010101111100
.1000101100001000
.1001000010000100
.0000010000000000
1.1001010010000100
(2) = 38020 (10)’ = mod (38020,9) = 4 (10) = 100 (2) - остача
по модулю 9 отриманої суми з помилкою, представленої в двійковому коді
r3’ = mod(124652,11) = 0(10) = 0000(2) - остача по модулю 11
представленої в двійковому коді отриманої суми з помилкою.
Перевіримо правильність додавання: + r2 = 0 + 6 = 6, mod(6,9)
= 6(10)+ r2 ¹ r3, отже в результаті є помилка
На прикладі ми пересвідчились в можливості знаходження
помилок з допомогою 9N - кодів.
Висновки
Перший розділ даної курсової роботи був присв’ячений розробці
алгоритма множення в прямому коді з молодших розрядів, з пропусканям тактів
сумування для двійкових чисел з фіксованою комою. На основі цього алгоритма
була синтезована структурна схема операційного автомату
Друга частина була присв’ячена розробці керуючого автомату з
жорсткою логікою (автомат Мілі).
В третій частині курсової роботи була досліджена можливість
знаходження помилок за допомогою 9N кодів.
Результати роботи представлені у вигляді даної записки та
додатку з кресленнями відповідних схем та таблиць.
Література
1.
Савельев
А.Я. ПТЦА.- М.:Высшая школа, 1987 г.
2.
Самофалов
К.Г., Корнейчук В.И., Тарасенко В.П. Цифровые ЭВМ.- Киев:Высшая школа, 1989 г.
3.
Майоров
4.
Каган
Б.М. Электронные вычислительные машины и системы.-М.:Энергоатомиздат, 1991 г.
5.
М.А.
Лужецький та ін. Методичні вказівки по ПТЦА. Контороль операцій.