Расчет системы газоснабжения населенного пункта
Введение
Использование газа в сельском хозяйстве
позволяет интенсифицировать и автоматизировать производственные процессы,
улучшить санитарно-гигиенические условия труда на производстве и в быту,
оздоровить воздушные бассейны городов.
Удобство транспортировки и отсутствие
необходимости складского хранения обеспечивают высокий экономический эффект
замены других видов топлива газовым.
Неоспоримые достоинства газа и наличие его
значительных запасов создают условия для дальнейшего развития газоснабжения
страны. Естественно, что при больших масштабах внедрения газового топлива в
различные отрасли к работам по проектированию, строительству и эксплуатации
объектов газового хозяйства постоянно привлекаются новые кадры специалистов.
Однако достоинства газового топлива могут быть рационально и безопасно
использованы только специалистами, хорошо усвоившими основы газоснабжения и
строго соблюдающими правила безопасности в газовом хозяйстве.
1. Расчет газоснабжения населенного
пункта
Газ в сельской местности
расходуется на хозяйственные (приготовление пищи и нагревание воды в жилых
домах), коммунально-бытовые (бани, прачечные, общественные, лечебные, детские и
прочие учреждения) нужды, отопление и вентиляцию жилых, общественных и
производственных зданий и сооружений, а также для технологических целей.
Режим потребления газа на
хозяйственные и коммунально-бытовые нужды, а также на отопление и вентиляцию в
селах и поселках существенно не отличается от режима потребления газа в
городских условиях. Специфическую особенность и определенную техническую
сложность представляет газификация сельскохозяйственных промышленных объектов.
Суммарное потребление газа за
год различными потребителями - основа для разработки систем газоснабжения.
Исходя из годовых расходов и режима потребления газа определяют схему системы,
протяженность, пропускную способность, материалоемкость и стоимость газовых
сетей и сооружений. По годовым расходам устанавливают максимальные часовые
расходы газа для расчета диаметров газопроводов, подбора оборудования и
регулирующих устройств. Расход газа определяют с учетом перспектив развития
населенного пункта на 10 лет. Методика расчета годовых расходов зависит от
категории потребителя.
Удельный максимальный расход
газа зависит от численности населения и плотности жилой застройки. Для
населенных пунктов новой планировки с численностью населения 700...2000 чел. и
плотностью застройки 150...960 м2/га указанная величина составляет
от 0,7 до 1,6 м3/(ч·чел.), в том числе на хозяйственные и
коммунально-бытовые нужды - от 0,1 до 0,16 м3/(ч- чел.), что
значительно превышает этот показатель для городских условий. При отсутствии
горячего водоснабжения расход газа снижается в среднем на 25%. В селах старой
застройки с численностью населения до 500 чел. ориентировочный расход газа не
превышает 400 м3/ч.
Поселковые распределительные
газовые сети рассчитывают на максимальные значения часового расхода газа,
определяемые из графиков потребления топлива всеми категориями потребителей в
течение суток.
При разработке проекта
газоснабжения населенного пункта необходимо определить расчетный расход газа,
выбрать схему газоснабжения и провести гидравлический расчет газопроводов. Для
решения этих задач требуется: генплан населенного пункта с нанесенными
инженерными коммуникациями; данные об этажности застройки или плотности
населения, размещении промышленных объектов; климатологические сведения района
застройки; данные о коррозионной активности грунтов; сведения о перспективе
развития объектов газоснабжения на 10...20 лет, источнике газоснабжения и
составе газа.
Годовые и расчетные расходы
газа потребителями сельской местности определяют в соответствии с нормативными
документами и по данным специальной литературы.
.1 Расчет системы газоснабжения населенного
пункта
. В зависимости от задания определить низшую
теплоту сгорания газа QН, кДж/м3 .
. Определить численность населения N, чел.,
которая зависит от площади поселка и плотности населения.
, (1.1)
где F - площадь застройки, га;-
плотность населения, чел./га.
При неоднородной застройке
численность населения подсчитывается по плотности населения в отдельных районах
или кварталах.
. Определить по заданию потребность
газа в тепловых единицах по нормам расхода
На приготовление пищи и горячей воды
для хозяйственных и санитарно-гигиенических нужд расход газа QБЫТ,
кДж/год, определяется по формуле
(1.2)
где nБЫТ - доля людей от
общего населения, использующих газ для приготовления пищи и горячей;БЫТ
- нормированный расход газа на приготовление пищи и горячей воды на одного
человека, кДж/год.
Расход газа на столовые и рестораны
QСТ, кДж/год, определяется по формуле
(1.3)
где nСТ - доля людей от
общего населения, пользующихся столовыми;СТ - нормированный расход
газа на приготовление пищи для столовых, кДж/сут.
На поликлиники расход газа QПОЛ,
кДж/год, определяем по их пропускной способности:
(1.4)
где nПОЛ - количество посещений
поликлиник одним жителем в году;ПОЛ - нормированный расход газа
поликлиники на одного посетителя, кДж/год.
- принятое количество рабочих дней в году.
На больницы расход газа QБОЛ,
кДж/год, определяем из расчета расхода на приготовление пищи и горячей воды для
хозяйственно-бытовых нужд и лечебные процедуры
(1.5)
где nБОЛ - количество
коек на 1000 жителей;БОЛ - нормированный расход газа больницы на
одну койку, кДж/год.
На школы, вузы и техникумы расход
газа QШК, кДж/год, для подогрева завтраков и лабораторных нужд
определяются по формуле
(1.6)
где nБОЛ - количество
обучающихся на 1000 жителей;БОЛ - нормированный расход газа для
школ, вузов и техникумов на одного обучающегося, кДж/год.
На хлебозавод расход газа QХЛi,
кДж/год, для каждого вида продукции определяется по формуле
(1.7)
где mi - масса
выпекаемого i-го вида продукции на 1000 жителей, т/сут;ХЛi -
нормированный расход газа для выпечки i-го вида продукции, кДж/год.
Суммарный расход газа QСУМ, кДж/год,
населенного пункта будет равен сумме расходов газов на все бытовые и
коммунальные нужды.
Общий расход газа QОБЩ,
кДж/год, по населенному пункта составит
ОБЩ = 1,1 ·
QСУМ (1.8)
где 1,1 - коэффициент, учитывающий
расход газа на мелкие коммунально-бытовые предприятия.
.2 Расчетный часовой расход газа VКОМ,
м3/ч, на бытовые и коммунальные нужды определяется по формуле
, (1.9)
где VГОД - годовой расход
газа на бытовые и коммунальные нужды, м3/год;m -
коэффициент часового максимума.
Годовой расход газа VГОД,
м3/год, на бытовые и коммунальные нужды определяется по формуле
(1.10)
Коэффициенты часового максимума km
расхода газа (без отопления) в зависимости от численности населения приведены в
приложении (таблица 3).
.3 Определить расчетный часовой расход
газа на отопление жилых и общественных зданий
Расчетный часовой расход газа VР.ОТ,
м3/ч, на отопление определяется по формуле
, (1.11)
где qо - удельная
отопительная характеристика здания, для жилых и общественных зданий можно
принимать qо = 1,25…1,68 кДж/(м3·ч·0С);
tВН - средняя расчетная температура
внутреннего воздуха, для жилых зданий tВН = 18 0С, для
общественных tВН =16 0С;
tн.ср.от - средняя температура
наружного воздуха за отопительный период, 0С;Н - наружный
строительный объем отапливаемого здания, м3;
η - КПД отопительных
установок, для котельных η = 0,80…0,85; для
отопительных печей η = 0,65…0,80.
Ввиду ограниченного числа больших общественных
зданий в населенных пунктах расход газа для получения тепла на их вентиляцию не
учитываются (VР.В = 0 м3/ч).
1.4 Общий расчетный часовой расход
газа
на бытовые
и коммунальные нужды с учетом отопления определяется по формуле
.
(1.12)
Считая этот расход равномерно
распределенным по всей площади застройки населенного пункта, удельный расход
газа на единицу площади застройки VУД.f, м3/(ч·га),
будет рассчитываться по формуле
(1.13)
где VР. ЧАС - расчетный
часовой расход газа, м3/ч;- площадь застройки, га.
.5 Нанести на генплан поселка схему
газовых сетей и замерить длины расчетных участков
В населенных пунктах с численностью
населения до 50 тыс. человек применимы одноступенчатые системы, в более крупных
городах - двухступенчатые системы. Поскольку трасса газопроводов должна
размещаться на определенных расстояниях от линии застройки, трамвайных путей,
подземных инженерных коммуникаций и других сооружений, необходимо прокладывать
ее не по основным магистральным улицам города, а по улицам с меньшим
количеством инженерных коммуникаций. При выборе схемы газовых сетей низкого
давления следует иметь в виду, что кварталы индивидуальной одно-, двухэтажной
застройки, не имеющей свободных внутриквартальных площадей, надо окольцовывать.
При многоэтажной застройке с наличием внутриквартальных свободных площадей
достаточно газ подвести к кварталу с одной или двух сторон и предусмотреть
внутриквартальные ответвления. Из этих соображений в одно кольцо можно
заключить несколько многоэтажных кварталов. Окраинные кварталы с односторонним
разбором газа следует рассматривать как прилегающие к газопроводу площади и
окольцовывать не требуется.
При разработке схемы газоснабжения
очень важно определить оптимальное число ГРП и правильно разместить их на
территории города. Увеличение числа ГРП уменьшает радиус действия каждого из
них, и, следовательно, уменьшаются диаметры газопроводов после ГРП и
металловложения в сеть низкого давления, но это приводит к удорожанию системы
за счет стоимости самих ГРП. В зависимости от расчетного расхода газа,
плотность и этажность застройки города обычно ориентируются на пропускную
способность одного ГРП 1500 - 4000 м3/ч и радиус его действия
0,5-1,0 км.
.6. Расчет расхода газа VКi,
м3/ч, по отдельным кольцам производится по формуле
, (1.14)
и т.д
где FПi - площадь i-го
кольца, га.
Расчет необходимо произвести для
каждого кольца газовых сетей населенного пункта, а также определить общий
расход газа.
Полученные данные сведем в
таблицу
Таблица
1
Расход газа по отдельным кольцам
|
Кольца и площади вне колец
|
1
|
2
|
3
|
4
|
А
|
Б
|
|
Расход газа, м3/ч
|
2085,1
|
2318,855
|
1383,833
|
1243,580
|
598,414
|
93,502
|
.7 Определить удельный расход газа на единицу
длины периметра VУД.l.i, м3/(ч·м), для каждого
кольца от равномерно распределенной нагрузки по формуле
(1.15)
где li - длина
газопроводов по периметру i-го кольца, м.
Результаты расчетов свести в
таблицу.
Таблица
2
Удельный расход газа на единицу
длины периметра
|
Кольца
|
1
|
2
|
3
|
4
|
|
Удельный
расход, м3/(ч·м)
|
1,043
|
1,693
|
0,852
|
0,800
|
1.8 Определить путевые расходы газа VПi,
м3/ч, на каждом участке сети
а) при одностороннем разборе газа (участок 1-2
рисунка 1) путевой расход определяется по формуле
, (1.16)
и т.д
где lУЧ1-2 - длина
рассчитываемого участка (в данном случае - 1-2), м.
б) при двустороннем разборе газа
(участок 2-8 рисунка 1) путевой расход определяется по формуле
, (1.17)
и т.д
в) Расход газа на прилегающие
площади целиком прибавляется к путевому расходу газа на участке сети, к
которому прилегает данная площадь (участок 8-7 рисунка 1)
,
и т.д(1.18)
Расчет необходимо произвести для
каждого участка газовых сетей населенного пункта.
Суммарный путевой расход газа VП,
м3/ч, определяется по формуле
,
(1.19)
после чего он сравнивается с общим
расчетным часовым расходом газа
на бытовые и коммунальные нужды.
Допустимой считается разница между ними менее 5%. Если погрешность более 5%, то
следует устранить неточности в расчетах.
Результаты расчетов записать в виде
таблицы.
Таблица
3
Путевые расходы газа
|
Участок
|
Путевой расход, м3/ч
|
Участок
|
Путевой расход, м3/ч
|
|
1-2
|
338,829
|
8-9
|
338,829
|
|
2-3
|
914,001
|
9-1
|
854,891
|
|
3-4
|
1092,236
|
11-2
|
724,813
|
|
4-5
|
174,578
|
11-8
|
488,204
|
|
5-6
|
102,191
|
3-10
|
610,604
|
|
6-7
|
519,824
|
10-6
|
561,449
|
|
7-8
|
165,478
|
11-10
|
810,006
|
1.9 Определить узловые расходы газа VУЗi,
м3/ч, для каждого узла по формуле
, (1.20)
и т.д
где ΣVП - сумма
путевых расходов участков, примыкающих к узлу.
В тех случаях, когда на участке
помимо равномерно распределенных путевых расходов VП, м3/ч,
имеются сосредоточенные расходы VС, м3/ч, они включаются
в узловые расходы в местах их присоединения в газовую сеть. Узловой расход в
этом случае рассчитывается по формуле
,(1.21)
Суммарный узловой расход газа VУЗ,
м3/ч, определяется по формуле
, (1.22)
после чего он также сравнивается с
общим расчетным часовым расходом газа
на бытовые и коммунальные нужды, за
вычетом сосредоточенных расходов. Между ними допустимой считается разница менее
1%. Если погрешность более 1%, то следует устранить неточности в расчетах.
Результаты вычислений записать в
таблицу.
Таблица
4
Узловые расходы газа
|
УзелУзловой расход, м3/чУзелУзловой
расход, м3/ч
|
|
|
|
|
1
|
596,829
|
7
|
342,651
|
|
2
|
988,822
|
8
|
496,255
|
|
3
|
1478,471
|
9
|
596,255
|
|
4
|
633,456
|
10
|
991,029
|
|
5
|
138,383
|
11
|
1011,512
|
|
6
|
591,732
|
|
|
1.10 Вычертить расчетную схему газопроводов и
наметить желаемые направления потоков газа
На схеме наметить сначала главные направления
потоков газа от ГРП к наиболее удаленным точкам населенного пункта и обозначить
их стрелками. При этом следует стремиться обеспечить подвод газа к потребителям
в дальних точках минимум по двум наикратчайшим направлениям. Затем наметить
вспомогательные направления потоков газа, чтобы обеспечить продвижение газа от
ГРП к периферии. Далее на схеме отметить так называемые нулевые точки, или
точка схода потоков, т. е. узлы, в которых потоки газа сходятся, а выходящих
расходов нет, кроме сосредоточенных, если они имеются в узле. Желательно, чтобы
в кольцах длина участков с «положительными» (по часовой стрелке) направлениями
потоков газа была примерно равна длине участков с «отрицательными» (против
часовой стрелки) направлениями потоков газа, т. е. чтобы кольца были
«равноплечные».
.11 Вычислить расчетные расходы газа на
участках, составляя для этого уравнения равновесия каждого узла
Если в уравнении равновесия узла
неизвестны несколько расходов, то неизвестными расходами, за исключением
одного, задаются, а один вычисляется. Величины расходов, которыми задаются,
могут быть приняты произвольно, но они должны быть не менее половины путевых
расходов для соответствующих участков. Если же расход, которым задаются, помимо
путевого расхода включает и транзитный расход, то он должен быть учтен, т. е. в
таком случае надо задаваться расходом
. Расчетные расходы газа нанести на
расчетную схему.
Для удобства вычислений расчетных
расходов на участках на расчетную схему следует нанести узловые расходы.
Вычисления необходимо начинать с дальних точек схода.
Вычисление расчетных расходов
ведется в табличной форме
Таблица
5
Определение расчетных расходов
|
Узел
|
Уравнение
равновесия узла
|
Задаемся
расходом VPi, м3/ч
|
Искомый
расход газа на участке, м3/ч
|
|
1
|
VP
3-4+VP 4-5= Vуз 4
|
VP
4-5=87,264
|
VP
3-4 546,192
|
|
2
|
VP
6-7+VP 7-8=Vуз 7
|
VP
7-8=82,736
|
VP
6-7 259,912
|
|
3
|
VP6-5-
VP 5-4= Vуз 5
|
-
|
VP
6-5 221,327
|
|
4
|
VP
10-6-VP 6-7- VP 6-5 =Vуз 6
|
-
|
VP
10-6 1072,971
|
|
5
|
VP
2-3+ VP 3-10- VP 3-4= Vуз 3
|
VP
3-10=305,302
|
VP
2-3 1719,361
|
|
6
|
VP
10-11- VP 3-10- VP 10-6= Vуз 10
|
-
|
VP
10-11 2369,302
|
|
7
|
VP
1-2+ VP 1-9= Vуз 1
|
VP
1-9=427,445
|
VP
1-2 169,415
|
|
8
|
VP
1-9+ VP 8-9=Vуз 9
|
-
|
VP
8-9 169,415
|
|
9
|
VP11-8-
VP 8-9 - VP 8-7=Vуз 8
|
-
|
VP
11-8 748,409
|
|
10
|
VP
11-2- VP 2-1- VP 2-3 =Vуз 2
|
-
|
VP
11-2 2877,597
|
|
11
|
VГРП-VP
10-11- VP 2-11- VP 11-8- -VС =Vуз
11
|
-
|
VГРП 7181,82
|
По балансу в узле 11, т. е. у ГРП,с учетом
сосредоточенного расхода газа, проверяется правильность расчета: ΔVпогр..
Погрешность не должна превышать 8%.
Расчетные расходы газа записать в виде таблицы:
Таблица
6
Расчетные расходы газа на участках
|
Участок
|
Расчетный
расход, м3/ч
|
Участок
|
Расчетный
расход, м3/ч
|
|
1-2
|
169,415
|
8-9
|
169,415
|
|
2-3
|
1719,361
|
9-1
|
427,445
|
|
3-4
|
546,192
|
11-2
|
2877,597
|
|
4-5
|
87,264
|
3-10
|
305,302
|
|
5-6
|
221,327
|
10-11
|
2369,302
|
|
6-7
|
259,912
|
10-6
|
1072,971
|
|
7-8
|
82,736
|
11-8
|
748,409
|
1.12 Для гидравлического расчета сети вычислить
удельные потери давления на единицу длины газопровод различных направлениях от
ГРП до самых удаленных точек - точек схода
Согласно СПиП 11-Г.13-66 давление газа на выходе
из ГРП должно быть равным 3 кПа, а перепад давления в наружных
распределительных газопроводах - 1,2 кПа. Перепад давления в газопроводах от
ГРП до дальних точек схода должен максимально приближаться к 1,2 кПа, но не
превышать этой величины. Удельная потеря давления определяется по формуле
, (1.23)
где Δр - удельные
потери давления на участке , Па/м;
Н - общий перепад давления, Па;i
- длина трубопровода, м
Потерю давления на тех участках,
которые при расчете попадают повторно, надо принимать по направлению с меньшим
значением Н, так как эти участки обслуживают несколько колец, являются
ответственными и должны выполняться из труб большего диаметра. При определении
удельных потерь давления на последующих направлениях из общего располагаемого
перепада давления необходимо вычесть давления на участках, вошедших в одно из
предыдущих направлений, т. е. для таких участков удельные потери давления
(1.24)
где Н - общий перепад давления (1,2
кПа);
ΣН - сумма потерь давления на
участках, рассчитанных по предыдущим направлениям;
Σl - сумма длин участков
рассчитываемого направления;
Σli - сумма
длин участков, рассчитанных по предыдущим направлениям.
Δр11-2-1=

Результаты вычислений удельных
потерь давления на участках газовой сети записать в виде таблицы.
Таблица
7
Удельные потери
давления на участках газовой сети
|
Участок
|
Удельные потери давления, Па/м
|
Участок
|
Удельные потери давления, Па/м
|
|
1-2
|
2,03
|
8-9
|
0,85
|
|
2-3
|
0,07
|
9-1
|
0,85
|
|
3-4
|
1,08
|
11-2
|
2,03
|
|
4-5
|
1,28
|
3-10
|
1,08
|
|
5-6
|
1,28
|
10-11
|
1,08
|
|
6-7
|
0,64
|
10-6
|
|
7-8
|
10,83
|
11-8
|
0,85
|
1.13 По величинам удельных потерь напора и
расчетных расходов на участках по номограмме 1 приложения определить
предварительные диаметры участков газопроводной сети
По определенным диаметрам газопроводов на
участках по той же номограмме определить соответствующие им действительные
удельные потери давления на длину участков, определить действительные линейные
потери на трение на каждом участке в целом. К определенным линейным потерям
давления на трение прибавить потери давления в местных сопротивлениях, принимая
величину их равной 10% от линейных потерь на трение. Суммируя потери давления
на участках полуколец, следит, чтобы «невязка» между суммарными потерями
давления в полукольцах не превышала 10% от наименьших потерь давления в
полукольце. При «невязке» потерь давления более 10% необходимо внести
коррективы в ранее принятые расчеты и сделать увязку сети. Эта увязка может
быть достигнута либо за счет переброски так называемых поправочных расходов с
одного полукольца на другое, либо за счет изменения первоначально принятых
диаметров на одном или нескольких участках полукольца.
Если участки полукольца, для которых изменены
расходы или диаметры, являются общими и для смежных колец, то надо пересчитать
все кольца. После пересчета суммы приходов и расходов газа в каждом узле должна
быть равна нулю. Метод изменения диаметров участков газопроводов более
обеспечивает ранее принятые желаемые распределения потоков газа, и поэтому
следует воспользоваться им. Дальнейшие расчеты удобнее вести в табличной форме.
Составлением таблицы и внесением в нее результатов расчетов увязка сети будет
закончена и будут определены расчетом диаметры участков газопроводов. Их
следует нанести на расчетную схему (рисунок 3).
Таблица
8
Гидравлический расчет кольцевой сети
низкого давления
|
Кольцо
|
Участок
|
Длина
участка l, м
|
Расход
газа, Vp, м3/ч
|
Удельная
потеря давления Δр, кПа/м
|
Диаметр
участка dн×s, мм
|
Потери
давления
|
|
|
|
|
|
|
удельная
действительная Δр, кПа/м
|
на
участке Δрl, кПа
|
|
1
|
1-9
|
820
|
427,446
|
0,00085
|
219x6
|
0.00050
|
0.410
|
|
9-8
|
325
|
169,415
|
0,00085
|
159x4
|
0.00047
|
0.153
|
|
8-11
|
265
|
748,409
|
0,00085
|
273x7
|
0.00050
|
0.133
|
|
11-2
|
265
|
2877,573
|
0,00203
|
325x8
|
0.00160
|
0.424
|
|
2-1
|
325
|
169,414
|
0,00203
|
133x4
|
0.00120
|
0.390
|
|
2
|
2-11
|
265
|
2877,573
|
0,00203
|
325x8
|
0.00160
|
0.424
|
|
11-10
|
325
|
2373,646
|
0,00108
|
325x8
|
0.00140
|
0.455
|
|
10-3
|
240
|
305,302
|
0,00108
|
219x6
|
0.00030
|
0.072
|
|
3-2
|
540
|
1719,337
|
0,00007
|
426x9
|
0.00022
|
0.119
|
|
3
|
3-10
|
240
|
305,302
|
0,00108
|
219x6
|
0.00030
|
0.072
|
|
10-6
|
340
|
1077,315
|
0,00128
|
273x7
|
0.00100
|
0.340
|
|
6-5
|
120
|
225,671
|
0,00128
|
159x4
|
0.00080
|
0.096
|
|
5-4
|
205
|
87,288
|
0,00128
|
108x4
|
0.00095
|
0.195
|
|
4-3
|
580
|
546,168
|
0,00108
|
219x6
|
0.00080
|
0.464
|
|
4
|
11-8
|
265
|
748,409
|
0,00085
|
273x7
|
0.00050
|
0.133
|
|
8-7
|
90
|
82,739
|
0,01083
|
70x3
|
0.00090
|
0.810
|
|
7-6
|
650
|
259,912
|
0,00064
|
219x6
|
0.00022
|
0.144
|
|
6-10
|
340
|
1077,315
|
0,00128
|
273x7
|
0.00100
|
0.340
|
|
10-11
|
325
|
2373,646
|
0,00108
|
325x8
|
000140
|
0.455
|
.14 Провести расчет сети среднего давления по
исходным данным, приведенным на рисунке 4. Недостающими данными необходимо
задаться.
При выборе регулятора давления следует
учитывать, что режим его работы зависит от перепада давления в дроссельном
органе. При малых перепадах происходит докритическое истечение газа, а при
определенном перепаде наступает критическое, когда скорость газа равна скорости
звука в газовой среде. Это критическое отношение давления определяется
зависимостью
,(1.25)
где К=ср/сv -
показатель адиабаты.
Для природных газов К=1,3, т. е. βкр≈0,5.
Таким образом, регулятор будет работать: в докритическом режиме, когда р2/р1≥0,5
(или р2/р1≤2); в критическом режиме, когда р2/р1<0,5
(или р2/р1>2).
В нашем случае. Для обеспечения
устойчивой работы регулятора давления в докритическом режиме согласно
зависимости принимаем отношение рвых/рвх=0,6. Тогда
абсолютное давление перед регулятором рвх= рвых/0,6=0,15/0,6=0,25
МПа. С учетом возможных колебаний давления в сети и наличия потерь давления в
арматуре до регулятора принимаем давление газа на входе в ГРП завода, а,
следовательно, в конце нашей сети р3=0,3 МПа.
Для учета потерь давления в местных
сопротивлениях сети необходимо увеличить фактическую длину ее участков на 10%.
Величина средней квадратической разности абсолютных давлений для всей сети
определяется по зависимости
,(1.26)
где р1 - давление на
выходе из ГРС, МПа;
р3 - давление в конце
сети, МПа;р - расчетная длина газопровода, км.
По номограмме 2 (приложение) найти
диаметр газопровода на участке сети ГРС - ГРП населенного пункта по величине
средней квадратической разности абсолютных давлений и расчетному расходу газа
на участке.
По номограмме 3 (приложение) найти
диаметр газопровода на участке сети ГРП населенного пункта - ГРП завода.
Например. Принимаем расчетную длину
газопровода ГРС - ГРП завода
.
Величина средней квадратической
разности абсолютных давлений для всей сети
.
По номограмме 2 находим, что
найденному значению аср=0.042 и расчетному расходу газа на участке
сети ГРС - ГРП населенного пункта Vр=7723.284 м3/ч
соответствуют диаметры газопровода Dу=80 мм. Принимаем газопровод Dу=500
мм. Для которого при данном расходе газа величина аср=0,025.
Соответствующее выбранному диаметру абсолютное давление газа перед ГРП
населенного пункта р2 определится из соотношения
(0,382-р22)/(1,1×0,79)=0,35,
откуда
МПа.
Для участка сети ГПР населенного
пункта - ГРП завода
.
По номограмме 3 при аср2=0.074
и Vр=7181.82 м3/ч диаметр второго участка сети принимаем
равным Dу=400 мм.
газоснабжение населенный
внутридомовой газопровод
2.
Подбор
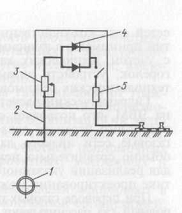
оборудования для газорегуляторного пункта
Газорегуляторные
пункты и установки. ГРП (ГРУ)
предназначены для снижения давления газа и поддержания его на заданном уровне
при газоснабжении жилых и общественных зданий, сельскохозяйственных и
коммунально-бытовых предприятий.
В зависимости от
назначения и технической целесообразности ГРП размещают в отдельно стоящих
зданиях, в пристройках к зданиям, в шкафах. Устройство ГРП в подвальных и
полуподвальных помещениях зданий, в пристройках к зданиям школ, больниц,
детских учреждений, жилых домов, зрелищных и административных зданий не
разрешается.
Кроме снижения
давления в ГРП осуществляется очистка газа от механических примесей, контроль
входного и выходного давлений и температуры газа, прекращение подачи газа в
случае выхода за допустимые пределы давления в контролируемой точке
газопровода, измерение расхода газа.
В соответствии с
назначением в ГРП (ГРУ) размещают следующее оборудование:
регулятор давления,
автоматически понижающий давление и поддерживающий его в контролируемой точке
на заданном уровне;
предохранительный
запорный клапан, автоматически прекращающий подачу газа при повышении или
понижении его давления сверх заданных пределов (устанавливают перед регулятором
по ходу движения газа);
предохранительное
сбросное устройство, сбрасывающее излишки газа из газопровода за регулятором в
атмосферу, чтобы давление газа в контролируемой точке не превысило заданного.
Подключается к выходному газопроводу, а при наличии расходомера (счетчика) - за
ним (перед сбросным устанавливают запорное устройство);
фильтр для очистки
газа от механических примесей. Устанавливают перед предохранительным запорным
клапаном;
обводной газопровод
(байпас) с последовательно расположенными двумя запорными устройствами (по
байпасу подают газ во время ревизии и ремонта оборудования линии редуцирования,
его диаметр принимают не меньше, чем диаметр седла клапана регулятора).
Для ГРП с входным
давлением более 0,6 МПа и пропускной способностью более 5000 м3/ч
вместо байпаса устанавливают дополнительно резервную линию регулирования.
Средствами
измерений в ГРП проверяют: давление газа перед регулятором и за ним (манометры
показывающие и самопишущие); перепады давления на фильтре (дифманометры или
технические манометры); температуру газа (термометры показывающие и
самопишущие).
Импульсные трубки
служат для соединения с регулятором, запорным и сбросным клапанами и
подключения средств измерения.
Сбросные и
продувочные трубопроводы используют для сбрасывания в атмосферу газа от
сбросного устройства и при продувке газопроводов и
оборудования.
Продувочные трубопроводы размещают на входном газопроводе после первого
отключающего устройства; на байпасе между двумя запорными устройствами; на
участке газопровода с оборудованием, отключаемым для осмотров и ремонта.
Условный диаметр продувочного и сбросного трубопроводов принимают не менее 20
мм. Продувочные и сбросные трубопроводы выводят наружу в места, обеспечивающие
безопасное рассеивание газа, но не менее чем на 1 м выше карниза здания.
Запорные устройства
должны обеспечить возможность отключения ГРП (ГРУ), а также оборудования и
средств измерения без прекращения подачи газа.
По числу линий
регулирования оборудование ГРП (ГРУ) условно подразделяют на две группы: с
одной линией регулирования и одним регулятором давления (одноступенчатое
регулирование) либо с двумя последовательно расположенными регуляторами
давления (двухступенчатое регулирование); с двумя параллельно расположенными
линиями регулирования и одним регулятором давления на каждой линии. Во второй
группе предусматривают подачу газа одному потребителю, или одной группе
потребителей (при этом одна линия регулирования резервная), либо подача газа
двум потребителям, или двум группам потребителей с разными выходными значениями
давления.
Одноступенчатые
схемы обычно применяют при разности между входным и выходным давлением до 0,6
МПа.
Схема компоновки
оборудования ГРП (ГРУ) показана на рисунке 17.
Мосгазниипроект
разработал типовые проекты ГРП вместо типовых проектных решений. Компоновка
газового оборудования в этих проектах выполнена в виде отдельных блоков
заводского изготовления.
Минимальные
расстояния (в свету) от отдельно стоящих ГРП до зданий и сооружений
регламентируются требованиями СНиП 2.04.08-87.
В сельских населенных
пунктах целесообразно использование шкафных ГРП, что позволяет отказаться от
строительства специальных зданий для ГРП и, следовательно, резко снизить объем
строительно-монтажных работ.
Промышленная сборка
и испытание шкафных ГРП на прочность, герметичность и работоспособность на
заводских стендах обеспечивают их надежную работу в условиях эксплуатации.
Применяют их при максимальных (до 2000 м3/ч) расходах газа.
В зависимости от
местных климатических условий и влажности газа шкафные ГРП имеют теплоизолирующее
покрытие или устройство для обогрева. В эксплуатации находятся более 20 типов и
типоразмеров шкафных ГРП. Схемы оборудования шкафного ГРП можно подразделить на
две группы. В одну из них входят ГРП, состоящие из двух одинаковых
технологических линий, одна из которых рабочая, вторая - резервная (ШП-2, ШП-3,
ГСГО-0), в другую группу - все остальные шкафные ГРП, имеющие одну
технологическую нитку и обводной газопровод (байпас). Учитывая особенности
эксплуатации газового оборудования в условиях сельской местности, для
отребителей, не допускающих перерыва в подаче газа, например бытовых,
рекомендуется применять шкафные ГРП первой группы.
Технологические и
конструктивные характеристики ГРП (ГРУ) приведены в специальной литературе.
Для газоснабжения
населенных пунктов сельской местности в основном достаточно одного ГРП в
отдельно стоящем здании или одного - трех шкафных ГРП.
Выбор шкафных ГРП
для конкретного объекта с учетом особенностей эксплуатации подробно изложен в
специальной литературе.
При проектировании
газоснабжения жилых и общественных зданий, коммунально-бытовых объектов от
газопроводов среднего давления допускается вместо ГРП предусматривать домовые
регуляторы газа.
Применение систем
газоснабжения среднего давления позволяет значительно снизить металлоемкость
газовых сетей (до 30...40 %), создать наиболее благоприятные условия для
сжигания газа (при стабильном давлении) и, следовательно, повысить КПД
используемых приборов, улучшить санитарно-гигиенические условия
газифицированных помещений.
Управляют режимом
работы в системе газоснабжения с помощью регуляторов давления, которые являются
основными узлами газорегуляторных пунктов (ГРП) и газорегуляторных установок
(ГРУ), предназначенными для снижения и автоматического поддержания заданного
(требуемого) давления газа перед потребителем, независимо от интенсивности
расхода и начального давления газа. Под автоматическим регулированием понимают
дросселирование потока газа, которое происходит без вмешательства человека и
поддерживается на заданном уровне. При этом давление снижается независимо от
отбора газа потребителем.
Регулирование
давления газа осуществляют путем автоматического изменения степени открытия
дросселирующего узла регулятора, вследствие чего автоматически изменяется
гидравлическое сопротивление потока газа. При увеличении гидравлического
сопротивления перепад давления на дросселирующем узле возрастает и давление за
регулятором снижается; при уменьшении же гидравлического сопротивления перепад
давления уменьшается, а давление за регулятором возрастает.
Регулятор давления
настроен на заданное давление в системе регулирования, определяет его в данный
момент времени, сравнивает заданное давление с имеющимся в данный момент и при
разности значений выдает управляющую команду, направленную на уменьшение этой
разницы, поддерживая при этом после себя требуемое давление. Работая в
автоматическом режиме, он позволяет автоматизировать производственные операции,
обеспечить безаварийную работу потребителя и повысить общую производственную
культуру.
В сельских системах
газоснабжения наибольшее применение нашли регуляторы прямого действия, такие
как РД-32М, РД-50М, РДУК2 и домовые.
Подобрать оборудование и
контрольно-измерительные приборы для сетевого газорегуляторного пункта
производительностью Vр=930
м3/ч (при нормальных условиях) и избыточном давлении на входе р1=
0,31
МПа. Давление на выходе р2=0,28 МПа (исходные данные принимаются по
предварительным расчетам, проведенным в 1 части).
.1 Подбираем
регулятор типа РДУК-2 по формуле
,(2.1)
где V0 - производительность
газорегуляторного пункта, м3/ч;
kv -
коэффициент пропускной способности регулятора, (приложение, таблица 4);
ε - коэффициент,
учитывающий изменение плотности газа при движении через дроссельный орган,
(приложение, рисунок 5);
Δр - перепад
давлений на регуляторе;
р1 - давление на
входе в регулятор, МПа;
ρ0 -
плотность газа, кг/м3;
Т1 - температура
газа при нормальных условиях, Т1=273 К;
z1 -
коэффициент, учитывающий входное давлении, z1=1
(р<1,2 МПа).
В нашем случае
Коэффициент ε определяем
по рисунку 5 (приложение) для k=1,3 и р2/р1=0,9,
ε=0,93.
Коэффициент z=1,
так как входное давление газа невысокое (менее 1,2 МПа). Т1=273 К.
Из таблицы 4 (приложение)
следует, что для регулятора РДУК-2-200/105 kv=200.
Принимаем этот регулятор.
Определяем запас его
пропускной способности V, м3/ч
.2
Установить фильтр. Рассчитать в нем потерю давления по формуле
,(2.2)
где параметры с индексом Т
относятся к табличным данным (таблица 5 приложения)
Установим волосяной фильтр ФГ80-300-6,
D=300
мм. Рассчитаем потерю давления в нем
, кПа. При
пропускной способности 80000
м3/ч, ρ=0,77
кг/м3;
Δр=5
кПа.
,
Определить скорость движения
газа в линии редуцирования W, м/с:
до регулятора давления, после него, в газопроводе после регулятора давления по
формуле
,(2.3)
где F -
площадь сечения, м;
V -
производительность газорегуляторного пункта, м3/ч;
р - давление на входе или
выходе, МПа;
р0 - атмосферное
давление, МПа.
а) до регулятора давления (D=500
мм)
,
б) после регулятора давления
(D=400
мм)
Полученные скорости
допустимы.
Определить потери давления в
кранах, местных сопротивлениях и предохранительно-запорных клапанах линии регулирования.
Таблица
9
Значения местных сопротивлений
|
Местное сопротивление
|
До регулятора
|
После регулятора
|
|
Кран (ζ=0.2)
|
2
|
1
|
|
ПЗК (ζ=1.0)
|
1
|
-
|
|
Переход на диаметр 400
мм (ζ=0,35)
|
-
|
1
|
|
Итого
|
3
|
2
|
2.3 Гидравлические
потери определяются по формуле
, Па; (2.4)
где Σζ - сумма
местных сопротивлений;
W -
скорость движения газа, м/с;
ρ - плотность
газа, кг/м3;
р - давление на входе или
выходе, МПа;
р0 - атмосферное
давление, МПа.
В нашем случае гидравлические
потери
, кПа
составят:
а) до регулятора давления
;
а) после регулятора давления
Суммарные потери давления в
линии редуцирования будут равны:
ΔрΣ=35+60 =0,095
кПа.
Эта величина допустима
.4 Защита от коррозии
От коррозии
блуждающими токами металлические сооружения защищают электрическими дренажами,
установками катодной защиты, протекторами и токоотводами.
Электрический
дренаж - это организованный отвод блуждающих токов от защищаемого газопровода к
их источнику. Различают три вида электрического дренажа: прямой, поляризованный
и усиленный. Каждый из дренажей устанавливают в линии соединения газопроводов с
отрицательной шиной тяговой подстанции или с рельсами электрифицированного
транспорта.
Прямой (простой)
электродренаж имеет двустороннюю проводимость, поэтому используется лишь на
участках с устойчивым анодным потенциалом, как правило, вблизи тяговых
подстанций.
Поляризованный и
усиленный электродренажи имеют одностороннюю проводи мость от газопровода к
источнику тока, а поэтому их можно подключать к рельсам электрифицированного
транспорта. Одна дренажная установка способна защитить до 56 км газопровода.
3.
Внутридомовое газоснабжение
Газификацию жилых домов
осуществляют, как правило, одновременно со строительством распределительных
уличных газопроводов и выполняет ее строящая организация.
Проекты газификации
могут выполнять проектные институты, проектные группы строительно-монтажных и
эксплуатационных организаций, кооперативы и другие организации, имеющие право
на проектные работы по газификации.
Прием и оформление
документов на газификацию от граждан, имеющих дома на правах личной
собственности, уполномоченных кооперативов-заказчиков и других организаций (в
дальнейшем «заказчик»), решающих вопросы газификации домов, как правило,
осуществляют комиссии с участием полномочных представителей газового хозяйства,
проектных, монтажных и других строительных организаций.
Договоры на
оказание услуг по газификации оформляют в двух экземплярах между заказчиком и
монтажной организацией, а также между заказчиком и организацией, выполняющей
общестроительные и санитарно-технические работы. Основанием для заключения
договора служит утвержденный план газификации жилых домов.
Пооперационную
приемку выполненных работ по газификации домов осуществляют предприятия
газового хозяйства. Объекты в эксплуатацию сдает инженерно-технический работник
монтажной организации заказчику, представителю газового хозяйства и при
необходимости представителю газотехнической инспекции. Монтажная организация
вызывает участников комиссии не позднее чем за 3...5 суток до начала приемки.
Присоединение
(врезка) вводов к домам производят работники газовых хозяйств. В сельской
местности и поселках городского типа к выполнению таких работ допускают
газоэлектросварщиков строительно-монтажных организаций под руководством
инженерно-технических работников газовых хозяйств.
При переводе жилых
домов, ранее газифицированных от баллонов СУГ, на централизованное
газоснабжение во избежание несчастных случаев врезают газопровод и пускают газ
к газовым приборам только после сдачи баллонов Управлению по эксплуатации
газового хозяйства (УЭГХ) или их дегазации работниками газового хозяйства.
После выполнения
всех работ по газификации жилого дома, оплаты счета вся внутренняя газовая
разводка, газовые приборы и дворовой ввод переходят в собственность владельца
дома. К одному жилому дому, независимо от числа собственников, прокладывают только
один дворовой ввод, обеспечивающий нормальную работу всех установленных в доме
использующих газ приборов.
По окончании строительства и ввода в
действие распределительные газовые сети и сооружения на них, построенные за
счет средств населения, принимают
на баланс и в эксплуатацию организации газового хозяйства.
Организация газового хозяйства
обеспечивает надлежащую эксплуатацию и ремонт газовых сетей и сооружений на
них, оперативную ликвидацию аварий.
К внутренним
устройствам систем газоснабжения относятся газопроводы и газовое оборудование,
размещаемое внутри зданий и сооружений. Бытовые газовые приборы рассчитаны на
использование природного (ГОСТ 5542-87) и сжиженного углеводородного газа (ГОСТ
20448-80).
Давление газа перед
бытовыми приборами принимают в соответствии с паспортными данными приборов, но
не более указанного для жилых домов.
Соединение труб
необходимо, как правило, предусматривать на сварке. Разъемные (резьбовые и
фланцевые) соединения допускаются только в местах установки запорной арматуры
газовых приборов, в местах, доступных для осмотра и ремонта.
Газопроводы в жилых
домах следует прокладывать по нежилым помещениям. В построенных и
реконструируемых жилых домах допускается транзитная прокладка газопроводов
низкого давления через жилые комнаты при отсутствии возможности другой
прокладки в другом месте. В пределах жилых помещений они не должны иметь
резьбовых соединений и арматуры. Не допускается прокладка стояков газопроводов
в жилых комнатах и санитарных узлах.
Отключающие
устройства на газопроводах, прокладываемых в жилых и общественных зданиях,
устанавливают: для отключения стояков, обслуживающих более пяти этажей; перед
счетчиками; перед каждым газовым прибором, печью или установкой; на
ответвлениях к отопительным печам или приборам. На подводящих газопроводах к
газовым приборам, у которых отключающее устройство перед горелками
предусмотрено в их конструкции (газовые плиты, водонагреватели, печные горелки
и др.), устанавливают одно отключающее устройство.
Основные требования
к устройству внутренних газопроводов регламентированы СНиП 2.04.08-87.
Газовые приборы и
газогорелочные устройства присоединяют, как правило, к газопроводам жестко.
Газовые приборы, лабораторные горелки присоединяют к газопроводу за отключающим
устройством (краном) резинотканевыми рукавами, которые не должны иметь стыковых
соединений.
Разрабатывая проект внутридомового
газопровода, необходимо выбрать типы газовых приборов, разместить их в
помещениях в соответствии с нормами, составить схему газовой сети и провести ее
гидравлический расчет. Подбор и установку газовых приборов выполняют исходя из
количества жилых комнат, объема кухни, наличия ванной комнаты, дымоходов и
вытяжных каналов из помещений, в которых предполагается установка приборов.
Диаметры участков сети выбирают из расчета обеспечения подачи необходимых
(расчетных) количеств газа при допустимых потерях давления, которые по нормам
СНиП для дворовых и внутренних газопроводов принимают в
пределах
400-600
Па. Следует учесть, что потери давления в местных сопротивлениях
значительны, поэтому необходим их точный учет.
Расчетные расходы газа на каждом из
участков газовой сети определяются по сумме номинальных расходов газа всеми
приборами, снабжаемыми через данный участок, с учетом коэффициента
одновременности их действия, значения которого согласно СНиП 2-Г.11-66
приведены в таблице 7
приложения. Коэффициент одновременности - это отношение действительного расхода
газа группой приборов в часы максимального потребления к суммарному
номинальному расходу газа этими приборами. Таким образом, коэффициент
одновременности показывает, какую долю от суммарного номинального расхода газа
всеми приборами должен составить расчетный расход газа.
При нормальных условиях расчетный
расход газа Vp,
м3/ч,
(3.1)
где k0 -
коэффициент одновременности для отопительных приборов или группы приборов;
q -
номинальный расход газа прибором или группой приборов, м3/ч;
n -
количество отопительных приборов или групп приборов.
Составляется план дома с
нанесением всех потребителей газа и газопроводов. На основании этого плана
вычерчивается аксонометрическая схему газопроводов.
Гидравлический расчет
газопроводов необходимо начинать с наиболее удаленной от распределительного
(уличного) газопровода точки.
Принимаются диаметры
газопроводов на каждом участке. Из опыта проектирования целесообразно принять d = 20
мм.
По номограмме 4 определяется
эквивалентная длина трубопровода lэкв,
соответствующая коэффициенту местных потерь ζ = 1.
Определяются коэффициенты
местных сопротивлений ζ в зависимости от местных
сопротивлений, присутствующих на участке и определяется их сумма Σ
ζ.
Дополнительная условная длина
участка lдоп, м,
будет равна
lдоп
= lэквΣ
ζ .
(3.2)
Определяем приведенную (расчетную)
длину lприв,м,
участка, по формуле
lприв
= lуч
+ lдоп
, (3.3)
где lуч
- длина участка, м.
Затем определяется удельная потеря
давления Δр,
Па/м, по номограмме 3, соответствующая принятому диаметру участка d
и расходу газа Vр
на участке.
Суммарные потери давления
на участке ΣΔр,
Па, на участке газопроводной сети определятся из выражения
ΣΔр
= Δр
·
lприв
(3.4)
Затем производится расчет для
следующего участка газопроводной сети. Расчет удобнее всего вести в табличной
форме.
В зданиях с числом этажей более 10 величина
расчетного перепада давления Δрr
должна приниматься с учетом гидростатического напора, возникающего в
газопроводах низкого давления из-за разности плотностей газа и воздуха и
определяется по формуле
,(3.5)
где z
- разность геометрических отметок газопровода, м;
ρв
и ρг
- плотность воздуха и газа, кг/м3.
Знак «+» относится к более, знак «-»
- к менее высоким отметкам местности по отношению к исходной плоскости.
В том случае, когда количество
этажей в здании меньше десяти поправка на гидростатический напор не делается
Полученные величины суммарных потерь
давления на всех участках складываем, прибавляем к ним потери давления в
арматуре и трубах плиты и водонагревателя, полагая их соответственно равными 50
и 100 Па. Если же она получилась завышенной или чрезмерно заниженной, то на
отдельных участках сети надо изменить неудачно выбранные диаметры газопроводов
и сделать перерасчет.
.1 Расчет газопроводов
жилых и общественных зданий
Рассчитать систему газоснабжения 3
этажного жилого дома природным газом. Плотность газа ρ
= 0,772
кг/м3, кинетическая вязкость ν= 14,1·106
м2/сек, теплота сгорания Qн
= 37404,9
кДж/м3. План секции дома, примыкающей к лестничной клетке, представлен
на рисунке 5. Точка 8
подключения абонентского ответвления находится в 4,5
м от здания. Объем кухонь дома 16
м2.
В соответствии с нормами СНиП
бытовые газовые плиты разрешается устанавливать в кухнях высотой не менее 2,2
м, имеющих вентиляционный канал и окно с форточкой (фрамугой) или открывающейся
створкой. Объем кухни должен быть не менее 15 при установке четырехконфорочной,
12 - трехконфорочной и 8 м3 - двухконфорочной плиты. Газовые
водонагреватели, емкостные и проточные, с отводом продуктов сгорания в дымоход
могут устанавливаться в ванных комнатах, совмещенных санитарных узлах и кухнях,
имеющих вентиляционные каналы. Водонагреватели с многоточечным разбором воды
размещают преимущественно на кухнях. В этом случае дополнительного объема кухни
сверх необходимого для установки газовых плит не требуется.
Рисунок 1 -
План секции дома с указанием газопроводов и газовых приборов (1 этаж)