Разработка конструкции пароварки
МИНИСТЕРСТВО ОБРАЗОВАНИЯ И НАУКИ
РОССИЙСКОЙ ФЕДЕРАЦИИ
Федеральное
государственное бюджетное образовательное учреждение высшего профессионального
образования
"Восточно-Сибирский
государственный технологический университет"
Факультет сервиса,
технологии и дизайна
Кафедра Машины и аппараты
легкой промышленности
КУРСОВОЙ ПРОЕКТ
на тему: РАЗРАБОТКА
КОНСТРУКЦИИ ПАРОВАРКИ
Исполнитель: студент очной формы обучения группы
1119
Топорова Мария Викторовна
Руководитель работы Хозонхонова Д.Д.
Улан-Удэ 2012
Содержание
Введение
История пароварки
Корпус и емкости пароварки
Подбор электрического нагревательного элемента для пароварки
Электрическая схема пароварки
Правила безопасности
Заключение
Список используемой литературы
Введение
Техника (от греч. techne - искусство, ремесло, мастерство),
совокупность средств человеческой деятельности, создаваемых для осуществления
процессов производства и обслуживания непроизводственных потребностей общества.
Термин "техника" часто употребляется также для совокупной
характеристики навыком и приемов, используемых в какой-либо сфере деятельности
человека. В технике материализованы знания и опыт, накопленные в процессе
развития общества. Средства техники применяются при создании материальных и
культурных ценностей; для получения, передачи и преобразования энергии;
исследовании природы и общества; сбора, хранения, обработки и передачи
информации; управления производственными процессами; создания материалов с
заранее заданными свойствами; передвижения и связи; бытового и культурного
обслуживания; обеспечения обороноспособности. Современная техника
характеризуется высокими темпами ее модернизации и автоматизации. Достижения
современной техники базируются на фундаментальных научных открытиях и
исследованиях. Принципы действия многих современных бытовых приборов известны с
достаточно давних времен.
В данной курсовой работе мы будем непосредственно
рассматривать пароварку. Рассмотрим конструкцию пароварки, рассчитаем
нагревательный элемент и спроектируем пароварку. Многие люди едят только пищу,
приготовленную на пару, считая, что это позволяет сохранить здоровье и получить
максимум полезных веществ из продуктов.
История
пароварки
Первые упоминания о приготовлении пищи на пару исходят из
Китая. Еще китайские культуры эпохи неолита использовали специальную глиняную
посуду для приготовления пищи на пару. Позже готовить на пару научились и в
Европе. В основном пароварки использовались для приготовления блюд из риса, и
до сих пор во многих азиатских кухнях пароварки занимают одно из главных мест.
Со временем менялись формы, размеры, материалы, из которых
готовились пароварки. В древности это были в основном глиняные изделия,
несколько веков назад появились металлические пароварки, а в настоящее время
выпускаются пароварки из пластика, работающие на электричестве и представляющие
собой отдельные кухонные приборы.
В настоящее время пароварки активно используются по всему
миру для приготовления блюд из риса, теста, овощных блюд и многих других.
Многие люди едят только пищу, приготовленную на пару, считая, что это позволяет
сохранить здоровье и получить максимум полезных веществ из продуктов.
Виды пароварок:
Пароварки в настоящее время представлены как промышленными
моделями, так и самодельными образцами. Самодельные пароварки, как правило,
делают из глины или металла. Промышленные пароварки бывают следующих типов:
· Пароварки-кастрюли. Такие
пароварки обычно сделаны из металла (чаще всего алюминия), по внешнему виду
напоминают крупную кастрюлю и имеют один или несколько специальных металлических
ярусов, на которых и готовится пища. В нижней части такие пароварки имеют
емкость, куда заливается вода. Готовить в пароварке-кастрюле можно на любых
плитах. Часто ярусы такой пароварки смазывают жиром или маслом, чтобы пища не
прилипала к ним во время приготовления.
конструкция пароварка нагревательный элемент
· Электрические пароварки.
Такие пароварки в настоящее время становятся все более популярными.
Электрическая пароварка часто имеет большой набор функций, например, таймер и
возможность выставить любую температуру. Чаще всего они делаются из
жаропрочного пластика, имеют несколько ярусов и емкость для воды. Многие
электрические пароварки имеют также дополнительную чашу для приготовления риса.
Мощность таких пароварок, выпускаемых для домашнего использования, составляет
от 300 до 2000 Ватт, а емкость - от 2 до 20 литров.
Корпус и
емкости пароварки
Чаши пароварки бывают различной формы: круглой или овальной.
Выбирайте наиболее подходящий для вас вариант из расчета габаритов и форм тех
продуктов которые вы будете готовить. Так же следует учесть место, которое
будет занимать пароварка на кухне. Лучше выбирать емкости которые аккуратно
складываются друг в друга по принципу стаканчика.
Прозрачные емкости предпочтительнее, так как дают возможность
следить за процессом приготовления. В основном такие чаши выполнены из
жаропрочного пластика. Хорошо, если емкости будут выполнены из стекла, в этом
случае опасности выделения из пластика токсинов полностью исключены. Однако,
стеклянные чаши - большая редкость на рынке.
Металлические чаши лучше удерживают тепло. Нержавеющая сталь
может пригодиться тем кто собирается готовить блюда из мяса и рыбы, во всех
остальных случаях смысла переплачивать нет.
Лоток для сбора парового конденсата должен иметь глубину не
меньше 1.5 см, лучше 2-2.5 см. Слишком мелкий лоток придется опорожнять в
процессе готовки, в противном случае сок от продуктов и конденсат будут стекать
в емкость для воды, а дальше на нагревательный элемент.
Обратите внимание на наличие важной дополнительной чаши для
приготовления злаков и супов: как правило, она называется "чаша для
риса", но готовить в ней можно множество блюд. Она отличается тем, что дно
у нее сплошное, без отверстий, поэтому в подобную чашу можно наливать любую
жидкость. При нагреве паром каши в ней быстро сварятся.
В некоторых моделях имеется особый отсек для приправ - он
предназначен для приготовления мяса и овощей с большим количеством специй,
сохраняя их особый аромат.
Максимальная потребляемая мощность (от 350 до 5100 Вт).
Большинство современных моделей имеют мощность от 600 до 2000 Вт. Чем выше
мощность, тем быстрее блюдо будет доведено до готовности (при совпадении
остальных параметров - объема паровых корзин, их конструкции и формы). В погоне
за скоростью не стоит забывать о том, что использование слишком мощных
электроприборов может быть невозможным или затруднительным в домах со слабой
электропроводкой.
Мощность прибора влияет на скорость варки продуктов. Однако
прямой зависимости нет, поскольку время, которое уйдет на приготовление пищи,
зависит и от многих других параметров (особенностей конструкции, объема паровых
корзин и пр.).
Тип управления. На рынке представлены модели с механическим и
электронным управлением. Большинство пароварок, представленных в настоящий
момент на российском рынке, имеют механический тип управления. Это значит, что
время работы прибора устанавливается с помощью круглого переключателя-таймера,
который нужно просто повернуть на соответствующее количество делений. Основное
преимущество механического типа управления заключается в том, что включить
пароварку и установить требуемое время приготовления можно очень быстро,
буквально одним движением.
Несколько реже продаются пароварки с электронным типом
управления. Такие модели имеют кнопочную панель и небольшое табло, на котором
отображаются выбранные режимы.
Реже встречаются модели с электронным типом управления,
который реализуется при помощи обычных или сенсорных кнопок. Такие модели могут
иметь дисплей, на котором отображаются выбранная программа и время, оставшееся
до ее окончания. Такие пароварки более функциональны. Нередко они позволяют
начать приготовление не сразу, а спустя установленное время. Кроме того, модели
с электронным типом управления нередко имеют и другие полезные функции,
например, термостат.
Это удобно в том случае, если вы уходите из дома на несколько
часов и хотите, чтобы еда начала готовиться не сразу, а непосредственно перед
вашим возвращением. Кроме того, такие модели обычно имеют функцию поддержания в
теплом состоянии, т.е. после того, как время приготовления истекло, они не
отключаются совсем, а переходят в режим подогрева, благодаря чему пища остается
теплой.
Пароварки оснащают механическими или электронными пультами
управления. Наиболее простой в использовании - механический пульт, он требует
только установки нужного времени работы пароварки.
Электронный пульт несколько сложнее, но содержит
дополнительные функции, такие как отсрочка старта пароварки. Кроме того, такие
модели могут держать пищу теплой после приготовления в течение определенного
времени, такая функция называется "Keep Warm".
Состав пароварки:
Современные модели пароварок состоят из следующих частей:
§ Нижняя часть пароварки:
§ Корпус с генератором пара;
§ Контейнер для чистой воды;
§ Индикатор уровня воды;
§ Панель управления;
§ Жидкокристаллический дисплей;
§ Верхняя часть пароварки:
§ Поддон для сбора конденсата;
§ Емкости пароварки;
§ Сепараторы;
§ Большая чаша для риса;
§ Крышка с отверстиями для выхода пара.
Функции пароварки:
На корпусе пароварки располагается блок управления. Он может
быть простым - механическим или более сложным и функциональным - электронным.
Электронный блок управления позволяет выбирать режимы работы пароварки,
выставлять время готовки, задавать время отсрочки и использовать другие
расширенные функции пароварки.
Долив воды во время приготовления - эта функция имеется
практически у всех современных моделей пароварок. Если долив воды не
предусмотрен, то в случае испарения всей жидкости придется останавливать
процесс готовки и доливать воду.
Отключение без воды - функция отключения прибора без воды
является защитой от перегрева пароварки в случае если она была включена без
воды или вода испарилась полностью. Наличие этой функции напрямую связано с
безопасностью эксплуатации прибора.
Режим поддержания температуры "Keep Warm" - после
окончания процесса приготовления режим "Keep Warm" позволяет
поддерживать температуру блюда в течение длительного времени, до 12 часов. Эта
функция позволит избежать преждевременного остывания пищи в случае если вы
используете автоматический режим приготовления.
Отсрочка старта - функция отсрочки старта позволяет
программировать начало работы пароварки. До начала старта пароварка будет
находиться в режиме ожидания. В сочетании с функцией "Keep Warm"
процесс полностью автоматизируется и позволяет иметь готовую горячую пищу к
определенному моменту времени.
Индикатор уровня жидкости - индикатор уровня жидкости -
показывает количество воды в резервуаре и позволяет контролировать её уровень в
процессе готовки.
Функция "Быстрый пар" - функция
"Быстрый пар" присутствует в некоторых моделях и позволяет готовить
блюдо в форсированном режиме. В этом случае пар образуется очень быстро, в
течение 30-40 секунд. Это, по заявлениям производителей, позволяет готовить
блюдо в 2 раза быстрее.
Режим "Автомат" - режимы
автоматического приготовления рецептов позволяет готовить некоторые виды
стандартных блюд в автоматическом режиме. Для этого необходимо задать продукт и
его массу, пароварка приготовит по имеющейся программе.
Принцип работы пароварки:
Достоинства пароварки:
§ Экономия времени. Пароварка позволяет готовить в
автоматическом режиме (положил, запустил, достал).
§ Пища приготовленная в пароварке полезна с точки
зрения диетологии, сохраняет больше полезных веществ, не содержит канцерогенов
и легче усваивается.
§ В пароварке можно готовить несколько видов блюд
одновременно.
§ В пароварке можно размораживать продукты.
Недостатки пароварки:
§ Вкус пищи может отличаться от привычного, иметь
пресный вкус.
§ Относительная небезопасность вследствие сильного
нагрева.
Отрицательное воздействие пара на мебель и окружающие
предметы кухни.
Фирмы изготовители:
§ Kuppersbusch
§ Siemens
§ Gaggenau
§ Miele
§ Bork
§ Supra
§ Tefal
§ Braun
§ Philips
§ Scarlett
§ Polaris
§ Moulinex
§ Electrolux
§ NEFF
§ Irit
§ Lumme
§ Binatone
§ Vitesse
Расчет нагревательного элемента
|
Таблица 1.
Удельная теплоемкость некоторых материалов в интервале температур 0÷100°C
|
|
Материал
|
Удельная
теплоемкость, кДж/ (кг·°C)
|
Материал
|
Удельная
теплоемкость, кДж/ (кг·°C)
|
|
Алюминий
|
0,91
|
Сталь
|
0,5
|
|
Латунь
|
0,38
|
Цинк
|
0,4
|
|
Медь
|
0,39
|
Вода
|
4,2
|
|
Нейзильбер
|
0,4
|
Дерево
|
0,24-0,27
|
|
Никель
|
0,45
|
Строительный
кирпич
|
0,92
|
|
Олово
|
0,23
|
Сухой песок
|
0,71-0,92
|
|
Свинец
|
0,13
|
Х/б ткань
|
0,25
|
Определим количество теплоты, необходимое для нагрева воды до
температуры кипения:
Дж
Затем определим общее количество теплоты, которое должен выделить
нагревательный элемент пароварки, с учетом потерь на нагрев:
Дж
Таблица 2. КПД электрических нагревательных приборов
|
Электрические
нагревательные приборы
|
КПД η
|
|
Электрические
печи сопротивления (для термообработки)
|
|
Кастрюли и
чайники
|
0,65-0,8
|
|
Аккумулирующие
электрические водонагреватели
|
0,85-0,95
|
|
Электроплитки
закрытого типа
|
0,6-0,8
|
|
Электронагрев
форм для прессования
|
0,5-0,7
|
|
Электроплитки
открытого типа
|
0,56
|
Вычислим время закипания воды в чайнике, используя закон
Джоуля-Ленца:
Qобщ=A=Ult
Отсюда находим время t:

мин
Мощность
P = (0,00028·k·Qобщ)
/t=0,00028*1,1*1033846,15/19,58=16263 кВт
Таблица 3. Проводниковые сплавы высокого сопротивления
|
Марка сплава
|
Максимальная
температура, t,°C
|
Удельное
сопротивление при 20°C, Ом·м
|
Лента
холоднокатаная
|
Проволока
|
|
|
|
толщина, мм
|
ширина, мм
|
холодно-
катаная
|
горяче- катаная
|
|
Х23Ю5
|
1200
|
1,30-1,40 × 10−6
|
0,2-3,2
|
6-80
|
0,3-7,5
|
6-12
|
|
Х23Ю5Т
|
1400
|
1,34-1,45 × 10−6
|
|
|
0,3-7,5
|
|
|
Х27Ю5Т
|
1350
|
1,37-1,47 × 10−6
|
|
|
0,5-5,5
|
|
|
Х15Ю5
|
1000
|
1,24-1,34 × 10−6
|
|
|
0,2-7,5
|
|
|
ХН70Ю
|
1200
|
1,25-1,35 × 10−6
|
|
|
1,0-7,0
|
|
|
Х15Н60
|
950
|
1,06-1,17 × 10−6
|
0,1-3,2
|
6-250
|
0,3-7,5
|
|
|
Х15Н60·Н
|
1125
|
1,04-1,17 × 10−6
|
|
|
0,1-7,5
|
|
|
Х20Н80·Н
|
1200
|
1,04-1,15 × 10−6
|
|
|
0,1-7,5
|
|
Диаметр нагревателя
м
Длина нагревателя
м
Омическое сопротивление проводника всегда вычисляется по формуле

Ом
Подбор
электрического нагревательного элемента для пароварки
В домашнем хозяйстве широкое применение нашли такие
нагревательные приборы как электрочайники, пароварки, электрокипятильники,
электроводонагреватели и т.д. Самой главной Частью любого нагревательного
прибора является нагревательный элемент. Их изготавливают из сплавов, имеющих
высокое удельное сопротивление. Нагревательные элементы бывают открытого,
закрытого и герметичного типа. Наиболее часто применяются трубчатые
нагревательные элементы герметичного исполнения.
Трубчатый электронагреватель (ТЭН) - электронагревательный
прибор в виде металлической трубки, заполненной теплопроводящим электрическим
изолятором. Точно по центру электрического изолятора, проходит токопроводящая
нихромовая нить определенного сопротивления для передачи необходимой удельной
мощности на поверхность ТЭН.
ТЭН используются в качестве нагревательного элемента в
бытовых электроприборах - пароварках, чайниках, кофеварках, самоварах, утюгах,
обогревателях, плитках и водонагревателях. Материал оболочки такого ТЭНа -
нержавеющая или углеродистая сталь, медь, латунь с оловянным покрытием.
Электрические нагревательные элементы, и продукция
изготовленная на основе ТЭН, необходимы для поддержания постоянной температуры
жидкостей, газов и твердых веществ, а также для их разогрева с помощью эффекта
Джоуля, конвенции, либо методом инфракрасного излучения.
Температура нагрева ТЭНа может достигатьот 50 до 750 градусов
по Цельсию, все зависит от условий. ТЭНы бывают не только различных
конфегураций (круглые, спиральные, пальчиковые), но и могут изготавливаться из
различных материалов - трубчатые и керамические.
|
Технические
характеристики пароварки
|
|
Изоляционный
материал:
|
Высокостойкий
уплотненный MgO
|
|
Напряжение:
|
12-440 B
|
|
Удельная
мощность (макс):
|
8
|
|
Допустимое
отклонение мощности:
|
±%10
|
|
Макс.
температура поверхности:
|
750ºC
|
|
Допустимое
отклонение Ø:
|
-0,02/- 0,06мм
|
|
Внешняя защита:
|
CrNi
|
|
Провод
нагревательного элемента:
|
NiCr 8020
|
Электрическая
схема пароварки
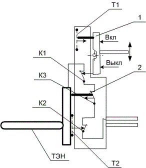
В пароварках реализована достаточно простая схема (схема 1),
основной элемент которой - тен. В основном тут применяется плоский тен, который
расположен на дне пароварки, под металлической крышкой. Сетевое напряжение
поступает в спираль, который имеет определенное сопротивление.
Спираль расположен внутри тэна. Тепловая энергия от спирали
передается к тэну, последний нагревает воду. Использование тэна объясняется
тем, что он делает пароварку безопасным, нет опасности поражения током,
поскольку сам нагревательный элемент-спираль не имеет прямого контакта с водой,
он не замкнут с тэном, поэтому ток не передается воде. В простейшем виде схема
пароварки выглядит так:
Схема 1
Схема 2
Правила
безопасности
Всегда проверяйте наличие воды в емкости пароварки перед ее
включением. Не оставляйте работающую пароварку без присмотра. Не позволяйте
детям играть с пароваркой. Проявляйте особое внимание при пользовании
пароваркой в присутствии детей. Не разбирайте пароварку во время работы, не
пытайтесь снять любую часть пароварки (кроме верхней крышки) во время ее
работы. Если возникла необходимость открыть крышку пароварки во время ее
работы, проявляйте особую осторожность, горячие струи пара могут обжечь. При
открывании пароварки всегда используйте кухонные варежки или полотенце для
защиты от пара. Не наливайте воду в емкость пароварки выше отметки MАКС. Проявляйте
осторожность при сборке пароварки. Неверная сборка может привести к утечке
пара. Никогда не погружайте основание пароварки в воду. Для чистки протрите
основание пароварки слегка влажной тканью. Всегда отключайте сетевой шнур
пароварки перед мойкой или чисткой ее частей. Пароварка предназначена для
единовременного приготовления пищи для бытового потребления. Не используйте
пароварку в коммерческих целях или для обработки большого количества продуктов.
Не используйте пароварку, если поврежден сетевой шнур или основание, а также
при любых других неисправностях. Не пытайтесь самостоятельно ремонтировать
пароварку. Основание пароварки защищено от несанкционированного вскрытия
специальными винтами под спец. инструмент. Основание пароварки не содержит никаких
частей или предохранителей, которые нуждались бы в регулировке или замене
Заключение
В нашей жизни большую роль играет бытовая техника, которая
постоянно усовершенствуется. В курсовом проекте мы рассмотрели как правильно
рассчитать нагревательный элемент электроприбора точнее для пароварки. В
современном мире мы не можем представить нашу жизнь без нагревательных
приборов, будь то пароварка, чайник, водонагреватель, плита, кофеварка и т.д.
Пароварка для человека имеет также не малозначимую роль, особенно для человека
заботящегося о своем здоровье и красоте. Всем известно что приготовление пищи
на пару не только быстро, вкусно но и очень полезно. И поэтому важно знать из
каких элементов спроектирован твой бытовой электроприбор.
Список
используемой литературы
1. Алиев
И И Справочник по электротехнике Уч. Пособие 4 изд. Ростов на Дону: 2003
2. ГОСТ
13268-88 Электронагреватели трубчатые
. ГОСТ
19108-81 Электронагреватели трубчатые для бытовых нагревательных приборов.
Общие технические условия.
. Столяров
Е.С. Схемы электрооборудования, Москва, 2009