Оптичні схеми об’єктива і окуляра
Зміст
1. Огляд оптичних схем
монокулярів: об’єктивів, призових обертаючих систем, окулярів
.1 Огляд оптичних схем
Кеплера і Галілея
1.2 Об’єктиви
1.3 Окуляри
1.3.1 Двохкомпонентні окуляри
1.3.2 Двокомпонентні
окуляри-склейки
.3.3 Трьохкомпонентні окуляри
1.4 Призмові обертаючі системи
. Габаритний розрахунок
монокуляра з вибором оптичної схеми об’єктива й окуляра
2.1 Розрахунок параметрів
об’єктива і окуляра
2.2 Розрахунок габаритів призми
2.3 Розрахунок діаметра
польової діафрагми
2.4 Вибір об’єктива
2.5 Вибір окуляра
. Розрахунок кардинальних
параметрів телескопічної системи за допомогою нульових променів
Література
Розділ
1. Огляд оптичних схем монокулярів: об’єктивів, призових обертаючих систем,
окулярів
1.1 Огляд
оптичних схем Кеплера і Галілео
Прості телескопічні системи (ТС)
складаються з двох груп лінз окуляра й об’єктива.
Розглядаючи схеми телескопічних
систем Кеплера(Рисунок 1.1) і Галілея (Рисунок 1.2) видно, що ці системи
розрізняються положенням і типом окуляра. В схемі Кеплера окуляр є позитивною
лінзою, а в Галілея - негативною.
Рисунок 1.1 Телескопічна система
схема Кеплера
Рисунок 1.2 Телескопічна система
схема Галілея
Труба Кеплера має дійсне проміжкове
зображення, яке знаходиться в задній фокальній площині об’єктива і, яке
співпадає з передньою фокальною площиною окуляра. Переваги системи Кеплера:
велике збільшення; велике поле зору; можливість використання сітки. Недоліком є
перевернуте зображення. Труби Кеплера широко використовують в астрономічних,
геодезичних та ін. дослідженнях [1].
Більш коротка довжина труби -
перевага системи Галілея. Система дає пряме зображення, має мале поле зору і
велику світлосилу. Недолік труби Галілея відсутність між об’єктивом і окуляром
дійсного зображення, яке не дозволяє використовувати сітку.
Ця труба використовується як
спостережлива. Вхідна зіниця діаметра являється уявною, знаходиться за оком
спостерігача.
1.2
Об’єктиви
Основними характеристиками
об’єктивів являються фокусна відстань f´, відносний
отвір D´ та
кутове поле 2ω. Для
телескопічних систем використовують просту конструкцію об’єктива.[2].
Найбільш поширені двох лінзові
конструкції (одна з лінз позитивна інша негативна), можуть бути склеєні і
роз’єднані.
Двохлінзові склеєні об’єктиви
(Рисунок 1.2.1) використовують двома способами: «крон попереду», «флінт
попереду». В першому випадку, позитивна лінза 1, марка скла крон, звернена до
предмету; в іншому - негативна лінза 2 із флінта звернена до предмета.
Рисунок 1.2.1 Об’єктиви - а)
«крон попереду»; б) «флінт попереду»
Кронові стекла більш стійкі до
атмосферного и механічного впливу.
Двохлінзові склеєні об’єктиви
використовують в астрономічних і в приладах перевірки якості інших оптичних
систем, при кутових полях 2ω=1÷2º
та
відносних отворах порядку 1:10.
Ці об’єктиви дають якісне зображення
(їх сферична аберація не більше 0,1-0,2% фокусної відстані), при відносних
отворах не більше 1:4 та кутових полів 2ω≤6º.
Фокусна відстань в залежності від відносного отвору не повинно перевищувати
значень:
:К 1:4 1:5 1:6 1:8 1:12
f´, мм
150 300 500 1000 1000
Якщо діаметри лінз об’єктивів
перевищують 60 - 70 мм, то лінзи не склеюють.
Двохлінзовий несклеєний об’єктив
(Рисунок 1.2.2) має декілька можливостей покращення якості зображення. Проте в
несклеєному об’єктиві втрати на відбиття більші, можливість появи паразитуючих
відблисків, важкість при збірці та центруванні.
Рисунок 1.2.2 - Двохлінзовий несклеєний
об’єктив
Трьохлінзовий об’єктив (Рисунок
1.2.3) складається з окремої лінзи та пари склеєних лінз, широко використовують
в геодезичних інструментах. Зменшує вторинний спектр, збільшуючи відносний
отвір.
Рисунок 1.2.3 - Трьохлінзовий
об’єктив
1.3
Окуляри
Окуляри телескопічних систем
призначені для розглядання зображення, що дається об’єктивом і сітки,
розташованої в площині зображення [3]. оптичний
окуляр телескопічний об’єктив
У зв’язку з тим, що з приладом можуть
працювати люди, що страждають аметропією очей (короткозорістю або
далекозорістю), для різкого бачення зображення і штрихів сітки необхідно
зміщати фокальну площину окуляра від її нормального положення. У випадку
короткозорості цей зсув буде спрямовано убік сітки, а у випадку далекозорості -
від сітки. Тому при конструюванні окулярів необхідно враховувати необхідність
переміщення окуляра для його фокусування. Зсув окуляра звичайно розраховується,
виходячи з аметропії ока ±5 або ±7 діоптрій.
Від оптичної системи окуляра
залежить розмір поля зору приладу, віддалення вихідної зіниці від останньої
поверхні, якість зображення. Найпростішим окуляром може бути одна лінза. Якість
зображення окуляра визначається: аберацією кома, дисторсією, астигматизмом і
хроматизмом збільшення. Оптичні системи окулярів бувають одно-, двох-, трьох- і
багатокомпонентними.
Однокомпонентні - окуляри, в яких
використовується одна лінза або дволінзова склейка. Через мале поле зору вони
майже не зустрічаються.
1.3.1
Двохкомпонентні окуляри
Широко застосовуються
двохкомпонентні окуляри. Найбільш простими є окуляри Рамсдена та Гюйгенса
(Рисунок 1.3.1)
а)
б)
Рисунок 1.3.1 Двокомпонентні окуляри
- а) окуляр Рамсдена; б) окуляр Гюйгенса
Компонентами вищепоказанх окулярів є
плоско-випуклі лінзи виготовлені зі скла онієї марки. Переваги окулярів: -
простота, -висока технологічність, -розмір поля зору досягає 40º.
Астигматизм,
кома, хроматизм збільшення і кривизна поля є перешкодами для збільшення поля
зору.
1.3.2
Двокомпонентні окуляри-склейки
Використовуючи двохлінзові склейки
можна зменшити вплив хроматизму збільшення, коми та інших польових аберацій.
Тому були створені складніші окуляри - симетричний, окуляр Кельнера,
отоскопічний (Рисунок 1.3.2). В ортоскопічному окулярі краще, ніж в інших,
виправлена дисторсія.
Ці окуляри дають кращу якість
зображення при куті поля зору 50º, їх
використовують в бінокулярах.
Рисунок 1.3.2 Двокомпонентні окуляри
(склейки) - а) семитричний окуляр, б) окуляр Кельнера, в)
отоскопічний
1.3.3
Трьохкомпонентні окуляри
Для збільшення кута поля зору
заважають аберації вищих порядків. При збільшенні кута нахилу променя відносно
оптичної осі на поверхнях з меншими радіусами аберації вищих порядків
проявляються ще більше. Тому з’явилися трьохкомпонентні окуляри Ефле І, ІІ роду
та широко кутовий.
Кут їхнього поля зору 50°, але
завдяки збільшенню компонентів якість зображення покращується.
Трьохкомпонентні окуляри Ефле
першого і другого роду та ширококутовий окуляр (Рисунок 1.3.3).
Рисунок 1.3.3 Трьохкомпонентні
окуляри - Окуляр Ефле: а) першого і б) другого роду; в)широко
кутовий
1.4
Призмові обертаючі системи
Введення призм в оптичну систему дає
змогу отримати заданий кут відхилення.
Призмовий монокуляр - оптичний
прилад, який представляє собою просту зорову трубу Кеплера з призмою або
системою призм для перевертання зображень, завдяки чому прилад дає пряме
зображення.
Призмові обертаючі системи
представляють собою:
· Одиночну призму,
одна з відбиваючих граней виконана у вигляді даху (АкР-90º,
Лемана
(ВкЛ-0º), Шмідта (ВкР-45º));
· Систему двох призм:
Аббе (Ак-0º), Пехана
(Пк-0º), Порро І-го
роду;
· Систему трьох
призм: Порро ІІ-го роду та інші.
Призма -
оптична деталь, що має у своєму складі заломлюючі та відбиваючі поверхні, які
утворюють між собою двогранні кути
Позначають призми двома великими
літерами і числом, яке вказує на кут відхилення осьового променя. Перша літера
- кількість відбиваючих граней:
А - одна;
Б - дві;
В - три.
Якщо біля першої літери стоїть
індекс «к», це означає, що призма з «дахом».
Друга літера - конструкція:
Р - рівнобедрена;
С - ромбічна;
П - пентапризма;
У - напівпентапризма;
Л - Лемана;
М - далекомірна.
Особлива група:
А - призма Аббе;
П - Пехана;
Б - башмачна;
К - куб-призма;
Бк - башмачна з «дахом».
Призми, які є відбиваючими
характеризуються коефіцієнтом:
= d/D
- довжина ходу осьового променя; D - діаметр
світлового пучка
Призмова обертаюча система не тільки повертає на
180º
зображення,
але й виконує заломлення або паралельне зміщення оптичної осі. Злом осі на 45º і
90º необхідний
для зручності спостереження предметів, які знаходяться в зеніті або близько до
зеніту. Таку характеристику мають призми АкР-90º та
Шмідта (Рисунок 1.4.1).

Рисунок 1.4.1 Телескопічна система з призмами - а)
АкР-90º;
б)
Шмідта
Паралельний зсув оптичної осі в призмах Лемана,
Порро І-го роду і ІІ-го роду (Рисунок 1.4.2). Використовується для розширення
міжосьової відстані між об’єктивами, якщо два монокуляра об’єднують в один
оптичний прилад - бінокль.
Рисунок 1.4.2 Телескопічна система з
призмами - а) Лемана; б) Порро І-го роду ; в) Порро ІІ-го
роду
Призми Аббе або Пехана
використовують коли необхідно мати об’єктив і окуляр на одній осі (Рисунок
1.4.3)
а)
б)
Рисунок 1.4.3 Телескопічна система з
призмами - а) Аббе; б) Пехана
Обертаючі системи сприяють
скороченню оптичної відстані в зорових трубах, за рахунок зломів.
По схемам Кельнера, Ефле та інших
виконуються окуляри, як правило, це двохлінзова склейка.
Аналіз вихідних даних, так
починається розрахунок оптичної системи монокуляра. Вихідні дані:
· Γ - кутове
(видиме) збільшення;
· 2ω - кут
поля зору в просторі предметів;
· L - осьова довжина
оптичної системи;
· D´ - діаметр
вихідної зіниці;
· t, t´ - відрізки
, що вказують положення вхідної (вихідної) зіниці;
· kω
-
допустимий коефіцієнт віньєтування крайнього похилого пучка променів;
· ψ - кутова
межа розділення на осі.
Розділ
2. Габаритний розрахунок монокуляра з вибором оптичної схеми об’єктива й
окуляра
Метою габаритного розрахунку
монокулярів є знаходження фокусних відстаней компонентів, їх діаметрів і
відстаней між ними. По результатам габаритного розрахунку виконується вибір
оптичних систем компонентів і здійснюється розрахунок конструктивних параметрів
елементів - об’єктива, призми, окуляра, сітки тощо.
Вихідними даними для розрахунку є
такі параметри:
· Видиме (кутове)
збільшення - Г=12̽ ;
· Діаметр вихідної
зіниці - D'= 3 мм.;
· Кут поля зору в
просторі предметів - 2ω=
3,2°;
· Допустима довжина
оптичної осі без урахування ПОС - L= 320мм.;
· Віддалення вихідної
зіниці - t'= 11мм.;
· Роздільна здатність
системи в просторі предметів - ψ= 5'';
· Коефіцієнт
вінєтування - kω= 0,4;
· Призма - ВкР-45°
(Шмідта).
В результаті габаритного розрахунку
визначають
:
а) f 'об, f 'ок - задні фокусні
відстані об’єктива і окуляра;
б) габарити призми;
в) відстані між об’єктивом, призмою
і окуляром;
г) діаметри вхідної зіниці
монокуляра, лінз об’єктива і окуляра, польової діафрагми.
Закінчується розрахунок вибором
об’єктива і окуляра. Після чого проводять абераційний розрахунок монокуляра, на
основі якого уточнюється конструктивні параметри всіх компонентів.
2.1
Розрахунок параметрів об’єктива і окуляра
Використовуючи систему рівнянь:
, (1)
розраховують фокусні відстані
об’єктива і окуляра (
).
Так, фокусна відстань окуляра:
(2)
Значення
округлюють
до значення найближчого із ряду: 20, 25, 30, 35, 40, 50. Після цього
розраховують
:
(3)
Визначивши
перевіряють
відповідність довжини системи L заданому в технічному завданні інтервалу L
Поле зору окуляра:
2ω'=2arctg(
(4)
Діаметр вихідної зіниці системи:
вх.зін=D'вих.зін∙
=3∙12=36(мм).
(5)
Примітка: В формулах (2)…(5)
величина Г є від’ємною, оскільки на цій стадії розрахунку дія ПОС не
враховується.
2.2
Розрахунок габаритів призми
Габарити призми визначаються найбільшим
із діаметрів світового пучка D на вихідній або вхідній гранях, який призма
повинна пропустити через себе без вінєтування. В довідникових матеріалах всі
розміри призм виражаються через D. Тому першочерговою задачею габаритного
розрахунку призм є знаходження величини D з урахуванням типу призми, її
положення в системі і геометричних параметрів світових пучків між окуляром і
об’єктивом.
Величину D зручно визначати,
використовуючи приведену розгортку відбиваючої призми (Рисунок 2.1). Приведеною
розгорткою призми називають плоско паралельну пластинку товщиною dp=
по осі, де d - осьова розгортка призми; n - показник заломлення скла призми для
основної довжини хвилі. Ця розгортка дозволяє не враховувати заломлення променів
на гранях, оскільки діаметр пучка на вихідній грані приведеної розгортки є
таким же, як і на вихідній грані реальної призми.
Щоб визначити величину D, необхідно
розглянути в меридіональній площині проходження через приведену розгортку
призми двох пучків променів. Один із них є паралельним оптичній осі і заповнює
всю вхідну зіницю системи, другий - заповнює лише частину отвору зіниці у
відповідності з допустимим коефіцієнтом віньєтування kω
і потрапляє в зіницю під кутом ω.
Як видно з рисунку 2.1, перший пучок
променів має більший діаметр на вхідній грані призми: =2∙h1.
Другий пучок в залежності від свого
нахилу і збіжності може мати більший діаметр на вхідній або на вихідній гранях.
Тому необхідно проводити розрахунок крайнього (верхнього) променя цього пучка
через обидві грані призми, тобто знайти висоти Н1 і Н2.
Величина D визначається вибором
більшого із трьох значень 2h1, 2Н1, 2Н2.
Порядок габаритного розрахунку
призми:
1.Розраховується відрізок е2.
.Розраховується h1.
.Розраховується Н1 і Н2.
.Визначається D.
.Розраховуються всі габаритні
розміри відбиваючої призми.
Рисунок 2.1 До розрахунку габариті
призми
Розрахунок відрізку е2:
Відріок е2 визначає положення призми
вздовж оптичної осі монокуляра. При виборі розташування призми, керуються
такими міркуваннями:
Чим ближче призма до
задньої фокальної площини об’єктива, тим менші габарити вона буде мати і тим
менше буде проявлятися подвоєння зображення за рахунок похибки виготовлення
прямого кута граней з дахами.
Чим ближче призма і її
вихідна грань до площини зображення, тим більше будуть помітні дефекти скла
призми і поверхні вихідної грані.
Найкращим можна вважати
таке положення призми, при якому відстань від призми до площини зображень
(фокальної площини об’єктива) в просторі зображень після окуляра відповідає
різниці збіжності в 10…20 діоптрій.
При цьому відстань е2 в [мм]
становить:
е2=
=9,375(мм),
(6)
де
=
10…20.
Розрахунок h1:
Висота h1 розраховується за
допомогою формул кутів і висот нульового променя, що проходить через систему,
задану компонентами:
(7)
де
-
кут нульового променя до і після k-го компонента,
-
висота нульового променя на головних площинах k-го і (k+1)-го компонента,
-
відстань між k-м і (k+1)-м компонентами,
-
оптична сила k-го компонента.
Враховуючи, що
висота
променя на виході в систему дорівнює m. Оскільки
d=D
де
m=
,
k=
з (7) маємо формулу:
(8)
Розрахунок
або
:
Перед розрахунком
або
необхідно
розрахувати
Якщо
то
крайній верхній промінь похилого пучка направляється вниз або є паралельним
оптичній осі. Тоді висоти цього променя
і
для визначення D достатньо розрахувати тільки
.
Якщо
то
крайній верхній промінь направляється вверх. Тоді
.
Таким чином, достатньо розрахувати тільки
Величина
розраховується
за формулами (7), у відповідності з якими:
(9)
де ω
- половина кута поля зору (підставляється в
формулу від’ємним знаком, оскільки промінь, що розглядається, рухається з низу
вверх); t - віддалення вхідної зіниці від тонкого об’єктива;
-
коефіцієнт допустимого вінєтування.
У випадку, коли вхідна зіниця
співпадає зтонким об’єктивом (t=0), маємо:
Висота
розраховується
аналогічно
Її робоча формула
має вигляд:
. (11)
Висота
розраховується
як різниця відповідних вертикальних відрізків в фокальній площині об’єктива:
Визначеня D:
Величина D визначається шляхом
вибору найбільшого із значень висот h1,
і
з
наступним помноженням вибраного значення на 2. Найбільшим з цих значень є
:
=2∙
=2∙8=16
(мм) (13)
Розрахунок габаритних розмірів
призми:
До знайденого по формулі (13)
значення D необхідно додати припуск на фаски і кріплення (до декількох мм),
округлити значення до найближчого із нормального ряду чисел (ГОСТ 6636-69).
Отримане значення D далі використовується для габаритних розрахунків призми.
Призма ВкР-45°
Шмідта (Рисунок 2.2).
Рисунок 2.2 Призма ВкР-45° Шмідта
Співвідношення розмірів:
=1,781∙D=1,781∙18=32(мм);=1,363∙D=1,363∙18=25,5(мм);=3,04∙D=3,04∙18=55(мм).
2.3
Розрахунок діаметра польової діафрагми
Промені з подвійною стрілкою
(Рисунок 2.1) повинні перетинатися на краю отвору польової діафрагми. Тому
діаметр польової діафрагми дорівнює:
2.4
Вибір об’єктива
Вибір типу об’єктива знаходиться за
значенням відносного отвору, який обчислюється за формулою:
А=
=
Дані вимоги задовольняє об’єктив
наступного типу:
Рисунок 2.3 Схема об’єктива
Вибраний об’єктив має фокусну відстань
а
розрахункове
Тому необхідно всі
радіуси, осьові відстані та кардинальні параметри помножити на коефіцієнт
масштабування:
Конструктивні параметри і
параксіальні характеристики з урахуванням коефіцієнта масштабування наведено у
таблицях 2.3 та 2.4.
Таблиця 2.4.1 Характеристики
об’єктива
|
мм
|
А
|
2ω, град.
|
мм
|
,
мм
|
|
100
|
1:8
|
3,2°
|
-99,93
|
97,64
|
Таблиця 2.4.2 Конструктивні
параметри об’єктива
|
№ поверхні
|
Радіуси кривизни(r)
|
Осьові відстані(d)
|
Матеріал компонента
|
Показник заломлення(n)
|
|
|
|
Повітря
|
1
|
|
1
|
48,78
|
|
|
|
|
|
1,25
|
ТФ1
|
1,6475
|
|
2
|
25,99
|
|
|
|
|
|
2,5
|
К8
|
1,5163
|
|
3
|
-292,65
|
|
|
|
|
|
|
Повітря
|
1
|
Таблиця 2.4.3 Характеристика
об’єктива
|
мм
|
А
|
2ω, град.
|
мм
|
,
мм
|
|
300
|
1:8
|
15°
|
-299,88
|
292,92
|
Таблиця 2.4.4 Конструктивні
параметри об’єктива
|
№ поверхні
|
Радіуси кривизни(r)
|
Осьові відстані(d)
|
Матеріал компонента
|
Показник заломлення(n)
|
|
|
|
Повітря
|
1
|
|
1
|
146,34
|
|
|
|
|
|
3,75
|
ТФ1
|
1,6475
|
|
2
|
77,97
|
|
|
|
|
|
7,5
|
К8
|
1,5163
|
|
3
|
-877,95
|
|
|
|
|
|
|
Повітря
|
1
|
Світловий діаметр об’єктива
визначається за формулою:
2.5
Вибір окуляра
Для вибору окуляра
скористаємось таблицею 2.5.1.
Відповідно до таблиці, по параметрам
2ω'=37°
та
t'/
=11/25=0,4
в найбільшій мірі відповідає окуляр Симетричний. Вибираємо цей окуляр. На
рисунку 2.4 подана схема окуляра.
Так як табличне значення заданої
фокусної відстані ʄ'' окуляра Симетричного 24,94721, округлюємо і
отримаємо 25 мм, а розрахункове значення тієї ж величини дорівнює 25 мм. По цим
значенням знаходимо коефіцієнт масштабування
=
На цей коефіцієнт множимо всі конструктивні (крім показника заломлення)
параметри та на всі параксіальні характеристики Симетричного окуляра(таблиця
2.5.2 та 2.5.3).
Рисунок 2.4 Схема окуляра
Симетричного
Таблиця 2.5.1 Параметри окулярів ЗТ
|
Тип окуляра
|
Максимальний кут поля зору 2ω,
град.
|
|
t'/
|
Примітка
|
|
Кельнера
|
50
|
0,35
|
0,4...0,7
|
Найбільш розповсюджений окуляр ЗТ.
|
|
Симетричний
|
40
|
0,75
|
0,75... 1,0
|
Добре виправлені сферична аберація, хроматичні
аберації, а також кома; велике віддалення вихідної зіниці.
|
|
З віддаленою зіницею
|
45
|
0,9... 1,25
|
Кут поля зору можна суттєво збільшити, якщо
останню лінзу зробити параболічною.
|
|
Ерфле (1)
|
65
|
0.5
|
0,5.,.0.8
|
Застосовується при необхідності мати більш
віддалену зіницю.
|
|
Ерфле (2)
|
60..65
|
0.6
|
0,6...0,9
|
Вихідна зіниця віддалена більше від окуляра в
порівнянні з 1-м варіантом
|
|
Рамсдена
|
40
|
0.25
|
0.25...0.4
|
Окуляр є технологічним, але має мале
віддалення вихідної зіниці.
|
|
Гюйгснса
|
40
|
0,3
|
0,3...0.4
|
Передній фокус знаходиться між лінзами, хроматизм
збільшення виправляється краще, ніж у окуляра Рамсдена
|
|
Ортоскопічний
|
40
|
0,75
|
0,75... 1,0
|
Добре впиравпенг всі аберації (особливо
дисторсія)
|
|
Ширококутовий
|
90
|
0,75
|
0,75... 1,0
|
Лінзи окуляра виготовлені і і над тяжких
флінтів і крон і в
|
Таблиця 2.5.2 Конструктивні
параметри окуляра Симетричного
|
№ поверхні
|
Радіуси кривизни(r)
|
Осьові відстані(d)
|
Матеріал компонента
|
Показник заломлення(n)
|
|
|
|
Повітря
|
1
|
|
1
|
68,66
|
|
|
|
|
|
1,5
|
Ф2
|
1,6203
|
|
2
|
21,01
|
|
|
|
|
|
7,5
|
К8
|
1,5183
|
|
3
|
-30,50
|
|
|
|
|
|
0,1
|
Повітря
|
1
|
|
4
|
30,58
|
|
|
|
|
|
7,5
|
К8
|
1,5183
|
|
5
|
-21,01
|
|
|
|
|
|
1,5
|
Ф2
|
1,6203
|
|
6
|
68,66
|
|
|
|
|
|
|
Повітря
|
1
|
Таблиця 2.5.3 Параксіальні
характеристики окуляра Симетричного
|
ʄ'',мм
|
S'ʄ'',мм
|
Sʄ, мм
|
|
24,94721
|
18,82957
|
-18,82957
|
Далі уточнюємо віддалення вихідної
зіниці:
'=
де
=
- відстань від переднього фокусу до вхідної зіниці;
повздовжня
аберація в зіницях (при великих кутах нахилу головного променя може досягати
-2…-3 мм).
Величина t' перевищує задану, 18
окуляр
вибрали правильно.
Розділ
3. Розрахунок кардинальних параметрів ТС за допомогою нульового променя
В оптиці використовують поняття
дійсного, параксіального та нульового променів
.
Дійсний промінь
- промінь, який проходить через оптичну систему, заломлюючись і відбиваючись на
її оптичних поверхнях, у відповідності з законами геометричної оптики (закони
відбиття і заломлення).
Параксіальний промінь
- дійсний промінь, що розповсюджується в оптичній системі поблизу оптичної осі.
Нульовий промінь
- є фіктивним, заломлюється не на самих оптичних поверхнях, а на головних
поверхнях.
Особливістю нульового променя є те,
що його кут нахилу до оптичної осі будь-який, навіть дуже великий. В цьому
головна перевага променя, оскільки для розрахунку його кутів і висот можна
скористатись простими формулами параксіальної оптики, не покладаючи обмежень на
кути.
Розрахувати хід нульового променя
означає знайти за конструктивними параметрами всі кути і висоти.
Для розрахунку тангенсів кутів
:
;
Для розрахунку висот
:
.
де
,
-
тангенси кутів нульового променя відповідно перед і після головної поверхні;
,
-
висоти нульового променя на головних площинах;
-
радіус поверхні;
,
-
показники заломлень середовищ до і після поверхні;
-
осьові відстані між поверхнями.
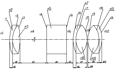
На рисунку 3.1 показані
конструктивні параметри заданої оптичної системи.
Рисунок 3.1 Спрощена схема оптичної
системи
Розрахунок нульового променя
Для розрахунку нульового променя
потрібно знайти невідомі осьові відстані
і
.
Розрахунок
:
=
Розрахунок
:
Для більш простого розрахунку
нульового променя скористаємось таблицею 3.1.
Таблиця 3.1 Конструктивні параметри
зорової труби
|
№ поверхні
|
Радіуси кривизни(r)
|
Осьові відстані(d)
|
Матеріал компонента
|
Показник заломлення(n)
|
|
|
|
Повітря
|
1
|
|
1
|
146,34
|
|
|
|
|
|
3,75
|
ТФ1
|
1,6475
|
|
2
|
77,97
|
|
|
|
|
|
7,5
|
К8
|
1,5163
|
|
3
|
-877,95
|
|
|
|
|
|
247,27
|
Повітря
|
1
|
|
4
|
100000
|
|
|
|
|
|
55
|
К8
|
1,5163
|
|
5
|
100000
|
|
|
|
|
|
28,157
|
Повітря
|
1
|
|
6
|
68,66
|
|
|
|
|
|
1,5
|
Ф2
|
1,6203
|
|
7
|
21,01
|
|
|
|
|
|
7,5
|
К8
|
1,5183
|
|
8
|
-30,50
|
|
|
|
|
|
0,1
|
Повітря
|
1
|
|
9
|
30,58
|
|
|
|
|
|
7,5
|
К8
|
1,5183
|
|
10
|
-21,01
|
|
|
|
|
|
1,5
|
Ф2
|
1,6203
|
|
11
|
-68,66
|
|
|
|
|
|
|
Повітря
|
1
|
Промінь запускаємо під кутом
та
на висоті
=10(мм).
Розраховуємо за допомогою формул кутів і висот.
.
За цим прикладом робимо подальші
розрахунки.
.
.
.
.
.
.
.
.
.
.
Виконуємо перевірку:
.
.
+призма=
.
ТС=
Література
1. Бегунов Б. И., Заказнов Н.
П., Кирюшин С. И., Кузичев В. И. Теория оптических систем. - М.:Машиностроение,
1981. - 432с.
2. Слюсарев Г. Г. Расчёт
оптических систем. - Л.: Машиностроение. Ленинградское отделение, 1975. 640с.
. Чиж И. Г. Расчёт
призменных монокуляров: Методические указания к выполнению курсовых проэктов по
курсу «Теория и расчёт оптических систем». - К.:КПИ, 1991, - 48 с.
. Каталог окулярів до
зорових труб, монокулярів, бінокулярів: Методичні вказівки до виконання
курсових проектів з курсу «Теорія і розрахунок оптичної системи» / Укл. І. Г.
Чиж , В. В. Клочко. - К. КПІ, 1992. - 44 с.