Эксплуатация нефтепровода Набережные Челны-Альметьевск
ВВЕДЕНИЕ
Топливно-энергетический комплекс - основа
развития всех отраслей экономики России. Важнейшим ее элементом является
система магистральных трубопроводов для транспорта нефти, газа и продуктов их
переработки. Географическое расположение месторождений нефти и газа в России и
их потребителей ставит трубопроводный транспорт на первое место среди всех
остальных видов. Только трубопроводный транспорт способен гарантировать
бесперебойную и равномерную поставку значительных грузопотоков нефти, газа, и
нефтепродуктов, обеспечивая при этом наименьшие экономические затраты.
Немаловажным является и то, что трубопроводный транспорт при правильной
безаварийной эксплуатации - экологически чистый.
Роль трубопроводного транспорта в системе
нефтяной и газовой промышленности чрезвычайно велика. Для нефти трубопроводный
транспорт является основным видом транспорта в нашей стране. Характерной чертой
трубопроводного транспорта является высокий уровень и ускоряющиеся темпы
развития. В настоящее время в стране сформированы мощные нефтепроводные
системы. Трубопроводный транспорт нефти наиболее экономичен, экологически
безопасен, легко автоматизируется. Этими преимуществами перед другими видами
транспорта и объясняется его интенсивное развитие. Система магистральных
нефтепроводов в России, созданная в 1960-1970 годах, была ориентирована на
работу в централизованной плановой экономике по технологическому принципу,
причем нефтедобыча и нефтепереработка были экономически разделены, а
нефтепроводный транспорт выполнял функцию посредника между ними - покупая и
продавая нефть по установленным ценам. С развитием рыночных отношений появилась
необходимость перехода (1992 г.) на тарифную систему оплаты за услуги
нефтепроводного транспорта.
Требования к нефтепроводному транспорту в
изменившихся условиях становятся качественно новыми, под которые система
магистральных нефтепроводов не проектировалась технологически, так как в
основном ориентировалась на поставку нефти по интегрированным показателям
качества в одном потоке с учетом их смешения.
Современные магистральные трубопроводы
представляют собой самостоятельные транспортные предприятия, оборудованные
комплексом головных, промежуточных перекачивающих насосных станций большой
мощности с необходимыми производственными и вспомогательными сооружениями.
1. ТЕХНОЛОГИЧЕСКАЯ ЧАСТЬ
.1 Общая характеристика нефтепровода
.1.1 Характеристика линейной части
Нефтепровод Набережные Челны-Альметьевск
предназначен для поставки татарской сернистой нефти, поступающей на НПС-3 с
НГДУ «Иркеннефть», НГДУ «Джалильнефть» и НГДУ «Азнакаевнефть», а также
удмуртской сернистой нефти, принятой на НПС «Набережные Челны» от НГДУ
«Прикамнефть», на Нижнекамский нефтеперерабатывающий завод (НПЗ).
Проектная пропускная способность составляет 10
млн. т/год, фактическая 7 млн. т /год.
Основные характеристики перекачиваемой нефти
представлены в таблице 1.1.
Таблица 1.1 - Основные характеристики
перекачиваемой нефти
|
Наименование
параметра
|
Значение
|
|
проектное
|
фактическое
|
|
1
Плотность при t = 20 °С, кг/м3
|
890
|
865
|
|
2
Вязкость при t = 20 °С, сСт ( мм2/с)
|
38
|
28,1
|
|
3
Температура, °С - Застывания - Вспышки
|
-35
-18
|
-35
-31
|
|
4
Содержание воды, %
|
-
|
0,07-0,5
|
|
5
Содержание солей, мг/л
|
-
|
29-100
|
|
6
Массовая доля серы, %
|
-
|
1,32-1,84
|
|
7
Упругость паров, кПа
|
-
|
17,5-34,2
|
Нефтепровод находится в ведении Альметьевского
районного нефтепроводного управления (АРНУ) ОАО «СЗМН» и проходит по территории
республики Татарстан. Строительство и ввод нефтепровода в эксплуатацию
осуществлено в 1966 году.
Первоначально трубопровод сооружался для
перекачки нефти от Наб. Челнинской нефтеперекачивающей станции (НПС) до НПС
«Альметьевск». В настоящее же время перекачка ведется по иной схеме (см.
рисунок 1.1).
Потоки нефти с Н. Челнинской и Альметьевской НПС
встречаются на 13 км трубопровода и, смешиваясь, идут далее по отводу на
Нижнекамский нефтеперерабатывающий завод.
Нефтепровод включает в себя один
эксплуатационный участок, протяжённостью 95,3 км и отвод на Нижнекамский НПЗ
(Ду 700 мм) длиной 29 км. Диаметр нефтепровода 530 и 720 мм. Эксплуатационный
участок включает станции: НПС-3 «Альметьевск» и НПС "Набережные
Челны". Конечный пункт нефтепровода - Нижнекамский НПЗ.
Рис. 1.1 - Структурная схема перекачки нефти по
нефтепроводу «Набережные Челны-Альметьевск»
К линейным сооружениям относятся: собственно
трубопровод, линейная арматура, предназначенная для перекрытия линейных
участков трубопровода при авариях и ремонте, камеры приёма и пуска средств
очистки и диагностики (КПП СОД), станции катодной защиты (СКЗ) и протекторной
защиты, линии электропередачи, предназначенные для питания вспомогательных
систем трубопровода, переходы через водные препятствия, железные и автодороги,
а также дома обходчиков, линии связи, аварийно-восстановительные пункты,
грунтовые дороги, сооружаемые вдоль трассы трубопровода, вертолётные площадки.
Нефтепровод «Набережные Челны - Альметьевск»
проложен в одном техническом коридоре с линиями технологической связи и
вдольтрассовой линии электроснабжения.
Трасса нефтепровода проходит по пересечённой
местности. Резервные нитки отсутствуют.
Климатические характеристики местности
пролегания трассы представлены в таблице 1.2.
Таблица 1.2 - Метеорологические данные
|
Наименование
|
зимой
|
летом
|
|
макс.
|
мин.
|
макс.
|
мин.
|
|
Средняя
Т воздуха на поверхности земли, С°
|
+2
|
-44
|
+36,5
|
+5,6
|
|
Средняя
Т воздуха на глубине залегания труб, С°
|
+2,3
|
+0,4
|
+
14,6
|
+10,4
|
Всего нефтепровод пересекает 12 ручьёв, 2
оврага, 1 реку, 14 автодорог (грунтовых и с твёрдым покрытием) и 3 железные
дороги. Все пересечения с водными преградами - подземные, сооруженные
траншейным способом.
Трубопровод выполнен из прямошовных труб марок
17 ГС, 17Г1С, X-60(Япония) 14 ХГС, "Ц"(ЧССР), наружным диаметром 530
и 720 мм с толщиной стенки 8 и 10 мм, а на участках I и высшей категории 9 мм
[4].
Изоляция битумная нормальная и усиленная(с 0 по
88 км) и пленочная (с 88 по 95 км).
Конструктивный способ укладки нефтепровода -
подземный. Глубина заложения 1,8 м от нижней образующей.
Камеры приёма и пуска очистных, разделительных и
диагностических устройств смонтированы на каждой НПС, а также в месте
подключения отвода на Нижнекамский НПЗ.
Перекачка ведётся по схеме с подключенными
резервуарами. Резервуарный парк находится на НПС «Альметьевск» и НПС
«Набережные Челны».
Общая характеристика нефтепровода «Набережные
Челны - Альметьевск» представлена в таблице 1.3.
Таблица 1.3 - Общая характеристика нефтепровода
«Набережные Челны-Альметьевск»
|
Общая
протяжённость нефтепровода
|
111,3
км
|
|
Количество
НПС и расстановка их по длине нефтепровода
|
НПС
«Альметьевск-3» 95,3 км (головная станция) НПС «Наб. Челны» 0 км (головная
станция)
|
|
Максимальная
проектная производительность
|
10
млн. т/год
|
|
Диаметр
трубопровода
|
530/720
мм
|
|
Максимальное
рабочее давление
|
4,8
МПа
|
|
Расчетная
вязкость нефти
|
18сСт(18·10-6
мм2 /с)
|
|
Расчётная
плотность нефти
|
870
кг/м3
|
|
Разность
геодезических отметок
|
62
м
|
1.2 Характеристика НПС-3
«Альметьевск»
.2.1 Климатическая и геологическая
характеристика площадки
НПС находится на территории республики Татарстан
близ города Альметьевск.
Температуры наружного воздуха составляют:
абсолютная минимальная - минус 41 град. С;
абсолютная максимальная - плюс 37 град.С;
температура наиболее холодной пятидневки - минус
32 град.С;
нормативная снеговая нагрузка для IV снегового
района -150 кг/м2.
1.2.2 Основные технологические
данные
НПС-3 «Альметьевск» - нефтеперекачивающая
станция предназначена для приема и дальнейшей транспортировки нефти по
магистральным нефтепроводам. Режим работы - «с подключенными резервуарами» или
«через резервуары».
Перекачивающая насосная станция предназначена
для приема нефти и перекачки ее из резервуара в магистральный нефтепровод.
Нефтеперекачивающая станция НПС - 3 введена в
эксплуатацию в 1975 году и является структурным подразделением Альметьевского
районного нефтепроводного управления (АРНУ) ОАО «СЗМН».
Проект нефтеперекачивающий станции разработан
ПСБ ОАО СЗМН.
В состав НПС - 3 входят:
резервуарный парк;
2 насосные станции с магистральными насосными
агрегатами;
фильтры-грязеуловители;
фильтры-решетки;
технологические трубопроводы;
системы водоснабжения, теплоснабжения,
вентиляции, канализации, пожаротушения, электроснабжения, автоматики,
телемеханики, АСУ, связи, производственно - бытовые здания и сооружения.
Площадь территории НПС-3 составляет 17,7 га.
Для осуществления приема нефти и технологических
операций на НПС имеется резервуарный парк суммарной емкостью около 140 тыс.м3,
в том числе 8 стальных цилиндрических резервуаров с понтоном единичной емкостью
10 тыс.м3 и 6 железобетонных резервуаров единичной емкостью 10 тыс.м3.
На НПС осуществляется следующие операции:
) прием татарской сернистой нефти через задвижки
№ 812,813 в резервуары РВСП - 10000 № 7,8, 9,10,11,12,13,14. (см. приложение Б)
) откачка через задвижки №180,160,152,151,153 на
насосы и далее через задвижку № 162 в нефтепровод «Набережные
Челны-Альметьевск» Ду - 500 мм на Нижнекамский НПЗ.
Нефть по подводящему трубопроводу поступает на
НПС, с давлением 0,12 МПа, через приемные задвижки и направляется на
фильтры-грязеуловители. Нефть, очищенная от механических примесей,
парафино-смолистых отложений, посторонних предметов, поступает в
технологические резервуары РВСП-10000 № 7, 8, 9, 10, 11, 12, 13, 14.
Во избежание застывания нефти в холодное время
года и для поддержания температуры нефти в пределах (10 - 30°С) предусмотрен
автоматический электроподогрев и сборная тепловая изоляция надземных участков
трубопроводов. Мощность электроподогрева N=100 Bt/m, толщина теплоизоляции
равна 80 мм.
1.2.3 Генеральный план
перекачивающей станции
Генеральный план перекачивающей станции (см.
Приложение А) содержит комплексное решение вопросов планировки и
благоустройства территории, размещения зданий и сооружений, транспортных
коммуникаций и инженерных сетей в соответствии с существующими нормами
проектирования и конкретными геологическими и гидрогеологическими условиями и
рельефом местности.
При выборе мест расположения перекачивающей
станции учитывалась необходимость рационального и комплексного использования
энергетических ресурсов, систем тепло- и водоснабжения, канализационных и
очистных сооружений, общественного строительства района. Площадка под станцию
выбиралась в соответствии с проектом планировки и застройки района
строительства. Выбор обосновывался сравнением технико-экономических данных
различных вариантов размещения станций на других площадках этого района.
Площадка по возможности приближена к существующим дорогам и отвечает следующим
основным требованиям.
. По рельефу. Рельеф спокойный, пологий, с
определенно выраженным уклоном для удобства отвода поверхностных вод, создания
благоприятных условий работы системы самотечной канализации и возможности
проведения самотечных технологических операций (залив насосов перекачиваемой
жидкостью и др.).
. По геологии. Грунты на площадке имеют
достаточную несущую способность (не ниже 1,2 кгс/см2). Породы, принятые за
естественное основание, прочные и устойчивые. Геологическое строение площадки
допускает возведение всех сооружений станции без создания искусственных
оснований.
. По гидрогеологии. Грунт площадки сухой с
низким горизонтом грунтовых вод.
Особое внимание уделено обеспечению нормальных
гидрогеологических условий площадки и удобствам эксплуатации подземных
коммуникаций. Размеры площадки приняты минимально необходимые с учетом
рациональной плотности застройки без излишних резервных площадей и увеличения
разрыва между зданиями. Конфигурация площадки обеспечивает расположение зданий
и сооружений в соответствии с производственным процессом. При выборе площадки
учтено возможное расширение станции.
Генеральный план станции обеспечивает наиболее
экономичный производственный процесс на минимальной территории с учетом
размещения во всех возможных случаях технологического оборудования на открытых
площадках. При разработке генерального плана учитывалось наиболее рациональное
размещение зданий и сооружений станции, а также благоприятные и безопасные
условия труда работающих. При этом соблюдались следующие требования:
здания административно-хозяйственного назначения
располагаются со стороны наибольшего движения автотранспорта;
здания и сооружения с производствами повышенной
пожарной опасности, в том числе котельную, располагаются с подветренной стороны
по отношению к другим зданиям;
здания вспомогательного производства размещены
по соседству с основными зданиями и сооружениями;
здания бытовых помещений располагаются ближе к
проходным;
энергообъекты приближены к основным
потребителям, для уменьшения протяженности тепло-, газо- и паропроводов и
электролиний;
производственные сооружения с большими
статическими нагрузками (например резервуарные парки) размещены на участках с
однородными грунтами, допускающими наибольшие нагрузки на основания
фундаментов.
При разработке генерального плана,
предусматривалась возможность выполнения строительных и монтажных работ
современными методами с применением строительных машин новых конструкций.
Открытые распределительные подстанции, узлы
подключений и камеры переключений, площадки фильтров и другие сооружения
размещены на открытых площадках.
При размещении зданий и сооружений учтены
стороны света и преобладающее направление ветров, для обеспечения наиболее
благоприятных условий естественного освещения, проветривания помещений, борьбы
со снежными заносами. Места для забора наружного воздуха системами приточной
вентиляции выбраны в зонах наименьшего его загрязнения.
Проезды на территории обеспечивают удобное и
кратчайшее сообщение между сооружениями, а также свободный подъезд пожарных
автомашин к зданиям насосных и резервуарному парку.
1.2.4 Технологическая схема НПС
При проектировании технологической схемы
перекачивающей станции предусмотрена возможность как последовательной, так и
параллельной работы основных агрегатов. Технологическая схема
нефтеперекачивающей станции приведена в Приложении Б.
При разработке технологической схемы учитывалась
возможность выполнения всех предусмотренных проектом технологических операций
при минимальном количестве монтируемой запорной и регулирующей арматуры и
соединительных деталей, а также обеспечение минимальной протяженности
технологических трубопроводов. Основными узлами технологической схемы являются
обвязка подпорных и основных насосов, площадка фильтров и счетчиков, обвязка
резервуаров, и узел подключения станции к магистральному трубопроводу, который
совмещается с камерой приема и пуска скребка.
1.2.5 Основные объекты НПС
«Альметьевск»
Магистральные насосные НПС «Альметьевск»
На территории НПС имеются две насосные.
Нефтенасосная №1 введена в эксплуатацию в 1975году, является структурным
подразделением АРНУ ОАО СЗМН и представляет собой комплекс сооружений и
устройств для перекачки нефти по магистральному нефтепроводу "Калтасы -
Куйбышев" на участке Альметьевск - Куйбышев - 800 - 700. Проект
нефтеперекачивающий станции разработан «ТатНИПИнефть», «Татнефтепроект».
В состав нефтенасосной №1 входят:
резервуарный парк;
подпорная насосная;
насосная станция с магистральными насосными
агрегатами и системой смазки, охлаждения и откачки утечек;
фильтры-грязеуловители;
фильтры-решетки;
узел регулирования давления;
узлы с предохранительными устройствами;
технологические трубопроводы;
системы водоснабжения, теплоснабжения,
вентиляции, канализации, пожаротушения, электроснабжения, автоматики,
телемеханики, АСУ, связи, производственно - бытовые здания и сооружения.
Нефтенасосной производит перекачку
высокосернистой нефти со следующими характеристиками:
|
№
|
Наименование
показателя
|
Единицы
измерения
|
Предельные
значения
|
|
|
|
|
Мин.
|
Макс.
|
|
|
1
|
Плотность
при 20 оС
|
кг/м3
|
896,1
|
899,2
|
|
|
2
|
Содержание
воды
|
%
|
0,16
|
0,60
|
|
3
|
Содержание
солей
|
мг/л
|
191
|
700
|
|
4
|
Содержание
мехпримесей
|
%
|
0,0052
|
0,0124
|
|
5
|
Массовая
доля серы
|
%
|
3,15
|
3,89
|
|
6
|
Кинематическая
вязкость (при 50°С)
|
сСт
|
13,8
|
21,5
|
|
7
|
Содержание
парафина
|
%
|
не
определяется
|
|
8
|
Упругость
паров
|
кПа
|
23,7
|
43,2
|
|
|
|
|
|
|
|
|
|
Рис. 1.2 - 1 - радиально упорные подшипники; 2 -
вал; 3- корпус; 4 - щелевое уплотнение; 5 - рабочее колесо; 6 - отвод; 7 -
подвод; 8 - трубки; 9 - торцевые уплотнения; 10 - подшипник скольжения; 11 -
зубчатая муфта; 12 - втулки
В Нефтенасосной №1 установлено четыре однотипных
магистральных насосных агрегатов типа 16НД-10-1 №№ 11,12,13,14, один из которых
является резервным. Каждый агрегат состоит из центробежного насоса с приводом
от высоковольтного асинхронного двигателя типа 4АЗМП-1600/6000 УХЛ4 по ГОСТ
183-74 изготовленных во взрывозащищенном исполнении, вследствие чего находятся
в общем помещении с насосами. Трубопроводная обвязка магистральных насосов
предусматривает их последовательное соединение.
На всасывании и нагнетании каждого насоса
устанавливается задвижка, а параллельно насосу - обратный клапан таким образом,
чтобы при остановке насоса и перекрытии его задвижек поток нефти автоматически
направлялся по обводному трубопроводу к следующему насосу или в магистральный
нефтепровод.
В результате параллельно насосам создается
обводной трубопровод насосной с обратными клапанами.
Таблица 1.4 - Характеристика магистрального
насоса 16НД-10-1
|
Тип
|
Подача,
м3/ч.
|
Напор,
м.
|
Мощность
на валу, кВт.
|
Частота
вращения, об/мин.
|
|
16НД-10-1
|
2200
|
230
|
1600
|
2980
|
Для подачи нефти от резервуаров №№1, 2, 3, 4, 5,
6 к основным насосам предусмотрены подпорные насосы 20НДcН №11П , 12П, со
следующими характеристиками:
Таблица 1.5 - Характеристика подпорного насоса
20НДсН
|
Тип
|
Подача,
м3/ч.
|
Напор,
м.
|
Мощность
на валу, кВт.
|
Частота
вращения, об/мин.
|
Кавитационный
запас, м.
|
|
20НДcН
|
2200
|
43
|
318
|
730
|
5
|
Технологический процесс перекачки осуществляется
согласно утвержденным технологическим картам нефтепровода и технологическим
режимам перекачки. Основной схемой технологического процесса перекачки нефти
НПС с емкостью является перекачка с «подключенными резервуарами» или «через
резервуары».
Рис. 1.3
Нефть по подводящему трубопроводу поступает на
НПС-3, с давлением 0,7 МПа, через приемные задвижки №№5, 6, 7, 9, 10, 11, 12,
13, 14, 15, 16 (см. Приложение Б), расположенные в узле пуска и приема СОД, и
направляется на фильтры-грязеуловители. Перепады давления в
фильтрах-грязеуловителях необходимо регистрировать раз в 12 часов, а после
проведения работ на линейной части не реже одного раза в час. При превышении
максимального перепада давления на фильтре-грязеуловителе более или равном
0,05МПа он должен быть отключен и очищен. Для очистки фильтров-грязеуловителей
отключить задвижки №№6, 7, 9, 10, 12, 13, 15, 16 предварительно включив
резервный фильтр-грязеуловитель. Нефть, очищенная от механических примесей, парафино-смолистых
отложений, посторонних предметов, поступает в технологические резервуары
ЖБР-10000 №№ 1, 2, 3, 4, 5, 6. Для защиты технологических трубопроводов и
арматуры резервуарного парка от превышения давления на НПС установлены
предохранительные клапаны №№1, 2, 3, 4. Давление настройки предохранительных
клапанов Рн = 0,7МПа. Сброс нефти от предохранительных клапанов предусмотрен в
технологический резервуар №3 и на приём подпорных насосов. После сброса нефти
от предохранительных клапанов сбросные линии должны быть освобождены от нефти
[19].
Нефтенасосная №2 введена в эксплуатацию в 1997
году, является структурным подразделением АРНУ ОАО СЗМН и представляет собой
комплекс сооружений и устройств для перекачки нефти по магистральному
нефтепроводу Н. Челны - Альметьевск на участке 500/700 на НКХК.
Проект нефтеперекачивающий станции разработан
ПСБ ОАО СЗМН.
В состав нефтенасосной №2 входят:
резервуарный парк;
насосная станция с магистральными насосными
агрегатами - фильтры-грязеуловители;
фильтры-решетки;
технологические трубопроводы;
системы водоснабжения, теплоснабжения,
вентиляции, канализации, пожаротушения, электроснабжения, автоматики,
телемеханики, АСУ, связи, производственно - бытовые здания и сооружения.
Нефтенасосная №2 производит перекачку нефти со следующими
характеристиками:
Таблица 1.6 - Характеристика перекачиваемых
нефти
|
Наименование
показателя
|
Единицы
измерения
|
Предельные
значения
|
|
|
|
Мин.
|
Макс.
|
|
1
|
Плотность
при 20 оС
|
кг/м3
|
866
|
871
|
|
2
|
Содержание
воды
|
%
|
0,09
|
0,18
|
|
3
|
Содержание
солей
|
мг/л
|
23
|
42
|
|
4
|
Содержание
мехпримесей
|
%
|
0,005
|
0,01
|
|
5
|
Массовая
доля серы
|
%
|
1,51
|
1,65
|
|
6
|
Кинематическая
вязкость (при 50°С)
|
сСт
|
13
|
19
|
|
7
|
Содержание
парафина
|
%
|
До
6
|
|
8
|
Упругость
паров
|
кПа
|
24,0
|
28,0
|
В нефтенасосной установлены насосы типа ЦНС
300-600 №№ 21,22,23,24. Насосы ЦНС 300/600 -насосы центробежные, секционные,
предназначенные для перекачки нефти на дальнее расстояние. Рабочие
характеристики насосов серии ЦНС даны в Приложении Е. Приводом к насосам
являются высоковольтные асинхронные двигатели типа А4-450Х-4МЧЗ изготовленные в
нормальном исполнении и поэтому установленные в отдельном помещении,
отгороженном от помещения насосов герметичной стеной.
Таблица 1.7 - Характеристика магистрального
насоса ЦНС 300-600
|
Тип
|
Подача,
м3/ч.
|
Напор,
м.
|
Число
камер
|
Частота
вращения, об/мин.
|
Масса,
кг
|
|
ЦНС
300-600
|
290
|
600
|
10
|
1475
|
2575
|
Нефть по подводящему трубопроводу поступает на
НПС, с давлением 0,12 МПа, через приемные задвижки №№812, 813 (см. Приложение
Б), расположенные в узле пуска и приема СОД, и направляется на фильтры-грязеуловители.
Перепады давления в фильтрах-грязеуловителях необходимо регистрировать раз в 12
часов, а после проведения работ на линейной части не реже одного раза в час.
При превышении максимального перепада давления на фильтре-грязеуловителе более
или равном 0,05МПа он должен быть отключен и очищен. Для очистки
фильтров-грязеуловителей отключить задвижками №№816, 817, 818, 819,
предварительно включив резервный фильтр-грязеуловитель. Нефть, очищенная от
механических примесей, парафино-смолистых отложений, посторонних предметов,
поступает в технологические резервуары РВСП-10000 №№7, 8, 9, 10, 11,12, 13,14
[20].
Резервуарный парк НПС « Альметьевск »
Тип и количество резервуаров, их назначение
Резервуарный парк - один из основных
технологических объектов перекачивающей станции. На перекачивающей станции
резервуарный парк предназначен:
для создания определенного резерва нефти;
для учета нефти;
для достижения требуемого качества нефти
(отстаивание от воды и мехпримесей, смешение);
для восприятия обратной ударной волны в случаи
аварии на следующей станции.
На НПС имеются 8 стальных вертикальных понтонных
резервуаров (РВСП) емкостью по 10000 м3 и 6 железобетонных резервуаров (ЖБР)
емкостью по 10000 м3.
Резервуары РВСП объемом 10000 м3 относятся к 1
классу ответственности (опасности) и I повышенному уровню ответственности по
ГОСТ 27751-88. Цикличность нагружения резервуара не более 350 циклов в год.
Основные показатели резервуара:
Плотность продукта 0,9 т/м3
Внутреннее избыточное давление 0,2 кПа
Вакуум 0,02 кПа
Расчетное значение веса снегового покрова не
более 2,0 кПа
Нормативная ветровая нагрузка 0,38 кПа
Максимальная температура продукта + 50 0С
Сейсмичность района строительства до 8 баллов
Диаметр резервуара 35,5 м
Высота стенки резервуара 13,93 м
Площадь зеркала продукта 725,8 м2
Температура наиболее холодных суток с
обеспеченностью 0,98 не ниже -550 С
Потенциальная полезная емкость резервуара 11115
м3
Вместимость резервуарного парка перекачивающей
станции принимается равной трехсуточной пропускной способности трубопровода.
При кратковременных плановых или аварийных остановках одной из промежуточных
станций нефть поступает в резервуарный парк станции, а следующая станция
продолжает работать за счет нефти, имеющейся в ее резервуарном парке.
Резервуарный парк перекачивающей станции в
соответствии с противопожарными нормами располагается на минимальном расстоянии
от подпорных и основных насосных, выбран участок, имеющий более высокие отметки
по сравнению с отметками участков для насосных. Это обеспечивает самотечное
заполнение всасывающих трубопроводов и создает статический подпор в приемных
трубопроводах насосов.
В парке резервуары типа РВСП располагаются в
группах по два резервуара. Каждая группа наземных резервуаров ограждена
сплошным земляным валом - обвалованием, рассчитанной на гидростатическое
давление разлившейся жидкости. Обвалование представляет собой земляной вал,
предназначенный для предотвращения возможности проникновения разлившейся нефти
за пределы резервуарного парка в случае аварии. Вместимость территории
обвалования для группы резервуаров принята равной объему большего резервуара.
Высота внешнего ограждения группы резервуаров на 0,2 м выше расчетного уровня
разлившейся жидкости, а ширина земляного вала по верху - 0,5 м. Все колодцы и
камеры управления задвижками технологических трубопроводов располагаются вне
территории обвалования. Электрооборудование, установленное внутри обвалования
выполнено во взрывобезопасном исполнении.
Резервуары типа ЖБР предназначены для хранения
высокосернистой нефти с характеристиками, приведенными в таблице 1.4., а в
резервуарах типа РВСП хранится нефть с характеристиками указанными в таблице
1.7.
Оборудование резервуаров
Для сокращения потерь нефти от испарения
резервуары типа РВСП оснащены понтонами, а резервуары типа ЖБР
газоуровнительной системой.
На резервуарах установлено следующее
оборудование:
оборудование, обеспечивающее надёжную работу
резервуара и снижение потерь нефти;
оборудование для обслуживания и ремонта
резервуара;
противопожарное оборудование;
приборы контроля и сигнализации.
К оборудованию, обеспечивающее надёжную работу
резервуара и снижение потерь нефти относятся:
дыхательная арматура, предназначена для защиты
резервуара от разрыва и смятия во время заполнения и опорожнения, а также при
изменении температуры газового пространства; на резервуарах установлены
дыхательные клапаны типа КДС и предохранительные клапаны;
приёмо-раздаточные патрубки служат для приёма и
откачки нефти из резервуара; их количество зависит от производительности; на
конце приёмораздаточных патрубков устанавливаются хлопушки, предотвращающие
утечку нефти при повреждении приёмо-раздаточных патрубков и задвижек; хлопушка
оснащается системой управления, на приёмных патрубках хлопушка открывается
потоком нефти;
сифонный кран предназначен для удаления воды,
обеспечивает отбор воды на необходимой высоте (исключая загрязнение);
К оборудованию для обслуживания и ремонта
резервуара относится следующее оборудование:
люки-лазы, размещаются в первом поясе и служат
для проникновения рабочих внутрь резервуара, при ручной зачистке резервуара и
извлечении донных отложений;
люк замерный служит для ручного замера уровня
нефти и подтоварной воды, а также для отбора проб;
система размыва и предотвращения накопления
донных отложений представляет собой группу веерных кольцевых сопел, через
которые поступает нефть, скорость нефти такова, что обеспечивает срыв частиц
осадка с днищ и оставляет их во взвешенном состоянии; также на некоторых
резервуарах установлены устройства для размыва донных отложений «Диоген-700».
лестница (спиральная и шахтная).
К приборам контроля и сигнализации относятся:
местные и дистанционные измерители уровня нефти
(УДУ, Корвол, ультразвуковые уровнемеры фирмы Saab);
сигнализаторы максимального оперативного и
аварийного уровня в резервуаре;
измерители средней температуры нефти.
Зачистка резервуаров от донных отложений
Системы размыва донных отложений предназначены
для размыва уплотненного и предотвращения накопления рыхлого парафинистого
осадка на днищах нефтяных резервуаров в процессе эксплуатации. Парафинистые
отложения из резервуара могут быть удалены двумя способами:
Система, смонтированная в нефтяном резервуаре,
состоит из группы гидромеханических размывающих устройств (кольцевые, веерные
погружные сопла типа СПВК) с меняющейся высотой щели кольцевым способом
размещенных на днище резервуаров, обвязанных системой трубопроводов, фильтрами
и запорной арматурой. Фильтры предохраняют веерные сопла от засорения и
устанавливаются на приёмном патрубке системы, один на каждый отдельный резервуар
или на общей напорной линии один на группу резервуаров. Для контроля за работой
фильтров возможна установка манометров по обе его стороны. Погружное веерное
сопло типа СПВК-100м. состоит из цилиндрического корпуса, выполненного из
стальной трубы, в верхней части которого крепится ответный фланец. Нижняя часть
корпуса посредством крепёжного тройника, выполненного в виде сваренных под
углом 120 градусов друг к другу ребер, жёстко соединена с опорным диском,
представляющим собой стальной лист диаметром 200мм.
На наружной поверхности корпуса с возможностью
вертикального перемещения расположена фасонная обечайка определенного веса с
отогнутой нижней кромкой, выполненной по радиусу. Обечайки в нерабочем
положении отогнутой кромкой без зазора соприкасается с опорным диском. При
подаче жидкости в сопло обечайка за счёт перепада давления внутри и вне сопла
поднимается, образуя кольцевую щель, через которую с определенной скоростью
выходит жидкость, распространяющаяся по днищу резервуара в виде веерной
кольцевой затопленной струи. В дальнейшем эта скорость поддерживается
автоматически за счёт того, что величина щели изменяется в зависимости от
расхода жидкости. В результате этого погруженные сопла могут эффективно
работать в широком диапазоне, изменяя производительность закачки через систему,
сохраняя заданную скорость истечения. Погружные веерные кольцевые сопла не
требуют установки на приёмном патрубке системы обратного запорного устройства,
так как при отсутствии расхода жидкости кольцевые щели их автоматически закрываются,
изолируя внутреннюю полость резервуара от трубопровода и выполняя тем самым
роль хлопуши.
Эти сопла подвержены засорению, и в случае
попадания в них постороннего предмета из трубопровода он выталкивается потоком
вследствие резкого увеличения давления жидкости и величины щели сопла.
Другое устройство, применяемое для размыва
донных отложений - «Диоген-700», оно устанавливается взамен существующих систем
размыва донных отложений. Одно устройство устанавливается на нижнем поясе
резервуара типа РВСП емкостью 10000 м3.Устройства «Диоген» подбирается в зависимости
от вязкости и температуры нефти. «Диоген-700» обеспечивает устойчивую работу
при температуре от -30 до +30 град, и вязкости нефти 0-З0 сСт.
Устройство «Диоген» с регулируемым углом
поворота состоит из взрывозащищенного асинхронного электродвигателя,
плоскозубчатой ременной передачи, торцевого уплотнения, сферического
уплотнения, приводного вала на шарикоподшипниковых опорах, корпуса, шарнирного
узла, автоматического привода поворота, пропеллера, электросилового и
управляющего оборудования.
Общий вид устройства "Диоген" с его
основными параметрами приведен в Приложении З, а также в Приложении И приведена
схема влияния трубной разводки в резервуарах ёмкостью 10000...30000 м3 на
скопление донных отложений в процессе их размыва устройством «Диоген». Принцип
работы устройства заключается в перемешивании направленной струей хранимого
продукта (нефти), при котором тяжелые парафинистые осадки и механические
примеси взвешиваются в общей массе нефти. Этот процесс достигается двумя
факторами при работе устройства:
за счет непосредственного перемешивания продукта
при работе пропеллера создаваемой направленной струей нефти;
за счет создания кругового вращения всей массы
хранимого продукта в резервуаре при работе устройства в крайних угловых
положениях.
Автоматический привод поворота обеспечивает
качание устройства «Диоген» в горизонтальной плоскости в пределах угла равного
60 градусам. Время прохождения устройства «Диоген» от одного крайнего положения
до другого составляет от 3,5 до 5,5 часов в зависимости от базовых моделей.
Работа автоматического привода поворота устройства «Диоген» обеспечивается
одним и тем же электроприводом, что и вращение пропеллера. Данный режим работы
создает наиболее эффективный процесс размыва скопившихся донных отложений в
нефтяных резервуарах.
Монтаж оборудования необходимо вести в строгом
соответствии с требованиями эксплуатационной документации на изделие. Особое
внимание необходимо уделить обеспечению пожарной безопасности.
При использовании устройств «Диоген» на
резервуаре в стационарном режиме управление может осуществляться из операторной
и по месту.
При использовании устройств «Диоген» на
резервуаре во временном режиме пульт управления может размещаться с наружной
стороны обвалования на расстоянии не менее 20 метров от резервуара и отвечать
требованиям взрывобезопасности.
Операция технологического процесса
предотвращения образования донных отложений в резервуарах с нефтью заключается
в перемешивании нефти в резервуаре устройством «Диоген» при скоплении донных
осадков на днище резервуара до уровня 12 см, но не реже двух раз в месяц с
равномерной периодичностью не менее 10 часов за один цикл.
Операция технологического процесса по размыву и
удалению донных отложений из резервуаров с нефтью заключается в разрушении
уплотненных донных осадков, образовавшейся в резервуаре в процессе длительной
эксплуатации подвижной затопленной струей нефти, формирующейся устройством
"Диоген" и откачке (удалении) в магистральный нефтепровод размытых и
диспергированных донных отложений в смеси с нефтью.
Продолжительность по времени операции размыва
накопившихся сильно уплотненных донных осадков зависит от высоты слоя осадков,
их физико-химических свойств (вязкости, плотности и т.д.), температуры нефти,
емкости резервуара и модели устройства «Диоген» и их количества.
Во время выполнения операции размыва
накопившихся сильно уплотненных донных осадков с помощью устройств «Диоген»
резервуары, по согласованию с диспетчером, должны быть выведены из работы с
возможностью дальнейшей откачки.
Технологический процесс по предотвращению
образования и удалению донных отложений из резервуаров включает следующие
операции:
заполнение резервуара нефтью
размыв донных отложений и перемешивание нефти в
резервуаре устройством «Диоген»;
откачка (удаление) в магистральный нефтепровод
размытых и диспергированных донных отложений в смеси с нефтью;
контроль процесса размыва и удаления донных
отложений из резервуаров с нефтью.
Для безопасной работы устройств «Диоген»
минимально допустимый уровень нефти в резервуарах с работающими устройствами
«Диоген» должен соответствовать для резервуаров типа РВСП не менее 5 м.
Для повышения эффективности процесса размыва
донных отложений рекомендуется установить дополнительно одно устройство
«Диоген» на противоположном люке-лазе.
Противокоррозионная защита резервуаров
Нефти, имеющие в своем составе серу, являются
весьма агрессивными средами, вызывающими коррозионные разрушения резервуаров
изнутри.
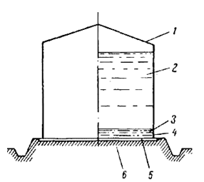
Рис. 1.4 - Схема стального резервуара в разрезе: 1 - кровля; 2 -
нефть; 3 - слой подтоварной воды; 4 - нижние пояса; 5 - днище; 6 -основание
При хранении нефти в стальных резервуарах
происходит отстой. Вода, содержащаяся в нефти, собирается в низу резервуара,
образуя так называемый слой подтоварной воды, содержащей соли и сернистые
соединения (Рис. 1.3).
Верхние пояса и кровля стальных резервуаров
подвергаются коррозии паровоздушной среды.
Составные части нефти - парафины, ароматические
и непредельные углеводороды - коррозионно не активны к металлам вообще и к
железу в частности.
Образование подтоварной воды в резервуарах с
сернистой нефтью приводит к появлению коррозии, носящей электрохимический
характер. Для ее устранения в резервуарном парке применяется катодная защита.
Катодная защита с помощью катодных станций является наиболее дешевой и
обеспечивает равномерное токораспределение по днищу резервуара. Катодные
станции легко управляются, регулируются, и надежны в эксплуатации. Катодная
станция является источником постоянного тока, где с помощью выпрямителей
переменный ток преобразуется в постоянный [18].
Отрицательным полюсом катодная станция с помощью
кабеля подключена к защищаемому резервуару, а положительным - к анодному
заземлению (Рис. 1.4). Для защиты от коррозии металлического сооружения
необходимо, чтобы его потенциал был не более минус 0,85 В. На рисунке 1.5
приведена схема анодных заземлений, а на рисунке 1.6 приведено анодное
заземление в увеличенном виде.
Рисунок 1.5 - Схема
подключения анодных заземлений: 1 - станция катодной защиты; 2 - блок
диодно-резисторный многоканальный; 3 - анодное заземление; 5 -
контрольно-измерительный прибор; 6 - защитное заземление; 7 - кабель ВВГ 1х35;
9 - защитный футляр
Рисунок 1.6 - Схема подключения анодных
заземлений: 1 - кабель ВВГ 1х35; Кабель ВВГ 1х16
Рис. 1.7 - 1- углеграфитовый электрод;
2-наконечник ТА-7-75Н; 3-соединитель токов вод; 7-битум нефтяной изоляционный
(2 кг)
Система пожаротушения резервуаров
Резервуары являются объектом повышенной
опасности, поэтому они в обязательном порядке оснащаются противопожарным
оборудованием: огневыми предохранителями, средствами пожаротушения и
охлаждения.
Огневые предохранители устанавливаются в корпусе
дыхательных клапанов. Принцип действия основан на том, что пламя или искра не
способны проникнуть внутрь резервуара через кассету огневого предохранителя.
Кассета, вставленная в корпус огневого предохранителя, представляет собой
свитую в спираль гофрированную алюминиевую фольгу, образующую множество
каналов. При прохождении дыхательных паров через эти каналы происходит гашение
возможных искр.
Станция оборудована автоматической системой
пенного пожаротушения (АСППТ), которая включает в себя:
насосную пенотушения с пожарными насосами типа
ЦНС 180x85, предназначенных для подачи пенообразователя «Мультипена»
(Новороссийск), позволяющий получить пену низкой, средней и высокой кратности,
в стационарную сеть пенотушения;
бак-дозатор БДП-10000Г - 4шт;
систему пенопроводов с арматурой и пеногенераторами
для подачи раствора в насосные, в резервуары с нефтью (подслойный способ подачи
пены низкой кратности в слой нефти в нижний пояс резервуара);
систему автоматики пенотушения и пожарной
сигнализации.
При поступлении сигнала пожара из любого защищаемого
объекта, автоматически включается один из насосов подающий раствор
пенообразователя в напорный коллектор к месту возгорания.
Пенообразователь представляет собой жидкость
темно-коричневого цвета без осадка и посторонних включений и изготовляется на
основе натриевых солей нефтяных сульфокислот (поверхностно-активного вещества)
с добавлением костного клея и спирта или этиленгликоля.
Рабочий раствор пенообразователя получают путём
смешивания пенообразователя (6-ти процентной концентрации) с водой (94% воды).
При получении пены большое значение имеет жесткость воды, с увеличением
жесткости воды снижаются пенообразующие и огнетушащие свойства
пенообразователя. Пену средней кратности получают, пропуская через генераторы
рабочий раствор под давлением 0,4-0,6 МПа. Дальность подачи струи пены
достигает 13 м.
Для подачи пены в резервуары используются
пеногенераторы типа ГВПС (воздушно- механическая пена), монтируемые в верхнем
поясе резервуара.
При пожаре замки, удерживающие герметизирующую
крышку (крышка предотвращает потери нефти от испарения), расплавляется, крышка
под собственным весом падает, освобождая проход пены к горящей нефти. При
тушении резервуара применяется пена кратностью 100 (кратность - это отношение
объёма пенообразователя к объёму полученной пены).
Наиболее эффективным способом тушения пожара
открыто горящего резервуара с нефтью является система подслойной подачи
огнетушащей пены низкой кратности на основе фторированных пенообразователей
типа "лёгкая вода", который не смешивается с нефтью и способен
образовать пену при наличии противодавления со стороны резервуара.
Пенообразователь подаётся в основание резервуара и поднимаясь на поверхность
горящей нефти образует устойчивое покрытие.
На НПС используются два вида систем
пожаротушения:
Система пожаротушения с использованием
предварительно приготовленного пенного рабочего раствора;
Система пожаротушения, где приготовление пенного
раствора происходит с помощью пеносмесителей (эжектора) в момент тушения
пожара.
Правила эксплуатации резервуаров
Резервуарное оборудование должно подвергаться
осмотрам по календарному графику, разработанному в соответствии с
установленными сроками и утвержденному главным инженером Альметьевского РНУ.
На каждый резервуар должна быть составлена
технологическая карта. Технологическая карта утверждается главным инженером ОАО
СЗМН.
В операторной НПС должна находиться
технологическая схема резервуарного парка.
Разрешение на наполнение и опорожнение
резервуара должно быть дано только после того, как обслуживающий персонал удостоверится
в правильности открытия и закрытия задвижек согласно заданной схемы перекачки.
Максимальная производительность наполнения
(опорожнения) резервуара не должна превышать суммарной пропускной способности,
установленных на резервуаре дыхательных клапанов. Максимально-допустимая
производительность наполнения указывается в технологической карте резервуара.
Замер уровня должен осуществляться
дистанционными приборами типа «Корвол».
Удаление из резервуаров подтоварной воды
производится средствами, предусмотренными проектом.
а осадкой основания каждого резервуара должно
быть установлено систематическое наблюдение путем нивелировки покрытия
резервуара. Нивелировку покрытия следует проводить не реже 1 раза в пять лет.
Для измерения осадки оснований резервуаров на
территории НПС должны быть установлены реперы.
Запрещается загромождать покрытия резервуара
посторонними предметами и демонтированным оборудованием.
В течение всего времени эксплуатации резервуаров
необходимо:
поддерживать полную техническую исправность и
герметичность резервуаров и резервуарного оборудования;
постоянно обеспечивать требуемую
газонепроницаемость покрытия и поддерживать в резервуаре давление и вакуум в
допускаемых проектом пределах;
проводить систематический контроль содержания
нефтяных паров в воздушных зонах резервуарного парка путем отбора и анализа
проб, места отбора проб газовоздушной смеси определяются и утверждаются главным
инженером предприятия.
В случаях замерзания арматуры резервуаров и
резервуарного оборудования для их разогревания должны быть применены водяной
пар или горячая вода.
С помощью стационарных систем предотвращения
накопления донных отложений из резервуаров периодически должны удаляться донные
отложения.
В огневых предохранителях дыхательной арматуры
обеспечить чистоту пакетов с гофрированными пластинами.
На покрытиях резервуаров уровень водяного экрана
должен постоянно поддерживаться на проектной отметке.
1.3 Вспомогательные системы
насосного цеха нефтепровода «Набережные Челны - Альметьевск»
Вспомогательные системы НПС служат для
нормального функционирования магистральной насосной станции и должны всегда
находиться в исправном работоспособном состоянии.
Вспомогательное оборудование перекачивающих
станций условно можно разделить на две категории: вспомогательное оборудование
насосной станции и вспомогательное оборудование объектов обслуживающего
назначения.
К первой категории относится все оборудование
систем смазки и охлаждения, ко второй - котлы, насосы системы канализации,
насосы пожарного, производственного водоснабжения.
Система смазки
Основное насосно-силовое оборудование в
нефтенасосной №1 перекачивающей станции имеет принудительную систему смазки.
Она предназначена для смазки и охлаждения подшипников качения и скольжения
насосов и электродвигателей. Ее схема приведена в Приложении Ж.
Маслоустановка должна соответствовать
климатическому исполнению УХЛ, категории размещения 4 ГОСТ 15150-69, воздушные
маслоохладители установлены на открытом воздухе.
В качестве смазки подшипников применяется
турбинное масло Т-22 или Т-30 (использование масла ТП-22С согласовывается с
заводом изготовителем). Техническая характеристика масла, применяемого в
системе маслосмазки, должна соответствовать требованиям ГОСТ-32-74.
Система смазки магистральных насосных агрегатов
состоит из рабочего и резервного электронасосных агрегатов, оборудованных
фильтрами очистки масла, рабочего и резервного маслобаков, запорно-регулирующей
арматуры, аккумулирующего маслобака и двух маслоохладителей.
Агрегат электронасосный типа "Ш"
предназначен для подачи масла в систему маслоснабжения, он состоит из
шестеренчатого насоса типа РЗ-30Н, электродвигателя и монтажной плиты.
Техническая характеристика насоса, применяемого
в системе смазки насосных агрегатов, приведена в таблице 1.8.
Таблица 1.8 - Характеристика насоса РЗ-30Н
|
Марка
|
Подача,
м3/ч
|
Давление
нагнетания, кгс/см2
|
Мощность
привода, кВт
|
Частота
вращения вала, об/мин
|
К.
п. д., %
|
Масса
с приводом, кг
|
|
РЗ-30Н
|
18,0
|
4,2
|
5,5
|
1000
|
62
|
174,0
|
Маслобак предназначен для размещения масла,
подаваемого в систему маслоснабжения. Бак представляет собой емкость сварной
конструкции. На крышке бака имеется воздушник для вентиляции полости. Внутри
бака имеются перегородки для уменьшения пенообразования. Дно бака имеет уклон в
одну сторону для улучшения условий опорожнения и очистки. Слив отстоя
производится через пробно-спускной кран. В нижней части бака имеются лапы для
крепления к фундаменту и крюки для подъема.
Маслоохладитель предназначен для охлаждения
масла, подаваемого в систему маслоснабжения. В качестве маслоохладителя
применяется аппарат воздушного охлаждения малопоточный MX-8, который
монтируется на открытом воздухе.
Таблица 1.9 - Техническая характеристика
маслоохладителя МХ-8
|
№
п/п
|
Наименование
показателей
|
Показатели
|
|
1.
|
Расход
масла, м3/ч
|
16
|
|
2.
|
Поверхность
охлаждения, м2
|
8
|
|
3.
|
Расход
охлаждающей воды, м3/ ч
|
25
|
Фильтр предназначен для фильтрации масла,
поступающего в систему маслоснабжения. Корпус фильтра имеет патрубки подвода и
отвода масла, лапы для крепления. Фильтр состоит из двух фильтрующих патронов.
В каждом патроне устанавливается по 44 фильтрующих элементов. При работе
маслоустановки в действии находится один фильтрующий патрон, второй патрон в
резерве.
Маслоустановка выполнена со 100% резервом. В
работе находится один из маслобаков, один из маслонасосов, один из фильтрующих
патронов двойного фильтра, один маслоохладитель, второй находится в резерве.
Масло с основного маслобака самотеком, через открытые задвижки на линии
всасывания, поступает к работающему маслонасосу типа РЗ-30Н (МН-1). Схемой предусмотрена
как параллельная, так и последовательная работа маслоохладителей, что
осуществляется открытием или закрытием соответствующих задвижек на
маслопроводе. Затем масло проходит через маслофильтры (Ф-1, Ф-2) и подается на
маслоохладители (МО №1, МО №2), откуда поступает на насосы и электродвигатель,
а часть масла поступает в аккумулирующий бак, расположенный на высоте 7 м от
уровня пола насосной. С аккумулирующего бака масло подается к подшипникам
насосного агрегата во время аварийного отключения масляных насосов под
действием гидростатического давления. Рабочая температура масла в общем
коллекторе перед поступлением на магистральные насосные агрегаты должна
находится в интервале от +35˚С до +55 ˚С. При низкой температуре
масла допускается работа маслосистемы, минуя маслоохладители.
Давление масла перед подшипниками насоса и
электродвигателя устанавливается не более 0,08 МПа и не менее 0,03 МПа.
Регулирование подачи масла к каждому подшипнику осуществляется с помощью
подбора дроссельных шайб, устанавливаемых на подводящих маслопроводах.
Система охлаждения
Система охлаждения нефтенасосной №1 включает в
себя комплекс оборудования, предназначенного для водяного охлаждения
электродвигателей магистральных агрегатов.
В комплекс оборудования входят:
Два консольных насоса 6К-12 производительностью
162 м3/ч. напором 2,0 атм.
Градирня для хранения воды и ее охлаждения.
Системы трубопроводов подающих воду от градирни
к насосам, от насосов к электродвигателям.
Охлаждение электродвигателей нефтенасосной №1
осуществляется холодной водой, подаваемой из градирни водяными насосами (НВ№1,
НВ№2) в нагнетательную линию (см. Приложение Ж). Отработавшая (нагревшаяся)
вода по линии обратно поступает в градирню для охлаждения.
Для нормальной работы системы оборотного
водоснабжения нефтенасосной №1 необходимо заполнить систему водой.
Для заполнения чаши градирни водой необходимо
открыть задвижку находящуюся в колодце пожарного стояка ПС-10.
Заполнение градирни производить до уровня
воронки переливной трубы.
Открыть вентили входа и выхода воды на ВОПы
основных электродвигателей.
Перед включением в работу насоса оборотного
водоснабжения открываются, приёмная и выкидная задвижки насоса.
После пуска насоса в работу открываются задвижки
на всасывании и нагнетании резервного водонасоса, и из него также стравливается
воздух.
Во время работы насоса оборотного водоснабжения
необходимо следить за:
давлением на выкидном коллекторе по манометру.
Давление должно быть в пределах 1,5-2 атм. Если давление ниже 1,5 атм., то
необходимо убедиться в закрытии вентиля подающего воду в чашу градирни, если
открыт - то закрыть. Если давление не поднимается, то необходимо прикрыть
задвижки на стояках градирни подающие воду наверх, помня при этом, что падающая
вода сверху в чашу градирни по количеству должна быть одинакова в обеих секциях
градирни. Если давление в нагнетательной линии водонасоса выше 2-х атм., то
приоткрываются задвижки на стояках градирни;
целостностью трубопроводов и отсутствием
пропусков воды в местах соединений;
уровнем воды в чаше градирни, который не должен
быть ниже 0,5 метра от воронки переливной трубы и не должно сильным потоком
переливаться через сливную трубу в канализацию;
готовностью к работе резервного водонасоса.
по мере загрязнения необходимо заменять воду в
чаше градирни. При этом грязная вода через дренажный вентиль в колодце №5
сливается в канализацию.
Система сбора и откачки утечек
Основные и подпорные насосы перекачивающей
станции снабжены сальниковым или торцовым уплотнениями. Конструкция уплотнения
не исключает небольшой утечки нефти, предназначенного для смазки и охлаждения
трущихся поверхностей. Поэтому предусматривается система сбора утечек.
Система сбора утечек нефти с подпорных насосных
агрегатов состоит из двух насосов РЗ-30Н производительностью 18м3/ч, напором
5,3 атм. и резервного насоса ВКС-2/26 производительностью 7,2 м3/ч напором 2,6
атм., емкости для сбора утечек V=1 м3, системы трубопроводов для сбора нефти в
емкость для утечек и откачки нефти из емкости в пром.канализацию НПС. Емкость
для сбора утечек должна быть откалибрована. Утечки нефти с сальниковых
уплотнений насосов поступают в емкость сбора утечек. Система утечек оснащена
защитой по максимальным утечкам. Для контроля утечек магистральных насосных
агрегатов установлен бачок сигнализации особой конструкции. При превышении
рабочего уровня нефти в бачке срабатывает защита на отключение насосного
агрегата. Откачка нефти из емкости сбора утечек производится автоматически,
включением шестерёнчатого насоса типа РЗ-З0Н, ВК-2/26 в промканализацию и далее
в нефтеловушку.
Система вентиляции
При перекачке нефти не всегда удается полностью
исключить выделение паров из нефти, которые вместе с воздухом образуют
взрывоопасные смеси. Поэтому здания насосных оборудуются системой
принудительной приточно-вытяжной вентиляции, предназначенной для контроля и
регулирования процентного содержания паров нефти в атмосфере нефтенасосного
помещения. Из этих же соображений насосный зал обогревается воздухом,
подогретым в специальных теплообменниках - калориферных установках. Различают три
вида вентиляции: приточная, вытяжная и подпорная. Приточная вентиляция
(Приложение Г) предназначена для создания притока свежего воздуха в насосный
зал. Вытяжная вентиляция (Приложение Д) служит для вытяжки воздуха в атмосферу,
вместе с парами нефти, из насосного зала. Подпорная вентиляция служит для
создания избыточного регулируемого давления воздуха в корпусе электродвигателя,
что предотвращает попадание паров нефти в корпус и образование взрывоопасной
смеси.
Перед пуском нефтенасосной в работу необходимо
включить всю вытяжную и приточную вентиляцию, проверить, открыты ли полностью
все дефлекторы, как в подпорной части, так и в основной. Во время остановок
нефтенасосной необходимо оставлять в работе не менее двух вытяжных
вентиляторов, один у магистрального агрегата и один в подпорной части во
избежание образования загазованности.
Включение приточных и обще обменных вытяжных
вентиляционных установок производится за 10-15 минут до начала работы зала. При
этом сначала включает вытяжные, а затем приточные вентиляционные установки.
Включение приточных и общеобменных вытяжных
установок производится через 10-20 минут, после окончания работы цеха. Сначала
включают приточные, а затем вытяжные установки.
1.4 Анализ работы нефтепровода
Расчеты проведены для следующих видов перекачек:
) Перекачка осуществляется от НПС
«Альметьевск-3» до Нижнекамского НПЗ, перекачка с НПС «Наб.Челны» не
осуществляется.
а) Работает один магистральный насос ЦНС
300-600;
б) Работает два магистральных насоса ЦНС
300-600;
в) Работает три магистральных насоса ЦНС
300-600;
) Перекачка осуществляется с НПС «Альметьевск-3»
и НПС «Наб. Челны» до Нижнекамского НПЗ.
) Перекачка осуществляется от НПС
«Альметьевск-3» до Нижнекамского НПЗ, перекачка с НПС «Наб.Челны» не
осуществляется:
Исходные данные:
Так как диаметр трубопровода не постоянный то
разобьем его на 2 участка:
Первый - длинной L1=82290 м, диаметром D1=530х8
мм
Второй - длинной L2=29600 м, диаметром D2=720х8
мм
Геодезическая высота начала 1-го участка
трубопровода zн=138 м
Геодезическая высота конца 2-го участка
трубопровода zк=206,25 м
Эквивалентная шероховатость kэ=0,2 мм
Напор остаточный hост=35 мм
Кинематическая вязкость нефти n=38
сСт
Рабочая характеристика нефтепровода построена в
программе Microsoft Exel, полученные результаты сведены в таблицу
Таблица 1.10 - Полные потери напора в
трубопроводе в зависимости от расхода
|
Q,
м3/ч
|
ht1,
м
|
ht2,
м
|
Hсум,
м
|
|
300
|
48,504
|
3,916
|
156,72
|
|
350
|
63,524
|
5,128
|
173,28
|
|
400
|
80,246
|
6,478
|
191,71
|
|
450
|
98,615
|
7,961
|
211,96
|
|
500
|
118,581
|
9,573
|
233,97
|
|
550
|
140,105
|
11,311
|
257,69
|
|
|
600
|
163,149
|
13,171
|
283,10
|
|
|
650
|
187,680
|
15,152
|
310,14
|
|
|
700
|
213,669
|
17,250
|
338,79
|
|
|
750
|
241,088
|
19,464
|
369,01
|
|
|
800
|
269,915
|
21,791
|
400,79
|
|
|
850
|
300,125
|
24,230
|
434,09
|
|
|
900
|
331,698
|
26,779
|
468,90
|
|
|
950
|
364,616
|
29,436
|
505,18
|
|
|
1000
|
398,859
|
32,201
|
542,93
|
|
|
1050
|
434,410
|
35,071
|
582,12
|
|
|
1100
|
471,255
|
38,046
|
622,74
|
|
|
1150
|
509,378
|
41,123
|
664,76
|
|
|
1200
|
548,765
|
44,303
|
708,18
|
|
|
1250
|
589,402
|
47,584
|
752,98
|
|
|
1300
|
631,277
|
50,965
|
799,14
|
|
|
1350
|
674,377
|
54,444
|
846,65
|
|
|
|
|
|
|
|
|
|
|
В качестве примера приведен расчет для расхода
800 м3/ч.
Скорость течения нефти
, (1.1)
где Q - расход в нефтепроводе,
м3/ч;- внутренний диаметр нефтепровода, м
Число Рейнольдса
, (1.2)
где n - кинематическая вязкость нефти, м2/с
Переходные числа Рейнольдса
(1.3)
(1.4)
где kэ - эквивалентная
шероховатость.
для первого участка трубопровода
Так как Re<ReI, то режим течения
в зоне гидравлически гладких труб.
для второго участка трубопровода
Так как Re<ReI, то режим течения
в зоне гидравлически гладких труб.
Коэффициент гидравлического
сопротивления в зоне гидравлически гладких труб определяется
, (1.5)
Потери напора на трение
, (1.6)
где g - ускорение свободного падения, м/с2.
Полные потери напора в трубопроводе
, (1.7)
где(
) - разность геодезических отметок
конца и начала трубопровода;ост - остаточный напор в конце трубопровода.
Напорная характеристика насоса от
его расхода описывается уравнением полинома, которая была определена в
программе Microsoft Exel (рисунок 1.8):
= -0,0043x2 + 1,7764x + 456,62 ,
гдеу - напор насоса, м;
х - расход насоса, м3/ч.
Рис. 1.8 - Характеристики насосов серии ЦНС
Определение рабочей точки (все рабочие точки
определены в программе Q_Basic (Приложение К):
) При работе одного магистрального насоса ЦНС
300-600.
Результаты расчета:
2) При работе двух магистральных насосов ЦНС
300-600
Результаты расчета:
) При работе трех магистральных насосов ЦНС
300-600
Результаты расчета:
Рис. 1.9 - Совмещенная характеристика
нефтепровода и перекачивающей станции при различном числе работающих насосов
) Перекачка осуществляется с НПС «Альметьевск-3»
и НПС «Наб.Челны» до Нижнекамского НПЗ.
Исходные данные:
Имеем три участка нефтепровода:
Первый - длинной L1=82290 м, диаметром D1=530х8
мм
Второй - длинной L2=13000 м, диаметром D2=530х8
мм
Третий - длинной L3=29600 м, диаметром D3=720х8
мм
Геодезическая высота начала 1-го участка
трубопровода z1=138 м
Геодезическая высота начала 2-го участка
трубопровода z2=84,22 м
Геодезическая высота конца 3-го участка
трубопровода z3=206,25 м
Геодезическая высота в точке соединения 1-го
участка и 2-го участка трубопровода zо=136,61 м
Эквивалентная шероховатость kэ=0,2 мм
Напор остаточный hост=35 мм
Кинематическая вязкость нефти n=38
сСт
На НПС «Наб.Челны» установлены насосы ЦНС
300-360 (Приложение Е), в работе находятся три насоса, один в резерве. Напорная
характеристика насоса от его расхода описывается уравнением полинома, которая
была определена в программе Microsoft Exel:
= -0,0023·x2 + 0,937·x + 224,57 ,
Для наглядности приведу расчетную схему:
Рис. 1.10 - Расчетная схема перекачки
Запишем систему уравнений Бернулли:
, (1.8)
где Но - напор необходимый, для
перекачки нефти по третьему участку нефтепровода, м.
Решить в ручную такую систему
невозможно или очень затруднительно. Для этого в программе Q_Basic была
написана программа (Приложение Л), которая дала следующие результаты.
Из расчетов видно, что при работе
трех магистральных насосов на НПС «Альметьевск - 3» расход в трубопроводе
больше тогда, когда перекачки с НПС «Наб.Челны» не осуществляется. При работе
одного или двух магистральных насосов на НПС «Альметьевск - 3» осуществлять
перекачку не выгодно, так как рабочая точка находится за пределами рабочей зоны
насоса.
1.5 Расчёт величины минимального
допустимого уровня в резервуаре
Минимальный допустимый уровень
(Нмин.доп) - уровень,
дальнейшее снижение которого ограничивается воронкообразованием и кавитацией
насосов.
Минимальный уровень по
воронкообразованию определяется в зависимости от конструктивного расположения
приёмо-раздаточного патрубка (ПРП), его диаметра и производительности
опорожнения резервуара, которая зависит от производительности напорного участка
нефтепровода при схеме перекачки «через резервуары» и максимальной разности
производительностей приёмного и напорного участков при схеме перекачки с
«подключенными резервуарами».
Согласно РД 153-39.4-077-00 величина
Н мин доп определяется по формуле
Нмин.доп = Нкр + А, где (1.9)
Нкр - критическая высота уровня
жидкости в резервуаре, при которой начинается устойчивое истечение с воронкой,
м.
А - расстояние от днища резервуара
до оси приёмораздаточного патрубка, м., значения А определяются по паспорту
резервуара.
, где (1.10)
-
критерий Рейнольдса; (1.11)
-
диаметр приемо-раздаточного патрубка, м;
w
- скорость в
одном приемо-раздаточном патрубке, м/с.
Определяется по максимальной
производительности заполнения - опорожнения резервуара Q, м3/с.
n
-
кинематическая вязкость при максимальной температуре перекачиваемой жидкости,
м2/с;
j
- угол среза
приемо-раздаточного патрубка, рад.
При наличии в резервуаре хлопушек с
горизонтально или максимально поднятой крышкой угол среза ПРП следует принимать
равным j=30 град.
Расчетный минимальный допустимый
уровень Hмин.доп в резервуаре определяется по максимально возможной
производительности участка нефтепровода, то есть при Q=1015,51м3/ч, при работе
трех магистральных насосов.
Так как в резервуаре имеется
хлопуша, то угол среза ПРП равен j=30
град. [22]
Значение А=700 мм для резервуаров
типа РВСП объемом 10000м3 (рисунок 1.10).
Рис. 1.11 - Вид приемо-раздаточного
патрубка
(1.12)
1.6 Расчет бескавитационного условия
всасывания насосов насосной №2
Исходные данные:
Тип насоса: ЦНС 300-600;
Количество насосов: три
Подача насосов: Q=1015,51 м3/ч;
Вязкость нефти: n=38·10-6 м2/с;
Плотность: 890 м3/с;
Давление насыщенных паров: рs =28
кПа
Давление атмосферное: ра =100 кПа;
Таблица 1.11 - Характеристики
технологического трубопровода (от насосной до самого дальнего резервуара
РВСП№14)
|
Диаметр
внешний Dвн, мм
|
Толщина
стенки d, мм
|
Диаметр
внутренний D, мм
|
Длина
трубы L, м
|
Местные
сопротивления, шт
|
|
|
|
|
Задвижка
(x=0,15)
|
Поворот
90о плавный (x=0,23)
|
Тройник
(x=0,32)
|
Фильтр
(x=1,7)
|
Вход
в трубу (x=1)
|
|
820
|
8
|
804
|
409,8
|
4
|
1
|
10
|
1
|
1
|
|
377
|
8
|
361
|
73,1
|
1
|
1
|
2
|
-
|
-
|
|
325
|
10
|
305
|
19,6
|
1
|
-
|
-
|
-
|
-
|
|
219
|
10
|
199
|
6,7
|
-
|
2
|
-
|
-
|
-
|
Эквивалентная шероховатость kэ=0,2 мм
Отметка днища резервуара: zр=144,7 м;
Отметка оси насоса: zн=138 м;
Минимальный допустимый уровень в резервуаре:
Нмин.доп.=1 м
Условие беcкавитационной работы насоса
определяется выражением:
, (1.13)
где
- потери на трение по длине
трубопровода, м;м.с. - потери на местное сопротивление, м ;
Dz=Нмин.доп.+zр-zн,
(1.14)
Первый участок нефтепровода:
Скорость течения на участке
, (1.15)
Число Рейнольдса
, (1.11)
Переходные числа Рейнольдса
(1.16)
(1.17)
Так как Re<ReI, то режим течения
в зоне гидравлически гладких труб.
Коэффициент гидравлического
сопротивления в зоне гидравлически гладких труб определяется
, (1.18)
Полные потери напора на первом
участке трубопровода.
, (1.19)
где
- сумма коэффициентов местных
сопротивлений;
Расчеты для остальных участков
трубопровода были произведены в программе Q_Basic (Приложение М)
Из расчета видно, что располагаемый подпор
меньше допустимого, следовательно для бескавитационного всасывания насосов
уровень нефти в резервуаре должен быть больше минимально допустимого уровня
Нмин.доп. на
Ндоп. - Нр=12,65-11,32=1,33 м
Так как условие бескавитационного всасывания
было рассчитано для максимальной производительности нефтепровода, то во всех
остальных случаях условие безкавитационного всасывания будет выполняться.
1.7 Расчет системы приточно-вытяжной
вентиляции насосного цеха
.7.1 Методика расчета приточной
вентиляции
Задачами расчета приточной вентиляции с
механическим побуждением являются определение размеров воздуховодов, а также
подбор вентиляторов и калориферов.
Расход приточного воздуха в насосном цехе
определяется по нормируемой кратности воздухообмена
, (1.20)
где
- объем помещения насосной; для
помещений высотой 6 метров и более следует принимать
, (1.21)
где
- площадь помещения;
- нормируемая кратность
воздухообмена, 1/ч.
Кратность воздухообмена в помещениях
насосных при перекачке нефтепродуктов и малосернистых нефтей
, а при
перекачке сернистых нефтей
.
Расчетная схема приточной системы
вентиляции приведена на рисунке 1.7.
Схема включает несколько расчетных
участков с постоянным по длине расходом воздуха. Границами между отдельными
участками являются тройники с переходами.
Воздух поступает в помещение через приточные
сетчатые насадки и забирается через воздухозаборную шахту с жалюзийной
решеткой. Для последнего участка, состоящего из диффузора, на двух
последовательно установленных калориферов, отвода под углом 90° и шахты с жалюзийной
решеткой, потерю давления можно принять ориентировочно равной 100… 150 Па.
Расчет воздуховодов (круглых или
прямоугольных) начинают с наиболее удаленного от приточной камеры участка 1.
Площадь сечения участка
находится
по формуле
, (1.22)
где
- объемный расход воздуха в участке;
- рекомендуемая скорость воздуха,
.
В соответствии с найденной величиной
и выбранной
формой воздуховода выбирается стандартный диаметр или размеры сторон
прямоугольного сечения канала.
Фактическую скорость воздуха находят по формуле
, (1.23)
где
- фактическая площадь сечения
участка 1.
Потери давления при движении воздуха
в участке
, (1.24)
где
- плотность воздуха,
;
,
- длина и эквивалентный диаметр
участка;
,
- коэффициент гидравлического
сопротивления и сумма коэффициентов местного сопротивления для рассматриваемого
участка.
При гидравлическом расчете круглых
воздуховодов эквивалентный диаметр равен их фактическому диаметру, а для прямоугольных
, (1.25)
нефтепровод насос
резервуар вентиляция
где
,
- длина сторон сечения воздуховода.
Коэффициент
в формуле
(1.24) принимается равным 0,15…0,25.
Потери давления на преодоление
местных сопротивлений находятся по формуле
. (1.26)
При определении
необходимо
руководствоваться данными из СНиП 2.04.05-91 (2000).
Для подогрева воздуха, подаваемого в
помещение насосной, используются калориферы.
Перепад давления в калориферах КФС
зависит от весовой скорости воздуха
и описывается формулой вида
.(1.27)
Выбор калорифера производится по
необходимой поверхности нагрева калориферной установки, которая находится по
формуле
, (1.28)
где
- теплоемкость воздуха при
температуре
;
- конечная температура нагретого
воздуха;
- начальная температура
нагреваемого воздуха;
- коэффициент теплопередачи
калорифера;
- средняя температура теплоносителя;
- средняя температура нагреваемого
воздуха.
Коэффициент теплопередачи в
калориферах
может быть
определен по следующим эмпирическим формулам:
при обогреве паром
(1.29)
- при обогреве водой

, (1.30)
где
- скорость воды в трубках
калорифера.
Выполнив расчет потерь давления на
трение и на местные сопротивления для каждого участка, вычисляют давление,
которое должен развивать вентилятор, после чего выбирают его тип.
1.7.2 Методика расчета вытяжной
вентиляции
При перекачке нефти её пары
скапливаются преимущественно у пола помещения насосной. Поэтому основной объем
вытяжки (80%) удаляется принудительной вентиляцией из нижней зоны, а остальные
20% - с помощью дефлекторов из верхней зоны. Соответственно суммарный расход
воздуха через дефлекторы
(1.31)
А расход воздуха, удаляемого с
помощью вентиляторов
(1.32)
Один дефлектор обслуживает площадь
поверхности кровли, равную 15…20 м2.
Задачей расчета дефлектора является
определение диаметра его патрубка
(1.33)
где Qд - производительность
дефлектора;
uд
- скорость воздуха в патрубке дефлектора.
Скорость uд при учете только давления
за счет скорости ветра uв (без учета
разности плотностей воздуха внутри и вне здания)
(1.34)
где Sz - сумма коэффициентов местных сопротивлений, Sz=1,7;д - длина патрубка
дефлектора.
Совместное решение (1.33) и (1.34)
дает трансцендентное уравнение
Однако при
оно
решается в явном виде
(1.35)
Скорость ветра, обдувающего
дефлектор, принимается согласно [7].
По найденной величание диаметра
патрубка выбирается № дефлектора.
1.7.3 Расчет вытяжной системы
вентиляции
Задачей расчёта вытяжной вентиляции с
принудительным удалением воздуха является определение размеров воздуховодов и
подбор вентиляторов. Расчетная схема представлена на рисунке 1.8. Длины
отдельных участков: l1 = 10,5 м; l2 = l4 = l6 = l8= 2,5 м; l3 = l7=8 м; l5 = 10
м; l9 = 7,2 м; l10 = 2 м;
Калориферы должны обеспечить
подогрев воздуха от 238 К до 296,4 К. Теплоноситель - вода с температурой 353
К, прокачиваемая со скоростью 0,4
, средняя температура нагреваемого
воздуха 268 К [1].
Рис. 1.12 - Расчетная схема
приточной системы вентиляции помещения насосной
Необходимый расход вытяжного воздуха
по формуле (1.20)
.
Полагая, что расход приточного
воздуха распределяется равномерно, находим расходы по участкам
;
;
;
.
Принимая в отводах uрек=6 м/с и в магистральной
части uрек=8 м/с,
находим площадь сечений каналов по формуле (1.22)
;
;
;
.
В соответствии с найденными
величинами выбираем размеры сечений прямоугольных воздуховодов: для участков 1,
2, 4 и 6 - 400х500 мм, для участка 3 - 500х600 мм, для участка 5 - 600х800 мм,
для участков 7 и 8 - 800х1000 мм [1].
Фактическая скорость воздуха в
воздуховодах и их эквивалентный диаметр находим по формулам (1.23) и (1.25)
Находим суммарные коэффициенты
местного сопротивления. На участке 1 это: выход с плавным поворотом потока
через расширяющийся раструб, отвод, тройник с переходом на проход (режим
нагнетания).
Соответственно
.
На участке 2 имеются следующие
местные сопротивления: выход с плавным поворотом потока через расширяющийся
раструб, тройник-отвод (режим нагнетания). Следовательно
.
Аналогичные значения будут у
участков 4 и 6,
.
У участков 3 и 5
.
На участке 7 имеются следующие местные
сопротивления: 4 отвода 90° и диффузор у вентилятора
.
На участке 8 имеются диффузор, отвод
90° и шахта с жалюзийной решеткой. Для жалюзийной решетки
.
Следовательно
.
При средней температуре воздуха
и
.
Массовая скорость воздуха на участке
8
.
Коэффициент теплопередачи находим по
формуле (1.30)
.
Необходимая поверхность нагрева
калориферной установки определим по формуле (1.28)
.
Выбираем 3 калорифера КФС-11 с поверхностью
нагрева 54,6 м2 [1]. Общая поверхность нагрева составляет 163,8 м2, что
соответствует условию их нормальной эксплуатации.
Гидравлическое сопротивление одного калорифера
по формуле (1.27)
.
Найдем потери давления в каждом из
участков (без учета калориферов) по формуле (1.24)
;
;
;
;
;
;
;
.
Наибольшие гидравлические потери
будут между жалюзийной решеткой и расширяющимся раструбом участка 2
.
Необходимый расход воздуха
обеспечивается установленным центробежным вентиляторам типа Ц 4-70 №8,
развивающими давление до 1000 Па. Вентилятор прокачивает воздух через 3
калорифера.
Таким образом, общий перепад давления
в приточной системе вентиляции
.
Так как
меньше
давления, развиваемого вентилятором Ц 4-70 №8, то условие нормальной
эксплуатации удовлетворено.
Список использованных источников
1.
Тугунов П.И., Новоселов В.Ф., Коршак А.А. Типовые расчеты при проектировании и
эксплуатации нефтебаз и нефтепроводов: Учеб. пособие для вузов. - Уфа: ООО
«ДизайнПолиграфСервис», 2002. - 655 с.
.
Бабин Л.А. и др. Типовые расчеты при сооружении трубопроводов: Учеб. пособие
для вузов. - М.: Недра, 1995. - 246 с.
.
Дерцакян А.К. Справочник по проектированию магистральных нефтепроводов. - Л.:
Недра, 1977. - 519 с.
.
СНиП 2.05.06-85*. Магистральные трубопроводы / Минстрой России. - М.: ГУПЦ ПП,
1997. - 52 с.
.
СНиП 2.11.03-93. Склады нефти и нефтепродуктов. Противопожарные нормы /
Минстрой России. - М.: ГУПЦ ПП, 1993. - 32 с.
.
Абузова Ф. Ф. и др. Техника и технология транспорта и хранения нефти и газа:
Учеб. пособие для вузов.- М.: Недра, 1992 - 320 с.
.
Галлямов А.К. и др. Обеспечение надежности функционирования системы
нефтепроводов на основе технической диагностики. - Уфа: Изд-во УГНТУ, 1997.
-597 с.
.
Нечваль A.M. Проектирование и эксплуатация газонефтепроводов: Учебное пособие,
- Уфа.: ООО «Дизайн Полиграф Сервис», 2001. - 168 с.
.
Прахова М.Ю. Автоматизация производственных процессов в трубопроводном
транспорте. - Уфа: УГНТУ, 2002. - 314 с.
Ю.Клюев
А.С. Техника чтения схем автоматического управления и технического контроля. -
М.: Высшая школа, 1991. -384 с.
.
Методические указания по проектированию систем вентиляции перекачивающих
станций и нефтебаз. Уфа:, изд. УНИ, 1981. -43 с.
.Кушелев
В.П., Орлов Т.Т. Охрана труда в нефтеперерабатывающей и нефтехимической
промышленности. - М.: Химия, 1983. - 472 с.
.
Долин Л.А. Справочник по технике безопасности. - М., 1985.-204 с.
.
Инструкция по устройству молниезащиты зданий и сооружений: РД
-34.21.122-87/Госстрой СССР: Введ. 12.10.87. - М.:Стройиздат,1987,- 49с.
.
Полозков В.Т. Охрана труда и противопожарная защита на магистральных
нефтепроводах. - М.: Недра, 1975.- 224 с.
.ГОСТ
12.1.011-78. Токсичные и пожароопасные свойства веществ.
.
Инструкция по эксплуатации оборудования НПС-3.
.
В.Б. Галеев и др. Магистральные нефтепродуктопроводы. - М.: Недра, 1976. - 360
с.
.
Технологический регламент нефтенасосной №1.
.
Технологический регламент нефтенасосной №2.
.
Паспорт магистрального нефтепровода «Набережные Челны - Альметьевск» Ду 500мм
(0-95,290км).
.
РД 153-39.4-077-00 Методика определения нормативов технологических остатков
нефти в резервуарных парках ОАО «АК«ТРАНСНЕФТЬ».
.
Инструкция по эксплуатации нефтенасосных №№1,2.