Терморегулирующий вентиль. Ремонт ленточного конвейера

  • Вид работы:
    Курсовая работа (т)
  • Предмет:
    Другое
  • Язык:
    Русский
    ,
    Формат файла:
    MS Word
    552,39 Кб
  • Опубликовано:
    2013-02-06
Вы можете узнать стоимость помощи в написании студенческой работы.
Помощь в написании работы, которую точно примут!

Терморегулирующий вентиль. Ремонт ленточного конвейера

МИНИСТЕРСТВО ОБРАЗОВАНИЯ РЕСПУБЛИКИ БЕЛАРУСЬ

Учреждение образования «Гомельское государственное профессионально-техническое училище 79 химиков»










КУРСОВАЯ РАБОТА

Тема: «Терморегулирующий вентиль. Ремонт ленточного конвейера»

Выполнил учащийся А.Ю.Мисоченко

Руководители С.В. Кудрицкая, Д.А. Кушнер



Гомель 2013

Содержание

Введение

. Терморегулирующий вентиль

.1 ТРВ с внутренним уравниванием

.2 ТРВ с внешним уравниванием

.3 Настройка ТРВ

.4 Заправка термобаллона ТРВ

.5 Устранение неисправности «слабый ТРВ»

. Ремонт ленточного конвейера

.1 Общие сведения

.2 Техническое обслуживание механизмов и деталей конвейеров

.3 Неисправности в работе ленточного конвейера и методы их устранения

. Охрана труда

.1 Охрана труда слесаря по ремонту и обслуживанию систем вентиляции и кондиционирования

.2 Охрана труда слесаря-ремонтника

Литература

Приложение

Введение


Слесарь-ремонтник - это специалист, который должен знать устройство ремонтируемого оборудования, агрегатов и машин; способы устранения дефектов в процессе ремонта, сборки и испытания оборудования; конструкцию универсальных и специальных приспособлений; способы обработки различных деталей; свойства материалов и многое другое.

1.      Терморегулирующий вентиль

 

.1 ТРВ с внутренним уравниванием

Терморегулирующий вентиль (ТРВ) - это регулятор, положение регулирующего органа (запорной иглы) которого обусловлено температурой в приборе охлаждения и задача его заключается в регулировании количества хладагента, подаваемого в прибор охлаждения, в зависимости от перегрева паров хладагента на выходе из него. Следует подчеркнуть что ТРВ, не поддерживает постоянное давление всасывания, а регулирует расход хладагента через испаритель, обеспечивает полное испарение хладагента и исключает причины приводящие к гидроудару.

Преимущества холодильных машин с терморегулирующими вентилями:

·        Испаритель быстро и полностью заполняется хладогентом;

·        При изменении условий работы из испарителя выходит газ;

·        В одной и той же установке можно предусмотреть несколько разных испарителей со своим ТРВ.

Терморегулирующий вентиль устанавливается между конденсатором или жидкостным ресивером.

Для того чтобы ТРВ работал нормально, на его вход необходимо подавать жидкий хладагент не содержащий паров. Образование паровых пузырьков может быть вызвано недостатком хладагента в агрегате, слишком малым переохлаждением либо потерей давления на каком либо участке жидкостной магистрали. В последнем случае в жидкостной магистрали хладагент начинает испаряться до входа в ТРВ(эффект «преждевременного дросселирования»),что вызовет снижение производительности.

Термобалон заправляется либо, хладагентом либо инертным газом

1.2 ТРВ с внешним уравниванием

технический ремонт терморегулирующий вентиль

Испарители средней и большой мощности состоят из нескольких параллельно соединенных секций. Это связано с тем, что обеспечить равно мерное испарение хладагента на большой длине трубы (более 5 м) не представляется возможным.

Кроме того, с возрастанием длины трубки испарителя возрастают потери.

ТРВ с внешним выравниванием давления имеют подвод давления из испарителя посредством соответствующей линии (капиллярной трубки), которая отходит от него несколько ниже датчика клапана. Терморегулирующий вентиль с внешним выравниванием давления по принципу действия практически не отличается от ТРВ с внутренним выравниванием. Он состоит из тех же элементов, то есть имеет термостатический элемент, корпус, дюзу, настроечный винт. Отличием ТРВ с внешним выравниванием является дополнительная перегородка под мембраной, которая отделяет полость с давлением кипения Р0, и полость над мембраной с давлением насыщенного пара Р. Эта промежуточная полость находится под давлением Р, так как соединена трубкой с трубопроводом, выходящим из испарителя. Уравнительную трубку присоединяют после термобаллона. Регулирование, обеспечиваемое вентилем, достигается за счет поддержания равновесия между давлением в капсуле и суммой давлений испарения и пружины. Наличие пружины обеспечивает регулировку перегрева.

1.3 Настройка ТРВ


Выполненная при отправке с завода настройка ТРВ соответствует большинству установок. Если возникает необходимость дополнительной регулировки, нужно использовать регулировочный винт. При вращении винта вправо (по часовой стрелке) перегрев повышается, при вращении влево (против часовой стрелки) - понижается. Для ТРВ марки Т2/ТЕ2 полный оборот винта меняет температуру перегрева примерно на 4° при температуре испарения 0°С. Начиная с ТЕ5, полный оборот винта дает температуру перегрева около 0,5°К при температуре испарения 0°С. Начиная с ТКЕЗ, полный оборот винта дает изменение перегрева примерно на 3° при температуре испарения 0°С. Чтобы избежать переполнения испарителя жидкостью, нужно действовать следующим образом. Вращая регулировочный винт вправо (по часовой стрелке), повышать перегрев до прекращения колебаний давления. Затем понемногу вращать винт влево до точки начала колебаний. После этого повернуть винт вправо примерно на 1 оборот (для Т2/ТЕ2 и ТКЕ на 1/4 оборота). При такой настройке колебания давления отсутствуют, и испаритель работает в оптимальном режиме. Изменения перегрева в диапазоне ±0,5 °С не рассматриваются как колебания. Если в испарителе имеет место чрезмерный перегрев, это может быть следствием его недостаточной подпитки жидкостью. Снизить перегрев можно вращая регулировочный винт влево (против часовой стрелки), постепенно выходя на точку колебаний давления. После этого повернуть винт вправо на один оборот (для ТРВ типа Т2/ТЕ2 и ТКЕ на 1/4 оборота).

Замена сменных седел с отверстиями (патронов)

Если не удается найти режим настройки, который устраняет пульсации давления, не исключено, что пропускная способность ТРВ слишком велика. В этом случае, чтобы снизить расход, нужно заменить ТРВ или сменить патрон с отверстием. Если перегрев в испарителе слишком большой, пропускная способность ТРВ мала. Тогда, чтобы повысить расход, нужно также поменять патрон. ТРВ марки ТЕ поставляются с комплектом сменных патронов. ТРВ марки ТКЕ имеют фиксированное отверстие седла.

1.4 Заправка термобаллона ТРВ

В ТРВ существует три типа заправки:

. Универсальная заправка.

. Заправка MOP(MaximumOperatingPressure - максимальное рабочее давление).

. Заправка МОР с наполнителем.

ТРВ с универсальной заправкой наиболее часто применяются в установках, где не требуется ограничение давления и температура капсулы иногда выше температуры в термостате. Они широко используются также при повышенных температурах и давлениях испарения.

ТРВ с заправкой МОР используются в моноблочных агрегатах, в которых при запуске желательно ограничивать давление всасывания авторефрижераторы, воздушные кондиционеры).ТРВ с заправкой МОР имеют небольшое количество жидкости в капсуле. Таким образом, вентиль или термостат должны быть всегда более нагретыми, чем капсула. В противном случае начинается перетекание заправленной жидкости в полость термостата и ТРВ перестает работать.

ТРВ МОР с наполнителем предназначены для холодильных установок, имеющих высокодинамичные испарители, например воздушных кондиционеров, или для пластинчатых теплообменников с высокой интенсивностью теплопередачи. МОР с наполнителем обеспечивает работу при перегреве на 2-4°Книже, чем это достигается с другими типами заправки.

При универсальной заправке количество жидкости в капсуле таково, что какой бы ни была температура капсулы по отношению к температуре термостата, в капсуле всегда будет оставаться жидкость. В капсулах с заправкой МОР количество жидкости ограничено. МОР (максимальное рабочее давление) - это максимально допустимое в магистралях всасывания и/или испарения давление всасывания и/или испарения соответственно. При достижении МОР жидкость в капсуле испаряется. Когда давление всасывания повышается, вентиль начинает закрываться как только это давление приблизится к давлению МОР менее, чем на 0,3-0,4 бар, до тех пор, пока полностью не закроется. При этом давление всасывания будет равно давлению МОР. При заправке МОР с наполнителем внутри капсулы содержится материал с высокой пористостью, т.е. с большим отношением поверхности к массе. Этот наполнитель создает демпфирующий эффект при регулировке, обеспечиваемой ТРВ: медленное открытие вентиля во время повышения температуры капсулы и быстрое закрытие при понижении. МОР обычно переводят также как «MotorOverloadProtection», т.е. «Защита двигателя от перегрузки».

1.5 Устранение неисправности «слабый ТРВ»

Неисправность, обусловленная недостаточной пропускной способностью ТРВ, охватывает большое число различных отказов, при которых появляются аналогичные симптомы.

Прежде всего необходимо убедиться, что ТРВ выбран правильно. Термобаллон ТРВ должен быть заполнен тем же хладагентом, который используется в холодильной машине. Тип хладагента указывается на корпусе термосифона, иногда в виде цветного кода (R12 - желтый, R22 - зеленый, R502 - фиолетовый). Если в холодильной машине заправлен переходной хладагент, то необходимо уточнить у поставщика хладагента, каким типом ТРВ необходимо комплектовать холодильную установку. Убедиться, что установка заправлена достаточным количеством хладагента. Это определяется по отсутствию пузырьков газа в смотровом стекле жидкостной магистрали. При наличии пузырьков необходимо включить установку на 15-20 мин и добавлять хладагент, соблюдая правила.

Проверить:

1.      Чистоту фильтров.

.        Правильность выполнения монтажа ТРВ.

.        Отсутствие повреждений терморегулирующего тракта ТРВ (термобаллон, капиллярная трубка).

.        Величину давления конденсации. При низком давлении на входе ТРВ его производительность снизится.

.        При необходимости заменить дросселирующий узел (дюзу) или ТРВ.

Неправильно выбранный ТРВ с малым диаметром проходного сечения.

Напомним, что для данного хладагента фактическая производительность ГРВ взаимно зависит от давлений конденсации и кипения. В случае сомнений, только справочные данные разработчика (потребные значения рабочих давлений и точные характеристики ТРВ) смогут дать уверенность в том, что выбранная производительность соответствует требуемой. Внимание! Ремонтник должен быть особенно внимателен, если речь идет о ТРВ, оснащенных взаимозаменяемыми сменными проходными сечениями. К примеру, ТРВ фирмы DANFOSS марки ТЕХ2 для R22 имеет производительность от 7 кВт до 17 кВт для одних и тех же условий функционирования. Точно так же ТРВ фирмы ALCO марки TIE.HW для R22 имеет производительность от 1,2 до 18 кВт. Однако по внешнему виду нельзя с уверенностью утверждать, какой номер проходного сечения установлен в ТРВ. Если у вас появились сомнения, нужно будет извлечь сменный патрон из ТРВ и на его корпусе прочитать выгравированный номер проходного сечения. В этом случае ремонт заключается в том, чтобы установить патрон с увеличенным проходным сечением, приспособленным для получения ожидаемой производительности, а затем правильно отрегулировать ТРВ.

Неправильная настройка. ТРВ недостаточно открыт

Вспомните, что оптимально настроенный ТРВ должен обеспечивать минимально возможный перегрев, который можно поддерживать, не допуская возникновения пульсаций, при этом охлажденный воздух должен иметь температуру, наиболее близкую к температуре, при которой термостат отключает компрессор. Никогда не меняйте настройку ТРВ, если вы не уверены в абсолютной справедливости своего диагноза. Если вы хотите это сделать, примите необходимые меры для того, чтобы, в случае необходимости, вернуться к первоначальной настройке.

Разрушен управляющий тракт ТРВ

Эта неисправность часто возникает вследствие плохого крепления капилляра, соединяющего управляющую полость мембраны ТРВ с термобаллоном. Как правило негерметичность появляется либо в месте подвода капилляра к ТРВ, либо в месте его соединения с термобаллоном в результате чрезмерных вибраций капилляра, а также в самом капилляре в случае, когда имеет место многократное трение капилляра при его вибрациях о какую-либо металлическую деталь установки. Точно установите место повреждения капилляра с целью его замены на аналогичный, обратив внимание на характер повреждения и место разрушения, чтобы при замене не повторить ошибку, допущенную ранее во время монтажа! Примечание. Такая поломка приводит к полному перекрытию проходного сечения ТРВ, что очень быстро вызовет остановку компрессора по сигналу от предохранительного реле НД.Термобаллон ТРВ установлен ниже по потоку от места врезки трубки внешнего уравнивания давления. ТРВ с трубкой внешнего уравнивания давления, установленной неверно по отношению к термобаллону.

В том случае, если уплотнение, обеспечивающее непроницаемость между приемной камерой низкого давления и камерой дросселирования, в результате износа, обусловленного продолжительным трением о направляющие штока иглы ТРВ, потеряет герметичность, появляется опасность частичного проникновения жидкости в полость А Из этой полости незначительное количество жидкости по уравнительной трубке может попасть на выход испарителя и привести к аномальному охлаждению термобаллона, вызывая тем самым неоправданное закрытие ТРВ. Если утечка существует, разница в температурах между точками В и С может быть легко обнаружена простым прикосновением к этим двум трубопроводам. Чтобы избежать этой проблемы, следует считать предпочтительным крепление термобаллона выше по потоку от места врезки уравнительной трубки в точке С на расстоянии не менее 10 см друг от друга.

Управляющий тракт и термобаллон заполнены не тем хладагентом, который используется в установке.

Вспомним, что давление, развиваемое в термобаллоне, является единственной силой, которая используется для открытия ТРВ Когда температура термобаллона повышается, давление внутри него также растет и это повышение давления вызывает открытие ТРВ. Этот ТРВ предназначен для питания испарителя с прямым циклом расширения в небольшом кондиционере и работает на R22. Температура кипения составляет 4 °С, а перегрев поддерживается на уровне 7 К. Поэтому, когда температура в термобаллоне превысит 11 °С, что для управляющего тракта, содержащего R22, эквивалентно давлению в 6 бар, ТРВ начнет открываться. То есть давление открытия ТРВ составляет 6 бар. Следовательно, чтобы ТРВ начал открываться, давление в термобаллоне должно достигнуть 6 бар. Если давление в термобаллоне ниже 6 бар, ТРВ будет закрыт. Представим себе, что в результате ошибки при монтаже или ремонте на ТРВ установили термостатический элемент с термобаллоном, заполненным R12 (Некоторые конструкции ТРВ имеют сменный управляющий тракт, который состоит из мембранного узла, капилляра и термобаллона). Когда температура термобаллона будет равна 11 °С, давление в нем составит только 3.4 бар и, следовательно, ТРВ будет полностью закрыт.

Для того, чтобы ТРВ начал открываться нужно, чтобы давление в термобаллоне поднялось до 6 бар. Для R12 это означает, что температура термобаллона должна повыситься до 27°С!При этом перегрев становится огромным и испаритель будет содержать так мало жидкости, как если бы производительность ТРВ была недостаточной! Как выявить эту аномалию? Сначала нужно удостовериться, что неисправность не вызвана другой причиной. После этого нужно обязательно определить, с одной стороны, какой хладагент используется в установке, а с другой стороны, каким хладагентом заполнен термобаллон и управляющий тракт ТРВ. Тип хладагента, заполняющего управляющий тракт ТРВ, всегда указан на верхней крышке мембранного узла, иногда в виде цветного кода (обычно желтый цвет означает R12, зеленый - R22 и фиолетовый - R502).Однако распространение новых хладагентов может несколько осложнить ситуацию потому что некоторые из них (особенно переходные смеси типа HCFC которые не требуют замены ТРВ) могут работать без проблем с использованием ТРВ не предназначенных для роботы совместно с этими хладагентами! Если наименование хладагента не указано на установке и вы сомневаетесь, к какому типу он относится (хорошим способом определения вида хладагента является соотношение между давлением и температурой), никогда не стесняйтесь спросить у клиента, который располагает необходимой документацией на установку и, как правило, очень хорошо знает ее историю.

Механическое заклинивание штока ТРВ и его заедание при открытии

Эта неисправность может иметь чисто механическую причину и тогда следует просто заменить ТРВ Однако, она может быть вызвана также загрязнениями холодильного контура присутствием влаги, грязи или посторонних частиц, которые налипают на подвижные части (в некоторых крайних случаях внутренние поверхности ТРВ могут становиться клейкими и прилипать к пальцам).В случае нагрязненного контура ремонтник не должен удовлетворится очисткой ТРВ и заменой фильтра-осушителя. Он должен подумать о нежелательных последствиях такого загрязнения (в особенности для компрессора) и провести проверку масла на содержание в нем кислоты. В том случае, если результаты проверки будут положительными, он должен предпринять все необходимые меры для полной очистки системы, иначе компрессор (герметичный или бессальниковый) имеет серьезные шансы быстро выйти из строя.

Закупорка фильтра на входе в ТРВ

Как и предшествующая неисправность, эта аномалия (к счастью, довольно редкая) означает, что холодильный контур крайне загрязнен, а фильтр-осушитель неэффективен Следует предпринять те же меры, что и в предыдущем случае.

Аномальное падение давления конденсации

Мы видели, что производительность ТРВ в значительной степени определяется давлением в магистрали на входе в ТРВ. Когда наружная температура падает, падает также и давление конденсации, и тогда система регулировки конденсатора с воздушным охлаждением должна поддерживать значение давления конденсации в разумных пределах. Какими бы ни были причины отсутствия такого регулирования (неисправность системы регулировки давления конденсации, плохая настройка...), если давление жидкости на входе в ТРВ падает, количество жидкости, которое способен пропустить ТРВ в испаритель также уменьшается, даже если дроссельное отверстие полностью открыто. Как вследствие количество паров, производимых испарителем сильно уменьшается. вызывая падение давления кипения что сопровождается всеми признаками низкой производительности ТРВ.

Следовательно, главное - это при любой наружной температуре постоянно поддерживать на входе в ТРВ высокое давление способное обеспечить на выходе из него нормальную подпитку испарителя жидким хладагентом. Примечание. Однако, некоторые неопытные ремонтники, столкнувшись с падением давления конденсации, имеют тенденцию слишком легко пользоваться регулировочным винтом ТРВ вращают его как попало, что неизбежно приводит к разрегулированию установки. В связи с этим, нам представляется полезным еще раз напомнить, что ТРВ не предназначен для регулировки давления кипения, что настройка ТРВ является трудоемкой и сложной операцией (чтобы сбить настройку иногда достаточно повернуть винт всего на 1/8 оборота) и что для прямого воспроизведения перегрева достаточно зажать термобаллон в ладони вместо того, чтобы бестолково крутить винт настройки ТРВ.

Малое отверстие диафрагмы распределителя

Некоторые модели испарителей, главным образом предназначенные к использованию в торговом холодильном оборудовании, изначально снабжены жидкостным распределителем с взаимозаменяемой сменной диафрагмой, которую можно извлечь из питателя после его демонтажа, удалив стопорное кольцо.

Номер отверстия выгравирован на корпусе диафрагмы, чтобы с уверенностью идентифицировать ее (чем больше номер диафрагмы, тем больше диаметр ее отверстия). Такая конструкция сменной диафрагмы позволяет в зависимости от требуемой температуры кипения (охлаждение или заморозка) и типа используемого хладагента (R12, R22, R134a, R404A, R502...) подобрать производительность испарителя и питателя в соответствии с условиями работы установки. Метод регулировки заключается в том, что для более низких потребных значений температуры кипения устанавливают диафрагму с большим диаметром отверстия. Кроме того, для одинаковых условий работы, установка на R12 (или на R134a) требует диафрагму с более значительным диаметром, чем установка на R22 (или на R404A).Как правило такие испарители имеют диафрагму для R12 (R134a), установленную на заводе изготовителе, но зачастую они снабжаются также запасной диафрагмой для R22 (R404A), вложенной в мешочек внутри упаковки испарителя и входящей в комплект поставки.

Корпус ТРВ более холодный, чем термобаллон

Эта проблема может возникнуть в том случае, если в термобаллоне и управляющем тракте мало жидкости.

Термобаллон ТРВ неправильно установлен

Установка снабжена регулятором давления в картере (пусковым регулятором), но ТРВ находится под действием ограничителя максимального рабочего давления (МОР), иначе называемого защитой мотора от перегрузки.

Небольшой трехходовой злектроклапан управляет большим ТРВ

Этот вариант встречается, когда жидкостная магистраль имеет очень большой диаметр, то есть когда холодопроизводительность установки сравнительно высокая (порядка многих десятков киловатт).

Особенности небольших систем

Особенности расширительных устройств, используемых в малых холодильных установках (домашние холодильники, бытовые индивидуальные кондиционеры, небольшие тепловые насосы).

2.      Ремонт ленточного конвейера

 

.1 Общие сведения


Ленточными конвейерами -являются машины непрерывного действия, основным элементом которых является прорезиненная вертикально замкнутая лента, огибающая концевые барабаны, один из которых, как правило, является приводным, другой - натяжным.

На верхней ветви ленты перемещается транспортируемый груз, она является грузонесущей (рабочей), нижняя ветвь является холостой (нерабочей). На всем протяжении трассы лента поддерживается роликоопорами верхней и нижней ветвей, в зависимости от конструкции которых лента имеет плоскую или желобчатую форму.

Поступательное движение конвейер получает от фрикционного привода, необходимое первоначальное натяжение ленты обеспечивается натяжным устройством. Груз поступает на ленту через одно или несколько загрузочных устройств, разгрузка производится с концевого барабана в приемный бункер (концевая) или в любом пункте вдоль трассы конвейера с помощью барабанных или плужковых разгружателей (промежуточная). Очистка ленты от прилипших частиц груза осуществляется с помощью очистных устройств.

Для обеспечения устойчивого положения груза на ленте угол наклона конвейера должен быть на 10-15° меньше угла трения груза о ленту в покое, т. к. во время движения лента на роликоопорах встряхивается и груз сползает вниз. На конвейерах, имеющих наклонный участок, обязательно устанавливается тормоз.

Преимуществами ленточных конвейеров являются: простота конструкции, высокая производительность при больших скоростях ленты, сложные трассы перемещения, большая протяженность трассы, высокая надежность.

К недостаткам относятся: высокая стоимость ленты и роликов, ограничение перемещения при углах наклона трассы 18-20º, ограниченное использование при транспортировании пылевидных, горячих и тяжелых штучных грузов.

По типу ленты ленточные конвейеры: с прорезиненной лентой; со стальной цельнопрокатной лентой; с проволочной лентой. Наибольшее распространение получили конвейеры с прорезиненной лентой.

По расположению на местности ленточные конвейеры выполняются стационарными и подвижными; передвижными и переносными; переставными (для открытых разработок); надводными, плавающими на понтонах.

По профилю трассы ленточные конвейеры горизонтальные; наклонные; комбинированные: наклонно-горизонтальные и горизонтально-наклонные с одним или несколькими перегибами и со сложной трассой.

Элементы конвейера:

Конвейерная лента является грузонесущим и тяговым элементом ленточного конвейера является бесконечная вертикально замкнутая гибкая прорезиненная лента.

Опорные устройства. Для опоры ленты устанавливают роликоопоры или настил - сплошной (из дерева, стали, пластмассы) или комбинированный (чередование настила и роликоопор). Наибольшее распространение имеют роликоопоры различных типов и конструкций.

Роликоопоры относятся к наиболее массовым элементам ленточных конвейеров. В процессе эксплуатации техническое обслуживание роликоопор предусматривает их периодический осмотр, регулировку и замену, ролики обеспечивают запасом смазки на весь срок эксплуатации.

Ролик состоит из обечайки, изготовленной из отрезка трубы; вкладыша, штампованного из стали или литого из чугуна; оси (или полуоси); подшипника качения (шарикового, а для тяжелых типов - конического роликоподшипника) и его защитного уплотнения. С внутренней стороны подшипник защищен шайбой, канавками во вкладыше или внутренней трубой, которая полностью изолирует его от полости корпуса ролика и служит резервуаром для запаса смазки. Для защиты подшипника с внешней стороны от попадания пыли применяют сложные лабиринтные уплотнения.

Приводы ленточных конвейеров. В ленточном конвейере движущая сила ленте передается с помощью фрикционной передачи (трением) при огибании ею приводного барабана или при контакте приводной ленты с грузонесущей.

Основными элементами привода ленточного конвейера являются один или два (реже три) приводных барабана и приводные блоки, состоящие из электродвигателя, редуктора, соединительных муфт и тормоза, обводные барабаны, пусковая и регулирующая аппаратура.

Приводы ленточного конвейера выполняются

однобарабанными с одним или двумя двигателями;

двухбарабанными с близко расположенными друг около друга приводными барабанами и с раздельным расположением приводных барабанов на переднем и заднем концах конвейера;

трехбарабанными с близко расположенными друг около друга барабанами или с раздельным расположением двух приводных барабанов на переднем и заднем концах конвейера.

Барабаны приводные и неприводные изготавливают сваркой с обечайкой из листовой стали или отливкой из чугуна. По форме обода барабаны выполняют с цилиндрической или выпуклой (бочкообразной) поверхностью - гладкой или с насечками. Тяговые свойства приводного барабана повышают путем увеличения натяжения ленты или угла обхвата лентой приводного барабана, использования высокофрикционных футеровок с продольными или шевронными ребрами (что способствует самоочищению).

Футеровки устанавливаются при помощи специальных клеев на барабаны конвейеров, футеровочные пластины значительно уменьшают сход ленты и ее проскальзывание, а также попадание груза на поверхность барабана, что существенно улучшает работу конвейеров и повышает их технико-экономические показатели.

Загрузочные устройства обеспечивают заданную производительность конвейера, срок службы ленты, величину сопротивления ее движению.

Разгрузочные устройства. Разгрузка ленточного конвейера производится с концевого барабана или на трассе конвейера с помощью плужковых или барабанных разгружателей.

Барабанные разгружатели применяют при загрузке длинных бункерных эстакад или открытых складов. Разгружатели имеют реверсивное движение вдоль всего фронта разгрузки длиной 100 м и более с автоматическим управлением. Схема установки барабанного разгружателя предоставлен на рис.5, в приложение Б

Натяжные устройства. Эти устройства предназначены для создания необходимого натяжения ленты, обеспечивающего сцепление ее с приводным барабаном без проскальзывания, а также для ограничения провисания ленты между опорами и компенсации вытяжки ленты в процессе эксплуатации. Натяжные устройства подразделяются на устройства, создающие нерегулируемое натяжение в ленте, и устройства, регулирующие натяжение ленты в зависимости от значения крутящего момента на приводном барабане.

На ленточных конвейерах устанавливаются винтовые, гидравлические, грузовые, грузолебедочные и грузопружинные натяжные устройства.

Отклоняющие устройства. Направление движения ленты изменяется при помощи концевых оборотных и отклоняющих барабанов; роликовой батареи; по кривой свободного провисания ленты.

Очистные устройства. Для очистки грузонесущей поверхности ленты при сухих и влажных, но не липких грузах применяют одинарные или двойные скребки; при влажных и липких - вращающиеся щетки или барабаны с вращающимися лопастями. Рабочие элементы скребков и щеток выполняют из износостойкой резины, пластмассы, капроновых нитей. Очистные устройства устанавливают у концевых барабанов.

Станина конвейера. Жесткую станину изготавливают из прокатных профилей в виде продольных балок, на которые устанавливают роликоопоры. Гибкая станина состоит из двух или четырех продольных канатов, к которым подвешивают роликоопоры. Станины обоих типов бывают опорные и подвесные.

Контрольные и предохранительные устройства (датчики). На ленточных конвейерах устанавливаются предохранительные устройства, обеспечивающие контроль скорости движения; поперечного сдвига ленты; продольного порыва ленты; целостности тросов (в резинотросовой ленте); функционирования системы подачи смазки к редукторам.

2.2 Техническое обслуживание механизмов и деталей конвейеров


Техническое обслуживание конвейеров включает: осмотр всех элементов конвейера; проверку правильности их работы; регулировку механизмов; ремонт механизмов и деталей.

Техническое обслуживание конвейеров производят визуально при холостом ходе и остановках, во время передачи смены машинистами и дежурными слесарями, при осмотре проверяют: наличие повреждений ленты; прочность стыка; состояние обкладки бортов; качество очистки ленты; прилегание ленты к роликам; правильность хода ленты, загрузки и разгрузки; отсутствие заштыбовки, чрезмерного провисания между роликоопорами.

Посадочные места под подшипники качения на оси роликов, рабочие поверхности барабанов и роликов подвергаются механическому и абразивно-механическому износу, в результате чего происходит изменение их начальных размеров, искажение геометрических форм, появление рисок и задиров. Причиной дефектов является трение поверхностей деталей при значительных давлениях в присутствии абразивной пыли. Сопрягаемые поверхности роликоопор воспринимают динамические и знакопеременные нагрузки, в них возникают различного рода напряжения, в ряде случаев они подвергаются интенсивному старению и износу.

При осмотре конвейера проверяют наличие повреждений ленты, качество ее очистки, прилегание к роликам, правильность хода, разгрузки и загрузки, отсутствие заштыбовки, чрезмерного провисания между роликоопорами и опасности пробуксовки.

Плохая очистка ленты ускоряет ее износ, поэтому очистные устройства должны быть тщательно отрегулированы. Мелкий ремонт ленты выполняют на месте, а при крупных повреждениях на большой длине ленту или ее отдельные участки заменяют.

Сход ленты в сторону должен быть устранен, так как он ведет к повреждению кромок ленты и просыпанию груза на холостую ветвь с переносом на натяжную станцию и заштыбовкой ленты. Эксплуатация при ослабленном натяжении ленты приводит к энергетическим потерям, снижает срок службы ленты и является причиной пробуксовки на приводном барабане, которая ведет к интенсивному износу ленты и футеровки барабана. При работе зимой необходимо следить за тем, чтобы не было обледенения барабанов и ленты.

Техническое обслуживание роликоопор ленточных конвейеров предусматривает их периодический осмотр, регулировку и замену.

При осмотре приводных станций необходимо следить за износом футеровки приводных барабанов, наличием масла в редукторе, состоянием муфт, тормозов и остановов

ТО барабанов ленточных конвейеров предусматривает их осмотр, регулировку и смазку. При осмотре проверяют состояние подшипников по внешним признакам (шум, нагрев) и футеровки (износ, обрыв). Поврежденную футеровку ремонтируют или заменяют на месте без демонтажа барабана. Для устранения нагрева проверяют и регулируют положение барабана, проверяют состояние подшипников. Неисправности подшипниковых узлов происходят из-за отсутствия, избытка или загрязнения смазки, перекоса самого подшипника.

Натяжные устройства при техническом обслуживании осматривают и устраняют неисправности.

При ТО металлоконструкций проводится тщательный осмотр характерных зон возможных повреждений, все расчетные сварные швы, заклепочные и болтовые соединения и другие места вероятного появления трещин: резкие изменения сечений элементов; места примыкания ребер, накладок, косынок; концы сварных швов и места с изменением их толщины и формы.

При обнаружении трещин в ответственных местах металлоконструкций машину не допускают к работе; если дефекты не представляют опасность для нормальной работы машин и обслуживающего персонала, их исправление можно приурочить к очередному ремонту.

2.3 Неисправности в работе ленточного конвейера и методы их устранения


Ремонту подвергают трудоёмкие в изготовлении детали, восстановление которых обходится значительно дешевле вновь изготовляемых. Ремонтируемая деталь должна обладать значительным запасом прочности, позволяющей восстанавливать или изменять размеры сопрягаемых поверхностей (по системе ремонтных размеров), не снижая (в ряде случаев повышая) их долговечность, сохранив или улучшив эксплуатационные качества сборочной единицы агрегата.

Детали подлежат замене, если уменьшение их размеров в результате износа нарушают нормальную работу механизма или вызывает дальнейший интенсивный износ, который приводит к выходу механизма из строя.

При ремонте оборудования заменяют детали с предельным износом, а также износом меньше допустимого, если они по расчетам ни дослужат до очередного ремонта. Срок службы деталей рассчитывают с учетом предварительного износа и интенсивности их изнашивания в фактических условиях эксплуатации.

При дефектовке детали необходимо маркировать порядковым номером ведомости дефектов, а также инвентарным номером оборудования или станка, это облегчает выполнения дальнейших ремонтных операций.

Маркировку выполняют клеймами, краской, бирками, электрографом или кислотой.

Детали, которые при дефектовке решено заменить, хранят до окончания ремонта механизма, они могут понадобиться для составления чертежей или изготовления образцов новых деталей.

3.      Охрана труда

 

.1 Охрана труда слесаря по ремонту и обслуживанию систем вентиляции и кондиционирования


. Требования безопасности во время работы

.1. При ремонте калориферных вентиляционных установок выпустить из них воду или конденсат, отключить их от трубопроводов с энергоносителями (перегретой водой или паром) посредством запорной арматуры с установкой заглушки на гребешках вводов энергоносителей.

.2. Перед пуском вентиляционной системы проверить:

.2.1. Исправность приводного ремня и его натяжение.

.2.2. Наличие ограждения приводных ремней, муфт, концов вала лопастей вентилятора и других вращающихся частей.

.2.3. Исправность контактов заземлений электромотора, его салазок и пусковых приборов.

.2.4. Произвести пробный пуск.

.3. Надевать соскользнувший приводной ремень только после полной остановки электромотора и вентилятора.

.4. Следить, чтобы во время работы установки подшипники не перегревались. При нагревании подшипников устранить причину нагревания. При осмотре и сборке подшипников следить, чтобы они не были сильно затянуты и чтобы в них не попадали опилки, песок, пыль.

.5. Следить, чтобы во время работы не перегревался кожух электромотора.

.6. При работе ремня с ударами, при скольжении ремня остановить вентиляционный агрегат для ремонта.

.7. Следить за исправным состоянием подвесок воздуховода и не допускать их провисания.

.8. При осмотре пылеприемников и пылеочистительных сооружений, а также при очистке от пыли бункеров работу производить в защитных очках и респираторе.

При очистке бункеров от пыли не загрязнять пылью окружающую среду.

.9. При ручной очистке сухой пыли в камерах во избежание взрывов не допускать ударов, вызывающих искрение.

.10. При производстве ремонта или осмотре оборудования на высоте следить за тем, чтобы в этих местах внизу не находились люди.

.11. Разбираемые части складывать так, чтобы они не могли упасть и не мешали работе.

.13. Запрещается влезать внутрь каналов бункеров, укрытий, охладителей до выключения и полной остановки соответствующих установок, снятия плавких вставок, освобождения бункеров от пыли и проветривания внутренних частей установок.

.14. При перерывах в работе венткамеру необходимо закрывать на ключ.

.15. По окончании работ восстановить рабочую схему вентилятора.

3.2 Охрана труда слесаря-ремонтника


. Общие требования охраны труда

.1 К самостоятельной работе слесарем-ремонтником по эксплуатации и ремонту газового оборудования допускаются лица не моложе 18 лет, прошедшие медицинское освидетельствование, вводный инструктаж, первичный инструктаж, обучение и стажировку на рабочем месте, проверку знаний требований охраны труда и соответствующую квалификацию согласно тарифно-квалификационного справочника.

.2 В процессе производства работ слесарю-ремонтнику по эксплуатации и ремонту газового оборудования (далее - слесарь) необходимо выполнять требования инструкций по охране труда соответствующих видов работ, а также требования инструкций заводов-изготовителей по эксплуатации применяемых в процессе работ средств защиты, оснастки, инструмента.

.3 При передвижении по территории и производственным помещениям организации, при использовании переносных лестниц, стремянок следует выполнять требования, изложенные в настоящей инструкции, а так же в инструкциях заводов-изготовителей применяемых механизмов и оборудования, инструкции по противопожарной безопасности, инструкции по оказанию доврачебной помощи при несчастном случае.

.4 Во время нахождения на территории организации, в производственных и бытовых помещениях, на участках работ и рабочих местах, работникам следует соблюдать режим труда и отдыха, правила внутреннего трудового распорядка, утвержденные руководством организации.

.5 В процессе выполнения работ на работника могут воздействовать опасные и вредные производственные факторы, в том числе: -загазованность помещения, рабочей зоны; -пожар; -взрыв; -падение предметов с высоты. Источниками возникновения опасных факторов могут являться: -неисправное газовое оборудование или неправильная его эксплуатация; -неисправный или не по назначению применённый инструмент, приспособление, оснастка, оборудование; -утечка газа. Действие опасных факторов: -наличие газа в воздухе уменьшает содержание в нем кислорода, что приводит к обморочному состоянию; -применение неисправного инструмента, приспособлений, а также несоблюдение требований охраны труда при производстве работ могут привести к травмированию работника; -нарушение Правил пожарной безопасности может привести к пожарам и взрывам.

.6 Слесарь должен быть обеспечен спецодеждой, спецобувью и другими средствами индивидуальной защиты в соответствии с Типовыми отраслевыми нормами бесплатной выдачи специальной одежды, специальной обуви и других средств индивидуальной защиты и Коллективным договором.

.7 Слесарю необходимо знать устройство и принципы действия установленного оборудования.

.8 В случае обнаружения неисправного оборудования, приспособлений, оснастки, инструмента, других нарушений требований охраны труда, которые не могут быть устранены собственными силами, и возникновения угрозы здоровью, личной или коллективной безопасности работнику следует сообщить об этом непосредственному руководителю или в службу охраны руда. Запрещено приступать к работе до устранения выявленных нарушений.

.9 В случаях травмирования или недомогания необходимо прекратить работу, известить об этом руководителя работ и обратиться в медицинское учреждение.

.10 За невыполнение данной инструкции виновные привлекаются к ответственности согласно законодательства Российской Федерации.

. Требования охраны труда перед началом работы

.1 Надеть и тщательно заправить спецодежду, подготовить к использованию другие необходимые для проведения работ средства индивидуальной защиты.

.2 Ознакомиться с технологическим процессом предстоящих работ, получить инструктаж в установленном порядке, расписаться в наряде-допуске на выполнение газоопасных работ.

.3 До начала работ, а также во время производства ремонтных работ необходимо производить анализ проб воздуха, взятых из помещений в которых производятся (будут производиться, производились) газоопасные работы, на наличие газа.

.4 Подготовить рабочее место, убрать ненужные предметы и материалы, освободить проходы.

.5 Перед началом работ слесарю необходимо проверить: -наличие и исправность противогаза; -наличие в помещениях естественной вентиляции; -наличие паспортов заводов-изготовителей на регуляторы давления и предохранительно-запорные клапаны; -наличие пломбы установленного образца у контрольно-измерительных приборов; -наличие в помещениях ГРС и ГРП продувочных и сбросных трубопроводов, которые должны быть выведены в места, обеспечивающие безопасные условия для рассеивания газа, но не менее чем на 1 м выше карниза здания. Продувочные и сбросные трубопроводы должны иметь минимальное число поворотов, на концах трубопроводов должны быть установлены устройства, исключающие попадание в трубопроводы атмосферных осадков; -состояние электроосветительного оборудования, изготовленного во взрывобезопасном исполнении; -наличие и исправность инструмента, необходимого для выполнения работ. Не допускается использование инструмента, приспособлений, оборудования, обращению с которыми слесарь не обучен; -наличие свободного доступа и прохода к противопожарному инвентарю, огнетушителям, гидрантам; -наличие в помещениях где установлено газовое оборудование вывешенных схем устройства газопровода с подробным обозначением всех узлов с указанием параметров настройки регуляторов давления, предохранительного запорного и сбросного клапанов; -наличие с наружной стороны помещения с газовым оборудованием на видном месте предупредительных знаков или надписей «ОГНЕОПАСНО».

.6 Запрещается допускать в помещение с газовым оборудованием посторонних лиц, а также пользоваться в нем открытым огнем и курить.

. Требования охраны труда во время работы

.1 Во время производства работ в помещениях с газовым оборудованием необходимо обеспечить непрерывный контроль работы с улицы через открытую дверь в целях недопущения к месту выполняемой работы посторонних лиц и готовности оказания доврачебной помощи пострадавшим при несчастном случае.

.2 При производстве работ в газовом оборудовании необходимо применять инструмент исключающий искрообразование. В тех случаях, когда по характеру работ неизбежно применение стального инструмента, его необходимо обильно смазать тавотом, литолом либо солидолом для предотвращения искрообразования.

.3 Не допускается использование неисправного инструмента, а также разводных гаечных ключей с применением накладок и пластин.

.4 С внутренней стороны ручек клещей, пассатижей и ножниц по металлу следует установить упор, предупреждающий травмирование пальцев рук.

.5 Во время разборки газового оборудования отключающие устройства на линии редуцирования необходимо перевести в закрытое положение, а на сбросных трубопроводах - в открытое положение. На границах отключенного участка после отключающих устройств необходимо устанавливать заглушки, соответствующие максимальному давлению газа в сети.

.6 Предохранять от загрязнения и механических повреждений газовое оборудование.

.7 Не применять дополнительные рычаги (усилители) при закрывании и открывании вентилей газовой аппаратуры.

.8 Запрещается производить подтяжку болтов при рабочем состоянии регулятора.

.9 Корпус фильтра после выемки фильтрующей кассеты следует тщательно очистить. Разборку и очистку фильтрующей кассеты во избежание воспламенения следует производить вне помещения в местах, удаленных от легковоспламеняющихся веществ и материалов на расстояние не менее 5 м.

.10 Запрещается производить набивку сальников в задвижках среднего и высокого давления, находящихся под давлением. В случае необходимости выполнение указанных работ производить после получения разрешения на снижение давления и оформления наряда-допуска на выполнение газоопасных работ.

.11 В помещениях с газовым оборудованием проведение сварочных и других огневых работ допускается в исключительных случаях при наличии плана производства работ, утвержденного руководителем организации и обязательном принятии мер, обеспечивающих безопасные условия труда работников.

.12 При обнаружении загазованности в помещениях, работы необходимо немедленно прекратить, проветрить помещение, проверить с помощью мыльной эмульсии все соединения трубопроводов и при обнаружении неисправности устранить утечку газа.

.13 При невозможности устранить обнаруженную неисправность слесарю необходимо немедленно прекратить работу, сообщить об этом в аварийную службу и непосредственному руководителю, оставаться на месте (если это возможно) до прибытия бригады для выполнения аварийно-восстановительных работ.

.14 При совместной работе бригады обслуживающей газовое оборудование и бригады аварийно-восстановительных работ ответственным за выполнение работ является мастер бригады аварийно-восстановительных работ.

.15 Контрольно-измерительные приборы, установленные на оборудовании, должны иметь клеймо (пломбу), подтверждающее их пригодность к эксплуатации и соответствие требованиям нормативных актов.

.16 Работы по обслуживанию и ремонту электрооборудования в помещениях газового оборудования выполняются электротехническим персоналом при обесточенном оборудовании в дневное время. В случае неисправности или отсутствия электроосвещения в помещениях, разрешается применение переносных аккумуляторных фонарей во взрывобезопасном исполнении.

.17 Использование технических жидкостей, предназначенных для чистки и протирки оборудования и приборов, не по назначению запрещается.

.18 Во время технического обслуживания и эксплуатации водонагревательного оборудования в случае погасания пламени горелки необходимо выполнить следующие операции: -перекрыть подачу газа; -проветрить помещение; -проверить исправность вытяжной вентиляции.

.19 При розжиге горелок водонагревательного оборудования во избежание ожогов необходимо быть осторожным и находиться на безопасном расстоянии от окошка водонагревательного оборудования.

.20 Установка арматуры, оборудования, а также устройство фланцевых и резьбовых соединений в каналах не допускается.

.21 Оборудование, размещенное на высоте более 5 м, следует обслуживать с площадок, оснащенных лестницами с перилами.

.22 Хранение горючих, легковоспламеняющихся и обтирочных материалов, баллонов с газами и посторонних предметов в помещениях с газовым оборудованием и пристройках к ним запрещается.

.23 Обслуживание газового оборудования необходимо осуществлять бригадой в составе не менее двух человек.

.24 Необходимо соблюдать следующие сроки выполнения мероприятий: -осмотр технического состояния оборудования производится по графику, утвержденному руководством организации; -проверка параметров срабатывания предохранительных запорных и сбросных клапанов производится не реже одного раза в два месяца, а также по окончании ремонта оборудования; -техническое обслуживание производится не реже одного раза в шесть месяцев; -текущий ремонт следует производить не реже одного раза в двенадцать месяцев, если иные сроки не установлены заводом - изготовителем оборудования; -капитальный ремонт следует производить при замене оборудования, средств измерений, отопления, освещения и восстановления строительных конструкций здания.

. Требования охраны труда в аварийных ситуациях

.1 При возникновении аварий и ситуаций, которые могут привести к авариям и несчастным случаям, необходимо:

.1.1 Немедленно прекратить работы и известить руководителя работ.

.1.2 Под руководством ответственного за производство работ оперативно принять меры по устранению причин аварий или ситуаций, которые могут привести к авариям или несчастным случаям.

.2 При внезапном отключении электроэнергии, возникновении постороннего шума при эксплуатации газового оборудования, необходимо прекратить работы, остановить оборудование, вывесить плакат "Не включать!" и сообщить об этом непосредственному руководителю.

.3 Запрещено запускать в работу газовое оборудование до полного устранения неисправности.

.4 При несчастных случаях: 4.4.1 Немедленно организовать первую помощь пострадавшему и при необходимости доставку его в медицинскую организацию;

.4.2 Принять неотложные меры по предотвращению развития аварийной или иной чрезвычайной ситуации и воздействия травмирующих факторов на других лиц;

.4.3 Сохранить до начала расследования несчастного случая обстановку, какой она была на момент происшествия, если это не угрожает жизни и здоровью других лиц и не ведет к катастрофе, аварии или возникновению иных чрезвычайных обстоятельств, а в случае невозможности ее сохранения - зафиксировать сложившуюся обстановку (составить схемы, провести другие мероприятия);

.5 В случае возникновения пожара:

.5.1 Оповестить работающих в производственном помещении и принять меры к тушению очага пожара. Горящие части электроустановок и электропроводку, находящиеся под напряжением, тушить углекислотным огнетушителем.

.5.2 Принять меры к вызову на место пожара непосредственного руководителя или других должностных лиц.

.6 При загорании электродвигателей, электрических кабелей не допускается тушение пламени водой. При этом следует отключить поврежденную электроустановку, после чего приступить к ее тушению с применением огнетушителей.

. Требования охраны труда по окончании работы

.1 Перед остановкой оборудования предварительно прекратить подачу газа, убедиться в исправности запорных устройств.

.2 Привести в порядок рабочее место, убрать использованную ветошь, материалы и другой мусор.

.3 Собрать инструмент, приспособления и сложить их в специально отведенное место (шкаф, ящик и т.п.).

.4 Привести в порядок средства индивидуальной защиты и убрать их в отведенное для хранения место.

.5 Сообщить непосредственному руководителю о замеченных неисправностях оборудования, вентиляции и о принятых мерах по их устранению.

.6 Тщательно вымыть руки и лицо.

Литература


1.      Бурцев В.Н. Сборка промышленного оборудования: учеб. Пособие / В.Н.Бурцев.М., 1968.

.        Гельберг Б.Т., Пекелис Г.Д. Ремонт промышленного оборудования: учебник / Б.Т.Гельберг,Г.Д. Пекелис. М., 1981.

3.      Гусев В.М., Ковалев Н.И., Попов В.П., Потрошков В.А., Теплотехника, отопление, вентиляция и кондиционирование воздуха: Учебник для вузов/Под редакцией В.М. Гусева. - Л., 1981.

.        Котзаогланиан П., Пособие для ремонтника. Справочное руководство по монтажу, эксплуатации, обслуживанию и ремонту современного оборудования холодильных установок и систем кондиционирования / Патрик Котзаогланиан, (перевод с Франц) под редакцией В.Б. Сапоженикова) - М., 2007.

.        Нимич Г.В., Современные системы вентиляции и кондиционирования воздуха. / Г.В.Нимич, В.А.Михайлов, Е.С.Бондарь, К., 2003.

.        Новиков В.Ю. Слесарь-ремонтник: Учебник для нач. проф. образования. /В.Ю. Новиков, М.,2004.

.        Росляков Е.М., Коченков Н.В., Золотухин И.В., Насосы. Вентиляторы. Кондиционеры: Справочник/ Под ред. Е.М. Рослякова, Спб., 2006.

.        Сокол Т.С., Охрана труда: учеб.пособие. / Сокол Т.С., Мн., 2006.

.        Справочник молодого рабочего по изготовлению и монтажу вентиляционных систем. - 2-е изд., перераб. и доп. - М.: Высш. шк., 1989.

.        Фещенко В.Н. Слесарные работы при изготовлении, техническом обслуживании и ремонте производственных машин: Учеб.пособие. /В.Н. Фещенко,М., 2006.

.        Инструкция по охране труда слесаря по ремонту и обслуживанию систем вентиляции и кондиционирования. Утверждена 13.02.2008, ООО «ААА».

.        Инструкция по охране труда слесаря-ремонтника. Утверждена 13.02.2008, ООО «ААА».

Приложение. Общие сведения о ленточном конвейере

Рис. А.1. Схема ленточного конвейера:

- приводной барабан; 2 -загрузочный лоток; 3 - прижимной ролик; 4 - очистное устройство; 5 - отклоняющий барабан; 6 - концевой барабан; 7 - амортизирующие роликоопоры; 8 - нижние роликоопоры; 9 - лента; 10 - верхние роликоопоры

Рис. 2. Схемы трасс ленточных конвейеров:

а - горизонтальная; б - наклонная; в - горизонтально-наклонная; г - сложная

Рис. 3. Роликоопоры ленточного конвейера:

а, б, в - для верхней ветви: прямая, рядовая желобчатая, амортизирующая;

г, д, е - для нижней ветви: прямая, дисковая очистная, желобчатая 1-опора, 2-ролик, 3-рама

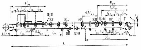
Рис.4. Схема расстановки роликоопор:

ЖА - желобчатые амортизирующие; ЖР - желобчатые регулирующие;

ЖЦ - желобчатые центрирующие; ПР - переходные; НЦ - нижние центрирующие; НД - нижние дисковые;

ДФВ и ДФН - дефлекторные верхние и нижние

Рис. 5. Схема установки барабанного разгружателя:

- отклоняющий барабан; 2 - концевой барабан; 3 - направляющая стенка воронки; 4 - барабанная тележка

Неисправности в работе ленточного конвейера и методы их устранения.

Таблица А.1.Основные неисправности ленточных конвейеров <http://belmsz.su/2-1-1.php> и методы их устранения приведены в таблице:

Наименование неисправности, внешнее проявление

Вероятная причина

Метод устранения

Не вращается барабан, ролик, каток и т.п.

Разрушен подшипник качения или детали лабиринтных уплотнений.

Разобрать подшипник, заменить поломанные детали.

Греются выше нормы отдельные подшипники барабанов.

Засорилось или поломано лабиринтное уплотнение, разрушен сепаратор подшипника качения, нет смазки.

Разобрать подшипник, заменить поломанные детали, если таковые имеются, промыть, заменить смазку.

Вибрация электродвигателя и редуктора привода.

Нарушена соосность валов.

Разобрать соединительную муфту, выверить соосность валов.

Лента сбивается в сторону в определенной точке.

Перекос одного или нескольких роликов перед участком сбегания.

Переместить в направлении движения ленты тот конец ролика, в направлении которого сбегает лента.


Трасса конвейера непрямолинейна.

Проверить по шнуру прямолинейность трассы и произвести спрямление.


Не вращается часть роликов.

Проверить состояние роликов, неисправные заменить.


Поверхность части роликов облеплена материалом.

Очистить поверхность роликов.


Роликоопоры расположены не горизонтально.

Установить роликовые опоры горизонтально.


Перекос концевых и отклоняющих барабанов.

Отрегулировать положение барабанов.

Определенный участок ленты имеет сдвиг в одну сторону по всей длине конвейера.

При соединении концов ленты не обеспечена прямолинейность.

Перестыковать ленту и вытянуть ее при работе вхолостую под большим натяжением. Проследить, чтобы при хранении и перевозке ленты не происходило телескопического выдавливания ее из рулона в сторону, чтобы при хранении лента не стояла торцом на влажном полу.


Отдельные куски непрямолинейны.

Заменить отрезок ленты.


Боковая загрузка ленты.

Отрегулировать загрузочный лоток и режим загрузки так, чтобы груз поступал на середину ленты.

Лента сбивается в разные стороны.

Излишне велика жесткость ленты.

Заменить лентой той же прочности, но с меньшим числом прокладок. Наклонить желобчатые роликоопоры вперед, но не более чем на 20. Установить несколько сблокированных направляющих роликовых опор.


Загрузка ленты не по центру.

Отрегулировать загрузку.


Недостаточная жесткость узлов конвейера.

Проверить крепление узлов. Проверить жесткость установки узлов на фундаменте, (или на почве).

Повышенный износ рабочей обкладки ленты.

Загрязнение и заклинивание опорных роликов нижней ветви ленты.

Улучшить очистку ленты. Очистить или заменить неисправные ролики.

Расштыбовать став конвейера.


Хвостовой барабан или барабан разгрузочной тележки конвейера завалены материалом.

Очистить барабаны.


Велико различие между скоростью ленты и скоростью падающего груза с места загрузки.

Установить загрузочный лоток, придающий грузу скорость, близкую к скорости ленты.


Слишком велико провисание ленты между опорными роликами верхней ветви ленты.

В случае необходимости увеличить натяжение ленты. Уменьшить расстояние между роликоопорами путем установки дополнительных роликоопор.

Повышенный износ нерабочей обкладки ленты.

Просыпание материала на нижнюю ветвь ленты и затягивание его под барабан.

Установить перекрытие нижней ветви ленты и очистные скребки на нижней ветви ленты.



Отрегулировать загрузку так, чтобы лента не была перегружена.


Заклинивание рабочих роликов верхней ветви ленты.

Заменить неисправные ролики.


Слишком велик наклон роликов вперед.

Установить роликоопоры так, чтобы угол наклона не превышал 20 градусов


Пробуксовка ленты на приводном барабане.

Увеличить натяжение ленты, футеровать приводной барабан резиной. Увеличить угол обхвата барабана лентой с помощью отклоняющего барабана.

Прорезание канавок и порезы рабочей обкладки.

Уплотнения загрузочных лотков очень плотно прижимаются к ленте и слишком тверды.

Установить более эластичные резиновые уплотнения (применение старой ленты не допускается), поднять уплотнительные листы так, чтобы между ними и лентой оставался зазор в 2-4 мм.


Лента трется о металлические части загрузочного лотка.

Отрегулировать зазор между лентой и металлическими частями лотка до величины не менее 25 мм.


Лента прогибается под ударами груза в месте загрузки и зажимает груз под бортом.

Сблизить роликоопоры под загрузочным лотком.


Закупорка загрузочного лотка.

Установить устройства, защищающие лоток от закупорки.

Пробой резиновой обкладки и незначительные порывы каркаса.

Удары груза по ленте в месте загрузки.

Уменьшить высоту падения груза.



Установить амортизирующие роликоопоры.


Попадание в транспортируемый материал инородных тел (лом, обрезь металла, и т.д.)

Установить металлоотделители

Поперечные порывы у края ленты.

Загибание ленты вверх на барабане или вблизи него.

Улучшить центрирование ленты. Установить концевые выключатели, срабатывающие при сходе ленты в сторону.


Последняя роликоопора рабочей ветви расположена слишком близко к разгрузочному барабану.

Отодвинуть или снять последнюю роликоопору. Установить переходные роликоопоры.

Разбухание резины обкладок, вспучивание и образование пузырей на обкладке.

Обильное попадание масла на обкладку.

Проверить возможность попадания масла на ленту. Попавшее на ленту масло смыть горячей водой с мылом.


Попадание влаги и пыли через мелкие пробоины верхней обкладки.

Периодически осматривать ленту и ремонтировать мелкие повреждения.


Похожие работы на - Терморегулирующий вентиль. Ремонт ленточного конвейера

 

Не нашли материал для своей работы?
Поможем написать уникальную работу
Без плагиата!
Без нейросетей!