Використання металогібридних акумуляторів водню на борту транспортного засобу
Використання металогібридних
акумуляторів водню на борту транспортного засобу
Зміст
Вступ
1. Воднева енергетика
1.1 Розвиток водневої енергетики
1.2 Зберігання водню
1.3 Способи видобутку водню
1.4 Теорія Ларіна
1.5 Теплотехнічні характеристики водню
2. Вибір напрямку досліджень
3. Дослідження термохімічної взаємодії металогідридів з воднем
3.1 Показники придатності металогідридів для енерготехнологічної
переробки водню
3.2 Дисперсна система металогідриду
3.3 Розрахунок гідравлічних характеристик генераторів-сорберів
4. Аспекти застосування автомобільних гідридних акумуляторів водню
5. Макетний зразок водневого автонавантажувача моделі 4092 - 01
5.1 Конвертування ДВЗ на живленні воднем
5.2 Вибір типу інтерметаліда для системи акумулювання водню на
борту автонавантажувача
5.3 Гідридний акумулятор водню
5.4 Випробування макетного зразка водневого автонавантажувача
6. Охорона праці та навколишнього середовища
6.1 Заходи безпеки при роботі з воднем
Висновки
Перелік посилань
Вступ
Сьогодні починається третій бум водневої енергетики, коли
вона стає центром уваги всіх енергетичних програм світу. Близько половини всієї
енергії, що виробляється сьогодні у світі (враховуючи транспортну складову),
здійснюється за рахунок використання вуглеводневих енергоносіїв, і в першу
чергу - нафтопродуктів, запаси яких не безмежні. За оцінками експертів, їх
вистачить ще на тридцять, максимум - сто років.
Другий глобальною проблемою сучасної енергетики є погіршення
навколишнього середовища, викликане зокрема, величезними викидами токсичних
продуктів згоряння та парникових газів (в основному діоксиду вуглецю). У
великих містах в якості основного енергоносія використовується природний газ
(82%), 14% - моторне паливо. Основні екологічні проблеми створює використання
моторного палива (49%). Для міста з чисельністю населення в 1 млн. чоловік
збиток від виділення вихлопних газів у навколишнє середовище оцінюється в 25,5
млн. дол Споживання кисню при спалюванні вуглеводнів у 15 разів перевершує його
надходження назад в атмосферу. Транспорту все більше, а рослин все менше. І
вони вже не справляються з відновленням цього дисбалансу.
У зв'язку з цим в різних країнах, в залежності від природних
умов та науково-технічного потенціалу, в якості альтернативи копалин
енергоносіям розглядається застосування відновлюваних джерел енергії (ВДЕ).
Наприклад, в країнах Європейського союзу планується до 2020 року зниження
викидів парникових газів на 20% порівняно з 1990 роком за рахунок вироблення
електроенергії від ВДЕ (в основному вітрової, сонячної, біомаси), а до 2050
року частка ВДЕ у виробленні електроенергії в ЄС має скласти 60-80%. Вводяться
більш жорсткі стандарти на бензин (Євро-3, Євро-4), що обмежують шкідливі
викиди в атмосферу. У США великі зусилля зосереджені на програмах розробки нових
моторних палив і, зокрема, по заміні бензину етанолом, який повинен
поставлятися з Колумбії.
Однак у глобальному масштабі зазначені проблеми можуть бути
вирішені тільки на основі використання ВДЕ та водню в якості енергоносія.
Воднева енергетика (економіка) повинна вирішити дві основні проблеми вуглецевої
енергетики: заповнення убуваючих запасів копалин енергоносіїв за рахунок
використання води в якості необмеженої сировинної бази для одержання нового
енергоносія - водню і екологічну проблему, тому що продуктами згоряння або
окислення водню є пари води.
Вперше про водневої енергетики всерйоз заговорили в 1970-х
рр., Під час першої нафтової кризи, пов'язаного з арабо-ізраїльської війни та
рішенням ОПЕК скоротити нафтовидобуток і майже вдвічі збільшити ціни на нафту.
Скорочення поставок близькосхідної нафти змусило розвинені країни серйозно
замислитися про розвиток альтернативних джерел енергії.
В основу концепції водневої енергетики покладено три
складові:
) Одержання водню з води з використанням поновлюваних джерел
енергії (в майбутньому - сонячної і термоядерної енергій);
) Створення ефективних, надійних та безпечних
водньоакумулюючих матеріалів, здатних досить довго зберігати водень і виділяти
його при необхідності в енергосистему;
) Створення систем для транспортування, зберігання і
використання водню в промисловості, на транспорті, у побуті.
акумулятор водень металогідрид гідридний
1. Воднева енергетика
1.1 Розвиток
водневої енергетики
Очевидно, що кожна складова паливно-енергетичного комплексу
має свою історію. Іноді ця історія - наприклад, використання вугілля - триває
століттями, інколи - наприклад, атома - всього лише десятиріччями. Чомусь
прийнято вважати, що воднева енергетика з'явилася зовсім недавно. Відбувається
це, звичайно ж, тому, що вона до сих пір не знайшла широкого застосування, хоча
над проблемою освоєння одного з основних елементів таблиці Менделєєва тисячі
вчених працюють дуже давно.
Вперше водень в чистому вигляді виділив 240 років тому
англійський хімік Генрі Кавендіш. Властивості отриманого їм газу були настільки
дивні, що вчений прийняв його за легендарний "Флогістон",
"теплород" - речовина, за канонами науки того часу визначається
температурою тел. Він чудово горів (а вогонь вважався майже чистим Флогістон),
був надзвичайно легкий, у 15 разів легше повітря, добре всмоктується металами і
так далі. Однак інший великий хімік, француз Антуан-Лоран Лавуазье, вже в 1787
році довів, що отримане Кавендіш речовина - цілком звичайний, хоча і дуже
цікавий хімічний елемент. Свою назву водень отримав від того, що при горінні
давай не дим, сажу і кіптява, а воду.
Аж до кінця XIX століття отримання водню було справою досить
заморочливою. Добували його в мізерних кількостях, розчин звичайні метали в
кислоті, а також лужні та лужноземельних у воді [1]. Тільки після того, як
електрику почали робити в промислових масштабах, з'явилася можливість відносно
легко видобувати його тоннами за допомогою електролізу. Електролітичні процес
виглядає приблизно так: у ванну з водою опускають два електроди, на одному -
позитивний потенціал, на іншому - негативний. На плюсі в результаті проходження
струму виділяється кисень, а на мінусі - водень.
Проблемі використання водню як палива понад 150 років. Ще в
1820 році В. Сесіл в доповіді Кембріджському філософському товариству
запропонував використовувати водень для приводу в рух машин, а перший патент на
двигун, що працює на суміші водню і кисню, був виданий в Англії в 1841 році.
У Німеччині, в Мюнхені, в 1852 році придворним годинникарем
Християном Тейтманом був побудований двигун, що працював (протягом кількох
років) на суміші водню з повітрям. У 1920х роках Г.Ф. Рікардо і А.Ф. Брустелл
виконали детальні дослідження роботи двигуна внутрішнього згоряння з зовнішнім
сумішоутворення на водень-повітряних сумішах. У цих роботах, мабуть, уперше
було виявлено явище зворотного спалаху, яким згодом займалися багато
дослідників. В цей же час почалося і практичне використання водневих двигунів
на дирижаблі фірми "Цепелін". Для них в якості палива
використовувався водень, наповнюють дирижабль. У 1928 році був проведений
випробувальний переліт такого дирижабля через Середземне море.
На цій посаді перший елемент Таблиці Менделєєва застосовували
аж до 1937 року, коли в повітрі згорів найбільший у світі, два футбольних поля
розміром, заповнений воднем німецький дирижабль "Гінденбург".
Катастрофа забрала життя 36 чоловік, і на таке використання водню було
поставлено хрест. З тих пір аеростати заправляють виключно гелієм. Гелій - газ,
на жаль, більш щільний, але зате негорючий
Особливе місце в історії водневих двигунів займають роботи
Рудольфа Еррена, виконані в 1920-30х роках. Він вперше застосував внутрішнє
сумішоутворення в двигунах на водні. Водень подавався в циліндр через його
стінку, що знижує небезпеку виникнення зворотного спалаху.
При цьому у двигуна зберігалася система подачі основного
палива, і він міг працювати на будь-якому з палив, а також на рідкому паливі з
додаванням водню. Р. Еррен перевів на водень кілька типів двигунів, в тому
числі і дизельний, встановлений на автобусі "Лейленд". Успішна пробна
експлуатація цього автобуса відбувалася в передмісті Лондона. Р. Ерреном був
розроблений і випробуваний перший водньо-кисневий ДВС. На такті впуску в
циліндр подавалася суміш кисню з водяною парою, на такті стиснення - водень. Утворюється
при згоранні водяний пар частково повертався на такті впуску у двигун і
частково конденсувався. Двигун міг працювати без зовнішнього вихлопу, тобто був
придатний для використання у підводних човнах. В цей же час у Німеччині
використовувалися автодрезини, що працюють на водні. Останній вироблявся на
заправних станціях електролізом води під тиском.
У період з 1920-х до початку 1940-х років дуже важливі і
численні дослідження реакції горіння водню в кисні та повітрі в різних умовах
були виконані російськими вченими школи Н.Н. Семенова, вченими Німеччини,
Англії, США. Таким чином, до початку Другої світової війни були закладені
наукові і технічні основи використання водню як палива. Розвиток
експериментальних робіт зі створення водневих двигунів було перервано війною.
Однак перший успішний досвід масового використання водню як палива в
автомобільних двигунах внутрішнього згоряння був здійснений під час Другої
світової війни в СРСР.
У Блокадний Ленінграді в 1941 році інженер-лейтенантом Б.І.
Шеліщем автомобільні двигуни ГАЗ-АА, що обертаються лебідки аеростатів
загородження, були переведені на використовування водньо-повітряною сумішшю з
аеростатів, що втратили плавучості. Вміст повітря в них сягав 15-20 відсотків,
і зворотній спалах могла призвести до вибуху. Задля запобігання цьому Б.І.
Шеліщ застосував водяний затвор, встановлений перед двигуном, і ряд інших
заходів захисту з використанням доступних засобів. З 1942 року водень з
аеростатів що втратили плавучість став використовуватися і Московської службою
ППО. У роки війни більше 400 автомобільних двигунів для приводу лебідок
аеростатів загородження працювали на водні.
У 1944 році американські військові спробували використовувати
його в якості ракетного палива. Перешкодила справі висока вибухонебезпечного
газу: варто було зовсім небагато відхилитися від нормальної роботи двигунів або
допустити найменше протікання, і мирний водень миттю перетворювався на
зловісний "гримучої газ". В результаті ракет не долітали до мети,
вибуху прямо на старті. По тій же причині американцям не вдалося в 50-ті роки
минулого століття побудувати водневий літак, а в 70-е, за часів нафтової кризи,
- водневий есмінець.
У цьому сенсі справи в СРСР, основному тодішньому конкурента
Штатів в області водневої енергетики, були більш успішні. Радянські вчені
вирішили добувати з водню енергію у вигляді електрики, прямо окисли його у
водному середовищі, а не підпалу в суміші з киснем. Для цього вони
використовували паливні елементи, в яких водень на спеціальній іонообмінної
мембрані з'єднуються з киснем, у результаті чого виходили вода і електрика.
Технологія виявилася настільки зручною, що зараз без участі паливних елементів
не проходить жодна серйозна космічна експедиція.
Після Другої світової війни фундаментальні дослідження
процесів і розробки автомобільних двигунів на водневому паливі проводились у
багатьох країнах, у тому числі в СРСР (в НДІ енергетики Казахстану, Інституті
теоретичної та прикладної механіки (ІТПМ) СО АН СРСР і деяких інших
організаціях), але активність досліджень в цьому напрямку суттєво знизилася.
Дешева нафта і не усвідомлені ще екологічні наслідки бурхливого розвитку
автотранспорту на вуглеводневих палива не залишали місця для розвитку водневих
технологій в цій галузі.
Усвідомлення необхідності їх розвитку прийшло на початку
1970-х років, одночасно з першим нафтовим кризою і різким загостренням
екологічної ситуації у великих містах. До цього часу відноситься початок
активної фази НДДКР по створенню водневих транспортних засобів та
інфраструктури їх паливо забезпечення.
На початок 1980-х років в США, Японії, Німеччини, СРСР,
Канаді та ряді інших країн були створені експериментальні водневі автомобілі з
двигунами внутрішнього згоряння, що працюють на водні, бензоводневих сумішах,
сумішах водню з природним газом і з різними системами зберігання водню на борту
автомобіля: у вигляді гідридів інтерметалевих сполук, у рідкому і газоподібному
стислому стані.
Трохи пізніше вчені все ж таки придумали, як використовувати
водень як саме пального і при цьому не вибухнути. В газ стали додавати
спеціальні присадки-інгібітори (хімічні "гальма"). Наприклад,
пропілен. Всього один відсоток цього дешевого газу - і водень з грізного зброї
перетворюється в безпечний газ. У результаті вже в 1979 році компанія BMW
випустила перший автомобіль, цілком успішно їздівший на водні, при цьому не
вибухає і випускали з вихлопної труби водяний пар. В епоху посилює боротьбу зі
шкідливими вихлопу машина була сприйнята як виклик консервативному
автомобільного ринку. Слідом за BMW в екологічну сторону потягнулися й інші
виробники. До кінця століття кожна поважаюча себе автокомпанія мала в
запасниках хоча б один концепт-кар, що працює на водневому паливі.
Баварські автоінженери в рамках програми CleanEnergy
("чиста енергія") пристосували під їзду на Н2 кілька
"сімок" і MINI Cooper. Обладнана 4-літровим двигуном воднева
"сімка" розвиває потужність в 184 кінські сили і проходить на одній
заправці (170 літтров рідкого водню "під зав'язку") 300 км. Mazda
"підсадити" на водень свій знаменитий спорт-кар RX-8. У такому
екологічно чистому варіанті він називається Mazda RX-8 HRE (Hydrogen Rotary
Engine). Всі ці машини можуть їздити і на водні, і на бензині.
Якщо BMW і Mazda поки чергують два види палива, деякі
навчилися їх поєднувати. По дорогам США вже їздить безліч сідельних тягачів, в
дизельних серцях яких палає солярій-воднева суміш. В результаті потужність
двигуна разом із чистотою вихлопу ростуть, а витрата палива знижується на 10%.
Обладнану системою HFI (Hydrogen Fuel Injection - водневий паливний
впорскування) машину не треба навіть заправляти цим газом, досить залити в
невеликий бачок кілька літрів води. Система сама проведе електроліз, збере
водень і направить його в камеру згоряння. Ефект полягає в тому, що в суміші з
воднем солярка згорає значно ефективніше.
Але більшість виробників пішли по шляху створення
електромобілів на паливних елементах. Бо окрім "екологічності" у них
є безліч інших переваг. Наприклад, набагато більш високий (до декількох разів)
ККД двигуна або безшумність.
На початку 1970-х років в Австрії К. Кордеш створив перший
експериментальний водневий електромобіль з воднем-кисневим лужним паливним
елементом (ТЕ) потужністю 6 кВт. Основним завданням робіт у цьому напрямку у
наступні роки стало створення ефективної та дешевої рухової установки на основі
водню-повітряного паливного елементу.
А більше за всіх новим паливом зацікавилися японці. І це
зрозуміло. Ця країна, практично позбавлена хоч яких-небудь природних запасів
нафти та газу, що володіє необмеженими обсягами сировини для водню (у вигляді океанської
води) і воістину завидною кмітливістю населення. А тому тут водневі аналоги є
практично у будь-якого виду техніки - від працює на паливних елементах
локомотива до людиноподібного робота SpeecysFC. До того ж японці щосили ведуть
розробки паливних елементів для ноутбуків і мобільних телефонів. Компанія NEC
ще в 2001 році створила перший робочий прототип мобільного паливного елемента
PEFC. "Батарейка" видає "на-гора" в 10 разів більше
енергії, ніж стандартний літієво-іонний акумулятор. Щоправда, вона заряджається
метанолом: у спеціальній камері під дією каталізаторів і температури (85
градусів за Цельсієм) з нього витягується водень, який і
"допускається" до енерговиробляючої мембрані. Така система роботи
пов'язана з тим, що зберігати водень не так-то просто.
Поки людина не навчився отримувати дешевий водень
безпосередньо, без використання електрики, до цього газу можна ставитись лише
як до акумулятора енергії - такий собі скарбничку мегаджоулів. Адже всього
двадцять грам водню здатні зробити стільки ж роботи, скільки повністю
заряджений автомобільний акумулятор.
1.2
Зберігання водню
Зараз водневе паливо зберігає трьома способами: у стислому
вигляді, в зрідженому і в металогідридах. Найпростіше, звичайно, - закачати
водень в бак потужним компресором. У баках той же Mazda водневе паливо
міститься під тиском 350 атмосфер. Але цей спосіб, будучи найдешевшим, і
найбільш небезпечного. При такому високому тиску будь-яка слабінка в системі
загрожує протікання газу. А де протікання, там пожежа, а то й вибух.
Більш надійний і практичний спосіб - тримати водень у рідкому
вигляді. Але для цього його треба охолодити до - 253 градусів Цельсія [2]. У
BMW паливо зберігається саме в такому вигляді: тому майже половину паливної
системи займає найпотужніша теплоізоляція. І все одно, варто залишити машину на
стоянці, скажімо, на тиждень, і вона зустріне повернувся господаря з порожніми
баками. Ніяка ізоляція не може повністю захистити систему від нагрівання. В
результаті водень починає випаровуватися, тиск у баці зростає, і газ просто
стравлювати в атмосферу через запобіжний клапан. По технічним умовам повна
заправка випаровується всього за три дні.
Найперспективніший спосіб - зберігання в металогідридних
композиціях. Водень, виявляється, дуже добре розчиняється металами, як вода
вбирається губкою. Причому він поглинається у величезних обсягах, які значно
перевершують обсяги "губки". Такі "насититися" воднем
метали називаються металогідридами. При охолодженні вони вбирають водень, при
нагріванні - активно його віддають. У минулому році фахівці з американської
Тихоокеанської північно-західної національної лабораторії створили матеріал на
основі боран аміаку, здатний вбирати і віддавати вже при 80 градусах водень зі
швидкістю, що в сто разів перевищує ті, що були доступні раніше. А Танер
Іілдірім з американського Національного інституту стандартів і технологій разом
з Салиму Сайракі з турецького університету Білкента розробили матеріал, здатний
вбирати газоподібний водень в кількості до 9 000 літрів на 10-кілограмовий
елемент! Це особливий кристалічний нанокомплекс, що складається з
мікроскопічних, інкрустованих зовні титаном, вуглецевих нанотрубок, кожна з
яких у 5 000 разів тонше людського волосся. Виготовити такий
вуглецевої-титановий "накопичувач" людина вже може, але він занадто
дорого. Поки що. Однак зауважимо, що й персональний комп'ютер ще зовсім не так
давно коштував, як хороший автомобіль.
.3 Способи
видобутку водню
Здавалося б, людство вже готове перестрибнути в водневу
епоху. Нове паливо влаштовує і вчених, і екологів, і підприємців, і політиків,
і простих людей. І перейти на нього заважає лише одна проблема. Поки що зовсім
не зрозуміло, де цей водень брати.
Отримання водню електролізом - малоперспективно. Адже для
того, щоб розкласти воду на складові, потрібно електрику, а його виробляють.
правильно, спалюючи в основному ту ж нафту. Запаси природного газу, з якого
можна виділяти водень температурним розкладання, теж не нескінченні.
Екологи пропонують для виробництва водню використовувати
тільки чисту енергію вітру і сонця, однак всі ці прожекти не надто реалістичні.
Англійські фахівці вважали, що для того, щоб перевести весь автотранспорт
острова на такий "чистий" Н2, треба буде забудувати
кількома рядами вітряків всю берегову смугу країни. З сонячною енергією теж не
зовсім виходить фотоелемент дуже дорогі, а при їх виробництві шкідливих
відходів виходить настільки, що ж найкраще нафту палити [3]. Строго кажучи,
найпопулярніші зараз напівпровідникові сонячні батареї дороги перш за все тому,
що для виплавки, очистки та обробки кремнію, з якого їх роблять, потрібно
більше енергії, ніж вони здатні виробити протягом усього свого терміну служби.
Залишається "мирний атом", але для того, щоб зробити з води необхідне
англійською автоаматорам кількість водню, на острові потрібно побудувати більше
100 нових АЕС - не саме привабливе рішення, якщо оцінити розмір необхідних
інвестицій і проблему з утилізацією або захороненням відходів.
Вчені і винахідники намагаються обійти проблему, виводячи
спеціальні породи бактерій, що виробляють водень, і покриваючи даху гаражів
особливими сонячними елементами, в яких вода розкладається на водень і кисень
без проміжної електричної стадії. Хіміки з британського Університету Лідс
пропонують навіть отримувати водень з соняшникової олії. Але очевидно, що все
це - лише тимчасові рішення.
.4 Теорія
Ларіна
Ще в 70-х роках минулого століття відомий геолог Володимир
Ларін розробив теорію, підтриманих багатьма вченими і ніким поки не
спростувати, яка стверджує, що водню у нас найбільше. Не просто більше, його у
нас - цілий океан, до якого треба тільки дістатися. І зробити це не так
складно. Досить пробурили кілька п'яти - шести кілометрових свердловин в
потрібних місцях. За розробку цієї концепції Ларін отримав докторський ступінь.
Суть теорії полягає в тому, що ядро нашої планети складається
не з заліза, як вважалося раніше, а з металогідридів. З гранично насичених
воднем магнію та кремнію і вже тільки потім - з заліза. Власне, ніяких доказів
того, що ядро Землі залізне, немає. Вчені ще на початку минулого століття
з'ясували, що воно складається з якогось щільного металу, і вважали, що цим
металом є залізо. Зате доказів металогідрідної теорії - маса. Вулкани та земні
розломи викидають в атмосферу водень саме так, як вимагає металогідридна. На
основі своєї теорії Ларін правильно передбачив появу в базальтових породах
самородної металів. Нею легко пояснюються загадкові скачки щільності земної
мантії на глибинах до 400, 670 і 1 050 км.
Але найголовніше в цій теорії ось що. На суші є кілька точно
встановлених місць, в яких земна кора має товщину всього 5-10 км (звичайно ж -
100-150). Це так звані області ріфтогенеза. З теорії Ларіна, пробурили в цих
місцях кілька свердловин, можна дістатися до металогідридного шару. І тоді,
закачуючи в одну з свердловин воду, з інших можна буде одержувати чистий водень
в практично необмежених кількостях. Причому потрібний газ буде не тільки
віддаватися металогідридами, але й виходити завдяки з'єднанню лужноземельних
магнію з водою. Розрахунки, зроблені вченими Сибірського відділення АН СРСР у
1989 році, показали, що у разі правильності металогідридної теорії ділянка в 20
км2 дасть за рік водню стільки, що ним можна буде замінити 400 млн.
тонн нафти. А це, між іншим, більше, ніж зараз добуває вся Росія.
У тому ж 1989 році в Геологічному інституті відбулася нарада
під патронатом Академії наук, де заслухали доповідь Ларіна і постановили:
"Рекомендувати надглибоке буріння (до 10-12 км) в області сучасного
ріфтогенеза. Запропонувати як об'єкт Тункінську западини, де буріння може мати
виключно велике значення для енергетики та екології, так як дозволить оцінити і
перевірити науково обґрунтовану можливість виявлення принципово нового і
екологічно чистого енергоресурсу, здатного скласти конкуренцію традиційним
енергетичним джерелам. Тункінська западина - місце неподалік від Байкалу, де
товщина земної кори становить всього 4-5 км. На Землі подібних місць небагато.
Окрім цієї западини підходять для буріння зони є в Ісландії, Ізраїлі (на
заздрість арабським нафтошейхам), на заході Канади і в США, в штаті Невада.
1.5
Теплотехнічні характеристики водню
При виконанні науково дослідних і досвідно-конструкторських
розробок у галузі водневої енергетики необхідно володіти даними, які дають уяву
про теплотехнічні властивості водню.
У цьому розділі наведені дані, які свідчать про рівень
енергії зв’язку водню з різноманітними елементами теплоти випаровування,
конверсії та згорання водню, а також інформацію щодо його тепло утворюючих
характеристик.
Таблиця 1.1 - Теплотехнічні властивості водню.
|
Показники
|
Значення показника
|
|
Енергія зв’язку електрона з ядром, еВ
|
13,595
|
|
Енергія зв’язку протона з нейтроном у дейтерії,
МеВ
|
2,23
|
|
Енергія дисоціації водню у розчині: гомолітичне
розщеплення на атоми, кДж/кмоль кДж/кг гетеролітичне розщеплення на іони,
кДж/кмоль кДж/кг
|
435,0 215,8 155,0 76,9
|
|
Теплота утворення водню з атомів ∆Н298,16,
кДж/кмоль кДж/кг
|
-432329 214481
|
|
Теплота випаровування при ∆Нвип,
кДж/кмоль кДж/кг При Т=20 К, Р=0,1 МПа, кДж/кмоль кДж/кг
|
917,0 455,0 947,4 470,0
|
|
Теплота переходу орт оводню у параводень при
20.4 К, кДж/кмоль кДж/кг
|
1417,68 703,32
|
|
Теплота згорання, кДж/кг вища Qв нижча Qн
|
135377 114484
|
|
Теплопродуктивність водневоповітряної суміші,
стехіометричного складу (α=1), кДж/кг вища Нв нижча
Нн
|
3924 3318
|
Температурна залежність теплоти випаровування нормального
водню може бути описана рівнянням:
∆Нвип=456,3-0,56 (Т-16,6) 2,
(1.1)
Це рівняння придатне для використання в інтервалі температур
14…24 К. Теплоту випаровування орто - і пара складу в області температур нижче
нормальної точки кипіння можна розрахувати згідно з рівнянням.
∆Нвип = ∆Нвип (n∙Н2)
+1,4+2,9Х2, (1.2)
де ∆Нвип - теплота випаровування, кДж/кг;
Х - молярна частка ортомодіфікації.
При розрахунках процесів горіння водню в розробці заходів,
які забезпечують пожежо- та вибухобезпечність його використання, необхідно
оперувати даними про концентраційні межі розповсюдження полум’я, під якими
розуміють граничні концентрації пального в суміші, коли можливе розповсюдження
полум’я [4]. Їх визначено фізико - хімічними властивостями горючої суміші,
наявністю хімічно активних або інертних домішок. Вони залежать від температури,
тиску, теплоємності компонентів і геометричних характеристик реакційного
простору.
Розрізняють верхню та нижню концентраційні межі
розповсюдження полум’я. Верхня межа відповідає суміші з максимальною
концентрацією пального, а нижня - з мінімальною.
Таблиця 1.2 - Середня теплоємність газоподібного водню Cpm
при тиску Р=0,1МПа і різних температурах.
|
Т, К
|
Cpm
|
Т, К
|
Cpm
|
|
кДж/ (кг∙К)
|
кДж/ (м3∙К)
|
|
кДж/ (кг∙К)
|
кДж/ (м3∙К)
|
|
273
|
14, 195
|
1,277
|
1873
|
15,294
|
1,375
|
|
373
|
14,354
|
1,291
|
1973
|
15,383
|
1,383
|
|
473
|
14,421
|
1,297
|
2073
|
15,472
|
1,392
|
|
573
|
14,446
|
1,299
|
2173
|
15,561
|
1,399
|
|
673
|
14,477
|
1,302
|
2273
|
15,648
|
1,408
|
|
773
|
14,508
|
1,305
|
2373
|
15,736
|
1,414
|
|
873
|
14,541
|
1,308
|
2473
|
15,819
|
1,423
|
|
973
|
14,587
|
1,312
|
2573
|
15,902
|
1,430
|
|
1073
|
14,641
|
1,317
|
2673
|
15,983
|
1,437
|
|
1173
|
14,706
|
1,322
|
2773
|
16,064
|
1,445
|
|
1273
|
14,776
|
1,329
|
2873
|
16,141
|
1,453
|
|
1373
|
14,850
|
1,336
|
2973
|
16,215
|
1,460
|
|
1473
|
14,934
|
1,343
|
3073
|
16,312
|
1,468
|
|
1573
|
15,023
|
1,351
|
3173
|
16,383
|
1,474
|
|
1673
|
15,113
|
1,359
|
3273
|
16,454
|
1,481
|
|
1773
|
15, 202
|
1,367
|
|
|
|
Таблиця 1.3 - Повна теплоємність Нп молекулярного
водню при різних температурах.
|
Т, К
|
Нп
|
Т, К
|
Нп
|
|
кДж/кмоль
|
кДж/кг
|
|
кДж/кмоль
|
кДж/кг
|
|
300
|
196
|
97
|
3200
|
96399
|
47818
|
|
400
|
3104
|
1540
|
3300
|
100162
|
49685
|
|
500
|
6029
|
2991
|
3400
|
|
|
|
600
|
8956
|
4442
|
3500
|
|
|
|
700
|
11899
|
5902
|
3600
|
111577
|
55347
|
|
800
|
14854
|
7368
|
3700
|
115422
|
57255
|
|
900
|
17829
|
8844
|
3800
|
119286
|
59171
|
|
1000
|
20834
|
10335
|
3900
|
123169
|
61098
|
|
1100
|
23876
|
11844
|
4000
|
127072
|
63033
|
|
1200
|
26957
|
13372
|
4100
|
130992
|
64978
|
|
1300
|
30079
|
14921
|
4200
|
134931
|
66932
|
Перерахунок концентрації пального в суміші (Сн, Св,
%) на коефіцієнт надлишку окиснювача (α) та зворотну процедуру
здійснюють згідно з рівняннями (3.3)
α= [ (100/С) - 1] /LмС=100/
(1+ α Lм), (1.3)
де С - концентрація пального в суміші, %м - мольний
стереометричний коефіцієнт (один моль окиснювача на один моль пального).
Концентраційні межі розповсюдження полум’я у багато
компетентних горючих сумішах залежать від концентрації складових і їх
розраховують за допомогою формули
Сн=100/
, (1.4)
де, Сн - сумарна концентрація пального в багато
компонентній горючій суміші на нижній концентраційній межі, %
С і Сн - концентрація і-го компонента суміші на нижній
межі,%
Таблиця 1.4 - Характеристики горіння водню
|
Показники
|
Значення показника
|
|
Стехіометричний коефіцієнт на 1кг Н2:
масовий (Lо): кг повітря кг кисню об’ємний (Lо): кг
повітря кг кисню
|
34,25 4,0 2,38 0,50
|
|
Вміст водню у воднево - повітряній суміші
стереометричного складу Сстех, %
|
29,53
|
|
Паропродуктивність воднево - повітряній суміші
стереометричного складу Тжак, К
|
2235
|
|
Температура полум’я суміші (293К, 0,1 МПа), К
суміш водню з повітрям (31,6% Н2); суміш водню з киснем (73,0% Н2);
|
2040 2525
|
|
Самозаймання воднево - повітряної суміші при
Тсв, К
|
783
|
|
Концентрація межі розповсюдження полум’я
сумішей водень - окиснювач, α% воднево - повітряна
суміш: нижня, Сн (αн) верхня, Св (αу) воднево - киснева суміш: нижня, Сн (αн)
|
4,0 75,0 3,50
|
|
Показники
|
Значення показника
|
|
верхня, Св (αу)
|
94,0
|
Мінімальний тиск, при якому можливе розповсюдження полум’я, Рмін,
Па: у воднево - повітряній суміші у воднево - кисневій суміші 29,53
1500
|
150
|
|
|
Швидкість детонаційного розповсюдження полум’я
Vд (290К, 0,1МПа), м/с: у повітрі у кисні
|
2055 2819
|
|
Концентраційні межі детонаційного горіння
суміші водень - окиснювач (293К, 0,1МПа), %: для воднево-повітряній суміші:
нижня Сн верхня Св для воднево-кисневої суміші: нижня,
Сн
|
18,3 74,0 15,5
|
|
Швидкість зниження рівня рідини в ємності
(293К, 0,1МПа), см/хв: від випаровування без горіння при горінні
|
2,5-5,0 3,0-6,6
|
|
Швидкість зниження рівня рідини в ємності
(293К, 0,1МПа), см/хв: від випаровування без горіння при горінні
|
2,5-5,0 3,0-6,6
|
Таблиця 1.5 - Концентраційні межі розповсюдження полум’я в
сумішах протію й дейтерію з повітрям і киснем при Т=293 К і Р=0,1 МПа [12]
|
Cуміш
|
Н2, % (об.)
|
D2, % (об.)
|
|
Сн αн)
|
Св (αв)
|
Сн
|
Св
|
|
Н2+повітря
|
EMBED Equation.2 4.2
|
75,0 (0,14)
|
|
|
|
Н2+О2
|
EMBED Equation.2 4.5
|
EMBED Equation.2 95.0
|
EMBED Equation.2
|
EMBED Equation.2
|
Таблиця 1.6 - Нижня концентрація межа розповсюдження полум’я
Сн у сумішах Н2+СН4+повітря та Н2+Не+повітря
при Т 293 К і Р= 0,1 Мпа
|
Складові,% (об)
|
Сн, % (об)
|
Умови проведення експерту
|
|
Н2
|
СН4
|
|
|
|
0
|
4,1
|
Труба: l=183, F=30,48 см2;
поширення полум’я вверх
|
|
90
|
10
|
4,1
|
|
|
75
|
25
|
4,1
|
|
|
50
|
50
|
4,6
|
|
|
25
|
75
|
4,7
|
|
|
0
|
100
|
5,6
|
|
|
100
|
0
|
Труба: l=183, F=30,48 см2; запалення
з відкритого кінця; поширення полум’я вверх
|
|
75
|
25
|
4,7
|
|
|
50
|
50
|
6,1
|
|
|
25
|
75
|
8,2
|
|
|
10
|
90
|
10,8
|
|
|
0
|
100
|
12,5
|
|
|
Складові,% (об)
|
Сн, % (об)
|
Умови проведення експерту
|
|
Н2
|
СН4
|
|
|
|
100
|
0
|
0
|
Труба: l=25, d=4 см2; поширення полум’я
вниз
|
|
63,9
|
36,1
|
11,9
|
|
|
41,5
|
58,5
|
13,2
|
|
|
18,4
|
81,6
|
14,7
|
|
|
0
|
100
|
15,9
|
|
|
Н2
|
Не
|
|
|
|
100
|
0
|
4,2
|
Труба: l=183, d=5,08 см2; нижній
кінець труби відкритий; розповсюдження полум’я вверх
|
|
58,1
|
41,9
|
7,1
|
|
|
27,9
|
72,1
|
16,6
|
|
|
19,3
|
80,7
|
24,9
|
|
|
10,7
|
89,3
|
51,3
|
|
|
8,7
|
91,3
|
69,8
|
|
|
|
|
|
|
|
2. Вибір
напрямку досліджень
Розвиток автомобілебудування приводить, по-перше, до
виснаження і без того обмежених запасів копалин палив і, по-друге,
супроводжується викидом в атмосферу величезної кількості шкідливих речовин. На
думку багатьох вітчизняних і закордонних фахівців найбільш перспективним
напрямком розвитку енергоекологічних проблем автомобілізації є використання
водню в якості палива для автомобільних ДВЗ.
Водень має великі переваги перед вуглеводневими паливами, які
використовуються в даний час. Теплотворність водню, яка складає 120000 кДж /
кг, в 2,8 рази вище в порівнянні з бензином [5]. Енергії для його займання
потрібно в 15 разів менше, ніж для вуглеводневого палива. Максимальна швидкість
розповсюдження фронту полум'я в 8 разів більше в порівнянні з вуглеводнями.
Широкі концентраційні межі займання водню в суміші з повітрям дозволяють
організувати якісне регулювання потужності, що істотно збільшує ККД поршневого
двигуна. При спалюванні водню в кисні продукти горіння абсолютно нешкідливі для
людини, а при окислюванні у повітрі в певних умовах може утворитися деяка
кількість оксидів азоту. При використанні водню в якості палива виключається
можливість утворення парникового ефекту, не виділяються токсичні окис вуглецю,
вуглеводні, сажа та канцерогенні речовини. Пари водню не володіють токсичними
властивостями, Водень в 14 разів легше повітря, легко зникає, внаслідок чого
зменшується ймовірність утворення вибухонебезпечних сумішей з повітрям та
небезпечних застійних зон водню.
Однак характеристика водню як моторного палива не
вичерпується переліком його переваг. Низька щільність цієї речовини в
газоподібному і навіть рідкому вигляді створює певні труднощі при створенні
автомобільних систем його зберігання з прийнятними масовими і об'ємними
показниками. При переводі поршневого двигуна на живлення воднем постає проблема
виникнення зворотного спалаху у впускному трубопроводі, що призводить до
нестійкої роботи (аж до зупинки двигуна) на водньоповітряних сумішах, близьких
за складом до стехіометричної. Відсутність прийнятного вирішення цієї проблеми
до недавнього часу було одним із стримуючих чинників на шляху застосування
водню для транспортних енергетичних установок навіть в тих умовах, де це було б
економічно виправдано вже сьогодні, наприклад, для двигунів, що експлуатуються
в закритих приміщеннях.
Дослідна програма Інституту проблем машинобудування НАН
України (ІПМаш НАН України) більше десяти років була пов'язана з розробкою
ефективних способів роботи автомобільних двигунів на водні і на сумішах бензину
з воднем, а також створенням систем подачі та зберігання водню на борту
транспортного засобу. Мета цих робіт полягала в створенні прототипів
автомобілів і автонавантажувачів для широкомасштабних випробувань. У рамках
програми "Воднева енергетика і технологія" були створені й
випробувані експериментальні зразки бензоводневого автомобіля "Волга"
і мікроавтобуса РАФ, а також водневого автомобіля "Жигулі" і
автонавантажувача. Ці роботи дали об'єктивну інформацію про можливість
конвертування транспортних засобів на живлення воднем і умови їх практичного
використання.
У плані вирішення наукових і технічних проблем конвертування
на водень були розроблені:
Принципово новий спосіб запобігання зворотного спалаху в
водневому двигуні при зовнішньому сумішоутворення і безперервної подачі водню у
впускний тракт;
Ефективні способи роботи двигунів на водні та суміші бензину
з воднем, паливоподаюча апаратура та системи управління двигуном;
Низькотемпературні металогідридні системи зберігання водню з
підводом теплоти від відпрацьованих газів і з системи охолодження двигуна.
Необхідно зазначити, що застосування водню як додатку до
бензину, не дивлячись на отримання істотного ефекту, може розглядатися лише як
проміжний етап на шляху вирішення енерго-екологічних проблем транспортних
енергетичних установок шляхом використання водню в якості палива. Більше,
кардинальним засобом досягнення поставленої мети є конвертування поршневих
двигунів на живлення тільки воднем. Прикладом реалізації такого підходу в
створенні екологічно чистого транспортного засобу може бути розроблений в ІПМаш
НАНУ експериментальний зразок водневого автонавантажувача.
Не останнє місце займає і проблема створення ефективних
систем зберігання водню на борту транспортних засобів, здатних конкурувати з
масовим і об'ємним показниками з бензиновою системою живлення. В даний час
відомі три основних принципово різних методи акумулювання водню: у
газоподібному стані в балонах високого тиску, в рідкому стані в кріогенних
судинах і в зв'язаному стані у вигляді гідридів деяких металів і сплавів.
Енергетичні показники цих методів у порівнянні з природним газом наведено в
табл.2.1.
Серед розглянутих способів акумулювання водню найбільш високі
масові енергетичні показники має кріогенна система. Для водню на одиницю маси
криогенного акумулятора у ряду експериментальних автомобільних систем
знаходиться в межах 0,12 - 0,17. Для порівняння, металогідридні і балон
акумулятори мають цей показник відповідно 0.01 - 0.03 і 0.008 - 0.014.
Об'ємні характеристики криогенного акумулятора через малої
щільності рідкого водню і великого обсягу термоізоляції виявляються досить
низькими - близько 20 - 25 л на 1 кг водню. При порівнянні з бензиновим баком
криогенний акумулятор програє за обсягом в 4 - 5 разів, металогідридний акумулятор
- у 1,5 - 2 рази. Балони системи при тиску водоводу 40Па мають цей показник на
рівні 7 - 8, а при тиску 20 МПа - 15-20.
Таблиця 2.1 - Питомі показники енергоносіїв.
|
Джерело енергії
|
питома енергоємність
|
ККД двигуна
|
питома енергоємність з урахуванням ККД двигуна
|
|
масова, кДж/кг
|
об'ємна кДж/кг
|
|
масова, кДж/кг
|
об'ємна кДж/кг
|
|
Водневі акумулятори: балони з тиском 20 МПа
криогенний металогідридний (FeTiH1.7)
|
1590 12000 1840
|
610 5440 6800
|
0,35 0,35 0,35
|
560 4200 640
|
210 1900 2380
|
|
природний газ в балонах з тиском 20 МПа
|
4650
|
1860
|
0,25
|
1160
|
465
|
|
Бензин
|
44000
|
32120
|
023
|
10120
|
7390
|
Низькі об'ємні і масові показники балонних акумуляторів
водню, а також високі пожежно-та вибухонебезпечних цього методу ставить під
сумнів його застосування на автомобілях навіть з урахуванням можливості
поліпшення його показників при використанні нових матеріалів, наприклад,
пластмас, армованих вуглеводневий або борна волокном.
Незважаючи на високі масові показники криогенного
акумулятора, складність поводження з рідким воднем, висока вибухонебезпечного у
разі зіткнення транспортних засобів та інших аварійних ситуацій, а також великі
енерговитрати на ожиження водню, роблять проблематичним застосування цього
методу для автомобіля.
Найкращим з розглянутих способів акумулювання водню є його
зберігання в оборотних металогідридах. Цей метод при відносній простоті і
низькі енерговитрати на акумулювання забезпечує високу безпеку експлуатації
транспортних засобів. Істотним недоліком металогідридних акумуляторів є їх
велика маса на одиницю енергії.
3. Дослідження термохімічної взаємодії металогідридів
з воднем
3.1 Показники
придатності металогідридів для енерготехнологічної переробки водню
На підставі результатів термодинамічного аналізу
термохімічного стиснення водню можна зробити висновок, що не всі металогідриди
(МГ) придатні для практичного використання. Обмеження в застосуванні ряду
металогідридів випливають із принципу дії металогідридних теплоенергетичних
установок, у яких термосорбційні процеси здійснюються як у прямому (збагачення
металогідридної фази воднем), так і у зворотному (розкладання металогідриду)
напрямках при однакових значеннях термодинамічних параметрів. Отже, у
розглянутому випадку реалізується оборотний хід реакції взаємодії водню з
металогідридом, у якій зовнішнім керуючим впливом є напрямок теплового потоку.
Аналіз і узагальнення даних про термосорбційні властивості
металогідридів дозволили встановити закономірності, згідно з якими металогідрид
може бути віднесений до числа оборотних. Металогідриди, процеси утворення й
дисоціації яких управляються зміною термодинамічних параметрів стосовно
значень, характерних для динамічної рівноваги між твердою й газоподібною
фазами, мають властивість термосорбційної оборотності.
(3.1)
Таким чином, для відповідності принципу термосорбційної
оборотності необхідно й досить, щоб реакція протікала шляхом прямої взаємодії
газоподібного водню з гідридоутворюючим матеріалом, і напрям реакції визначався
напрямом теплового впливу, а співвідношення між температурою й тиском
описувалося залежністю
, (3.2)
де А и В - постійні коефіцієнти, що залежать від виду
металогідриду.
Термосорбційна оборотність є визначальним показником придатності
металогідридів для практичного використання в установках циклічної дії.
Введення поняття термосорбційної оборотності в практику аналізу
властивостей металогідридів дозволило на попередній стадії дослідження
скоротити обсяг теоретичних і експериментальних робіт, пов'язаних з вибором
металогідридів, придатних для використання в установках циклічної дії.
Крім відповідності принципу термосорбційної оборотності, комплекс
вимог, які стосуються металогідридів, що використовуються для енергетичної
переробки водню, має технічну й економічну сторони. Найбільш важливими
факторами, що визначають практичну придатність металогідридів, є: сорбційна
ємність, кінетика процесів сорбції й десорбції водню, ізобарний гістерезис,
реакційна здатність металогідридів стосовно газових домішок, токсичність,
здатність витримувати потрібне число циклів гідрування без втрати
термосорбційних властивостей, доступність вихідної сировини й простота
технології виготовлення гідридоутворюючих матеріалів, вартість
гідридоутворюючого матеріалу.
Залежно від цільового призначення металогідридної установки
перераховані вимоги можуть бути доповнені пунктами, що випливають із конкретних
умов експлуатації і стосуються вибухонебезпечності, компактності, стійкості до
розкладання гідридоутворюючих інтерметалічних матеріалів при циклічних
баротермічних навантаженнях і т.п.
При виборі металогідридів необхідно враховувати також те, що
значимість окремих вимог неоднакова для установок різного функціонального
призначення. Однак, для всіх без винятку металогідридних систем найбільш важливими
критеріями є параметри масо-теплопереносу у шарі металогідриду, що обумовлює
динаміку термосорбційних процесів.
3.2 Дисперсна
система металогідриду
Найбільш проста і, як наслідок, найбільш легко реалізованою у
металогідридних установках є конструкція генератора-сорбера (ГС), у який
металогідрид завантажується вільним засипанням та віброущільненням. Важливою
характеристикою таких дисперсних систем є насипна щільність, що залежить від
гранулометричного складу металогідриду. Відомості про насипну щільність
необхідні як при обробці й узагальненні даних експериментів, так і при розробці
конструкції металогідридних елементів. Тому були проведені роботи з вимірювання
щільності металогідрида LaNi5Hx, що пройшли попередню
активацію з наступним наробітком 570 циклів гідрування. Перед вимірюванням з
металогідриду був витягнутий водень шляхом нагрівання до 350 К у динамічному
вакуумі протягом 9∙103 с. Вимірювання щільності проводилося
імерсійним методом [6]. У якості імерсійної рідини був використаний гас. Металогідрид
масою 2,48 кг був поміщений у скляну мірну посудину ємністю 1 дм3.
Об’єм, зайнятий металогідридом, дорівнював 8.85·10-4 м3
(насипна щільність 2,80∙103 кг/м3). У мірну
посудину було залито 6·10-4 м3 гасу. Під час заливання
виконувалося розмішування порошку металогідриду для видалення газу. Сумарний
обсяг, зайнятий металогідридом і гасом, склав 0.9 м3.
Визначена таким шляхом щільність часток обезводнюваного металогідриду дорівнює r = 8,267∙103 кг/м3,
що добре співвідноситься з результатами інших авторів.
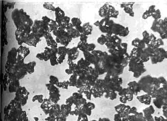
Для тієї ж партії металогідриду був визначений
гранулометричний склад. На рис.3.1 наведена фотографія часток металогідриду,
виконана з 500-кратним збільшенням розмірів часток за допомогою
металографічного мікроскопа МІМ-8. Як видно з фотографії, частки мають довільну
форму. Ряд фотографій, подібних наведеної, виконаних для різних вибірок часток
зі збільшенням 850х послужив для встановлення закону розподілу
часток активованого LaNi5Hx за розміром. Обсяг однієї
вибірки визначався кількістю часток, що потрапили в границі кадру, і становив
400 - 500 шт. Статистична обробка фотографій дозволила встановити середній
розмір часток. На рис.3.1 представлено результат статистичної обробки.
Мінімальний зареєстрований
Рисунок 3.1 - Частки активованого МГ LaNi5Hx
(500-кратне збільшення)
Рисунок 3.2 - Закон розподілу часток активованого МГ LaNi5Hx
за розмірами.
Розмір часток становив близько 2 мкм, максимальний - 22 мкм.
Найбільше число часток - до 44 % - мало розмір 7 - 8 мкм.
Середній розмір частки визначався за формулою
, (3.3)
де Ni - число часток розміру di;
NΣ - обсяг вибірки.
Для LaNi5Hx, що пройшов близько 100 циклів
активації,
dсер = 8,73 мкм. Для характеристики ступеня
однорідності розмірів часток використаний коефіцієнт варіації
, (3.4)
де σ (d)
- середньоквадратичне відхилення.
Коефіцієнт варіації даного випадку склав s= 0,483.
Аналіз значень нормованого відхилення показав, що закон розподілу
часток активованого LaNi5Hx по розмірах несуттєво
відрізняється від розподілу Гауса.
Для порівняння на рис.3.3 (крива 2) показано розподіл по розмірах
часток після помелу в кульовому млині злитків інтерметаліда LaNi5.
Середній розмір частки після помелу, визначений по формулі (3.3), склав 140
мкм. Коефіцієнт варіації в цьому випадку був дорівнює 0,676. За цим даними, а
також з рис.3.3 видно, що, подрібнюючись у процесі активації, частки стають
більше однорідними по розмірі. Це ж підтверджується даними, наведеними на
рис.3.4, де представлений гранулометричний склад металогідридів LaNi5Hx
і FeTiHx залежно від числа циклів гідрування.
При розробці конструкції
генератора-сорбера із щільним шаром металогідриду необхідно враховувати
гідравлічні характеристики шару, тому що при певних геометричних
співвідношеннях фільтрація водню крізь шар може лімітувати інтенсивність
термосорбційних процесів.
- активований МГ LaNi5Hx;
- інтерметалід LaNi5, помелений у кульовому млині
Рисунок 3.3 - Порівняння розподілу часток по розмірах
3.3
Розрахунок гідравлічних характеристик генераторів-сорберів
На подолання гідравлічного опору шару металогідриду
затрачається частина енергії на усмоктування чи нагнітання водню
металогідридною установкою, це може бути, наприклад термосорбційний компресор
(ТСК). Тому гідравлічний опір шару повинен бути зведено до мінімуму. Малий
гідравлічний опір забезпечує тонкий шар, але таке рішення веде до обважнення
конструкції й збільшенню шкідливого простору. Отже, товщина шару металогідриду
повинна вибиратися на основі комплексної оцінки ефективності пристрою.
5Hx (-°-) і FeTiHx,
(-- ) від кількості циклів сорбції-десорбції
Рисунок 3.4 - Залежність гранулометричного складу
металогідридів
4. Аспекти
застосування автомобільних гідридних акумуляторів водню
При оцінці можливості застосування того чи іншого гідрида в
якості акумулятора водню для транспортної енергетичної установки з ДВЗ основною
умовою є виділення необхідної кількості водню з гідрида на всіх режимах роботи
двигуна.
Серед металогідридів мають місце як екзотермічні гідриди, що
виділяють водень при підводить до них тепла, так і ендотермічні, що виділяють
водень при умові їх охолодження. Перші є більш доцільними для застосування в
транспортних енергоустановки з ДВЗ, оскільки для виділення водню з них може
бути використана енергія, що виносяться в систему охолодження двигуна і енергія
відпрацьованих газів. Застосування ендотермічною гідридів вимагало б
встановлення додаткової системи з відповідним енергоспоживанням [7]. Гідриди
FeTi-H2, Mg2Cu-H3 як найбільш перспективні для
транспортних енергетичних установок з ДВЗ відносяться до екзотермічної групи,
тому доцільно провести аналіз енергетичного балансу на базі цих гідридів. Для
низькотемпературного гідрида FeTi-H2 може бути використана як
енергія що виносяться до систему охолодження, так і енергія відпрацьованих
газів, а для високотемпературних гідридів тільки енергія відпрацьованих газів.
Так як ізотерм рівноважного тиску водню над гідридом, що відповідає 1,5 МПа,
лежить в межах 250-300° С.
У загальному вигляді енергобалансу автомобільної
енергоустановки з гідридним акумулятором водню може бути представлений у
наступному вигляді (рис.4.1):
Рисунок 4.1 - Загальному вигляді енергобалансу автомобільної
енергоустановки з гідридним акумулятором водню.
Незалежно від типу гідрида і способу підведення енергії для
будь-якого режиму роботи двигуна повинна виконуватися наступного
співвідношення:
∆Q = Qд−QS ≥ 0, (4.1)
де Qд - енергія, що виносяться з ДВС в систему
охолодження або з відпрацьованими газами;- енергія, підводима до гідриду для
виділення необхідної кількості водню.
Проведемо аналіз для систем з низькотемпературних гідридом
FeTiH2 і підводом енергії з системи охолодження двигуна. Витрата
енергії в водневим двигуном на одиницю потужності складає в середньому 12500
кДж/кВт. год. По експериментальним даними з охолоджуючої рідиною систем
охолодження передає в навколишнє середовище в середньому 20% введеної з паливом
енергії, тобто приблизно 2500 кДж/кВт. год. У той же час для виділення
необхідної кількості водню, вважаючи, що QS = 14920 кДж / кг Н2
треба підвести 1500 кДж/кВт. год., Що складає близько 60% від енергії,
віддавати двигуном в систему охолодження. Таким чином, низькотемпературна
гідрид FeTiH2 може ефективно працювати в теплообмінне контурі з
системою охолодження двигуна, забезпечуючи виділення водню в необхідних
кількостях і з будь-яким тиском до 1,0-15 МПа. Крім цього, така система за
рахунок відбору енергії з системи охолодження гідридом, дозволяє зменшити площу
радіатора охолодження.
У системах з низькотемпературних гідридом і підводом енергії
від відпрацьованих газів не може бути недоліку в енергії, оскільки з
відпрацьованими газами двигуна виноситься в середньому близько 40% енергії
палива, що складає близько 5,0 МДж/кВт. год., У той час як питома енергія
десорбції водню всього лише 1,5 МДж / кВт. год. Надлишок енергії може бути
легко погашений шляхом регулювання витрати відпрацьованих газів через гідридний
акумулятор.
Високотемпературні гідриди магнієвої групи мають енергію
освіти (енергія десорбції) від 30.103 до 39.103 кДж/кг Н2, що більш
ніж у два рази перевищує енергію десорбції низькотемпературних гідридів,
незважаючи на це, енергія газів, достатня для виділення необхідної кількості
водню. Як було показано вище, енергія відпрацьованих газів становить 5,0 МДж/кВт.
год., а енергія десорбції навіть для гідрида МgH2, (самого
енергоємного) не перевищує 4,0 МДж/кВт. год. На перший погляд здається, що
ніяких проблем для застосування високотемпературних гідридів в якості
акумуляторів водню для транспортних ДВС не існує. Однак, це тільки на перший
погляд, оскільки в наведеному балансі не врахована робоча температура гідрида.
Тому при аналізі балансу енергії необхідно розглядати не повну енергію
відпрацьованих газів, а диспонуємо, тобто ту частину енергії відпрацьованих газів,
коли температура дорівнює або вище ізотерми гідрида при заданому рівноважному
тиску водню. Для ДВЗ з зовнішнім сумішоутворення робочий тиск водню У системі
живлення не повинно бути нижче 0,1-0,15 МПа, при внутрішньому сумішоутворення з
подачею водню на такті випуску не менше 0,3-0,4 МПа і при внутрішньому
сумішоутворення з подачею водню на такті стиснення не менше 1,5 МПа.
Уточнена оцінка можливості застосування того чи іншого
гідрида в якості акумулятора водню для транспортної енергетичної установки може
бути проведена за методикою. Суть методики полягає у порівнянні диспонуємо
енергії, відпрацьованих газів, підраховані за їх температурі і витраті на
режимах їздових циклу, з енергією, необхідної для десорбції водню на тих же
режимах [8]. Ця методика може бути використана як для випадку роботи двигуна
тільки на водні, так і для випадку роботи двигуна на суміші бензину з воднем.
Розрахунок диспонуємо енергії здійснюється за наступним виразом:
Р = GО. Г ∙СР (t1.
OГ - t2. OГ) τР/3600, (4.3)
де GО. Г - кількість відпрацьованих газів (кг);
Ср - теплоємність відпрацьованих газів (кДв/кг. град);1.
OГ. - температура газів на вході в акумулятор;2. OГ - температура
відпрацьованих газів на виході з акумулятора;
τР - час режиму їздових
циклу (секунд).
Енергія десорбції необхідної кількості водню з гідридів
визначається згідно з виразом:
QS=
, (4.4)
де
- часовий витрата водню (кг);

- енергія десорбції (кДж/кг Н2)
При цьому в методиці зроблені наступні допущення:
) тиск водню в гідридному акумуляторі постійний;
) гідридний акумулятор прогріті до температури десорбції;
) система без інерційна;
) теплоємність газів постійна Ср = 1,086 кДж / кг. град.;
Нижче на прикладі автомобіля ГАЗ-24 "Волга" з двигуном,
що працює на суміші бензину з воднем, показаний аналіз енергетичного балансу
системи ДВЗ - "гідридний акумулятор водню" при випробуваннях автомобіля
за їздових циклу згідно ОСТ 37.001.54-74. Даний їздових цикл включає найбільш
характерні режими роботи автомобільного двигуна в умовах міської експлуатації з
високою інтенсивністю руху.
На рис 4.1 показаний випробувальний їздових цикл і відповідні його
режиму кількість Gо. г, і температура tо. г. газів, а
витрати водню GH2, отримані шляхом перерахунку результатів стендових
випробувань двигуна ЗМЗ-24 при роботі на суміші бензину з воднем. Сумарний
витрата водню за їздових цикл становить 15,6 грамів, причому максимальний
витрата має місце на режимах П та Ш передач (0,67 кг/год та 0,66 кг/год)
відповідно, на режимі холостого ходу витрата не перевищує 0,180 кг/час, а на
режимах примусового холостого ходу подача водню вимикається.
Розташовується енергія відпрацьованих газів підраховувати на
кожному режимі їздових циклу для різних температур газів на виході з гідридного
акумулятора (t2о. г = 0; 50; 100; 140; 200; 260; 320°С). Рис.4.1
ілюструє співвідношення диспонуємо енергії відпрацьованих газів і необхідної
для десорбції водню по режимам їздових циклу для гідридного акумулятора на
сплавах FеTi і Мg2Ni. Для низькотемпературного гідрида (t2о. г =
50° С) розташовуються енергії цілком достатньо для десорбції необхідної
кількості водню на всіх режимах їздових циклу, включаючи холостий хід, причому
на більшості режимів має місце значний надлишок тепла. Для високотемпературного
гідріда Mg2NiH4 (t2о. г =260°С) розташовуються
енергії достатньо лише на режимах руху з постійною швидкістю.
Забезпечити постійну температуру на виході з
теплообмінника-гідридного бака − неможливо, так як температура продуктів
згоряння змінюється в широких межах (120-480°Св залежності від режиму їздових
циклу [9]. При постійній поверхні теплообміну У гідридному баці з підвищенням
температури продуктів згоряння на вході в теплообмінник також збільшується
температура на виході, що призводить до зниження диспонуємо тепла в циклі. Де
показано також необхідну кількість тепла для десорбції водню за цикл ряду
гідридів в інтервалі температур для рівноважних тисків від 0,15 до 1,0 МПа. Як
видно з малюнка, для низькотемпературних гідридів диспонуємо кількість тепла в
2-3 рази перевищує необхідне. Надлишок тепла, щоб уникнути перегріву гідридного
бака і збільшення тиску водню в ньому вище розрахункового, необхідно скидати,
що досягається установкою розподілювача ВГ, який здійснює кількісне регулювання
витрати продукту згоряння через теплообмінник гідридного бака і тим самим
забезпечує нормальну роботу гідридного бака при температурах продуктів
згоряння, значно перевищують рівноважну температуру десорбції при 1,0 МПа.
Найбільш перспективним з показана низькотемпературних гідридів
слід вважати гідрид FeTiH2, що має найбільшу сорбційну здатність і низьку
вартість, хоча і вимагає для заправки водень високої чистоти (99,98%). Тому на
стадії експериментальних робіт з гідридними системами зберігання водню поряд з
FeTi, може бути використаний і більш дорогий гідрид LaNi5H6,
7, який багаторазово (не менше 3000 циклів) поглинає технічний водень (98,5%)
без погіршення сорбційних властивостей.
Гідрид FeTiH2 цілком задовольняє вимогам балансу тепла
і на будь-яких стаціонарних режимах руху автомобіля, на якому представлено
зміна кількості диспонуємо тепла в залежності від температури вихідних газів.
Так як витрата водню на розглянутих режимах різний, то необхідну кількість
тепла для виділення водню з гідридом на цих режимах показано заштрихованою
областю. Для забезпечення витрат водню на холостому ходу двигуна температура
вихідних газів на виході з гідридного бака не повинна перевищувати 60°С.
Враховуючи фактор теплової інерційності гідридної системи
зберігання водню, слід очікувати його нестачі на перехідних режимах роботи
двигуна, на яких відбувається різке збільшення витрат водню. При загальній
витраті водню за цикл дорівнює 15,6 грамів на частку перехідних режимів
припадає 22%. Оскільки перехідні режим йдуть, як правило, за неодруженому
ходом, де надлишок тепла практично відсутній, доцільно використовувати надмірне
тепло інших ділянок циклу для накопичення водню з наступним його використанням
на перехідних режимах. Це може досягатися установкою накопичувальної ємності,
Крім цього, в процесі виділення водню з гідриду можливо додаткове збільшення
обсягу накопичувальної ємності за рахунок обсягу гідридів, що значно підвищить динамічні
якості системи живлення двигуна. Наявність накопичувальної ємності необхідно
також для забезпечення запуску двигуна.
Розглядаючи можливість застосування високотемпературних гідридів
магнієвої групи в якості автомобільних акумуляторів водню, слід відзначити, що
жоден з цих гідридів не задовольняє прийнятим балансу тепла. Диспонуємо тепла
за їздових циклу досить усього лише для виділення 12,5% необхідної кількості
водню при використанні гідридом Мg2CuH3 і 24% Мg2CuH4
при мінімальному робочому тиску у системі живлення 0,15 МПа. Отже, гідриди цієї
групи не можуть бути використані в якості самостійних акумуляторів водню для
автомобілів. Їх застосування доцільно в комбінованих схемах з
низькотемпературних гідридів, що дозволить істотно знизити загальну масу
гідридної системи [10]. Гідрид Мg2CuH3 не представляє
інтересу, так як не має переваг перед гідридом МgNiH4, а його
сорбційна здатність значно нижче. Гідрид МgН2, хоча і має високу
здатність сорбційна розглядатися в подальшому не буде, оскільки його частка в
комбінованої системі вдвічі нижче.
Найбільш доцільним слід вважати застосування в комбінованих
гідридних системах сплаву Мg2Ni, для якого розташовується теплота
достатня для виділення 24% від сумарного витрати водню в їздових циклі, а в
реальних умовах міської експлуатації частка цього сплаву в комбінованої системі
може досягати 50%, що дасть зниження маси на 25,5%
Перспективність застосування сплаву Мg2Ni
підтверджується також тим, що на режимах усталеного руху на прямий передачу
диспонуємо тепла газів, достатньо для покриття 47% витрат водню при швидкості
60 км/год, 80%.
5. Макетний
зразок водневого автонавантажувача моделі 4092 - 01
5.1
Конвертування ДВЗ на живленні воднем
Основна проблема виникає при перекладі поршневих двигунів на
живлення воднем, є займання свіжого заряду на такті випуску, що назване
фахівцями зворотнім спалахом, що проявляється у вигляді добре прослуховує
бавовною у впускному колекторі і практично завжди призводить до зупинки
двигуна.
Теоретичні та експериментальні дослідження, проведені в
інституті проблем машинобудування НАН України, дозволили зробити про те, що
зворотний спалах є наслідком дуже низької енергії займання водньоповітряної
суміші близького до стехеометричного складу і відбувається під час перекриття
випускного і випускного клапана в результаті контакту суміші з гарячими
відпрацьованими газами.
Різні способи придушення зворотного спалаху (такі, як
рециркуляція відпрацьованих газів, уприскування води в циліндр або у впускний
колектор, подача водню при низьких температурах і циклової подача його з
запізнювання щодо моменту відкриття впускного клапана), піддані
експериментальній перевірці, або виявилися малоефективними, або вимагають
розробки складних технічних пристроїв, для своєї реалізації.
В якості альтернативи перерахованими методами запобігання
зворотного спалаху був запропонований спосіб роботи ДВС [10] с безперервного
подачею водню у впускний колектор (в зону перед впускному клапаном). При цьому
в перший момент після відкриття клапана циліндр надходить тільки багата водню
не запалюється суміш, завдяки чому температура залишкових газів знижується і
займання водньоповітряної суміші не відбувається. Такий спосіб боротьби зі
зворотним спалахом не погіршує техніко-економічні показники водневого двигуна,
а його конструктивне перетворення відрізняється простою і відсутністю рухомих
деталей.
Реалізація описаного способу здійснюється заміною штатного
впускного колектора спеціальним, співвідношенням основних конструктивних
параметрів якого описано напівемпіричною залежністю [11]. Оснащення декількох
моделей двигунів спеціальними випусками колекторами показало, що всі вони
працювали на водні стійко, при чому в цьому діапазоні зміною частоти обертання
колінчатого вала коефіцієнта надлишку повітря.
Пошукові роботи по альтернативним способам придушення
зворотного спалаху та оптимізації параметрів робочого циклу поршневого
водневого ДВС були продовжені. Так, для виключення зворотного спалаху вжити
заходи щодо зниження температури продуктів згоряння на номінальному та близьких
до німу режимах роботи водневого двигуна. Зокрема, проведені теоретичні
дослідження впливу співвідношення між ступенем стиснення (ε) та коефіцієнтом надлишку повітря (α) на основні показників
водневого ДВС [12]. Чисельне моделювання робочого циклу показало, що одночасне
збільшення і α при незмінному середньому індикатором
тиску (pi) дозволяє збільшити індикаторний ККД, а також знизити
максимальну температуру і температуру продуктів згоряння в момент відкриття
випускного клапана. При чому останню-до величини, при якій зворотній спалах не
виникає. Такий підхід дає ще один, поряд з описаним вище, спосіб вирішення
проблем виникнення зворотного спалаху в водневому двигуні Для зручності
використання даного методу були виведені універсальні аналітичні залежності [13]
для підрахунку мінімальних і більш високих значень ступеня стиснення та
коефіцієнта надлишку повітря при дотриманні умови pi=const.
Слід зазначити, що істотне збільшення ступеня стискання (до ε = 11,0 і вище) призводить до необхідності розробки спеціальної
головки циліндрів для водневого двигуна. Але й невелике збільшення є, досягнуте
доробкою (фрезерування) штатної головки, призводить до зниження температури
продуктів згоряння та разом з описаним вище способом значно спрощує задачу
придушення зворотного спалаху при одночасним поліпшення показника водневого
ДВС.
Як зазначалося вище, ще одним серйозним порушенням
стабільності протікання робочого циклу водневого двигуна є передчасне займання
водню-повітряних сумішей, близьких до складу стехіометричної, в процесі
стиснення, або калільного запалювання В якості засобу боротьби з цим явищем
використовувалася ретельна підготовка камери згоряння. а саме усунення
подряпин, гострих крайок і зняття нагару (якщо двигун до конвертування працював
на бензині). Але все ж найбільш важливим фактором запобігання калільного
запалювання є вибір типу свічок запалювання.
При виборі способу регулювання потужності водневого двигуна
ставилося завдання досягнення високого рівня ефективного ККД у всьому діапазоні
навантажень аж до холостого ходу. Широкі концентровані межі займання
водньоповітряних сумішей свідчать про можливість якісного регулювання
потужності водневого двигуна. Однак аналіз даних, отриманих при проведенні
експериментальних досліджень, показав, що при α > 3,5 - 4,0 спостерігається
зниження індикаторне ККД. Тому для досягнення високої ефективності робочого
циклу водневого двигуна на малих навантаженнях, було 6и доцільно обмежувати
максимальне значення коефіцієнта надлишку повітря зазначеної величиною, тобто
застосовувати змішане регулювання. І все ж на певному етапі розробки концепції
водневого двигуна з метою спрощення системи управління їм цілком допустимо
зупинитися на якісному регулювання потужності. На користь цього твердження
свідчить і той факт, що, незважаючи на очевидну ефективність застосування
дроселювання на малих навантаженнях (до 30% на холостому ходу), сумарне
зниження витрати водню при роботі міському циклу складається всього близько 3 -
4% У подальшій нашій роботі цей резерв підвищення паливної економічності
звичайно ж буде використаний.
При виборі способу регулювання потужності водневого двигуна
ставилося завдання досягнення високого рівня * ефективного ККД у всьому
діапазоні навантажень аж до холостого ходу. Широкі концентровані межі займання
водньоповітряної сумішей свідчать про можливість якісного регулювання
потужності водневого двигуна. Однак аналіз даних, отриманих при проведенні
експериментальних досліджень, показав, що при α> 3,5 - 4,0
спостерігається зниження індикаторне ККД. Тому для досягнення високої
ефективності робочого циклу водневого двигуна на малих навантаженнях, було 6и
доцільно обмежувати максимальне значення коефіцієнта надлишку повітря
зазначеної величиною, тобто застосовувати змішане регулювання. І все ж на
певному етапі розробки концепції водневого двигуна з метою спрощення системи
управління ім цілком допустимо зупинитися на якісному регулювання потужності.
На користь цього твердження свідчить і той факт, що, незважаючи на очевидну
ефективність застосування дроселювання на малих. навантаженнях (до 30% на
холостому ходу), сумарне зниження витрати водню при роботі городовий циклу
складається всього близько 3 - 4% У подальшій нашій роботі цей резерв
підвищення паливної економічності звичайно ж буде використаний
Результати стендових випробувань двигуна УМЗ-417 зі
збільшеною до 8,9 ступенем стиснення та встановленим спеціальним впускному
колектором при якісному регулюванні потужності, наведені на, ілюструють високу
ефективність робочого циклу при роботі на водні по описаного вище способу Близько
60%, робочої зони універсальної характеристики з ефективного ККД має рівень
вище ηе = 0,3 тобто зона найкращої економічності водневого двигуна в
порівнянні з бензиновим значно великий і має більш високі абсолютні значення
(на 15-20% вище, ніж у бензинового двигуна. Ще значний перевага водневого
двигуна в області малих навантажень - тут ефективність його робочого циклу в 2
рази вище, чому бензинового двигуна. Остання обставина має вирішальне значення
при використанні водневого автомобільного транспорту в умовах міський
експлуатації Що ж стосується деякого зниження максимальної потужності при
переході на водень при зовнішньому сумішоутворення (близько 15%), то воно, у
разі необхідності, може бути компенсовано підвищенням ступеня стиснення або
застосуванням наддуву.
При знятті характеристик двигуна УМЗ-417 на моторному стенді
проводився відбір проб газів, для аналізу на присутність в них оксидів азоту
(|NOх) та залишкового водню (Н2). Замір концентрації
залишкового водню у відпрацьованих газах мав на меті визначити ступінь повноти
згоряння водньоповітряної суміші, а також можливість утворення в системі
випуску вибухонебезпечної концентрації водню. Проведені дослідження показали,
що об’ємна частка водню у відпрацьованих газах становить при стехіометричному
складі суміші близько 0,02%, а при αmax - 0,6%. Вказані
концентрації свідчать про високу якість протікання робочого циклу і не є
вибухонебезпечними, перебуваючи за межами займання водньоповітряних.
Максимальний вихід оксидів азоту з відпрацьованими газами
водневого двигуна спостерігається, як і у бензинового двигуна, на режимі 85 -
90% від максимальної навантаження. Однак при збіднених водньоповітряних сумішей
емісія оксидів азоту різко падає при падає і при α> 1,9 - 2.0, тобто при
навантаженні менше 65%, освіта оксидів азоту практично припиняється [14].
Виявлений характер зміни емісії N0х по навантажувальні характеристиці дає
підстави припускати, що інтегральні викиди цього токсичного компонента при
роботі транспортного засобу з водневим двигуном по їздових циклу будуть
невеликі, оскільки в цьому циклі більшу частину часу займають малі та середні
навантаження (рис.5.2).
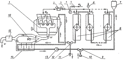
Першим автотранспортним засобом, двигун якого (УМЗ-451МП)
конвертований на живленні воднем з пропонованої концепції, став
автонавантажувач моделі 4092 [15] акумулювання водню на борту експериментальної
машини засноване на використанні оборотних металогідридів. Гідридний акумулятор
місткістю 2,7 кг водню встановлений на місце верхній частині противагу, при
цьому загальна маса автонавантажувача і розподіл навантаження по осях не
змінилися.
Відділенням проблем машинобудування, механіки і процесів
управління АН СРСР і Президією АН СРСР роботи по створенню водневого варіанти
автонавантажувача моделі 4092 віднесені до числа найважливіших досягнень АН СРСР
за 1987 рік. За пропозицією керівництва Одеського морського торгового порту в
1987 році були проведені випробування створеного зразка в умовах реальної
експлуатації в складських приміщеннях порту.
Рисунок - 5.2 Навантажувальна характеристика двигуна УМЗ -
417 (n=2000 хв-1)
У процесі випробувань були підтверджені гарна працездатність
і екологічна чистота водневого автонавантажувача, а також висловили ряд
конструктивних пропозицій щодо його вдосконалення.
Наступним об'єктом, двигун якого (УМЗ-417) був конвертований
на харчування воднем, став автонавантажувач моделі 4092-01 [16]. На відміну від
свого попередника цей експериментальний зразок обладнаний істотно більш
потужним двигуном (за рахунок збільшення ступеня стиснення), а його гідридний
акумулятор, повністю замістити противагу, вміщує 6,8 кг водню, що забезпечило
збільшення тривалості роботи без дозаправлення з 2 до 4,5 години.
Отримане на моторному стенді поле характеристик водневого
варіанту цього двигуна з якісним регулюванням потужності дозволило розробити
систему автоматичного регулювання витрати водню і кута випередження запалювання
(рис.5.3)
- балона рампа; 2, - запірний вентиль, 3-понижуючий редуктор;
4 та 8 - електроклапани, 5 - електронний блок відключення. подачі водню; 6 -
регулювальний вентиль холостого ходу; 7-регулювальні вентиль пускового
пристрою, 9 - реле, 10 - педаль управління; 11 - соленоїд; 12 - механічний
дозатор; 13-розподільник запалювання, 14 - відцентровий дозатор з обмежувачем
частоти обертання колінчастого вала; 15-відцентровий регулятор; 16-ДВС
Рисунок 5.3 - Схема системи паливоподачі та регулювання кута
випередження запалювання водневого двигуна.
Водень з балонної рампи 1 через запірний вентиль 2,
понижуючий редуктор 3 і 4 електроклапан подається до першої сходинки
регулювання - механічному дозатор 12, керованого педаллю 10 і регулює витрата
водню по навантажувальні характеристиці.
Послідовно з механічним з'єднанням відцентровий дозатор - 14,
що наведений в дію відцентровим регулятором 15 і призначений для корекції
витрат водню за швидкісними характеристиками (в його конструкцію введено
обмежувач частоти обертання вала водневого двигуна). Відцентровий дозатор
з'єднаний з трубками спеціального впускного колектора двигуна 16
Паралельно двоступінчастий системі дозування подачі водню,
замкненою у вихідному положенні педалі 10 управління, включена система пусковий
подачі водню і холостого ходу. Вона дозують подачу водню при пуску двигуна і
роботі на холостому ходу і складається з регулюючого вентиля 6 холостого ходу,
електроклапана 8, підключеного через реле 9 паралельно обмотці електростартера
двигуна, і регулюючого вентиля 7 пускового пристрою. Електроклапаном 4 управляє
електронний блок 5, відключають подачу водню при непрацюючому двигуні та його
випадкової зупинці.
Як показали експериментальної дослідження, в першу приближені
оптимальний кут випередження запалювання водневого двигуна не залежить від
швидкісного режиму і визначається тільки навантаженням, тобто положенням педалі
управління, пов’язаний механічно з розподільником 13 запалювання. Тому в
розподільнику центробіжний коректор вимкнено. Вакуумний ж коректор
використовується для роботи пускового пристрою, що приводиться в дію соленоїдом
11, підключеним паралельно обмотці стартера
5.2 Вибір
типу інтерметаліда для системи акумулювання водню на борту автонавантажувача
При виборі типу інтерметалічного з'єднання для заповнення
бортового гідридного акумулятора водню необхідно керуватися наступними
основними вимогами:
) тиск активації не більше 1,5 МПа;
) тиск дисоціації гідридної фази при 20° С - 0,15 - О, 5 МПа;
) сорбційна ємність не менше 150 см3Н2/г;
) можливість застосування водню технічної чистоти;
) можливість застосування при виробництві інтерметаліда
компонентів, що володіють доступністю і відсутністю жорсткої фондіруємості.
Всі відомі до цього часу інтерметалічні з'єднання, які
використовуються для оборотного накопичення водню, можна розділити на два
класи:
високотемпературні
низькотемпературні.
До перших відносяться з'єднання магнію і деякі з'єднання
титану та цирконію. Для них температура десорбції, що забезпечує задані
параметри дисоціації, становить 350О С і вище, що є неприйнятним в
розглянутому нами випадку.
До низькотемпературних гідридів інтерметалідів відноситься
велика група матеріалів на основі сполук LaNi5 і TiFe [17]. Теплота
десорбції водню для них становить 17 - 170 кДж/кмоль що визначає температуру
десорбції, як правило, в межах 50 - 150°С. Композиції типу TiFе дуже чутливі до
чистоти водню із-за наявності в їх складі великої кількості окислоутворюючого
титану. При роботі з технічним воднем без попереднього очищення утворюється
плівка оксидів блокує доступ водню до інтерметаліду. До цього слід додати, що
існуючі в СРСР технології по отриманню зазначених композицій орієнтовані на
використання чистих компонентів, які, в особливості титан, жорстко фондіруємі.
Сказане вище ставить нас перед необхідністю припустити, що
шуканий інтерметалід може представляти собою з'єднання типу АВ5, де
А - сильний гідрідообразуючий елемент (звичайно лантану або інші рідкоземельні
елементи), В - каталізатор дісоціатівной хемосорбціі (зазвичай елементи 8-ї
групи періодичної системи). Попередній аналіз по пунктам вищенаведених вимог
показує наступне. По пункту I) в літературі [17] наводяться відомості, що
вказують на застосування тисків 5 - 6 МПа, хоча при удосконаленні процесу
активації ці значення можуть бути знижені. Пункти 2) і 3) цілком забезпечуються
цим класом інтерметалічних сполук. Про виконання пункту 4) говорить той факт,
що в силу малих кількостей гідрідообразуючего елементу (1/6 в атомному виразі),
який є і окіслообразующім елементом, цей клас інтерметалідів найменш чутливий
до чистоти водню. І нарешті, композиції типу ЦЛАН (система церій -
лантан-алюміній-нікель) на основі з'єднання LaNi5 є єдиними в СРСР,
які виготовляються в дослідно-промисловому масштабі з використанням порошків
оксидів рідкісноземельних елементів, що не є жорстко фондіруемимі сировинними
продуктами, що забезпечує виконання пункту 5).
Таким чином, орієнтація на інтерметалічні з'єднання типу АВ5
принципово дозволяє виконати всі пункти сформульованих вимог.
З усіх інтерметалічних сполук на основі LaNi5 був
зроблений вибір на користь системи ЦЛАН-1, що випускається НВО
"Тулачермет" за ТУ 14-22-3-87 і має такий склад:
0, 98 ∙Ce0, 02 ∙ Ni4, 98
∙ AL0, 02 (5.1)
Алюміній служить тут технологічної добавкою і його
стабілізуючою вплив на гідридну фазу нівелюється таким же кількістю
дестабілізуючий церія. Таким чином, властивості ЦЛАН-1 ідентичні інтерметаліду
LaNi.
На ріс.5.4 наведені ізотерми десорбції в цій системі при
температурах 25, 50, 100 і 1500С. Відповідно тиск дисоціації
гідридної фази становить, МПа: 0,2; 0,5; 2,0 і 5,5 (по середині відповідних майданчиків
на ізотерм). Сорбційна ємність при 200С склала понад 150 см3 Н2/м.
Матеріал активували при тиску водню 5,0 МПа протягом 1,5 години. В подальшому
було зроблено кілька напусків водню з наступним відбором дозованих порцій водню
для побудови ізотерм десорбції.
Складніше відбувалася активація при тиску водню 1,5 МПа.
Матеріал простояв при такому тиску і температурі 20° С близько 25 годин без
ознак активації. Потім водень був відкачаний і при залишкового тиску 10-3
мм рт. ст. реактор був прогріті до температури 350° С на протязі 2-х годин,
включаючи час нагрівання та охолодження. Після охолодження до кімнатної
температури був повторений напуск водню при тиску 1,5 МПа. Через кілька хвилин
був відзначений слабкий розігрів реактора, свідчить про початок процесу
гідридоутворення. Після проведення ще двох таких циклів сорбент вийшов на
номінальні властивості, повністю ідентичні тим, які були у нього після
активації при тиску водню 5,0 МПа.
- t=250C; 2 - t=500С; 3 - t=1000С;
4 - t=150
Рисунок 5.4 - Ізотерми десорбції в системі ЦЛАН-1-Н2
Отже, в якості інтерметаліда для системи акумулювання водню
на борту автонавантажувача обраний ЦЛАН-1, що задовольняє наведеним вище
вимогам.
5.3 Гідридний
акумулятор водню
Гідридний акумулятор, встановлений на місце противаги,
призначений для тривалого зберігання водню на борту автонавантажувача і
виділення цього палива з гідридних елементів при роботі двигуна. Акумулятор
складається з каркасу, в якому горизонтально встановлені чотирнадцять гідридних
елементів, послідовно з'єднаних між собою патрубками підведення і відведення
теплоносія. Гідридні елементи мають загальний колектор для підведення і
відведення водню. Технічна характеристика гідридного акумулятора водню наведена
в табл.5.2.
Таблиця 5.2 - Технічна характеристика гідридного акумулятора
|
Найменування показників
|
Значення
|
|
Гідроутворюючий сплав
|
ЦЛАН-1
|
|
Маса гідро утворюючого сплаву, кг
|
562,8
|
|
Маса акумулюємого водню, кг
|
6,83
|
|
Маса акумулятора (з гідридом), кг
|
1000
|
|
Тиск водню при заправки, МПа
|
1,5-2,0
|
|
Робочий тиск водню, МПа
|
0,2-0,5
|
|
Час заправки (активне), хвл
|
15-20
|
|
Теплоносій
|
вода
|
На рис. 5.5 представлена схема системи подачі теплоносія в
гідридний акумулятор. Заправка акумулятора виробляється газоподібним воднем під
тиском 1,5 - 2,0 МПа від джерела водню через заправний вентиль (5, см.
ріс.5.3). Перед герметизації заправного трубопроводу здійснюється його
продування воднем для видалення повітря. З метою охолодження гідридних
елементів (8), необхідного для їх заправки воднем, до штуцера (10) підводиться
вода з водопровідної мережі, з штуцера (II) вода подається на слив, а вентилі
(9) та (12) переводять у положення відповідно на наповнення і на слив. При
заправці водневий вентиль (3) повинен бути закритий. Заправка здійснюється
протягом 15 т 20 хв до насичення гідридоутворюючого сплаву воднем. Кінець
заправки визначається по температурі виходить із штуцера (II) води, що по мірі
насичення акумулятора стає рівною температурі подається води. Після закінчення
заправки необхідно від'єднують аркатуру, що подають і відвідних воду, повернути
вентилі (9) та (12) у вихідне положення, закрити водневий вентиль (5) і
відключити заправний трубопровід.
Для переходу на робочий режим необхідно відкрити видатковий
водневий вентиль (3), з якого паливо через редуктор (2) надходить до системи
живлення двигуна (I). При цьому для нормальної роботи двигуна надлишковий тиск
водню в гідриднім акумуляторі, яке контролюється за манометри (4), повинно бути
не менше 0,12 МПа.
Після запуску двигуна вода, підігріває в його системі
охолодження, надходить в теплообмінник (14), отримуючи певну кількість тепла і
від відпрацьованих газів. Додатковою водяним насосом (13) підігріта вода
подається у гідридні елементи, повідомляючи їм необхідну для десорбції водню
тепло, а потім повертається у двигун. Дозаправка системи водою здійснюється
через розширювальний бачок (7).
При досягненні температурою води на виході з двигуна значення
800С розподільник відпрацьованих газів (16) переводиться в положення, при якому
відпрацьовані гази з двигуна, минаючи теплообмінник (14), потрапляють в глушник
(15). Для запобігання аварійного підвищення тиску в водневій магістралі вона
обладнана запобіжним клапаном (б), відрегульовані на тиск 2,5 МПа.
- двигун; 2 - редуктор; 3,5 - вентилі водневі; 4 - манометр;
6 - запобіжний клапан; 7 - розширювальний бачок; 8 - гідридні елементи; 9,12 -
вентилі теплоносія; 10,11 - штуцери підведення і відведення теплоносія; 13 -
насос; 14 - теплообмінник; 15 - глушник; 16 - розподільник відпрацьованих газів
Рисунок 5.5 - Схема системи подачі теплоносія в гідридний
акумулятор водню
5.4
Випробування макетного зразка водневого автонавантажувача
Виконання стендових досліджень водневого варіанти двигуна
УМЗ-417, розробка паливної апаратури, а також системи акумулювання водню
дозволили створити модернізований макетним зразок водневого автонавантажувача.
Випробування водневого варіанти автонавантажувача моделі
4092-01 проводилися за методикою ГСКБ по автонавантажувачах, що передбачає
Загальний вигляд модернізованого макетного образу водневого автонавантажувача
роботу по умовному циклу з довжиною плеча 25 м. Результати випробувань наведені
в табл.5.3.
Таблиця 5.3 - Результати випробувань водневого
автонавантажувач по умовному циклу
|
Найменування показників
|
Значення
|
|
Контрольна продуктивність, т/год
|
71,9
|
|
Контрольна витрата палива, кг/год
|
1,51
|
|
Середній час одного циклу, с
|
88
|
|
Максимальна швидкість руху, км/год
|
19,8
|
|
Тривалість роботи без дозаправлення воднем
|
4,52
|
Для випробувань автонавантажувача на токсичність була
застосована методика, згідно з якою відбір відпрацьованих газів проводився У
герметичний мішок, укріплений безпосередньо на випробовуваний машині. Перед
контрольним заїздом по умовному циклу з мішка відкачували наявні там гази. По
закінченні заїзду вимірювалася кількість відпрацьованих газів в мішку і
концентрація токсичних компонентів. Крім цього, проводилися вимірювання
концентрацій токсичних компонентів на холостому ходу. Результати випробувань
наведені в табл.5.4.
Таблиця 5.4 - Результати випробувань на токсичність
автона-вантажувача моделі 4092-01
|
Найменування показників
|
Значення
|
|
на бензині
|
на водні
|
|
CO на холостому ходу,% NOx на
холостому ходу, млн-1 CO по циклу, % NOx по циклу, млн.
- 1 CnHm по циклу, %
|
1,8 150 2,6 870 0,11
|
0 0 сліди 565 сліди
|
Проведені випробування показали, що модернізований макетном
зразок водневого автонавантажувача в цілому працездатний і має досить високу
продуктивність для класу машин 2 т. У порівнянні з бензиновим прототипом викиди
оксидів азоту (N0x) у водневого автонавантажувача в 1,5 рази нижче,
а оксид вуглецю (СО), несгорівші вуглеводні (Сп Нm) та
інші токсичні компоненти відпрацьованих газів практично відсутні.
На прохання керівництва Одеського морського торгового порту
були проведені випробування створеного зразка в умовах реальної експлуатації в
складських приміщеннях порту. У процесі випробувань були підтверджені гарна
працездатність і екологічна чистота водневого автонавантажувача, а також
висловили ряд конструктивних пропозицій щодо його вдосконалення, врахованих
нами в подальшій роботі з використання водню для ДВЗ [19].
Створений зразок водневого автонавантажувача експонувалася на
виставці VII Міжнародної конференції з водневої енергетики і, завдяки
досконалості застосованих наукових і технічних рішень, отримав високу оцінку
іноземних та вітчизняних фахівців.
І все ж, незважаючи на досить глибоку нерозробленість питань
конвертування транспортних засобів на живлення воднем, широке використання
цього екологічно чистого і поновлюваного виду палива і в колишньому СРСР і за
кордоном стримується рядом факторів, в основному не пов'язані з поняттям
"водневий двигун", а зумовлених недосконалістю процесів отримання,
транспортування та зберігання водню. Так, вартість водню, одержуваного найбільш
поширеним способом - електролітичні, приблизно в 5 разів вище вартості бензину.
Та й масштаби його виробництва недостатні для того, щоб говорити про широкому
використанні водню для автомобільного транспорту.
6. Охорона
праці та навколишнього середовища
6.1 Заходи
безпеки при роботі з воднем
Водень є пожежо- й вибухонебезпечним газом, так само як і
природний, світильний водяний, коксовий та інші промислові і побутові гази, що
містять від 15 до 85% водню і широко використовується в промисловості та
побуті.
Це пояснюється не більшою небезпекою при роботі з воднем, ніж
при використанні метану, бензину, пірокселину, а іншим характером виникнення
цієї небезпеки, обумовленої його специфічними властивостями. Для уникнення
небезпеки необхідно мати спеціальні значення та навички роботи в усіх випадках,
пов’язаних з одержанням, зберіганням і використанням водню. Далі розглянуто
деякі найважливіші заходи, додержання яких має запобігати виникненню аварійних
ситуацій при використанні водню.
Промислові будинки й споруди, в яких зберігається, а також
застосовується газоподібний або рідкий водень, повинні бути одноповерховими і
не мати горищ і підвалів. Тільки у дослідних лабораторіях допускається робота з
невеликою кількістю водню на верхньому поверсі будинку [19].
У виробничих приміщеннях повинен здійснюватись безперервний
контроль вмісту водню в повітрі, для чого їх обладнують газоаналізаторами із
світловою та звуковою сигналізацією. Вона повинна спрацювати при вмісті водню в
повітрі на рівні 10% від його нижньої концентраційної межі запалення (0,4). При
вмісті водню в повітрі вище 25% від нижньої межі запалення (1%) технологічне
обладнання, розташоване в приміщенні, повинно бути зупинене Продуктивність
припливно-витяжної вентиляції повинна забезпечувати такий повітрообмін, щоб
водню в приміщенні не перевищувало 10% від нижньої концентраційної межі
запалення.
Для освітлення слід використовувати апаратуру тільки у
вибухозахищеному виконанні. Системи зв’язку та сигналізації повинні
задовольняти вимоги, які ставляться до приладів електроустановок.
Контрольно-вимірювальна апаратура теж, повинна бути у вибухобезпечному
виконанні.
Системи, апаратура та трубопроводи з воднем мають бути
пофарбовані в зелений колір. На газових балонах, які використовують для
зберігання водню, нарізні з’єднання виконують лівим заходом запобігання
несанкціонованого випадкового підключення до систем з іншими газами [20]. Щоб
виключити можливість підсмоктування повітря із зовнішнього середовища,
трубопроводи та системи слід підтримувати під надлишком тиску водню. Регулююча
та запорна арматура, яку застосовано у водневих технологіях, повинна мати
сильфонні ущільнювачі.
Неприпустимо різко дроселювати водень високого тиску до
атмосфери (наприклад, при зупинці компресора, аварійному скиданні газу
запобіжними клапанами та інші), бо в зоні викиду газу може утворюватися
вибухонебезпечна суміш. Для запобігання вибуху або пожежі при одержання або
використанні водню перед його подачею в будь-яку частину системи необхідно
продути ії інертним газом. Слід пам’ятати, що апаратура та комунікації,
заповнені воднем та сумішами з великим умістом водню, тривалий час після
вилучення газу виділяють адсорбований водень. Тому ремонтні й зварювальні
роботи з апаратурою, що працювали в атмосфері газу з високим вмістом водню,
слід проводити лише після тривалої дегазації.
Усі інструменти повинні бути виготовленні з матеріалів, що не
утворюють іскор при ударах. У приміщенні яких 520К.
Одяг з нейлону, терилену або подібних матеріалів, а також
взуття на гумовій підошві можуть бути джерелами небезпеки [21]. Заряду
статичної електрики, що накопичується на одязі із синтетичної тканини,
достатньо, щоб запалити водень. Тому в приміщеннях, де можлива поява водню в
повітрі, не дозволяється використовувати спецодяг, який виготовлено з
матеріалів, що накопичують електричні заряди. Для відведення статичної
електрики, що може накопичуватися на одязі обслуговуючого персоналу,
використовують електропровідні доріжки або заземлені зони, майданчики, поручні.
Необхідно врахувати, що рухомі резервуари, які мають гумові ролики, теж можуть
накопичувати електростатичні заряди, тому їх також заземляють. Будівельні
споруди бути захищені від статичної електрики згідно з правилами захисту від
статичної електрики.
Особливо суворо необхідно додержувати правил безпеки при
застосуванні відкритого вогню. У разі спалаху рідкого або газоподібного водню
слід надати йому доступ до осередку пожежі [22]. Водночас приймаються заходи,
що запобігають розповсюдженню вогню на навколишні об’єкти. Для гасіння
локальних водневих вогнищ рекомендовано використовувати рідкий і газоподібний
азот, двооксид вуглецю, розпорошену воду або водяну пару.
Норми та необхідну кількість первинних засобів пожежегасіння
в приміщеннях визначається відповідно до правил, наведених у роботі. Обладнання
споруд засобами захисту від блискавки слід виконувати відповідно до вимог.
Необхідно суворо додержуватися таких умов безпеки в
приміщеннях, де розташоване водневе обладнання:
електричні прилади повинні бути виконанні у
вибухонебезпечному варіанті;
слід забезпечити заземлення всіх вузлів та агрегатів
обладнання загальних заземлюючим дротом;
покриття підлоги не повинно накопичувати статичну електрику;
вентиляція повинна забезпечувати відведення повітря на рівень
підлоги й відведення газу з самого високого рівня приміщення;
роботи слід виконувати тільки із застосуванням
іскробезпечного бронзового інструменту;
аналіз атмосфери слід виконувати так, щоб у випадку
виникнення небезпечних концентрацій водню разом з подачею відповідних аварійних
сигналів було ввімкнуто додаткову вентиляцію;
водневомісткі гази, які викидаються через запобіжні клапани,
слід відводити до атмосфери за допомогою спеціального газозбірного колектора
вище коника не менш ніж на 0,7м;
трубопроводи рідкого водню повинні мати компенсатори, а
ємкості - запобіжні клапани (дихальні) при мінімальній кількості фланцевих
сполучень;
заборонено перекачувати рідкий водень по тепло неізольованих
трубах і зберігати у тепло неізольованих сховищах.
Висновки
1. Застосування водню в ДВЗ перспективно, так як значно
підвищує його екологічність
. Розвиток водневого ДВЗ стримується дорожнечею, існують
способи отримання водню, але в перспективі можливо безпосереднє видобуток водню
з надр, що корінним способом збільшить ефективність застосування водню
. Із існуючих способів зберігання водню на борту
транспортного засобу найбільш ефективним та безпечним є використання
металогідридних акумуляторів. При використання дешевих наповнювачів, вони мають
більший вагу, яке важчає транспортний засіб. Але при використання в конструкції
автонавантажувача, цей надлишковий ваги, використовується в якості противаги,
що підвищує стійкість при роботі
Порівняльна характеристика серій досліджень водневих зразків
двигуна УМЗ-717, дозволяє зробити наступні висновки
) максимальна ефективна потужність водневого варіанти двигуна
УМЗ-417 зі збільшеною до значення 8,8 ступенем стиснення та поліпшеними
газодинамічні властивостями впускного тракту близька до потужності бензинового
прототипу і становить 38,1 кВт при n = 2800 мін1;
) переклад двигуна на живлення воднем дав можливість
збільшити ефективний ККД при роботі із зовнішньої швидкісної характеристики в
середньому на 13%, а на режимах часткових навантажень більш ніж на 50%;
) система зберігання водню з застосуванням металогідрида, що
має місткість близько 7 кг, забезпечує безперервну роботу водневого
автонавантажувача по умовному циклу протягом чотирьох з половиною годин;
) зниження викидів оксидів азоту з відпрацьованими газами
водневого автонавантажувача у порівнянні з бензиновим склало 1,5 рази, а оксид
вуглецю, вуглеводні та інші токсичні компоненти практично не виділяються.
Використання водневого ДВС в автонавантажувачах, дозволяє
вести роботи в закритих, погано вентильованих приміщеннях, так як в результаті
вихлопу утворюється вода (пар)
Перелік
посилань
1.
www.vokrugsveta.ru
.
Водень − екологічно чистий носій/ Соловей В.В., Бастєєв А.В., Форфутдінов
В.В., Петухов І.І. /. Харків 2003 − 49с.
.
Водород. Свойства, получения, хранение, транспортирование, применение/ Гамбург
Д.Ю., Семенов В.П., Дубовкин Н.Ф., Смирнова Л.Н. / Подред Гамбурга Д.Ю. - :
Химия, 1989-672с
.
Свойства жидкого и твердого водовода. Справочник / Под ред. Есельсона Б.Н. и
др. - М.: Издательство стандартов, 1969. - 136с.
.5
А. с.1206458 СССР. Способ работы ДВС/ Мищенко А.И., Куценко А.С., Савицкий
В.Д., Байков В.А., Тихоненко Н.С. - Опубл. в БИ, 1986. - №3.
.А.
с.1206458 СССР. Четырехтактный двигатель внутреннего сгорания / Мищенко А.И.,
Куценко А.С., Савицкий В.Д., Байков В.А. - Приоритет от 18.08.86г.
.
Преображенский В.П. Теплотехнологические измерения и приборы. - М.: Энергия,
1978. - 703с.
.
Семененко К.Н., Малышев В.П., Петров Л.А. и др. Взаимодействия LaNi5
с водородом. - Изв. АН. СССР. Неорганические материалы, 1977. - т.13, - № 11. -
С. 2009-2013.
9. Мищенко А.И., Савицкий В.Д., Байков В.А. и др. Водородный
автопогрузчик / Вопросы атомной науки и техники. Сер. Атомно-водородная
энергетика и технология. - 1987. - Вып.3 - С.44 - 45.
. Пат. 2006607 РФ, МКИ3 Р 02 В 43/08. Способ
конвертирования двигателя внутреннего сгорания/. Савицкий В. Д, Куценко А.С.,
Байков В.А., Тихоненко Н.С. - №4707389/06, Заяв. 20.07.89, Опубл.30.01.94, Бюл.
№2.
11.
Мищенко А.И., Савицкий В.Д., Байков В.А. Оптимизация рабочего процесса
водородного ДВС по степени сжатия коэффициента избытка воздуха / Вопросы
атомной науки и техники. Сер. Ядерная техника и технология. - 1989. - Вып.1 -
С.73 - 75.
.
Мищенко А.И., Савицкий В.Д. Оптимизация работы поршневого ДВС на водороде. -
М.: Вопросы атомной науки и техники. Сер. Атотомноводородная энергетика и
технология. 1982. - вып.3 (13). - С.14-16.
.
Мищенко А.И. Применение водорода для автомобильных двигателей. - Киев: Наукова
думка, 1984. - 143с.
Мищенко
А.И., Савицкий В.Д., Байков В.А. способ работы поршневого двигателя с искровым
зажиганием на водороде. М.: Вопросы атомной науки и техники. Сер.
Атомно-водородная энергетика и технология, 1987,−вып.З. - С.33-37.
.
Соловей В.В., Бастєєв А.В., Оболенский М.А. Активизация водовода и
водородосодержащих энергоносителей. - Киев: Наук. думка, 1993. - 162с
.В.
В. Соловей. Металогідридна енерготехнологічна переробка водню / Доповідні
Академії наук Української РСР. Серія "А”. Фізико - математичні та техничні
науки, 1983. - №3. С.13-17
.
Соловей В.В., Канило П.М. Системы аккумулирования водорода с использованием метода
термохимического сжатия // Изв. Академии наук СССР. Энергетика и транспорт,
1985. - №3.
.
Водень. Термін та визначення. Держстандарт України,, ДСТУ 2655-94. - Видання
офіційне. Розробки: Бастаєєва А.В., Оболенський М.О., Соловей В.В., та ін. -
Київ. - 31с.
.
Воднева енергетика. Термін та визначення. Державний стандарт України ДСТУ-3027
- 95. Виданий офіційне. - Розробки: Соловей В.В., Савченко В.І., Брахтян В.А.,
та ін. - Київ.
.
Правила устройства электроустановок. ПУЭ. - М. Л.: Энергия, 1966 − 180с
.
Правила защиты от статического электричества в проихводствах химической
промышленности. - М.: Стройиздат, 1970. - 150с.
.
Правила пожарной безопасности при эксплуатации предприятий химической
промышленности. - М.: Россельхозиздат. 1968. - 30с.
.
Указание по проектированию и устройству молнезащиты зданий и сооружений. - М.:
Стройиздат, 1969. - 180с