Разработка технологического процесса механической обработки детали

  • Вид работы:
    Курсовая работа (т)
  • Предмет:
    Другое
  • Язык:
    Русский
    ,
    Формат файла:
    MS Word
    231,9 Кб
  • Опубликовано:
    2013-03-26
Вы можете узнать стоимость помощи в написании студенческой работы.
Помощь в написании работы, которую точно примут!

Разработка технологического процесса механической обработки детали

Содержание

Введение

. Исходные данные по заданию

. Тип производства, количество деталей в партии

. Вид заготовки и припуски на обработку

. Структура технологического процесса

. Выбор оборудования и приспособлений

. Выбор инструмента

. Расчёт режимов резания

. Нормирование времени, определение расценки и себестоимости механической обработки детали

. Конструирование приспособлений

. Основные сведения о технике безопасности при работе на металлорежущих станках

Литература

Введение

В современном обществе уровень жизни людей определяется эффективностью производства. Первоочередной задачей перестройки отечественной экономики является повышение производительности труда и качества выпускаемой продукции. Это может быть достигнуто на основе высокоэффективных технологий автоматизации производства.

Особенностью современного производства является автоматизация технологических процессов в частности с помощью различных средств управления. Оборудование и методы обработки заготовок являются главным объектом автоматизации.

Задача курсового проекта состоит в выборе инструмента для обработки детали, который дает наибольший экономический эффект и обладающий высокими технико-экономическими и эксплуатационными показателями.

Основные требования предъявляемые к проектируемой детали - высокая надежность, ремонтопригодность, технологичность, минимальные: габариты и масса, удобство в эксплуатации. В ряде случаев деталь должна удовлетворять требованиям технической эстетики.

Металлорежущие станки являются основным видом промышленного оборудования, предназначенного для производства всех современных машин, приборов, приспособлений, инструментов и других изделий.

В машиностроении получили широкое распространение токарные станки, предназначенные для выполнения многочисленный операций, в том числе и операции, о которой пойдет речь в этом курсовом проекте по технологии материалов. Процесс точения состоит в том, что резцом обрабатывается заготовка, которая вращается вокруг некоторой оси вращения. Процесс точения широко применяется в автоматизированном производстве.

Процесс обработки металлов резанием играет ведущую роль в машиностроении, так как точность форм и размеров и высокая частота поверхностей металлических деталей машин в большинстве случаев обеспечивается только такой обработкой.

Этот процесс успешно применяется во всех без исключения отраслей промышленности.

Обработка металлов резанием является весьма трудоемким и дорогостоящим процессом. Так, например, в среднем в машиностроении стоимость обработки заготовок резанием составляет от 50 до 60% стоимости готовых изделий.

Обработка металлов резанием, как правило, осуществляется на металлорежущих станках. Лишь отдельные виды обработки резанием, относящиеся к слесарным работам, выполняются вручную или с помощью механизированных инструментов.

1. Исходные данные по заданию

Наименование работы:

Разработать технологический процесс механической обработки детали.

Исходные данные по заданию:

Таблица 1

Чертеж детали

Производственная программа, тыс. шт. В год

Тип производства

Материал

Вид обработки


3000

Мелкосерийное

4Х8В2

Механическая


Химический состав стали 4Х8В2 (ГОСТ 10802-64) в таблице 2:


Таблица 2

Марка стали

C

Si

Mn

S, P

Cr

Ni

Cu

W

4Х8В2

0.35-0.45

0.15-0.35

0.15-0.40

0.03

7-9

<=0.35

0.3

2-3


Механические свойства стали 4Х8В2 ГОСТ(10802-64) в таблице 3:


Таблица 3

Операция

t нагр, C

Охлаж. среда

Дли-на загот.мм

sВ, МПа

sG, МПа

σ,%

Ψ,%

МПа

Тверд HRC

Закалка

1025-1075

масло

450

600

13

50

30

45

Отпуск

600-650

Воздух

60

680

880

17

50

50

60


Технологические свойства стали 4Х8В2 ГОСТ(10802-64) в таблице 4:


Таблица 4

Температура ковки

Свариваемость

Склонность к отпускной хрупкости

Флокено чувствительность

Коррозион. стойкость

нач. 1180 кон. 850

Не применяется

 склонна

 чувствительна

 умеренная


Для данной детали из стали 4Х8В2 вид термообработки будет следующим: принимаем закалку с охлаждением в масле. Производим нагрев стали до Т=1050°С. Выдержка при данной температуре необходима для того, чтобы аустенит перешёл в мартенсит. Затем производим быстрое охлаждение. Получаем Троостит закалки. Далее производим высокий отпуск: нагрев до Т=600-650°С с выдержкой и последующим охлаждением на воздухе. В результате чего получаем твердость порядка HRC 58-62.

Схема термообработки следующая:


Рисунок 1─Схема термообработки.

2. Тип производства, количество деталей в партии

В зависимости от размера производственной программы, сложности и трудоемкости изготовляемых деталей (изделий) различают три типа (вида) производства: единичное, серийное и массовое. На основании таблицы 2 и нижеследующих расчетов обработку деталей заданного типоразмера можно отнести к серийному.

Таблица 2 - Тип производства

Тип производства

Количество обрабатываемых деталей в год


крупных

средних

мелких

Единичное

до 5

до 10

до 100

Серийное

от 5 до 1000

от 10 до 5000

от 100 до 50000

Массовое

свыше 1000

свыше 5000

свыше 50000


Определим массу детали по формуле (1)

m=rv, (1)

где m - масса детали, кг;

r - плотность стали кг/ м3 ;

v - объем детали м3.

Для стали принимаем r=7810 кг/ м3 , v=0.0000768455 м3.

m =7810*0.0000768455=0.6 кг

По таблице 2 определили тип производства. Так как масса детали меньше 5 кг и производственная программа 3000 деталей, то тип производства - серийное.

Серийное производство - изделия изготавливаются или обрабатываются партиями (сериями), состоящими из однотипных деталей одинакового размера, запускаемых в производство одновременно. В зависимости от количества изделий в партии и их трудоемкости изготовления серийное производство подразделяют на мелкосерийное, среднесерийное и крупносерийное, определяемое ориентировочно по таблице 3.

При шестидневной рабочей неделе (40 часов в неделю) рабочих дней 300.

Принимаем N=3000, t=2, Ф=300.


Серийное производство - изделия изготавливаются или обрабатываются партиями (сериями), состоящими из однотипных деталей одинакового размера, запускаемых в производство одновременно. В зависимости от количества изделий в партии и их трудоемкости изготовления серийное производство подразделяют на мелкосерийное, среднесерийное и крупносерийное, определяемое ориентировочно по таблице 3.

Таблица 3 ─ Виды производства

Вид производства

Количество изделий в партии


крупных

средних

мелких

Мелкосерийное

6 ─ 25

10 ─ 50

Среднесерийное

6 ─ 25

25 ─ 150

51 ─ 300

Крупносерийное

Свыше 25

Свыше 150

Свыше 300


Если мелких деталей в партии 20 штук, то значит это мелкосерийное производство.

3. Вид заготовки и припуски на обработку

Заготовкой называется предмет производства, из которого изменением формы, размеров, качества поверхностей и свойств материала изготовляют требуемою деталь. Выбор вида заготовки зависит от материала, формы и размера, ее назначения, условий работы и испытываемой нагрузки, от типа производства.

Для изготовлении детали применяется вид заготовки - поковка. Поковка предназначена для деталей, работающих на изгиб, кручение, растяжение. В серийном производстве применяются преимущественно штамповки, в мелкосерийном и единичном производстве, а также для деталей крупных размеров - поковки.

Величина припуска на обработку, т.е. толщина снимаемого слоя металла, зависит от вида заготовки и способа ее изготовления, от размеров и формы детали и от требуемых точности и шероховатости обработанных поверхностей.

Для снижения себестоимости обработки и расхода металла припуски должны быть такими, чтобы их можно было снять за минимальное число проходов. В тоже время для нормальной работы режущего инструмента припуск должен превышать толщину твердой литейной корки для литых заготовок или слоя окалины для поковок. Общий припуск на сторону должен включать кроме толщины поверхностного дефектного слоя сумму межоперационных припусков, т. е. слоев, снимаемых на каждой операции, с учетом погрешности установки, отклонений от правильной формы, допусков на размеры заготовки. Величины припусков на механическую обработку штамповочных стальных поковок приведены в таблице 4.

Таблица 4 - Припуски на механическую обработку стальной отливки


4. Структура технологического процесса

Технологической операцией называется законченная часть технологического процесса, выполняемая на одном рабочем месте, в частности, при обработке резанием - на одном станке. Если после обработки части поверхностей заготовка передается на другое рабочие место, а затем возвращается на тот же станок, то дальнейшая обработка на нем составит следующую операцию.

Установом называется часть операции, выполняемая при неизменном закреплении обрабатываемой заготовки.

Позицией называется фиксированное положение, занимаемое неизменно закрепленной обрабатываемой заготовки совместно с приспособлением относительно инструмента или неподвижной части операции.

Технологическим переходом называется законченная часть операции, выполняемая одним и тем же инструментом при постоянных поверхности, образуемой обработкой, технологических режимах и установке.

Проход - это часть перехода, характеризуемая снятием одного слоя металла.

Структура технологического процесса представлена на рисунке 1


5. Выбор оборудования и приспособления

металл резание деталь заготовка

При выборе типа станка и степени его автоматизации необходимо учитывать следующие факторы:

. Габаритные размеры и форму детали;

. Форму обработанных поверхностей, их расположение;

. Технические требования точности размеров, формы и к шероховатости обработанных поверхностей;

. Размер производственной программы, характеризующий тип производства данной детали.

В единичном мелкосерийном производстве используются универсальные станки, в серийном наряду с универсальными станками широко применяются полуавтоматы и автоматы, в крупносерийном и массовом производстве - специальные станки, автоматы, агрегатные станки и автоматические линии.

Всё более широкое применение в настоящее время находят в серийном производстве автоматические станки с числовым программным управлением, позволяющие производить быструю переналадку с обработки одних деталей на другие путём замены программы, зафиксированной, например, на бумажной перфоленте или на магнитной ленте.

Технические характеристики этих станков приведены в таблицах 5-9.

Для операции точения используем токарно-винторезный станок 1А616


Для операции сверления используем вертикально-сверлильный станок 2А135

Таблица 7 - Вертикально-сверлильный станок 2А135


Для шлифования используем кругошлифовальный станок 3151

Таблица 8 - Кругошлифовальный станок 3151


Приспособление выбирается из условий надежного и жесткого закрепления детали, обеспечения требуемой точности обработки, максимального сокращения вспомогательного времени на установку, закрепления и снятия детали со станка.

В единичном и мелкосерийном производстве применяются преимущественно универсальные приспособления являющиеся принадлежностями станков. В серийном и массовом производстве рекомендуется применять специальные приспособления, повышающие точность обработки и снижающие штучное время.

Для выше приведенных станков при изготовления данной детали применяются следующие приспособления:

·   Самоцентрирующие тиски;

·   Трехкулачковый самоцентрирующий патрон ГОСТ 2675-71;

·   Станочные тиски ГОСТ 18684-73

·   Вращающийся и неподвижный центры;

6. Выбор инструмента

Выбор режущего инструмента

При выборе режущего инструмента необходимо исходить из способа обработки и типа станка, формы и расположения обрабатываемых поверхностей, материала заготовки и его механических свойств.

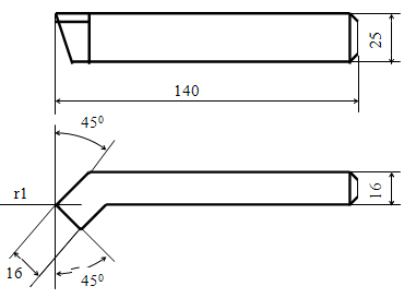
Инструмент должен обеспечить получение заданной точности формы и размеров, требуемой шероховатости обработанных поверхностей, высокую производительность и стойкость, должен быть достаточно прочным, виброустойчивым и экономичным. Для обработки наружных поверхностей, выбран проходной отогнутый резец оснащенный пластинкой из твердого сплава Т15К6 ГОСТ 18868-73. Изображенный на рисунке 2.

Рисунок 2 - проходной отогнутый резец

Для подрезания торцов и высоких уступов, выбран токарный подрезной отогнутый резец с пластинками из быстрорежущей стали ГОСТ 18871-73. Изображенный на рисунке 3.

Рисунок 3 - подрезной отогнутый резец

Для растачивания сквозных отверстий выбран расточной цельный резец из твердого сплава со стальным хвостовиком ГОСТ 18062-72. Изображенный на рисунке 4

Рисунок 4 - Расточной резец для глухих отверстий

Для зубофрезерной операции модульную фрезу по ГОСТ 10996-64 из набора 8 фрез. Фреза №42









Рисунок 5 - Фреза

Для сверления отверстия диаметром 4 мм выбираю стандартное спиральное сверло, оснащенное пластинками из твердого сплава, коническим хвостовиком (ГОСТ 2092-77), изображенное на рисунке 6

Рисунок 6- Спиральное сверло

Параметры шлифовального круга

D,мм

b,мм

175

35

15


При шлифовании используем шлифовальный круг ЧАЗ-ЭБ40-СТ3К5 - ПП - 200х25х35- ГОСТ 18118 - 79. D=15











Выбор материала режущей части

Материал режущей части инструмента имеет важнейшее значение в достижении высокой производительности обработки.

При выборе марки твердого сплава необходимо помнить, что чем больше содержание в нем карбида титана и чем меньше кобальта, тем больше его износо- и термостойкость, но тем меньше его прочность на изгиб и вязкость, т.е. сплав более хрупкий.

Так как деталь изготовлена из магниевого сплава то ее рекомендуется обрабатывать инструментами оснащенными твердым сплавом марки ВК4.

Для сверл рекомендуется марка инструментального материала Р12.

Выбор периода стойкости режущего инструмента

Стойкостью называется период работы режущего инструмента до его затупления. Так как период стойкости инструмента оказывает наибольшее влияние на скорость резания, правильный выбор этого фактора имеет большое значение.

Период стойкости колеблется в больших приделах. Так, период стойкости, мин, принимают равным: для резцов с пластинками из твердого сплава - 90-120; для сверл из быстрорежущей стали диаметром до 20 мм - 25 - 40; для трехсторонних фрез со вставными ножами из твердого сплава - 180 - 540. Стойкость шлифовального круга - 10 -20 мин.

На величину стойкости инструмента существенное влияние оказывает смазочно-охлаждающая жидкость (СОЖ). Как правило, применения СОЖ облегчает стружкообразование и снижает температуру в зоне резания, что существенно повышает стойкость режущего инструмента.

7. Расчет режимов резания при точении

Режим резания при точении.

Вначале определим для заданной обрабатываемой поверхности глубину резания t, мм. из условия минимального числа проходов:

t= (3)

где Д0-диаметр поверхности до обработки, мм;

Д1-диаметр поверхности после обработки, мм. Подставляя известные значения:

Д0=55;

Д1=50;

t=(55-50)/2=2,5мм,

Так как глубина резания не превышает 5 мм, то обработаем данную деталь за один проход.

Найдем значение подачи S,мм/об по формуле:

Sр= (4)

где r - радиус округления вершины резца, мм;

Rz - высота неровностей, мм;

r=1мм; Rz=40×10-3м;

Определим максимально допустимую подачу по формуле (4)

Sр= мм/об;

Расчетная скорость резания при точении Vр, м/мин, вычисляется по эмпирической формуле:

 (5)

где Сv - коэффициент, зависящий от материала инструмента, заготовки и условий обработки;

Т - расчетная стойкость инструмента;

Xv, Yv - показатели степени влияния t и S на Vр;

Sф- фактическая подача

Кv - поправочный коэффициент на измененные условия, которые вычисляются по формуле:

КvMvКnvКUvКjvКФv... (6)

где Кмv -коэффициент, учитывающий влияние обрабатываемого материала;

Кnv-качество (состояние) заготовки;

КUv-материал режущей части инструмента;

Кjv-главный угол в плане;

Кф.-форма передней грани инструмента;

 (7)

Кnv=1; КUv =1,15; Кjv =1; КФv = 1

Тогда подставляем данные значения в формулу (6):

Получаем:

Кv=1,17×0,76×1×1×1=0.88 ,

Значения коэффициентов Сv , Т, Xv, Yv , m имеют следующие значения:

Сv =243, Т=100, Xv=0,15, Yv =0,4, m=0,2

 м/мин

По расчетной скорости резания подсчитаем частоту вращения шпинделя, об/мин.

, (8)

где D0 - диаметр обрабатываемой поверхности, мм.

Vp - скорость резания, м/мин;

 об/мин,

Фактическую скорость резания принимаем ближайшую меньшую из паспортных данных. В данном случае она ровна nф=1000 об/мин.

После чего корректируется скорость резания, то есть подсчитывается ее фактическое значение, мм/мин,

 (9)

где Д0-диаметр обрабатываемой поверхности, мм;

nф- частота вращения шпинделя, об/мин;

Подставим численные значения в формулу (9), получим:

м/мин

Найденные режимы резания могут быть приняты только в том случае, если развиваемый при этом крутящий момент на шпинделе Мшп будет больше момента, создаваемого силами резания, или равен ему, то есть:

 (10)

Определим тангенциальную силу Pz, создающую крутящий момент Mрез по формуле:

Pz=Cpz×txpz×Sфypz×Vфnpz×kp (11)

где Cpz - коэффициент, зависящий от материала и условий обработки;

Кр - поправочный коэффициент на измененные условия, подсчитываемый как произведение ряда поправочных коэффициентов, вычисляется по формуле:

Kp=KMP×Kjp×Kjp×Kup×Klp××× (12)

Найдем значения этих коэффициентов:

Xpz=1; Ypz=0.75; npz =0; Кjр=1; Kgp=1; Krp=0.93; Klp=1; Cpz=920

;

Подставим численные значения в формулу (12):

Kp=0,93×0,89×1×1×1=0,8277

По формуле ( 11 ) вычисляем тангенциальную силу:

Pz=920×2,51×0,55×0,750,8277×112,430=1216 H

Крутящий момент Мрез, потребный на резание подсчитывается по формуле

Н×м, (13)

где Pz- тангенциальная сила, Н;

D0- обрабатываемый диаметр, мм;

Крутящий момент Мшп подсчитывается по формуле

Мшп=9550, ( 14)

где -мощность приводного электродвигателя, кВт;

По формуле (14) получаем  ,Н×м

Коэффициент мощности станка определяется по формуле


где -мощность приводного электродвигателя, кВт;

Nпод-потребная мощность на шпинделе, которая рассчитывается по формуле:


где Nэ -эффективная мощность на резание, определяемая по формуле

 (17)

Подставив значения, получим в формулы (16) и (17) получим

Фактическая стойкость инструмента Тф рассчитываем по формуле (18):


где Vф - фактическая скорость резания, м/мин;

Vp и Т- расчетные значения скорости и стойкости инструмента;

m- показатель стойкости инструмента.

Вычислим Тф по формуле (18):

7.1.8 Основное технологическое (машинное) время.

Время, затраченное на процессе резания определяется по формуле :

 (19)

где L - расчетная длина обработки, вычисляется по формуле :

L=l+l1+l2, (20)

где l - длина обработки, мм;

l1 - длина врезания, мм;

l2 - длина перебега инструмента, мм.

Величина врезания рассчитывается по формуле:

 (21)

где t-глубина резания, мм; j-главный угол резца в плане

 (22)

Величину перебега принимаем равной 4мм;

Вычислим расчетную длину обработки по формуле (20):

L=60+2,5+3=65,5 мм

По формуле (20) вычислим основное время:


8. Нормирование времени, определение расценки и себестоимости механической обработки детали

Штучное время на механическую обработку одной детали:

Штучное время на механическую обработку одной детали состоит из следующих частей:

) Основного технологического (машинного) времени to, мин, равного сумме значений машинного времени для всех переходов данной операции;

) Вспомогательного времени U равного сумме значений его для всех переходов;

) Времени организационного и технического обслуживания рабочего места tre;

) Времени перерыва на отдых и физические потребности tф т.е.

tшт=åt0+åtв+tоб+tф

Основное технологическое(машинное) время - это время, непосредственно затраченное на процесс резания, подсчитываемое для каждого перехода.

Основное технологическое время будет суммироваться из основного технологического времени, затраченного на продольное точение и времени на обрабатывание двух торцов. Технологическое время, затраченное на обрабатывание торцов берем пропорционально основному технологическому времени на продольное точение в зависимости от отношений длин обработки:

åt0= t0 +t + t0п =0,016+0,176+0,28=0,472 мин

Вспомогательное, время - время на установку, закрепление и снятие детали, подвод и отвод инструмента, включение и выключение станка, проверку размеров. Вспомогательное время принимается по нормативам на каждый переход и в том числе на вспомогательные переходы, установку, переустановку и снятие детали; суммируется целиком на операцию. Вспомогательное, время будет складываться из времени двоекратной установки в трехкулачковом самоцентрирующем патроне и связанно также с переходами. Всего, при обработке заготовки, у нас имеется три перехода на другой диаметр и два перехода на точение фасок

åtв =0,66+0,33×0,8+0,23×0,8+0,7*0.8+0,5*0,8=2,038 мин

Оперативным временем называется сумма основного технологического и вспомогательного времени

Tоп=åt0+åtв=0,472+2,038=2,51 мин

Время на организационное и техническое обслуживание рабочего места tоб включает: время на подналадку, чистку и смазку станка, на получение и раскладку инструмента, смену затупленного инструмента и т.п.

Время на обслуживание рабочего места tоб, а также на отдых и физические потребности назначается на операцию в процентах от оперативного времени по нормативам:

tоб+tф=[(a+b)/100]×(åt0+åtв)

где a - процент на обслуживание рабочего места, принимаемый на предприятиях транспорта в пределах 4-7% от оперативного времени;

р - процент на отдых и физические потребности, составляющие в единичном и серийном производстве 4-6, в крупносерийном и массовом 5-8% от оперативного времени.

tоб+tф=[(a+b)/100]×(åt0+åtв)=0,63 мин

tшт=åt0+åtв+tоб+tф=0,472+2,51+0,63=3,612 мин


tшт.-к=tшт+ tпз /n,

где tm - подготовительно - заключительное время на всю партию деталей, мин;

n - число деталей в партии

tшт.-к=tшт+tпз/n=(3,612+20)/20=1,18 мин

Подготовительно - заключительное время определяется в целом на операцию по нормативам и включает время, затраченное рабочим на ознакомление с технологической картой обработки детали, на изучение чертежа, наладку станка, получение, подготовку, установку и снятие приспособления для выполнения данной операции.

В массовом производстве подготовительно - заключительное время в норму времени станочника не включается, так как вся наладка станка выполняется наладчиком до начала работы.

Принимаю подготовительно - заключительное время ни партию деталей 20мин.

Расценка на выполненную работу, то есть стоимость рабочей силы P определяется по формуле


где Cт - тарифная ставка соответствующего разряда;

K - коэффициент.

Значение тарифной ставки, соответствующей 4 разряду, принимаем равной

Cт = 92,6 руб/ ч

Коэффициент K принимаем равным 2,15.

 тыс. руб.

Себестоимость механической обработки деталей С включает стоимость рабочей силы Р и стоимость накладных расходов Н и определяется по формуле

,

где Н - стоимость накладных расходов, тыс. руб.;

Р - стоимость рабочей силы, тыс. руб.

Стоимость накладных расходов определим по формуле


Таким образом подсчитаем себестоимость механической обработки при точении:

P+0.5P=1.5P=1.5×3,9=5,88 тыс. руб.

9. Конструирование приспособления


В задачу курсовой работы входит разработка конструкции одного приспособления, входящего в технологическую оснастку проектируемого процесса механической обработки.

Станочные приспособления предназначены для установки и закрепления обрабатываемой детали и разделяются: по степени специализации - на универсальные, переналаживаемые, сборные из нормализованных деталей и узлов; по степени механизации - на ручные, механизированные, автоматические; по назначению - на приспособления для токарных, сверлильных, фрезерных, шлифовальных и др. станков; по конструкции - на одно- и многоместные, одно- и многопозиционные.

Выбор вида приспособления зависит от типа производства, программы выпуска деталей, от формы, размеров обрабатываемой детали и от требуемой точности обработки.

При проектировании станочного приспособления решаются следующие основные задачи:

) упразднение трудоемкой операции - разметки деталей перед обработкой;

) сокращение вспомогательного времени на установку, закрепление и переустановку детали относительно инструмента;

) повышения точности обработки;

) снижение машинного и вспомогательного времени за счет одновременной обработки нескольких деталей или совмещенной обработки несколькими инструментами;

) облегчение труда рабочего и снижения трудоемкости обработки;

) повышение технологических возможностей и специализация станка

В результате применения приспособления должны значительно возрасти производительность и снизится себестоимость обработки.

В качестве приспособления для фрезерования выбираем станочные тиски со сменными губками специальной формы ГОСТ 2675-71.

10. Техника безопасности

Техника безопасности охватывает комплекс технических устройств и правил, обеспечивающих нормальную жизнедеятельность человека в процессе труда и исключающих производственный травматизм. При работе на металлорежущих станках рабочий должен быть предохранен от действия электрического тока, от ударов движущимися частями станка, а также обрабатываемыми деталями или режущим инструментом вследствие слабого их закрепления или поломки, от отделяющейся стружки, от воздействия пыли и СОЖ.

Общие правила техники безопасности при работе на токарных станках

. К самостоятельной работе допускаются лица, прошедшие медицинское освидетельствование, прошедшие вводный инструктаж, первичный инструктаж на рабочем месте, имеющие удостоверение по охране труда.

. Выполнять только работу, входящую в круг обязанностей.

. Работать только в исправной, аккуратно заправленной спецодежде и спецобуви, предусмотренными инструкциями по охране труда.

. Пользоваться только исправными приспособлениями, оснасткой, инструментом, применять их по назначению.

. Не оставлять без присмотра включенные (работающие) машины и механизмы, оборудование. При уходе даже на короткое время отключать его от электросети вводным выключателем.

. Не проходить под поднятым грузом.

. Не стирать спецодежду в керосине, бензине, растворителях, эмульсиях и не мыть в них руки.

. Не прикасаться к токоведущим частям электрооборудования машин и механизмов, обрабатываемым заготовкам и деталям при их вращении.

. Не обдувать сжатым воздухом детали, не пользоваться сжатым воздухом для удаления стружки.

. Пользоваться при работе деревянным настилом и содержать его в исправном состоянии и чистоте.

. Основные опасные и вредные производственные факторы:

возможность поражения электротоком;

возможность получения ожогов и механических повреждений стружкой;

повышенный уровень шума;

возможность падения устанавливаемых и обрабатываемых деталей, заготовок.

. При работе на станках применение перчаток или рукавиц не допустимо.

Требования безопасности по окончании работ.

. Выключить станок, обесточить электрооборудование.

. Привести в порядок рабочее место.

. Протереть и смазать трущиеся части станка.

. Убрать разлитые масло и эмульсию, посыпав загрязненные места песком.

. Уборку стружки, пыли производить щеткой-сметкой.

. Использованные во время уборки и при работе тряпки, ветошь вынести за пределы цеха в отведенные для этой цели места.

. При сдаче смены сообщить мастеру и сменщику о замеченных недостатках и принятых мерах по их устранению.

. Вымыть лицо и руки теплой водой с мылом или принять душ.

Техника безопасности при работе на токарно-винторезном станке.

. Перед включением станка необходимо убедиться, что его пуск не опасен для людей, находящихся у станка.

. В первый период работы станка не рекомендуется работать на максимальных оборотах шпинделя.

. Обеспечить надежное крепление детали.

. При обработке детали в центрах запрещается применять центра с изношенными конусами.

. Запрещается работать на станке со снятыми или открытыми ограждениями (кожухом и крышкой).

. Запрещается работать на станке без защитных очков.

. Во избежание захвата одежды вращающимися частями необходимо аккуратно заправить спецодежду, волосы убрать под головной убор.

. Запрещается производить уборку, чистку, смазку, установку и съем детали при работе станка.

. Подступы к электрошкафу и рабочее место не должны быть загромождены.

. При получении травмы необходимо поставить в известность мастера участка или начальника цеха.

12. Внимание!

Во избежание перегрева мотора не разрешается производить более 60 включений в час при оборотах шпинделя в минуту до 250, не более 30 включений в час при оборотах свыше 250 в минуту и не более 6 включений в час при оборотах шпинделя 750 в минуту.

Общие правила техники безопасности при работе на фрезерных станках содержат следующие основные положен

Перед началом работы станочник обязан привести в порядок свою рабочую одежду и рабочее место, затем проверить исправность станка , приспособлений и инструмента.

Одежда рабочего не должна иметь незаправленных концов.

На рабочем месте не должно быть ничего лишнего. Необходимые заготовки, приспособления и инструмент располагаются так, чтобы их можно было взять легко и быстро. Подножная деревянная решетка должна быть исправной и соответствовать росту станочника. Стружка должна систематически удаляться от станка.

При проверке станка необходимо убедиться в наличии и исправности ограждений, а так же заземляющего провода.

Во время работы станочник не должен отвлекаться от работы.

Правилами техники безопасности требуется остановка станка с выключением электродвигателя при всякой отлучке от станка, при перерывах в подаче электроэнергии; для установки, съема заготовок и приспособлений; для измерения обрабатываемой детали. Нельзя тормозить станок нажатием руки на вращающиеся части станка, обрабатываемую деталь, приводной ремень и т. п. Для предохранения от ранения стружкой необходимо пользоваться очками, экранами и другими средствами защиты.

Нельзя класть на направляющие станин, на столы, крышки коробок скоростей и другие части станка инструмент, заготовки и другие предметы.

При появлении стука, вибрации, изменения характера шума, перегрева режущего инструмента, следует выключать станок.

Литература

1. Казаченко В.П., Савенко А.Н., Терешко Ю.Д. Материаловедение и технология материалов III. Обработка металлов резанием. Пособие по курсовому проектированию - Гомель: БелГУТ, 1997 - 47 с.

2. Дольский А.Н. и др. Технология конструкционных материалов. - М.: Машиностроение, 1985 - 448 с.

3. Справочник технолого-машиностроителя. В 2 т. Т I/ под редакцией Косиловой А.Г. и Мещераковой Р.М. - М.: 1972 - 649 с. Т II/ под редакцией Малова А.Н. - М.: 1972 - 568 с.

4. Горбунов В.И. Обработка металлов резанием. Металлорежущие инструменты и станки. - М.: Машиностроение.

5. Тараканов И.Л., Савенко А.Н. Методички расчета рациональных режимов резания. - Гомель: БелИИЖТ, 1980.

6. Пахтин Ю.М., Леонтьев В.П. Материаловедение. Учебник для высших учебных заведений. 3-е издание, перераб. и доп. - М.: Машиностроение, 1990 - 528 с.

7. Федин А.П. Материаловедение и технология материалов. - Гомель: БелИИЖТ, 1982 - 83 с.

8. Егоров Н.Е. и др. Технология машиностроения. - М.: Машиностроение, 1985 - 184 с.

9. Тараканов И.Л., Савенко А.Н. Геометрия токарных резцов. Методические указания к лабораторным работам по обработке металлов резанием. - Гомель: БелИИЖТ, 1974.

10.Кучер А.М. и др. Металлорежущие станки: Альбом общих видов кинематических схем и узлов. - Л.: Машиностроение, 1972. - 306с.

11.Ю.Д.Терешко,С.В.Петров, А.И. Егоров Материаловедение и технология материалов: учебное пособие 2-е издание, доп. - Гомель: БелГУТ 2004,-131с

Похожие работы на - Разработка технологического процесса механической обработки детали

 

Не нашли материал для своей работы?
Поможем написать уникальную работу
Без плагиата!
Без нейросетей!