Разработка проекта мельнично-флотационного цеха переработки апатитовых руд с получением двух сортов концентрата
Содержание
Введение
1. Общая часть
1.1 Характеристика сырьевой базы предприятия
1.2 Краткая характеристика основных минералов
1.3 Характеристика производимой продукции
2. Специальная часть
2.1 Выбор и обоснование схемы, принятой к проектированию
2.2 Расчет качественно-количественной схемы для получения
концентратов "Супер" и "Стандарт"
2.3 Расчет водно-шламовой схемы для получения концентратов
"Супер" и "Стандарт"
2.4 Выбор и расчет основного технологического оборудования
2.4.1 Выбор и расчет оборудования для измельчения
2.4.2 Выбор и расчет оборудования для классификации
2.4.3 Выбор и расчёт оборудования для флотации
2.5 Реагентный режим
3. Экономическая часть
3.1 Определение экономических показателей работы проектируемого
цеха
Заключение
Список использованной литературы
Введение
Территория промышленного района проектируемой фабрики
располагается в пригородной зоне городов Кировска и Апатиты на землях
гослесфонда Кировского лесхоза в 500 м к юго-востоку от восточной горловины
железнодорожной станции Новый Титан. Рудной базой фабрики является Восточный
рудник, который геологически представляет собой единое апатито-нефелиновое
рудное тело.
Анализ состояния сырьевой базы страны показывает, что запасы
такого важнейшего вида полезного ископаемого, как фосфорсодержащие руды,
отвечающие промышленным кондициям - ограничены.
Основным видом сырья для производства фосфатных удобрений в
нашей стране является апатитовый концентрат, получаемый в процессе обогащения
хибинских апатит-нефелиновых руд на обогатительных фабриках АО "Апатит”.
Практически вся отечественная суперфосфатная промышленность
базируется на Кольских апатитах и в первую очередь, на хибинских.
В данном курсовом проекте использована современная технология
обогащения хибинских апатит-нефелиновых руд с целью более рационального и
экономичного их использования, а также вовлечения в производство всех
апатитосодержащих руд Кольского полуострова. Также в работе рассмотрена
возможность повышение эффективности обогатительного производства за счет
внедрения новых технологий и оборудования, обеспечивающих получение высоких
технико-экономических показателей в условиях постепенного снижения качества
исходного минерального сырья.
1. Общая
часть
1.1
Характеристика сырьевой базы предприятия
Исходным сырьем мельнично-флотационного цеха для получения
двух сортов концентрата является дробленая руда.
Инфраструктура предприятия развита на значительной
территории, простирающейся с запада на восток на 70 км и с севера на юг на 30
км. Минерально-сырьевая база ОАО "Апатит" представлена сегодня 11
развитыми месторождениями апатит-нефелиновых руд, суммарные балансовые запасы
которых составляют свыше 3600 млн. т. из которых 1473,4 млн. т. -
государственный резерв.
В структуре подтвержденных мировых запасов апатитовых руд
доля Хибинских месторождений составляет порядка 30%. Из разведанных
месторождений эксплуатируется 6 наиболее благоприятных по запасам, качеству руд
и горно-геологическим условиям, на базе которых действуют 4 рудника: Кировский,
Расвумчоррский, Центральный и Восточный.
Эксплуатируемые месторождения образуют единую дугообразную
зону в южной части Хибинского массива протяженностью более 25 км, мощностью до
250-300 м., с падением рудных тел к центру массива от 20 до 50о.
Месторождения Кукисвумчорр, Юкспор, Апатитовый цирк и плато Расвумчорр являются
частями единой апатитовой залежи, находящейся на отметках от +1050 до - 650 м.
Месторождения Коашва и Ньюркпахк являются юго-восточной частью рудной зоны и
характеризуются наличием нескольких рудных тел и сложными горно-геологическими
условиями.
Три месторождения - Олений ручей, Куэльпор и Партомчорр -
детально разведаны и находятся в государственном резерве. Кроме того,
существуют месторождения Эвеслогчорр и Валлепахк.
Запасы руд Хибинских месторождений могут обеспечить стабильную
работу ОАО "Апатит" при существующей производительности еще не один
десяток лет. Однако, различные горно-геологические условия, особенности состава
и строения рудных тел, глубина залегания и способы отработки обуславливают
неравномерную подготовленность и трудности в освоении рудной базы.
Основной негативной особенностью месторождений является
снижение качества руды, усложнение горнотехнических и гидрогеологических
условий по мере углубления добычных работ и ввода в эксплуатацию новых
горизонтов.
Перспектива рудно-сырьевой базы ОАО "Апатит"
определяется интенсивным развитием рудников, осуществляющих добычу подземным
способом, прежде всего Кировского рудника, за счет освоения более глубоких
горизонтов для компенсации выбывающих мощностей Центрального рудника и
Ньюркпахкского карьера Восточного рудника. Доля руды добытой открытым способом
будет сокращаться до 55% в 2005 г. и до 30% на рубеже 2015 г.
Апатитовые руды месторождений Хибин делятся на три типа.
Первый из них представлен апатит-нефелиновыми рудами, второй -
сфено-апатит-нефелиновыми и третий - полевошпато-нефелино-апатитовыми рудами.
Внутреннее строение центрального апатит-нефелинового тела
достаточно сложное, почти на всем протяжении ему свойственна двухзональная
структура. Богатая апатитом руда располагается в верхней части тела, бедная - в
нижней.
В целом апатит-нефелиновые руды (пятнистой текстуры)
характеризуются значительным разнообразием текстурных разновидностей,
отличающихся внешним видом и содержанием апатита. По минералогическому составу
апатитовые руды практически однотипны и отличаются лишь количественным
соотношением рудообразующих минералов. Наиболее распространены: апатит,
нефелин, сфен, полевой шпат, пироксен, титаномагнетит. Реже встречаются
второстепенные минералы: натролит, лепидомелан, ринколит, канкринит. В пределах
апатитовых месторождений установлено более 50 минеральных видов.
Апатит-нефелиновые руды пятнистой текстуры представлены
светлыми массивными породами, в которых четко выделяются более темные пятна.
Это наиболее богатая разновидность руды состоит на 60-90% из апатита, в его
массе в виде пятен располагаются пироксены, сфен и нефелин. Размер отдельных
пятен колеблется в пределах от 0,5 до 4 см.
Пятнисто - полосчатые руды близки к пятнистым, но здесь пятна
или вытянуты в одном направлении, или сгущаясь, выделяются в виде почти
беспрерывных полос. Линзовидно-полосчатые апатит-нефелиновые руды представляют
собой широко распространенную текстурную разновидность. Они сложены линзами
мелкозернистых нефелиновых пород, которые цементируются прослойками апатита.
Выделяются две разновидности светло-серого цвета - богатая (свыше 17% P2O5) и бедная. В богатых
рудах мощность апатитовых прожилок достигает 10 см и более, в бедных -
тончайшие апатитовые прожилки.
Сетчатые руды представляют собой разновидность
линзовидно-полосчатых руд, но отличаются от последних меньшим количеством
апатита (содержание P2O5 6-12%). Это темно - серые породы, сложенные в основном линзами
мелкозернистого ийолита, на фоне которых апатитовые прожилки образуют как бы
ажурную сеть, вытянутую в одном направлении. Руды характеризуются повышенным
содержанием нефелина и темноцветных минералов. Особое место занимают окисленные
руды, которые образовались в результате физических и химических процессов при
выветривании. Этим рудам свойственны бурая окраска, рыхлость, наличие
значительных количеств глинистых шламов и коллоидов.
Основными породообразующими минералами всех разновидностей
апатит-нефелиновых руд являются апатит, нефелин, сфен, эгирин, полевой шпат и
титаномагнетит. Преобладают апатит (10-80%) и нефелин (15-50%). [4]
Примерный химический состав перерабатываемых руд (в % масс.)
P2O5 - 16,9AI2O3
- 13,2SiO2 - 25,3Fe2 O3 - 3,2- 1,5TiO2
- 2,0CaO - 23,2Na2O - 5,92O - 0,4MgO - 0,7K2O
- 3,7F - 0,7
1.2
Краткая характеристика основных минералов
Апатит - Ca5 (PO4) 3· (F,CI,OH), ассоциирует
практически со всеми минералами, часто включен в зерна других минералов:
пироксенов, сфена и титаномагнетита. Менее характерны включения апатита в
нефелин. Форма зерен правильная короткостолбчатая, столбчатая до игольчатой.
Поверхность апатитовых зерен никогда не бывает гладкой, на ней постоянно
наблюдаются фигуры роста и растворения. В мономинеральных агрегатах апатитовые
зерна несут на себе многочисленные отпечатки соседних зерен. Размер зерен
апатита почти всегда меньше зерен нефелина, полевого шпата, пироксенов и
составляет у мелких зерен от 0,1 до 1 мм, у крупных от 2 до 12 мм. Иголочки
апатита имеют длину 2-20 мм, в очень редких случаях 30 мм. Основная масса
апатитовых зерен не имеет на поверхности включений и пленок. В редких случаях
наблюдаются прочно закрепленные на поверхности апатитовых зерен пленки
халькопирита. Значительно чаще встречается апатит, поверхность которого покрыта
бурыми пленками гидроокислов железа. Твердость апатита - 5, плотность - 3,2
г/см3, блеск стеклянный, цвет - бледно-зеленый, серый, черный,
темно-серый, желтовато-зеленый.
Примерный химический состав апатита, %:
P2O5 - 40, 36; CaO -
52, 74; AI2O3 - 0, 22; Na2O - 0, 13;
Fe2 O3 - 0,32; MgO - 0,04; TiO2 - 0,02; K2O - 0,09.
Нефелин - (Na, К) AI Si O4, ассоциирует со всеми
минералами апатит-нефелиновых руд и вмещающих пород. Форма зерен разнообразная,
размер зерен колеблется от 0,05 до 10 мм, редко до 80-100 мм. В нефелине
постоянно наблюдаются инородные включения эгирина, апатита, титаномагнетита,
лепидомелана, гидрослюды и глины.
Цвет - темно-зеленый, зеленовато-серый, серый. Блеск жирный,
реже - стеклянный. Плотность - 2,6-2,7 г/cм3.
Сфен - CaTiSiO4 (O,
OH, F). Присутствует
в хибинских рудах в нескольких разновидностях. Наиболее распространены
светло-бурые удлиненно-призматические кристаллы, из которых слагаются
апатитo-сфеновые руды. По физическим свойствам все эти разновидности близки
между собой. Плотность - 3,4-3,56 г/см3, твердость - 5-6, содержание
TiO2 - 38-41%.
Пироксены (эгирин и эгирин-авгит) - химическая формула NaFeSi2O6 - Ca (Mg, Fe, Al) [Si2O6].
Эгирин и эгирин-авгит встречаются во всех породах, но
распространены в них неравномерно: количественное содержание их выше во
вмещающих породах и ниже в апатитовых рудах.
Наиболее часто встречаются игольчатый эгирин (продольный
размер зерен 5 - 20 мм при диаметре 0,2-1 мм), длиннопризматический (размером 2
x 0,2 мм), волокнистый
эгирин, а также мелкие включения (до 0,0001 мм). Игольчатый эгирин обычно бывает
черным, а волокнистый - ярко-зеленым.
Эгирин-авгит встречается в виде разнообразных по форме зерен
размером до 30 мм, а в пегматитовых выделениях - до несколько десятков
сантиметров. Цвет эгирина-авгита - черный с зеленоватым оттенком.
Для пироксенов характерен "стеклянный" блеск;
удельный вес - от 3,41 до 3,72, причем максимальный удельный вес у зеленого
волокнистого эгирина. Твердость пироксенов - 5. Им свойственна хрупкость,
занозистый излом, а также электромагнитная восприимчивость. В кислотах пироксены
не растворяются.
Титаномагнетит - химическая формула FeFe2O4 * FeTiO3. Титаномагнетит
встречается со всеми породообразующими минералами массива, однако чаще - с
пироксеном и сфеном. Наиболее широко он распространен в породах верхней
контактной зоны. Представлен в массиве несколькими модификациями, чаще всего в
виде крупных кристаллов, включающих пироксены, апатит, нефелин, лепидомелан.
Наиболее часто встречаются зерна размером от 0,2 до 30 мм.
Цвет, твердость и блеск минерала - обычные. Удельный вес 4,6 - 4,8. Минерал
обладает сильными магнитными свойствами.
Совершенно очевидно, что совершенствование технологии
обогащения хибинских апатит-нефелиновых руд с целью более рационального и
экономичного их использования имеет большое значение. [4]
.3 Характеристика
производимой продукции
Апатитовый концентрат является основным продуктом обогащения
апатит-нефелиновой руды и представляет собой кристаллический порошок серого
цвета, содержащий 95-97% чистого минерала апатита, имеющего удельный вес
3,15-3,20 т/м3. Апатит не ядовит, не токсичен, хорошо растворяется в
неорганических кислотах, не горит.
Апатитовый концентрат выпускается согласно техническим
требованиям ГОСТ 22275-90 "Концентрат апатитовый. Технические
условия" и ТУ 2111-37-00203938-96 "Концентрат апатитовый
"Супер". [13]
Нормируемые показатели стандартного концентрата приведены в
таблице 1.
Таблица 1 - Нормируемые показатели стандартного концентрата
|
№ п/п
|
Наименование
показателя
|
|
|
1
|
Массовая доля
оксида фосфора (Р2О5), %, не менее
|
39,0
|
|
2
|
Массовая доля
воды, %
|
1,0±0,5
|
|
3
|
Остаток на сите
с сеткой №016К (ГОСТ6613-86), %, не менее
|
13,5
|
Примечание:
. Массовая доля оксида фосфора дана в пересчёте на сухое
вещество.
. Массовая доля полуторных оксидов (FeO, Fe2O3, Al2O3) не более 3,0%
гарантируется поставщиком и определяется периодически один раз в месяц по
требованию потребителя, а также в случае разногласий по оценке качества.
. По согласованию с потребителем допускается отгрузка
апатитового концентрата в период с мая по сентябрь включительно с содержанием
массовой доли воды 1,5±0,5%.
Примерный минералогический состав апатитового концентрата, %:
Апатит - 94,5-96,0
нефелин - 2,1-3,0
полевой шпат - 0,1-0,2
сфен - 0,2-0,5
эгирин - 0,4-0,7
титаномагнетит - следы
Химическая формула апатита Ca10 (PО4) 6
(FOH) 2
Примерная гранулометрическая характеристика стандартного
апатитового концентрата приведена в таблице 2.
Таблица 2 - Примерная гранулометрическая характеристика
стандартного апатитового концентрата
|
Классы, мм
|
Выход классов,
%
|
Суммарный выход
по плюсу, %
|
|
+0,224
|
3,70
|
3,70
|
|
-0,224+0,18
|
3,90
|
7,60
|
|
-0,18+0,16
|
3,00
|
10,60
|
|
-0,16+0,09
|
18,90
|
2,50
|
|
-0,09+0,071
|
13,35
|
4,85
|
|
-0,071
|
57,15
|
100,0
|
Нормируемые показатели апатитового концентрата
"Супер" приведены в таблице 3.
Таблица 3 - Нормируемые показатели апатитового концентрата
"Супер"
|
Наименование
показателя
|
Норма
|
|
1. Массовая
доля оксида фосфора Р2О5, %, не менее
|
40,0
|
|
2. Массовая
доля оксида титана TiO2, %, не более
|
0,2
|
|
3. Масса
подрешетного продукта сита с сеткой № 0071К (ГОСТ 6613), %, не более
|
20,0
|
|
4. Массовая
доля воды
|
1,0±0,5
|
Примечание - Массовая доля оксида фосфора дана в пересчёте на
сухое вещество.
Примерная гранулометрическая характеристика апатитового
концентрата "Супер" приведена в таблице 4.
Таблица 4 - Примерная гранулометрическая характеристика
апатитового концентрата "Супер"
|
Классы, мм
|
Выход классов,
%
|
Суммарный выход
по плюсу, %
|
|
+0,224
|
11,05
|
11,05
|
|
- 0,224+0,18
|
12,45
|
23,50
|
|
- 0,18+0,16
|
14,55
|
38,05
|
|
- 0,16+0,09
|
37,15
|
75, 20
|
|
- 0,09+0,071
|
11,50
|
86,70
|
|
- 0,071
|
13,30
|
100,0
|
Апатитовый концентрат имеет:
Паспорт безопасности РПБ № 00203938.21.05237 от 15 12.1999
г.;
Информационную карту ПОХВ серия АТ № 000599 от 19.09.95 г.
апатитовая руда флотационный концентрат
Апатитовый концентрат применяется как высококачественное
сырьё для производства фосфорных и сложных минеральных удобрений, для получения
фосфорной кислоты высокой концентрации, элементарного фосфора, двойного и
тройного суперфосфата и других фосфорных соединений.
Потребителями апатитового концентрата являются химические и
суперфосфатные заводы России. Часть апатитового концентрата экспортируется в
другие страны. [13]
2.
Специальная часть
2.1 Выбор и
обоснование схемы, принятой к проектированию
Своеобразие технологических схем обогащения
апатит-нефелиновых руд обусловлено особенностями их вещественного состава,
необходимостью комплексного использования сырья и извлечения в соответствующие
продукты обогащения, кроме апатита и нефелина, других данных компонентов
(титаномагнетита, сфена, эгирина, и др.), возможностями последующей переработки
получаемых концентратов. По технологической схеме флотации на бывшей
действующей обогатительной фабрике АНОФ-1 видно, что флотацию руды на двух
потоках проводили при содержании 52-55% класса крупности - 0,074 мм без
последующего доизмельчения концентрата. На третьем потоке (35% общего объема)
при более грубом помоле - 43-46% класса - 0,074 мм, но с доизмельчением
концентрата в соответствии с требованиями ГОСТ 5.1188-72, когда добываемые руды
характеризовались высокой вкрапленностью апатита - это позволило увеличить
объемы производства на существующих площадях без ухудшения технологических
показателей. Но в дальнейшем практика работы показала, что при флотации
грубоизмельченных руд имеет место снижение извлечения P2 O5 за счет повышенных потерь
апатита с крупными фракциями хвостов, преимущественно в виде сростков с другими
минералами. Это вызвано уменьшением размера вкрапленности полезного минерала -
апатита в бедных апатито-нефелиновых рудах вовлекаемых в переработку с новых
участков и месторождений. В результате снижения вкрапленности требуется тонкое
измельчение руды для полного раскрытия зерен.
При дальнейшем понижении качества руды и особенно ухудшении
ее технологических свойств участился выпуск некондиционного по качеству
концентрата и снизилось технологическое извлечение. Вследствие этого была
скомпонована технологическая схема, включающая три перечистки чернового
концентрата, основную, контрольную флотации.
В виду низкого содержания полезного компонента в руде,
высокой кондиции на концентрат, хорошей флотируемости полезного минерала, в
частности апатита, к проектированию принимаем схему флотации с тремя
перечистками чернового концентрата и контрольной флотацией хвостов. Концентрат
контрольной флотации можно возвратить только в основную флотацию. Если
концентрат контрольной и основной флотаций объединить и направить в первую
перечистку, то вместо двух перечиток получится одна - со временем флотации,
равным суммарному времени для основной и контрольной флотаций. Таким образом,
мы потеряем контрольную флотацию, а время основной флотации увеличится, что
плохо скажется на флотационном процессе. Так же для получения апатитового
концентрата двух видов "Стандарт” (слив) и "Супер" (пески)
концентрат третьей перечистки подвергаем классификации в гидроциклонах.
Принимаем к проектированию шаровые мельницы с центральной
разгрузкой-МШЦ. По сравнению с мельницами с разгрузкой через решетку, меньшая
сложность в конструкции и, поэтому, более низкая стоимость на единицу массы и
полезного объема. Эксплуатация данного типа мельниц более проста и дешевле, так
как в разгрузке мельниц МШЦ меньше самых крупных классов по сравнению с
мельницами МШР. Поэтому износ насосов и гидроциклонов, работающих в замкнутом
цикле с мельницами, уменьшается. Ввиду того, что концентрат третьей перечистки
будет подвергаться дальнейшей обработки, для получения более качественных
продуктов передела классификации, его качество должно быть не менее 39,3% по Р2О5..
Данная схема хорошо зарекомендовала себя на действующих фабриках ОАО "Апатит”
и позволит получить необходимое содержание фосфорного ангидрида и его
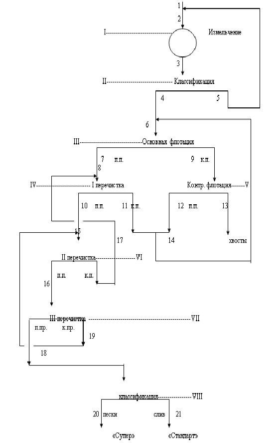
извлечение. Проектируемая схема флотации изображена на рисунке 1.
Рисунок 1. Технологическая схема, принятая к проектированию
2.2 Расчет
качественно-количественной схемы для получения концентратов "Супер" и
"Стандарт"
Имея качественную характеристику сырья и используя рисунок 1,
задаемся следующими показателями и начинаем расчет качественно-количественной
схемы:
по извлечению: e1 =
22,00, e2 = 14,00, e7 = 18,00, e9 = 11,00, e20 = 34,00,
e21 =
60,00
по содержанию: b = 11,40%, b2 = 13, 20%, b7 = 26,00%, b9 = 36,00%, b20 = 40,00%,
b21 = 39,00%
. Определяем число исходных показателей:
N = C * (np - ap + 1) - 1 =
2 * (12 - 6 + 1) - 1 =13 (1.1) [1]p = 7,9,10,11,12,13,16,17,18, 19,
20,21 = 12 шт.
ap = 6 операций
N - число исходных показателей
С = 1 + e = 2, e = 1
С - число расчётных показателей
е - число металлов, на которые рассчитывается схема
np - число продуктов разделения
ap - число операций разделения
. Определяем число исходных показателей, относящихся к
продуктам разделения:
Np = C * (np - ap) = 2 * (12 - 6) = 12
(1.2) [1]
. Определяем максимально возможное число показателей
извлечения:
N
= np - ap =12 - 6 = 6 (1.3) [1]
. Задаемся показателями по извлечению и по содержанию:
по извлечению: e1 = 22,00, e2 = 14,00, e7 = 18,00, e9 = 11,00, e20 = 34,00, e21= 60,00
по содержанию: b = 11,40%, b2 = 13, 20%, b7 = 26,00%, b9 = 36,00%, b20 = 40,00%,
b21 = 39,00%
Рассчитываем по уравнениям баланса недостающие расчеты по
извлечению:
Принимаем циркулирующую нагрузку:
ε2 = ε5 + ε1 = 300 + 100 = 400%, ε1 = ε2 = 100%
ε18 = ε20 + ε21 = 34 + 60 = 94%
ε6 = ε14 - ε4 = 36 + 100 = 136%
ε14 = ε11 + ε12 = 22 + 14 = 36%
ε15 = ε16 + ε17 = 105 + 18 = 123%
ε16 = ε18 + ε19 = 94 + 11 = 105%
ε10 = ε15 - ε19 = 123 - 11 = 112%
ε8 = ε10 + ε11 = 112 + 22 = 134%
ε7 = ε8 - ε17 = 134 - 18 = 116%
ε9 = ε6 - ε7 = 136 - 116 = 20%
ε13 = 100% - (ε21+ ε20) = 100- (60+34) = 6%
Проверка:
. Рассчитываем выхода продуктов, для которых имеются содержание по
формуле
: (1.4) [1]
Принимаем циркулирующую нагрузку:
Остальные выхода рассчитываем по уравнениям баланса:
Проверка:
, 100,00%=100,00%
. Рассчитываем недостающие показатели содержания:
(1.5) [1]
. Рассчитываем абсолютные массы производств по формуле
(1.6) [1]ч = Qг/n * η * τ, где
n - запланированное календарное число дней работы обогатительной
фабрики в год;
η - коэффициент использования оборудования
фабрики по времени - отношение чистого
времени работы фабрики к запланированному календарному времени;
τ - количество рабочих часов в сутки.
n = 358
η = 0,92 - 0,95
n * η = 330 -
340
τ = 24 часа
ч =
10000000/340*24 = 1225,00 т/час
Q10 =
1225,00 * 39,58/100 = 484,85 т/час
Q11 =
1225,00 * 23,86/100 = 292,28 т/час
Q12 = Q14 - Q11 = 458,51 - 292,28 = 166,23 т/час
Q13 =
1225,00 * 69,42/100 = 850,40 т/час
Q14 =
1225,00 * 37,43/100 = 458,51 т/час
Q15 =
1225,00 * 44,58/100 = 546,10 т/час
Q16 =
1225,00 * 35,58/100 = 435,85 т/час
Q17 =
1225,00 * 9,00/100 = 110,25 т/час
Q18 =
1225,00 * 30,58/100 = 374,60 т/час
Q19 =
1225,00 * 5,00/100 = 61,25 т/час
Q20 =
1225,00 * 10,88/100 = 133,28 т/час
Q21 =
1225,00 * 19,70/100 = 241,32 т/час
Q9 = Q12 + Q13 = 166,23 + 850,40 = 1016,63 т/час
Q8 = Q10 + Q11 = 484,85 + 292,28 = 777,13 т/час
Q7 = Q8 - Q17 =
777,13 - 110,25 = 666,88 т/час
Q6 = Q7 + Q9 = 666,88 + 1016,63 = 1683,51 т/час
Проверка: Q21 + Q20 + Q13 = Q1
,32 + 133,28 + 850,40 = 1225,50 т/час
,00 = 1225,00
Находим Q2, Q3, Q5 для этого задаёмся циркулирующей нагрузкой С = 300%
Q2 = Q3 = Q1 * C = 1225,00*3 = 3675,00 т/час, Q4 = Q1
Q5 = Q3 - Q4 = 3675,00 - 1225,00 = 2450,00 т/час
. Результаты расчетов записываем в таблицу 5.
Таблица 5. - Результаты расчета качественно-количественной схемы
|
N п/п
|
Наименование
операций и продуктов
|
Q, т/ч
|
,% ,% ,%
|
|
|
|
|
I
|
Измельчение
|
|
|
|
|
|
|
Поступает:
|
|
|
|
|
|
|
1
|
исх. руда
|
1225,00
|
100,00
|
12,80
|
1280,00
|
100
|
|
5
|
пески
классификации
|
2450,00
|
300,00
|
12,80
|
3840,00
|
300
|
|
2
|
Итого
|
3675,00
|
400,00
|
12,80
|
5120,00
|
400
|
|
Выходит:
|
|
|
|
|
|
|
2
|
питание
измельчения
|
3675,00
|
400,00
|
12,80
|
5120,00
|
400
|
|
3
|
Итого
|
3675,00
|
400,00
|
12,80
|
5120,00
|
400
|
|
II
|
Классификация
|
|
|
|
|
|
|
Поступает:
|
|
|
|
|
|
|
3
|
питание
измельчения
|
3675,00
|
400,00
|
12,80
|
5120,00
|
400
|
|
2
|
Итого
|
3675,00
|
400,00
|
12,80
|
5120,00
|
400
|
|
Выходит:
|
|
|
|
|
|
|
4
|
слив
классификации
|
1225,00
|
100,00
|
12,80
|
1280,00
|
100
|
|
5
|
пески
классификации
|
2450,00
|
300,00
|
12,80
|
3840,00
|
300
|
|
3
|
Итого
|
3675,00
|
400,00
|
12,80
|
5120,00
|
400
|
|
III
|
Осн.
флотация
|
|
|
|
|
|
|
Поступает:
|
|
|
|
|
|
|
4
|
слив
классификации
|
1225,00
|
100,00
|
12,80
|
1280,00
|
100
|
|
14
|
Объединённый
продукт
|
458,51
|
38,27
|
12,04
|
460,00
|
36
|
|
6
|
Итого
|
1683,51
|
138,27
|
12,60
|
1740,00
|
136
|
|
Выходит:
|
|
|
|
|
|
|
7
|
пен. продукт
|
666,88
|
55,28
|
26,86
|
1484,00
|
116
|
|
9
|
1016,63
|
82,99
|
3,08
|
256,00
|
20
|
|
6
|
Итого
|
1683,51
|
138,27
|
12,60
|
1740,00
|
136
|
|
IV
|
I перечистка
|
|
|
|
|
|
|
Поступает:
|
|
|
|
|
|
|
7
|
пен. продукт
|
666,88
|
55,28
|
26,86
|
1484,00
|
116
|
|
17
|
кам. продукт
|
110,25
|
9,00
|
26,00
|
230,00
|
18
|
|
8
|
Итого
|
777,13
|
64,28
|
26,68
|
1714,00
|
134
|
|
Выходит:
|
|
|
|
|
|
|
10
|
пен. продукт
|
484,85
|
39,58
|
36,22
|
1433,00
|
112
|
|
11
|
кам. продукт
|
292,28
|
24,70
|
11,40
|
281,00
|
22
|
|
8
|
Итого
|
777,13
|
64,28
|
26,68
|
1714,00
|
134
|
|
V
|
Контрольная
флотация
|
|
|
|
|
|
|
Поступает:
|
|
|
|
|
|
|
9
|
кам. продукт
основ. флот.
|
1016,63
|
82,99
|
3,08
|
256,00
|
20
|
|
9
|
Итого
|
1016,63
|
82,99
|
3,08
|
256,00
|
20
|
|
Выходит:
|
|
|
|
|
|
|
12
|
пен. продукт
|
166,23
|
13,57
|
13, 20
|
179,60
|
14
|
|
13
|
хвосты контр.
флот.
|
850,40
|
69,42
|
1,10
|
76,40
|
6
|
|
9
|
Итого
|
1016,63
|
82,99
|
3,08
|
256,00
|
20
|
|
VI
|
II перечистка
|
|
|
|
|
|
|
Поступает:
|
|
|
|
|
|
|
10
|
пен. продукт
|
484,85
|
39,58
|
36,22
|
1433,00
|
112
|
|
19
|
кам. продукт
|
61,25
|
4,00
|
36,00
|
141,00
|
11
|
|
15
|
Итого
|
546,10
|
43,58
|
36,12
|
1574,00
|
123
|
|
Выходит:
|
|
|
|
|
|
|
16
|
пен. продукт
|
435,85
|
34,58
|
28,86
|
1344,00
|
105
|
|
17
|
кам. продукт
|
110,25
|
9,00
|
26,00
|
230,00
|
18
|
|
15
|
Итого
|
546,10
|
43,58
|
36,12
|
1574,00
|
123
|
|
VII
|
III
перечистка
|
|
|
|
|
|
|
Поступает:
|
|
|
|
|
|
|
16
|
пен. продукт
|
435,85
|
34,58
|
28,86
|
1344,00
|
105
|
|
16
|
Итого
|
435,85
|
34,58
|
28,86
|
1344,00
|
105
|
|
Выходит:
|
|
|
|
|
|
|
18
|
пен. продукт
|
374,60
|
30,58
|
38,34
|
1203,00
|
94
|
|
19
|
кам. продукт
|
61,25
|
4,00
|
36,00
|
141,00
|
11
|
|
16
|
Итого
|
435,85
|
34,58
|
28,86
|
1344,00
|
105
|
|
VIII
|
Классификация
|
|
|
|
|
|
|
Поступает:
|
|
|
|
|
|
|
18
|
пен. продукт
|
374,60
|
30,58
|
38,34
|
1203,00
|
94
|
|
18
|
Итого
|
374,60
|
30,58
|
38,34
|
1203,00
|
94
|
|
Выходит:
|
|
|
|
|
|
|
20
|
пески
|
133,28
|
10,88
|
40,00
|
435,00
|
34
|
|
21
|
слив
|
241,32
|
19,70
|
39,00
|
768,00
|
60
|
|
18
|
Итого
|
374,60
|
30,58
|
38,34
|
1203,00
|
94
|
Рисунок 2. Водно-шламовая схема мельнично-флотационного цеха
для получения концентратов "Супер" и "Стандарт"
2.3 Расчет
водно-шламовой схемы для получения концентратов "Супер" и
"Стандарт"
Используя рис.2:
. Зададимся разжижениями продуктов для расчета водно-шламовой
схемы процесса измельчения по таблице ориентировочного содержания твердого в
некоторых операциях и продуктах:
R1 = 0,03 (1.7) [1]
R4 = 1,50
R5 = 0,25
R3 (I) = 0,54
. Исходные показатели для процесса флотации:
|
Оптимальные
значения R
|
Нерегулируемые
значения R
|
Норма расхода
|
|
RIII
= 1,90 RIV = 1,80 RVI = 2,30 RVII = 2,30
|
R7 = 1,40 R18 = 1,40 R20 = 2,50, R21 = 0,63 R10 = 1,38 R16 = 2,10
|
l12
= 1,50 м3/т L12 = l12*Q12 =1,50 * 166,23 = 249,34 м3/ч
|
. Рассчитываем количества воды, добавляемые в отдельные
операции:
для операции измельчения:
WI = LI + W1 +W5
W1 = R1 * Q1 = 0,03 * 1225,00 = 36,75 м3/ч
W5 = R5 * Q5= 0,25 * 2450,00 = 612,50 м3/ч
WI = RI * (Q1 + Q5) = 0,54 * (1225,00 +
2450,00) = 1984,50 м3/ч
LI = WI - W1 - W5 = 1984,50 - 36,75 -
612,50 = 1335,25 м3/ч
для операции классификации:
LII=W4 +W5-W3
W3=WI
W4 = R4 * Q4 = 1,50 * 1225,00 = 1837,50 м3/ч
LII = 1837,50 + 612,25 -
1984,50 = 465,25 м3/ч
WII = W4 +W5 = 1837,50 + 612,50 =
2450,00 м3/ч
для операции I перечистки:
WIV = RIV * (Q10 + Q11) = 1,80 * (484,85 +
292,28) = 1398,83 м3/ч
W10 = R10 * Q10 = 1,38 * 484,85 = 669,33 м3/ч
W11 = WIV - W10 = 1398,83 - 669,33 =
729,50 м3/ч
LIV = WIV - W7 - W17
= 1398,83 - 933,63 - 340,75 = 124,45 м3/ч
для операции основной флотации:
WIII= W4+ W12 +W11 +L12, W7 = R7 * Q7 = 1,40 * 666,88 = 933,63
м3/ч
L12 = l12 * Q12 = 249,34 м3/ч
W12 = WIII - W4 - W11 - L12
WIII = RIII * (Q4 + Q11 + Q12) = 1,90 * (1225,00 +
292,28 + 166,23) = 3198,67 м3/ч
W12 = 3198,67 - 1837,50 - 729,50 - 249,34 = 382,33 м3/ч
W9 = WIII - W7 = 3198,67 - 933,63 =
2265,04 м3/ч
для операции классификации:
W20 = R20 * Q20 = 2,50 * 133,28 = 333,20 м3/ч
W21= W18 - W20 =
486,98 - 333,20 = 153,78 м3/ч18 = R18 * Q18
= 1,40 * 374,60 = 486,98 м3/ч21 = W21/Q21
= 153,78/241,32 = 0,63
для операции контрольной флотации:
W13= W9 - W12 = 2265,04 - 382,33 = 1882,71 м3/ч
для операции III перечистки:
W16 = R16 * Q16= 2,10 * 435,85 = 915,28 м3/ч
WVII= RVII* (Q18+ Q19) = 2,30* (374,60 +
61,25) = 1002,45 м3/ч
W19 = WVII - W18 = 1002,45 - 486,98 =
515,47 м3/ч
LVII = WVII - W16
LVII = 1002,45 - 915,28 =
87,17 м3/ч
для операции II перечистки:
WVI = W16 + W17
WVI = RVI * (Q16 + Q17) = 2,30 * (435,85 +
110,25) = 1256,03 м3/ч
W17 = WVI - W16 =1256,03 - 915,28 = 340,75 м3/ч
LVI = WVI - W10 - W19 = 1256,03 - 669,33 -
515,47 = 71,23 м3/ч
. Рассчитываем значения Rn:
Rn = Wn / Qn (1.8) [1]
RII = WII / Q3 = 2450,00/3675,00 = 0,66
R11 = W11/Q11 = 729,50/292,28 = 2,50
R9 = (WIII - W7) / Q9 = (3198,67 - 933,63) /
1016,63 = 2,22
R17 = (WIV - W7 - LIV) / Q17 = (1398,83 - 933,63 -
124,45) / 110,25 = 3,09
R19 = (WVI - W10 - LVI) / Q19 = (1256,03 - 669,33 -
71,23) / 61,25 = 4,00
RVII = (W18 + W19) / Q16 = (486,98 + 515,47) /
435,85 = 2,30
R13 = W13/Q13 = 1882,71/850,40 = 2,21
. Результаты расчетов записываем в таблицу 6.
Таблица 6. - Результаты расчета водно-шламовой схемы
|
N п/п
|
Наименование
операций и продуктов
|
Q, т/ч
|
Rn
|
Wn, м3/ч
|
Vn, м3/ч
|
|
1
|
2
|
3
|
4
|
5
|
6
|
|
I
|
Измельчение
|
|
|
|
|
|
Поступает:
|
|
|
|
|
|
1
|
исх. руда
|
1225,00
|
0,03
|
36,75
|
419,56
|
|
5
|
пески
классификации
|
2450,00
|
0,25
|
612,50
|
1378,12
|
|
LI
|
свежая вода
|
-
|
-
|
1335,25
|
1335,25
|
|
2
|
Итого
|
3675,00
|
0,54
|
1984,50
|
3132,93
|
|
Выходит:
|
|
|
|
|
|
3
|
питание
измельчения
|
3675,00
|
0,54
|
1984,50
|
3132,93
|
|
2
|
Итого
|
3675,00
|
0,54
|
1984,50
|
3132,93
|
|
II
|
Классификация
|
|
|
|
|
|
Поступает:
|
|
|
|
|
|
3
|
пит.
измельчения
|
3675,00
|
0,54
|
1984,50
|
3132,93
|
|
LII
|
свежая вода
|
-
|
465,50
|
465,50
|
|
2
|
Итого
|
3675,00
|
0,66
|
2450,00
|
3598,43
|
|
Выходит:
|
|
|
|
|
|
4
|
слив
классификации
|
1225,00
|
1,50
|
1837,50
|
2220,31
|
|
5
|
пески
классификации
|
2450,00
|
0,25
|
612,50
|
1378,12
|
|
2
|
Итого
|
3675,00
|
0,66
|
2450,00
|
3598,43
|
|
III
|
Основная
флотация
|
|
|
|
|
|
Поступает:
|
|
|
|
|
|
4
|
слив
классификации
|
1225,00
|
1,50
|
1837,50
|
2220,31
|
|
11
|
кам. продукт I перечистки
|
292,28
|
2,50
|
729,50
|
822,00
|
|
12
|
пен. продукт
|
166,23
|
2,30
|
382,33
|
434,00
|
|
L12
|
свежая вода
|
-
|
-
|
249,34
|
249,34
|
|
6
|
Итого
|
1683,51
|
1,90
|
3198,67
|
3725,65
|
|
Выходит:
|
|
|
|
|
|
7
|
пен. продукт
|
666,88
|
1,40
|
933,63
|
1142,03
|
|
9
|
кам. продукт
|
1016,63
|
2,22
|
2265,04
|
2583,62
|
|
6
|
Итого
|
1683,51
|
1,90
|
3198,67
|
3725,65
|
|
IV
|
I перечистка
|
|
|
|
|
|
Поступает:
|
|
|
|
|
|
7
|
пен. продукт
|
666,88
|
1,40
|
933,63
|
1142,03
|
|
17
|
кам. продукт
|
110,25
|
3,09
|
340,75
|
375, 20
|
|
LIV
|
свежая вода
|
-
|
-
|
124,45
|
124,45
|
|
8
|
Итого
|
777,13
|
1,80
|
1398,83
|
1641,68
|
|
Выходит:
|
|
|
|
|
|
10
|
пен. продукт
|
484,85
|
1,38
|
669,33
|
819,68
|
|
11
|
кам. продукт
|
292,28
|
2,50
|
729,50
|
822,00
|
|
8
|
Итого
|
777,13
|
1,80
|
1398,83
|
1641,68
|
|
V
|
Контрольная
флотация
|
|
|
|
|
|
Поступает:
|
|
|
|
|
|
9
|
кам. продукт
осн. флотации
|
1016,63
|
2,22
|
2265,04
|
2583,62
|
|
9
|
Итого
|
1016,63
|
2,22
|
2265,04
|
2583,62
|
|
Выходит:
|
|
|
|
|
|
12
|
пен. продукт
|
166,23
|
2,30
|
382,33
|
434,00
|
|
13
|
хвосты контр.
флотации
|
850,40
|
2,21
|
1882,71
|
2149,62
|
|
9
|
Итого
|
1016,63
|
2,22
|
2265,04
|
2583,62
|
|
VI
|
II перечистка
|
|
|
|
|
|
Поступает:
|
|
|
|
|
|
10
|
пен. продукт
|
484,85
|
1,38
|
669,33
|
819,68
|
|
19
|
кам. продукт
|
61,25
|
4,00
|
515,47
|
535,77
|
|
LVI
|
свежая вода
|
-
|
-
|
71,23
|
71,23
|
|
15
|
Итого
|
546,10
|
2,30
|
1256,03
|
1426,68
|
|
Выходит:
|
|
|
|
|
|
16
|
пен. продукт
|
435,85
|
2,10
|
915,28
|
1051,48
|
|
17
|
кам. продукт
|
110,25
|
3,09
|
340,75
|
375, 20
|
|
15
|
Итого
|
546,10
|
2,30
|
1256,03
|
1426,68
|
|
VII
|
III
перечистка
|
|
|
|
|
|
Поступает:
|
|
|
|
|
|
16
|
пен. продукт
|
435,85
|
2,10
|
915,28
|
1051,48
|
|
LVII
|
свежая вода
|
-
|
-
|
87,17
|
87,17
|
|
16
|
Итого
|
435,85
|
2,30
|
1002,45
|
1138,65
|
|
Выходит:
|
|
|
|
|
|
18
|
пен. продукт
|
374,60
|
1,40
|
486,98
|
602,88
|
|
19
|
кам. продукт
|
61,25
|
4,00
|
515,47
|
535,77
|
|
16
|
Итого
|
435,85
|
2,30
|
1002,45
|
1138,65
|
|
VIII
|
Классификация
|
|
|
|
|
|
Поступает:
|
|
|
|
|
|
18
|
пен. продукт
|
374,60
|
1,40
|
486,98
|
602,88
|
|
18
|
Итого
|
374,60
|
1,40
|
486,98
|
602,88
|
|
Выходит:
|
|
|
|
|
|
20
|
концентрат
"Стандарт"
|
133,28
|
2,50
|
333, 20
|
374,85
|
|
21
|
концентрат
"Супер"
|
241,32
|
0,63
|
153,78
|
228,03
|
|
18
|
Итого
|
374,60
|
1,40
|
486,98
|
602,88
|
. Для рассчитанной водно-шламовой схемы баланс воды приведен
в таблице 7.
Таблица 7. - Результаты расчета баланса воды водно-шламовой
схемы
|
Поступает воды
в процесс
|
W, м3/ч
|
Уходит воды из
процесса
|
W, м3/ч
|
|
С исходной
рудой W1
|
36,75
|
С хвостами W13
|
1882,71
|
|
В измельчение LI
|
1335,25
|
С концентратом
"Супер" W20
|
153,78
|
|
В классификацию
LII
|
465,50
|
С концентратом
"Стандарт" W21
|
333, 20
|
|
В пен. продукт
контр. флотации L12
|
249,34
|
|
|
|
В I перечистку LIV
|
124,45
|
|
|
|
Во II перечистку LVI
|
71,23
|
|
|
|
В III перечистку LVII
|
87,17
|
|
|
|
Всего поступает
W1 + 2369,69Всего уходит 2369,69
|
|
|
|
Баланс общей воды выражается равенством:
, (1.9) [1]
где
- количество воды, поступающее с исходным
сырьем;
- суммарное количество воды, добавляемой в процесс;
- суммарное количество воды, уходящее из процесса с конечными
продуктами.
. Из уравнения (1.9) следует, что расход общей воды будет:
(2.1) [1]
. Объем пульпы в продукте определяем по формуле и результат
записываем в таблицу 6
,
где
- плотность твердого в продукте;
= 3,2 (г/см3) = 3,2 (т/м3)
(2.2) [1]
2.4 Выбор и
расчет основного технологического оборудования
При выборе обогатительного оборудования приходится решать три
основные задачи - выбор типа аппарата, определение его производительности,
выбор оптимального в технико-экономическом отношении размера аппарата и в связи
с этим потребного количества устанавливаемых аппаратов.
2.4.1 Выбор и
расчет оборудования для измельчения
Расчет мельниц производим по удельной производительности.
Рассчитываем шаровые мельницы с центральной разгрузкой - они имеют большую
пропускную способность, высокий уровень слива обеспечивает длительное
пребывание частиц породы в рабочей зоне, и как следствие, равномерность
продукта по крупности. Принимаем за эталонную руду, перерабатываемую на
действующей фабрике АНОФ-3, оборудованной мельницами с центральной разгрузкой
МШЦ 5500
6500. Каждая мельница потребляет 4000 кВт
и имеет производительность 302,50 т/ч. при питании рудой крупностью 25-0 мм (bи = 7% кл. - 0,074 мм) и содержании расчетного класса в готовом
продукте - bк = 55%. [13]
Удельная производительность проектируемой мельницы по вновь
образуемому расчетному классу, т/ (м3×ч)
рассчитывается по формуле:
q = q1*Kи*Kк *KD*KТ, где (2.3) [1]
q - удельная
производительность проектируемой мельницы по вновь образуемому расчетному
классу, т/ (м3×ч);
q1 - удельная
производительность работающей мельницы по тому же классу, т/ (м3×ч);
Kи - коэффициент,
учитывающий различие в измельчаемости проектируемой к переработке и
перерабатываемой руды;
Кк - коэффициент, учитывающий различие в крупности
исходного и конечного продуктов измельчения;
КD - коэффициент, учитывающий различие в
диаметрах барабанов проетируемой и работающей мельниц;
КТ - коэффициент, учитывающий различие в типе
проектируемой и работающей мельниц.
. Определяем удельную производительность по вновь образуемому классу
- 0,074 мм действующей мельницы:
q1 = Q * (βк - βи) * 4/ π * (D - 0,15) 2 * L, где (2.4) [1]
βк и βи - содержание расчетного класса
соответственно в конечном и исходном продукте;
Q - производительность
действующей мельницы;
D - диаметр барабана действующей мельницы;
L - длина барабана действующей мельницы
q1 = 302,50
* (0,55 - 0,08) * 4/3,14 (5,5 - 0,15) 2 * 6,5 = 1,01 т/м3ч
. Определяем значение коэффициента Кк по формуле:
Кк = m4/m1, где (2.5) [1]
m4 - значение
m по таблице 43 [1, стр.217] для
запроектируемой крупности исходного и конечного продуктов;
m1 -
значение m по таблице 43 [1, стр.217] для крупности
тех же продуктов на действующей обогатительной фабрике.
Найдем m2 по табл.43 [1] для проектируемых условий
измельчения:
крупность исходного продукта 13-0 мм;
bк = 55%; bи = 7% (из технологического регламента).
Для нахождения m2 воспользуемся данными табл.8.
Таблица 8.
|
Крупность
Исходного материала, мм
|
Содержание
класса - 0.074 мм в готовом продукте, %
|
|
48
|
60
|
72
|
|
10-0
|
1.00
|
0.93
|
|
20-0
|
0.92
|
0.92
|
0.88
|
|
40-0
|
0.81
|
0.83
|
0.81
|
Проинтерполируем при bк = 55%
а) для крупности исходного материала 20-0 мм m = 0,92;
б) для крупности исходного материала 10-0 мм
= 1,03 - (1,03 - 1,00) * (0,60 - 0,55) / (0,60 - 0,48) =
1,018;
в) для крупности исходного 13-0 мм
2 = 1,018 - (1,018 - 0,92) * (20 - 13) / (20 - 10)
= 0,949
Значение m1 определим по данным таблицы 43 [1] для
условий измельчения проектируемой мельницы:
крупность исходного материала 25 - 0 мм; bк-0,074 = 60%
1 = 0,92 - (0,92 - 0,83) * (20 - 13) / (40 - 20) =
0,889,тогда kк = m2/m1 = 0,949/0,889 = 1,067
. Определяем значение коэффициента КD для сравниваемых мельниц
по формуле:
KD = [ (D2 - 0,15) / (D1 -
0,15)] 0,5, где (2.6) [1]
2 и D1 - соответственно номинальные
диаметры барабанов проектируемой и работающей мельниц.
для МШЦ 4500х6000 - KD = [ (4,5 - 0,15) / (5,5 - 0,15)] 0,5
= 0,91;
для МШЦ 5500x6500 - KD = [ (5,5 - 0,15) / (6,5 - 0,15)] 0,5
= 0,91;
для МШЦ 6000х8500 - KD = [ (6,0 - 0,15) / (8,5 - 0,15)] 0,5
= 0,83
. Определяем значение коэффициента Кт
kт = 1,0, т.к. действующая мельница с центральной
разгрузкой и на проектируемой фабрике предполагается установка мельницы того же
типа.
. Определяем удельные производительности мельниц по вновь
образуемому классу
,074 мм по формуле:
q = q1 * Kи * Kк * KD * KТ (2.7) [1]
для мельницы МШЦ 4,5х6,0 q = 1,01 * 0,92 * 1,067 * 0,91 * 1,0
= 0,90 т/ч м3;
для мельницы МШЦ 5,5х6,5 q = 1,01 * 0,92 * 1,067 * 0,91 * 1,0
= 0,90 т/ч м3;
для мельницы МШЦ 6,0х8,5 q = 1,01 * 0,92 * 1,067 * 0,83 * 1,0
= 0,82 т/ч м3
. Найдем рабочий объем барабанов сравниваемых мельниц по
формуле:
= [p * (D - 0,15) 2 L] / 4 (2.8) [1]4,5x6,0
= [3,14 * (4,5 - 0,15) 2 * 6,0] / 4 = 89,10 м3;5,5x6,5
= [3,14 * (5,5 - 0,15) 2 *6,5] / 4 = 146,00 м3;6,0x8,5
= [3,14 * (6,0 - 0,15) 2 * 8,5] / 4 = 228,00 м3
. Определяем производительность мельниц по руде по формуле:
м = (q * V) / (bк - bи) (2.9) [1]4,5x6,0
= (0,90 * 89,1) / (0,55 - 0,07) = 150,30 т/ч;5,5x6,5 = (0,90 *
146,00) / (0,55 - 0,07) = 273,75 т/ч;6,0x8,5 = (0,82 * 228,00) /
(0,55 - 0,07) = 389,50 т/ч
. Определяем расчетное количество мельниц по формуле
N = Qисх / Qм (3.0) [1]4,5x6,0
= 1225,00/150,30 = 8 шт.;
N5,5x6,5 = 1225,00/273,75 = 5 шт.;6,0x8,5
= 1225,00/389,50 = 4 шт
Сравнение проектируемых мельниц и результаты расчетов
приведены в таблице 9.
Таблица 9. - Результаты расчетов проектируемых мельниц
|
Размеры бара
банов м-ц, D´L, мм
|
Количество
|
Масса м-ц, т
|
Установленная
мощность, кВт
|
|
|
Одной
|
Всех
|
Одной
|
Всех
|
|
МШЦ 5500´6500
|
8
|
320
|
2880
|
4000
|
32000
|
|
МШЦ 4500´6000
|
5
|
276
|
1380
|
2500
|
12500
|
|
МШЦ 6000´8500
|
4
|
|
|
7500
|
30000
|
Следует установить 5 мельниц типа МШЦ 4500´6000 мм. При установке
будет большая экономия в объеме здания и на всем вспомогательном оборудовании.
Технические характеристики мельницы МШЦ 4500
6000 приведены в таблице 10.
Таблица 10. - Технические характеристики мельницы МШЦ 4500
6000
|
Длина барабана,
мм
|
4500
|
|
Диаметр
барабана, м
|
6000
|
|
Рабочий объем
барабана, м3
|
85
|
|
Частота вращения
барабана, мин-1
|
74,2% от критической
|
|
Мощность
электродвигателя, кВт
|
2500
|
2.4.2 Выбор и
расчет оборудования для классификации
В практике работы фабрик для классификации продуктов
применяют классификаторы и гидроциклоны. Но в связи с тем, что гидроциклоны по
сравнению с классификаторами имеют следующие преимущества: дают возможность
получения более плотных сливов, обеспечивают меньшую влажность песков, более
высокую эффективность классификации; они более компактны, следовательно,
требуют меньше площадей под их установку, более просты в обслуживании, не имеют
вращающихся и движущихся частей; гидроциклоны не требуют расхода
электроэнергии. Исходя из этого, к установке принимаем гидроциклоны. Выбор
гидроциклонов осуществляется путем сравнения.
) для операции II
Определяем максимальный диаметр гидроциклонов при отношении Δ/d = 0,5:
а) H = 0,5 кГ/см2
Dм = 0,38 dм2 * (Δ/d) 2 * (ρ - ρ0) √H / βи (3.1) [1]
dм - крупность максимальных зерен в сливе
гидроциклона, мк;
Δ - диаметр отверстия
пескового насадка, см;
d - диаметр отверстия шламового насадка, см;
Δ/d - от 0,5 до 0,6;
ρ - плотность
классифицируемого матариала, г/см3;
ρ0 - плотность жидкой фазы (ρ0 = 1 г/см3);
H - давление пульпы на входе в гидроциклон, кГ/ см2;
βи - содержание твердого в
исходном питании, %
Dм = 0,38*1502*0,52* (3,2 - 1)
√0,5/75 = 44 см; (3.2) [1]
б) для H = 1 кГ/см2
Dм = 44 √1,0/0,5 = 62 см;
в) для H = 1,5 кГ/см2
Dм = 44 √1,5/0,5 = 76 см;
Ближайшие меньшие размеры диаметров типовых гидроциклонов
будут 500, 750, 1000мм.
. Определяем производительность гидроциклонов по формуле:
V = 5 * (0,08 D + 2) / 0,1 D + 1 * Kα * dп * d * (g * H) 1/2 (3.3) [1]
V - производительность по исходному питанию, л/мин;
D - диаметр гидроциклона, см;
Kα - поправка на угол
конусности гидроциклона (α = 200, град, Kα= 1)
dп - диаметр отверстия питающего насадка, см;
d - диаметр отверстия шламового насадка, см;
g - ускорение силы тяжести (g = 9,81 м/сек2);
Н - давление пульпы на входе в гидроциклон, кГ/см2
а) для гидроциклона D = 500 мм, α = 200
V = 5 * (0,08*50 + 2) /0,1 * 50 + 1* 1 * 7,2 * 11 √9,81
* 0,5 = 876 л/мин;
б) для гидроциклона D = 750 мм, α = 200
V = 5 * (0,08*75+ 2) /0,1 * 75 + 1* 1 * 16,5 * 20 √9,81
* 1 = 4880 л/мин;
в) для гидроциклона D = 1000 мм, α = 200
V = 5 * (0,08*100+ 2) /0,1 * 100 + 1* 1 * 25* 30√9,81 *
1,5 = 13300 л/мин;
Значения dn и dm приняты средние из пределов, указанных в
приложении 16 [1]
. Определяем потребное число гидроциклонов
Минутный дебит пульпы
VМ = Q * (R + 1/d) / 1440 = 3598,43 * (0,66 + 1/3,2) / 1440 = 2,43
м3/мин = 2430 л/мин (3.4) [1]
Число гидроциклонов:
ГЦ-500 na= VM / Va = 2430 л/мин / 876 л/мин
= 2,77 ≈ 3 к установке
ГЦ-750 na= VM / Va = 2430 л/мин / 4880 л/мин
= 0,49 ≈ 2 к установке
. Проверяем гидроциклоны на удельную нагрузку по пескам.
В соответствии с принятым Δ/dм = 0,5 расчетные
диаметры отверстий песковых насадков будут:
для ГЦ-500 Δ = 0,5 * 11 = 5,5 см;
для ГЦ-750 Δ = 0,5 * 20 = 10 см.
Удельные нагрузки по пескам
Для ГЦ-500 g = 4 * Q / 24 * na * Δ2 * π = 4 * 3675,00/24 * 4 *
3,14 * 5,52 = 1,61 т/см2*ч
Для ГЦ-750 g = 4 * Q / 24 * na * Δ2 * π = 4 * 3675,00/24 * 2 *
3,14 * 102 = 0,97 т/см2*ч
К установке принимаем 2 гидроциклона ГЦ-750 рабочих и 2 в
резерв.
) для операции VIII
Определяем максимальный диаметр гидроциклонов при отношении Δ/d = 0,5:
а) H = 0,5 кГ/см2
Dм = 0,38 dм2 * (Δ/d) 2 * (ρ - ρ0) √H / βи
dм - крупность максимальных зерен в сливе
гидроциклона, мк;
Δ - диаметр отверстия
пескового насадка, см;
d - диаметр отверстия шламового насадка, см; Δ/d - от 0,5 до 0,6;
ρ - плотность
классифицируемого матариала, г/см3;
ρ0 - плотность жидкой фазы (ρ0 = 1 г/см3);
H - давление пульпы на входе в гидроциклон, кГ/ см2;
βи - содержание твердого в
исходном питании, %
Dм = 0,38*1502*0,52* (3,2 - 1)
√0,5/75 = 44 см;
б) для H = 1 кГ/см2
Dм = 44 √1,0/0,5 = 62 см;
в) для H = 1,5 кГ/см2
Dм = 44 √1,5/0,5 = 76 см;
Ближайшие меньшие размеры диаметров типовых гидроциклонов
будут 500, 750, 1000 мм.
. Определяем производительность гидроциклонов по формуле:
V = 5 * (0,08 D + 2) / 0,1 D + 1 * Kα * dп * d * (g * H) 1/2
V - производительность по исходному питанию, л/мин;
D - диаметр гидроциклона, см;
Kα - поправка на угол
конусности гидроциклона (α = 200, град, Kα= 1)
dп - диаметр отверстия питающего насадка, см;
d - диаметр отверстия шламового насадка, см;
g - ускорение силы тяжести (g = 9,81 м/сек2);
Н - давление пульпы на входе в гидроциклон, кГ/см2
а) для гидроциклона D = 500 мм, α = 200
V = 5 * (0,08*50 + 2) /0,1 * 50 + 1* 1 * 7,2 * 11 √9,81
* 0,5 = 876 л/мин;
б) для гидроциклона
D = 750 мм, α = 200
V = 5 * (0,08*75+ 2) /0,1 * 75 + 1* 1 * 16,5 * 20 √9,81
* 1 = 4880 л/мин;
в) для гидроциклона D = 1000 мм, α = 200
V = 5 * (0,08*100+ 2) /0,1 * 100 + 1* 1 * 25* 30√9,81 *
1,5 = 13300 л/мин;
Значения dn и dm приняты средние из пределов, указанных в
приложении 16 [1]
. Определяем потребное число гидроциклонов
Минутный дебит пульпы
VМ = Q * (R + 1/d) / 1440 = 602,88 * (1,40+ 1/3,2) / 1440 = 0,71 м3/мин
= 710 л/мин
Число гидроциклонов:
ГЦ-500 na= VM / Va = 710 л/мин / 876 л/мин =
0,81 ≈ 2 к установке
ГЦ-750 na= VM / Va = 710 л/мин / 4880 л/мин
= 0,14 ≈ 1 к установке
. Проверяем гидроциклоны на удельную нагрузку по пескам.
В соответствии с принятым Δ/dм = 0,5 расчетные
диаметры отверстий песковых насадков будут:
для ГЦ-500 Δ = 0,5 * 11 = 5,5 см;
для ГЦ-750 Δ = 0,5 * 20 = 10 см.
Удельные нагрузки по пескам
Для ГЦ-500 g = 4 * Q / 24 * na * Δ2 * π = 4 * 374,60/24 * 1 *
3,14 * 5,52 = 0,65 т/см2*ч
Для ГЦ-750 g = 4 * Q / 24 * na * Δ2 * π = 4 * 374,60/24 * 1 *
3,14 * 102 = 0,19 т/см2*ч
К установке принимаем 2 гидроциклон ГЦ-500 и 2 в резерв.
Технические характеристики гидроциклонов ГЦ-500 и ГЦ-750
приведены в таблице 11.
Таблица 11. - Технические характеристики гидроциклонов ГЦ-500
и ГЦ-750
|
Технические
характеристики
|
ГЦ-500
|
ГЦ-750
|
|
Диаметр D, мм
|
500
|
750
|
|
Угол конуса α, градус
|
20
|
20
|
|
Диаметры
отверстий, мм Питающего Шламового пескового
|
60; 85 110 24;
34; 75
|
155; 175 150; 200; 250 50; 75; 100
|
|
Производительность
по питанию, м3/ч
|
60-170
|
-
|
2.4.3 Выбор и
расчёт оборудования для флотации
При выборе машин для оснащения обогатительных фабрик исходят
главным образом из свойств руды, возможности получения максимальных
технологических показателей, минимальных энергетических затрат, простоты
регулирования и эксплуатации.
В нашем случае, для флотационного обогащения выбираем финские
флотационные машины ОК-38 с объемом флотокамер vk = 38 м3.
Необходимое число камер флотационной машины подсчитываем
отдельно для каждой
операции по формуле
n = v* N * t / 60* vk*
k = Q * (R + 1/σ) * t / 60* vk,
где (3.4) [1]
n - требуемое для операции число камер;
v - часовой объем флотируемой пульпы, м3/ч;
t - продолжительность флотации в рассматриваемой операции,
мин;
vk - геометрический объем камеры, м3;
k - отношение объема пульпы в камере при работе флотационной
машины к геометрическому объему камеры (0,7-0,8);
N - количество мельниц;
Q - часовая производительность машины по твердому, т/час;
σ - плотность твердой
фазы, т/м3;
R - отношение Ж: Т (весовое) в пульпе
Основная флотация:
n = 3725,65/5 * 4,5/60* 0,75* 38 = 1,96 » 3 камеры
Контрольная флотация:
n = 2583,62/5 * 5,6/60* 0,75* 38= 1,69 » 2 камеры
перечистка:
n = 1641,68/5 * 6,8/60* 0,75* 38= 1,30 » 2 камеры
перечистка:
n= 1426,68/5 * 7/60* 0,75* 38= 1,16 » 2 камеры
перечистка:
n= 1138,65/5 * 8,5/60* 0,75* 38= 1,13 » 2 камеры
Технические характеристики флотомашины ОК-38 приведены в
таблице 12.
Таблица 12. - Технические характеристики флотомашины ОК-38
|
Технические
характеристики
|
ОК-38
|
|
Объем камеры, м3
|
38
|
|
Размеры камеры,
мм
|
длина-3600;
ширина-3600; глубина-2900
|
|
Диаметры
ротора, мм
|
900
|
|
Высота ротора,
мм
|
550
|
|
Скорость
ращения ротора, об/мин
|
150
|
|
Расход воздуха,
м3 /мин
|
16-20
|
|
Давление
воздуха, мПа
|
0,035
|
|
Мощность
электродвигателя, кВт
|
55
|
2.5
Реагентный режим
На АНОФ-3 в качестве собирательной смеси для флотации апатита
применяется омыленная смесь таловых масел. В последние годы в состав
собирателей смеси включен также реагент АБСК. Его применение позволяет
исключить из состава собирательной смеси гудроны, жирные кислоты и даёт
возможность получения качественного АК без применения дорогостоящего ОП-4. Для
омыления масел, входящих в состав собирательной смеси, в растворе поддерживают
избыточную щелочность в пределах 15 - 20%, для чего подаётся
каустическая сода. В связи с ухудшением минералогического состава руд и поступлением
окисленных руд наметилась тенденция к увеличению содержания в воде
обогатительных фабрик концентрации катионов кальция. Это может быть
скомпенсировано добавками в процесс измельчения карбоната натрия
(кальцинированной соды). При этом в лабораторных условиях в зависимости от типа
руды удалось снизить расход собирателя на 7 - 17% и увеличить извлечение Р2О5 в
концентрат на 1 - 3%. Кроме того снижается расход жидкого стекла до 100 г/т
руды.
В качестве депрессора алюмосиликатов и других сопутствующих
апатиту минералов применяется жидкое стекло. Кроме того, этот реагент является
также диспергатором, препятствующим образованию полиминеральных агрегатов, что
имеет большое значение при обогащении руд, характеризуемых высоким содержанием
шламов.
Для разрушения пены и улучшения коагуляции апатитовых зерен в
процесс сгущения в концентратные зумпфы подается 12 - 15% раствор железного
купороса или алюмосиликатный коагулянт (АСК), содержащий 1 - 1,2% Al2O3.
Удельный расход реагентов, кг/т руды на АНОФ-3:
Дистиллированное таловое масло - 0,036
Сырое таловое масло (лиственное) - 0,022
Сырое таловое масло (хвойное) - 0,016
АБСК - 0,005
Общий расход с/смеси - 0,079
Жидкое стекло - 0,150
Сода каустическая - 0,125 кг/т к-та
Железный купорос - 2,0 кг/т к-та
Планируемый расход реагентов, кг/т руды:
Дистиллированное таловое масло - 0,029
Сырое таловое масло (лиственное) - 0,019
Сырое таловое масло (хвойное) - 0,012
АБСК - 0,004
Общий расход с/смеси - 0,064
Жидкое стекло - 0,100
Na2CO3 - 0.5
Сода каустическая - 0,110 кг/т к-та
Железный купорос -2,0 кг/т к-та
Собирательная смесь подаётся на флотацию. Точки подачи: ЦПД
перед основной флотацией; контрольная флотация; I и II перечистки.
3.
Экономическая часть
3.1
Определение экономических показателей работы проектируемого цеха
|
Типо- размер
|
Количество
камер в одной секции
|
Общее
количество камер
|
Установленная
мощность, кВт
|
|
|
|
Одной
|
Всех
|
|
ОК-38
|
3
|
15
|
55
|
825
|
|
ОК-38
|
2
|
10
|
55
|
550
|
|
ОК-38
|
2
|
10
|
55
|
550
|
|
ОК-38
|
2
|
10
|
55
|
550
|
|
ОК-38
|
2
|
10
|
55
|
550
|
|
МЩЦ 4500*6000
|
5
|
5
|
2500
|
12500
|
|
ИТОГО:
|
-
|
-
|
15525
|
|
Удельный расход
на 1 т. руды э/энергии, кВт/т
|
13,00
|
|
Удельный расход
на 1 т. руды свежей воды, м3/т
|
2,00
|
Заключение
Проектирование обогатительной фабрики - это комплекс
мероприятий, завершающих перевод полезного ископаемого из категории
потенциальной ценности в реальную - товарную продукцию. При этом от
правильности принятых решений зависят объем капитальных вложений в
строительство будущей фабрики, доля активных фондов и эксплуатационные расходы
при последующей работе. То есть технико-экономические показатели проекта
предприятия к моменту ввода его в эксплуатацию должны быть на уровне или
превосходить существующее предприятие по экономическим, технологическим
экологическим и другим параметрам.
В данном курсовом проекте произведен расчет качественно-количественной
и водно-шламовой схем, а так же выбрано и рассчитано основное оборудование для
измельчения и обогащения апатит-нефелиновых руд Кировской группы месторождений.
Годовая производительность по руде 10 млн. тонн. За основу
были взяты действующие фабрики и АНОФ - 3. По сравнению с действующей фабрикой
были внесены следующие изменения: изменён реагентный режим с подачей в процесс
флотации Na2CO3, что позволило уменьшить расход дорогостоящих таловых масел и
жидкого стекла.
Список
использованной литературы
1.
Разумов К.А. Проектирование обогатительных фабрик. - М.: изд-во
"Недра", 1970, 592с.
.
Абрамов А.А. Флотационные методы обогащения. Учебник для вузов. - М.: изд-во
"Недра", 1984, 383с.
.
Белоглазов И.Н. Методы расчета обогатительно-гидрометаллургических аппаратов и
комбинированных схем. / Белоглазов И.Н., Тихонов О.Н., Хайдов В.Х. - М.: изд-во
"Металлургия", 1995, 300 стр.
.
Голованов Г.А. Флотация Кольских апатит содержащих руд. - М., Химия, 1976 г
.
Разумов К.А. Флотационные методы обогащения, - изд-во "ЛГИ", 1975,
272 стр.
.
Справочник - пособие. Расчеты на ЭВМ. - М.: изд-во "Недра", 1991, 193
стр.
.
Абрамов А.А. Переработка, обогащение и комплексное использование твёрдых
полезных ископаемых т 1,2-М, МГГУ, 2004
.
Разумов К.А., Перов В.А., Проектирование обогатительных фабрик: учебник для
вузов.
М.,
Недра, 1972.518 стр.
.
Справочник по проектированию рудных обогатительных фабрик/ В.Ф. Баранов и
др.М., Недра, 1988. Кн.1.374 стр.
.
Справочник по проектированию рудных обогатительных фабрик/ В.Ф. Баранов и
др.М., Недра, 1988. Кн.2.341 с.
.
Справочник по обогащению руд. В 3-х томах. Т1,2.М., Недра, 1985.448 стр.
.
Справочник по обогащению руд. В 3-х томах. Т1,2.М., Недра, 1974.408с.
.
Технологический регламент АНОФ-3.