Процесс фильтрования газовых систем

  • Вид работы:
    Курсовая работа (т)
  • Предмет:
    Другое
  • Язык:
    Русский
    ,
    Формат файла:
    MS Word
    518,19 Кб
  • Опубликовано:
    2013-01-29
Вы можете узнать стоимость помощи в написании студенческой работы.
Помощь в написании работы, которую точно примут!

Процесс фильтрования газовых систем

Министерство образования и науки РФ

Федеральное государственное бюджетное образовательное учреждение

высшего профессионального образования

Уфимский государственный нефтяной технический университет

Кафедра автоматизации технологических процессов и производств







Пояснительная записка к курсовому проекту

на тему "Процесс фильтрования газовых систем"

по курсу "Системы управления химико-технологическими процессами"



Выполнил: ст. гр. ТБ-08-01

Даутова Д.Д.

Проверил: профессор Ахмадеев М.Г.




Уфа 2012

Содержание

 

Введение

1. Общие сведения о процессе

2. Описание схемы процесса фильтрования газовых систем

3. Анализ технологического процесса как объекта управления и выбор параметров регулирования, контроля, сигнализации и противоаварийной защиты

3.1 Выбор регулируемых параметров

3.2 Выбор контролируемых параметров

3.3 Выбор сигнализируемых параметров

3.4 Выбор параметров защиты и блокировки

4. Выбор и обоснование средств контроля и регулирования

5. Выбор технических средств автоматизации

5.1 Выбор датчиков давления

5.2 Выбор датчиков расхода

5.3 Выбор датчиков температуры

5.4 Исполнительные устройства

5.5 Контроллер YS1700

5.6 Выбор преобразователей

6. Описание систем контроля, регулирования, сигнализации

6.1 Контроль расхода

6.2 Контроль и регулирование перепада давления в камерах

6.3 Контроль и регулирования давления газа, поступающего на продувку

6.3 Контроль температуры

7. Спецификация на средства автоматизации

Заключение

Список использованных источников

Введение

Наука об автоматических системах управления химико-технологическими процессами изучает законы их построения и действия, методы исследования и настройки.

Технический уровень химической промышленности на современном этапе ее развития во многом определяется уровнем управления. Без наличия необходимых средств автоматической диагностики химико-технологического процесса и автоматического управления им в принципе невозможен технический прогресс в химической промышленности. Современное химическое или нефтехимическое производство является высокоавтоматизированным производством. Автоматическое управление химическим производством позволяет значительно увеличить производительность труда и, что имеет особое значение для химической промышленности, повышает социальную эффективность труда, т.е. облегчает труд обслуживающего персонала, улучшаются санитарно-гигиенические условия их работы, повышается культурный и профессиональный уровень специалистов. Автоматическое управление химическим производством позволяет не только улучшить качество производимой продукции, снижая ее себестоимость, но и уменьшить отрицательное воздействие химического предприятия на окружающую среду.

Таким образом, понятия технический прогресс и уровень автоматического управления в химической промышленности неотделимы.

Возможности автоматического управления в химической технологии:

автоматический пуск и останов химического производства;

автоматический контроль технологических параметров;

автоматическое прогнозирование ведения технологического процесса;

поддержание заданных (оптимальных) технологических режимов;

повышение качества производимой продукции;

фильтрование газовая система автоматизация

повышение производительности технологического оборудования и увеличение объемов производимой продукции;

снижение затрат сырья, материалов и энергии на производство единицы продукции;

безопасное ведение химико-технологического процесса (уменьшение вероятности нарушения технологического режима, приводящее к нанесению вреда обслуживающему персоналу, оборудованию, окружающей среде);

увеличение надежности химико-технологических процессов и в целом химико-технологической системы (сокращение простоев оборудования из-за неполадок и увеличение межремонтных сроков работы технологического оборудования);

предупреждение загрязнения окружающей среды промышленными отходами и стоками [2, с. 20].

1. Общие сведения о процессе


Очистка газов путем фильтрации заключается в пропускании газа, содержащего взвешенные частицы, через пористые перегородки, обладающие свойством пропускать частицы газа и задерживать на своей поверхности твердые частица, взвешенные в нем. Наиболее широко для фильтрации газовых систем применяются тканевые фильтры, изготавливаемые в виде рукавных фильтров, степень очистки газа в которых при правильной эксплуатации достигает 98-99%. В таких фильтрах нижние открытые концы мешков закреплены в трубной решетке, а верхние - на раме, которая может встряхиваться (рис. 1). Газ входит под трубную решетку и фильтруется, проходя через ткань мешков наружу.

I - IV - секции фильтра; 1 - выхлопные трубы; 2, 10 - дроссельные клапаны; 3, 4 - вентиляторы; 5 - камеры; 6 - шлюзовый затвор; 7 - шнек; 8 - распределительная решетка; 9 - рукав; 11 - встряхивающий механизм; 12 - рама; 13 входной газоход.

Рисунок 1 - Рукавный фильтр с механическим вытряхиванием и обратной продувкой ткани

Современные рукавные фильтры выполняют многосекционными, с автоматическим механическим встряхиванием и продувкой ткани. Фильтры работают с нагнетанием или всасыванием газа. В фильтре запыленный газ нагнетается вентилятором 4 через входной газоход 13 в камеру 5 под распределительную решетку 8, откуда он проходит через рукава 9, нижние концы которых закреплены хомутами на патрубках решетки. Пыль осаждается в порах ткани, а очищенные газы через дроссельный клапан 10 и выхлопную трубу 1 уходят в атмосферу.

При помощи распределительного механизма, установленного на крышке камеры, отдельные секции фильтра через определенные промежутки времени отключаются для очистки ткани от накопившейся пыли. На рис.1 справа показан момент, когда работаю три секции фильтра (I, III и IV), а секция II очищается от пыли.

При переключении секции на очистку закрывают клапан 10 и открывают клапан 2, через который вентилятором 3 по коллектору нагнетается воздух или очищенный газ для продувки рукавов. Этот воздух (или газ) движется в направлении, обратном движению запыленных газов, и уходит в газоход 13; поэтому вентилятор должен создавать больший напор, чем вентилятор 4.

Одновременно с продувкой производят механическое встряхивание рукавов; для этой цели специальным механизмом 11 приподнимают и опускают раму 12, к которой подвешены на заглушке верхние концы рукавов. Пыль попадает в камеру 5 и выгружается шнеком 7 через шлюзовый затвор 6.

После окончания очистки секция переключается в рабочее положение, а следующая секция - на очистку.

Цикл работы каждой секции включает, таким образом, очистку газа (обычно 5-8 мин) и очистку рукавов от пыли (20-30 сек).

Для преодоления сопротивления ткани, дросселей и выхлопной трубы при прохождении пыли требуется давление 60-120 мм вод. ст.

В фильтрах со всасыванием газа применяется хвостовой вентилятор, устанавливаемый за фильтром; необходимое разрежение равно 100-200 мм вод. ст. В этих фильтрах продувку можно производить без специального вентилятора, а за счет разрежения в бункере фильтра (не менее 30 мм вод. ст.).

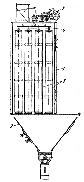
Однако в аппарате с таким рабочим разрежением трудно осуществить уплотнение люков фильтра, поэтому всасывающие фильтры применяют только в установках малой производительности. Общий вид (боковой разрез) рукавного фильтра с нагнетанием газа изображен на рис. 2.

- корпус; 2 - коническое днище; 3 - рукава; 4 - рама подвеса рукавов; 5 - встряхивающий механизм.

Рисунок 2 - Рукавный фильтр

Для улавливания пыли применяют рукава из бумажной и шерстяной ткани.

Для бумажных тканей допустимая температура не превышает 60-65ºС, а для шерстяных 80-90ºС; в кислых газовых средах бумажные ткани разрушаются.

Нельзя очищать в рукавных фильтрах газы при температурах, лежащих ниже температуры конденсации содержащихся в газе водяных паров, так как при этом ткань увлажняется и замазывается вследствие чего ее сопротивление возрастает и превышает допустимые пределы [3, с.185].

2. Описание схемы процесса фильтрования газовых систем


Исходные данные:

Fг = 60 ± 0,8 м3/ч;

Dу = 80 мм;

ΔP = 2500 Па;

P1 = 0,15 ± 0,008 МПа;

T1 = 60 ± 3ºС;

P2 = 0,1 ± 0,008 МПа;

Р3 = 0,5 ± 0,1 МПа.

- корпус фильтра; 2 - рукава; 3 - сопла импульсной продувки; 4 - шнек.

Рисунок 3 - Схема автоматизации процесса фильтрования газовых систем

Объектом управления является рукавный фильтр с импульсной продувкой (рис.3), установленный для полной очистки газа от вредных веществ, являющихся ценным продуктом. Поэтому показателем эффективности процесса будем считать концентрацию твердого вещества в газе на выходе из фильтра, а целью управления - поддержание его на заданном значении.

Процесс фильтрования газовых систем во многом аналогичен процессу фильтрования жидких систем. В частности, аналогичны возмущающие факторы и возможности их ликвидации. В рукавные фильтры дополнительно могут поступать возмущения по каналу сжатого воздуха, подаваемого в сопла для регенерации.

3. Анализ технологического процесса как объекта управления и выбор параметров регулирования, контроля, сигнализации и противоаварийной защиты


Определенные сложности при автоматизации рукавных фильтров создает отсутствие в настоящее время надежных концентратомеров пыли. В связи с этим регулируют перепад давления ΔР в камерах загрязненного и очищенного газа, который наиболее полно отражает ход процесса. Регулировать перепад давления ΔР можно изменением массы пыли, осевшей на фильтровальной ткани. Это осуществляется следующим образом: при достижении максимального перепада позиционный регулятор выдает сигнал на электромагнитные клапаны, установленные на магистрали сжатого воздуха. Клапаны открываются, импульсы сжатого воздуха через сопла поступают в рукава и деформируют ткань, сбивая при этом пыль. Регенерация ткани происходит до достижения минимального перепада давления.

Качественная регенерация ткани рукавов будет достигаться только при определенном значении давления сжатого воздуха, подаваемого на продувку. Для стабилизации этого давления устанавливают регулятор.

Контролю и сигнализации подлежат следующие параметры: температура загрязненного газа (фильтровальная ткань рассчитана только на определенные температуры), давление сжатого воздуха, перепад давления. При критических значениях давления сжатого воздуха и перепада давления (превышение критического значения перепада приводит к разрыву ткани) срабатывает устройство защиты, отключающее рабочий фильтр и включающее резервный. Также контролю подлежит расход газового потока.

3.1 Выбор регулируемых параметров


Как регулируемые параметры выбираем:

перепад давления ΔР в камерах загрязненного и очищенного газа;

давление сжатого воздуха;

температуру загрязненного газа.

3.2 Выбор контролируемых параметров


В качестве контролируемых параметров выбираем расход загрязненного газа.

3.3 Выбор сигнализируемых параметров


В качестве сигнализируемых параметров выбираем:

температуру загрязненного газа;

перепад давления в камерах;

давление очищенного газа и сжатого воздуха.

Данные параметры выбираются как сигнализируемые, поскольку отклонение от их требуемого значения приведет к нарушению режима в последующих аппаратах и возникновению аварийных ситуаций.

3.4 Выбор параметров защиты и блокировки


В схеме предусмотрена защита и блокировка при резком падении расхода продукта на входе в трубу, так как это может послужить причиной выхода из строя объекта управления, а устройство защиты в этом случае перекрывает линию подачи газа или жидкости на очистку.

4. Выбор и обоснование средств контроля и регулирования


При выборе приборов контроля и регулирования руководствуются следующими положениями:

приборы должны обеспечивать необходимую точность измерения, быть достаточно чувствительными и надежными в работе;

показывающие приборы должны иметь наглядную шкалу и указатель. Самопишущие приборы должны регулировать показания в виде четкой, хорошо различимой кривой;

местные приборы должны иметь место расположения, легко доступное для наблюдения за показаниями;

погрешность не должна выходить за допускаемые пределы при изменении внешних условий окружающей;

защитные трубки ртутных термометров и термопреобразователей должны быть достаточно прочными, рассчитанными на данные условия работы;

диафрагмы и дифманометры должны иметь камеры, фланцы которых также рассчитаны на данные условия;

к измерительным и регулирующим приборам должны предъявляться требования по взрыво- и пожароопасности.

При выборе приборов контроля и регулирования должны учитываться свойства объектов регулирования и технологических потоков, чтобы системы регулирования были устойчивыми, и процесс регулирования протекал качественно, без больших отклонений регулируемой величины от заданного значения.

5. Выбор технических средств автоматизации


5.1 Выбор датчиков давления


1)      P1 = 0,15 ± 0,008 МПа; Dу = 80 мм; T1 = 60 ± 3ºС; среда агрессивная.

Поскольку среда агрессивная, выбираем коррозионно-стойкий датчик давления Метран-49 для измерения избыточного давления (Метран-49-ДИ) [4, с.59].

Предел измерения определяем по правилу 2/3 шкалы.

Значение верхнего предела измерения составляет:

Pв ≈ 0,15·3/2 = 0,225 МПа.

С учетом верхнего предела измерения выбираем модель Метран-49-ДИ-9150 (Рв = 0,25 МПа) [4, с.60, табл.1].

Из табл.4 [4, с.60] выбираем код исполнения МП1 с выходным сигналом 4-20 mA. Таким образом, давлению 0 МПа будет соответствовать сигнал на выходе преобразователя 4 mA, а давлению 0,25 МПа - ток 20 mA.

Оценим относительную погрешность измерения δ.

Для заданной абсолютной погрешности измерения ΔР = ±0,008 МПа и верхнего предела измерения Рв = 0,25 МПа находим относительную погрешность:

δ = 0,008/0,25·100 = 3,2 %.

Оценку и выбор максимальной приведенной допускаемой погрешности γ (класса точности) выбранного преобразователя Метран-49-ДИ-9150 производим по табл.5 [4, с.61].

Для выбранного верхнего предела измерения Рв = 0,25 МПа и для максимального верхнего предела Pmax = 2,5 МПа для модели 9150 [4, с.60, табл.1] проверяем выполнение условия [4, с.61, табл.5]:

Pmax/6 ≥ Рв ≥ Pmax/10.

Подставляя значения Pmax и Рв, можем убедиться, что условие выполняется:

,416 ≥ 0,25 ≥ 0,25.

Выбираем преобразователь с кодом 015, что соответствует γ = 0,25% и меньше δ = 3,2 %.

Важным параметром является температура измеряемой среды. Отклонение температуры от рабочих значений приводит к дополнительной погрешности измерений.

Температура измеряемой среды не должна превышать допускаемой температуры окружающего воздуха, но не превышать 60ºС и зависит от климатического исполнения датчика. Для наших районов выбираем исполнение У2.

В данном случае T1 = 60 ± 3ºС, поправка не требуется.

Таким образом, выбран датчик Метран-49-ДИ-9150, учитывая, что он измеряет избыточное давление в требуемом диапазоне, вырабатывает унифицированный выходной сигнал 4-20 mA, и коррозионноустойчив в условиях агрессивной среды.

2)      P2 = 0,1 ± 0,008 МПа, среда агрессивная.

Поскольку среда агрессивная, выбираем коррозионностойкий датчик давления Метран-49 для измерения избыточного давления (Метран-49-ДИ) [4, с.59].

Предел измерения определяем по правилу 2/3 шкалы.

Значение верхнего предела измерения составляет:

Pв ≈ 0,1·3/2 = 0,15 МПа.

С учетом верхнего предела измерения выбираем модель Метран-49-ДИ-9150 (Рв = 0,16 МПа) [4, с.60, табл.1]. Из табл.4 [4, с.60] выбираем код исполнения МП1 с выходным сигналом 4-20 mA. Таким образом, давлению 0 МПа будет соответствовать сигнал на выходе преобразователя 4 mA, а давлению 0,16 МПа - ток 20 mA. Оценим относительную погрешность измерения δ.

Для заданной абсолютной погрешности измерения ΔР = ±0,008 МПа и верхнего предела измерения Рв = 0,16 МПа находим относительную погрешность:

δ = 0,008/0,16·100 = 5 %.

Оценку и выбор максимальной приведенной допускаемой погрешности γ (класса точности) выбранного преобразователя Метран-49-ДИ-9150 производим по табл.5 [4, с.61].

Для выбранного верхнего предела измерения Рв = 0,16 МПа и для максимального верхнего предела Pmax = 2,5 МПа для модели 9150 [4, с.60, табл.1] проверяем выполнение условия [4, с.61, табл.5]:

Pmax/10 ≥ Рв ≥ Pmax/25.


,25 ≥ 0,16 ≥ 0,1.

Выбираем преобразователь с кодом 015, что соответствует γ = 0,45 % и меньше δ = 5 %.

Важным параметром является температура измеряемой среды. Отклонение температуры от рабочих значений приводит к дополнительной погрешности измерений. Температура измеряемой среды не должна превышать допускаемой температуры окружающего воздуха, но не превышать 60ºС и зависит от климатического исполнения датчика. Для наших районов выбираем исполнение У2.

В данном случае T1 = 60 ± 3ºС, поправка не требуется.

Таким образом, выбран датчик Метран-49-ДИ-9150, учитывая, что он измеряет избыточное давление в требуемом диапазоне, вырабатывает унифицированный выходной сигнал 4-20 mA, и коррозионноустойчив в условиях агрессивной среды (рис.4).

3)      P3 = 0,5 ± 0,1 МПа, среда агрессивная.

Поскольку среда агрессивная, выбираем коррозионностойкий датчик давления Метран-49 для измерения избыточного давления (Метран-49-ДИ) [4, с.59].

Предел измерения определяем по правилу 2/3 шкалы.

Значение верхнего предела измерения составляет:

Pв ≈ 0,5·3/2 = 0,75 МПа.

С учетом верхнего предела измерения выбираем модель Метран-49-ДИ-9150 (Рв = 1 МПа) [4, с.60, табл.1].

Из табл.4 [4, с.60] выбираем код исполнения МП1 с выходным сигналом 4-20 mA. Таким образом, давлению 0 МПа будет соответствовать сигнал на выходе преобразователя 4 mA, а давлению 1 МПа - ток 20 mA.

Оценим относительную погрешность измерения δ.

Для заданной абсолютной погрешности измерения ΔР = ±0,1 МПа и верхнего предела измерения Рв = 1 МПа находим относительную погрешность:

δ = 0,1/1·100 = 10 %.

Оценку и выбор максимальной приведенной допускаемой погрешности γ (класса точности) выбранного преобразователя Метран-49-ДИ-9150 производим по табл.5 [4, с.61].

Для выбранного верхнего предела измерения Рв = 1 МПа и для максимального верхнего предела Pmax = 2,5 МПа для модели 9150 [4, с.60, табл.1] проверяем выполнение условия [4, с.61, табл.5]:

Pmax ≥ Рв ≥ Pmax/10.

Подставляя значения Pmax и Рв, можем убедиться, что условие выполняется:

,5 ≥ 1 ≥ 0,25.

Выбираем преобразователь с кодом 015, что соответствует γ = 0,2% и меньше δ = 10 %.

Важным параметром является температура измеряемой среды. Отклонение температуры от рабочих значений приводит к дополнительной погрешности измерений. Температура измеряемой среды не должна превышать допускаемой температуры окружающего воздуха, но не превышать 60ºС и зависит от климатического исполнения датчика. Для наших районов выбираем исполнение У2.

В данном случае T1 = 60 ± 3ºС, поправка не требуется.

Таким образом, выбран датчик Метран-49-ДИ-9150, учитывая, что он измеряет избыточное давление в требуемом диапазоне, вырабатывает унифицированный выходной сигнал 4-20 mA, и коррозионноустойчив в условиях агрессивной среды (рис.4).

5.2 Выбор датчиков расхода


1)      Fг = 60 ± 0,8 м3/ч;

Dу = 80 мм;

ΔP = 2500 Па;

среда агрессивная;

T1 = 60 ± 3ºС.

Учитывая все параметры (диаметр трубопровода, характеристики измеряемой среды, номинальный расход, давление, температура) осуществляем выбор первичного преобразователя.

По каталогу Метран [4, с.256] выбираем первичный преобразователь - диафрагма камерная, устанавливаемая во фланцах трубопровода.

Номинальный расход по правилу 2/3 шкалы составит:

Fг = 80·3/2 = 120 м3/ч.

Допустимая погрешность при этом равна:

,8/120·100 = 0,67 %.

Перепад давления по правилу 2/3 шкалы составит:

ΔР = 2500·3/2 = 3750 Па = 0,00375 МПа < 0,6 МПа.

Температура газа T1 = 60 ± 3ºС.

Таким образом, выбираем диафрагму ДКС 0,6-80.

ДКС - диафрагма камерная стандартная, устанавливаемая во фланцах с применением промежуточных корпусов - кольцевых камер, на условное давление до 10 МПа. В состав диафрагм ДКС входят (рис.4):

плоский диск с отверстием в центре - 1;

камеры (плюсовая и минусовая) с патрубками - 2;

уплотнительная прокладка - 3.

Рисунок 4 - Состав диафрагм ДКС

Расход, как функция перепада давления измеряется измерительным преобразователем разности давления.

Его выбор осуществляем, учитывая все вышеописанные параметры. Перепад давления в данном случае с учетом правила 2/3 шкалы составляет 0,00375 МПа.

По каталогу Метран [4, с.60] выбираем датчик разности давлений Метран-49-ДД-9420, коррозионностойкий, выходной сигнал - 4-20 мА, допускаемая основная погрешность γ = ± 0,4 для всех моделей 9120. Код исполнения выбираем МП-1, климатическое исполнение - У2.

5.3 Выбор датчиков температуры


Среда агрессивная;

T1 = 60 ± 3ºС.

Выбираем первичный термопреобразователь сопротивления с унифицированным выходным сигналом ТСМУ Метран-274-Exd [8, с.117] с исполнением для агрессивных сред, пределы измерения от 0 до 150˚С, выходной сигнал 4-20 мА.

Оценим требуемую относительную погрешность измерения δ.

Для заданной абсолютной погрешности измерения ΔТ = ± 3˚С и согласно правилу 2/3 шкалы (Т = 60·3/2 = 90˚С) находим относительную погрешность:

δ% = 3/90·100 = 3,33 %.

Предел допускаемой основной приведенной погрешности составит 0,5%.

5.4 Исполнительные устройства


1) Клапаны малогабаритные регулирующие КМР являются новой серией кованых клапанов, предназначенных для автоматического регулирования расхода и перекрытия жидких и газообразных сред. Клапаны изготавливаются с условным проходом 10, 15, 20, 25, 32, 40, 50, 65, 80, 100, 125, 150, 200 м с условной пропускной способностью от 0,006 до 400 на условное давление 1,6, 2,5, 4,0, 6,3, 10,0 и 16,0 МПа.

Конструкции клапанов КМР, КМО, КМРО превосходят основные типы устаревших клапанов по ряду показателей:

точности и плавности регулирования;

отсутствию перепада давления на направляющей втулке;

повышенному значению допустимого перепада давления;

высокой устойчивостью к загрязненным средам;

антишумовым и антикавитационным характеристикам;

возможностью монтажа клапана в любом положении относительно вертикали;

устойчивостью к автоколебаниям;

плавному приращению расхода при начальных значениях хода штока клапана;

увеличенному ресурсу клапана;

расширенному диапазону регулирования.

Клеточно-плунжерные регулирующие клапаны КМР имеют широкий набор конструктивных исполнений дроссельных пар с расширенным рядом условных пропускных способностей клапанов, включая микрорасходы.

Клапаны используются как для нейтральных сред, так и для химически активных сред.

Клапаны КМР принципиально отличаются от классических клеточно-плунжерных клапанов устойчивостью к загрязненным средам. Отсутствие дросселирующих отверстий во втулке обеспечивает невозможность их засорения, а направляющая, выведенная из потока, обеспечивает высокую герметичность при хорошей соосности плунжера и седла клапана.

Для питания привода клапана необходимо давление не менее 2-2,5 атм. с учетом позиционера и потерь на фильтре-редукторе

Все комплектующие регулируются совместно с клапаном и поставляются установленными на клапан.

Технические характеристики клапанов КМР, КМО и КМРО представлены в таблице 1.

Таблица 1 - Технические характеристики клапанов КМР, КМО, КМРО

Условное давление Ру, МПа

1,6; 2,5; 4,0; 6,3; 10,0; 16,0

Условный проход, мм

10; 15; 20; 25; 32; 40; 50; 65; 80; 100; 125; 150; 200

Пропускная характеристика

равнопроцентная, линейная, расширенный диапазон регулирования

Диапазон температур регулируемой среды

-40/-60…225˚С; - 40/-60…450˚С; 40/-60…500/550/600/650˚С; 90/-200…225˚С

Диапазон температур окружающей среды

-40/-50/-60…70˚С

Исходные положения плунжера клапана

НО - нормально открытое; НЗ - нормально закрытое

Присоединительные размеры

фланцев по ГОСТ 12815-80 (ответные фланцы с шипом, исполнение №5 или другое по заказу), под приварку

Материал корпуса

Сталь 20, углеродистые низкотемпературные стали, 12Х18Н10Т, 10Х17Н13М2Т, специальные сплавы

Материал дроссельной

12Х18Н10Т, 10Х17Н13М2Т, специальные сплавы


) Преобразователь ток/давление РК200 может поставляться с переключателем режима работы "автоматический-ручной", позволяющий перевести преобразователь в режим ручного регулирования пневматического сигнала. Характеристики представлены в таблице 2.

Таблица 2 - Характеристики преобразователя ток/давление РК200

Входные сигналы

4…20 мА; 10…50 мА

Выходные сигналы

20…100 кПа; 40…200 кПа

Линейность

± 0,2 % шкалы

Гистерезис

± 0,2 % шкалы

Воспроизводимость

± 0,1 % шкалы

Регулировка нуля и шкалы: нуля

 ± 10 % диапазона

-шкалы

± 100…125 % диапазона

Потеря напряжения

6 В (max)

Давление подводимого воздуха: при входном сигнале

 20…100 кПа; 140 кПа

-при выходном сигнале

40…200 кПа; 240 кПа

Параметры окружающей среды: температура

 40…80˚С

 - влажность

5…100 %

Монтаж

на трубу 2


5.5 Контроллер YS1700


В качестве регулятора используется станция управления и сбора данных YS1700 [5], в котором управляющие и вычислительные функции комбинируются пользователем с использованием средств программирования YSS1000.

Каждый контроллер YS1700 может одновременно выполнять вычисления двух видов ПИД-регулирования и генерировать соответствующие выходные сигналы: 4…20 мА. Контроллер YS1700 может также быть использован без программирования, как многофункциональный контроллер, таким же образом, как и модель 1500. Основные характеристики контроллера показаны в таблице 3.

Таблица 3 - Основные характеристики контроллера YS1700

Режим контроллера

режим программирования, многофункциональный режим (одноконтурный, каскадный и автоселекторный)

Тип управления

базовое ПИД-регулирование (встроенная функция нелинейного управления), пропорциональное управление (встроенная функция нелинейного управления), выборочное ПИ-регулирование (встроенная функция выборочного ПИ-регулирования) и групповое ПИД-регулирование

Период управления

0,05, 0,1 и 0,2 с (режим программирования); 0,1 с (многофункциональный режим)

Дополнительная функция управления

настраиваемый фильтр задания (SVF), самонастройка (STC), нелинейное ПИД-регулирование, ПИД-регулирование с функцией смещения сброса, ограничитель выхода, внешниц сигнал управления заданием каскада

Расширенная функция управления

компенсация входа/выхода, переменный коэффициент усиления, предварительно заланные параметры ПИД.

Вспомогательная функция регулирования

управление с коррекцией сигнала, отслеживание выхода, предварительно заданный вход MV, отслеживание PV/SV, изменение рабочего режима, входной фильтр, квадратный корень, 10-сегментная функция линеаризации, отношение

Аналоговый вход

1…5 В постоянного тока (5 каналов или 8 каналов с расширяемым в/в)

Аналоговый выход

4…20 мА (1/2 канала), 1…5 В постоянного тока (2 канала/3 канала с расширяемыми в/в)

Функция сигнализации

Выход ретрансляции

PV1, PV2, SV1, SV2 и другие аналоговые входы

Вычисление входа

вычисление квадратного корня с отсечкой по малым значениям, 10-сегментной характеристической функции, вычисление задержки первого порядка, масштабирование внешнего сигнала управления заданием каскада, вычисление сигнала коррекции

Вычисление выхода

Ограничение выхода по верхнему/нижнему пределу

Метод программирования

функциональный блок или текст (используйте программные средства конфигурвции и программирования YSS1000)

Емкость программы

400 модулей (функциональных блоков), 1000 шагов (текст)

Защита

защита с использованием пароля

Связь

Modbus/TCR, SR-485 (Modbus, порт-к-порту) и DCS-LCS (РСУ-ЛСУ)

Жесткое ручное управление

да (стандартно)


5.6 Выбор преобразователей


Для преобразования стандартного непрерывного токового сигнала в стандартный пневматический регулирующий сигнал, поступающий к исполнительному механизму от регулятора, используется преобразователь ток-давление PK200 фирмы Yokogava [5].

Преобразователь предназначен для управления пневматическими клапанами, цилиндрами и другими исполнительными механизмами. Кроме того, может быть использован как преобразователь сигналов в комбинированных пневмоэлектрических системах. Технические характеристики преобразователя представлены в таблице 4.

Таблица 4 - Технические характеристики преобразователя ток-давление PK200

Входные сигналы

4…20 мА; 10…50 мА

Выходные сигналы

20…100 кПа; 40…200 кПа

Потеря напряжения

максимум 6 В

Регулировка нуля и шкалы: нуля

± 10 % диапазона

 - шкалы

100…125 % диапазона



6. Описание систем контроля, регулирования, сигнализации


6.1 Контроль расхода


Для контроля расхода газа, поступающего на очистку на трубопроводе устанавливается сужающее устройство - диафрагма камерная ДКС 0,6 - 80 (поз.21-1), преобразующая расход в перепад давления, который преобразуется с помощью дифманометра Метран-49-ДД (поз.21-2) в аналоговый сигнал 4…20 мА, пропорциональный перепаду давления, поступающему с диафрагмы. Аналоговый токовый сигнал поступает в контроллер YS1700 (поз.21-3).

6.2 Контроль и регулирование перепада давления в камерах


Перепад давления в камерах загрязненного и очищенного газа преобразуется при помощи датчика давления Метран - 49-ДИ (поз.1-1, 2-1, 6-1). Далее выходной унифицированный сигнал, пропорциональный измеренному давлению, с датчика поступает в контроллер YS1700 (поз.1-2, 6-2). При установлении максимального перепада давления загорается сигнальная лампа (поз.1-3). С аналогового выхода контроллера, обработанный по ПИД-закону регулирования сигнал поступает в преобразователь рода энергии PK200 Yokogava (поз.1-4), где преобразуется в стандартный пневматический сигнал, который поступает на электромагнитные клапаны, установленные на магистрали сжатого воздуха. Клапаны открываются, импульсы сжатого воздуха через сопла поступают в рукава и деформируют ткань, сбивая при этом пыль. Сигнал так же поступает в преобразователь рода энергии PK200 Yokogava (поз.1-6), где преобразуется в стандартный пневматический сигнал, который поступает на электропневматический клапан, перекрывающий поток газа на очистку.

6.3 Контроль и регулирования давления газа, поступающего на продувку


Давление на линии газа, поступающего на продувку, преобразуется при помощи датчика давления Метран-49-ДИ (поз.3-1). Далее выходной унифицированный сигнал, пропорциональный измеренному давлению, поступает в контроллер YS1700 (поз.3-2). При достижении критического значения давления загорается сигнальная лампа (поз.3-3). С аналогового выхода контроллера, обработанный по ПИД-закону регулирования сигнал поступает в преобразователь рода энергии PK200 Yokogava (поз.3-4), где преобразуется в стандартный пневматический сигнал, который поступает на электромагнитный клапан, установленный на магистрали сжатого воздуха (поз.3-5). Клапан открывается, газ направляется на продувку.

6.3 Контроль температуры


Температура загрязненного газа преобразуется (поз.11-1) термопреобразователем сопротивления ТСМУ Метран-274-Exd с выходным унифицированным токовым сигналом 4…20 мА. Выходной сигнал поступает на одноконтурный программируемый контроллер YS1700 (поз.11-2), где температура обрабатывается по ПИД-закону регулирования и преобразуется в аналоговый. При установлении температуры ниже необходимой загорается сигнальная лампа (поз.11-3).

7. Спецификация на средства автоматизации


Поз.

Измеряемый параметр и характеристика рабочей среды

Наименование и техническая характеристика прибора

Тип и марка прибора

Кол-во

Мес - то монтажа

21-1

Расход

Диафрагма камерная, рассчитанная на условное давление до 0,6 МПа, Dу = 80 мм

ДКС-0,6-80

1

По месту

11-1

Температура

Термопреобразователь сопротивления с унифицированным выходным сигналом 4…20 мА

ТСМУ Метран-274-Exd

1

По месту

1-1 2-1 3-1 6-1

Давление

Манометр-датчик тензоэлектрический со стандартным выходным токовым сигналом от 4 до 20 мА, предел измерений от 0 МПа до 4 МПа, класс точности 0,5

Метран-49-ДИ

4

По месту

21-2

Расход

Измерительный преобразователь разности давлений со стандартный выходным токовым сигналом 4…20 мА, класс точности 0,25

Метран-49-ДД

1

По месту

1-2 3-2 6-2 11-2 21-3

Расход Давление Температура Уровень

Одноконтурный программируемый контроллер, предназначенный для сбора, обработки и регистрации поступающих от датчиков с выходным унифицированным токовым сигналом 4…20 мА. Прибор имеет функцию арифметических и иных вычислений, а также в него встроен ПИД-регулятор

YS1700

5

На щите

1-4 3-4

Преобразователь ток-давление. Входной сигнал 4…20 мА, выходные сигналы 20…100 кПа

PK200 Yokoga-va

2

По месту

1-5 2-5 3-5 4-5 5-5

Расход Давление Температура Уровень

Исполнительное устройство, клапан малогабаритный регулирующий с пневмоприводом для работы при давлении до 10 МПа

КМР

5

По месту

1-3 3-3 11-3

Расход Уровень Давление

Сигнальная лампа

ЛС-4

3

По месту



Заключение


В данной курсовой работе был рассмотрен технологический процесс фильтрации газовых систем.

Проведен анализ технологического процесса как объекта автоматизации, предложена функциональная схема автоматизации. Также были выбраны технические средства автоматизации на основе принятой системы контроля и регулирования, которые представлены в спецификации. В ходе работы были приобретены навыки чтения и составления простейших функциональных схем автоматизации.

Список использованных источников


1.      Автоматизация технологических процессов: методические указания к курсовому и дипломному проектированию / Составитель: Л.Г. Дадаян. - Уфа: Изд. УНИ, 1985. - 22с.

2.      Автоматизация технологических процессов. Обозначения (условные) приборов и средств автоматизации в схемах. ГОСТ 21.404-85.

.        Касаткин А.Г. Основные процессы химической технологии, М.: ГОСХИМИЗДАТ, 1961 г. - 831 с.

.        Тематический каталог. Датчики давления №1. Метран, 2011г. - 270 с.

.        http://www.yokogawa.ru

.        Кирюшин О.В. Управление техническими системами. Учебное пособие. Уфа: Изд. УГНТУ, 2005 г. - 170с.

.        Голубятников В.А., Шувалов В.В. Автоматизация производственных процессов в химической промышленности. М., 1985.

.        Тематический каталог. Датчики температуры №2. Метран, 2011г. - 155с.

.        Тематический каталог. Расходомеры. Счетчики. №3. Метран, 2011г. - 243с.

.        Тематический каталог. Средства коммуникации. Функциональная аппаратура № 6. Метран, 2011г. - 183с.

.        Каталог "Клапаны с пневмоприводом", 2005г. - 48с.

Похожие работы на - Процесс фильтрования газовых систем

 

Не нашли материал для своей работы?
Поможем написать уникальную работу
Без плагиата!
Без нейросетей!