Экспериментальные исследования масштабного техногенного воздействия горных разработок на участок литосферы

  • Вид работы:
    Реферат
  • Предмет:
    Военная кафедра
  • Язык:
    Русский
    ,
    Формат файла:
    MS Word
    195,71 kb
  • Опубликовано:
    2009-01-12
Вы можете узнать стоимость помощи в написании студенческой работы.
Помощь в написании работы, которую точно примут!

Экспериментальные исследования масштабного техногенного воздействия горных разработок на участок литосферы

Экспериментальные исследования масштабного техногенного воздействия горных разработок на участок литосферы

Панжин Андрей Алексеевич, научный сотрудник Института горного дела Уральского отделения РАН, Екатеринбург

В данной статье обобщается опыт исследования масштабного техногенного воздействия горных разработок на верхнюю часть земной коры. Рассматриваются основные факторы техногенного воздействия и степень их влияния на массив горных пород. Рассмотрена геомеханическая модель участка литосферы, подверженного техногенному воздействию и произведены укрупненные расчеты возникающих деформаций в массиве горных пород. Для проверки модельных расчетов были проведены экспериментальные работы по определению величин техногенных деформаций. Измерения производились в зоне техногенного влияния горных работ Киембаевского ГОКа. При проведении геодезических измерений с помощью GPS-оборудования были получены фактические величины техногенных деформаций, которые были сопоставлены с величинами деформаций, полученными в результате моделирования на геомеханических моделях.

Масштабная разработка месторождений полезных ископаемых сопряжена с мощным техногенным воздействием на земную кору. Длительные сроки эксплуатации месторождений, большие объемы перемещаемых пород, концентрация добычи на ограниченных территориях, все это способствует нарушению первоначального напряженно-деформированного состояния земной коры на обширных территориях. В результате такого воздействия наряду с естественными геомеханическими процессами, такими как тектонические подвижки по структурным блокам, естественные землетрясения возникают так называемые наведенные геомеханические процессы, вызванные техногенной деятельностью человека. Такие процессы по силе их проявления сопоставимы с естественными, а их опасность усугубляется тем, что они происходят в областях концентрации экономической деятельности человека. Каждая из форм проявления наведенных геомеханических процессов способна произвести серьезные нарушения жилых и промышленных объектов, в том числе экологически опасных, таких как атомные и тепловые электростанции, химические предприятия. Актуальность исследований вызвана тем, что только в районе горнопромышленного Урала существует на менее семи районов потенциально опасных по проявлению одной из форм наведенных геомеханических процессов вследствие достигнутых масштабов производства [1].

В качестве факторов техногенного воздействия человека на земную кору выступают либо перемещения масс горных пород - выемка из карьеров и подземных разработок и складирование вскрышных пород и отходов обогащения в отвалы, либо нарушение гидрогеологического режима в связи с откачкой подземных вод. Источником формирования наведенных геомеханических процессов является нарушение первоначального равновесия в напряженном состоянии верхней части земной коры в результате добычи полезного ископаемого [2]. Вторичное поле напряжений формируется за счет образования выемок и пустот в горном массиве и за счет изостазического нарушения равновесия вследствие перемещения больших объемов горных пород, особенно при открытых разработках. При добыче твердых полезных ископаемых сопутствующими факторами выступают откачки подземных вод, образование депрессионных воронок. При добыче нефти и газа, массовых откачках подземных вод эти факторы могут оказаться ведущими.

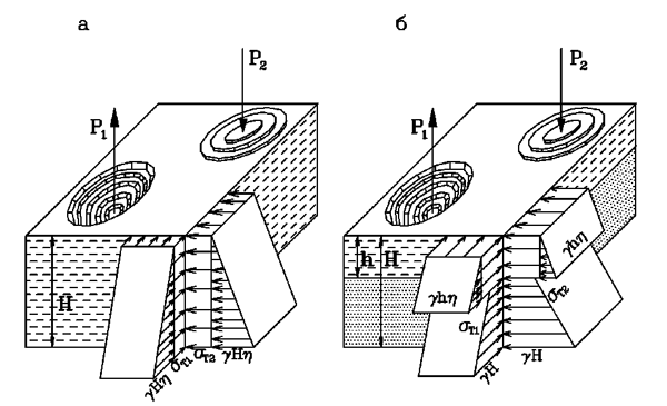
При внешней сложности явлений, происходящих в районе добычи полезных ископаемых, геомеханическая модель деформирования может быть представлена довольно простыми построениями. Основным элементом модели является внешнее отображение участка земной коры. В зависимости от существующих представлений о строении верхней части земной коры геомеханическая модель ее участка, подверженного техногенному воздействию может быть представлена либо нижним полупространством бесконечных размеров по площади и глубине (рис. 1а), либо в соответствии с глобальной тектоникой плит, в виде оболочки конечной толщины и бесконечных размеров в плане, находящейся на вязком слое астеносферы (рис. 1б).

Рис. 1. Геомеханическая модель техногенного воздействия на литосферу

а - участок земной коры представлен нижним полупространством бесконечных размеров;

б - участок земной коры представлен в виде оболочки конечной толщины и бесконечных размеров в плане

Граничные условия геомеханической модели включают боковые горизонтальные силы и объемный вес. Во втором случае на разделе между литосферой и астеносферой действуют гидростатические силы, уравновешивающие вес литосферной плиты. Боковые горизонтальные силы состоят из горизонтальных тектонических сил, одинаковых по глубине и бокового распора от гравитационных сил, пропорциональных глубине. Техногенные силы соответствуют весу пород, перемещаемых при разработке. На участке добычи, в карьере или зоне подземной добычи, происходит разгрузка массива, а на участке отвалообразования массив нагружается, вызывая возникновение момента сил в массиве.

Математический аппарат для исследования поведения геомеханической модели основывается на классических решениях задачи Бусинеска для расчета модели, представленной бесконечным полупространством [3] и расчета оболочек для расчета модели, соответствующей современным представлениям глобальной тектоники плит [4]. Не исключается также и то, что на участке, подверженному техногенному воздействию будут проявляться в той или иной степени свойства обеих моделей.

Укрупненные расчеты по геомеханическим моделям, проведенные на начальных этапах их исследований показали, что уровень вертикальных перемещений под техногенной нагрузкой сопоставим с перемещениями, полученными по результатам геодезических съемок в районах мощных землетрясений, связанных с заполнением крупных водохранилищ [1]. При этом следует учитывать две особенности нагружения земной коры при техногенном воздействии от разработки полезных ископаемых. Во первых, глубины карьеров в 2-2.5 раза превышают глубины искусственных водохранилищ, что с учетом плотности пород вызывает в 5-6 раз большие удельные нагрузки. Во вторых, часть добытых пород складируется на прилегающих территориях, что вызывает противоположные по направленности нагрузки. Земная кора подвергается в этом случае моментному нагружению.

Сформулированные теоретические положения, раскрывающие природу и механизм проявления масштабного техногенного воздействия горных разработок на участок литосферы, прошли экспериментальную проверку на горных предприятиях. Интересные результаты были получены на участке разработки Киембаевского асбестового месторождения (г. Ясный, Оренбургской обл.). Исследуемый район имеет четкие параметры техногенного воздействия на литосферу. Объем карьерной выемки составил на настоящее время около 500-700 млн.тонн горной массы, треть объема которой была складирована в отвалы пустых пород, расположенные к северу от карьера. Также на исследуемом участке имеется развитая государственная геодезическую сеть, оборудованная в 1960 г. перед началом разработки месторождения. Таким образом, инструментальными измерениями было охвачено 11 пунктов государственной геодезической сети 2-4 классов, расположенных на участке площадью в 120 кв.км.

В соответствии с разработанной программой исследований, в 1998-2001 г.г. в мониторинговом режиме были проведены повторные неоднократные переопределения пространственных координат пунктов государственной геодезической сети. Переопределения координат производились с применением комплексов спутниковой геодезии [5] по специально разработанным методикам полевых наблюдений и камеральной обработки результатов [6]. Точность определения пространственных координат составляла 5-7 мм. По результатам сопоставления первоначальных и современных координат пунктов геодезической сети были определены смещения реперов в горизонтальной и вертикальной плоскости. План поверхности месторождения, схема геодезической сети, вектора смещений и изолинии вертикальных смещений приведены на рисунке 2. По результатам измерений было установлено, что величина вектора смещений в горизонтальной плоскости достигает 330 мм, что соответствует величинам деформаций 0.06×10-3, амплитуда смещений в вертикальной плоскости достигает 150 мм (на участке были зафиксированы как зоны поднятия, так и зоны оседания земной поверхности), что соответствует величинам наклона 0.05×10-3. Указанные величины смещений произошли за 38-летний период разработки месторождения. За время ежегодных мониторинговых инструментальных измерений каких-либо значительных изменений координат пунктов сети не произошло.

Рис. 2. Вектора горизонтальных сдвижений и изолинии вертикальных смещений пунктов геодезической сети

Как видно из рисунка, изменений координат за 38-летний период не претерпели только два пункта государственной геодезической сети, расположенные на северо-западной окраине жилого поселка. Остальные же 9 пунктов сети претерпели более или менее значительные изменения пространственных координат. Наиболее ярко это изменение проявилось в вертикальной плоскости. Как и предполагалось, в зоне горных разработок произошла разгрузка массива и воздымание массива на величину до 100 мм. В зоне отвалообразования, наоборот, массив был дополнительно пригружен и произошло его проседание на величину до 40 мм. Соотношение величин воздымания и проседания массива составляет 2.5, примерно этой же величиной характеризуется соотношение вынутой горной массы к отсыпанной в отвалы. Не совсем четко еще объяснен характер распределения векторов и величин горизонтальных сдвижений. Наиболее вероятно в данном случае воздействие двух факторов: перераспределения поля напряжений и деформаций за счет образования выемки в тектонически напряженном массиве горных пород и влияния знакопеременных техногенных нагрузок с возникновением момента сил в массиве.

Таким образом, результаты экспериментальных данных подтверждают реальность выдвинутых научных положений и действительность компьютерного моделирования. Надо отметить, что возможность предрасчета и моделирования ситуации предоставляет определенные возможности в управлении процессом. Действительно, если процесс деформирования массива горных пород зависит от технологии, то, зная эту зависимость, целенаправленными действиями можно направить этот процесс в нужное русло. И здесь возникает альтернатива, какое выбрать русло v либо гуманное, направленное на предотвращение опасной ситуации, либо напротив, исходя из других интересов, провоцирующее катастрофическую ситуацию.

Список литературы

2. А.Д. Сашурин. Явления изостазии при разработке месторождений полезных ископаемых //Приложение результатов исследования полей напряжений к решению задач горного дела и инженерной геологии. - Апатиты: Кольский фил. АН СССР, 1985. - С.27-31.

3. А.И. Лурье. Пространственные задачи теории упругости. -М.: Наука, 1955.

4. В.И. Королев. Упругопластические деформации оболочек. - М.: Машиностроение, 1971.

5. Голубко Б.П., Панжин А.А. Маркшейдерские опорные и съемочные сети на карьерах: Учебное пособие //УГГГА. -Екатеринбург: УГГГА, 1999. -55с.

6. Панжин А.А. Наблюдение за сдвижением земной поверхности на горных предприятиях с использованием GPS. //Известия Уральской государственной горно-геологической академии. Вып.11. Серия: Горное Дело. - Екатерин-бург. 2000 -С.196-203.

Для подготовки данной работы были использованы материалы с сайта http://geomech.da.ru

Похожие работы на - Экспериментальные исследования масштабного техногенного воздействия горных разработок на участок литосферы

 

Не нашли материал для своей работы?
Поможем написать уникальную работу
Без плагиата!
Без нейросетей!