Проект цеху по виготовленню деталей насоса
ЗМІСТ
Вступ
. Загальна
частина
.1 Аналіз
конструкції деталей насоса
.1.1 Службове
призначення і конструктивна характеристика насоса
.1.1.1
Службове призначення і конструктивна характеристика корпуса
.1.1.2
Службове призначення і конструктивна характеристика вала
.1.2 Аналіз
технічних вимог на виготовлення деталей насоса
.1.2.1 Аналіз
технічних вимог на виготовлення корпуса
.1.2.2 Аналіз
технічних вимог на виготовлення вала
.1.3 Вибір та
обґрунтування методів обробки поверхонь
.1.3.1 Вибір
та обґрунтування методів обробки поверхонь корпуса
.1.3.2 Вибір
та обґрунтування методів обробки поверхонь вала
.2 Аналіз
виробничої програми та визначення типу виробництва
.2.1 Аналіз
виробничої програми
.2.2
Визначення типу виробництва
.3 Аналіз
технологічності конструкції деталей насоса
.3.1
Обґрунтування технологічності конструкції деталей насоса
.3.1.1
Обґрунтування технологічності конструкції корпуса
.3.1.2
Обґрунтування технологічності конструкції вала
1.3.2
Пропозиції по поліпшенню технологічності деталей насоса
1.3.2.1
Пропозиції по поліпшенню технологічності корпуса
.3.2.2
Пропозиції по поліпшенню технологічності вала
2.
Технологічна частина
2.1 Вибір
методу отримання заготовки та створення її конструкції
.1.1
Обґрунтування методу отримання заготовки
.1.1.1
Обґрунтування методу отримання заготовки корпуса
2.1.1.2
Обґрунтування методу отримання заготовки вала
.1.2
Створення конструкції заготовки
.1.2.1
Створення конструкції заготовки корпуса
.1.2.1
Створення конструкції заготовки вала
.2 Аналіз
варіантів технологічних маршрутів та вибір оптимального
.2.1 Аналіз
типових технологічних процесів
2.2.1.1
Аналіз типових технологічних процесів виготовлення корпуса
2.2.1.2
Аналіз типових технологічних процесів виготовлення вала
.2.2 Аналіз
базового технологічного процесу
.2.2.1 Аналіз
базового технологічного процесу корпуса
.2.2.2 Аналіз
базового технологічного процесу вала
.3
Проектування технологічного процесу
.3.1 Розробка
маршруту обробки деталей насоса
.3.1.1
Розробка маршруту обробки корпуса
.3.1.2
Розробка маршруту обробки вала
.3.2 Вибір і
обґрунтування технологічних баз та розробка схем базування
.3.2.1 Вибір
і обґрунтування технологічних баз та розробка схем базування корпуса
.3.2.2 Вибір
і обґрунтування технологічних баз та розробка схем базування вала
.3.3
Формування структури спроектованих операцій
.3.3.1
Формування структури спроектованих операцій корпуса
.3.3.2
Формування структури спроектованих операцій вала
.3.4
Визначення допусків і розрахунок припусків та між операційних розмірів
.3.4.1
Визначення допусків і розрахунок припусків та між операційних розмірів корпуса
.3.4.2
Визначення допусків і розрахунок припусків та між операційних розмірів вала
.3.5
Побудова та розрахунки розмірних ланцюгів
.3.5.1
Побудова та розрахунки розмірних ланцюгів корпуса
.3.6
Вибір верстатів, різального інструмента, контрольно-вимірювального інструменту
.3.6.1
Вибір верстатів, різального інструмента, контрольно-вимірювального інструменту
для виготовлення корпуса
.3.6.2
Вибір верстатів, різального інструмента, контрольно-вимірювального інструменту
для виготовлення вала
2.3.7
Вибір та розрахунки режимів різання
2.3.7.1
Вибір та розрахунки режимів різання для виготовлення корпуса
2.3.7.2
Вибір та розрахунки режимів різання для виготовлення вала
2.2.8
Техніко-економічне нормування операцій
3.
Конструктивна частина
.1
Проектування спеціального технологічного оснащення
.2
Патентний аналіз конструкцій пристосувань
3.3
Розробка та обґрунтування принципу дії пристрою та його розрахункової схеми
4.
Проектування цеху
.1
Аналіз вихідних даних для проектування цеху
.2
Проектування цехового транспорту
.3
Визначення виробничої площі цеха
.4
Визначення допоміжної площі цеху
4.5
Компоновка та планування цеха
5.
Автоматизація технологічних процесів
.1
Аналіз об'єкту керування
.1.1
Короткий опис об’єкту керування
5.1.2
Аналіз технологічних величин
.2
Розробка системи керування технологічним процесом
.2.1
Призначення, цілі та автоматизовані функції системи керування
.2.2
Вибір комплексу технічних засобів
.2.3
Розробка системи стабілізації різання
.2.4
Опис функціональної системи керування
6.
Охорона праці
6.1
Характеристика та місця розташування об’єкту, що проектується
.2
Характеристика можливих небезпечних і шкідливих виробничих факторів на дільниці
.3
Заходи по забезпеченню безпечних та здорових умов праці
.4
Характеристика механічної ділянки по пожежо-вибухонебезпеці
.5
Протипожежні заходи
.6
Засоби гасіння пожеж
.
Організація виробництва та економіка цеху
.1
Капітальні вкладення на одержання заготовок
.2
Капітальні вкладення у механічний цех
7.3
Розрахунок собівартості технологічної собівартості продукції
7.4
Розрахунок витрат на механічну обробку
.5
Визначення економічної ефективності проектних рішень
.6
Техніко-економічні показники роботи спроектованої механічної ділянки
Висновок
Література
ВСТУП
Машинобудування і металообробка, являється ядром
міжгалузевого машинобудівного комплексу (НЕК), - особливо важливою галуззю
народного господарства України. Виняткове значення цієї галузі полягає
насамперед у тому, що вона дає знаряддя праці для матеріального виробництва,
радикально примножуючи його продуктивну силу, та інтелектуальні можливості
людини. У 2006 р. на машино будівну галузь припадало 16,1% загального обсягу
промислової продукції України, 37,3% середньорічної кількості її
промислово-виробничого персоналу. Проти 2003 р. його частка у продукції істотно
зменшилась (на 14,6%).
Машинобудування і металообробка, включають: наукові,
конструкторські організації, підготовку кадрів, управління. Як комплекс
поєднуються спільною метою - виробництвом машин, обладнання і металовиробів,
яку ставлять перед собою об'єднуючі підприємства предметної спеціалізації,
насамперед ті, що виробляють продукцію загальномашинобудівного призначення
(металообробні верстати, ковальсько-пресові машини, ливарне і зварювальне
устаткування, інструмент), а також заводи технологічної спеціалізації (ливарні
підприємства і цехи у складі машинобудівних заводів з широким полем їх
міжзаводських зв'язків), підприємства по-детальної, по-вузлової та
по-агрегатної спеціалізації, що реалізують вироби міжгалузевого використання
(двигуни, підшипники, редуктори, кріпильні елементи). Найбільш характерною для
машинобудування стає вузлова форма структур, її ядром є складальний завод, що
одержує комплектуючі вироби (вузли, агрегати, деталі) від вузькоспеціалізованих
підприємств.
НЕК має тісні спів відносини з іншими міжгалузевими
комплексами (металургійним, хімічним, АПК), одержуючи від них енергію, сировину
і матеріали, та постачаючи їм свою продукцію. Тому НЕК відіграє значну роль у
формуванні інтегральних (загальних) територіально-виробничих комплексів і
економічних районів.
Машинобудування - одна з провідних галузей промисловості.
Створюючи найактивнішу частину основних виробничих фондів - знаряддя праці,
машинобудування істотно впливає на темпи й напрями науково-технічного прогресу
в інших галузях господарства, зростання продуктивності праці.
Машинобудування є матеріальною основою технічного
переозброєння економіки. Науково-технічний прогрес прискорює накопичення
капіталу, що в свою чергу сприяє підвищенню попиту на засоби виробництва,
передусім на машини й устаткування. Одним із наслідків науково-технічної
революції є швидке зношування засобів виробництва.
Технічний прогрес спонукає дедалі частішу зміну типів та
моделей виробів, модернізацію устаткування та виробництва. Моделі продукції
старіють та змінюються значно раніше, ніж зношуються знаряддя праці, спеціально
спроектовані для виготовлення цього виробу. Істотно зростає питома вага
серійного, а часом і дрібносерійного випуску.
Машинобудування, галузь що розвивається в Україні, той спадок
який лишився нам після розпаду Радянського союзу, потребує ретельного
переустаткування, та виходу на новій Європейський рівень.
1. ЗАГАЛЬНА ЧАСТИНА
.1 Аналіз конструкції деталей насоса
.1.1 Службове призначення і конструктивна характеристика
насосу
Під насосами розуміють енергетичні машини, для переміщення
рідини, що перекачується (рідкої, твердої та газоподібної) при статичному або
динамічному впливу, підвищують її тиск або кінетичну енергію.
Відцентровий насос ДЦН 80 призначений для підтримки заданого
тиску палива в мережі, для подачі палива з заданим тиском, а також для живлення
гідроприводів агрегатів літаків та гелікоптерів.
Таблиця
1
Технічна характеристика
|
Технічна характеристика відцентрового насос ДЦН 80
|
|
1. Продуктивність, л/год
|
31000
|
|
2. Тиск, МПа
|
0,5-3,3
|
|
3. Частота обертання, хв-1
|
8750
|
|
4. Вага, кг
|
5
|
|
5. Габарити, мм
|
197х192х187
|
Відцентровий паливний насос поданий як складальна одиниця,
яка містить, крім кришки, корпус, кришки, вал, відцентрове колесо, підшипники,
ущільнювачі, таке ін.
1.1.1.1 Службове призначення і конструктивна характеристика
корпусу
Корпус є однією з головних деталей відцентрового насосу, він
має невеликі габарити (довжину 106 мм при найбільшому діаметрі 180 мм) та
невелику вагу (1,2 кг). Для транспортування та переміщення корпусу між
верстатами не потрібне використання вантажопідйомного обладнання.
Корпус призначений для розміщення в ньому інших деталей
насоса: ущільнювачі, вал, та кришка, що кріпиться за допомогою шпильок. Дана деталь
відноситься до класу деталей типу “корпус”, які характеризуються наявністю
одночасно зовнішніх та внутрішніх циліндричних і торцевих поверхонь.
Деталь конструктивно подана як циліндричний корпус з
наявністю зовнішніх та внутрішніх проточок, а також внутрішніх різьбових
поверхонь. Деталь відповідає технологічним вимогам. Вона має прості форми
поверхонь, утворені тілами обертання, міцна, жорстка і технологічна. Корпус має
максимальний квалітет точності IT7 та максимальну шорсткість Rа 1,6.
Деталь для виконання свого конструктивного призначення
повинна бути міцною, зберігати розрахункову жорсткість, допускати багаторазове
збирання та розбирання вузла без погіршення конструктивних властивостей, не
піддаватися в процесі експлуатації корозії.
Поверхня Æ150Н7 та торцева поверхня 11 корпусу
призначена для встановлення кришки по перехідній посадці. Для закріплення
кришки до корпусу виконані різьбові отвори М8-7Н. Для приєднання іншої кришки
призначена поверхня Æ150Н9 та торцева поверхня 2, а для закріплення кришки до
корпусу виконані різьбові отвори М8-7Н.
У внутрішній циліндричний отвір Æ70Н9 встановлено сальникове
ущільнення, фаска на цій поверхні передбачена для запобігання пошкодження
ущільнювача, при складанні вузла.
Корпус виготовляється з алюмінію Ал9 ГОСТ 2685-75, який має
достатню міцність, високі ливарні властивості.
Хімічний склад Ал9 приведений в табл. 1.1, а механічні
властивості алюмінію в табл.
Таблиця1.1
Хімічний склад АЛ9
|
Fe
|
Si
|
Mn
|
Al
|
Cu
|
Pb
|
Be
|
Mg
|
Zn
|
Sn
|
Домішки
|
|
до 1.5
|
6-8
|
до 0.5
|
89.6-93.8
|
до 0.2
|
до 0.05
|
до 0.1
|
0.2 - 0.4
|
до 0.3
|
до 0.01
|
0,2
|
Таблиця1.2
Механічні властивості АЛ9
|
Сортамент
|
Розмір
|
Напр.
|
в
|
T
|
5
|
|
|
мм
|
-
|
МПа
|
МПа
|
%
|
%
|
|
лиття у пісчану форму
|
|
|
170
|
120
|
2
|
|
|
лиття у кокіль
|
|
|
230
|
140
|
4
|
|
1.1.1.2 Службове призначення і конструктивна характеристика
вала.
Вал є деталлю відцентрового насосу, що служить для надання
обертального моменту, колесу насосу. Дана деталь відноситься до класу деталей
типу “тіло обертання”. Як правило, у деталей даного класу лінійні розміри на
багато перевищують діаметральні.
Деталь конструктивно подана, як циліндричний вал з наявністю
торцевих проточок, шпонкового пазу, евольвентних шліців, а також внутрішньої
різьбової поверхні. Враховуючи, що співвідношення довжини та домінуючого
діаметру деталі складає L/D=148/18=8,2<10, деталь є жорсткою, тому при
обробці поверхонь деталі не потрібне використання рухомого люнету для
забезпечення необхідної точності її виготовлення.
Поверхня 5Æ18g6 валу призначена для встановлення
колеса по посадці з зазором. Для запобігання зсуву колеса на валу під час
роботи конструкцією передбачені шпонковий паз 5N9 (поверхня 19), а також різьбова поверхня
16 М18х1-6g.
Поверхня 6Æ26е7 призначені для встановлення
гумового кільця по посадці з зазором. Для з’єднання вала з електродвигуном
виконана шліцева поверхня, пов. 12
Вал виготовляється з легованої конструкційної сталі 18ХГТ
ГОСТ 4543-71.
Хімічний склад сталі 38Х2ЮА приведений в табл. 1.3, а
механічні властивості в табл. 1.4.
Таблиця1.3
Хімічний склад сталі 38Х2ЮА
|
C, %
|
Si, %
|
Mn, %
|
Ni, %
|
S, %
|
P, %
|
Cr, %
|
Cu, %
|
|
0,35-0,42
|
0,20-0,45
|
0,30-0,60
|
0,30
|
<0,025
|
<0,025
|
1,35-1,65
|
<0,30
|
Таблиця1.4
Механічні властивості сталі 38Х2МЮА
|
Тимчасовий опір на розрив , МПаТимчасовий опір на згин , МПаВідносне подовження d, %Звуження поперечного
перетину y, %Ударна в¢язкість Ам, кДж/м2Твердість за Бринелем НВ
|
|
|
|
|
|
|
1320
|
1520
|
12
|
50
|
720
|
217
|
1.1.2 Аналіз технічних вимог на виготовлення деталей насосу
.1.2.1 Аналіз технічних вимог на виготовлення корпуса
- Технічні вимоги до відливки за ОСТ 190021-92, група 3.
Відхилення розмірів відливки за ОСТ 1.41154-82.
Не вказані ливарні радіуси 3мм.
Не вказані ливарні ухили 1
- Максимальний квалітет точності IT7,
Максимальна шорсткість Rа 1,6.
Відхилення від торцевого биття поверхні 2 відносно
центральної осі становить не більше 0,03 мм.
Відхилення від торцевого биття поверхні 11 відносно поверхні Æ58H8 становить не більше 0,03 мм.
Відхилення від радіального биття поверхні Æ150Н7 відносно центральної
осі становить не більше 0,05 мм.
Відхилення від радіального биття поверхні Æ72Н7 відносно центральної осі
становить не більше 0,05 мм.
Інші відхилення, розташування та форми поверхонь знаходяться
у межах допусків на розміри.
1.1.2.2 Аналіз технічних вимог на виготовлення вала
Технічні вимоги до деталі:
Термообробка закалювання з відпуском 30..37HRC
Поверхні 3 та 6 азотувати.
Відхилення від радіальне биття поверхні Æ26е7 відносно центральної осі
не більше 0,02 мм.
Відхилення від радіальне биття поверхні Æ18g6 відносно центральної осі
не більше 0,02 мм.
Відхилення від торцеве биття поверхні Æ50 відносно центральної осі
не більше 0,02 мм.
Відхилення від паралельності бокових поверхонь шпонкового
паза не більше 0,02 мм.
Інші відхилення розташування та форми поверхонь знаходяться у
межах допусків на розміри.
.1.3 Вибір та обґрунтування методів обробки поверхонь
Існують два шляхи пошуку методів і маршруту обробки
поверхонь. Перший шлях пошуку - визначення числа ступенів та методів обробки
поверхонь, що рекомендують довідники та технічна література. Другий шлях пошуку
- визначення числа ступенів обробки на основі розрахунків уточнення:
;(1.1)
де e - загальне уточнення;
-
окремі ступені обробки;
-
число ступенів обробки;
-
допуски параметрів, що розглядаються відповідно до деталі,
-
допуски параметрів, що розглядаються відповідно до заготовки.
За методом найбільш спрямованого вибору числа ступенів обробки за
формулою:
;(1.2)
де e - ступінь впливу технологічної системи на
заготовку за показником Ку у процесі її обробки, чисельно надається
передаточним відношенням:
;(1.3)
де
та
-
відхилення параметра К на вході та виході технологічної системи.
1.1.3.1 Вибір та обґрунтування методів обробки
поверхонь корпуса
Визначимо число ступенів обробки для кожної поверхні корпуса.
Для поверхні №13 Ø150Н7 допуск заготовки Тdз=1000
мкм, а допуск деталі Тdд=40 мкм. Тоді
=3
тобто для отримання заданої точності поверхні, треба виконати три
переходи.
Для поверхні №8 Ø70Н9 допуск заготовки Тdз=740 мкм, а допуск деталі
Тdд=74 мкм. Тоді
=2,1
тобто для отримання заданої точності поверхні, треба виконати два
переходи.
Для поверхні №6 Ø72Н7 допуск заготовки Тdз=740 мкм, а допуск деталі
Тdд=30 мкм. Тоді
=3
тобто для отримання заданої точності поверхні, треба виконати три
переходи.
Для поверхні №3 Ø80Н9 допуск заготовки Тdз=740 мкм, а допуск деталі
Тdд=74 мкм. Тоді
=2,1
тобто для отримання заданої точності поверхні треба виконати два
переходи.
Вибір числа ступенів обробки поверхонь корпуса зводимо в
табл. 1.5
Таблиця1.5
Вибір числа ступенів обробки поверхонь корпуса
|
№ пов
|
Вид поверхні
|
Квалітет
|
Шорсткість, Ra, мкм
|
МОП
|
|
Зовнішня плоска
|
12
|
3,2
|
Фрезерування
|
|
Торцева
|
12 10
|
6,3 3,2
|
Чорнове підрізання торця Чистове підрізання торця
|
|
Внутрішня циліндрична
|
12 9
|
6,3 3,2
|
Чорнове розточування Чистове розточування
|
|
Торцева
|
12
|
6,3
|
Чорнове підрізання торця
|
|
Внутрішня конусна (фаска)
|
12
|
6,3
|
Однократне розточування
|
|
Внутрішня циліндрична
|
12 9 7
|
6,3 3,2 1,6
|
Чорнове розточування На пів чистове розточування
Чистове розточування
|
|
Торцева
|
12
|
6,3
|
Чорнове підрізання торця
|
|
Внутрішня циліндрична
|
12 9
|
6,3 3,2
|
Чорнове розточування Чистове розточування
|
|
Внутрішня циліндрична
|
12
|
6,3
|
Чорнове розточування
|
|
Торцева
|
12 10
|
6,3 3,2
|
Чорнове підрізання торця Чистове підрізання торця
|
|
Внутрішня циліндрична
|
12
|
6,3
|
Чорнове розточування
|
|
Внутрішня конусна (фаска)
|
12
|
6,3
|
Однократне розточування
|
|
Внутрішня циліндрична
|
12 9 7
|
6,3 3,2 1,6
|
Чорнове розточування На пів чистове розточування
Чистове розточування
|
|
Внутрішня циліндрична
|
12
|
6,3
|
Свердлування
|
|
Внутрішня різьбова
|
7Н
|
3,2
|
Нарізання різьби
|
|
Внутрішня конусна (фаска)
|
12
|
6,3
|
Зенкування
|
|
Внутрішня циліндрична
|
12
|
6,3
|
Свердлування
|
|
Внутрішня різьбова
|
7Н
|
3,2
|
Нарізання різьби
|
|
Внутрішня конусна (фаска)
|
12
|
6,3
|
Зенкування
|
|
Внутрішня циліндрична
|
12 9
|
6,3 3,2
|
Свердлування Зенкування
|
|
Внутрішня конусна (фаска)
|
6,3
|
Зенкування
|
|
Внутрішня циліндрична
|
12
|
6,3
|
Свердлування
|
|
Внутрішня різьбова
|
7Н
|
3,2
|
Нарізання різьби
|
|
Внутрішня конусна (фаска)
|
12
|
6,3
|
Зенкування
|
|
Внутрішня циліндрична
|
12
|
6,3
|
Зенкування
|
|
Внутрішня конусна (фаска)
|
12
|
6,3
|
Зенкування
|
1.1.3.2 Вибір та обґрунтування методів обробки поверхонь вала
Визначимо число ступенів обробки для кожної поверхні вала.
Для поверхні 3 допуск заготовки Тdз=430 мкм, а допуск деталі
Тdд=18 мкм. Тоді:
тобто для отримання заданої точності поверхні, треба виконати три
переходи.
Для поверхні 5 допуск заготовки Тdз=430 мкм, а допуск деталі Тdд=11
мкм. Тоді:
тобто для отримання заданої точності поверхні, треба виконати чотири
переходи.
Для поверхні 6 допуск заготовки Тdз=520 мкм, а допуск деталі Тdд=21
мкм. Тоді
тобто для отримання заданої точності поверхні, треба виконати три
переходи.
Методи обробки поверхонь вала приведені в табл. 1.6.
Таблиця1.6
Вибір числа ступенів обробки поверхонь вала
|
№ пов
|
Вид поверхні
|
Квалітет
|
Шорсткість,Ra, мкм
|
МОП
|
|
Торцева
|
12 10
|
6,3 3,2
|
Чорнове точіння Чистове точіння
|
|
Внутрішня конусна (фаска)
|
14
|
12,5
|
Розсвердлювання
|
|
Зовнішня циліндрична
|
12 9 7 6
|
12,5 6,3 1,25 0,63
|
Чорнове точіння Чистове точіння Тонке точіння
Шліфування
|
|
Внутрішня циліндрична
|
14
|
12,5
|
Свердлування
|
|
Зовнішня циліндрична
|
12 10 8 6
|
6,3 3,2 2,5 0,63
|
Чорнове точіння Чистове точіння Тонке точіння
Шліфування
|
|
Зовнішня циліндрична
|
12 9 7
|
12,5 6,3 1,25
|
Чорнове точіння Чистове точіння Тонке точіння
|
|
Торцева
|
14
|
12,5
|
Однократне точіння
|
|
Зовнішня циліндрична
|
14
|
12,5
|
Чорнове точіння
|
|
Зовнішня конусна (фаска)
|
14
|
12,5
|
Однократне точіння
|
|
Торцева
|
12 10
|
6,3 3,2
|
Чорнове точіння Чистове точіння
|
|
Зовнішня конусна (фаска)
|
14
|
12,5
|
Однократне точіння
|
|
Внутрішня циліндрична
|
12 9
|
12,5 3,2
|
Чорнове точіння Чистове точіння
|
|
Внутрішня циліндрична (фасона)
|
9
|
3,2
|
Нарізання зубців
|
|
Зовнішня циліндрична (канавка)
|
12
|
12.5
|
Чорнове точіння
|
|
Зовнішня конусна (фаска)
|
14
|
12,5
|
Однократне точіння
|
|
Зовнішня циліндрична
|
12 10
|
6,3 3,2
|
Чорнове точіння Чистове точіння
|
|
Зовнішня циліндрична (різьбова)
|
8g
|
3,2
|
Нарізання різьби
|
|
Внутрішня плоска
|
12
|
3,2
|
Фрезерування
|
|
Внутрішня плоска
|
12
|
3,2
|
Фрезерування
|
1.2 Аналіз виробничої програми та визначення типу
виробництва.
.2.1 Аналіз виробничої програми.
Приймаємо не річну програму випуску виробів, а річну програму
запуску їх у виробництво:
;(1.4)
де
- програма випуску виробів, шт.;
a -
відсоток невідворотних витрат (брак);
b -
відсоток незавершеного виробництва, який залежить від галузі машинобудування,
терміну виробничого циклу та ін.;
g -
відсоток запасних частин.
1.2.2 Визначення типу виробництва
Тип виробництва визначається ступенем спеціалізації робочих місць,
номенклатурою об’єкта виробництва, формою руху виробів по робочим місцям.
Ступінь спеціалізації робочих місць характеризується коефіцієнтом закріплення
операції, під яким розуміють кількість різноманітних операцій, що виконуються
на одному робочому місці, на протязі місяцю. Відповідно з ГОСТ 3.1108-74
коефіцієнт закріплення операції для групи робочих місць визначаємо за формулою:
;(1.5)
де
- кількість різноманітних операцій, що виконуються на
робочих місцях цеху;
-
кількість робочих місць в цеху.
Кількість верстатів, потрібна для виконання кожної операції:
;(1.6)
де Fg - річний дійсний фонд часу роботи, при двозмінній роботі Fg =
4055 год.;
-
штучний або штучно-калькуляційний час, хв.;річна програма випуску деталей, шт.
-
нормативний коефіцієнт завантаження обладнання,
=0,75…0,8.
Розрахунок штучного часу для корпуса:
Токарна операція:
(1.7)
Обробка поверхні 3.
Обробка поверхні 6.
Обробка поверхні 8.
Обробка поверхні 9.
Обробка поверхні 11.
Обробка поверхні 13.
Обробка поверхні 25.
Обробка поверхні 26.
Підрізання торців:
(1.8)
Обробка поверхні 2.
Обробка поверхні 4.
Обробка поверхні 7.
Обробка поверхні 10.
Свердлувальна операція.
(1.9)
Обробка поверхні 14.
Обробка поверхні 17.
Обробка поверхні 20.
Розраховуємо штучний час для фрезерувальної операції:
(1.10)
Обробка поверхні 1
хв.
Розрахунок штучного часу для вала
Розраховуємо штучний час для токарної операції:
(1.11)
Обробка поверхні 3
хв.
Обробка поверхні 5
хв.
Обробка поверхні 6
хв.
Обробка поверхні 8
хв.
Обробка поверхні 9
хв.
Обробка поверхні 10
хв.
Обробка поверхні 12
хв.
Обробка поверхні 14
хв.
Обробка поверхні 16
хв.
Визначаємо основний технологічний час підрізування торця
(1.12)
Обробка поверхні 1
хв.
Обробка поверхні 7
хв.
Обробка поверхні 10
хв.
Розраховуємо штучний час для круглошліфувальної операції:
(1.13)
Обробка поверхні 3
хв.
Обробка поверхні 5
хв.
Обробка поверхні 6
хв.
Розраховуємо штучний час для шпонково-фрезерувальної операції:
(1.14)
Обробка поверхні 18
хв.
Обробка поверхні 19
хв.
Свердлувальна операція.
(1.15)
Обробка поверхні 13
хв.
Сумарний час з врахуванням виготовлення інших деталей до насоса.
Сумарний час по токарній операції:
хв.
Сумарний час по свердлувальній операції:
хв.
Сумарний час по фрезерувальній операції:
хв.
Сумарний час по шліфувальній операції:
хв.
Штучно калькуляційний час
(1.16)
для розточувальній операції:
хв.
для свердлувальної операції:
хв.
для фрезерувальної операції:
хв.
для шліфувальної операції:
хв.
Кількість верстатів для токарної операції:
шт.
Кількість верстатів для свердлувальної операції:
шт.
Кількість верстатів для фрезерувальної операції:
шт.
Кількість верстатів для шліфувальної операції:
шт.
Прийнята кількість робочих місць з врахуванням виготовлення інших
деталей насоса:
по розточувальній операції Р=2;
по свердлильній операції Р=1;
по фрезерувальній операції Р=1;
по шліфувальній операції Р=1.
Фактичний коефіцієнт завантаження робочого місця:
(1.17)
по токарній операції:
по свердлильній операції:
по фрезерувальній операції:
по шліфувальній операції:
Кількість операцій, які виконуються на робочому місці
(1.18)
по токарній операції:
по свердлильній операції:
по фрезерувальній операції:
по шліфувальній операції:
Розрахункові данні кількості обладнання для виготовлення корпуса та
вала, та інших деталей насоса зводимо в табл. 1.7
Коефіцієнт закріплення операцій
тобто тип виробництва буде крупносерійним (1<
<10).
Таблиця1.7
Кількість обладнання
|
Операція
|
хв.mрРhз.ф.О
|
|
|
|
|
|
токарна
|
9,2
|
0,36
|
2
|
0,36
|
4
|
|
свердлильна
|
1,29
|
0,1
|
1
|
0,1
|
8
|
|
фрезерувальна
|
1,6
|
0,1
|
1
|
0,1
|
8
|
|
шліфувальна
|
0,8
|
0,1
|
1
|
0,1
|
8
|
|
Всього
|
12,9
|
|
5
|
|
38
|
Так, як завантаження обладнання менше 60%, то визначимо
кількість деталей в партії для одночасного запуску в обробку за формулою:
;
(1.19)
де 254 - кількість робочих днів в року;
а - періодичність запуску у днях
шт.
Визначимо розмір партії деталей з корегуванням з урахуванням зручності
планування і організації виробництва. Визначимо кількість змін на обробку всієї
партії деталей на основні робочі місця:
;
(1.20)
де 476 - дійсний фонд часу роботи обладнання у зміну;
,8 - нормативний коефіцієнт завантаження верстатів у крупносерійному
виробництві.
.
Приймаємо
=3 змін.
Визначаємо необхідну кількість деталей для завантаження обладнання на
100% по основних операціях:
(1.21)
шт.
1.3 Аналіз технологічності конструкції деталей насоса
.3.1 Обґрунтування технологічності конструкції деталей
насоса
.3.1.1 Обґрунтування технологічності конструкції
корпусу
Корпус, конструктивно представлений, як циліндр з отворами,
торцями, канавками та різьбовими поверхнями.
Деталь відповідає технологічним вимогам. Вона має форму,
створену поверхнями, утвореними тілами обертання і площинами, міцна, жорстка і
технологічна. При забезпеченні технологічності конструкції необхідно
враховувати обраний спосіб отримання заготовки, вихідні механічні та
експлуатаційні властивості які впливають на рівень промислових та
експлуатаційних витрат. Жорсткість деталі достатня і вона не обмежує режими
різання. Деталь має максимальний квалітет точності IT6, максимальна шорсткість
Ra 1,6.
В даній деталі є глухі циліндричні та різьбові отвори,
забезпечений вільний доступ інструмента до оброблюваних поверхонь, немає
оброблюваних поверхонь розташованих під тупими та гострими кутами, а також
отворів, розташованих не під прямим кутом до площини входу та виходу. Немає
необхідності в пристосуванні спеціальних пристроїв, спеціального ріжучого та
вимірювального інструмента для обробки деталі. При обробці поверхонь можливо
здійснити вільний підхід інструмента, до оброблюваних поверхонь. Розташування
поверхонь дозволяє легко здійснювати контроль оброблених поверхонь.
Взагалі конструкція корпуса забезпечує вільний доступ
ріжучого і вимірювального інструменту.
Якісна оцінка технологічності:
Наявність фасок забезпечує технологічність збирання даної
деталі у вузол.
Отвори мають вісі центрів, які можуть служити, як
технологічні та вимірювальні бази.
Конструкція корпуса дозволяє проводити багаторазову обробку,
так як має правильну форму, з розмірами для виходу ріжучого інструменту.
В цілому деталь технологічна на якісному рівні. Кількісна
оцінка
Коефіцієнт використання матеріалу:
.
Коефіцієнти точності та шорсткості поверхні:
;(1.22)
де
- середня точність поверхні яка оброблюється;
;(1.23)
де
- точність поверхні яка оброблюється;
-
кількість поверхонь;
;(1.24)
де
- коефіцієнт шорсткості;
-
середня шорсткість поверхні, яка оброблюється;
1.3.1.2 Обґрунтування технологічності конструкції вала
Не технологічними елементами деталі є закритий шпонковий паз,
що заважають доступу ріжучого та вимірювального інструменту при обробці та
контролю. В цілому деталь є технологічною.
Конструкція деталі, її розміри, шорсткість та точність
поверхонь дозволяють обробляти її на типовому верстатному обладнанні.
Відхилення розташування та форми поверхонь повинні
знаходитись в межах допусків на розміри поверхонь.
Вага деталі не вимагає використання вантажопідйомного
устаткування для переміщення деталі між верстатами.
Кількісна оцінка.
Коефіцієнт використання матеріалу:
Коефіцієнт точності обробки дорівнює:
Коефіцієнт точності обробки дорівнює:
>0,8
Розрахуємо коефіцієнт шорсткості:
Коефіцієнт шорсткості:
<0,2
Зведемо аналітичні коефіцієнти технологічності корпуса і вала у табл.
1.8.
Порівнюючи коефіцієнт точності
та
коефіцієнт шорсткості
із допустимим значенням, робимо висновок: корпус та
вал являються технологічними за коефіцієнтом точності, так як дотримані вимоги.
Таблиця1.8
Аналітичні коефіцієнти технологічності
|
Деталь
|
Коефіцієнт використання матеріалу, К
|
Коефіцієнт точності обробки, Коефіцієнт шорсткості,
|
|
|
Корпус
|
0,8
|
0,91
|
0,04
|
|
Вал
|
0,75
|
0,91
|
0,14
|
1.3.2 Пропозиції по поліпшенню технологічності деталей насосу
.3.2.1 Пропозиції по поліпшенню технологічності корпусу
Деталь за показниками коефіцієнту точності і шорсткості є
технологічною. Шорсткість основних посадочних поверхонь, задовільна, відповідно
призначенню та точності поверхні. Низькі показники шорсткості мають поверхні,
які являються приєднувальними чи вільними.
Враховуючи вищезгадане, поліпшувати технологічність
виготовлення корпуса не вважається потрібним.
1.3.2.2 Пропозиції по поліпшенню технологічності вала
Пропозиції по поліпшенню технологічності вала: з метою
спрощення отримання заготовки, зменшення трудомісткості та собівартості
механічної обробки деталі, базовий спосіб одержання заготовки, прокат,
задовольняє.
2. ТЕХНОЛОГІЧНА ЧАСТИНА
.1 Вибір методу отримання заготовки та створення її
конструкції
.1.1 Обґрунтування методу отримання заготовки
.1.1.1 Обґрунтування методу отримання заготовки корпусу
Можливі способи отримання заготовки корпуса в умовах
крупносерійного виробництва: лиття в оболонкові форми, лиття по моделям, лиття
в металеві форми, лиття у піщані форми та лиття під тиском.
Литтям в оболонкові форми отримують заготовки складної
конфігурації: колінчасті і кулачкові вали, ребристі циліндри, крильчатки.
Частина поверхонь заготовок вимагає механічної обробки. До часу твердіння
металу форма легко руйнується, не перешкоджаючи усадці металу, залишкова
напруга у відливанні незначна. Витрата формувальних матеріалів менше в 10-20
разів ніж прилитті в піщано-глиняні форми. В той же час робота з гарячими
металевими моделями представляє певну складність,та є дорогою.
Лиття по моделям, що виплавляються, - метод для виготовлення
складних і точних заготовок з важко деформуючих і важко оброблюємих сплавів з
високою температурою плавлення. Він відрізняється най тривалішим і трудомістким
технологічним процесом серед всіх методів лиття. Економічність методу
досягається правильно вибраною номенклатурою відливань, особливо коли вимоги
шорсткості поверхні і точності розмірів можуть бути забезпечені в литому достатку,
і потрібна механічна обробка поверхонь, що лише сполучаються. Вживання
заготовок отриманих литтям по моделях, що виплавляються, замість штампованих,
знижує витрату металу до 55...75 %, трудомісткість механічної обробки до 60 % і
собівартість деталі на 20 відсотків.
Лиття в металеві форми (кокіль). Суть процесу полягає в
багатократному вживанні металевої форми. Стійкість кокілів залежить від
технологічних чинників: температури заливки металу, матеріалу кокілю, розмірів,
маси і конфігурації відливання. Особливістю формування відливань в кокіль є
велика інтенсивність теплообміну між відливанням і формою. Швидке охолоджування
розплаву знижує рідино текучість, тому товщина стінок при литті в кокіль
значна. Метал відливання має дрібнозернисту структуру, його фізико механічні
властивості на 15...30% вище, ніж в піщаних відливань. Метод повністю усуває
пригар, збільшує вихід придатних заготовок до 75...95%.
Проведемо порівняння ливарної заготовки литтям під тиском у
піщано-глиняні форми.
Вага заготовки
В = Q×(1+П/100);(2.1)
де Q - вага деталі, кг;
П - відсоток відходу метала в стружку.
Впгф. = 1,2×(1+10/100)=1,32 кг
Влт =1,2×(1+20/100)= 1,44 кг
Вартість заготовки:
= В × Р1 × Кт - d × Р2;(2.2)
де Р1 - оптова ціна за 1 кг заготовки, грн;
Кт - 1,05…
1,06 - коефіцієнт транспортно заготівельних витрат;- вага реалізуємих відходів,
кг;
Р2 - ціна
відходів, грн.
Sпгф = 1,32× 40 × 1,05 - 0,12× 0,1=55,3 грн,лт
=1,44 ×
40 ×
1,05 - 0,24× 0,1= 61,1 грн,
Вартості обох заготовок майже однакові, тому у якості
заготовки доцільно прийняти лиття у піщано-глиняні форми, яке дає менший
відсоток відходів металу в стружку, завдяки меншому часу обробки, знижує
собівартість деталі, та дозволяє одержати багато поверхонь деталі вже на етапі
виготовлення заготовки без зняття металу.
2.1.1.2 Обґрунтування методу отримання заготовки вала
Можливі способи отримання заготовки деталі, вал, в умовах
крупносерійного виробництва:
Кована заготовка
Ливарна заготовка
Штампована заготовка
Прокат
Прокат є найбільш дешевим засобом отримання заготовки за
рахунок його низької собівартості. З прокату можна одержувати заготовки для тих
деталей, матеріал яких не дозволяє одержання заготовки іншими засобами.
Відсоток відходів матеріалу при механічній обробці заготовки з прокату найбільш
високий.
Ковані заготовки характеризуються відносною простотою і
дешевизною їхнього отримання, не потребують спеціального устаткування для
їхнього виробництва. До недоліків кованих заготовок варто віднести великий
відсоток металу, що відправляється в брухт, збільшений технологічний час
опрацювання деталі за рахунок зняття великої кількості металу. Як правило,
корпусні і просторові деталі з поковок виготовляють при одиничному або
дрібносерійному виробництві.
Штамповані або ливарні заготовки за формою близькі до
необхідних деталей, завдяки цьому мають низький відсоток відходів і
скорочується час обробки деталі. Для одержання штамповок застосовують гаряче
штамповані кривошипні преси з зусиллям 6,3-80 МН. Надання заготовці необхідної
форми здійснюється в штампах після попереднього розігріву матеріалу заготовки.
Литі деталі можуть бути отримані шляхом лиття в піщані форми, або в кокіль.
Штамповані і литі заготовки застосовують в умовах серійного і масового
виробництва для виготовлення деталей, що мають великий розкид розмірів або складну
геометричну форму, при цьому матеріал заготовки повинен мати достатньо високі
ливарні властивості.
Остаточний вибір засобу одержання заготовки можливий в
результаті економічного порівняння різних варіантів.
Проведемо порівняння заготовки з прокату та штампованої
заготовки.
Вага заготовки:
Вшт =0,3×(1+15/100)= 0,34 кг,
Впр =0,3×(1+40/100)= 0,42 кг.
Вартість заготовки:
шт = 0,34 × 17,0 × 1,05 - 0,04× 1= 6 грн,пр =0,42× 12,0 × 1,05 - 0,12× 1=5,2 грн.
У якості заготовки доцільно прийняти заготовку з прокату,
котра має нижчу вартість, хоча і дає більший відсоток відходів металу в
стружку. Всі ці показники дозволяють в умовах крупносерійного виробництва
використати в якості заготовки прокат та сприяють при цьому росту економічної
ефективності технологічного процесу, що проектується.
2.1.2 Створення конструкції заготовки
.1.2.1 Створення конструкції заготовки корпуса
Корпус виготовляється з алюмінію АЛ9 ГОСТ 21488-78.Марка
матеріалу обумовлює отримання заготовки методом лиття. Галузь застосування
заготовки з АЛ9 відноситься до відповідальних деталей. Для крупносерійного
виробництва та деталі середньої складності приймаємо лиття у піщано-глиняні
форми. Точність відливки, яка отримана цим способом: 15÷17
квалітет,
шорсткість: Rz=320-400мкм.
Лиття таким способом характеризується: високою
продуктивністю, доступною вартістю оснастки, великими допусками та припусками
на розміри.
Відливка на обробляємих поверхнях повинна мати припуски на
обробку 2-5мм.
Припуск на вертикальні поверхні в нижній частині форми
включає формувальні ухили і складає 2.5-3мм. Припуск на вертикальні поверхні,
які розташовані у верхній частині форми дорівнює 3,5-5мм
2.1.2.1 Створення конструкції заготовки вала
Оскільки вал має невеликий перепад діаметрів, то у якості
заготовки вибираємо сортовий прокат.
Профіль та розміри заготовки Æ55х155 мм; позначка та марка матеріалу: Круг
.
2.2 Аналіз варіантів технологічних маршрутів та вибір
оптимального
.2.1 Аналіз типових технологічних процесів
.2.1.1 Аналіз типових технологічних процесів виготовлення
корпусу
Деталі типа корпус характеризуються одночасною наявністю як
зовнішніх, так і внутрішніх поверхонь, циліндричних отворів, площин, та
фасонних поверхонь. Така різноманітність поверхонь, розташованих у трьох
ортогональних площинах, викликає необхідність використання складного обладнання
для їх виконання. По можливості, намагаються основні зовнішні та внутрішні
формо утворюючі поверхні у масовому чи крупносерійному виробництві, виконувати
методами без зняття металу, тобто литтям або штамповкою. Як правило, такий
спосіб формо утриманням задовольняє по точності та шорсткості поверхонь.
Таким чином, тех. процес механічної обробки фасонних деталей,
до яких відноситься корпус, заключається у отриманні плоских базових чи
встановлених поверхонь та циліндричних отворів для з'єднання з іншими деталями
чи для закріплення колеса.
Обробка таких деталей виконується як правило на оброблюючих
центрах, на станках з ЧПК або послідовно на токарних, координатно-розточних та
фрезерних верстатах. Обробка починається з виконання чорнової бази, якою
виступає площина спирання чи закріплення деталі.
Таким чином, заводський тех. процес механічної обробки
корпуса практично не відрізняється від типового процесу виготовлення
аналогічних деталей. Різниця може бути у послідовності виконання переходів,
марках верстатів та у проміжних та допоміжних операціях.
2.2.1.2 Аналіз типових технологічних процесів виготовлення
валу
Підрізати торці, та центрувати на
фрезерувально-центрувальному верстаті.
Токарна
Виконується за дві установки на одній операції або кожна
установка виноситься як окрема операція. Виконується точіння (обробка зовнішніх
поверхонь із припуском під чистове точіння і шліфування) канавок. Це забезпечує
одержання точності ІТ12, шорсткості Ra = 6,3
Токарна
Виконується чистове точіння шийок (із припуском під
шліфування). Забезпечується точність ІТ11...10, шорсткість Rа = 3,2
Фрезерувальна.
Фрезерування шпонкових канавок, шпіців.
Шпонкові пази в залежності від конструкції обробляються або
дисковою фрезою на горизонтально-фрезерних верстатах, або пальчиковою фрезою на
вертикально-фрезерних верстатах.
Шліфувальна.
Шийки вала шліфують на круглошліфувальних або безцентрово
шліфувальних верстатах.
2.2.2 Аналіз базового технологічного процесу
.2.2.1 Аналіз базового технологічного процесу корпуса
Вивчивши діючі на заводі технологічні процеси виготовлення
деталей корпуса варто помітити:
Базовий технологічний процес, виготовлення корпуса, по своїй
структурі відповідає крупносерійному виробництву. З операційного технологічного
процесу видно, що заготовка - виливка. Коефіцієнт використання матеріалу
складає - 0,8.
Матеріал використовується ефективно.
Низька шорсткість, точність розмірів і їхнього взаємного
розташування відповідальних поверхонь, досягається на чистових доводочних
операціях після складання.
При виготовленні корпуса застосовуються універсальні і
спеціальні пристосування; устаткування; інструмент.
Недоліками базового технологічного процесу є:
не дотримується принцип сталості баз і сталості розміщення
розмірів;
устаткування, застосовуване при виробництві деталей
універсальне і малопродуктивне;
застосовувані пристосування є універсальними і менш
швидкісними (механічними), застосовуваний інструмент звичайний, контроль
виробляється наприкінці технологічного процесу.
.2.2.2 Аналіз базового технологічного процесу вала
Базовий технологічний процес, виготовлення вала, аналогічний
типовим технологічним процесам. Базовий технологічний процес відповідає
крупносерійному виробництву. З операційного технологічного процесу видно, що
заготовка - пруток, а метод одержання заготовки - прокат. Коефіцієнт
використання матеріалу складає - 0,75.
Матеріал використовується ефективно.
При досягненні точності виготовлених деталей використовується
принцип сталості і єдності баз, обробка ведеться за одну установку. Висока
шорсткість і точність взаємного розташування відповідальних поверхонь,
досягається на чистових доводочних операціях.
Також при розробці нового технологічного процесу необхідно
звернути увагу на застосовуване устаткування.
2.3 Проектування технологічного процесу
.3.1 Розробка маршруту обробки деталей насоса
.3.1.1 Розробка маршруту обробки корпуса
З урахуванням даних рекомендацій можна скласти маршрут
обробки корпуса:
Чорнове, чистове та тонке точіння внутрішніх та зовнішніх
циліндричних поверхонь.
Фрезерування площин.
Свердління отворів та нарізання в них різьби для закріплення
кришки.
Контроль.
2.3.1.2 Розробка маршруту обробки вала
З урахуванням даних рекомендацій можна скласти маршрут
обробки валу:
Чорнове, чистове та тонке точіння зовнішніх циліндричних
поверхонь.
Свердлувати отвір.
Фрезерування шпонкового пазу.
Фрезерування шліців Ев16´1´14.
Шліфування точних поверхонь вала.
Контроль.
2.3.2 Вибір і обґрунтування технологічних баз та розробка
схем базування
При виборі технологічних баз реалізується принцип сталості
бази, що дає можливість досягнення найбільш точної обробки, тобто опрацювання
ведеться від однієї бази з однієї установки.
Правильний вибір технологічних баз є основою розробки
раціонального варіанта технологічного процесу. В залежності від обраних баз
можуть змінюватися методи обробки, конструкції пристосувань і точність
опрацювання. Вибір баз впливає на собівартість продукції, на продуктивність
праці. Базами можуть застосовуватися плоскі, циліндричні і криволінійні
поверхні.
Обробка деталі починається з поверхні, що служить
установочною базою для подальших операцій. Для опрацювання цієї поверхні,
чорновою базою приймають неопрацьовану, котра повинна бути по можливості
чистою. Далі, коли установочна поверхня оброблена, опрацьовуються інші
поверхні, дотримуючи при цьому визначену послідовність. Базові поверхні повинні
бути простими за формою і мати достатню довжину; повинні забезпечувати
можливість опрацювання з однієї установки максимальної кількості поверхонь. Для
точного опрацювання установочною базою вибираємо основну базу.
2.3.2.1 Вибір і обґрунтування технологічних баз та розробка
схем базування корпусу
Розглянемо схеми базування для кожної операцій.
Токарна
Заготовка (рис. 2.1) встановлюється у токарний
трьохкулачковий патрон чорновою базовою поверхнею, в якості якої виступає
зовнішня циліндрична поверхня та торцева поверхня 2.
Рис. 2.1 Схема базування при токарній операції
Фрезерувальна
Заготовка (рис. 2.2) встановлюється в верстатне пристосування чистовою
базовою поверхнею, в якості якої виступає оброблена зовнішня циліндрична
поверхня та торцева поверхня 2.
Рис. 2.2 Схема базування при вертикально-фрезерувальній операції
Свердлувальна
Заготовка (рис. 2.3) встановлюється в верстатне пристосування чистовою
базовою поверхнею, в якості якої виступає оброблена зовнішня циліндрична
поверхня та торцева поверхня 2.
Рис. 2.3 Схема базування при свердлувальній операції
2.3.2.2 Вибір і обґрунтування технологічних баз та
розробка схем базування валу
Розглянемо засоби базування для кожної операцій
Токарна операція
Заготовка (рис. 2.4) встановлюється в трьохкулачковий патрон.
Базовими поверхнями служать торцеві поверхні 1 та 10 (в залежності від
установки деталі), поверхні центрових отворів та зовнішні циліндричні поверхні
3 та 8.
Рис. 2.4 Схема базування для токарної операції
Свердлувальна операція
Заготовка (рис. 2.5) встановлюється в трьохкулачковий патрон.
Базовими поверхнями служать торцева поверхня 10 та зовнішня циліндрична
поверхня 8.
Рис. 2.5 Схема базування для свердлувальної операції
Шліфувальна операція
Заготовка (рис. 2.6) встановлюється в передній і задній
центрообертовий. Обертання надається деталі за допомогою поводкового патрону.
Базовою поверхнею служать торцева поверхня 1 та 10, поверхні центрових
отворів, та зовнішня поверхня 5.
Рис. 2.6 Схема базування для шліфувальної операції
Фрезерувальна операція
Заготовка (рис. 2.7) встановлюється в пристрій на призми,
затискається пневматичними зажимами.
Базовими поверхнями є зовнішні циліндричні поверхні 5 та6 ,
торцева поверхня 1.
Рис. 2.7 Схема базування для шліфувальної операції
2.3.3 Формування структури спроектованих операцій
Вибір остаточної послідовності операцій здійснюється на основі
прийнятої принципової схеми маршруту та відібраних до виконання маршрутів
обробки окремих поверхонь, які комплектують за принципом їх сумісності. Це
завдання тим складніше, чим більше існує у деталі поверхонь, що точно
обробляються. При цьому завжди існує кілька прийнятих варіантів технологічного
процесу.
При формуванні структури операцій, що проектуються, треба враховувати
оперативний час, штучний час, собівартість виконання операції. Всі ці критерії
зменшуються за умови скорочення числа переходів та їх одночасного виконання.
Чим менше ступенів обробки необхідних для кожної поверхні і чим вищою є їх
технологічна та часова сумісність, тим більше можливостей скорочення часу
виконання операції, тим нижче собівартість її виконання.
В умовах крупносерійного виробництва, де технологічні можливості
обладнання досить широкі, виникає питання про таку побудову операції, яка
максимально скорочує час, а в потоковому виробництві - тривалість операції, що
дорівнює або є кратною такту випуску.
При побудові структури операції слід відмовитись від одномісних
одно-інструментальних послідовних схем обробки за рахунок багатомісних та
багато інструментальних паралельних схем.
Вибираючи схеми обробки, слід пам’ятати, що зі збільшенням числа
інструменту в налагодженні, продуктивність росте до певної межі. При великій
кількості інструменту ростуть витрати на зміну і регулювання інструменту,
знижується швидкість різання, зменшується подача.
2.3.3.1 Формування структури спроектованих операцій
корпуса
005. Заготівельна
Отримати заготовку, перевірити її цілісність та відсутність наявних дефектів;
. Токарна
перехід
Встановити деталь у токарному трьохкулачковому патроні на зовнішню
циліндричну базову поверхню та торець 2, закріпити її.
Розточити начорно поверхню 13 до Æ148
на прохід
Розточити на пів чистову поверхню 13 до Æ149 на прохід
Розточити начисто поверхню 13 до Æ150Н7
на прохід
Розточити поверхню 11 до Æ154+0,5
витримуючи розмір 2+0,5 мм
Точити фаску поверхня 12, додержуючи розмір 1х45°;
перехід
Розкріпити деталь, повернути її на 180 градусів, встановити деталь у
токарному трьохкулачковому патроні на базову поверхню та торець 10, закріпити
її;
Розточити поверхню 9 до Æ72
витримуючи розмір 35 мм
Розточити начорно поверхню 8 до Æ69
витримуючи розмір 10 мм
Розточити на пів чистову поверхню 8 до Æ70Н9 витримуючи розмір 10мм
Розточити начорно поверхню 7 до Æ71
витримуючи розмір 2мм
Розточити на пів чистову поверхню 7 до Æ71,5 витримуючи розмір 2мм
Розточити начисто поверхню 13 до Æ720Н7
витримуючи розмір 2мм
Розточити начорно поверхню 3 до Æ79
витримуючи розмір 2 мм
Розточити на пів чистову поверхню 2 до Æ80Н9 витримуючи розмір 2мм
Точити фаску поверхня 5, додержуючи розмір 1х45°;
Вертикально-фрезерна
Встановити деталь у верстатне пристосування, закріпити деталь;
Фрезерувати поверхню 1, додержуючи розмір 100-0,5;
Вертикально-свердлувальна
перехід
Встановити деталь у верстатне пристосування, закріпити деталь;
Свердлити 8отворів Æ14,3
(поверхня 14) глибиною 14мм;
Зенкерувати фаску 1х45;
Нарізати різьбу М 8 - 7Н (поверхня 15) глибиною 10мм;
Свердлити 2отрори Æ4
(поверхня 20) глибиною 15мм;
Зенкерувати 2отрори Æ5Н9
(поверхня 20) глибиною 15мм;
перехід
Встановити деталь у верстатне пристосування, закріпити деталь;
Свердлити 8отворів Æ14,3
(поверхня 17) на прохід;
Зенкерувати фаску 1х45;
Нарізати різьбу М 8 - 7Н (поверхня 19) глибиною 10мм;
перехід
Встановити деталь у верстатне пристосування, закріпити деталь;
Свердлити 4отворів Æ14,3
(поверхня 22) на прохід;
Зенкерувати фаску 1х45;
Нарізати різьбу М 8 - 7Н (поверхня 23) на прохід;
2.3.3.2 Формування структури спроектованих операцій вала
005 Заготівельна
Відрізати заготовку у розмір з сортового прокату, перевірити
її цілісність та відсутність наявних дефектів;
Токарна
Підрізати торець пов. 1 у розмір 148,5мм.
Свердлувати отвір
пов. 4 на глибину 100±1мм
Точити пов. 3
мм з дотриманням розміру115-0,2;
Точити пов. 5
мм з дотриманням розміру115-0,2;
Точити пов. 6
мм з дотриманням розміру 27±0,22 мм.
Токарна
Переустановити і закріпити деталь
Підрізати торець пов. 10 у розмір 148±0,2мм.
Точити пов. 8
;
Точити пов. 9
під кутом 15
;
Свердлувати отвір
пов. 12 на глибину 27±0,2мм
Розточити отвір
пов. 13 на глибину 27±0,2мм
Шліцефрезерна
Фрезерувати шліци пов. 13 Ев16´1´16 ОСТ 100086-73
Фрезерувальна
Фрезерувати шпонковий паз шириною 4N9 пов.
18 довжиною 18мм.
Фрезерувати шпонковий паз шириною 5N9 пов.
19 довжиною 36,5мм.
Круглошліфувальна
Шліфувати пов. 3
14g6
Шліфувати пов. 5
18g6
Шліфувати пов. 6
26g6
Контроль
Контролювати параметри деталі.
2.3.4 Визначення допусків і розрахунок припусків та
між операційних розмірів
Визначення оптимальних припусків на обробку тісно пов’язане з
встановленням проміжних і початкових розмірів заготовки. Ці розміри необхідні
для конструювання штампів, прес-форм, моделей, стержневих ящиків, пристроїв,
спеціального різального та вимірювального інструменту, а також для настроювання
металорізальних верстатів та іншого технологічного обладнання. На основі
визначених припусків можна обґрунтовано визначити масу початкових заготовок,
режимів різання, а також норми часу на виконання операцій механічної обробки.
В машинобудуванні застосовують дослідно-статистичні та
розрахунково-аналітичні методи встановлення припусків на обробку.
Розрахунок припусків проводимо розрахунково-аналітичним методом.
Розрахунок мінімальних припусків розраховуємо за формулою:
;(2.3)
де
- висота нерівностей профілю на попередньому
переході;
глибина
дефектного слою попередньому переході;
-
сумарне відхилення розташування поверхні, або відхилення форми поверхні;
-
погрішність установки заготівлі на переході, який виконується.
2.3.4.1 Визначення допусків і розрахунок припусків та
між операційних розмірів корпуса
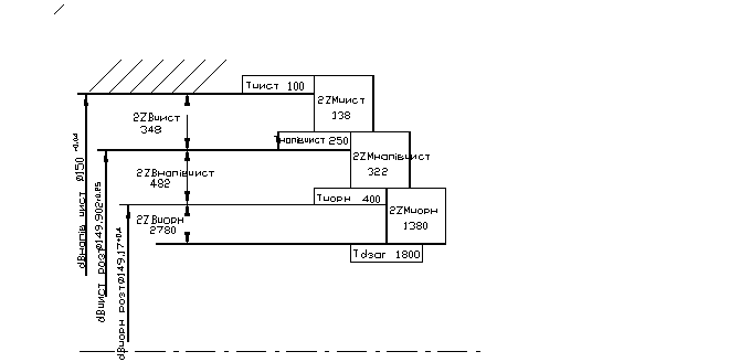
Визначимо припуск на обробку для самої точної поверхні №13 Æ150
Rа1,6.
Для вказаної поверхні МОП
Чорнове розточування
На пів чистове розточування
Чистове розточування
Визначимо припуск на чорнове розточування за формулами:
(2.4)
Для заготовки вагою 1,2 кг визначимо:заг = 300 мкм, h
заг= 300 мкм, лиття в піщані форми, отримані ручною формовкою для крупно
серійного виробництва.
Похибку форми Dзаг. визначимо виходячи з короблення Dк
відливок; Dк = 0,25 мкм/мм; D заг
=75 мкм; Допуск на виготовлення литої заготовки Тd = 1800 мкм IT17.
Для установки заготовки на робочому столі за допомогою затискачів: eчорн= 50 мкм, тоді:
=
2[(300+300)+
]= 1380 мкм;
Допуск на чорнове розточування ливарної заготовки по IT12 Td чорн.=400 мкм;
Якість поверхні після чорнового розточування: Rz чорн= 63
мкм; h чорн = 60 мкм.
Визначимо мінімальний припуск на пів чистового розточування за
формулою:
=
2[(Rz чорн +h чорн)+
](2.5)
Похибка форми і розташування поверхні приймаємо в межах 0,5Td чорн
D напiвчист= 0,5×75=38 мкм;
Приймаємо що на пів чистове розточування проводиться після чорнового,
не розкріплюючи заготовку, тоді: e напiвчист =0.
=
2[(63+60)+
] = 322 мкм
Допуск на пол. чистове розточування IT9 Td напiвчист=250 мкм, Rz напiвчист =20 мкм;
h=30мкм;
Визначимо мінімальний припуск на чистове розточування за формулою:
=
2[(Rz напiвчист +h напiвчист)+
] (2.6)
Похибка форми і розташування поверхні приймаємо в межах 0,5Td напiвчист
D чист = 0,5×38=19 мкм;
Приймаємо що чистове розточування проводиться після напівчистового, не
розкріплюючи заготовку, тоді: e чист
=0.
=
2[(20+30)+
] = 138 мкм
Допуск на чистове розточування IT7 Td чист =400 мкм, Rz чист =1,6
мкм; h=3,2 мкм;
Максимальні розміри припусків:
ZB чорн =2ZМ чорн +Тd заг -Тd
чорн =1380+1800-400=2780 мкм
ZB напiвчист =2ZМ напiвчист +Тd чорн
-Тd напiвчист =332+400-250=482мкм
ZBчист =2ZМ чист +Тd напiвчист -Тd чист
=138+250-40=348 мкм
Сумарні припуски:
1380+332+138=1850
мкм
2780+482+348=3610
мкм
Перевірка:
Тd заг - Тd дет =2ZBо-2ZМо
-40=3610-1850 = 1760
мкмМ чист. = dМ дет= 150 ммВ чист= dВ дет
= dМ дет + Тd дет = 150+0,04=150,04 ммВ напiвчис
= dВ чист -2ZМ чист.=150,04-0,138=149,902ммМнапiвчис
= dМнапiвчис- Тdнапiвчис=149,902-0,25=149,652 ммВ
чорн = dВ напiвчис -2ZМнапiвчис=
149,902-0,332=149,57 ммМ чорн = dМ чорн- Тd чорн
=149,57-0,4=149,17 ммВ заг= dВ чорн -2ZМ чорн
= 149,57-1,38=148,19мМ заг = dМ заг - Тd заг
=148,19-1,8=146,39мм
після чорнового
розточування Æ149,17
мм
після на пів
чистового розточування Æ149,902
мм
після чистового
розточування Æ150
мм
Проведені розрахунки
зводимо до табл. 2.1.
Будуємо схему
розташування полів допусків і припусків для обробки поверхні корпуса Æ150
,
яка представлена на рис. 2.8.
Таблиця
2.1
Граничні розміри та припуск
|
№ пов-нi
|
Маршрут обробки
|
Допуск TD, мкм
|
Граничні розміри
|
Припуски
|
|
|
|
Max розмір
|
Min розмір
|
2Zmax
|
2Zmin
|
|
13
|
Заготовка
|
1800
|
148,19
|
146,39
|
-
|
-
|
|
Розточування чорнове
|
400
|
149,57
|
149,17
|
1,38
|
2,78
|
|
Розточування на пів чистове
|
250
|
149,902
|
149,652
|
0,332
|
0,482
|
|
Розточування чистове
|
40
|
150,04
|
150
|
0,138
|
0,348
|
Рис. 2.8 Схема розташування допусків, припусків та проміжних розмірів
поверхні корпуса Æ150
2.3.4.2 Визначення допусків і розрахунок припусків та
між операційних розмірів вала
Визначимо припуск на обробку для самої точної поверхні № 5 Æ
Rа1,25.
Для вказаної поверхні МОП:
Чорнове точіння;
Чистове точіння;
Тонке точіння;
Шліфування.
Визначимо припуск на чорнове точіння за формулами:
;(2.7)
Для заготовки із сортового прокату вагою 0,3 кг визначимо:заг
= 160 мкм , h заг= 250 мкм, точність прокату звичайна.
Похибку форми D заг визначимо виходячи з кривизни D к
сортового прокату; D к =1,5мкм/мм; D заг
=DS к =D к *L вал=1*148=148 мкм; Допуск на виготовлення сортового
прокату Тd = 1100 мкм.
=
2[(160+250)+
]=1128 мкм
Допуск на чорнове точіння сортового прокату заготовки за IT12 Td чорн
=180 мкм;
Якість поверхні після чорнового точіння: Rz чорн=63мкм; h
чорн = 60 мкм.
Визначимо мінімальний припуск на чистове точіння за формулою:
=
2[(Rzчорн. +hчорн)+
](2.8)
Похибка форми і розташування поверхні приймаємо в межах 0,5Tdчорн
Dчист= 0,5*153= 77 мкм;
Приймаємо що чистове точіння проводиться після чорнового, не
розкріплюючи заготовку, тоді: e чист=0.
=
2[(63+60)+
] = 400 мкм
Допуск на чистове точіння IT11 Td чист =110 мкм, Rz чист =20
мкм; h=30мкм;
Визначимо мінімальний припуск на тонке точіння за формулою:
=
2[(Rzчист +hчист)+
] (2.9)
Похибка форми і розташування поверхні приймаємо в межах 0,5Tdчист
Dтонк= 0,5*77= 38 мкм;
Приймаємо що тонке точіння проводиться після чистового, не розкріплюючи
заготовку, тоді: eтонк=0.
=
2[(20+30)+
] = 176 мкм
Допуск на тонке точіння IT9 Td тонк =43 мкм, Rz тонк=6,3 мкм;
hтонк=3,2 мкм;
Визначимо мінімальний припуск на шліфування за формулою:
=
2[(Rz тонк +h тонк)+
](2.10)
Похибка форми і розташування поверхні приймаємо в межах 0,5Td тонк
Dшліф= 0,5*38= 19 мкм;
Для установки заготовки в поводковий патрон: e шліф
=20 мкм, тоді
=
2[(6,3+3,2)+
] = 74 мкм
Допуск на шліфування IT6 Td шліф =11 мкм, Rа шліф = 2,5
мкм.
Максимальні розміри припусків:
ZBчорн=2ZМчорн+Тdзаг-Тdчорн=1128+1100-180=
2048 мкм
ZBчист=2ZМчист+Тdчорн-Тdчист=400+180-110=
470 мкм
ZBтонк=2ZМтонкТdчист-Тdтонк=176+110-43=
243 мкм
ZB шліф=2ZМ шліф+Тdтонк-Тd шліф=74+43-12=
105 мкм
Сумарні припуски:
1128+400+176+74=
1778 мкм
2048+470+243+105
= 2866 мкм
Перевірка:
Тdзаг- Тdдет=2ZBо-2ZМо
-12= 2866 - 1778 = 1088 мкм
Мдет= dМшліф
= dВдет-Тdдет= 17,994 -0,012= 17,982 ммВдет=
dВшліф = 18-0,006=17,994 ммМтонк= dМдет+2ZМшліф
= 17,982+0,074= 18,056 ммВтонк= dВтонк + Тdтонк=
18,056+0,043=18,099 ммМчист = dМтонк+2ZМтонк=
18,056+0,176= 18,232 ммВчист = dМчист + Тdчист
= 18,232+0,11=18,342 ммМчорн = dМчист +2ZМчист=
18,232+0,4=18,632 ммВчорн = dМчорн+ Тdчорн =
18,632+0,18=18,812 ммМзаг= dМчорн +2ZМчорн=
18,632+1,128= 19,76 ммВзаг = dМзаг + Тdзаг =
19,76 + 1,1=20,86 мм
після чорнового
точіння Æ18,812
мм
після чистового
точіння Æ18,342
мм
після тонкого точіння
Æ18,099
мм
після шліфування Æ
Проведені розрахунки
зводимо до табл. 2.2:
Таблиця
2.2
Граничні розміри та припуски
|
№ пов-нi
|
Маршрут обробки
|
Допуск TD, мкм
|
Граничні розміри
|
Припуски
|
|
|
|
Max розмір
|
Min розмір
|
2Zmax
|
2Zmin
|
|
5
|
Заготовка
|
1100
|
20,86
|
19,76
|
-
|
-
|
|
Точіння чорнове
|
180
|
18,812
|
18,632
|
2048
|
1128
|
|
Точіння чистове
|
110
|
18,342
|
18,232
|
470
|
400
|
|
Точіння тонке
|
43
|
18,099
|
18,056
|
243
|
176
|
|
Шліфування
|
12
|
17,994
|
17,982
|
105
|
74
|
Будуємо схему розташування полів допусків і припусків для обробки
поверхні вала Æ
, яка представлена на рис. 2.9.
Рис. 2.9 Схема розташування допусків, припусків та проміжних розмірів
поверхні вала Æ
2.3.5 Побудова та розрахунки розмірних ланцюгів
Головна задача розмірного аналізу технологічного процесу -
правильне та обґрунтоване визначення проміжних та остаточних розмірів і
допусків на них. Особливо цього потребують проміжні розміри, що зв’язують
протилежні поверхні. Визначення припусків на такі поверхні,
розрахунково-аналітичним або табличним методом, дуже ускладнене. В той же час
на налагоджених верстатах потребує детального проробітку всіх проміжних
розмірів з тим, щоб на заключних операціях автоматично забезпечувались
остаточні розміри. Правильне розв’язання цієї задачі забезпечує розмірний аналіз
технологічного процесу, який складається з ряду етапів.
2.3.5.1 Побудова та розрахунки розмірних ланцюгів корпусу
Для розрахунків виявлених розмірних ланцюгів приймаємо такі
вихідні дані:
А1 = 106
мм; А2 = 35
мм;
А3 = 10
мм; А4 = 3
мм; А5 = 2
мм.
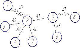
Рис. 2.10 Розмірна схема
Рис. 2.11 Похідний граф
Рис. 2.12 Вихідний граф
Рис. 2.13 Сумісний граф
Складемо розмірні ланцюги і вирішимо ці рівняння.
1. Ланцюг двох ланковий:
А
=S
S
=106
мм
. Ланцюг три ланковий:
=S
-S
Z
=3мм S
=106
мм
=S
-S
3=S
-106 S
=106+3=109мм
Визначаємо допуск на S
за 12 квалітетом з граничними відхиленням по h12:
=0,35мм,
S
=S
=S
-TS
=109+0,35=109,35мм.
S
=109,35
мм
Визначимо номінальний розмір на відхилення припуску.
=S
-S
=109,35
-106
=3,35
мм
Відкіля Z
=3,35-0,35=3мм
. Ланцюг три ланковий:
=З
-S
Z
=3мм S
=109,35
мм
ЕSЗ
=1мм, ЕIЗ
=1мм
=З
-З
3=З
-109,35
З
=109,35+3=112,35мм
З
=З
+ЕIЗ
З
=З
-ЕIЗ
=112,35-(-1)=113,35мм
З
=113,35
1мм
Визначаємо номінальний розмір на відхилення припуску.
=З
-S
=113,35
1-109,35
=4
мм
Відкіля Z
=4-1=3мм
. Ланцюг три ланковий:
4
= S2 - S
; А4 = 3
мм; S
=106
мм
=106 - S
; S
=106 -3 =106 мм4 = ESS2 - EIS
; EIS
= ESS2 - ESA4= 0 - 0,5 =-0,5мм4 = EIS2
- ESS
; ESS
= EIS2 - EIA4 = - 0,1 - 0 = -0,1 мм
= 106
мм
. Ланцюг три ланковий:
=
S2 - S
; А4 = 10
мм;
S
=106
мм
=106 - S
; S
=106 -10 =96 мм
= ESS2 - EIS
;
EIS
= ESS2 - ESA
=
0 - 0,5 =-0,5мм
= EIS2 - ESS
;
ESS
= EIS2 - EIA
= - 0,1 - 0 = -0,1 мм
= 96
мм
. Ланцюг три ланковий:
=
S2 - S
; А4 = 35
мм;
S
=106
мм
=106 - S
; S
=106 -35 =71 мм
= ESS2 - EIS
;
EIS
= ESS2 - ESA
=
0 - 0,5 =-0,5мм
= EIS2 - ESS
;
ESS
= EIS2 - EIA
= - 0,1 - 0,5 = -0,6 мм
= 71
мм
. Ланцюг три ланковий:
=
S2 - S
; А
= 2
мм; S
=106
мм
=106 - S
; S
=106 -2 =104 мм
= ESS2 - EIS
;
EIS
= ESS2 - ESA
=
0 - 0,5 =-0,5мм
= EIS2 - ESS
;
ESS
= EIS2 - EIA
= - 0,1 - 0 = -0,1 мм
= 104
мм
2.3.6 Вибір верстатів, різального інструмента,
контрольно-вимірювального інструменту
.3.6.1 Вибір верстатів, різального інструмента,
контрольно-вимірювального інструменту для виготовлення корпусу
Вибрані металорізальні верстати, оснастка, різальний та
вимірювальний інструменти для виготовлення корпуса зводимо в табл. 2.3.
Таблиця 2.3
Верстати, оснастка, різальний та вимірювальний інструменти
|
№ оп
|
Металорізальний верстат
|
Верстатне пристосування
|
Різальний інструмент
|
Вимірювальний інструмент
|
010 Токарно-гвинторізний верстат
1А616 Максимальний діаметр деталі 320мм; Максимальна довжина деталі 710мм,
частота обертання шпинделя n=9...1800хв-1, подача супорта s=0,065...0,91мм/хв;
Потужність приводу N=4кВт. Патрон токарний трьохкулачковий ГОСТ 10126-73,
зовнішній діаметр D=250 мм Різець токарний прохідний упорний прямий з
пластиною із твердого сплаву ГОСТ 18878-73 h=25 мм; b=25 мм; l=120 мм;
=900
Різець токарний розточний з пластиною із
твердого сплаву ГОСТ 19376-75=25 мм;=20 мм;=120 мм;
=900
Різець токарний підрізний прямий з пластиною з
твердого сплаву ГОСТ 18878-73=25 мм;=20 мм;=120 мм;
=90°Електронний
штангенциркуль TESA ShopCAL діапазон вимірювання250мм,
дискретність цифрової шкали 0,001мм
|
Калібр-пробка на діаметр Æ150Н7, Æ72Н7.
|
|
|
|
015
|
Вертикально-фрезерний верстат 6Р12 частота обертання
шпинделя n=31,5..1600 хв-1; sпрод= 25..1250 мм/хв; Потужність N=7,5 кВт
|
Верстатне пристосування
|
Торцева насадна фреза з вставними пластинами з
твердого сплаву ГОСТ 24359-80 D=150 мм; L=85 мм; d=25 H7; z=10
|
Електронний штангенциркуль TESA ShopCAL діапазон
вимірювання250мм, дискретність цифрової шкали 0,001мм
|
|
020
|
Вертикально - свердлувальний верстат 2Н125,
найбільший діаметр сверлування в стали 25 мм, частота обертання шпинделя
45-2000 об/хв, подача шпинделя 0,1-1,6 мм/об, потужність привода 2,2 кВт.
|
Верстатне пристосування
|
Свердло спіральне з циліндричним хвостовиком Æ6,7, Æ5 ГОСТ 10903-77 Зенкер з
конічних хвостовиком Æ5, ГОСТ 12489-67
|
Електронний штангенциркуль TESA ShopCAL діапазон
вимірювання250мм, дискретність цифрової шкали 0,001мм
|
2.3.6.2 Вибір верстатів, різального інструмента,
контрольно-вимірювального інструменту для виготовлення валу
Вибрані металорізальні верстати, оснастка, різальний та
вимірювальний інструменти для виготовлення вала зводимо в табл. 2.4.
Таблиця
2.4
Обладнання ріжучий, та вимірювальний інструмент
|
№ оп
|
Металорізальний верстат
|
Верстатне пристосування
|
Різальний інструмент
|
Вимірювальний інструмент
|
|
010
|
Токарно-гвинторізний верстат 1А616 Максимальний
діаметр деталі 320мм; Максимальна довжина деталі 710мм, частота обертання
шпинделя n=9...1800хв-1, подача супорта s=0,065...0,91мм/хв; Потужність
приводу N=4кВт.
|
Патрон токарний трикулачковий ГОСТ 10126-73
|
Різець токарний прохідний упорний прямий з пластиною
з твердого сплаву ГОСТ 18878-73 Ь=20 мм; Ь=12 мм; 1=120 мм; р=90° Різець
токарний підрізний прямий з пластиною з твердого сплаву ГОСТ 18878-73 п=20
мм; Ь=25 мм; 1=240 мм; р=90°
|
Електронний штангенциркуль TESA ShopCAL діапазон
вимірювання250мм, дискретність цифрової шкали 0,001мм
|
|
025
|
Вертикально-фрезерний верстат 6Р12 частота обертання
шпинделя n=31,5..1600 хв-1; sпрод= 25..1250 мм/хв; Потужність N=7,5 кВт
|
Спеціальний пристрій; пневматичні лещата
|
Шпонкова фреза 4N9,5N9 ГОСТ 9140-78
|
Калібр 4N9, 5N9 ГОСТ 24110-80 Точн. - 0.01
|
|
030
|
Круглошліфувальний верстат 3М150 Найбільші розміри
встановлюваної заготовки: діаметр: 200 мм; довжина: 700 мм; Найбільший
діаметр шліфування: 60 мм; Найбільша довжина шліфування: 700 мм; Найбільші
розміри шліфувального кола: 600мм; Частота обертання шпинделя шліфувального
кола: 1590 об/хв; Потужність електродвигуна: 10 кВт;
|
Обертовий центр
|
Білий електро-корунд ГОСТ 2424-83 D=32-150;
H=2,5-100; d=6-5
|
Калібр-скоба ГОСТ 18362-73 Точн. - 0.01 Електронний
штангенциркуль TESA ShopCAL діапазон вимірювання250мм, дискретність цифрової
шкали 0,001мм
|
2.3.7 Вибір та розрахунки режимів різання
.3.7.1 Вибір та розрахунки режимів різання для виготовлення
корпусу
Чорнове точіння поверхні 13.
Глибина різання
Визначимо подачу у залежності від діаметра деталі (d1=150
мм), глибини різання (t1max=0,69 мм) та перетину держака b´h=20´25
мм S=0,5 мм/об. Враховуючи, що в якості заготовки прийнятий лиття, тобто
малоймовірність різання з ударами, приймаємо остаточно робочу подачу S=0,5
мм/об.
Швидкість різання:
;(2.11)
де
- розрахунковий коефіцієнт;=0,2; x=0,15; y=0,35-
показники степені;
-
розрахунковий емпіричний коефіцієнт,
де
- коефіцієнт, враховуючий вплив фізико-механічних
властивостей оброблюємого матеріалу на швидкість різання;
-
коефіцієнт впливу стану поверхні заготовки;
-
коефіцієнт впливу інструментального матеріалу;
Т-стійкість різця, хв. Т=60хв. При одно інструментальній обробці.
Тоді kv= 1×1× 0,22= 0,22
Тоді швидкість різання буде:
Сила різання
z=10×Сp×tx×sy×Vh×kp;(2.12)
де значення коефіцієнтів та показники ступенів приймаємо за довідником:
x=1,0; y=0,75; h= -0,15; kp=0,652.
Визначаємо силу різання
уmax=10×Сpmax×tmaxx×sy×uh×kp(2.13)
Приймаємо Сpmax=1,1×Сp=1,1×243=267.
Загальний поправочний коефіцієнт на силу різання визначаємо за формулою
kр= kjр×kλр×kγр×krр.
Де
jр=0,5;
kλр=1; kγр=1,
krр при обробці твердосплавними інструментами не враховуємо. Тоді kр=0,5×0,32=0,16
Pуmax=10×267×0,691×0,50,75×43,3-0,15×0,16=1022 Н
Потужність різання:
(2.14)
кВт.
Напівчистове точіння
Глибина різання
технічний технологічний конструктивний насос
Визначимо подачу у залежності від діаметра деталі (d1=150
мм), глибини різання (t2max=0,17 мм) та перетину держака b´h=20´25
мм S=0,5 мм/об. Враховуючи, що в якості заготовки прийнятий лиття, тобто
малоймовірність різання з ударами, приймаємо остаточно робочу подачу S=0,5
мм/об.
Швидкість різання:
Сила різання
уmax=10×267×0,171×0,50,75×53,5-0,15×0,16=238 Н
Потужність різання:
кВт
Чистове
точіння
Глибина різання
Визначимо подачу у залежності від діаметра деталі (d1=150
мм), глибини різання (t3max=0,05 мм) та перетину держака b´h=20´25
мм S=0,55 мм/об. Враховуючи, що в якості заготовки прийнятий лиття, тобто
малоймовірність різання з ударами, приймаємо остаточно робочу подачу S=0,5
мм/об.
Швидкість різання:
Сила різання
уmax=10×267×0,051×0,50,75×64,3-0,15×0,16=68,4 Н
Потужність різання:
кВт
Фрезерування:
Глибина фрезерування t=2 мм;
Ширина фрезерування В=25 мм;
Подача на зуб sz=0,05 мм/зуб
на оберт s=sz×z=0,05×10=0,5 мм/об
Швидкість фрезерування
(2.15)
де розрахункові коефіцієнти
v=332;
q=0,2; x=0,1; y=0,4; u=0,2; r=0,0; m=0,2
Поправочний коефіцієнт kv=0,65
Частота обертання фрези
(2.16)
Окружна сила різання:
(2.17)
де розрахункові коефіцієнти
ср=68,2; x=0,86; y=0,72; u=1,0; q=0,86;w=0; kMp=0,68;
.
Потужність різання:
кВт.
Свердлування:
Глибина різання t=0,5×D=0,5×6,7=3,35 мм;
Подача s=0,15 мм/об;
- Швидкість різання
(2.18)
де розрахункові коефіцієнти
сv=14,7; q=0,25; y=0,55; m=0,125; kv=0,72; х=0.
м/хв
Обертовий момент
(2.19)
де розрахункові коефіцієнти
=0,012;
q=2,2; y=0,8;
Поправочний коефіцієнт на силу різання
Мкр=10×0,0345×6,752×0,150,8×0,22=0,75 Н×м
Частота обертання свердла:
(2.20)
.
Потужність різання:
(2.21)
кВт.
2.3.8.2 Вибір та розрахунки режимів різання для
виготовлення валу
Токарна
Чорнове точіння:
Глибина різання
Визначимо подачу в залежності від діаметра деталі (d1=12 мм), глибини
різання (tmax=1,2 мм) та перетину держака b´h=20´25 мм
S=0,5 мм/об. Враховуючи, що в якості заготовки прийнятий лиття, тобто
малоймовірність різання з ударами, приймаємо остаточно робочу подачу S=0,2
мм/об.
Швидкість різання:
v= 1×1× 2= 2
м/хв.
Сила різання
=1,0; y=0,75; h= -0,15; kр =0,652
Сpmax=1,1×Сp=1,1×243=267
jр=0,5; kλр=1; kγр=1
Тоді kр =1,7×0,5=0,85уmax=10×267×1,21×0,20,75×527 -0,15×0,85=318 Н
Потужність різання:
.
Чистове точіння:
Глибина різання
Визначимо подачу в залежності від діаметра деталі (d1=12 мм), глибини
різання (tmax=0,4 мм) та перетину держака b´h=20´25 мм
S=0,5 мм/об. Враховуючи, що в якості заготовки прийнятий лиття, тобто
малоймовірність різання з ударами, приймаємо остаточно робочу подачу S=0,2
мм/об.
Швидкість різання:
v= 1×1× 2= 2
м/хв.
Сила різання
=1,0; y=0,75; h= -0,15; kр =0,652
Сpmax=1,1×Сp=1,1×243=267
jр=0,5; kλр=1; kγр=1.
Тоді kр=1,7×0,5=0,85уmax=10×267×0,31×0,20,75×622 -0,15×0,85=77 Н
Потужність різання:
.
Тонке точіння:
Глибина різання
Визначимо подачу в залежності від діаметра деталі (d1=12 мм), глибини
різання (tmax=0,2 мм) та перетину держака b´h=20´25 мм
S=0,5 мм/об. Враховуючи, що в якості заготовки прийнятий лиття, тобто
малоймовірність різання з ударами, приймаємо остаточно робочу подачу S=0,2
мм/об.
Швидкість різання:
v= 1×1× 2= 2.
м/хв.
Сила різання
=1,0; y=0,75; h= -0,15; kp=0,652
Сpmax=1,1×Сp=1,1×243=267
jр=0,5; kλр=1; kγр=1.
Тоді kр=1,7×0,5=0,85уmax=10×267×0,21×0,20,75×690 -0,15×0,85=50,9 Н
Потужність різання:
кВт
Фрезерування:
Глибина фрезерування t=6 мм;
Ширина фрезерування В=4 мм;
Подача s=1,6 мм/об
Швидкість фрезерування
(2.22)
де розрахункові коефіцієнтиv=46,7; q=0,45; x=0,5; y=0,5;
u=0,1; r=0,1; m=0,33.
Поправочний коефіцієнт kv=0,65
Частота обертання фрези
Окружна сила різання:
(2.23)
де розрахункові коефіцієнти
ср=68,2; x=0,86; y=0,72; u=1,0; q=0,86;w=0;
=0,68
Н
Потужність різання:
кВт
Шліфування:
Швидкість круга uкр=35 м/с;
Швидкість заготовки uз=30 м/хв;
Глибина шліфування t=0,02 мм;
Подовжня подача s=10 мм/хв.
Ефективна потужність при шліфуванні периферією круга з подовжньою
подачею:
(2.24)
де розрахункові коефіцієнти:
=1,3;
r=0,75; x=0,85; y=0,7
Тоді:
кВт.
2.2.8 Техніко-економічне нормування операцій
Норму часу визначають на основі технічного розрахунку та аналізу,
виходять з умов можливого більш повного використання технічних можливостей
обладнання та інструменту у відповідних з потребами до обробки даної деталі.
Технічна норма часу, яка визначає втрату часу на обробку, служить
основою для сплати праці, калькуляції собівартості деталі. На основі
технологічних норм розраховується тривалість виробничого циклу, необхідна
кількість верстатів, робочих, визначається потужність цехів.
Технічна норма часу
(2.25)
де ТШ. М.- норма штучного часу, хв;
Норма штучного часу, хв
ТШ= Т0+ Тв+ Ттех+ Торг+
Тп (2.26)
де ТО- основний (технічний) час, хв.;
Тв- допоміжний час, хв.
Ттех- час техобслуговування робочого місця, хв.
Торг- час організації роботи, хв.
Тп- час перерв, хв.
Роздивимося нормування свердлильної операції при обробці поверхні 14.
Основний час на свердлення одного отвору Т0=L/s=14
мм/0,15мм/об×1200 об/хв. = 0,1 хв.
Основний час на свердлення 8 отворів SТ0=8×0,1=0,8
хв.
Допоміжний час Тв=1,6 хв.
Час на обслуговування робочого місця
Ттех=0,02× SТ0=0,02×0,8= 0,02 хв.
Торг=0,15 хв.
Час перерв Тп=0,06×
SТ0=0,06×0,8= 0,01 хв.
Штучний час:
ТШ= 0,8+1,6+0,02+0,15+0,01= 2,58 хв.
Підготовчо-заключний час
Тпз=8 хв.
Технічна норма часу при n=6300 шт.
хв.
3. КОНСТРУКТИВНА ЧАСТИНА
.1 Проектування спеціального технологічного оснащення
Верстатні пристосування застосовують для установки заготовок
на метало ріжучі верстати. Відповідно до ЄСТПП розрізняють три види верстатних
пристосувань: спеціальні (одно цільові, не переналагоджуємі), спеціалізовані
(вузко цільові, обмеженого переналагоджування), універсальні (багатоцільові,
широко переналагоджувальні).
Обґрунтоване застосування верстатних пристосувань дозволяє
одержувати високі техніко - економічні показники, а саме: точність обробки
деталей по параметрам відхилень розмірів, форми і розташування поверхонь
збільшується в середньому на 20-40%. Застосування верстатних пристосувань
дозволяє обґрунтовано понизити вимоги до кваліфікації верстатників основного
виробництва (в середньому на розряд), об’єктивно регламентувати тривалість
виконуємих операцій, розширити технологічні можливості устаткування.
Спроектуємо спеціальне верстатне пристосування для
закріплення заготовки для цього проведемо патентний пошук.
3.2 Патентний аналіз конструкцій пристосувань
Винахід [3] відноситься до затискних пристосувань
металорізальних верстатів, використовуваних у машинобудуванні. Тиски (рис. 3.1)
містять корпус 1, нерухому 2 і рухливу 3 губки, ходовий гвинт 4, підсилювач, що
складається зі шпинделя 6, пакета тарілчастих пружин 13, натискного гвинта 9 з
рукояткою 10 і підсилювального механізму 15, 15, 16. Натискний елемент 8
з'єднаний з рухливою губкою 3 з боку рукоятки 10, що спрощує конструкцію.
Натискний елемент 8 закріплений на шпинделі 6, що закріплений на ходовому
гвинті 4 без можливості обертання, але з можливістю осьового переміщення. При
затиску деталі ходовий гвинт 4 зміщається щодо шпинделя 6, пакет тарілчастих
пружин 13 стискується, виступ 11 виходить із зачеплення з пазом 12. Момент, що
крутить, від рукоятки 10 перестає передаватися на шпиндель 6 і ходовий гвинт 4.
Шпиндель 6 і ходовий гвинт 4 зупиняються, а натискний гвинт 9, продовжуючи рух,
затискає деталь через підсилювальний механізм 15, 15, 16. Пакет тарілчастих
пружин 13 працює як перевантажувальна муфта з геометричним замиканням через
виступ 11 і паз 12 і як акумулятор енергії затиску. Пропонований пристрій
рекомендується для модернізації найбільш простих фрезерних тисків, що
випускаються в умовах масового виробництва, тому що має просту конструкцію,
високу надійність і технологічність, а також завдяки тому, що підсилювач
кріпиться з зовнішньої сторони рухливої губки і не вимагає переробки
технологічного процесу вироблених тисков.
Рис. 3.1 Затискне пристосування
Винахід [4] відноситься до машинобудування, до пристроїв для затиску
оброблюваних деталей. Тиски (рис. 3.2) містять корпус 1, нерухому 2 і рухливу 3
губки, гідравлічний механізм - підсилювач, що складається з циліндра 4 і поршня
5 з штоком 6, який пов'язаний з губкою 3, силовий привід у вигляді пнемо
циліндра 8 з поршнем 9 шток 10 якого є плунжером механізму - підсилювача.
Лещата мають додатковий поршень 13, який може переганяти рідину з порожнини в
поршні 9 в порожнину 11, додатковий плунжер 14 і перевантажувальну муфту 18.
При затиску деталі спочатку поршень 13 підводить губку 3 до деталі а потім
поршень 9 затискає деталь. Муфта 18 і плунжер 14 служать для синхронізації
роботи поршнів 9 і 13. Лещата забезпечені пристроєм, що подає звуковий сигнал
при аварії або послаблені сили затиску деталі. Включення звукового сигналу
забезпечує плунжер 14. Як енергія звукового сигналу використовується стисле
повітря. Тиски мають невеликі габарити по довжині і забезпечують підвищену
безпеку праці
Рис. 3.2 Затискне пристосування
Використання [5]: винахід відноситься до затискних пристосувань
металорізальних верстатів. Сутність: тиски (рис. 3.3) містять корпус 1,
нерухому 2 і рухливу 3 губки, клиновий замок рухливої губки, що представляє
собою повзун 5, закріплений на ходовому гвинті 6, шарнірно-підоймову раму, що
складається з вільно і похило встановленого в корпусі стрижня 7, на кінцях
якого шарнірно закріплені два різноплечіх двух плечевих важелі - важіль 8
закріплений у корпусі 1 і в нерухомій губці 2, а важіль 9 шарнірно зв'язаний з
корпусом і рухливою губкою 3 через гайку 10 ходового гвинта 6.
Рис. 3.3 Затискне пристосування
Винахід [6] відноситься до верстатобудування і може бути використане в
затискних пристосуваннях металорізальних верстатів або рухливих столів
верстатів, де потрібен швидкий прохід неодруженого ходу. Метою винаходу є
спрощення конструкції. Зазначена мета досягається за рахунок іншого виконання
механічного керуючого пристрою, що виконано у виді штифта з наскрізним отвором,
встановленого в одному з радіальних отворів ексцентрикового кулачка і виступ,
що має, на одному зі своїх торців, одна з бічних поверхонь якого
перпендикулярна цьому торцеві, а інша розташована під кутом до нього, кільцевої
пружини, розміщеної в канавці, і двох подовжніх пазів, виконаних на гвинті,
форма поверхні кожного з яких відповідна поверхні виступу штифта. Пази гвинта
призначені для почергової взаємодії з виступом, а форма отворів у гайці являє
собою два на пів циліндри, на одному з яких виконана різьблення, призначене для
взаємодії з різьбленням гвинта.
Винахід [7] відноситься до машинобудування, а саме до пристроїв для
затиску оброблюваних виробів. Суть винаходу: верстатні тиски (рис. 3.4),
містять корпус 1 з тими, що направляють 4, нерухому губку 2, встановлену на
корпусі, рухливу губку 3, встановлену з можливістю переміщення по тих, що
направляють гідропривід з циліндром 5, закріпленим в нерухомій губці, і поршнем
з штоком 6, ходовий гвинт 7, сполучений одним кінцем з штоком, утворюючи
гвинтову пару з можливістю переміщення по штоку, а іншим з рухливою губкою
через різьбову втулку, двоплечий важіль 9, встановлений на різьбовій втулці 8
при цьому одне плече важеля сполучене з корпусом, а інше плече - з рухливою
губкою, на бічній поверхні одного з плечей важеля виконано клинове гніздо, само
встановлюючий елемент 12, розміщений на рухливій губці з можливістю взаємодії з
похилою поверхнею клинового гнізда важеля.
Винахід [8] відноситься до машинобудування, для точної установки і
затиску оброблюваних деталей.
Рис. 3.4 Затискне пристосування
Суть винаходу: прецизійні тиски (рис. 3.5) містять корпус 1 з
тими, що направляють А, закріплену в нім нерухому губку 2, рухливу губку 3 з
прямокутним пазом Би, розміщену на тих, що направляють А корпуси, повзун 4
зв'язаний через ходовий гвинт 5 з приводом 6 і встановлений в пазу Б з
можливістю взаємодії своєю похилою поверхнею з рухливою губкою 3 через клинову
планку 11, встановлену на осі 12, паралельною ходовому гвинту 5. У повзунові
виконаний циліндровий отвір вісь якого перпендикулярна осі клинової планки 11 і
розташована в плоскості паралельно плоскість переміщення повзуна. Циліндровий
палець 8 з лиською, створюючи похилу поверхню повзуна, розміщений в
циліндровому отворі з можливістю само-встановлювання щодо клинової планки.
Рис. 3.5 Затискне пристосування
Проводячи патентний пошук по Україні та інших держав,
проаналізувавши нормативно - технічну літературу, стандарти, типові конструкцій
пристроїв, можна зробити висновок, що, елементи конструкцій пристосувань
повинні бути стандартні, крім того розроблене верстатне пристосування по
можливості використовувати для великої кількості типорозмірів і видів обробки.
Тому, проектуванню конструкцій спеціальних пристосувань повинно здійснюватись
ретельне вивчення вже розроблених типових конструкцій, а проектування, як
правило, зводиться до розробки конструкції, яка складається із стандартних
елементів з мінімальною кількістю оригінальних деталей.
3.3 Розробка та обґрунтування принципу дії пристрою та його
розрахункової схеми
Тип виробництва крупносерійний, тому згідно рекомендаціям
пристрій повинен мати механізований привід затискування, а саме гідравлічний
або пневматичний гідропривід. Розробимо пристосування для свердлувальної
операції. Для обраного пристосування (рис. 3.6) сила закріплення заготовок
визначається за формулою:
о=10×Сp×Dq×Sy×kp;(3.1)
де D - діаметр свердлування, мм; S - подача, мм/об; kp
- коефіцієнт.
Сp=42, q=1,2, y=0,75, kp=(170/190)0,4=1,045,о=10×42×81,2×0,150,75×1,045=1,28кН.
Рис. 3.6 Схема затискного пристосування
Щоб забезпечити задану силу затискання, повинна діяти певна
сила Q:
(3.3)
Діаметр пнемо циліндра визначається за формулою:
;(3.3)
де
- тиск повітря у пнемо циліндрі;
-
коефіцієнт корисної дії пнемо циліндра.
м=51,3м
Приймаємо стандартний пнемо циліндр з діаметром циліндру D=63мм.
Діаметр штоку d=16мм.
4. ПРОЕКТУВАННЯ ЦЕХУ
.1 Аналіз вихідних даних для проектування цеху
Вихідними даними для проектування цеху є виробнича програма,
тип виробництва, режими роботи обладнання, фонди часу, технологічний процес
виготовлення деталей, трудомісткість виготовлення та збирання вузлів.
На підставі аналізу вихідних даних визначається склад цеху.
До складу відносять виробничі, допоміжні відділення та підсобні приміщення.
Проектування цеху проводиться за крупними показниками
незалежно від програми і типу виробництва.
В даному дипломному проекті річна програма випуску деталей
6300шт. Тип виробництва, згідно проведеним розрахункам - крупносерійний.
Склад виробничого відділення визначається в залежності від
прийнятого виду виробництва, в даному випадку - груповий
До складу додаткових і допоміжних приміщень входять:
інструментальне господарство (інструментально-роздавальний
склад);
склад готових виробів та заготовок;
відділення заточування інструментів;
майстерня по ремонту пристосувань;
ремонтне відділення цеху;
відділення по переробці стружки;
контрольне відділення;
ділянка термічної обробки.
Інструментально-роздавальний склад використовується для
постачання робочих місць інструментом і пристосуванням. Склад розташовано в бік
від головного виробничого обладнання, де розташовані і інші допоміжні
відділення. Для зберігання інструменту та пристосувань склад обладнано
стелажами.
Заточування інструмента відбувається у відділеннях заточних
майстерень, які відділяються скляними перегородками.
Виконання усіх ремонтних робіт відбувається силами ремонтно -
механічної ділянки цеху, яка знаходиться у веденні головного механіка заводу.
Стружку у цеху збирають в окремі короби і за допомогою візків
вивозять у відділення для переробки, яке розташоване в окремому приміщені
заводу.
Контрольне відділення розташовується у кінці механічного цеху
по шляху руху деталі у складальний цех. Окрім цього, передбачено контрольний
стіл, на якому відбувається перевірка деталей.
Ділянка термічної обробки розташована в ізольованому
приміщені.
4.2 Розрахунок необхідного обладнання цеху
.2.1 Головне виробниче обладнання
При проектуванні технологічних процесів була розроблена необхідна
кількість обладнання для кожної операції і визначені його технічні
характеристики.
Визначимо кількість основного обладнання:
Кількість верстатів для токарної операції:
Кількість верстатів для токарної операції:
шт.
Кількість верстатів для свердлувальної операції:
шт.
Кількість верстатів для фрезерувальної операції:
шт.
Кількість верстатів для шліфувальної операції:
шт.
Прийнята кількість робочих місць з врахуванням виготовлення інших
деталей насоса:
по розточувальній операції Р=2;
по свердлильній операції Р=1;
по фрезерувальній операції Р=1;
по шліфувальній операції Р=1.
Приймаємо наступне обладнання для виготовлення деталей насоса табл.
4.1.
Таблиця 4.1
Головне
виробниче обладнання
|
№
|
Найменування обладнання
|
Кількість обладнання
|
|
1
|
Вертикально-фрезерний верстат 6Р12
|
1
|
|
2
|
Токарно-гвинторізний верстат 1А616
|
2
|
|
3
|
Вертикально-сверлильний станок 2Н125
|
1
|
|
4
|
Кругло шліфувальний станок 2М150.
|
1
|
Загальна кількість 5 верстатів
4.2.2 Допоміжне обладнання
Окрім головного виробничого обладнання, використовується і
додаткове обладнання. До допоміжного обладнання відноситься обладнання заточного
відділення, відділення ремонту обладнання та пристосувань і заготовте
обладнання.
Заточних верстатів, приймаємо 5% від кількості верстатів, які
обслуговуються заточенням.
В нашому випадку приймаємо 1 заточний верстат для обслуговування
верстатів
Обладнання для доводки інструменту приймаємо рівним 0,5 заточних
верстатів,
Приймаємо 1 верстат для доводки інструменту.
Кількість метало ріжучого верстата для обслуговування обладнання для
ремонтного відділення приймаємо від 2 до 7% від кількості обладнання цеху.
Приймаємо 1 метало ріжучий верстат.
4.2.3 Підйомно-транспортне обладнання
Для транспортування заготовок і готових виробів в механічному цеху
передбачається :
ручні візки;
електричні візки;
тельфер.
Ручні візки використовують для пересування вантажу в середині цеху (від
верстату до верстату). Кількість ручних візків вантажо під’ємністю 50кг
приймаємо 1шт.
Зручним цеховим транспортом є електричні візки. Вони прості в керуванні
і безшумні, завдяки чому їх широко використовують на заводах. Електровізки
приводяться у рух електродвигунами, які живляться від акумуляторної батареї.
Визначимо кількість електровізків за формулою:
;(4.1)
де Q - річний обсяг перевезень
-
коефіцієнт нерівномірності;
-
коефіцієнт використання вантажо під’ємності
-
вантажо під’ємність візка, т
-
річний фонд часу роботи обладнання
-
загальний час пробігу електровізка, хв.
т
(4.2)
хв
Приймаємо 1 електровізок.
Електровозики використовуємо при транспортуванні заготовки від верстату
до верстата, та при безпосередній її установці.
4.3 Розрахунок площі цеху
.3.1 Виробнича площа
Цех по виробництву насосів обмежується в повздовжньому напрямку двома
паралельними рядами колон. Відстань між осями колон в повздовжньому напрямку 6
метрів. Відстань між осями колон поперечному та повздовжньому напрямку
утворюють сітку колон 15х6м.
Довжина цеху складає 12м. Висота 6м.
Металорізальні верстати цеху розташовуємо у порядку металічного
процесу.
Відстань між боковою стороною верстата до стіни приймемо 800мм., між
тильною стороною верстата і стіною 1000мм.
Розміри головних повздовжніх проїздів з розрахунком габаритів
електровізків приймаємо 1500мм.
Для безперебійної роботи верстатів встановлюємо склади заготовок та
готової продукції
Загальна виробнича площа, приймаємо до уваги площу, яку займають тільки
верстати та зона іх обслуговуваня.
(4.3)
4.3.2 Допоміжна площа
Так, як у заготівельному приміщені знаходяться відрізні верстати,
ножівки, фрезерувальні та обдирний верстат то загальна площа заготівельного
відділення складає.
Так, як кількість загальних кількість верстатів складає 6, то
приймаємо кількість заточувальних верстатів:
Приймаємо 1 заточний верстат.
Кількість доводочних верстатів
Приймаємо 1 доводочний верстат.
Загальна площа інструментального відділення складає.
Кількість верстатів для ремонту інструмента та пристосувань
Приймаємо 1 верстат.
Загальна площа відділення для ремонту інструмента та пристосувань
складає
Згідно довідкових даних приймаємо площі комор:
Інструментально- роздавальна
пристосувань
інструментального оснащення
Згідно довідкових даних приймаємо загальну площу контрольного
відділення
Згідно довідкових даних приймаємо загальну площу відділення мастило -
охолоджуючих середовищ
Площа складу становить
;(4.4)
де А - запас збереження металу, заготовок, напівфабрикатів.- загальна
вага сировини, що проходить через склад.
-
коефіцієнт використання площі складу;
-
допустиме середнє вантажо напруження площі складу, т/м
Приймаємо
Згідно довідкових даних приймаємо загальну площу складу мастил
Загальна допоміжна площа складає:
20+0,3+0,3+10+10+0,2+0,2+0,5+8,7+5+10=65,2
Площу приміщень в середньому вибирають із розрахунку 4
на одного службовця на одне робоче місце - в робочих
кімнатах технологічного і конструкторського бюро.
Визначаємо виробничий і допоміжний персонал цеху. Який складається із 1
зміни:
Розрахунок загальної чисельності основних робітників
;(4.5)
де
- прийнята загальна кількість верстатів, шт
-
середній коефіцієнт завантаження верстатів
-
коефіцієнт, що враховує додаткові витрати ручної праці
-
- коефіцієнт багатоверстатного обслуговування
-
дійсний річний фонд робочого часу робітника
Приймаємо 7 робітників.
Чисельність допоміжних працівників приймаємо в залежності від умови
виробництва.
робітника
Визначаємо виробничий і допоміжний персонал цеху. Який складається із 1
зміни:
ОПР: верстатники 7 чоловіки;
контролер 1 чоловік;
майстер 1 чоловік.
ВПР: ремонтник 3 чоловік;
електрик 1 чоловік;
слюсар1 чоловік;
комірник-ремонтник 1 чоловік.
Розрахунково-конструкторський персонал (РКП) складає 14-18% від
загальної кількості робітників. Тоді РКП дорівнює 2 чоловіка.
Інженерно-технічний персонал (ІТР) складає 10-12% від загальної
кількості робітників: ІТР =2 чоловік
Кабінет начальника цеху 6,6
Дільниця майстра 3,5
Технологічне бюро 10
Кабінет енергетика цеху 3,5
Побутові приміщення 20
Таким чином, на основі розрахунків необхідного обладнання виробничої,
додаткової площі. Побутові приміщень і конторських помешкань, спроектований
цех, який представлений на кресленні 322.00.00 ПЦ.
5. АВТОМАТИЗАЦІЯ ТЕХНОЛОГІЧНИХ ПРОЦЕСІВ
.1 Аналіз об'єкту керування
.1.1 Короткий опис об’єкту керування
Об'єкт автоматизації - фрезерний верстат 6Р12, який
призначений для виконання фрезерувальних робіт. Наявність напівавтоматичних
циклів та автоматичних циклів дозволяє використовувати верстат на роботах
операційного характеру в потокових та автоматичних лініях.
Верстат має поворотний стіл, тому на ньому можна фрезерувати
гвинтові канавки, шпонкові пази, та виконувати різні операції. Компенсуючий
пристрій у механізмі поздовжньої передачі дозволяє вибирати люфт між ходовим
гвинтом та гайкою та виконувати на верстаті фрезерування по подачі [16].
Головний рух
Шпиндель отримує обертовий рух від електродвигуна через муфту
та зубчасті колеса коробки швидкостей. Шпинделю можна надати 18 різних частот
обертів. Зміна напрямку обертання шпинделя відбувається завдяки реверсивним
властивостям електродвигуна. Електродвигун має потужність 7кВт, видає 1000
об/хв, завдяки характеристик та за допомогою коробки швидкостей, шпиндель може
обертатися з частотою 16…1600 об/хв.
Стіл з закріпленою заготовкою отримує переміщення в
повздовжньому, поперечному та вертикальному напрямках від самостійного
електродвигуна через коробку передач, зубчасті гідроциліндри та конічні колеса
і ходові гвинти. Завдяки двом рухомим блокам зубчастих коліс можна отримати 18
різних подач столу.
Електродвигун має потужність 4 кВт, видає 1460 об/хв завдяки
цим характеристикам, та за допомогою коробки подач, подача може відбутися зі
швидкістю від 20 мм/хв. до 1000 мм/хв.
Верстат автоматизований та може бути налагоджений на різні
цикли роботи: напівавтоматичні стрибкоподібні; напівавтоматичні чергуючи;
автоматичні маятникові.
Технологічні можливості верстата можуть бути розширені при
використанні ділильної головки, поворотного столу та інших пристроїв,
електричних обладнань. Заготовку затискають в центр ділильної головки, що
закріплена на столі верстату. Норми технічного режиму зводимо в табл. 5.1 [2].
Таблиця 5.1
Норми
технічного режиму
|
Назва об'єкту
|
Найменування технологічного параметра
|
Номінальне значення параметра
|
Припустиме відхилення
|
|
Швидкість обертання головного електродвигуна
|
об/хв
|
1000
|
1,5
|
|
Глибина різання
|
мм
|
5-0,01
|
0,1
|
|
Подача
|
мм/об
|
0,4
|
0,05
|
|
Швидкість різання
|
об/хв
|
40-200
|
1
|
5.1.2 Аналіз технологічних величин
У разі збільшення або зменшення швидкості обертання головного
двигуна більше 1000 об/хв., повинна спрацювати автоматика і відімкнути
електродвигун від електромережі. У разі виходу швидкості різання з граничних
параметрів застосовується реверсивний тиристорний електропривід постійного
струму, що контролює швидкість різання. Глибина різання та подача контролюється
оператором вручну.
5.2 Розробка системи керування технологічним процесом
.2.1 Призначення, цілі та автоматизовані функції системи
керування
Призначення розроблюємої системи керування процесом стабілізація
швидкості обертання та потужності шпинделя:
ведення технологічного процесу в заданому технологічному
режимі;
підвищення оперативності керування;
підтримка високопродуктивної роботи верстата
До основних цілей АСКТП належить:
збільшення продуктивності
зниження енергетичних витрат;
забезпечення надійності роботи
поліпшення умов праці виробничого персоналу.
Цілі, які повинна вирішувати АСКТП, досягаються при
виконанні, передусім обчислювальною технікою, ряду функцій, які за змістом дій
об’єднані в інформаційну і керуючу підсистеми.
Інформаційна підсистема призначена для представлення
технологічному персоналу оперативної, достовірної, обробленої відповідним чином
інформації про стан об’єкту керування. Інформаційна підсистема виконує наступні
функції:
збір і первинна обробка інформації;
контроль і вимірювання технологічних параметрів;
періодична реєстрація поточних значень вимірювальних
параметрів;
відображення значень технологічних величин за викликом
технолога-оператора;
контроль і сигналізація порушень, розрахунок
техніко-економічних показників;
контроль і облік стану технологічного обладнання.
Керуюча підсистема призначена для визначення та реалізування
керуючих дій на технологічний об’єкт і виконує наступні функції:
регулювання технологічних змінних;
оптимальне керування;
дистанційне керування виконуючими механізмами
5.2.2 Вибір комплексу технічних засобів
Електрообладнання верстата розташоване у шафі та у двох
тумбах та коробці; воно розраховане для роботи від мережі трифазного змінного
струму напругою 380 В, 50 Гц.
На верстаті встановлені двигуни А02 41-4-СПУЗ з потужністю 4
кВт, частотою обертання 1460 об/хв., та А1001 4УЗ з потужністю 2,2 кВт,
частотою обертання 1430 об/хв.
Пуск, зупинка, реверс електроприладів відбувається за
допомогою реверсивного магнітного пускача ПМЕ-012, для гальмування передбачена
електромуфта ЄТМ076-2А.
Для освітлення робочого столу та робочого місця передбачені
світильник типу СГС-1-2В з вимикачем типу МРТУ 16-535-04-66 з лампою
накалювання потужністю 60 Вт.
При наявності навантаження спрацьовує прилад-показник 38022 з
номінальним струмом 380В, 16А, 50Гц, він спрацьовує при короткому замиканні у
мережах верстата. При з’єднанні дротів використовується шпиндельні роз’єми
ШР20П37Ш7 та ШР20УЗНШ7.
Передбачене також пневматичне реле часу РВП-2121, запобіжник
різьбовий ПРС-6-П з плавкою вставкою ПВР-6 на 6А для усування короткого
замикання, 2 набори затискачів на 10КН-1016.
Для захисту та блокування передбачене теплове реле РТЕ.
Підключення до цехової системи заземлення на верстаті реалізовується за
допомогою спеціального болта-заземлювача.
5.2.3 Розробка системи стабілізації різання
Серед АСУ ТП металообробкою найбільше розповсюдження отримали
системи стабілізації режимів різання [17]. Різноманітні конструктивні рішення
сприяли багатьом розробкам, які забезпечують стабілізацію тих чи інших
параметрів.
Розроблена система буде вперше запропонована у дипломному
проекті, та в майбутньому, можливо, буде використана для фрезерувального
верстата 6606. Потреба в такій схемі раніше не виникала, тому що на
підприємстві завжди було вдосталь матеріалу для деталей та ріжучого
інструменту. На сьогоднішній день багато підприємств знаходяться у скрутному
стані, тому для них кожна копійка на рахунку і внесення пропозицій з метою
економії та поліпшення якості їм не завадить.
Стабілізація потужності різання може виконуватись двома
шляхами: за рахунок управління швидкістю електроприводу головного руху та за
рахунок управління швидкістю привода подачі.
Вимірювання потужності різання можна проводити тільки
вимірюванням потужності, яку споживає електродвигун головного руху з обліком
витрат потужності в двигуні на передачах верстата. Застосування для головного
привода верстатів асинхронних двигунів з короткозамкненим ротором потребує
отримання сигналу управління, пропорційного активній потужності, яка
споживається у мережі цими двигунами. Датчики, які виробляють ці сигнали,
будуються на принципах векторного додатка напруги, використання нелінійних
функціональних елементів.
На рис. 5.1 зображена схема, яка побудована на принципі
векторного додатку та використання квадраторів. Сигнал, який пропорційний
напрузі, знімається із вторинної обмотки трансформатора ТV1. Отримана система
векторів перетворюється за допомогою фазо-відчувальної схеми, яка складається з
трансформаторів ТV3 та ТV4 і вентилів VD1-VD4.
Функціональні перетворювачі складені на двох діодах VD5,
VD10, резистора R1, R8 вимірювання напруги PR1, PR2, наділені квадратичними
вольт амперними характеристиками при цьому струми в плечах схеми
дорівнюють[17]:
;(5.1)
де
- коефіцієнт, який характеризує параметри
трансформатора ТV1;
-
падіння напруги на переході емітер-колектор відкритого транзистора VT1 (чи
VT2).
Стум, який протікає через навантаження
дорівнює:
(5.2)
Звідки,
похибка вихідного сигналу такої схеми 2%.
Схема, робота якої основана на методі 4YM-AM.
В вузлах часового модулятора використовується мульті варіатор Ройєра на
трансформаторі VT2 та двох транзисторах VT1, VT2, які працюють в ключовому
режимі. Магнітний провід трансформатора VT2 виготовлений із матеріалу з
прямокутною петлею гістерезиса. На вхід годинно - імпульсного модулятора з
трансформатора струму ТА подається сигнал, пропорційний струму, який потрібно
вимірювати, на вхід амплітудного модулятора напруга трансформатора ТV1, яку
потрібно вимірювати. Перемагнічування магнітного проводу трансформатору ТV2
відбувається по повній петлі гістерезіса в межах кожного такту роботи. Час
перемагнічування в кожному такті визначається співвідношенням між
стабілізованою напругою
і напругою, що пропорційна струму І.
Власна частота мультивібратора Ройєра на 2 порядки більша за частоту
контролюємого ланцюга. Тривалість імпульсу напруги мультивібратора Ройєра при
відкритому транзисторі VT1 на позитивному на пів хвилі напруги
пропорційний струму:
;(5.3)
де
- коефіцієнт, який характеризує параметри
трансформатора ТV2;
-
падіння напруги на переході емітер-колектор відкритого транзистора VT1 (чи
VT2).
Тривалість імпульсу при відкритому транзисторі VT1 на негативній на пів
хвилі напруги
дорівнює:
(5.4)
Імпульси вихідної напруги мультивібратора Ройєра про модульовані по
тривалості напругою, яка знімається із вторинної обмотки трансформатора TV1.
При виникненні прямого струму в ланцюгах емітерів відповідних пар
транзисторів VT3, VT4 чи VT5, VT6 між виводами колектор - колектор даної пари
струм може проходити в будь-якому напрямку.
Середнє значення напруги на виході демодулятора.
(5.5)
Вираз можна записати з використанням припущення, що
та
постійні:
(5.6)
При синусоїдальній формі струму та напруги в контролюємому ланцюгу
середня напруга на виході датчика пропорційна напрузі:
(5.7)
Потужність різання визначаємо виразом
;(5.8)
де
- активна потужність, що споживається головним рухом;
-
витрати напруги у двигуна;
-
витрати напруги в передачах верстата.
Вище описані схеми датчиків, що раніше не використовувались для
верстатів фрезерувальної групи, а точніше для верстата 6Р12. Група входить у
систему стабілізації потужності різання і за використанням поста та без неї не
обійдися для досягнення поставленої задачі та взагалі роботи системи у цілому.
5.2.4 Опис функціональної системи керування
Ефективність системи автоматичної стабілізації потужності різання буде
тим вище, чим ширше межі виміру параметрів різання в процесі обробки. А такі
режими роботи характерні для нашого верстата, у якого при різанні значно
змінюється довжина контакту фрези із заготовкою.
Рис. 5.1 Функціональна схема стабілізації потужності різання фрезерного
верстата
На рис 5.1 і 5.2 зображена схема стабілізації потужності різання
фрезерного верстата для виміру швидкості подачі застосований комплексний
реверсивний теристорний електропривід постійного струму, що включає в себе:
двигун М2 з тахогенератором ВR, перетворювачем U, підсилювачем А1 і датчиком
швидкості RP2. Полярність напруження завдання визначається вмиканням реле К1,
К2, а прискореної і робочої подач - реле К3. Вимір потужності двигуна М1
головного приводу відбувається статичним перетворювачем потужності UW. Напруга
порівняння знімається з резисторів R1-R3 в залежності від стану контактів мікро
перемикачів SQ1-SQ3, що зв’язані з важелями перемикання коробки швидкостей
шпинделя. Як тільки напруга вимірювальної схеми становиться більше напруги
порівняння, відпирається вентиль VD1 і через підсилювач А1 в контур завдання
електроприводу подачі поступає сигнал, пропорційний активній потужності. Кутова
швидкість електродвигуна М2 приводу подачі починає зменшуватися. Похибка
підтримування постійності потужності електроприводу головного руху складає 4-6%
[17].
Застосування еквівалентної автоматизованої системи керування з
зворотними зв’язками по потужності фрезерування. Теристорний перетворювач
описується аперіодичним ланцюгом з передавальною функцією
, двигун постійного струму приводу подачі описує
коливальною ланкою з передаточною функцією
.
Рис. 5.2 Структурна схема стабілізації потужності різання фрезерного
верстата
Привід охоплений від’ємним зворотнім зв’язком по кутовій швидкості
двигуна з коефіцієнтом передачі
.
Через механізм подачі з передаточним коефіцієнтом
двигун впливає на процес металообробки, що описує
аперіодичним ланцюгом з передаточною функцією
.
Параметр регуляції є потужність фрезерування
,
виміри якого виконуються датчиком потужності, що зображений аперіодичним ланцюгом
з передаточною функцією
Технологічний зворотній зв'язок по потужності
виконано нелінійно, і до тих пір, доки сигнал
не
стане більше напруги порівняння
,
технологічний зворотній зв’язок буде розірваний і кутова швидкість привода
подачі визначиться напругою завдання
.
Робота описуємої схеми при відсутності корегуючого устрою у контурі зворотного
зв’язку супроводжується коливанням кутової швидкості і регулюємої потужності.
Для усунення коливального режиму може бути використана попереджувальна
корекція.
6. ОХОРОНА ПРАЦІ
.1 Характеристика місця розташування, об’єкту який
проектується
Завданням дипломного проекту передбачено проектування
дільниці по виготовленню деталей насоса на підприємстві ВАТ “Дніпроважмаш” ім.
Артема м. Дніпропетровська.
При розміщені підприємства враховувався переважаючий напрямок
вітрів - троянда вітрів. В даній місцевості на протязі року переважають вітри
північно - західного напрямку. У зв’язку з цим підприємство розміщено з
підвітряного боку по відношенню до найближчого житлового району міста, щоб
шкідливі викиди відносились в бік від житлового масиву.
Загальна територія заводу складає 15 гектарів.
По шкідливості викидів підприємство відноситься до III класу
[18], з шириною санітарно - захисної зони 300м. Відстань між складами, цехами
та іншими спорудами не менше 9м [19].
Джерелом водопостачання є насосна станція на Дніпрі. Вода
транспортується по двом трубопроводам діаметрами 700мм [20]. Відстань від
насосної станції до підприємства 12км. До цехів вода подається через водогінну
мережу [21]. Підземні води не шкодять споруді.
Ширина автомобільних доріг - 7,5м, під’їздів 4,5 м, з
тротуарами з обох боків шириною 1,6м [22]. Група основних, допоміжних цехів та
складів розташована з урахуванням їх функціонального призначення.
6.2 Характеристика можливих шкідливих і небезпечних
виробничих факторів
На дільниці механічного цеху мають місце наступні шкідливі і
небезпечні виробничі фактори ГОСТ 12.0.003-74 [23]:
промисловий внутрішньо цеховий та заводський транспорт, який
при порушенні руху може привести до тяжких видів травматизму (переломи, забої);
підвищений рівень вібрації, особливо біля верстату. Вібрація
передається до рук при доторканні до обладнання, а також до усього тіла через
підлогу. Вібрація може привести до порушення вестибулярного апарату, болі у
суглобах, порушенню системи кровообігу і інші;
підвищений рівень шуму, який виникає при роботі верстатів,
вентиляційних систем. Шум може пошкодити слух людини, а також порушити роботу
серцево-судинної, нервової системи та ін.;
небезпечний рівень напруги в електричному ланцюгу, при
замкненні може пройти через тіло людини може викликати термічні (опіки ділянок
тіла, нагрів судин), електролітичне (розкладання крові і інших органічних рідин
у організмі), біологічне (скорочення м’язів, і в тому числі легенів і серця)
дії у виді місцевих травм і електричного удару.
металевий пил, який шкодить очам, шкірі, верхнім дихальним
шляхам і може викликати захворювання легенів, ГДК=0,076мг/м3
- недостатня освітленість робочої зони може призвести до
погіршення зору людини, а також до травмування.
6.3 Заходи зі створення безпечних і здорових умов праці
Для забезпечення безпеки робітників у виробничому процесі
згідно ГОСТ 12.3.002-91 [25] проектом передбачаються такі заходи:
механізація й автоматизація виробництва (застосування
верстатів із ЧПУ, для підвозу важких деталей передбачені автокари), що полегшує
фізичні навантаження;
вантажопідйомними пристроями забезпечені робочі місця;
стіни, шафи, стелажі, тумбочки пофарбовані у світлий,
спокійний колір, який не дратує зір очей;
безпечне розташування обладнання, яке передбачає достатньо
необхідну площу проходів та проїздів (понад 6м);
використання верстатів, які забезпечені необхідними захисними
екранами і кожухами, стружко ухоплювачами та приладами керування;
металева стружка постійно збирається з робочих місць у спеціальну
тару, спеціальні бункера, де за допомогою скребкового конвеєра транспортується
за територію цеха, а далі автотранспортом вивозиться на склад металобрухту;
знаки: швидкість виїзду обмежена до 3 км/год, швидкість
транспорту в цеху5 км/год;
захисне заземлення обладнання, що дозволяє захистити робочих
від ураження електричним струмом;
ізоляція струмо-протоко-підводячих частин, або їх огородження
чи розміщення на недоступній відстані.
Приміщення по ступеню електробезпечності відноситься до ІІ
класу [26].
Захисне заземлення забезпечує уникнення небезпеки поразки
струмом у випадку доторкання до корпусу та інших струмоведучих металевих частин
електрообладнання, які знаходяться під напругою. Проведемо розрахунок захисного
заземлення. Передбачаємо контурне заземлення В якості заземлювачів
використовуємо сталеві труби (рис.6.1), що з’єднані сталевою смугою,
заземлювачі розташовані у ґрунті.
Рис. 6.1 Схема розміщення заземлювачів у ґрунті
Опір одного трубчастого заземлювача:
;(6.1)
де
- розрахунковий питомий опір грунта в місті
розташування заземлювачів, Ом м; грунт - пісок, r=380 Ом м [27].;діаметр трубчастого електроду, м;
d=0,32мдовжина трубчастого електроду, м; l=3м- глибина розміщення середини
електроду від поверхні землі, м.
(6.2)
м
Ом.
Так, як
>
,
то спочатку розраховуємо попередню кількість заземлювачів по приблизній формулі
без урахування смуги з’єднання :
;(6.3)
де
- допустимий опір заземлюючого пристрою, що
приймається згідно ПБЕ в залежності від напруги в електромережі, Ом;
Опір захисного
заземлюючого пристрою для установок з напругою до 1000В не повинно перевищувати
4Ом. Приймаємо
Ом.
шт.
Приймаємо 24шт.
Далі визначимо необхідну кількість вертикальних заземлювачів за
формулою:
;(6.4)
де
- коефіцієнт використання вертикальних заземлювачів,
який враховує взаємне екранізування;
=0,61
[27].
;
Приймаємо
=40.
Знаючи кількість заземлювачів, знаходимо довжину з’єднувальної смуги:
;(6.5)
де
- відношення відстані між заземлювачами до їхньої
довжини, приймаємо а=2;
м.
Опір розтікання струму з'єднаної смуги з урахуванням екранізування
розраховуємо за формулою:
;(6.6)
де
- ширина з'єднуючої смуги,
=0,023м.
Ом.
Опір групового заземлювача
,
який складається з трубчастих заземлювачів і з’єднуючої смуги, дорівнює:
(6.8)
Знаходимо коефіцієнт
=0,3
[29].
Ом.
Отримане значення
порівнюємо з
,
повинно виконуватися така умова:
(6.9)
,2Ом<4Ом, що відповідає вимогам ПБЕ
На дільниці передбачається система загального штучного рівномірного та
природного освітлення.
Світильники аварійного освітлення входять до складу загального, але
живлення їх здійснюється з різних, з робочим освітленням, секцій щита низької
напруги трансформаторної підстанції.
Природне освітлення характеризується коефіцієнтом природного освітлення
(КПО). Значення КПО для об’єктів, які розташовані у четвертому поясі світлового
клімату (Дніпропетровськ) визначаємо за формулою:
;(6.10)
де
- значення КПО для будівель, які розташовані в ІІІ
поясі світлового клімату;
-
коефіцієнт світлового клімату,
=0,9;
-
коефіцієнт сонячного клімату,
=0,7.
.
Площа світлових прорізів при бічному освітлені розраховується за
формулою:
;(6.11)
де
- площа підлоги,
=3060
;
-
значення КПО,
=0,945;
-
коефіцієнт, що враховує відбиток світла,
=0,8;
-
світлова характеристика вікна,
=1,35;
-
загальний коефіцієнт світло проходження;
-
коефіцієнт запасу,
=1,1;
-
коефіцієнт, який враховує затемнення вікон протилежними спорудами
=1,3.
Загальний коефіцієнт світло поглинання:
;(6.12)
де
- коефіцієнт пропускання матеріалу - скла віконного;
-
коефіцієнт, що враховує втрати світла в перельотах світлового проїзду,
-
коефіцієнт, що враховує втрати світла в несучих конструкціях;
-
коефіцієнт, що враховує втрати світла в сонцезахисних пристроях.
;
.
Розряд зорової роботи ІV
Розрахуємо необхідну кількість світильників за формулою:
;(6.13)
де
- мінімальна нормативна освітленість для V розряду
роботи, лк;
=200лк
-
площа приміщення,
;
=3060
;
-
коефіцієнт запасу;
=1,5;
-
поправочний коефіцієнт світильника;
=1,2;
-
кількість ламп у світильнику, шт;
=2;
-
коефіцієнт використання освітлювальної установки;
=0,5;
-
світловий потік однієї лампи, лм.
=4800лм.
Для визначення коефіцієнта використання освітлювальних установок
визначаємо показник приміщення:
;(6.14)
де
- довжина приміщення, м;
-
ширина приміщення, м;
-
висота підвіски світильника над робочою поверхнею.
.
Для стін, які пофарбовані у середній колір, коефіцієнт відбитка стелі
, стін
.
Відповідно з цими даними коефіцієнт використання
[29].
.
Приймаємо 200 шт.
Тип світильника Н 4ТЛ-2 х 80М, тип ламп ЛБ-80, потужність 80 Вт.
При відключення робочого освітлення автоматично спрацьовує система
вмикання аварійного освітлення, яка складає 5% від робочого. Джерелом
аварійного освітлення є люмінесцентні лампи ЛБ-40 потужністю 40Вт зі
світильником ПВЛ-1.
У механічному цеху передбачена сумісна вентиляція (природна і штучна)
[30].
Розрахунок штучної вентиляції виконуємо по концентрації металевого
пилу.
Кількість пилу, який утворюється в цеху, дорівнює 0,074кг/год (по даним
заводу). Кількість повітря, яке необхідне подати у приміщення для забезпечення
концентрації шкідливих речовин, а саме пилу, не більше допустимої, знаходимо по
формулі:
(6.15)
де W - обсяг повітря, м
/год,-
кількість шкідливих речовин в повітрі, q=0,076кг/год;
-
відповідно гранично допустима концентрація шкідливих речовин в приміщенні по
санітарним нормам та наявність Їх в систему повітря, яке подається ,
=10
м/м3 ,
=0,2 мг/м3 ;

Кратність повітрообміну визначаємо за формулою:
;(6.16)
де
- обсяг приміщення ,м
;
=
,
Вибираємо вентилятор в залежності від необхідної
продуктивності технічних вимог та умов роботи, які запропоновані до вентиляції.
Приймаємо відцентровий вентилятор типу В-ИП-7-40.
Характеристика вентилятора:
Продуктивність 8000 м
/год;
Напір: 3000 Па;
Частота обертання: 1790 об./хв.;
Електродвигун: - тип 4А160S4;
Потужність: 15кВт;
Частота обертання: 1465 об./хв. [31]
Виходячи з продуктивності приймаємо 1 вентилятор на приток повітря і 1
на витяжку.
Передбачені засоби індивідуального захисту і спеціальний одяг, взуття,
рукавиці, захисні окуляри, берети. Також передбачені санітарно-побутовими
приміщеннями (гардеробна, кімната відпочинку, приміщення для особистої гігієни
жінок, при числі жінок у цеху більш 15 чол.), приміщення з гігієнічним душем
(пл. 2,4х1,2 м2) .
6.4 Характеристика механічної ділянки по вибухо і
пожеже безпечності
Можливі причини займання:
використання відкритого вогню;
неполадка електрообладнання, вихід із ладу вузлів автоматичного захисту
від коротких замикань
відсутність нормального змащування поверхонь тертя;
грозові розряди, розряди статичної електрики;
порушення правил безпеки при ремонтних роботах та ін.
Механічний цех відноситься до категорії “Д” [32], і відповідно ПБЕ до
зони класу П -ІІа.
В даному виробництві використовуються негорючі речовини і матеріали у
холодному стані тому згідно НПБ-105-95:
6.5 Протипожежні заходи
Згідно з ГОСТ 12.1.004-95 [33] для попередження пожеж передбачається
ізоляція електроустаткування, заземлюючі устрої, блискавко захист, пожеже і
вибухозахист технологічного процесу і обладнання, виключення джерела
запалювання.
У відповідності з СНиП 2.01.004-85 [34] цех має другу ступень
вогнестійкості.
Мінімальна межа вогнестійкості будівельних конструкцій в годинах:
стіни несучі - 2;
само несучі - 1;
колони - 2;
ферми, плити - 1.
Будівля цеху одноповерхова. Ширина дверей 1,5м, ширина коридор у 2м.
Кількість евакуаційних виходів 3.
Ширина шляхів евакуації у світу - 1м, висота проходу не менше - 2м.
Передбачена пожежна сигналізація - автоматична і ручна, а також
телефонний зв’язок.
Щоб уникнути пожежі від грозових розрядів передбачений тросовий
блискавко відвід [35].
6.6 Засоби гасіння пожеж
В цеху передбачені наступні засоби пожежогасіння: вода, пар, інертні
гази, піна, тверді сипучі порошки, пісок [36]. Вода є найбільш дешевим і
найбільш розповсюдженим засобом гасіння пожеж. Для тушіння пожеж водою
передбачено як зовнішній , так і внутрішні водопроводи.
Для зовнішнього пожеже гасіння вода забирається з гідранту,
розташованого біля стіни цеха на відстані 5м і 2м від дороги. Витрата води на
зовнішнє пожеже гасіння прийнята із розрахунку 10 л/с.
Для внутрішнього пожеже гасіння використовується вода з внутрішнього
протипожежного водопроводу. Воду забирають через пожежні крани, які розташовані
в легкодоступних місцях (коридори, проходи і т.п.). Витрата води на внутрішнє
пожеже гасіння прийнята не менше 2,5 л/с.
Одним із способів гасіння пожеж є водяний пар, що подається через
спеціальні сопла системи пожеже гасіння. Тиск пару складає 0,3 МПа. Пожежа
припиняється при концентрації пару біля 33%.
Пожежне обладнання розміщенні на пожежних щитах, ящики з піском по
території цеху.
Передбачені вогнегасники ВПП - 10 (2 шт.). Для гасіння різних речовин,
для електрообладнання передбачені вуглекислотні вогнегасники ВВ - 8 (2 шт.)
[37].
При неможливості локалізації пожежі власними силами на місце події
викликається пожежна команда, яка розташована на території заводу.
7.
ОРГАНІЗАЦІЯ ВИРОБНИЦТВА ТА ЕКОНОМІКА ДІЛЬНИЦІ ЦЕХУ
.1
Розрахунок капітальних вкладень
.1.1
Капітальні вкладення у механічну дільницю
Для розрахунку капітальних укладень на ці цілі, визначаємо
кількість обладнання за групами (токарні, фрезерні, свердлильні і так далі):
(данні беремо з розділу проект дільниці);
· Вертикально-фрезерний 6Р12 n1=1 одиниці;
· Токарно-гвинторізний 1А616 n2=2
одиниці;
· Круглошліфувальний 2М150 n3=1
одиниця;
· Вертикально-свердлильний 2Н125 n3=1
одиниця;
з коефіцієнтом завантаження обладнання:
Кз1=0,75; Кз2=0,75; Кз3=0,75; Кз4=0,75;
далі розраховуємо капітальні вкладення у дільницю, базову та
проектну (таблиця 7.1, таблиця 7.2).
До вартості обладнання додаються витрати на транспортування
його від заводу виробника до споживача, 6% від вартості обладнання. Вартість
будівельно-монтажних робіт 8% від вартості обладнання.
Таблиця
7.1
Базові капітальні вкладення в обладнання дільниці
|
Найменування обладнання
|
Кільк., шт.
|
Ціна, грн.
|
Сума, грн.
|
Трансп. витрати, грн.
|
Вартість будівельно-монтажних робіт, грн.
|
Загальна (баланс.) вартість, грн.
|
|
Технологічне: Вертикально-фрезерний 6Р12
|
1
|
37440
|
37440
|
2246
|
2996
|
42682
|
|
Токарно-гвинторізний 16К20
|
3
|
11480
|
34440
|
2066
|
2755
|
39261
|
|
Кругло шліфувальний 2М150
|
1
|
110330
|
110330
|
4550
|
5805
|
120685
|
|
Вертикально-свердлильний 2Н125
|
1
|
54300
|
54300
|
3258
|
4344
|
61902
|
|
Електрокари
|
2
|
2650
|
5300
|
318
|
424
|
6042
|
|
Усього
|
|
270572
|
Таблиця
7.2
Проектні капітальні вкладення в обладнання дільниці
|
Найменування обладнання
|
Кільк., шт.
|
Ціна, грн.
|
Сума, грн.
|
Трансп. витрати, грн.
|
Вартість будівельно-монтажних робіт, грн.
|
Загальна (баланс.) вартість, грн.
|
|
Технологічне: Вертикально-фрезерний 6Р12
|
1
|
37440
|
37440
|
2246
|
2996
|
42682
|
|
Токарно-гвинторізний 1А616
|
2
|
15345
|
30690
|
750
|
1020
|
32460
|
|
Кругло шліфувальний 2М150
|
1
|
110330
|
110330
|
4550
|
5805
|
120685
|
|
Вертикально-свердлильний 2Н125
|
1
|
54300
|
54300
|
3258
|
4344
|
61902
|
|
Електрокари
|
1
|
2650
|
2650
|
159
|
212
|
3021
|
|
Усього
|
|
260750
|
Після розрахунку капітальних витрат на обладнання
розраховуються капітальні витрати на будівлі. Розрахунки заносимо до таблиці
7.3.
Таблиця
7.3
|
Найменування об’єктів
|
Площа, м2
|
Об’єм, м3
|
Ціна 1 м2,грн
|
Вартість, грн.
|
|
б
|
п
|
б
|
п
|
б
|
п
|
б
|
п
|
|
Будівлі а) виробнича площа
|
500
|
100
|
3024
|
432
|
223
|
223
|
674352
|
96336
|
|
б) допоміжна площа
|
130
|
65
|
390
|
195
|
223
|
223
|
86970
|
43485
|
|
Усього по ділянці
|
|
|
|
|
|
|
761322
|
139821
|
7.1.2 Капітальні вкладення у верстатні пристрої
До цих капітальних вкладень відносяться вартість дорогих
пристроїв та оснастки (вартістю більш 250 грн. та терміном служби більш одного
року).
Данні по розрахунку цих вкладень зносимо до таблиці 7.4.
Таблиця
7.4
Капітальні вкладення у пристрої та оснастку
|
Найменування пристроїв та оснастки
|
Кількість
|
Ціна, грн.
|
Вартість,грн.
|
|
б
|
п
|
б
|
п
|
б
|
п
|
|
Патрон трьохкулачковий
|
6
|
-
|
420
|
-
|
2520
|
-
|
|
Патрон трьох-кулачковий з підвищеною точністю
|
-
|
6
|
-
|
450
|
-
|
2700
|
7.2 Розрахунок технологічної
собівартості виробу
Під технологічною собівартістю розуміється сума текучих
витрат за тими статтями, варіанти яких відрізняються один від одного.
Таблиця
7.5
Капітальні укладення у ріжучий інструмент
|
Кількість
|
Ціна, грн.
|
Вартість, грн.
|
|
б
|
п
|
б
|
п
|
б
|
п
|
|
Ріжучий інструмент
|
60
|
11
|
6
|
6
|
360
|
66
|
7.2.1
Розрахунок витрат на механічну обробку
Розраховуємо вартість 1 машино-години.
Вона складається з наступних витрат:
) витрати на електроенергію визначаємо за формулою:
Зэ=N*Цэ, (7.1)
- електрична потужність обладнання, кВт;
Цэ - ціна 1 кВт/год, Цэ=0,35 кВт/год.
Для токарного-гвинторізного 16К20 (базового);
Зэ=11*0,35=3,85 грн.;
Для токарного-гвинторізного 1А616 (проектного);
Зэ=14*0,35=4,90 грн.;
Для вертикально-фрезерного 6Р12 (базового та проектного);
Зэ=7,5*0,35=2,625 грн.;
Для круглошліфувального 2М150 (базового та проектного);
Зэ=10*0,35=3,5 грн.;
Для вертикально-свердлильного 2Н125 (базового та проектного);
Зэ=2,2*0,35=0,77 грн.;
) витрати на амортизацію обладнання визначаємо за формулою:
грн.,
(7.2);
К - балансова вартість обладнання, грн.;
На - норма амортизації, На=24%;
Теф - ефективний фонд часу роботи обладнання на рік, Теф=3890
год.;
Для токарного-гвинторізного 16К20 (базового);
Для токарного-гвинторізного 1А616 (проектного);
грн.;
Для вертикально-фрезерного 6Р12 (базового та проектного);
грн.;
Для круглошліфувального 2М150 (базового та проектного);
грн.;
Для вертикально-свердлильного 2Н125 (базового та проектного);
грн.;
) витрати на ремонт обладнання визначаємо за формулою:
грн.
(7.3)
К - балансова вартість обладнання, грн.;
Нр - норма витрат на ремонт обладнання, Нр=7%;
Теф-ефективний фонд часу роботи обладнання на рік, Теф=3890 год.;
Для токарного-гвинторізного 16К20 (базового);
грн.;
Для токарного-гвинторізного 1А616 (проектного);
грн.;
Для вертикально-фрезерного 6Р12 (базового та проектного);
грн.;
Для круглошліфувального 2М150 (базового та проектного);
грн.;
Для вертикально-свердлильного 2Н125 (базового та проектного);
грн.;
) визначаємо загальну вартість 1 машино-години:
Для токарного-гвинторізного 16К20 (базового);
С - 16К20=3,85+2,42+0,70=6,97 грн.;
Для токарного-гвинторізного 1А616 (проектного);
С - 1А616=4,90+2,00+0,58=7,48 грн.;
Для вертикально-фрезерного 6Р12 (базового та проектного);
С - 6Р12=2,625+2,63+0,77=6,025 грн.;
Для круглошліфувального 2М150 (базового та проектного);
С - 2М150=3,5+7,45+2,17=13,12 грн.;
Для вертикально-свердлильного 2Н125 (базового та проектного);
С - 2Н125=0,77+3,82+1,11=5,7 грн.;
Розрахунок витрат на експлуатацію обладнання механічної
дільниці заносимо до таблиці 7.6. для базового варіанта, і до таблиці 7.7. для
проектного варіанта.
Таблиця
7.6
Розрахунок витрат на експлуатацію обладнання механічної
дільниці при виготовленні деталей насоса - базовий
|
Найменування обладнання
|
Вартість 1 машино-год., грн.
|
Норма часу, хв.
|
Витрати, грн.
|
|
Токарно-гвинторізний 16К20
|
2,07
|
0,83
|
1,72
|
|
Вертикально-фрезерний 6Р12
|
4,32
|
0,4
|
1,73
|
|
Круглошліфувальний 2М150
|
3,15
|
0,62
|
1,95
|
|
Вертикально-свердлильний 2Н125
|
5,08
|
0,23
|
1,17
|
|
Усього
|
|
|
6,57
|
Таблиця
7.7
Розрахунок витрат на експлуатацію обладнання механічної
дільниці при виготовленні деталей насоса - проектний
|
Найменування обладнання
|
Вартість 1 машино-год., грн.
|
Норма часу, хв.
|
Витрати, грн.
|
|
Токарно-гвинторізний 1А616
|
1,90
|
0,83
|
1,58
|
|
Вертикально-фрезерний 6Р12
|
4,32
|
0,22
|
0,95
|
|
Круглошліфувальний 2М150
|
3,15
|
0,62
|
1,95
|
|
Вертикально-свердлильний 2Н125
|
5,08
|
0,23
|
1,17
|
|
Усього
|
|
|
5,65
|
Розрахуємо також витрати на експлуатацію верстатного пристрою
за формулою:
,
грн. (7.4)
де к - вартість пристроїв, беремо з таблиці 7.4.;
На - норма амортизації, На=24%;- величина річного випуску деталей n=6300
штук.
Для базового варіанта:
грн.,
Для проектуємого варіанта:
грн.,
Витрати на експлуатацію ріжучого інструменту розраховуємо за формулою:
,
грн., (7.5)
де к - вартість ріжучого інструменту, беремо з таблиці 7.5.;
На - норма амортизації, На=8%;- величина річного випуску деталей n=6300
штук.
Для базового варіанта:
грн.,
Для проектуємого варіанта:
грн.,
Витрати на заробітну платню (з/п) основних виробничих робочих
визначаємо за формулою:
грн.,
(7.6 )
де
- часова тарифна ставка, грн., для третього розряду
робіт
=0,68 грн.;
-
норма часу, год.;
-
коефіцієнт доплат:
(7.7)
-
відсоток рішень,
=25%;
-
додаткова з/п,
=10%;
-
нарахування на з/п,
=38,8%.
Для токарів:
грн.
грн.
Для інших робітників розрахунок проводимо аналогічно і заносимо до
таблиці 7.8. для базового варіанта і до таблиці 7.9. для проектного варіанта.
Таблиця
7.8
Розрахунок витрати при випуску однієї деталі - базовий
|
Годинна тарифна ставка, грн.
|
Норма часу, год.
|
Коефіцієнт доплат
|
Заробітна платня з доплатою, грн.
|
Усього, грн.
|
|
Шліфувальник
|
1,06
|
0,83
|
2,03
|
0,5644
|
2,289
|
|
Фрезерувальник
|
|
0,4
|
|
0,55216
|
|
|
Токар
|
|
0,62
|
|
0,8558
|
|
|
Свердлувальник
|
|
0,23
|
|
0,3174
|
|
Таблиця
7.9
Розрахунок витрати при випуску однієї деталі - проектний
|
Годинна тарифна ставка, грн.
|
Норма часу, год.
|
Коефіцієнт доплат
|
Заробітна платня з доплатою, грн.
|
Усього, грн.
|
|
Шліфувальник
|
1,06
|
0,83
|
2,03
|
0,5644
|
2,041
|
|
Фрезерувальник
|
|
0,22
|
|
0,304
|
|
|
Токар
|
|
0,62
|
|
0,8558
|
|
|
Свердлувальник
|
|
0,23
|
|
0,3174
|
|
На підставі всіх проведених розрахунків визначаємо
технологічну собівартість деталі.
Таблиця
7.10
Технологічна собівартість виготовлення однієї деталі, грн.
|
Варіант
|
Витрати на експлуат. обладнання, грн.
|
Витрати на заробітну платню, грн.
|
Витрати на експлуат. верстатного пристрою, грн.
|
Витрати на ріжучий іструмент, грн.
|
Усього, грн.
|
|
Базовий
|
0,096
|
2,8
|
0,135
|
0,00457
|
3,03557
|
|
Проектний
|
0,103
|
2,6
|
0,13
|
0,000838
|
2,833838
|
7.3
Визначення економічної ефективності проектних рішень
Економічний ефект від удосконалення технології отримання
деталі визначаємо за формулою:
,
грн. (7.11)
-
ріст прибутку;
(7.12)
де Sб та Sпр. - собівартість виготовлення деталі базова та за
проектом;- об’єм виробництва за рік;
-
коефіцієнт реновації (
=0,0315);
-
ставка проценту (
=0,15);
-
різниця капітальних вкладень базових та проектних;
=
1+
2+
3; (7.13)
де
1 - різниця капітальних вкладень в обладнання
механічної дільниці;
2
- різниця капітальних вкладень в будівлю будинків та споруд;
3
- різниця капітальних вкладень у верстатне пристосування;
4
- різниця капітальних вкладень в ріжучий інструмент;
грн.
грн.
грн.
7.4
Техніко-економічні показники роботи механічної дільниці, що проектується
Крім розрахованих у попередніх розділах показників додатково
розраховуємо наступне:
чисельність основних виробничих робочих;
людях,
(7.14)
де Тэф - ефективний фонд часу робочого, Тэф=1860
год.;
-
трудоємність виготовлення деталі, год.;- річний випуск деталей, штук;
приймаємо кількість робочих - 2 робітників.
Продуктивність праці одного робочого:
шт/чол,
(7,15)
шт/чол;
Працеємність виготовлення деталі:
базова - 0,975 год.;
проектна - 0,414 год.;
усі результати зводимо до таблиці 7.11.
Таблиця
7.11
Техніко-економічні показники роботи дільниці, що проектується
|
Найменування показників
|
Одиниці вимірювання
|
База
|
Проект
|
Відхилення
|
|
|
|
|
абс.
|
%
|
|
1. Річний випуск
|
шт.
|
6300
|
6300
|
-
|
-
|
|
2. Загальна площа дільниці
|
м2
|
630
|
165
|
-465
|
67
|
|
3. Виробнича площа дільниці
|
м2
|
500
|
100
|
-400
|
73
|
|
4. Загальна кількість обладнання
|
шт.
|
8
|
6
|
-2
|
30
|
|
5. Вартість основних фондів
|
грн.
|
270572
|
260750
|
-9822
|
14
|
|
6. Чисельність основних робочих
|
чол.
|
5
|
5
|
--
|
--
|
|
7. Продуктивність праці
|
шт/чол
|
2222,22
|
3150
|
5372,22
|
125
|
|
8. Технологічна собівартість деталі
|
грн.
|
3,03557
|
2,833838
|
-0,201732
|
10
|
|
9. Трудоємкість виготовлення деталі
|
год.
|
2,2
|
0,4
|
-1,8
|
81
|
|
10. Економічний ефект
|
грн.
|
270211
|
ВИСНОВОК
У даному дипломному проекті представлена розробка
технологічного процесу механічної обробки деталей насоса - корпуса та вала.
Проведено вибір технологічного обладнання, стандартних
пристроїв, а також ріжучих та вимірювальних інструментів для кожної операції.
Здійснена побудова та розрахунки розмірних ланцюгів з
визначенням технологічних допусків.
Створено конструкцію заготовки, відповідно вибраного методу
отримання заготовки.
Проведено розрахунок режимів різання для кожної операції
технологічного процесу.
У конструкторській частині здійснено проектування верстатного
пристрою для свердлувальної операції.
Здійснено розробку засобів стабілізації потужності різання
фрезерного верстата.
Спроектовано дільницю цеху по виготовленню деталей насоса з
урахуванням усіх норм охорони праці.
В результаті проведених удосконалень одержано економічний
ефект в розмірі 270211 гривень
СПИСОК ЛІТЕРАТУРИ
1.
Справочник технолога-машиностроителя: 2томах / Под ред. А.Г. Касиловой - М.:
Машиностроение, 1985, т1 656с.
.
Справочник технолога-машиностроителя: 2томах/ Под ред. А.Г. Касиловой - М.:
Машиностроение, 1985, т2 496с.
.
Патент России “Устройство для зажима заготовок” №2117564, B21D43/11 / Чекулаев
В.К. / 3аявл.1997.01.28, Опубл. 1998.08.20.
.
Патент России “Тиски с усилителем” №94045429, B25B1/14 / Усков В.М. /
3аявл.1994.10.02; Опубл. 1995.09.27.
.
Патент России “Прецизионные тиски” №2036072, B25B1/10/ Усков В.М. /
3аявл.1992.01.23; Опубл. 1995.05.27.
.
Патент России “Быстродействующий зажим” №2320465, B23Q3/06/ Чижов М.И.,
Бредихин А.В. / 3аявл.20.07.06; Опубл. 27.03.08
.
Авторское свидетельство СССР “Станочные тиски” №1025500, B25В1/18 / Усков В.М.
/ 3аявл.16.12.90; Опубл. 27.09.97
.
Патент России “Прецизионные тиски” №9008443, B25В1/10/ Юминов В.А. /
3аявл.12.02.93; Опубл. 27.03.96
. Егоров
М.Н. Технология машиностроения: - М.: Высшая школа, 1976-534с.
.
Методичні вказівки до виконання курсового та дипломного проект студентів 4-5
курсів спеціальносвті 7.09.0202 / Укл. О.В. Коваленко, М.С. Чухно, А.М. Дудка,
І.І. Начовний, Ю.Г. Міняйло, І.П. Казіміров, В.М. Анісімов, А.О. Митрохін.
Дніпропетровськ, 1998 г, 62 с.
.
Методичні вказівки до виконання курсового проекту з технології машинобудування,
В.Д. Рудь, Луцк, 1996г, 295 с.
.
Руденко П.О. Проектування технологічних процесів у машинобудуванні. Навч.
Посібник.-К: Виша школа., 1996-414 с.
.
Клюев А.С., Глазов Б.В., Дубровский А.Х. Проектирование систем автоматизации
технологических процессов.- М.: Энергия, 1980.-512 с
.
Корсаков В.С. Основы технологии машиностроения. - М.: Машиностроение, 1977-416
с.
.
Брон Л.С. Конструкції, наладки та експлуатація агрегатних верстатів та
автоматичних ліній.-К.: Вища школа, 1985-384 с.
.
Болотин Х.П. Станочные приспособления - М.: Машинобудування, 1973-344 с.
.
Данилевский В.В. Технология машиностроения. - Л.: Высшая школа, 1977-479 с.
. СН
24.5-71. Санитарные нормы проектирования промышленных, - М.: Стройиздат, 1971.-
97 с.
.
СНиП 11-89- 80 Генеральные планы промышленных предприятий.- М.: Стройиздат,
1980.- 52с.
.
СНиП 2.04.02-84. Водоснабжение. Наружные каналы и строения.- М.: Стройиздат,
1984.-48с.
.
СНиП 2.04.01-85 Внутренний водопровод и канализация зданий, -М.: Стройиздат,
1985.-86с.
.
СНиП 2.05.02.-85 Автомобильные дороги. -М.: Стройиздат, 1977.-28с.
.
ГОСТ 12.0.003-91 ССБТ. Опасные и вредные производственные факторы.
Классификация. - М.: Издательство стандартов, 1981.-33с.
.
ГОСТ 12.1.007-90 ССБТ. Характеристика вредных веществ, Классификация. - М.:
Издательство стандартов, 1990.-7с.
.
ГОСТ 12.3.002-91 ССБТ. Процессы производственные. Общие требования безопасности.
- М.: Издательство стандартов, 1978.-6с.
.
ПУЭ-85 (11-3,4) Правила устройства электроустановок, 1985.-23с.
.
Методичні рекомендації до виконання розділу ²Охорона праці² (електронебезпека) у
дипломних проектах для студентів V курсів
.
СНиП 11-4-79 Искусственное и естественное освещение. Нормы проектирования.- М.:
Стройиздат, 1980 -49с.
.
Методические указания к выполнению раздела ²Охрана труда² (освещение) в дипломных
проектах для студентов V курсов всех специальностей. Составители Н.И. Ванжа,
А.П. Кулик, В.И. Яковлев. - Днепропетровск. ДХТИ. 1989. - 28 с.
.
СНиП 2.04.05-86. Отопление, вентиляция и кондиционирование воздуха. -М.:
Стройиздат, 1987 -35с.
.
Методические указания к выполнению раздела ²Охрана труда² (промышленная вентиляция) в
дипломных проектах для студентов V курсов всех специальностей. Составители Н.И.
Ванжа, А.П. Кулик, А.Ф. Охрименко. - Днепропетровск. ДХТИ. 1987. - 15 с.
.
НАПБ 5.03.005-86 Определение категории помещения и зданий по взрыво и пожарной
опасности.
.
ГОСТ 12.1.004-95 Пожарная безопасность. Общие требования. -М.: Издательство
стандартов, 1995.-25 с.
.
СНиП 2.01.02.-85 Противопожарные нормы. -М.: Стройиздат, 1977.-28с.
. СН
305-77 Инструкция по проектированию и устройству молниезащиты зданий и
сооружений.- М.: Стройиздат, 1977 -47с.
.
ГОСТ 12.1.001.-85 Пожарная безопасность.-М.: Стройиздат, 1985.-27 с.
.
Методичні рекомендації до виконання розділу ²Охорона праці² (засоби та способи гасіння
пожеж) у дипломних проектах для студентів V курсів усіх спеціальностей.
Упорядники М. І. Ванжа та інші. - Дніпропетровськ. ДХТІ. 1993. - 28 с.
.
Долин П.А. Справочник по технике безопасности.-6-е изд., перераб.и доп.-М.:
Энергоатомиздат, 1985.
.
Методические указания к выполнению раздела « Охрана труда» в дипломных проектах
и работах для студентов V-VI курсов всех специальностей и форм обучения /Cост.
Н.И. Ванжа, В.А. Герасименко, А.П. Кулик, В.А. Косенко, и др.-Днепропетровск:
ДХТИ, 1991. -16 с.
.
Методические указания к выполнению организационно -экономической части
дипломного проекта для студентов 5 курса специальностей 0561, 0563/ Сост. Н.С.
Ярмолинский.-Днепропетровск: ДХТИ, 1986.-20с.