Проект сушильного цеха для камер периодического действия Sateko

  • Вид работы:
    Курсовая работа (т)
  • Предмет:
    Другое
  • Язык:
    Русский
    ,
    Формат файла:
    MS Word
    961,74 Кб
  • Опубликовано:
    2013-01-19
Вы можете узнать стоимость помощи в написании студенческой работы.
Помощь в написании работы, которую точно примут!

Проект сушильного цеха для камер периодического действия Sateko

Министерство образования и науки РФ

ГБОУ РХ СПО «ХАКАССКИЙ ПОЛИТЕХНИЧЕСКИЙ КОЛЛЕДЖ»

Специальность 250403 «Технология деревообработки»






Пояснительная записка

к курсовому проекту

тема: ПРОЕКТ СУШИЛЬНОГО ЦЕХА ДЛЯ КАМЕР ПЕРИОДИЧЕСКОГО ДЕЙСТВИЯ SATEKO



Руководитель

Е.И. Буренова

Выполнил

Студент группы ТД-31

Н. В. Соколов




Абакан 2012 г.

Содержание

Введение

Общая часть

.1 Характеристика камеры

.Технологический расчет

.1 Пересчет объема фактического пиломатериала в объем условного материала

.2 Определение производительности камер в условном материале

.3 Определение необходимого количества камер

.Тепловой расчет

.1 Выбор расчетного материала

.2 Определение массы испаряемой влаги

.3 Выбор режима сушки

.4 Определение параметров агента сушки на входе в штабель

.5 Определение объема и массы циркулирующего агента сушки

.6 Определение объема свежего и отработавшего воздуха или перегретого пара

.7 Определение расхода тепла на сушку

.8 Выбор типа и расчет поверхности нагрева калорифера

.9 Определение расхода пара

.10 Определение паропрововод и конденсатопроводов

.11 Выбор конденсатоотводчиков

. Аэродинамический расчет

.1 Схема циркуляции агента сушки

.2 Расчет сопротивления на всех участках движения агента сушки

.3 Выбор вентилятора

.4 Выбор электродвигателя

.5 Расчет приточно-вытяжных каналов камеры

.Технологический процесс сушки

.1 Транспортные и погрузочно-разгрузочные операции

.2 Виды контроля за состоянием древесины и сушильного агента

.3 Описание технологического процесса

. Строительная часть

Список используемых источников

Введение

Индустриальная сушка древесины возникла и развивалась в СССР после Великой Октябрьской революции, начиная с первых пятилеток. Уже в 1929 г. Была организована и успешно проведена первая Всесоюзная конференция по сушке древесины, которая установила научные и технические направления развития лесосушильной техники и производства на ближайшие годы. В это же время был организован в стране первый научно- исследовательский институт механической обработки древесины (ЦНИИМОД) в Архангельске.

В создании новой технологии и техники сушки и защиты древесины работают проектные институты: Гидродрев (Ленинград), Гидродревпром (Москва) и др. Эта техника совершенствуется также многими заводскими лабораториями и работниками промышленности.

Разработан ряд новых сушильных и пропиточных установок и агрегатов. Созданы и совершенствуются соответствующие мощные агрегаты в цехах по производству древесностружечных плит, в фанерной промышленности и др.

Применяемый в промышленности метод теплового удаления влаги из древесины называется сушкой. Физическая сущность этого процесса заключается в том, что нагретый воздух направляют к сырому материалу, при соприкосновении с которым он отдает свое тепло, т.е. охлаждается, а влага древесины за счет воспринятого ею из воздуха тепла превращается в парообразное состояние (водяной пар) и удаляется от древесины этим же, но охладившимся воздухом.

Главная цель сушки древесины во всех условиях ее производственного и бытового использования заключается в превращении древесины из природного сырья в промышленный материал с коренным улучшением ее биологических, физико-механических, технологических и потребительских свойств. В процессе надлежащей сушки древесина облагораживается, становится пригодной для изготовления многообразной ценной, стабильной продукции, отвечающей непрерывно возрастающим потребительским запросам.

В результате высушивания древесина приобретает стойкость против гниения, повышаются ее прочность и жесткость, возникает стабильность размеров и формы деталей и всего изделия, открывается возможность склеивания, шлифования, полирования, древесина приобретает ряд гигиенических свойств, снижается ее теплоемкость, тепло- и электропроводность, появляются другие положительные свойства.

Исключительно велико значение качественной сушки древесины. При неудовлетворительном техническом состоянии сушильного оборудования, а также низком технологическом уровне эксплуатации и слабом техническом контроле сушильного производства продукцию изготавливают из недосушенной или неравномерно высушенной древесины, когда часть ее в штабелях материала оказалась просушенной в разной степени. Такая продукция низкокачественна и мало пригодна для эффективного использования. Она ненадежна, быстро портится; для ее воспроизводства требуется повторное расходование материалов, а также возникновения коробления, растрескивания, внутренних деформаций.

1 Общая часть

1.1 Характеристика камеры

сушильный цех древесина камера

Камера может быть применена на предприятиях по производству мебели, лыж, музыкальных инструментов, паркета, столярных изделий, специальной тары, продукция которых потребляет сухие пиломатериалы из древесины как хвойных, так и твёрдых лиственных пород.

Сушка пиломатериалов в лесосушильных камерах «Sateko» предусматривается в паровоздушной среде с применением нормальных или форсированных режимов с температурой агента сушки до 108о. Технические решения, заложенные в проекте камеры, и применяемые режимы обеспечивают высушивание пиломатериалов по I и II категории качества сушки.

Типовой проект предусматривает размещение лесосушильных камер и их строительство внутри отапливаемого производственного помещения или же непосредственно на улице как отдельно стоящего сооружения.

Лесосушильная камера представляет собой строительную коробку. Камера по длине разделена металлической перегородкой на две части: сушильное пространство и вентиляторное помещение.

В сушильном пространстве размещают высушиваемый пиломатериал и направляющие экраны. Объём сушильного пространства рассчитан на загрузку одного штабеля.

Для уменьшения утечки агента сушки мимо сушильных штабелей в камере устанавливаются стационарные и поворотные экраны. Стационарные экраны загораживают торцы штабелей, а поворотные ликвидируют утечку агента сушки через зазор, образующийся между потолочным перекрытием и верхом штабелей в период их укладки.

2. Технологический расчет

.1 Пересчет объема фактического пиломатериала в объем условного

Для учета и сопоставления фактической производительности камер с плановой, а также для сопротивления производственных программ лесосушильных цехов установлена неизменная учетная единица - кубометр условного материала, которому эквиваленты сосновые обрезные доски толщиной 50 мм, шириной 150 мм, длиной более 1 м, высушиваемые по II категории качества от начальной влажности 60 % до конечной 12 %.

Таблица 1- Определение продолжительности сушки пиломатериалов.

№ П\П

Порода, сечения пиломатериалов, мм

Категория Режима

Категория качества сушки

Влажность

Исходная продолжительность сушки, t исх

Коэффициенты

Общая продолжительность сушки,tсуш, час





Wн%

Wк%


Ар

Ац

Ак

Ав


1

2

3

4

5

6

7

8

9

10

11

12

1

Дуб, н/обр. 19 х р/шир

Н

I

40

8

105

1

0,9

1,25

1

118,125

2

Граб, обр. 32х150

Н

II

50

10

200

1

0,95

1,15

1

218,5

3

клен, обр.  25х120

Н

I

60

7

100

1

0,85

1,25

1,33

141,31

 (1)

 исходная продолжительность собственно сушки пиломатериалов заданной породы, толщины  нормальными режимами в камерах с принудительной реверсивной циркуляцией средней интенсивности (расчетная скорость воздуха-1,0 м/с, ширина штабеля 1,5-2 м) от начальной влажности 60% до конечной влажности 12%;

 коэффициент, учитывающий категорию применяемого режима сушки;

характер и интенсивность циркуляции воздуха в камере. Определяется в зависимости от произведения  и типа камеры;

коэффициент, учитывающий категорию качества сушки и характеризующий среднюю длительность влаготеплообработок;

коэффициент, учитывающий начальную  и конечную  влажность древесины

- Общая продолжительность сушки в (часах), включая начальный прогрев и влаготеплообработки.

105 ∙ 1 ∙ 0,9 ∙ 1,25 ∙ 1 = 118,125 час;

200 ∙ 1 ∙ 0,95 ∙ 1,15 ∙ 1 = 218,5 час;


Таблица 2- Пересчет объема фактических пиломатериалов в объем условного материала

№ п\п

Порода, наименование, вид, сечение пиломатериалов, мм

Заданный для сушки объем пиломатериалов Ф,м3

Пересчетный коэффициент Кп

Продолжительность оборота камеры t об.ф,сут

Коэффициент объемного заполнения штабеля Вф

Объем в условном материале У,м3 усл

1

2

3

4

5

6

7

1

Дуб, 19 х 6

2000

0,1075

5,02

0,22

4902

2

Граб, 32 х 6

2000

0,1075

9,2

0,34

5719

3

клен,  25 х 6

1000

0,1075

5,9

0,27

2343


(2)

- Продолжительность одного оборота камеры при сушке фактического материала, в сутках;

продолжительность загрузки и выгрузки материла, суток. При механизированной загрузке и выгрузки принимается равной 0,1 суток.   

;

;

.

Объем высушенного или подлежащего сушке пиломатериала заданной спецификации Ф пересчитывается в объем условного материла У ( по формуле:

У=Ф*) (3)

Ф - объем фактически высушенного или подлежащего сушке пиломатериала данного размера и породы (задается по спецификации),;

пересчетный коэффициент;

 Продолжительность одного оборота камеры при сушке фактического материала данного размера и породы, суток;

коэффициент объемного заполнения штабеля фактическим материалом.

У=

У=)

У=)

2.2 Определение производительности камер в условном материале, м3

, ); (4)

- коэффициент объемного заполнения штабеля условным материалом (определяется также как  по формулам и таблицам)

- продолжительность оборота камеры для условного материла, суток.

Г-габаритный объем всех штабелей в камере, )

 ). Г= n*b*l*h,);

b,l,h- соответственно габаритная длина, ширина и высота штабеля, м;число штабелей в камере.

Г= ).

.3 Определение необходимого количества камер, (шт)

 (5)

- общий объем условного материала;

- годовая производительность одной камеры в условном материале;

 

= ).

. Тепловой расчет

.1 Выбор расчетного материала

При проектировании лесосушильных камер за расчетный материал принимаются, как правило, кленовые обрезные доски толщиной 19 мм, шириной не менее 125 мм. Если в задании на проектирование нет таких досок, то за расчетный материал принимаются самые быстросохнущие доски из заданной спецификации.

Выбираю дуб, обрезной.

= 40%, = 8%; Столярные изделия.

.2 Определение массы испаряемой влаги

.2.1 масса влаги, испаряемой из 1  пиломатериалов (кг/

/100, (кг/ (1)

-условная плотность расчетного материала, (кг/;

 - соответственно начальная и конечная влажность расчетного материала, %.

(кг/.

масса влаги, испаряемой за время одного оборота камеры (кг/оборот)

, кг/оборот; (2)

Е- емкость камеры,  

=(кг/оборот).

Е=Г*)

Г- габаритный объем всех штабелей в камере, ;

 - коэффициент объемного заполнения штабеля расчетным материалом.

).

Масса влаги, испаряемой из камеры в секунду (кг/с)

/с); (3)

-продолжительность собственно сушки, ч.

/с)


При низкотемпературных режимах в камерах периодического действия:

 

Расчетная масса испаряемой влаги (кг/с)

(кг/с); (4)

-коэффициент неравномерности скорости сушки (рекомендуется принимать  для камер периодического действия при сушке воздухом до

(кг/с).

.3 Выбор режима сушки

Режим сушки выбирается в зависимости от породы и толщины расчетного материала, а также требований, предъявляемых к качеству сухой древесины.

В настоящее время установлены 4 категории качества сушки пиломатериалов

-Сушка до транспортной влажности ;

I-сушка пиломатериалов до (Производство музыкальных инструментов, точное машиностроение, производство лыж и др.)

II- сушка пиломатериалов до ( мебельное производство и др.)

III- сушка пиломатериалов до (производство строительных изделий, машиностроение и др.)

В зависимости от требований, предъявляемых к качеству сухой древесины, пиломатериалы могут высушиваться режимами различной жесткости.

Таблица 1- Режимы низкотемпературного процесса сушки пиломатериалов (мягкие, нормальные и форсированные)

Порода

Режим

III Ступени

Влажность древесины, %

Параметры сушильного агента

  Дуб

  Н

 I II III

 60-30% 30-20% 7-18%

t





63 67 83

5 9 25

0,78 0,64 0,3

.4 Определение параметров агента сушки

Агент сушки - влажный воздух.

По выбранному режиму назначается расчетная температура Для камер периодического действия эти параметры берутся по второй (средней) ступени режима (W=30÷20%).

Таблица 2- Нахождения агента сушки на входе

67

0,64

136

420

0,95

1,2


3.5 Определение объема и массы циркулирующего агента сушки

Объем циркулирующего агента сушки определяется, (/с);

(/с); (5)

- расчетная (заданная) скорость циркуляции агента сушки через штабель, м/с;

-живое сечение штабеля,

 (/с).

/с);

-количество штабелей в плоскости, перпендикулярной входу циркулирующего агента сушки;

-длина и высота штабеля, м;

-коэффициент заполнения штабеля по высоте.

/с).

Масса циркулирующего агента сушки на 1 кг испаряемой влаги (кг/кг)

кг/кг) ; (6)

-приведенный удельный объем агента сушки на входе в штабель,/кг). Определяется по Id-диаграмме или расчетным путем.

кг/кг).

Определение параметров воздуха на входе из штабеля.

Сначала на Id- диаграмму по выбранному режиму с параметрами  (на входе в штабель) наносится точка 1. Затем из точки 1 проводится линия , параллельным основным линиям Y=const. На оси влагосодержания находится величина :

(г/кг) ; (7)

(г/кг).

Таблица 3- Нахождение агента сушки на выходе

56

1

136,41

600

0,95

1,27


Уточнение объема и массы циркулирующего агента сушки.

- масса циркулирующего агента сушки на 1 кг испаряемой влаги, кг/кг;

(кг/кг); (8)

(кг/кг).

- уточнение объема и массы циркулирующего агента сушки:

/с); (9)

/с).

(кг/с) ; (10)

(кг/с).

3.6 Определение объема свежего и отработавшего воздуха или перегретого пара

Масса свежего и отработавшего воздуха на 1 кг испаряемой влаги,( кг/кг);

(кг/кг); (11)

- влагосодержание свежего воздуха, г/кг (при поступлении из коридора управления или цеха  г/кг).

(кг/кг).

Объем свежего (приточного) воздуха, поступающего в камеру:

/с) ; (12)

- приведенный удельный объем свежего воздуха /кг (при ; /кг).

/с).

Объем отработавшего воздуха (выбрасываемого из камеры):

/с); (13)

 приведенный удельный объем отработавшего (на выходе из штабеля) воздуха,/кг.

/с).

.7 Определение расхода тепла на сушку

Расход тепла на начальный прогрев 1 древесины, /

. Для зимних условий:

/                           (14)

- плотность древесины расчетного материала при заданной начальной влажности ,кг/ (определяется по диаграмме)

- условная плотность древесины расчетного материала, кг/

- скрытая теплота плавления льда (335 кДж/кг)

-средняя удельная теплоемкость соответственно при отрицательной и положительной температуре, кДж/(кг*

-начальная расчетная температура для зимних условий,

-температура древесины при ее прогреве,

Для камер периодического действия: при использовании низкотемпературных режимов +5, где - температура первой ступени режима.

/;

При определении удельной теплоемкости древесины средняя температура () древесины принимается,  ;

 ;

 

. Для среднегодовых условий:

/;

- среднегодовая температура древесины,.

/

Удельный расход тепла при начальном прогреве на 1 кг испаряемой влаги,(кДж/кг);

Для среднегодовых условий:

(кДж/кг)

Для зимних условий:

 ;

.

Определение расхода тепла на испарение влаги, (кВт);

 (17)

- теплосодержание воздуха на выходе из штабеля, кДж/кг;

- теплосодержание свежего (приточного) воздуха, кДж/кг;

- влагосодержание воздуха на выходе из штабеля, г/кг;

- влагосодержание свежего (приточного) воздуха , г/кг;

- удельная теплоемкость воды,

 

- общий расход тепла на испарение влаги (кВт);

 (кВт);

- температура нагретой влаги в древесине, принимается равной температуре прогрева.

 (кВт).

Потери тепла через ограждения камеры

 - суммарные теплопотери через ограждения камеры в единицу времени (секунду)

 (18)

- суммарная поверхность ограждений крайней камеры в блоке,

- коэффициент теплопередачи соответствующего ограждения камеры, Вт /*;

- температура среды в камере,

- расчетная температура наружного воздуха для зимних и среднегодовых условий.

 1,5 = 2,58

Таблица 3- Расчет поверхности ограждений камеры

Наименование ограждений

Формула

Площадь,

1.Наружная боковая стена

21

2.Торцовая стена со стороны коридора управления

10,64

3.Тоцовая стена со стороны траверсного пути без учета площади дверей

4,06

4.Перекрытия

28,5

5.Пол

28,5

6.Дверь

6,58


Таблица 4- Расчет потерь тепла через ограждения

№ п/п

Наименование ограждений

1

Наружная боковая стена

21

0,465

 62,5

 20

 42,5

0,41

2

Торцовая стена со стороны коридора управления

10,64

0,465




0,21

3

Торцовая стена со стороны траверсного пути без учета площади дверей

4,06

0,465




0,08

4

Перекрытия

28,5

0,465




0,56

5

Пол

28,5

0,233




0,28

6

Дверь

6,58

0,653




0,18


- удельный расход тепла на потери через ограждения (определяется для зимних среднегодовых условий), (кДж/кг)

(кДж/кг);

(кДж/кг).      

Определение расходного тепла на сушку, (кДж/кг)

Определяется для зимних среднегодовых условий

Для зимних условий:

(кДж/кг);(20)

-коэффициент, учитывающий дополнительный расход тепла на начальный прогрев камер, транспортных средств, оборудования. Принимается в зависимости от условий процесса от 1,1 до 1,3

кДж/кг).

Для среднегодовых условий:

(кДж/кг)

Определение расхода тепла на 1  расчетного материла, (кДж/;

Определяется для среднегодовых условий:

(кДж/; (21)

(кДж/

.8 Выбор типа и расчет поверхности нагрева калорифера

Выбор типа калорифера

В воздушных и паровоздушных лесосушильных камерах используются, как правило, калориферы двух типов: сборные из чугунных ребристых труб пластинчатые.

Тепловая мощность калорифера

- тепловая мощность калорифера

 (22)


Расчет поверхности нагрева калорифера

 

.

 

где - поверхность нагрева одной трубы.

 


- скорость агента сушки через калорифер, (м/с) (26)

(м/с);

(м/с).

Коэффициент теплопередачи калорифера их чугунных ребристых труб при принудительной циркуляции определяется по приведенной скорости, т.е. , (Вт/*;

 (28)

3.9 Определение расхода пара

Расход пара на 1  расчетного материала,(кг/м3);

(кг/;(30)

- суммарный удельный расход тепла на сушку для среднегодовых условий, кДж/кг;

- энтальпия сухого насыщенного пара при определении давления, кДж/кг;

- энтальпия кипящей воды при том же давлении, кДж/кг;

кг/

Расход пара на камеру (кг/ч);

Для камер периодического действия:

В период прогрева:

/, (кг/ч); (31)

 

- коэффициент, учитывающий потери тепла паропроводами, конденсатопроводами, конденсатоотводчиками при неорганизованном воздухообмене;

В период сушки:

(кг/ч).

Расход пара на сушильный цех (кг/ч);

(кг/ч);                      (32)

- число камер, в которых одновременно идет прогрев материла( принимается равной 1/6 от общего числа камер и не менее 1);

- остальные камеры цеха, в которых идет процесс сушки;

(кг/ч)

Среднегодовой расход пара на сушку всего заданного объема пиломатериалов (кг/год)

(кг/год);(33)

- объем фактически высушенного или подлежащего сушке пиломатериалов данного размера и породы,

- коэффициент, учитывающий увеличение расхода пара при сушке пиломатериалов, сохнущих медленнее расчетного материала.

(кг/год)

- средневзвешенная продолжительность сушки фактических пиломатериалов, (ч);

 


- продолжительность сушки фактических пиломатериалов отдельно по породам и сечения, ч;

- годовой объем этих же пиломатериалов отдельно по породам и сечениям,

.10 Определение диаметров паропроводов и конденсатопроводов

- диаметр паропровода к коллектору камеры, (м);

 (35)

- расход пара на камеру периодического действия для зимних условий в период прогрева, кг/ч;

- принимается 40-50 м/с.

;

 (36)

.

 

Где  общий расход тепла на прогрев материала в зимний условиях, кВт 

- диаметр конденсационного трубопровода от калорифера камеры, (м);

 (37)

- плотность конденсата, кг/;

- скорость конденсата, м/с.

 

- диаметр конденсационной магистрали, (м);

(38)

- количество камер в цехе;

- принимается 1-1,5 м/с.

.11 Выбор конденсатоотводчиков

В лесосушильных камерах для удаления конденсата из калорифера до последнего времени преимущественно использовались гидравлические конденсатоотводчики. Выбор их производится по коэффициенту пропускной способности (кг/ч)


Где расход пара на сушку в зимних условиях

 перепад давления в конденсатоотводчике, бар

 плотность конденсата, кг/ м3

 коэффициент, учитывающий снижение пропускной способности конденсатоотводчика при удалении горячего конденсата по сравнению с холодным конденсатом


Где  абсолютное давление пароводяной смеси перед конденсатоотводчиком, бар

 абсолютное давление конденсата после конденсатоотводчика. Бар

4. Аэродинамический расчет

Основной целью аэродинамического расчета является определение сопротивлений движению агента сушки и последующий выбор вентилятора и приводного электродвигателя.

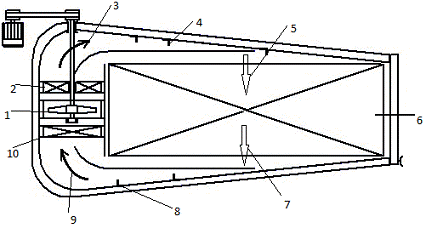
.1 Схема разбивки кольца циркуляции агента сушки

-вентилятор

; 10- калорифер

; 9 -поворот по радиусу

; 8 - Поворот на 90°

-вход в штабель (внезапное сужение потока)

-штабель

-выход из штабеля (внезапное расширение потока)

4.2 Расчет сопротивлений на всех участках движения агента сушки

№1-вентилятор

( (1)

-предварительно принимаемый диаметр вентилятора, (м)

- число вентиляторов в камере;

(

(м/с);

- площадь живого сечения участка в плоскости, перпендикулярной потоку агента сушки, (

(м/с).

 сопротивление участка кольца циркуляции агента сушки, Па.

(Па);

- плотность агента сушки, кг/ (;

- скорость циркуляции агента сушки на каждом участке.

(Па).

№2; 10 - калорифер

(.(м/с);

(м/с).(Па);

 (Па).

№3; 9 - поворот по радиусу

(

 

r- расстояние между ложным потоком и боковой поверхностью ограждения на участке, м;

- длина камеры, м.

(

(м/с);

(м/с) .

(Па);

(Па).

№4; 8 -поворот на 90

(;

- расстояние между боковой поверхностью штабеля и стеной камеры на половине высоты, м.

(

(м/с);

(м/с).

(Па);

(Па).

№5 -вход в штабель

(;

(

(м/с);

(м/с).

(Па);

(Па).

№6 -штабель

(

(

(м/с);

(м/с).

(Па);

(Па).

№7 -выход из штабеля

(;

(

(м/с);

(м/с).

(Па);

(Па).

 (2)

 (Па)

.3 Выбор вентилятора

- производительность,/ч);

/ч);(3)

- число вентиляторов в камере.

/с) = 53388 /ч).

.4 Выбор электродвигателя


где  объемный расход свежего воздуха.

 скоромть воздуха


 объемный расход отработанного агента сушки ;

Выбираем вентилятор Ц4-70 №12,5

Исходными данными для подбора вентилятора являются требуемое давление , Па, или потеря напора агента сушки ,Па, по кольцу циркуляции и производительность Q,/с), по перемещению агента сушки. Эти величины принимают по данным теплового и аэродинамического расчета сушильной камеры для тех возможных режимов эксплуатации, при которых они достигают наибольшего значения.

Р= ; (4)

- плотность воздуха при рабочих условиях (кг/ (.

Р=.

-мощность на колесе вентилятора (кВт)

;(5)

- КПД вентилятора при рабочих режимах 0,9.


- мощность на валу вентилятора (кВт);

 (6)

=0,96…0,97- КПД подшипников.

;

- мощность расчетная на валу двигателя, (кВт);

; (7)

=0,9…0,95 клиноременная передача.

.

- установленная мощность электродвигателя к вентилятору, (кВт);

; (8)

- коэффициент запаса мощности.


- мощность потребляемая в сети, (кВт);

; (9)

=0,8…0,85- КПД электродвигателя.

.

Выбираем электродвигатель типа 4А180М243

5. Технологический процесс сушки

5.1 Транспортные и погрузочно-разгрузочные операции. (Применяемые механизмы и их расчет)

- производительность оборудования, (м3);

 (1)

- сменная производительность механизма, (м3);

- количество смен в сутки;

- число рабочих дней в году;


- требуемое количество оборудования, (шт);

 (2)

Ф- объем работы в году, который необходимо выполнить для обеспечения нормальной работы цеха, (м3);

- коэффициент учитывающий неравномерное поступление древесины (1…1,5)

 (шт).



Принимаем 1 лифт для формирования и расформирования штабеля

 (3)

- процент загрузки оборудования, (%);


Формирование, транспортировка и разборка сушильных штабелей - наиболее трудоемкие операции в лесосушильных цехах. Эти технологические операции с каждым годом все более механизируются, но в целом по отрасли доля ручного труда здесь велика. Полностью механизированы эти операции лишь на некоторых крупных лесопильно- деревообрабатывающих предприятиях, выпускающих товарные пиломатериалы.

На небольших деревообрабатывающих и мебельных предприятиях для ручной укладки и разборки штабелей пиломатериалов рекомендуется лифт Л-6,15-15.

Лифт предназначен для облегчения ручного труда при формировании или разборке штабеля пиломатериалов на треках или подштабельной тележке. Лифт рассчитан на формирование сушильного штабеля длиной 6500 мм, шириной - до 1800 мм и высотой до 2600 мм.

Для формирования штабеля высотой 3 м необходимо сделать помост высотой 500 мм со стороны укладки штабеля. Лифт расположен в приямке, в который отпускается платформа по мере набора штабеля.

Платформа поднимается и отпускается с помощью четырех подъемных винтов, приводимых во вращение от привода через систему коробок конических передач, находящихся на дне приямка.

Опоры каждого подъемного винта монтируют на стойке и коробке конической передачи. Стойки соединены между собой поперечными элементами и образуют жесткую раму. Гайки на подъемных винтах жестко связаны с подъемной платформой. Крайнее верхнее и нижнее положение платформы фиксируются конечными выключателями.

Техническая характеристика лифта Л-6,5-15

Габаритные размеры подъемной платформы, мм

Грузоподъемность, т…………….………………………...............15

Габаритные размеры подъемной платформы, мм

длина………………………………………………………………6900

ширина……………………………………………………………2200

Ход платформы, мм……………..……………………………….2600

Наибольшая высота от уровня головки рельса пола до верха рельса

На платформе, мм…………………….…………………………...715

Расстояние между стойками подъемных винтов, мм:

по длине………………………………….……………………….5000

по ширине……………………………………................................2480

Скорость перемещения платформы, м/с………………………0,0104

Электродвигатель……………………………….АО2-61-6 исп.М 101

мощность, кВт………………………………..………………..…... 10

частота вращения,,……………………..……………..…….980

редуктор ………………..…………………..….………РПД 40-16-8Ц

Габаритные размеры приямки, мм:

Длина ………………………………………………………………. 7000

Ширина………………………………………………………………3000

Высота……………………………………………………………….3115

Масса, кг…………………………………………………………… 2930

В камерах периодического действия сушильный штабель сушильный штабель укладывается на подштабельные тележки или треки и перемещается на них по рельсовому пути как в цехе, так и в камере.

Для перевозки штабелей пиломатериалов и заготовок с одного пути на другой, параллельно ему, а также для загрузки и выгрузки сушильных камер применяют электрифицированные траверсные тележки

При формировании сушильного штабеля из пакетов применяют автопогрузчики. Рекомендуется автопогрузчик Львовского завода автопогрузчиков модели 4008-М. Автопогрузчиков модели 4008-М - универсальная подъемно- транспортная машина большой производительности. Он может работать с вилами длиной 1,5 м для перегрузки штучных грузов массой до 10 т и длиной 3 м для перемещения крупногабаритных грузов. Вилы длиной 3 м включаются в поставку по условиям заказа

Техническая характеристика тележки ЭТ2-6,5

Допускаемые габаритные размеры штабеля для перевозки

На специальных тележках или треках, мм:

ширина…………………………………………………………….....1800

высота………………………………………..…………………2600;3000

Допускаемые размеры штабеля для перевозки на трех специальных тележках или трех треках, мм:

длина………………………………………………………………...2000

ширина…………………………………………………………….. 1800

высота………………………………………………………..2600;3000

Грузоподъемность, кг…………………………………………..15000

Скорость передвижения, м/мин………………..……………….. 21,66

Скорость передвижения троса лебедки, м/мин.………………… 7; 92

Число рельсовых путей для тележки………………………………… 4

Общая установленная мощность, кВт………….……………………. 9

В том числе:

передвижение тележки…………………….…………………………..5

лебедки…………………..……………………………………………..4

Габаритные размеры тележки, мм:

длина…………………………….………………………………. .3900

ширина……………………………………………………………. .6490

высота общая от головки рельса…………………………………1660

высота между головками нижнего и верхнего рельсов………… .215

ширина колеи траверсного пути………………………………… 2000

Масса, кг……………………..…………………………………… 3000

.2 Автоматизированная система управления

Автоматическая система управления циклом сушки с использованием контроллера "DELFI" (Италия) позволяет управлять исполнительными механизмами камеры и осуществлять обратную связь по показаниям датчиков с обновлением в непрерывном режиме. Обеспечивается точная выдержка заданных параметров цикла сушки и выполнение всех операций, включая промежуточную влаготеплообработку. Достигается высокое качество высушенных пиломатериалов, удобство и простота технического обслуживания с возможностью получать детальный отчет о процессе сушки в печатном виде, повышение производительности и снижение расхода тепло-электроэнергии на 10-20%.

Имеется возможность объединения до 32 контроллеров сушильных камер в единую сеть с управлением через центральный персональный компьютер с удаленным доступом.

.3 Описание технологического процесса сушки

Плотный пакет сырых пиломатериалов подвозится к цеху с помощью автолесовоза и устанавливается на подштабельном основании, перед загрузочно-разгрузочными воротами лесосушильного цеха. В цех пиломатериал закатывается по рельсовому пути с помощью приводной лебедки установленной в цехе. На участке по формированию сушильных штабелей(поз.1) сырой пиломатериал формируют в сушильный штабель при помощи двух укладчиков и механизма лифт Л 6,5-15. Сушильный штабель состоит из подштабельного основания- используют трековые тележки; ряд досок уложенных на меж рядные прокладки-их количество зависит от породы, длины штабеля и толщины досок; прижимных гидравлических устройств-используют для прижатия верхних рядов досок сушильного штабеля. Сформированный сушильный штабель перемещают по рельсовому пути на траверсную тележку ЭТ 2-6,5(поз.2) при помощи лебедки установленной на ней. Траверсная тележка перевозит сушильный штабель по траверсной траншее(поз.3) на склад сырых пиломатериалов(поз.4)или к лесосушильной камере СПЛК-2(поз.5). Склад сырых пиломатериалов является местом запаса плотных пакетов сырых пиломатериалов и сформированных сушильных штабелей по мере необходимости, которые перемещаются к сушильным камерам, либо к месту формирования сушильного штабеля. Закатывание сушильного штабеля в лесосушильную камеру осуществляется при помощи лебедки по рельсовому пути. Технологический процесс сушки древесин устанавливается согласно режимам сушки и состоит из стадий:

.Прогрев древесины;

.Сушка по первой ступени;

.Сушка по второй ступени;

.Промежуточная влаготеплообработка (по показаний силовых секций);

.Сушка по третий ступени;

.Конечная влаготеплообработка (по показаний силовых секций);

.Кондиционирующая обработка(по показателем секций послойной влажности);

.Охлаждение материала;

Контроль и регулирование процесса сушки осуществляется из коридора управления (поз.6) оператором сушильных установок. Контроль качества процесса сушки осуществляет лаборант.

Высушенные пиломатериалы выгружаются из лесосушильной камеры и с помощью траверсной тележки перемещаются на склад сухих пиломатериалов(поз.7) либо к месту расформирования сушильных штабелей(поз.8). Расформирование сушильных штабелей осуществляется с помощью механизма Лифт Л6,5-15. Плотные пакеты сухих пиломатериалов вывозятся из цеха по рельсовому пути на трековых тележках через ворота (поз.9).

В лесосушильном цехе имеются бытовые и вспомогательные помещения, позволяющие осуществлять производственные операции и соблюдать правила охраны труда.

6. Строительная часть

Ориентировочный состав и соотношение площадей участков сушильного цеха

Наименование участков и помещений Процент от общей площади цеха,% Площадь,    I. Производственные участки  1.Сушильные камеры 2.Траверсные коридоры 3.Помещение для формирования сырых штабелей 4.Склад сырых пиломатериалов (штабелей) 5.Помещение для формирования сухих штабелей 6.Склад сухих пиломатериалов (остывочное помещение) 7.Коридор управления  18 25  8  12  10  14 5  399 554  177,28  265,92  221,6  310,24 110,8  Итого     II.Вспомогательные помещения 8.Лаборатория цеха (15-25 9.Механическая мастерская (10-20 10.Контора, комната начальника цеха(10-16    Итого 4 88,64   III. Бытовые помещения 11.Комната отдыха 12.Курительная 13.Гардероб 14.Душ, санузел    Итого 4 88,64  Всего  2216,12 



Список используемых источников

Справочник по сушке/ Е.С. Богданов, В.А. Козлов, В.Б. Кунтыш и др./ Под.ред. Е.С. Богданова.- М.: Лесная промышленность, 1990. -304с.

Сушка и защита древесины/ И.В.Кречетов/ Под.ред. Э.Г. Юрга.- М.: Лесная промышленность, 1987. -328с.

Гидротермическая обработка и консервирование древесины/ С.А.Акишенков./ Под.ред. Л.В. Лукьянчук.- Л.: Учебное пособие, 1979. -75с.

www.kamistankoagregat.ru

Похожие работы на - Проект сушильного цеха для камер периодического действия Sateko

 

Не нашли материал для своей работы?
Поможем написать уникальную работу
Без плагиата!
Без нейросетей!