Проект лесопильного цеха на базе фрезерной линии и круглопильного станка с рециркуляцией брусьев

  • Вид работы:
    Курсовая работа (т)
  • Предмет:
    Другое
  • Язык:
    Русский
    ,
    Формат файла:
    MS Word
    110,49 Кб
  • Опубликовано:
    2013-02-12
Вы можете узнать стоимость помощи в написании студенческой работы.
Помощь в написании работы, которую точно примут!

Проект лесопильного цеха на базе фрезерной линии и круглопильного станка с рециркуляцией брусьев

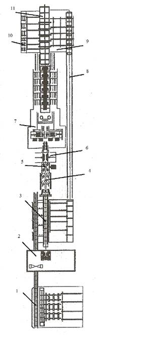
Структурная схема лесопильного цеха






















- транспортёр

- кабина оператора

- подающий транспортёр

- центрователь

- фуговальный станок

- фрезерно-брусующий станок

- круглопильный станок

- рольганг для возврата брусьев

- поперечный транспортёр

- продольный транспортёр для необрезных досок

- продольный транспортёр для обрезных досок

Введение

За последние несколько десятков лет произошли коренные изменения в области технологии, оборудования и систем управления лесопильной промышленности.

Вместо лесопильных рам в современных процессах лесопиления используется фрезерное, фрезерно-ленточнопильное и фрезерно-круглопильное бревнопильное оборудование, имеющее в несколько раз большую производительность, чем лесопильные рамы. Скорость подачи автоматизированных обрезных станков достигает до 200 и более метров в минуту. Вместо полумеханизированных сортплощадок для сортировки сырых пиломатериалов используются автоматизированные линии для выборочной торцовки и автоматической сортировки досок по сечениям.

Процессы сортировки бревен вынесены из бассейнов на берег и осуществляются на автоматизированных линиях для окорки и сортировки пиловочника с накоплением больших запасов рассортированного сырья перед лесопильными цехами.

Отгрузка пиломатериалов с лесопильных предприятий производится в транспортных пакетах, сформированных из досок одной породы, одного сорта, одного сечения и преимущественно одной длины. Окончательная обработка пиломатериалов осуществляется после их сушки на комплексно-механизированных и специализированных автоматизированных линиях, осуществляющих окончательную торцовку и сортировку досок по сортам и длинам с формированием, упаковкой и обвязкой транспортных пакетов пиломатериалов.

Такой технологии окончательной обработки пиломатериалов всего несколько десятков лет, но для ее осуществления уже создано и функционирует оборудование второго поколения.

1. Расчёт производственной мощности лесопильного предприятия

Предприятие производственной мощностью 150000 м3 брёвен в год относится к средним предприятиям. В качестве головного оборудования принимается линия с гибкими поставами и рециркуляцией брусьев на базе круглопильного станка с двухвальным пильным механизмом немецкой компании Esterer WD GmbH & Co. В качестве круглопильного оборудования используется круглопильный станок фирмы Esterer WD с рециркуляцией брусьев с шестью круглыми пилами. На линии DWK двухсуппортная конструкция круглопильного станка с верхним и нижним телескопическими валами на каждом суппорте позволяет быстро и бесступенчато позиционировать поставы, используя горизонтальное перемещение суппортов и вертикальное всех пильных валов. Для защиты пильных валов и улучшения качества пропила применяется фрезерный агрегат.

Особенностью этой схемы является применение фуговального станка для формирования базовой поверхности для дальнейшей переработки брёвен, обеспечивающего высокую точность и объёмный выход выпиливаемых пиломатериалов.

Брёвна перерабатываются на фрезерно-брусующем и круглопильном станках. Для уменьшения толщины пропила и возможности распиловки распиловки брёвен до 52 см на круглопильном станке применеятся двухвальная технология. После переработки брёвен брусья при необходимости посредством механизма возврата возвращаются к началу процесса. Доски при помощи вальцов для позиционирования пиломатериалов поступают на дальнейшую переработку.

Особенностью данных процессов является распиловка (переработка) каждого из последовательно поступающих брёвен различных диаметров индивидуальными (оптимальными) поставами, обеспечивающими высокий выход пиломатериалов. Как для фрезерно-брусующего, так и для круглопильного станков, перенастройка поставов перед каждым бревном занимает около 1 с. Круглопильный станок при этом имеет бесступенчатое регулирование поставов на обоих валах.

Основные технические характеристики линии DWK: максимальная высота прохода - 700 мм; ширина прохода - 70 . . . 660 мм; диаметр круглых пил - 520/640 мм; высота пропила - 48 . . . 250/370 мм; скорость подачи - до 200 м/мин; перемещение инструмента - сервогидропривод; вес - около 24 т.

Объём бревна рассчитывается по формуле:

,

где L - длина бревна, м; d - диаметр бревна, м;

м3

Фактическая производительность рассматриваемой круглопильной линии с рециркуляцией брусьев при распиловке брёвен i-х диаметров определяется по формуле

,

где U - скорость подачи бревна; nпр - число проходов бревна и бруса по круглопильной линии, их количество зависит от выбранного постава; KM - коэффициент использования машинного времени, который учитывает цикловые конструктивные потери, в линиях с рециркуляцией принимается равным 0.9; Kn - коэффициент скрытых потерь, характеризует снижение расчётной скорости распиловки брёвен вследствие падения напряжения на зажимах нагрузки; - коэффициент технического использования линии с рециркуляцией брусьев;  - коэффициент использования обрезных станков, Tc - продолжительность смены, мин; qi - объём бревна i-го диаметра заданной длины, м3.

Скорость подачи брёвен U зависит от типа используемого оборудования и выбирается по его паспортным данным. Примерная скорость подачи может быть определена по следующей системе формул:

,

где d0 и d1 - соответственно, наименьший и наибольший диаметр брёвен в обрабатываемой кривой сырья, мм; U0 и U1 - соответственно, максимальная и минимальная скорость распиловки соответствующих диаметров, м/с; G0 и G1 - коэффициенты аппроксимации.

Полученные коэффициенты аппроксимации в результате решения вышеуказанной системы подставляются в формулу

,

где d - диаметр, для которого определяется скорость подачи, мм; G0 и G1 - определяются один раз для выбранного типа оборудования.

Решение системы даёт следующие значения: G0 = 780, G1 = 25.

Таким образом, получается

Например, для бревна диаметром 120 мм скорость подачи U12 определяется как

 м/мин

Коэффициент технического использования линии  определяется по формуле

,

где  - сумма случайных простоев круглопильной линии, зависит от безотказной работы оборудования (принимается 48 мин);  - сумма случайных простоев участка обрезки необрезных пиломатериалов (24 мин);  - коэффициент наложенных потерь времени участка обрезки необрезных пиломатериалов (принимается равным 0.96).

Фактическая производительность линии при распиловке брёвен диаметром 12 см и длиной 6.5 м, м3 в смену

 м3 в смену.

Число смен, необходимых для распиловки брёвен i-го диаметра, объём которых в 1000 м3 сырья равен , определяется по формуле


и для брёвен 12-го диаметра равняется

Производительность линии и число смен, необходимых для распиловки других диаметров, рассчитываются аналогично.

Среднесменная производительность круглопильной линии с рециркуляцией брусьев рассчитывается по формуле


 м3 брёвен/смена.

Годовая фактическая производительность лесопильного цеха равна, м3 брёвен/год, по формуле

,

где Nсм - сменность работы предприятия, TГ - годовой фонд времени, смен;  - коэффициент использования линии для сортировки досок, КЗ - коэффициент загрузки; КГ - коэффициент, учитывающий среднегодовые условия работы.

м3

Таблица 1 Производительность предприятия на базе круглопильного станка фирмы Esterer WD с рециркуляцией брусьев

Диаметр бревна di, см

Объём бревна qi, м3, при L=

ΣVбрi, м3, при dср=

Qi, м3/смена

U, м/мин

Число смен

nпр


6.5

19.0



nсм ЛФП


12

0,09928

11,56

207

90

0,0559

2

14

0,13191

97,04

246

81

0,3939

2

16

0,16940

135,95

289

74

0,4702

2

18

0,21176

153,69

335

68

0,4590

2

20

0,25897

148,17

384

64

0,3863

2

22

0,31105

128,31

435

60

0,2949

2

24

0,36799

101,74

326

58

0,3117

3

26

0,42979

73,98

365

55

0,2029

3

28

0,49646

43,92

607

53

0,0723

2

30

0,56798

36,88

447

51

0,0825

3

32

0,64437

24,58

736

49

0,0334

2

34

0,72562

16,05

537

48

0,0299

3

36

0,81173

10,26

877

47

0,0117

2

38

0,90271

6,55

634

46

0,0103

3

40

0,99854

3,97

686

45

0,0058

3

42

1,09924

3,09

739

44

0,0042

3

44

1,20480

1,59

794

43

0,0020

3

46

1,31522

0,981

638

42

0,0015

4

48

1,43051

0,647

683

41

0,0009

4

50

1,55065

0,384

971

41

0,0004

3

52

1,67566

0,658

1034

40

0,0006

3



1000



2,8303



2. Расчёт процессов подготовки пиловочного сырья к обработке

пиломатериал мощность станок лесопильный

Для обеспечения непрерывности работы лесопильного цеха при современном уровне автоматизации необходимо иметь запасы брёвен, сглаживающие неравномерности сортировки брёвен, а также задержки с поставками на биржу сырья.

Фактическая производительность лесопильного цеха  м³ брёвен в год. Окорка и сортировка пиловочника осуществляется на комплексной линии ОК-БС =1,1. Средний диаметр брёвен на предприятии dср = 19 см и средняя длина брёвен Lср = 6.5 м. Планируемые простои комплексной линии  = 30 мин. Случайные простои участков окорки и сортировки брёвен  = 24 мин;  = 24 мин. Время простоев комплексной линии по организационным причинам = 24 мин. TГ = 500 смен.

Пропускная способность комплексной линии ОК-БС, брёвен в минуту, определяется по формуле:

 бр/мин

Для обеспечения окорки и сортировки пиловочника при производственной мощности предприятия 153057 м³ брёвен в год необходима линия БС60-2Ф с пропускной способностью 2.71 брёвен в минуту, (т.е. с длительностью рабочего цикла Tц = 22.14 с) и с максимальным количеством брёвен в накопителе между участками окорки и сортировки Е=10 брёвен.

При этих условиях коэффициент использования комплексной линии

,

где  - коэффициент межучасткового наложения случайных потерь времени оборудования окорки и сортировки брёвен;  - продолжительность смены, равна 480 мин.


Так как среднее время простоя для устранения неполадок ( при сумме случайных простоев окорочного и сортировочного оборудования, равных 24 мин, в течении 480-минутной смены уровень безотказной работы комплексной линии ):

сек.

Требуемая цикловая производительность комплексной линии в данном случае, шт. брёвен в смену:

,

где - годовой фонд времени работы комплексной линии, смены;  - коэффициент превышения производительности комплексной линии по сравнению со средней производительностью лесопильного цеха.

 шт. брёвен в смену

Оперативный запас брёвен А, м³, при периоде работы лесопильного цеха Tn = 2 смены при nгр = 21 равен

Средняя производительность бревнопильной линии, м³/смену:

 м³/смену,

где N - количество линий в лесопильном цехе, шт.

 м³

Ёмкость склада рассортированных брёвен Е, м³:

 м3

Время накопления оперативного запаса Tн, смен:

 смены

При цикловой производительности комплексной линии ОК-БС 1773 брёвен в смену, её цикловая производительность в минуту составляет 1773/480 = 3.69 брёвен.

На окорочном участке из двух окорочных станках 2ОК40 и 2ОК63-1 может быть максимально пропущено:


Число карманов-накопителей в данных условиях на комплексной линии ОК-БС:

,

где nгр - количество сортировочных групп брёвен; nрез - количество резервных карманов; nотб - накопители, в которые направляется низкокачественное сырьё; nкон - конечный карман, куда попадают брёвна, в процессе сортировки которых по тем или иным причинам произошли сбои в системах их замера и адресации.


3. Расчёт обрезки необрезных досок

Обрезка пиломатериалов служит для получения досок спецификационных сечений при не возможности (или нерациональности) их получения на головном оборудовании лесопильного цеха.

Максимальное число необрезных досок, поступающих от фрезерно-пильного оборудования, равно, шт. досок в минуту:


где Ui - скорость подачи фрезерно-пильного оборудования при переработке брёвен i-го диаметра, м/мин; KMi - коэффициент использования машинного времени; zндi - число необрезных (боковых) досок, выпиливаемых из бревна i-го диаметра на первом и втором проходах, шт.; lср - средняя длина распиливаемых брёвен, м.

Так как бревнопильная линия включает в процесс раскроя брёвен рециркуляцию брусьев, то скорость подачи обрезного оборудования принимается равной скорости подачи бревнопильного оборудования, поделённой на число проходов бревна (или бруса) по бревнопильной линии.

Таблица 2.

Диаметр брёвен, см

Количество необрезных досок

Скорость подачи, м/мин

, шт. досок/мин

12

2

45

12,46

14

2

40

11,18

16

2

37

10,21

18

4

34

18,92

20

6

32

26,58

22

6

30

25,11

24

8

19

21,23

26

10

18

25,38

28

6

26

21,96

30

8

17

18,83

32

8

25

27,35

34

12

16

26,55

36

10

23

32,31

38

10

15

21,01

40

12

15

24,65

42

12

15

24,13

44

12

14

23,66

46

12

10

17,43

48

14

10

19,99

50

10

14

18,74

52

12

13

22,15

 шт./мин

Средняя длина необрезных досок:

 м

Скорость работы обрезного станка:

 м/мин

Требуемая скорость обрезки:

,

где - коэффициент машинного времени обрезного станка:


где - время, необходимое на укладку очередной доски на впереди стоящий стол и её ориентацию, сек (0,1-2 сек); - время на перевод подвижной пилы, сек (0,1-1 сек); - время ухода доски с впередистоящего стола, сек; l - длина необрезной доски, м; S - расстояние прохода доски с места её укладки до передних подающих вальцов станка, м (0,6-0,8 м).

 м/мин

Цикловая производительность обрезного станка в шт./мин:

,

где l - длина обрезаемых досок, м.

 шт./мин

Расчёт интенсивности поступления сырых пиломатериалов на сортировочную линию.

Для определения производительности линии сортировки необходимо определить среднюю интенсивность поступления сырых пиломатериалов из лесопильного цеха:

,

где  - коэффициент технического использования линии для торцовки и сортировки досок (); - коэффициент загрузки лесопильного цеха (); N - число бревнопильных линий; n - число сортировочных групп лесопильного цеха;  - скорость подачи, м/мин;  - длина бревна, м;  - число досок, выпиливаемых из бревна i-го диаметра;  - коэффициент использования машинного времени;  - коэффициент наложенных потерь ();  - коэффициент технического использования бревнопильных линий;  и  - доля и сумма долей брёвен i-х диаметров, распиливаемых на j-й бревнопильной линии.

Расчёт долеё и суммы долей брёвен, а также числа брёвен удобно вести в табличной форме.

Результаты расчёта долей брёвен и числа брёвен для лесопильного цеха

Число брёвен определяется по формуле:


Доля бревна i-го диаметра определяется по формуле:


Таблица 3.

Диаметр бревна d, см

Объём брёвен q, м3

ЕV бр

Доля в %

Число брёвен N бр

12

0,09928

11,56

2,86995006

116,438858

14

0,13191

97,04

18,1322024

735,654939

16

0,16940

135,95

19,7805188

802,529999

18

0,21176

153,69

17,8890207

725,788635

20

0,25897

148,17

14,1021048

572,146879

22

0,31105

128,31

10,167323

412,505949

24

0,36799

101,74

6,81446765

276,474786

26

0,42979

73,98

4,24260057

172,129672

28

0,49646

43,92

2,18050789

88,4669917

30

0,56798

36,88

1,60041421

64,9315838

32

0,64437

24,58

0,94020509

38,1457534

34

0,72562

16,05

0,54518238

22,1189958

36

0,81173

10,26

0,31153777

12,6396281

38

0,90271

6,55

0,1788426

7,25595477

40

0,99854

3,97

0,09799415

3,97579298

42

1,09924

3,09

0,06928544

2,81103043

44

1,20480

1,59

0,03252806

1,31971988

46

1,31522

0,981

0,01838425

0,74588099

48

1,43051

0,647

0,01114784

0,45228709

50

1,55065

0,384

0,0061037

0,24763754

52

1,67566

0,658

0,00967868

0,39268074




100

4057,17365


Таблица 4.

Диаметр бревна d, см

Пропускная способность

Км

Кn

Кти

λi/Σλi

Кол-во досок z

Число досок Nд, шт./мин

12

13,846

0,9

0,96

0,834

0,02870

2

0,5727

14

12,418




0,18132

2

3,2449

16

11,346




0,19781

2

3,2344

18

10,513




0,17889

4

5,4206

20

9,846




0,14102

6

6,0032

22

9,301




0,10167

6

4,0884

24

8,846




0,06814

8

3,4750

26

8,462




0,04243

10

2,5868

28

8,132




0,02181

6

0,7666

30

7,846




0,01600

8

0,7239

32

7,596




0,00940

8

0,4117

34

7,376




0,00545

12

0,3477

36

7,179




0,00312

10

0,1612

38

7,004




0,00179

10

0,0903

40

6,846




0,00098

12

0,0580

42

6,703




0,00069

12

0,0402

44

6,573




0,00033

12

0,0185

46

6,455




0,00018

12

0,0103

48

6,346




0,00011

14

0,0071

50

6,246




0,00006

10

0,0027

52

6,154




0,00010

12

0,0052








31,2692


Таким образом, средняя интенсивность поступления досок из лесопильного цеха составляет:

 досок/мин.

5. Расчёт процессов окончательной обработки пиломатериалов

Понятие окончательной обработки возникло при пакетной отгрузке пиломатериалов. Для её осуществления потребовалось не только высушивать пиломатериалы до транспортной влажности и рассортировывать их по сечениям и сортам, но и производить их сортировку по длинам, маркировку и формирование транспортных пакетов, обёрнутых водонепроницаемой бумагой и обвязанных металлической лентой.

Окончательная обработка пиломатериалов является заключительной операцией производственного процесса лесопильного предприятия и включает в себя также хранение, комплектование отгрузочных партий спецификационных пиломатериалов и их отгрузку в планируемые сроки.

Средняя фактическая производительность ЛООП по входу, м³ в смену, определяется по формуле:

,

где - продолжительность смены, мин; - нормативная пропускная способность линии при обработке досок i-го сечения, шт./мин (при предварительных расчётах принимается равной 45 шт. досок в мин); - средний объём досок i-го сечения, м³; - доля досок i-го сечения, обрабатываемых на линии; - коэффициент технического использования линии окончательной обработки пиломатериалов.

,

где - планируемые простои линии в течении смены на осмотр механизмов, их регулировку, смазку и тд., мин; - случайные простои, из-за отказов механизмов линии в течении смены на осмотр механизмов, мин; - сумма организационных потерь времени из-за отсутствия подготовленных партий запуска пиломатериалов на линию, отсутствия вспомогательного транспорта и др., мин в течении смены; - время простоя комплексной линии по организационным причинам, мин.

,


Коэффициент технического использования ЛООП и коэффициент загрузки линии также могут быть представлены в виде единичного коэффициента:


 м3/смену

Средняя фактическая производительность ЛООП по выходу пиломатериалов в кондиционных транспортных пакетах, м³/смену, определяются по формуле:

,

где - коэффициент кондиционной транспортных пакетов из досок одной длины i-го сечения в партии их запуска. Он характеризует объёмный выход пиломатериалов , формируемых в транспортные пакеты одной длины.

,

где - коэффициент кондиционности транспортных пакетов из бессортных досок и досок IV сорта; - объём кондиционных материалов в партии, м³; - объём всей партии пиломатериалов, м³.

,

где - объём кондиционных транспортных пакетов из досок одной длины, бессортные и IV сорта (принимаем равным 324 м³); - объём некондиционных транспортных пакетов из досок нескольких длин V сорта (принимаем равным 190 м³); - объём некондиционных транспортных пакетов из досок (принимаем равным 190 м³); - объём коротких досок дилен , формируемых также в некондиционные пакеты из досок нескольких длин (принимаем равным 100 м³); - объём отрезков от пиломатериалов, получаемых в процессе обработки на комплексной линии ЛООП (принимаем равной 110 м³); - объём остатков пиломатериалов разных сортов, из которых не возможно сформировать пакеты с заданными размерами поперечных сечений (принимаем равным 50 м³); - объём некондиционных транспортных пакетов из досок нескольких длин, бессортных и IV сорта (принимаем равным 36 м³).

Коэффициенты , , , ,  могут быть определены по следующей системе формул:


 м3/смену

Заключение

В данном курсовом проекте представлен проект лесопильного цеха на базе фрезерной линии и круглопильного станка с рециркуляцией брусьев. Производственная мощность предприятия составила 153057 м3 брёвен в год.

С помощью программы «ОРТ-500» произведён расчёт поставов для выполнения спецификации.

Приведена структурная схема лесопильного цеха.

Произведён подбор головного оборудования лесопильных потоков, обрезных станков. Выполнен расчёт производительности лесопильных протоков.

Произведены расчёты процессов окорки и сортировки и накопления брёвен. Произведён расчёт окончательной обработки пиломатериалов.

Таким образом, рассчитаны все показатели, необходимые для управления производством на предприятии.

Список используемой литературы

1.      Р.Е.Калитеевский, А.М.Артеменков, А.А.Тамби, В.М.Торопов. Технология лесопильно-деревообрабатывающих производств. Проектирование лесопильных предприятий с пакетной отгрузкой пиломатериалов: Учебное пособие. СПб.:СПбГЛТА, 2007. 64с.

.        Р.Е.Калитеевский. Метод расчёта производственной мощности лесопильных предприятий, основные процессы лесопиления и методики их расчёта: Текст лекций. СПб.:СПбГЛТА, 2002. 124с.

.        Р.Е.Калитеевский. Оборудование, процессы и организация производства пиломатериалов: Учебное пособие. СПб.:СПбГЛТА, 2003. 156с.

Похожие работы на - Проект лесопильного цеха на базе фрезерной линии и круглопильного станка с рециркуляцией брусьев

 

Не нашли материал для своей работы?
Поможем написать уникальную работу
Без плагиата!
Без нейросетей!