Плазменно-дуговая сварка и наплавка
Плазменная сварка
Плазменная сварка относится к дуговому виду сварки и
характеризуется искусственным: сжатием столба дуги в канале сопла потоком газа
или магнитным полем. Микроплазменная сварка определена как «плазменная сварка,
при которой сила тока не превышает двадцати ампер». Однако в отличие от других
дуговых способов в процессе плазменной сварки проникающей дугой формирование
ванны и шва происходит при дополнительном воздействии плазменно-газового
потока.
Первое упоминание о разработке плазменной сварки относится к
1950-м гг. |2]. В течение 1960-х гг. были предложены несколько принципов
формирования плазменно-газового потока [3, 4]. В те же годы в ряде стран были
разработаны и внедрены оборудование и технология микроплазменной сварки
соединений толщиной 0,2...1 мм [5].
В ИЭС имени Е. О. Патона для изготовления конструкций из
алюминия впервые в мире была разработана плазменно-дуговая сварка на переменном
токе синусоидальной формы [6] и микроплазменная сварка на постоянном токе
обратной полярности и на переменном токе [7]. В ряде отраслевых НИИ и заводских
лабораториях СССР так же, как и в зарубежных фирмах, велись интенсивные
исследования, в ходе которых было разработано оборудование и технология
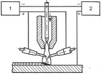
плазменной сварки дугой косвенного действия, на постоянном токе прямой и
обратной полярности, дугой прямого действия (рис. 1, трехфазной дугой (рис. 2),
с двойными дугами неплавящимися и плавящимися электродами с отдельными
источниками питания (рис. 3) [8]. Для повышения производительности плазменных
процессов при высоком качестве сварных швов разработаны комбинированные
способы, предусматривающие использование двух и более источников нагрева в зоне
сварки. Схема с двумя дугами была реализована в начале 1970-х гг. в процессах,
получивших название плазма-МИГ' сварки (-фирма «Филипс») [9, 10]. В 1960 г. в
ИЭС им. Е.О. Патона была предложена плазменная сварка биполярной дугой
сдвоенным плазмотроном или плазмотроном и дуговой горелкой, расположенными по
обе стороны от поверхности свариваемого изделия (рис. 4) [11].
Рис. 1. Схема плазменной сваркн: дугой прямого действия (а);
микроплазменной на обратной полярности (б); косвенного действия (в): 1 -
электрод; 2 - сопло; 3,4 - источник соответственно вспомогательной и основной
дуги; 5 - плазменная дуга; 6 - вспомогательная дуга; 7 - изделие; 8 - дуга
обратной полярности; 9 - столб дуги и факел
При проектировании сварочных плазмотронов учитывается ряд
требований и прежде всего необходимость повышения проплавляющей способности
плазмы и обеспечения хорошего формирования и качества металла шва. Поэтому
вопросы геометрии и компоновки электродного и шлакового(защитного или
плазменно-формирующего) узлов решаются в комплекте. Стабилизация дуги и
повышение ее проплавляющей способности достигается несколькими путями: 1)
повышением электрической мощности с сохранением степени сжатия (т. е. с
постоянной плотностью тока в канале плазмотрона); 2) повышением степени сжатия
путем уменьшения диаметра канала, изменения геометрии электродно-соплового узла
с ним; 3) комбинацией подключения к источникам питания электродов и сопла,
взаимодействия основной, дежурной и вспомогательной дуг, а также применением
импульсных режимов питания; 4) комбинацией процессов (неплавящимся и плавящимся
электродами) в условиях обдува потоком газа и т. п.
Рис. 2. Схема плазменной сварки трехфазной дугой: 1 -
электроды; 2 - дуги прямого и косвенного действия; 3 - источник питания; 4 -
изделие
Разработаны принципиальные схемы построения
электродно-соплового узла. Сопло с длинным прямым цилиндрическим каналом,
диаметр которого соизмерим с диаметром вольфрамового электрода, нашло
применение при сварке на переменном токе и постоянном токе обратной полярности.
Сварные соединения, выполненные плазменно дугой, характеризуются глубоким
проваром и незначительной шириной шва, причем эти параметры шва обеспечиваются
нa скоростях, которые при одинаковой мопшостн дуги превышают скорости, других
дуговых способов. В этой связи термическая эффективность процесса выгодно
отличается от показателей известных дуговых способов. Дополнительного сжатия на
выходе из канала удается достичь с помощью «фокусирующего» потока газа.
Рис. 3. Схема плазменно-дуговой сварки с боковой подачей
электродной проволоки: 1 - электрод плазмотрона; 2 -плазмотрон; 3 - плавящийся
электрод; 4 - источник питания плазмотрона; 5 - источник питания плавящегося
электрода; 6 - плазменная дуга; 7 - дуга плавящегося электрода; 8 - изделие
Рис. 4. Схема плазменно-дуговой биполярной: 1 - электрод
плазмотрона; 2 -плазмотрон; 3 - электрод; 2, 4 -сопло; 5 - изделие; 6 -
источник питания
Задача качественного формирования металла шва должна решаться
одновременно с обеспечением достаточной глубины проплавления и высокой
производительности процесса. Однако повышение плотности плазменно-газовой струи
и ее давления вызывает дефекты формирования, наиболее характерными являются
подрезы и наплывы. Стремление уменьшить динамический напор плазменно-газового
потока при достаточно высокой степени сжатия столба дуги привело к идее
засасывать сжимающий газ в канал сопла в направлении от поверхности изделия
(рис. 3)[12]. С этой же целью был разработан плазмотрон с системой подачи
сжимающего газа в радиальном направлении через стенку канала из пористого
газопроницаемого материала (рис. 6) [13].
Применение раздельного и независимого регулирования
теплосодержания основного и жидкого наплавляемого металла открывает новые
технологические возможности, в частности, способствует снижению перегрева
сварочной ванны и получению минимального перемешивания присадочного металла с
основным. Так, процесс сварки плазма-МИГ позволяет раздельно регулировать
тепловложение в основной и присадочный металл. Например, при сварке образцов
толщиной 16 мм на коррозионностойкой стали заполнение разделки осуществляли за
один проход. При минимальном перемешивании основного металла с жидким
присадочным металлом появляется возможность получить шов с любой формой
поперечного сечения без изменения формы разделки [14].
Рис. 5. Схема плазмотрона с обратным потоком
плазмообразующего газа
Вначале плазменный процесс был осуществлен с использованием
серийных источников питания, применяемых для обычных способов дуговой сварки с
модернизированной силовой схемой и схемой управления (для повышения напряжения
добавлялись обмотки: вспомогательная дуга питалась от специальной приставки)
[15]. Принципиально новые источники питания аппаратов с тиристорным управлением
были разработаны для микроплазменной импульсной сварки и ряда других способов
[5]. Одним из первых источников питания дуги для сварки на переменном токе,
вторичная обмотка трансформатора которого секционирована и в ветви,
пропускающей ток прямой полярности, выпрямитель выполнен управляемым [16]. В
1967 г. в ИЭС им. Е. О. Патона разработан способ контроля провара корня шва в
процессе плазменной сварки путем изменения электропроводности ионизированного
факела дуги, проходящего через сварочную ванну [17]. В дальнейшем этот способ
был использован в целях автоматизации технологии [18, 19].
Рис. 6. Схема плазмотрона с пористым соплом и радиальной
подачей "сжимающего" газа: 1 - вольфрамовый электрод; 2 - сопло; 3 -
вставка из пористого вольфрамо-медного сплава
Следует отметить, что уже первые способы плазменной сварки
нашли применение при производстве ответственных конструкций. В 1960-1970 гг.
исследования в области плазменных технологий как в СССР, так и за рубежом были
направлены на решение проблем авиа и ракетостроения, электроники, ядерной
энергетики, криогенной техники. Основное внимание уделялось улучшению качества
сварки изделий из алюминиевых, коррозионностойких и жаропрочных сплавов и
титана в большом диапазоне толщин различных типов соединений [20-22]. В
качестве плазмообразующих газов использовали аргон или гелий (в ряде случаев с
добавкой водорода). Плазменную сварку на переменном токе применяли при
изготовлении аппаратных зажимов (контактных наконечников) для линий
высоковольтных передач, состоящих из омедненной алюминиевой пластины толщиной 6
мм и алюминиевой штампованной детали Т-образной формы толщиной 12 мм [23].
Задача изготовления криогенных трубопроводов длиной до 12000 мм диаметром oт
150 до 600 мм и толщиной стенки от 2,0 до 8,0 мм из стали 12Х18Н10Т в НПО
«Криогенмаш» (РФ) была решена с помощью плазменной сварки на весу [24]. Спустя
десять лет после внедрения сварки проникающей плазменной дугой переменного тока
в производство топливных баков ракет в СССР [6], аналогичная технология начала
внедряться в США взамен аргонодуговой сварки наружных алюминиевых баков на
многоразовом космическом корабле «Шаттл» [25], Этой технологии отводят большую
роль и при строительстве космических станций. В 1989 г. НАСА (NASA) выбрала
технологию плазменной сварки для изготовления твердотопливных двигателей
космической ракеты для доставки конструкций международной космической станции
«Фридом». В 1979 г. в ИЗС им. Е. О. Патона экспериментально была установлена
возможность» плазменной сварки в углекислом кие с циркониевым и гафниевым
катодами и были сварены воздуховоды и канистры из малоуглеродистых
низколегированных сталей [26].
Микроплазменная сварка на протяжении десятилетий является
незаменимой при изготовлении и ремонте изделий электронной, ювелирной, часовой
промышленности, в производстве приборов, тонкостенных трубок, сильфонов,
зубопротезировании из многих типов сталей, золота, титана, вольфрама, ванадия,
меди, молибдена, никеля, тантала, ниобия, циркония и ряда других металлов.
Благодаря плазма-МИГ сварке удалось решить ряд проблем
технологии изготовления конструкций жаростойких и жаропрочных
высоколегированных сталей. В частности невысокое качество стыковых соединений
сплава Э11-202 толщиной 8...12 мм было получено при однопроходной плазма-МИГ
сварке [27]. Большой опыт эффективного применения плазма-МИГ сварки алюминиевых
цистерн накоплен фирмой «Швельмер айзенверк Мюллер унд компани» (ФРГ). Применив
оборудование фирмы «Филипс», удалось полностью исключить поры, подрезы и другие
дефекты в металле шва при одновременном увеличении скорости сварки по сравнению
с ранее применявшейся дуговой сваркой плавящимся электродом [28, 29]. Однако
оnмечена [30] разработка в Пермском ГТУ плазменной сварки плавящимся
электродом, обеспечивающая бездефектные сварные швы с заданными размерами при
больших скоростях сварки (>100 м/ч) и толщине свариваемого металла
(алюминиевых и титановых сплавов, сложнолегированных сталей) за один проход без
разделки кромок до 13 мм, с разделкой кромок более 20 мм. В ИЭС им. Е. О.
Патона разработан способ плазменно-порошковой сварки, при котором порошок
подается в плазму и заполняет разделку. Процесс проверен при механизированной и
ручной сварке металла толщиной 1...30 мм во всех пространственных положениях.
При варьировании составами присадочных порошков открываются новые возможности
получения неразъемных соединений металлических, композиционных и керамических
материалов [31].
Перспективным является способ сварки, основанный на
одновременном нагреве сварочной ванны плазменной дугой и лучом лазера. Первые
исследования такого «гибридного» способа сварки показали, что он обладает целым
рядом особенностей, которые нельзя объяснить простой суперпозицией свойств
используемых источников используемых источников нагрева взятых отдельно. Так,
за счет поглощения лазерного излучения в плазме реализуется особый вид газового
разряда - комбинированный лазерно-дуговой разряд [32].
Рис. 7. Схема комбинированного лазерно-плазменного процесса
обработки изделия: 1 - луч лазера; 2 - плазмотрон; 3 - плазменная дуга; 4 -
сварочная ванна; 5 - изделие
Около трех десятилетий развивается плазменная хирургия.
Испытания аппаратуры и хирургические операции на животных показали большую
перспективность применения плазменной технологии в медицине[33].
Дуговая сварка ряда изделий сложной формы требует
регулирования мощности теплового потока в соответствии с изменяющимся по длине
шва условием теплоотвода. При серийном и массовом производстве таких изделий
только автоматическое управление режимом сварки обеспечивает высокую
производительность при хорошей производимости результатов сварки и стабильности
геометрии шва. По сравнению с дуговыми способами сварки, плазменно-дуговая имеет
максимальное число параметров, которые можно диагностировать и изменять в
процессе сварки.
В связи с тем, что плазменная сварка со сквозным
проплавлением обладает уникальной возможностью контроля за состоянием ванны по
ионизированному факелу, одним из направлений исследований является изучение
этого процесса и в итоге визуализация на экране и компьютерное програмирование
режимов сварки. В кратком обзоре новостей сварочной техники за 1999 г. основным
направлением исследований по плазменной сварке указывается изучение механизма
сквозного проплавления, влияния параметров режима на технологические свойства с
целью программирования и компьютеризации [29]. Фирма «Арк кинетикс»
(Великобритания) разработала и выпускает установки для плазменной сварки,
управляемые компьютером, в частности, компьютеризировала точечную плазменную
сварку, применявшуюся при изготовлении автомобиля «ягуар» (вместо контактной
сварки) [34].
Металловедение и металлургия входят в XXI в. с новыми
металлическими материалами, большинство из которых приобретает необходимые
эксплуатационные свойства при термообработке. Для их сварки применяются
процессы, позволяющие управлять тепловложением не в ущерб качественным
показателям (отсутствие дефектов, минимальные деформации и др.). С учетом этого
развиваются электронно-лучевая, лазерная и другие технологии. Однако применение
плазменной сварки, особенно комбинированных способов, может быть проще в
аппаратурном обеспечении, и технике исполнения. Плазменная сварка имеет
перспективы для дальнейшего развития также благодаря высокой производительности
меньшей энергоемкости.
В промышленных масштабах плазменную наплавку начали применять
в СССР и США в 60-х гг. прошлого века [1-3]. За прошедшие десятилетия
разработаны многочисленные способы плазменной наплавки, при которых
наплавляемое изделие включается в электрическую цепь (наплавка плазменной
дугой) или является нейтральным (наплавка плазменной струей), а в качестве
присадочных материалов используются порошки, проволоки, пасты, литые прутки,
пластины и др. [4].
По виду применяемого присадочного материала известные способы
плазменной наплавки можно разделить на три основные группы:
наплавка проволокой или прутками;
наплавка по неподвижной;
— присадке, уложенной или
каким-либо образом закрепленной на наплавляемой поверхности;
Плазменная наплавка проволокой (прутками)
Наплавку плазменной струей с токоведущей присадочной
проволокой (рис. 1, а) выполняют постоянным током прямой полярности [5]. Дуга
горит между вольфрамовым катодом и присадочной проволокой, подаваемой сбоку под
прямым углом коси плазмотрона. Между катодом и соплом плазмотрона постоянно
горит также слаботочная (15-25 А) дежурная дуга (на схеме не показана), которая
обеспечивает надежное возбуждение и устойчивое горение рабочей дуги.
Основной металл нагревается за счет теплового воздействия
струи плазмы и теплоты, переносимой каплями присадочного металла. Эффективная
тепловая мощность такого источника нагрева зависит от тока дуги и расстояния h
между проволокой и основным металлом (рис. 2). Сохраняя ток и, следовательно,
скорость плавления присадочной проволоки неизменными, варьируя h, можно в
довольно широких пределах изменять мощность, расходуемую на нагрев основного
металла. Благодаря этому при наплавке плазменной струей можно регулировать
тепловые и диффузионные процессы на границе сплавления, определяющие глубину
проплавления основного металла и его содержание в наплавленном слое,
протяженность, состав и сплавления.

Рис. 8. Схемы плазменной наплавки с присадкой одной
проволоки: а - плазменной струей с токоведущей присадочной проволокой; б -
плазменной дугой с нейтральной присадочной проволокой; в - комбинированной
(двойной) дугой; 1 -защитное сопло; 2 - формирующее сопло; 3 - защитный газ; 4
- плазмообразующий газ; 5 -- электрод; 6,7- источники питания косвенной дуги и
дуги прямого действия соответственно; 8 - проволока; 9 - изделие
Наплавку рекомендуется производить с поперечными колебаниями
плазмотрона и присадочной проволоки. Размах колебаний обычно не превышает 50-60
мм! Частота колебаний находится в пределах 20-50 мм-1.
По производительности (4 - 10 кг/ч) наплавка плазменной
струей с токоведущей проволокой сопоставима с наплавкой под флюсом проволочным
электродом. Коэффициент наплавки составляет 25-30 г/(А•ч).
Наплавку плазменной струей применяют в судовом машиностроении
для нанесения коррозионно-стойких и антифрикционных сплавов. Наплавку различных
валов, штоков арматуры и других деталей выполняют медными сплавами с
применением присадочных проволок сплошного сечения или порошковых Бр КМц 3-1,
Бр АМц 9-2, Бр АЖНМц 8,5-4-5-1,5, МНЖКТ 5-1-0,2-0,2, Бр ОН8-3 и др. [6-9].
Плазмообразующий и защитный газ - аргон. Перед наплавкой алюминиевых бронз на
поверхность изделия наносят тонкий слой флюса 34-А [9]. Детали запорной
арматуры судовых трубопроводов наплавляют проволоками Св-02Х19Н9, CB-06X19H10T
и др. [6, 7].
Используя вместо проволоки сварно-литые прутки или трубчатые
электроды, этим способом можно наплавлять также износостойкие сплавы - стеллит,
сор- майт, релит и др. [10]. Однако это менее надежно и удобно, чем наплавка с
присадкой проволоки.
Наплавка плазменной дугой с нейтральной присадочной
проволокой (см. рис. 1, б) впервые была описана в работе [11]. Наплавку с
применением нейтральной присадки можно выполнять механизированным способом и
вручную. То, что присадочная проволока электрически нейтральна, снижает
интенсивность ее плавления, но в ряде случаев дает определенные технологические
и металлургические выгоды: меньше разбрызгивание при наплавке порошковой
проволокой, меньше угар легкоиспаряющихся легирующих элементов, предупреждается
чрезмерное растворение карбидных зерен при наплавке композиционных сплавов и
др.
При токе 300-500 А производительность наплавки достигает 6-9
кг/ч. На практике производительность наплавки по этой схеме значительно ниже,
так как с ростом тока недопустимо увеличивается проплавление основного металла.
Например, наплавку стеллита дугой прямой полярности с присадкой порошковой
проволоки диаметром 2,4 и 3,2 мм рекомендуется вести на токе 80-150 и 120-170 А
соответственно. При этом производительность наплавки составляет 1,4-2,5 кг/ч,
доля основного металла в первом слое у0=15 %. Производительность
наплавки стеллита плазменной дугой обратной полярности примерно такая же -
около 1,8 кг/ч при токе 200-220 А, но проплавление основного металла
значительно меньше (у0 < 5 %).
Наплавка плазменной дугой с нейтральной присадочной
проволокой нашла значительное и разнообразное применение в промышленности. Этим
способом наплавляют медь и ее сплавы, инструментальные стали, жаропрочные и
коррозионно-стойкие сплавы на основе никеля, кобальта и титана, композиционные
и другие материалы.
В качестве присадочного материала используют проволоку
сплошного сечения, порошковую проволоку или литые прутки [12-14]. Для
прецизионной наплавки применяют присадочную проволоку диаметром 0,4-0,6 мм
[15]. Плазмообразующим газом служит аргон или аргоногелиевая смесь, защитным -
аргон, азот, смесь аргона, содержащая 5-8 % водорода, и другие газы и смеси в
зависимости от наплавляемого металла. При наплавке на обратной полярности
рекомендуется добавлять в защитный газ небольшое количество кислорода (0,1-0,2
%) или С02, что уменьшает диаметр пятна нагрева плазменной дуги,
повышает ее стабильность и улучшает формирование наплавленных валиков.
Характерные наплавляемые детали - клапаны и седла клапанов
двигателей внутреннего сгорания, детали трубопроводной арматуры для воды, пара
и газа, ножи для резки металла, прокатные валки, штампы, шнеки, замки и муфты
бурильных труб, лабиринтные уплотнения авиационных турбин и др. [12-15].
Во ВНИИЭСО разработаны универсальные установки УПН-601 и
УПН-602, позволяющие вести наплавку плазменной дугой прямой и обратной полярности
с токоведущей или нейтральной присадочной проволокой [16]. В ИЭС им. Е. О.
Патона разработана специализированная установка 06-1795 для плазменной наплавки
замков и муфт бурильных труб с присадкой "ленточного релита" [14].
q, Дж/с
1600
75 100 125 150 Iпр, А
а)
, Дж/с
2400
75 100 125 150 Iпр, А
б)
Рис. 9. Зависимость эффективной тепловой мощности q
плазменной струи (а) и плазменной струи с расплавленным присадочным металлом
(б) оттока 1пр (присадочная проволока 0X18НЭТ диаметром 1,6 мм):
1-5- расстояние от проволоки до изделия соответственно 5, 10, 15, 20 и 30 мм.
Для ремонта мелких прецизионных вырубных штампов, широко
применяемых в приборостроении, радио- и электротехнической промышленности,
эффективной оказалась ручная микроплазменная наплавка [12]. Для наплавки
используют серийные установки для микроплазменной сварки УПУ-4; присадочный
материал - порошковая проволока ПП-АН148 диаметром 1,6-2,0 мм. Благодаря малому
термическому воздействию микроплазменной дуги на основной металл
восстановленные штампы из закаленной стали Х12 сохраняют твердость, не
нуждаются в последующей термической обработке и не требуют больших затрат на
механическую обработку.
Другим примером прецизионной наплавки, выполняемой с помощью
микроплазменной дуги, но не вручную, а механизированным способом, является
восстановление лабиринтных уплотнений авиационных турбин [15]. Наплавку
выполняют в импульсном режиме: минимальные значения тока 2-5 А, максимальные -
7-15 А, частота импульсов 10-50 Гц. Основной металл - сплав TiAI6V4,
присадочный материал - проволока диаметром 0,4-0,6 мм такого же состава или из
сплавов НХ20К1ЗМ4ТЗЮР и Н50Х20Б5МЗ.
Наплавку двойной плазменной дугой с токоведущей присадочной
проволокой (см. рис. 1, в) выполняют двумя дугами прямой или обратной
полярности, питаемыми как правило, от автономных источников [17]. Одна из них
горит между электродом плазмотрона и изделием, другая - между электродом и
присадочной проволокой. Плавление присадочного материала происходит за счет
теплоты, получаемой им путем теплообмена с плазмой столба дуги
электрод-изделие, и теплоты, выделяющейся в активном пятне дуги электрод-
проволока.
По производительности (10 кг/ч) этот способ значительно
превосходит наплавку плазменной дугой с нейтральной присадкой, обеспечивая при
этом во многих случаях меньшее про- плавление основного металла. По сравнению с
наплавкой плазменной струей с токоведущей присадочной проволокой он более
универсален и надежен.
Практическое применение находит наплавка двойной плазменной
дугой обратной полярности в аргоне. Применяемые для наплавки материалы - сплавы
на основе меди [6,18], хромоникелевые коррозионно-стойкие стали [6, 19] и др.
Наплавляемые изделия - преимущественно детали судового машиностроения, в
частности, в серийном производстве наплавляют бронзой Бр АМц 9-2 поршни
диаметром 60-160 мм из стали 40Х. Успешно применяют также наплавку деталей
диаметром 300-350 мм из стали 35 проволокой Св-04Х19Н11МЗ. Имеется опыт
наплавки стального вала диаметром 200 мм с длиной наплавляемого участка около 3
м бронзой Бр ОН8-3 с подслоем из бронзы Бр КМцЗ-1 [6].
Толщину наплавленного слоя можно регулировать в пределах 3-8
мм независимо от производительности наплавки. Наплавка ведется с поперечными
колебаниями наплавочной головки(размах колебаний до 70 мм). Зона наплавки
защищается от воздуха с помощью насадки размером 230х120 мм. Защитный газ -
аргон или смесь аргона с водородом; плазмообразущий газ - аргон или аргоногелиевая
смесь.
Практическое применение плазменная наплавка комбинированной
дугой с двумя присадочными проволоками нашла в атомном и химическом
машиностроении. Например, трубные доски теплообменников диамёт- ром 1000-2000
мм и толщиной 120-380 мм наплавляли проволоками диаметром 1,6 мм из хро-
моникелевых сталей Х21Н11 и Х20Н10 или никелевых сплавов с производительностью
16 кг/ч. При наплавке сталью типа Х20Н10 направляющих регулировочных стержней
ВВР, несмотря на малый диаметр деталей (100-200 мм), производительность
составляла 12 кг/ч [20, 21].
Плазменную наплавку "горячими" проволоками
выполняют [22] при подогреве за счет джоулевой теплоты присадочных проволок,
подключенных к автономному источнику тока (рис. 4). Две присадочные проволоки
диаметром 1,6 или 2,4 мм подаются с постоянной скоростью в сварочную ванну,
создаваемую мощной плазменной дугой прямого действия. Проволоки расположены
V-образно под углом 30° друг к другу и включены последовательно через сварочную
ванну в цепь источника переменного тока с жесткой внешней ВАХ. Ток, скорость
подачи проволок и расстояние от токоподводящих мундштуков до поверхности
сварочной ванны выбирают такими, чтобы проволоки нагревались проходящим током
почти до температуры плавления, в результате чего резко повышается производительность
наплавки.
Рис. 10. Схема плазменной наплавки с присадкой двух проволок:
1 - источник питания для дуги электрод-проволока; 2 - источник питания дуги
электрод-изделие
Наплавку выполняют, как правило, с поперечными колебаниями
плазмотрона. При этом ширина наплавленного валика достигает 60-65 мм. При
наплавке без колебаний валик имеет ширину 18-20 мм. Высота наплавленных валиков
3-6 мм.
Производительность плазменной наплавки горячими проволоками
достигает 27 кг/ч. Доля основного металла у0 в
наплавленном слое может быть весьма малой, но на практике она обычно составляет
5-15 %.
Рассматриваемым способом можно наплавлять практически все
металлы и сплавы (за исключением алюминиевых), которые поставляются в виде
проволок. Кроме проволок сплошного сечения можно использовать также порошковые
проволоки, но без флюсообразущих компонентов в сердечнике. В промышленности
применяют наплавку этим способом хромоникелевых и хромистых сталей, никеля с
содержанием 1-4 % Ti, монеля, инконеля, хастеллоя В, меди, алюминиевых и
оловянных бронз и других сплавов. Наплавляемые детали - фланцы крупных сосудов
высокого давления, трубные доски теплообменников, детали химических аппаратов,
элементы корпусов реакторов и оборудования первого контура атомных
электростанций [22-24].
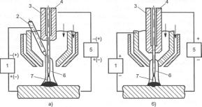
Плазменная наплавка плавящимся электродом (рис. 5)
представляет комбинацию плазменной и дуговой сварки(наплавки) плавящимся
электродом. От обычной дуговой наплавки отличается тем, что конец проволочного
электрода и дуга, горящая между проволокой и изделием, окружены аксиальным
потоком плазмы, создаваемым плазменной дугой прямого или косвенного действия.
Благодаря этому значительно возрастает скорость плавления проволоки, повышается
стабильность дуги, улучшаются перенос электродного металла и формирование
наплавленных валиков.
Наплавку по схеме на рис. 5, а можно вести дугой как прямой,
так и обратной полярности. При обратной полярности резко возрастает тепловая
нагрузка на не- плавящийся электрод, что ограничивает ток плазменной дуги.
Например, для вольфрамового электрода диаметром 6 мм он не должен превышать 200
А.
Чтобы повысить допустимый ток плазменной дуги, применяют
медный водоохлаждаемый электрод или, что более эффективно, используют в
качестве неплавящегося электрода сопло (рис. 5, б). Во втором случае упрощается
конструкция горелки, уменьшаются ее габаритные размеры.
Производительность наплавки определяется током дуги
плавящегося электрода Iпэ и при Iпэ = 500 А и вылете 65
мм составляет около 34 кг/ч. При этом коэффициент расплавления равен 67,8 г/(А
• ч), если учитывать только ток дуги плавящегося электрода, или 56,4 г/(А • ч),
если учитывать суммарный ток обеих дуг.
В качестве плазмообразующего газа при наплавке плавящимся
электродом в большинстве случаев используют аргон. Для защиты сварочной ванны
применяют в зависимости от состава электродной проволоки и основного металла
аргон и его смеси с кислородом, углекислым газом, гелием, азотом или водородом,
а также углекислый газ.
Рис. 11. Схема плазменной наплавки горячими проволоками: 1 -
источник постоянного тока для питания плазменной дуги; 2 - источник переменного
тока для подогрева проволок; 3 - присадочные проволоки
Рис. 12. Схема плазменной наплавки плавящимся электродом: а -
с неплавящимся электродом плазменной дуги; б - с медным соплом в качестве
электрода плазменной дуги (с токоподводящим соплом); 1 - источник питания
плазменной дуги; 2 - вольфрамовый или водоохлаждаемый медный электрод; 3 -
мундштук; 4 - электродная проволока; 5 - источник питания дуги с плавящимся
электродом; 6 - плазменная дуга; 7 - дуга плавящегося электрода
В промышленных условиях плазменную наплавку плавящимся
электродом применяют для нанесения износостойких и антикоррозионных сплавов.
Хорошие результаты получены при восстановлении полых роликов установок
непрерывной разливки стали [25]. Эффективной оказалась наплавка сплавом
инконель 625 шарнирных соединений трубопроводов для слива нефти из танкеров
[26]. Из технологических и конструктивных соображений на практике применяют
наплавку проволокой диаметром 1,6 мм в два и пять слоев производительностью от
10 до 20 кг/ч в зависимости от ширины наплавляемых валиков (30-60 мм).
Наплавка по неподвижной
присадке
Характерная особенность этой группы способов плазменной
наплавки состоит в том, что в процессе наплавки присадка неподвижна
относительно изделия. Присадочный материал укладывается, насыпается,
наклеивается или иным способом наносится заранее на подлежащую наплавке
поверхность изделия или же подается на нее в процессе наплавки, перед дугой. В
качестве присадки используют кольца или пластины, форма и размеры которых
соответствуют разделке под наплавку, пасты, порошки и другие материалы.
Наплавка с применением компактной присадки (колец и пластин)
требует изготовления соответствующей присадки для каждого типоразмера
наплавляемых деталей, что является технически и экономически оправданным только
в условиях серийного производства.
Примером может служить
способ плазменной наплавки выпускных клапанов автомобильных двигателей [1].
Присадочным материалом для наплавки клапанов служат кольца, изготовляемые из
смеси порошков никеля, xpома, графита и других компонентов методами порошковой
металлургии. Кроме легирующих элементов в их состав введены также небольшие
добавки CaF2 (до 0,1 %) и лигатуры AI-Се, улучшающие
сварочно-технологические свойства колец.
Схема наплавки клапанов приведена на рис. 6. Клапан с
уложенным в разделку присадочным кольцом устанавливают в патроне наплавочного
станка вертикально. Присадочное кольцо расплавляется плазмотроном,
расположенным под углом 45" к оси клапана; при этом на рабочей фаске
клапана образуется слой жаропрочного коррозионно-стойкого сплава. Чтобы
предотвратить прожог кромки, снизу к тарелке клапана поджимается медная
водоохлаждаемая подкладка. В процессе наплавки ток дуги изменяется по
определенной программе, благодаря чему исключается образование дефектов в месте
возбуждения дуги и обеспечивается безупречное замыкание кольцевого валика.
Наплавку клапанов производят на станках У151 и У151-М конструкции ОКТБ ИЭС им.
Е. О. Патона. Производительность 100-120 наплавленных клапанов в 1 ч. Способ
наплавки по слою пасты, как и пасты ЦИС218 и ЦИС770В, разработан в Центральном
институте сварочной техники (Галле, Германия) [27]. Основой паст служит смесь
порошков металлов, ферросплавов, карбидов и др., при расплавлении которой
образуется износостойкий Fe-Сг-С- или Fe- Cr-V-Ni-С-сплав. Пасту наносят на
изношенную поверхность детали и после высыхания оплавляют плазмотроном. С
использованием пасты ЦИС218 проводили наплавку пластин размером 500х200х6мм,
которыми облицовывали быстроизнашивающиеся поверхности роторных экскаваторов. При
наплавке по слою гранулированной присадки (крупки) (рис. 7) присадочный
материал в виде гранул неправильной формы размером 0,5-3,0 мм в поперечнике
заранее насыпают равномерным слоем на наплавляемую поверхность изделия или же
подают на нее специальным питателем в процессе наплавки. Расплавляется он
плазмотроном, перемещающимся вслед за наконечником питателя и совершающим
поперечные колебания, размах которых равен ширине насыпанного слоя крупки.
Рис. 14. Схема наплавки по слою крупки: 1 - источник питания;
2 - ограничительное сопротивление; 3 - электрод; 4,5 - ввод защитного и
плазмообразующего газов соответственно; 6-сопло плазмотрона; 7- питатель для
подачи крупки; 8 - крупка; 9 - наплавленный металл
Пригодную для наплавки этим способом крупку можно изготовлять
практически из любого хрупкого сплава механическим измельчением. Изготовленная
по такой технологии крупка из сплавов Со-Сг-W-С, Ni-Cr-Si-В, Fe-Сг-С, Fe-Сг-
С-В и др. имеет хорошие сварочно-техно- логические свойства. Осколочная форма
позволяет им хорошо удерживаться на наплавляемой поверхности.
При токе 250-300 А производительность наплавки составляет 6-8
кг/ч и может быть значительно повышена при использовании более мощных
плазмотронов.
Центробежная плазменная наплавка является разновидностью
способа плазменной наплавки по слою порошковой или гранулированной присадки
применительно к наплавке внутренних поверхностей втулок, гильз и других деталей
цилиндрической формы (рис. 8). Во вращающуюся с большой скоростью
цилиндрическую втулку при помощи загрузочного устройства засыпают необходимое
для получения наплавленного слоя заданной толщины количество порошка (крупки).
Под действием центробежных сил порошок равномерно распределяется по внутренней
поверхности втулки. Затем в нее на длинной жесткой штанге, внутри которой
проложены коммуникации для тока, воды и газа, вводится плазмотрон и
возбуждается дуга прямого действия. После образования кольцевой ванны
расплавленного присадочного металла включается продольное перемещение
плазмотрона.
Наплавку выполняют без флюса, в аргоне или другом защитном
газе. Как присадочный материал хорошо зарекомендовали себя распыленные порошки
сплавов Ni-Сr-Si-В, Со-Cr-W-С, Fe-Сr-С-В и др. с размером частиц 100-250 мкм.
Центробежным способом можно наплавлять слои толщиной от 0,5
до 4 мм с хорошим качеством поверхности и минимальными припусками на обработку.
При токе дуги 400-450 А производительность наплавки достигает 12 кг/ч.
Основными параметрами режима центробежной плазменной наплавки
являются число оборотов детали, ток дуги, скорость наплавки (скорость продольного
перемещения плазмотрона) и толщина наплавляемого слоя. С увеличением числа
оборотов детали поверхность наплавленного металла становится более ровной и
чистой. При достаточно большой скорости вращения исключается раздувание
присадочного порошка дугой, резко уменьшается влияние давления дуги на
проплавление основного металла, обеспечивается отличное формирование
наплавленного металла.
На разработанных в ИЭС им. Е. О. Патона установках типа УД251
можно наплавлять этим способом детали типа втулок с внутренним диаметром от 60
до 300 мм и длиной до 1300 мм. Установки комплектуются тремя плазмотронами с
максимальным рабочим током 300 А (один плазмотрон для втулок диаметром 60-90
мм) и 500 А (для втулок диаметром 90-160 мм применяют один плазмотрон, для втулок
диаметром 160-300 мм - два).
Плазменную наплавку порошком выполняют плазменной дугой
прямого действия или двумя плазменными дугами прямого и косвенного действия с
общим электродом. При этом используют различные схемы ввода порошка в дугу,
которые можно разделить на две большие группы, отличающиеся тем, что в одном
случае порошок вводится в дугу внутри плазмотрона (рис. 9), а в другом - вне
его (рис. 10). В плазмотронах с внутренним вводом порошка в дугу создаются, как
правило, более благоприятные условия для его нагрева плазмой. При внешней
подаче порошка его нагрев менее эффективен, зато надежность работы плазмотрона
несколько выше. Плазмотроны с подачей порошка через осевое отверстие в катоде
пока не нашли практического применения вследствие трудностей изготовления
электродов с отверстием и сложностями, связанными с подачей порошка через
отверстие относительно малого диаметра.
Рис. 15. Схема центробежной плазменной наплавки: 1 - источник
питания плазменной дугу; 2 - плазмотрон; 3 - кольцевая сварочная ванна; 4 -
присадочный порошок; 5 - деталь; 6 - патрон
Радиальный ввод порошка через боковое отверстие в канале
сопла (см. рис. 9, в) типичен для напыления, но для наплавки используется
редко. При такой схеме ввода порошка стабильная работа плазмотрона возможна
лишь при сравнительно больших расходах плазмообразующего газа и малых
транспортирующего. Это условие легко выполняется при напылении, но при наплавке
большой расход плазмообразующего газа нежелателен, так как ведет к увеличению
глубины про- плавления основного металла.
Для наплавки эффективной является схема ввода порошка в дугу
под углом 25-80° через воронкообразную щель, образуемую сопрягаемыми
коническими поверхностями внутреннего и наружного сопл плазмотрона (см. рис. 9,
г). В этом случае поток транспортирующего газа и порошка концентричен дуге и
поэтому не только не снижает, но повышает ее стабильность. Дуга косвенного
действия горит между электродом и внутренним соплом и служит в основном для
обеспечения устойчивой работы плазмотрона. Более мощная дуга прямого действия
обеспечивает необходимый нагрев поверхности изделия, плавление присадочного
металла и образование сварочной ванны.
Схемы плазменной наплавки с внешней подачей присадочного
порошка приведены на рис. 16. Порошок подается в зону наплавки через отверстия
в торце сопла плазмотрона или по трубке, расположенной сбоку сопла.
Рис. 16. Схема плазменной наплавки с вводом присадочного
порошка в дугу внутри плазмотрона: а -вместе с плазмообразующим газом; б-через
электродную камеру; в - через боковое отверстие в канале сопла; г - через
воронкообразную щель между соплами; 1 - электрод: медный водоохлаждаемый (а),
водоохлаждаемый с вольфрамовой вставкой (б) или вольфрамовый (в, г); 2-сопло;
3-ввод присадочного порошка с транспортирующим газом; 4, 5 - ввод
плазмообразующего и защитного газов соответственно; 6, 7-источники питания дуги
прямого и косвенного действия соответственно


а) б) в)
Рис. 17. Схема плазменной наплавки с внешней подачей
присадочного порошка: а - подача порошка через отверстие в торце сопла
"углом назад"; б-то же, "углом вперед"; в - подача порошка
по каналам в сопле плазмотрона; 1 -источник питания дуги прямого действия; 2,4
- ввод плазмообразующего и защитного газов соответственно; 3 - ввод
присадочного порошка транспортирующим газом; 5 -электрод; 6 - ввод
дополнительного присадочного порошка; 7- плазменная дуга; 8 - источник питания
косвенной дуги
При наплавке сплавов на основе никеля, кобальта или железа
угол наклона этих отверстий, их сечение, расход транспортирующего газа и другие
параметры режима выбирают такими, чтобы порошок вводился в дугу на небольшом
расстоянии от поверхности изделия и попадал в сварочную ванну под дугой. При
этом порошок может подаваться в дугу спереди (см. рис. 10, а), сзади (см. рис.
10, б) и сбоку одновременно с нескольких сторон (см. рис. 10, в). Направление подачи
порошка в данном случае не имеет решающего значения: на практике используют все
эти варианты.
При наплавке композиционных сплавов канал для подачи карбидов
чаще всего расположен сзади дуги и имеет такой угол наклона, чтобы зерна
карбида попадали в ванну, минуя дугу. Это позволяет устранить или хотя бы
уменьшить их растворение в расплаве. Сварочная ванна образуется за счет
расплавления основного металла, защитного покрытия, нанесенного на зерна
карбида вольфрама, или порошка сплава-связки, который подается вместе с
карбидом либо отдельно от него по боковым каналам.
Представленные на рис. 17 схемы подачи порошка являются
весьма распространенными при плазменной наплавке. Схема на рис. 10, б (как и на
рис. 9, г) реализована в первых аппаратах моделей А1105 и А1299 ИЭС им. Е. О.
Патона для плазменной наплавки порошками. Она применяется также в
специализированной установке 061795 конструкции ОКТБ ИЭС им. Е. О. Патона для
наплавки композиционными сплавами замков и муфт бурильных труб [14].
По данным работы [28], в которой исследовали энергетический
баланс процесса плазменной наплавки, на нагрев порошка расходуется при
внутренней его подаче от 9 до 20 % мощности дуги, при внешней подаче - около 12
%.
В зависимости от конструкции плазмотрона для наплавки
применяют присадочные порошки с размером частиц от45 до 250 мкм, реже - до 500
мкм, получаемые, как правило, путем распыления жидкого металла инертным газом
или водой.
Для наплавки композиционных слоев используют механические
смеси порошков сплава-связки и карбидов вольфрама, ниобия или ванадия [29].
Содержание карбидов в смеси может достигать 75-80 %. Размер зерна от 20 до 200
мкм. Такие смеси служат преимущественно для наплавки плазмотронами с внутренней
подачей порошка. В остальных случаях применяют раздельную подачу порошков
карбида и сплава-связки.
Для плазменной наплавки используют также порошки литых
карбидов вольфрама и спеченных твердых сплавов, каждая частица которых покрыта
сравнительно легкоплавким никелевым или кобальтовым сплавом-связкой [30].
Покрытие может составлять от 5 до 50 % массы порошка. Оно надежно предохраняет
частицы карбидов от растворения в сварочной ванне и образует матрицу
композиционного сплава.
В качестве плазмообразующего и транспортирующего газов для
наплавки порошком применяют аргон, в качестве защитного газа - аргон, смесь
аргона и 5-8 % водорода, азот. Аргоноводородная смесь может служить также и для
подачи порошка.
Максимальная производительность плазменной наплавки порошком
составляет 4-10 кг наплавленного металла в 1 ч. Реальная производительность
наплавки зависит от размеров и формы изделия, толщины наплавляемого слоя, типа
присадочного порошка и других факторов и находится в пределах 0,8-6 кг/ч.
Минимальная толщина наплавленного слоя при внутренней подаче порошка равна 0,25
мм, при внешней - 0,5 мм. Наибольшая высота однослойного валика в обоих
случаях составляет 5-6 мм.
При наплавке без колебаний плазмотрона наплавленные валики
имеют ширину 3-10 мм, при наплавке с колебаниями она может достигать 40-50 мм.
Как правило, плазменную наплавку порошком применяют при
изготовлении новых деталей. Этот способ наплавки обеспечивает значительное (от
30 % до 3-5, в некоторых случаях до 12 раз) повышение производительности труда,
снижение расхода наплавочных материалов и улучшение качества наплавленного
металла.
Наибольшее применение получила наплавка этим способом
кобальтовых и никелевых сплавов. В меньших объемах используют для плазменной
наплавки порошки сплавов на основе железа и меди.
Плазменная наплавка порошком особенно эффективна в условиях
серийного производства. Ее широко применяют при изготовлении клапанов
двигателей внутреннего сгорания (начиная с клапанов двигателей легковых
автомобилей с диаметром тарелки 30-35 мм и заканчивая клапанами мощных судовых
дизелей с диаметром тарелки около 200 мм); деталей трубопроводной арматуры для
атомных электростанций, химических предприятий, нефте и газопроводов, в том
числе крупных задвижек Ду= 800-И300 мм; червяков экструдеров и шнеков; опор
шарошечных долот, замков и муфт бурильных труб, центраторов и других деталей
бурового оборудования; ножей для резки металла, прокатных валков, штампов,
прошивок; деталей паровых турбин; элементов оборудования атомных электростанций
и химических предприятий и др. [31-34].
Сварная конструкция
В качестве примера использования плазмотрона, приведем сварку
вагона-цистерны из нержавеющей стали марки 08Х18Н10Т с толщиной стенки - 5мм.
Данная цистерна предназначена для транспортировки технических жидкостей.
Цистерна имеет два люка: люк-лаз диаметром 585 мм с откидной
крышкой, которая крепится к фланцу люка болтами, и технологический люк
диаметром 462 мм, на крышке которого находится предохранительный клапан
избыточного давления, фланец сливоналивной трубы и воздушный штуцер. На
цистерне также устанавливаются две лестницы.
Материал сварной конструкции
плазменная дуговая сварка наплавка
Существующие аустенитные высоколегированные стали и сплавы
различают по содержанию основных легирующих элементов - хрома и никеля и по
составу основы сплава. Высоколегированными аустенитными сталями считают сплавы
на основе железа, легированные различными элементами в количестве до 55%, в
которых содержание основных легирующих элементов - хрома и никеля обычно, где
выше 15 и 7% соответственно. К аустенитным сплавам относят железоникелевые
сплавы с содержанием железа и никеля более 65% при отношении никеля к железу 1:
1,5 и никелевые сплавы с содержанием никеля не менее 55%
Сталь 08Х18Н10Т относится к аустенитным сталям. Применяется как
коррозионно-стойкий материал так как данная сталь имеет низкое процентное
содержание углерода, а так же как жаропрочный материал с высокими механическими
свойствами. Так же сталь 08Х18Н10Т является жаропрочной обладающая стойкостью
против химического разрушения поверхности в газовых средах при температурах 1100-1150
. По системе легирования материал
относится к хромоникелевым сталям. Из данной стали, изготавливают
толстолистовой прокат по ГОСТ 7350-77. По заданию требуются листы толщиной 5
мм. Рассмотрим механические свойства этого проката (таблица 1).
Таблица 1. Механические характеристики проката из стали
08Х18Н10Т
|
Марка стали
|
σВ,Н/мм2
|
σт,Н/мм2
|
δ, %
|
|
Не менее
|
|
|
08Х18Н10Т
|
205
|
43
|
Химический состав стали по ГОСТ 5632-69 указан в таблице 2
Таблица 2. Массовая доля элементов стали 08Х18Н10Т, %
|
C
|
Si
|
Mn
|
Cr
|
Ti
|
Ni
|
S
|
P
|
|
≤0.08
|
≤0.80
|
≤2.00
|
17.0 -19,0
|
0.5-.70
|
9.0-11
|
≤0.020
|
≤0.035
|
Оценка технологической свариваемости
Главной и общей особенностью сварки является склонность к
образованию в шве и околошовной зоне горячих трещин в виде мельчайших
микронадрывов, так и видимых трещин, имеющих межкристаллитный характер. Горячие
трещины могут возникнуть и при термической обработке или работе конструкции при
повышенных температурах. Образование горячих трещин связано с формированием при
сварке крупнозернистой макроструктуры, особенно выраженной в многослойных швах,
когда кристаллы последующего слоя продолжают кристаллы предыдущего слоя, и
наличием напряжений усадки.
Кроме сложности получения на аустенитных высоколегированных
сталях и сплавах швов без горячих трещин, имеются и другие особенности сварки,
обусловленные особенностями их использования. К сварным соединениям жаропрочных
сталей предъявляется требование сохранения в течение длительного времени
высоких механических свойств при повышенных температурах. Большие скорости
охлаждения при сварке приводят к фиксации неравновесных структур в металле шва.
В процессе эксплуатации при температурах выше 350° С в результате диффузионных
процессов в стали появляются новые структурные составляющие, приводящие к
снижению пластических свойств металла шва. Термическое старение при 350-500° С
вызывает появление «475-градусной хрупкости», а при 500-650° С приводит к
выпадению карбидов и одновременно к образованию σ-фазы. Выдержка при
700-850° С интенсифицирует образование σ-фазы с соответствующим
сильным охрупчиванием металла при более низких температурах и снижением
прочности при высоких температурах. При этом возрастает роль и
интерметаллидного упрочнения. В процессах теплового старения аустенитных сталей
ведущее место занимают процессы карбидного и интерметаллидного упрочнения,
поэтому для уменьшения склонности сварных соединений жаростойких и жаропрочных
сталей к охрупчиванию в результате выпадения карбидов эффективно снижать
содержание углерода в основном металле и металле шва.
Высоколегированные аустенитные стали, и сплавы наиболее часто
используют как коррозионно-стойкие. Требования, которые предъявляется к сварным
соединениям, является стойкость к различным видам коррозии. Межкристаллитная
коррозия может развиваться как в металле шва, так и в основном металле у линий
сплавления (ножевая коррозия) или на некотором удалении от шва. Механизм
развития этих видов коррозии одинаков, однако причины возникновения различны.
Стойкость шва против межкристаллитной коррозии уменьшается в результате
длительного воздействия нагрева при неблагоприятном термическом цикле сварки
или эксплуатации изделия[35].
Изменение в стали содержания легирующих элементов влияет на
положение фазовых областей. Хром, титан, ниобий, молибден, вольфрам, кремний,
ванадий, являясь ферритизаторами, способствуют появлению в структуре стали
ферритной составляющей. Никель, углерод, марганец и азот сохраняют аустенитную
структуру. Однако основными легирующими элементами в рассматриваемых сталях
являются хром и никель.
В аустенитных хромоникелевых сталях, легированных титаном и
ниобием, образуются не только карбиды хрома, но и карбиды титана и ниобия. При
содержании титана Ti > [(%С - 0,02) ∙ 5] весь свободный углерод (выше
предела его растворимости в аустените) может выделиться в виде карбидов титана
или ниобия, а аустенитная сталь становится не склонной к межкристаллитной
коррозии. Выпадение карбидов повышает прочностные и понижает пластические
свойства сталей. Это свойство карбидов используют для карбидного упрочнения
жаропрочных сталей.
К числу основных трудностей, возникающих при сварке
аустенитных сталей, относится также необходимость повышения стойкости металла
шва и околошовной зоны против образования трещин. Горячие трещины являются межкристаллитным
разрушением и разделяются на кристаллизационные и подсолидусные; последние
возникают при температуре ниже линии солидуса, т. е. после окончания процесса
кристаллизации. Вероятность появления кристаллизационных трещин определяется
характером изменения пластичности сплавов при деформировании металла в твердо
-жидком состоянии.
В качестве критерия сопротивления металла околошовной зоны
хрупкому межкристаллическому разрушению принимают температуру восстановления
пластичности и прочности металла при охлаждении. С увеличением содержания
никеля, углерода, алюминия и титана в аустенитных сталях температура
восстановления пластичности снижается, а измельчение зерна способствует
повышению температуры восстановления пластичности. С измельчением кристаллитов
в шве при одинаковом объеме (толщине) жидких прослоек пластичность двухфазных
сред также возрастает. При этом важны не только размер и форма кристаллитов, но
и характер распределения напряжений сдвига относительно направления их
преимущественного роста. В связи с этим предлагают следующие пути повышения
сопротивляемости образованию кристаллизационных трещин: 1) подавление
столбчатой кристаллизации и измельчение кристаллической структуры путем
легирования элементами-модификаторами, а также элементами, способствующими
образованию высокотемпературных вторых фаз при кристаллизации; 2) повышение
чистоты сплавов по примесям, способствующим образованию при кристаллизации
легкоплавких фаз в той области составов, в которой увеличение количества этих
фаз снижает технологическую прочность, и, наоборот, увеличение количества
легирующих элементов, образующих эвтектики, в области составов сплавов, близких
к эвтектическим. Эти пути сужают температурный интервал хрупкости и повышают
запас пластичности[35].
Технологические меры борьбы с трещинами направлены на
изыскание рациональных способов и режимов сварки плавлением и конструктивных
форм сварных соединений, снижающих темп нарастания внутренних деформаций в
процессе затвердевания. Для повышения сопротивляемости металлов и их однофазных
сплавов образованию подсолидусных горячих трещин при сварке рекомендуют: 1)
легирование сплавов элементами, снижающими диффузионную подвижность атомов в
решетке или способствующими созданию фрагментарной литой структуры (искривление
границ кристаллитов, образование в процессе кристаллизации дисперсных вторых
фаз и выделений при последующем охлаждении); 2) повышение чистоты основного
металла по примесям внедрения; 3) сокращение времени нахождения металла при
температуре высокой диффузионной подвижности (увеличение скорости охлаждения
металла сварных швов) и снижение темпа нарастания упруго-пластических
деформаций при охлаждении (ограничение деформаций за счет выбора рациональной
конструкции соединений).
Установлены следующие наиболее важные металлургические
факторы, способствующие повышению сопротивляемости металла шва и образованию
горячих трещин при сварке аустенитных сталей: 1) образование двухфазной
структуры в высокотемпературной области при кристаллизации металла за счет
выделения первичного феррита, дисперсных частиц тугоплавкой фазы или боридной
фазы и хромоникелевой эвтектики; 2) ограничение содержания примесей, образующих
легкоплавкие фазы, с целью сужения эффективного интервала кристаллизации[35].
Для измельчения структуры используют легирование
наплавленного металла элементами, способствующими выделению при кристаллизации
металла высокотемпературного б-феррита. Наличие б-феррита измельчает структуру
металла и уменьшает концентрацию Si, P, S и некоторых других примесей в
межкристаллитных областях за счет большей растворимости этих примесей в
б-феррите, что уменьшает опасность образования легкоплавких эвтектику. Для этих
сталей не нужно рассчитывать эквивалент углерода лишь только определяем
процентное содержание ферритной фазы по диаграмме Шеффлера. Количество
ферритной фазы в наплавленном металле после его охлаждения зависит от состава
этого металла и скорости охлаждения в области высоких и средних температур.
Приближенное представление о концентрации феррита в аустенитно-ферритном металле
дает диаграмма Шеффлера, составленная по опытным данным применительно к
скорости охлаждения, характерной для обычных режимов ручной дуговой сварки
(рисунок 18).
Рис. 19. Диаграмма Шеффлера
Рекомендуемое содержание ферритной фазы в наплавленном
металле ограничивается 2-6%.
Для жаропрочных и жаростойких сталей с малым запасом
аустенитности и содержанием никеля до 15% предупреждение горячих трещин
достигается получением аустенитно-ферритной структуры с 3-5% феррита. Большое
количество феррита может привести к значительному высокотемпературному
охрупчиванию швов в виду их сигматизации в интервале температур 450-850° С.[35]
По диаграмме для стали 08Х18Н10Т содержание феррита
составляет до 5%.
Сварочный материал
В качестве электродной проволоки выбираем марку Св-06Х19Н9Т и
диаметр электрода 1,2мм.
Таблица 3. Химический состав аргона высшего сорта по ГОСТ
10157 -79
|
Ar, %, не менее
|
O3,
%, не более
|
N2,
%, не более
|
CO2,
%, не более
|
Содержание
водяных паров, %, не более
|
Температура
насыщения, К, не более
|
|
99,992
|
0,0007
|
0,006
|
0,0005
|
0,01
|
215
|
Согласно рекомендациям [2,c.489] применим проволоку
Св-06Х19Н9Т по ГОСТ 2246-70, состав которой указан в таблице 5.
Таблица 4. Химический состав сварочной проволоки Св-06Х19Н9Т
|
Марка проволоки
|
C
|
Si
|
Mn
|
Cr
|
Ni
|
Ti
|
S
|
P
|
|
Св-6Х19Н9Т
|
0,4-1,01,0-2,018,0-20,08,0-10,00,5-1,00,0150,030
|
|
|
|
|
|
|
|
Расчет режимов плазменно-дуговой сварки
Режимом сварки - совокупность основных и дополнительных
характеристик сварочного процесса, обеспечивающих получение сварных швов
заданных размеров, формы и качества. При сварке параметрами являются диаметр
электрода, сила сварочного тока, напряжение дуги, число проходов, род и
полярность тока [4].
Таблица 5. Конструктивные размеры сварного соединения ГОСТ
16037-80
|
Условное обозначение
сварного соединения
|
Конструктивные
элементы
|
Способ сварки
|
e
|
|
|
|
|
Номин.
|
Пред. откл
|
|
подготавливаемых
кромок свариваемых деталей
|
сварного шва
|
ЗП
|
5
|
4
|
+2
|
|
С2
|
|
|
|
|
|
|
Для случая однопроходной сварки пластин встык, связь между
параметрами режима сварки и основными размерами шва в первом приближении можно
установить, воспользовавшись уравнением для определения максимальных температур
в процессе распространения теплоты от мощного быстродвижущегося линейного
источника теплоты в пластине
(1)
где q - эффективная тепловая мощность дуги, Вт; v - скорость
сварки, см/с; δ - толщина пластины, равная 5 мм; cρ - объемная теплоемкость, равная 4,7 Дж/(см3град); b -
коэффициент температуроотдачи b=2α/cρδ;
y - координата,
см; a - коэффициент температуропроводности, равная 0,06 см2/c.
Положив, что теплоотдача с поверхности пластины отсутствует,
то есть b=0
(2)
Поскольку размеры ванны (шва) ограничиваются изотермой
плавления, то подставив в уравнение (2) температуру плавления Тпл
вместо Тmax и ширину шва B вместо 2y, получим:
(3)
Из выражения (3) определим погонную энергию qп,
обеспечивающую заданную глубину провара, равную толщине пластины δ
(4)
Выразим ширину шва B и требуемую глубину провара H=δ через коэффициент формы проплавления ψпр=B/δ. Для этого в выражении (4)
умножим и разделим правую часть на δ. Тогда
или
(5)
Полагая
(6)
получим
(7)
то есть погонная энергия при однопроходной сварке пластин
встык пропорциональна коэффициенту формы провара и квадрату толщины пластины.
Опыт показывает, что значения коэффициента пропорциональности p1 не
соответствуют расчетным значениям величин, входящих в формулу (6), и зависят от
способа сварки и в некоторой степени от режима сварки, что объясняется
несовершенством расчетных схем применительно к зоне плавления. Для случая
плазменно-дуговой сварки плавящимся электродом стали 08Х18Н10Т коэффициент p1
равен 13600 Дж/см3. Тогда выражение (7) примет вид
(8)
Анализ экспериментальных данных показал, что коэффициент
формы провара зависит главным образом от основных параметров режима сварки,
(9)
Где k - коэффициент, величина которого зависит от рода тока и
полярности; I э - сила тока плавящегося электрода, А; Iп
- сила тока плазменной дуги, А; dэ - диаметр плавящегося электрода,
см; Uд - напряжение дуги плавящегося электрода, В.
При сварке постоянным током обратной полярности коэффициент k
можно принять равным 0,97В-1см-1.
При заданной скорости сварки v суммарную силу сварочного тока
плазменной дуги и плавящегося электрода I=(Iп+Iэ) можно
определить по следующей эмпирической формуле:
(10)
где p2=380A·с/см2.
Принимаем скорость сварки равную - 100м/ч или
2,78см/с.=380·2,78·0,5=528А.
При этом сила тока плазменной дуги:п=I/4=132А.
Соответственно сила тока плавящегося электрода:э=I-Iп=528-132=396А.
Диаметр электрода принимаем 1,2 мм.
Для принятого диаметра электрода и силы тока плавящегося
электрода можно определить напряжение дуги:
(11)
Напряжение плазменной дуги Uп приближенно может
быть также определено по следующей эмпирической формуле:
(12)
где da и dс - соответственно диаметры
кольцевого сопла-анода и стабилизирующего сопла, см.
Зная требуемую глубину провара, равную толщине пластины δ, и коэффициент формы провара ψпр, можно определить ширину
шва:
B= ψпр·δ. (13)
Значение ширины шва позволяет определить величину усиления
шва A. Для этого первоначально рассчитывают площадь поперечного сечения
наплавленного металла по формуле:
(14)н=8мм2.
где αн - коэффициент наплавки,
г/А·ч; ρ - плотность наплавленного металла, г/см3; ν - скорость сварки, см/c.
Ввиду незначительных потерь электродного металла при
плазменно-дуговой сварке плавящимся электродом с достаточной для практических
расчетов степенью точности можно принять, что коэффициент наплавки αн равен коэффициенту расплавления αр.
Величина коэффициента расплавления при плазменно-дуговой
сварке плавящимся электродом состоит из двух слагаемых:
αр= αрд+ Δαрв, (15)
где αрд - составляющая
коэффициента расплавления, обусловленная тепловложением дугового разряда
плавящегося электрода, г/А·ч; Δαрв - составляющая
коэффициента расплавления от предварительного нагрева участка вылета электрода
плазмой и протекающим током, г/А·ч.
Составляющая αрд практически не зависит
от тока и с достаточным для вычислений приближением можно принять равной 8,02
г/А·ч. Обработка различных экспериментальных данных позволила определить
составляющую
Δαрв от нагрева джоулевой
теплотой и плазмой, г/А·ч:
Δαрв=61·10-4
(16)
Δαрв=61·10-4
где l - часть вылета электрода, погруженная в плазменную
дугу, мм.
Следовательно, суммарный коэффициент расплавления:
αр=8,02+61·10-4
(17)
αр=10,43г/А·ч.
Зная коэффициент расплавления, можно определить скорость
подачи электродной проволоки:
(18)
где Fэ - площадь поперечного сечения электрода, см2;
ρ - плотность электродного металла.
Теперь по формуле (14) определяют площадь поперечного сечения
наплавленного металла Fн.
При однопроходной сварке стыковых соединений без скоса кромок
с нулевым зазором наплавленный металл располагается в виде валика над
поверхностью листов. Высота усиления такого шва:
(19)
где B - ширина шва, см; μв - коэффициент полноты
валика, представляющий собой отношение Fн/A·B. В условиях
плазменно-дуговой сварки плавящимся электродом, также как при сварке под
флюсом, коэффициент μв практически имеет
устойчивое значение, равное 0,73 и формула (19) принимает вид
(20)
Площадь проплавления Fпр можно определить, если
принять, что фактическая форма провара при однопроходной сварке листов встык
представляет собой полуэллипс, одна из полуосей которого равна B/2, а другая H=δ. Тогда
(21)
Расчет химического состава металла шва
В общем случае влияние взаимодействующих масс металла на
концентрацию элемента в металле шва может быть найдено из уравнения
материального баланса элемента Э до и после сварки:
эм[Э]эм+ mом[Э]ом=
mшв[Э]шв, (22)
где mэм, mом, mшв - масса
электродного металла, основного металла и металла шва соответственно; [Э]эм,
[Э]ом, [Э]шв - концентрация элемента в электродном
металле, в основном металле и в металле шва соответственно.
Разделим правую и левую часть выражения (22) на mшв[Э]шв
и учитывая, что mэм/mшв=γ,
а mом/mшв=1-γ, окончательно получим:
[Э]шв=γ[Э]эм+(1-γ)[Э]ом. (23)
Таким образом, для расчетного определения химического состава
металла шва необходимо знать концентрацию элемента в исходных материалах и доли
участия основного (1-γ) и электродного (γ) металлов в формировании шва.
Определим долю участия основного металла в металле шва по
формуле,
, (24)
Определяем химический состав металла шва для сварки плавящимся
электродом в среде аргона, %:
[C]: Rш=0,08
0,77+(1-0,7)
0,08=0,08%
[Si]: Rш=0,7
0,7+(1-0,7)
0,7=0,77%
[Mn]: Rш=2
0,7+(1-0,7)
1,5=1,87%
[Cr]: Rш=19
0,7+(1-0,7)
20=19,26%
[Ti]: Rш=0,7
0,7+(1-0,7)
1=0,778%
[Ni]: Rш=11
0,7+(1-0,7)
10=10,74%
[S]: Rш=0.02
0,7+(1-0,7)
0,015=0,019 %
[P]: Rш=0,03
0,7+(1-0,7)
0,03=0,034 %
Базирование детали
Базирование осуществляется в соответствии с ГОСТ 21495-76
«Базирование и базы в машиностроении. Термины и определения».
Схема базирования - схема расположения опорных точек на
базах. ГОСТ определяет пять видов баз:
) установочная - базирование по плоскости. Определяет три
ко-ординаты заготовки - линейную и две угловых;
) направляющая (Н). Имеет две координаты - линейная и
угловая;
) двойная направляющая (Д). Определяет четыре координаты -
две линейные и две угловые (базирование по длинному цилиндру);
) двойная опорная (Ц), которая определяет базирование по
окружности или короткому цилиндру (две линейные координаты);
) опорная (О) или угловая (поворотная П), лишающая деталь
одной степени свободы [43].
В нашем случае базирование осуществляется по двойной
направляющей. Базирование осуществляется по длинному цилиндру, т.к. деталь -
тело вращения. Деталь лишена 4 степеней, при фиксации с торцов лишается 5
степеней.
Базирование деталей цистерны представлено в приложении В.
Принципиальная схема
Для разработки принципиальной схемы приспособления необходимо
учитывать выбранную схему базирования.
При сборке под сварку необходимо последовательно
ориентировать собираемые в изделие детали, учитывать их совмещение в
соответствии с размерами сборочного чертежа и временные закрепления деталей
перед сваркой с помощью зажимных устройств. В свою очередь, установочные детали
приспособления будут определяться поверхностями собираемого изделия.
Тип и размеры установочных элементов, их количество и
взаимное расположение будут определяться исходя из выбранной схемы базирования
[43].
Принципиальная схема представлена в приложении Г.
Сварочное приспособление
В качестве сварочного приспособления будет использоваться
сврочный ролировый самоустанавливающийся вращатель с одним электродвигателем.
Сварочные вращатели состоят из двух секций: приводной и
неприводной.
Приводная секция оснащается одним или двумя электродвигателями
с синхронизированным управлением.
При одном двигателе вращающий момент передаётся на вторую
роликоопору с помощью вала и редукторов.
Вращатели имеют бесступенчатую регулировку скорости вращения.
Управление электродвигателями осуществляется программируемым частотным
приводом. Для обеспечения автоматических процессов предусмотрена возможность
сопряжения со сварочной аппаратурой.
Все вращатели комплектуются пультом дистанционного
управления, на котором показывается скорость вращения
Рис. 20 Сварочный роликовый вращатель
Расчет межосевого расстояния роликов [42]:
Рис. 21 Схема выбора роликовых опор
Диаметр роликов Dp принимаем - 300 мм. Исходя и
номенклатуры предлагаемой производителем сварочных вращателей.
αmin = 50°; αmax = 120°.
,
.
Из полученного промежутка значений выбираем межосевое
значение L=2425 мм.
Выбор электродвигателя манипулятора
Мощность электродвигателя привода определяется по формуле:
Где n - частота вращения изделия;
η - КПД всех передаточных
звеньев от электродвигателя к изделию;
Мпр - наибольший крутящий момент:
Мпр=М1+М2,
Где М1 - момент трения скольжения в цапфах: М1=Qfr;
здесь Q - вес изделия; f - коэффициент трения скольжения; r - радиус цапфы;
М2 - момент для преодоления статической
неуравновешенности: М2=Qp; p - эксцентриситет.
В нашем случае, т.к. эксцентриситета нет М2=0,
тогда Мпр= Qfr.
Выбираем двигатель удовлетворяющий расчетной мощности.
|
Марка двигателя
|
Мощность, кВт
|
Скольжение, %
|
КПД, %
|
Коэф. мощности
|
Ммакс/ Мн
|
Мп/ Мн
|
Ммин/ Мн
|
Iп/ Iн
|
|
4А63А2 У3
|
0,37
|
8,3
|
70
|
0,86
|
2,2
|
2
|
1,2
|
5
|
Расчет прочности шпинделя манипулятора
где Мизг - это момент действующий на шпиндель,z
- осевой момент сопротивления шпинделя.
Тогда напряжение на шпинделе равно:
Шпиндели изготавливают из сталей 45, 40Х с допускаемым
пределом прочности
, следовательно, шпиндель диаметром 10 мм
выдерживает возникающие в нем напряжения.
Технология изготовления
Технология сборки и сварки цистерны включает в себя следующие
этапы:
зачистка свариваемых кромок от масла, краски и прочих
загрязнений;
базирование заготовок на ролики в соответствии со схемой
базирования;
закрепление заготовок;
сварка корпуса цистерны;
сварка днищ;
сварка технологических люков, клапанов, лестниц и т. д.
Заключение
Анализ приведенных способов плазменной сварки и наплавки
показывает, что основными их преимуществами являются:
— малая глубина
проплавления основного металла, что важно в тех случаях, когда в наплавленном
слое допускается лишь малая примесь железа, когда разбавление наплавленного
металла основным нельзя компенсировать за счет повышенного содержания
легирующих элементов в электродном (присадочном) материале либо многослойной
наплавки или когда оно приводит к существенному ухудшению свойств металла в
зоне сплавления, например, вследствие образования хрупких кристаллизационных
прослоек;
— меньшее по сравнению с
дуговой наплавкой тепловложение в основной металл, что представляет интерес при
наплавке деталей из термически упрочненных или чувствительных к перегреву
сталей;
— отсутствие при наплавке
трудностей металлургического характера, связанных с плохой отделимостью
шлаковой корки, наличием шлаковых включений и т. п. (важно для ограниченного
круга высоколегированных материалов);
— при плазменно-порошковой
наплавке применение в качестве присадочного материала порошка, который может
быть получен практически из любого сплава независимо от его твердости,
прочности, степени легирования и других свойств, значительно расширяет
номенклатуру сплавов, наплавляемых механизированными способами.
Недостатком оборудования для плазменной наплавки является его
сложность, высокая стоимость и необходимость более квалифицированного
обслуживания, чем оборудования для дуговой наплавки.
Кроме того были рассчитаны режимы сварки вагона-цистерны из
нержавеющей стали марки 08Х18Н10Т с толщиной стенки 5мм и предложена технология
сварки данной конструкции.
Список литературы
1.
Каленский В.К., Гпадкий П.В., Фрумин И.И. Исследование и разработка способа
автоматической наплавки выпускных клапанов автомобилей // Автоматическая
сварка. 1963. № 1. С. 15-23.
2. Zuchowski
R.S„ Culbertson R.P. Plasma arc weld surfacing //Welding Journal. 1962. Vol.
41. N 6. P. 548-555.
3. WittingE.
Grundlagtn und Anwendun- gen der Plasma-Verfahren II Schweissen und Schneiden.
1962. Bd. 14. N 5. S. 193-200.
4. Переплетчиков
E.Ф. Способы плазменной наплавки, применяемые в странах СНГ//Сварщик. 2004. №3.
С. 9-14.
5. Красулин
Ю.П., Кулагин И.Д. Регулирование температуры сварочной ванны при наплавке
плазменной дугой // Автоматическая сварка. 1966. № 9. С. 11-15.
6. Плазменная
технология: Опыт разработки и внедрения. Л.: Лениздат, 1980. 152 q.
7. Плазменная
наплавка металлов / А.Е. Вайнерман, M.X. Шоршоров, В.Д. Веселков, В.С.
Новосадов. Л.: Машиностроение, 1969. 192 с.
8. Вайнерман
А.Е., Веселков В.Д., Сютьев А.Н. Опыт промышленного применения наплавки
плазменной струей с токоведущей присадочной проволокой медных сплавов. Л.:
ЛДНТП, 1973. 20 с.
9. Сютьев
А.Н., Вайнерман А.Е. Плазменная наплавка на изделия цилиндрической формы. Л.:
ЛДНТП, 1970. 19 с.
10. Лужанский
И.Б., Медриш И.Н. Плазменная наплавка стеллита на уплот- нительные поверхности
энергетической арматуры // Сварочное производство. 1971. № 10. С. 24-25.
11. ДудкоД.А.,
Лакиза С.П. О новых возможностях сварки высокотемпературной дугой, сжатой
газовым потоком // Автоматическая сварка. 1960. № 11. С. 38-^16.
12. Антонов
В.А., Кондратьев И.А. Восстановительная наплавка мелких прецизионных вырубных
штампов II Теоретические и технологические основы наплавки. Современные способы
наплавки и их применение. Киев: ИЭС им. Е.О. Патона, 1982. С. 55-57.
13. TIG-plasma
system hardfacing volve seats//Welding and Metal Fabrication. 1981. Vol. 49. N
5. P. 264, 266.
14. Белый
А.И., Кузьмин Г.Г. Плазменная наплавка резьбовых замков и муфт
геологоразведочных бурильных труб // Автоматическая сварка. 1978. № 9. С.
44-46.
15. Wirth
A. AuftragschweiSen von Dich- tsegen bei der Instandsetzung von Flugtrie-
bwerken // Oerlikon SchweiGmitt. 1981. Bd. 39. N 96-97. S. 29-33.
16. Данилов
А.И. Плазменная наплавка постоянным током обратной полярности. Л.: ЛДНТП,
1981.20 с.
17. Тавер
Е.И., Шоршоров М.X. Сварка стали двойной плазменной дугой // Сварочное
производство. 1971. № 10. С. 26-28.
18. Плазменная
наплавка медных сплавов / Э.С. Комарчева, Т.Г. Гиндина, Л.А. Шпанцев, Ю.А.
Журавлев // Плазменные методы обработки металлов. Л.: ЛДНТП, 1977. С. 35-40.
19. Наплавка
сжатой дугой на обратной полярности хромоникелевой стали на конструкционные
стали / А.Е. Вайнерман, В.Ф. Захаров, В.Н. Прилуков, А.Н. Сютьев // Плазменные
методы обработки металлов. Л.: ЛДНТП, 1977. С. 27-34.
20. Smars
Е., Backstrom. Gas-metal- plasma arc welding, a new method for weld cladding II
Exploiting welding in production technology. Abington, 1975. Vol. I. P.
179-187.
21. Sandberg
U.E. Plasma arc overlay welding in nuclear manufacture of heavy nuclear
components // Welding and Metal Fabrication Nuclear Industrie Process. London,
P. 197-202.
22. Garrabrant
E.S., Zuchowski R.S. Plasma-arc hot-wire surfacing - a new high deposition
process//Weldung journal. 1969. Vol. 48. N 5. P. 85-395.
23. Trarbach
К.O. Gladding nuclear steels - the application of plasma-arc hot wire surfacing
// Metal Construction. 1981. Vol. 13. N 9. P. 508-510.
24. Ruckdeschel
W. Anwendung des Lich- tbogenschweiBens mit HeiBdrahtzusatz//Sch- weiGtechnik.
1973. Bd. 63. N 8. S. 229-241.
25.
Eklung В., Skoglund H. Major improvements in hard surfacing steel rolls for
continuous casting, using Philips pi? • ma-MIG with new metal cored wire /'
oteel Times. 1981. Vol. 209. N 9. P. 472-473.
27. Кречмар
Э., Хорн Ф. Разработка сплавов ЦИС 770 и технология плазменной наплавки его под
флюсом II Теоретические и технологические основы наплавки. Наплавочные
материалы. Киев: ИЭС им. Е. О. Патона, 1978. С. 54-61.
28. Irmer
W. Energieverhaltnisse des PlasmaauftragesschweiBprozesses II Sch- weilMechnik.
1972. Bd. 22. N 4. S. 164-167.
29. A
study on a new hardfacing processe using an extremely hard material / M. Naka-
jima, A. Notomi, T. Knsano, M. Ueda // Mut- subishi Heavy Ind.Techn. 1982. Vol.
19. N 1. P. 23-30.
30. Наплавка
тонких слоев износостойки* композитных сплавов / Ю.А. Юзвенко, М.А. Пащенко, А.
И. Белый и др. // Автоматическая сварка. 1974. № 7. С. 71-72.
31. Переплетчиков
Е.Ф. Плазмен- но-порошковая наплавка клапанов двигателей внутреннего сгорания
II Автоматическая сварка. 2002. № 1. С. 45-46.
32. Аманов
С.Р. Технология плазменно-порошковой наплавки клапанов двигателей автомобиля
"ВАЗ" // Сварочное производство. 2005. № 2. С. 33-40, 62, 63.
Приложение А
Плазмотрон для сварки (наплавки) плавящимся электродом: 1, 5
- накидная гайка; 2 - мундштук; 3 - контргайка; 4 - изолирующая втулка; 6 -
штуцер подачи плазмообразующего газа; 7 - рубашка охлаждения кольцевого анода;
8 - штуцер подачи стабилизирующего газа; 9 - рассекатель стабилизирующего газа;
10 - рубашка охлаждения стабилизирующего сопла; 11 - рассекатель защитного
газа; 12 - штуцер подачи защитного газа; 13 - токоподводящий наконечник; 14
-кольцевой медный анод; 15 - стабилизирующее сопло; 16 - защитное сопло; 17 -
изолирующая трубка
Приложение Б