Паливопідкачувальний насос низького тиску дизелів ЯМЗ
Паливопідкачувальний
насос низького тиску дизелів ЯМЗ
ЗМІСТ
ВСТУП
І. ОСНОВНА ЧАСТИНА
.1 Призначення, будова і робота
.2 Технічне обслуговування
.3 Характеристика інструментів і приспособлень
1.4 Основні несправності і ремонт
.4.1 Розбирання
1.4.2 Миття та очищення деталей
.4.3 Дефектація деталей
1.4.4 Ремонт паливопідкачувальних насосів
1.4.5 Збирання і випробування паливопідкачувальних
насосів
.5 Організація робочого місця
ІІ. ОХОРОНА ПРАЦІ
.1 Техніка безпеки при виконанні ремонтних і відновлювальних
робіт
.2 Електробезпека при виконанні ремонтних робіт
.3 Пожежна безпека
.4 Медична допомога
.5 Захист навколишнього середовища
ВИСНОВКИ
СПИСОК ВИКОРИСТАНОЇ ЛІТЕРАТУРИ
ВСТУП
Система живлення дизельних двигунів призначена для очищення і
подачі повітря, палива в циліндр і відведення відпрацьованих газів.
У дизельних двигунах здійснюють внутрішнє сумішоутворення.
Процес сумішоутворення являє собою складне явище і включає розпилювання палива
і розвиток паливного факела, прогрів, випаровування, перегрів паливних парів і
змішання їх з повітрям. Паливо випаровується й змішується в певних пропорціях з
повітрям, забезпечуючи швидке і повне згоряння. Практично сумішоутворення
починається в момент початку впорскування палива з розпилювача форсункою і закінчується
в кінці його згоряння. Впорскування палива відбувається під дією перепаду
тисків між розпилюючого отворами і камерою згоряння.
Паливо повинно бути роздроблений на дрібні краплі, рівномірно
розподілено в повітряному середовищі камери згоряння. Однак умови
сумішоутворення у дизельних двигунів менш сприятливі, ніж у двигунів із
зовнішнім сумішоутворенням. Основною причиною є те, що час, відведений на
распиліваніе, смесеобразование і згоряння, у дизельних двигунів приблизно в 10
разів менше. Це час складає 0.001-0.003 с. При цьому необхідно здійснювати
впорскування палива в строго певні фази циклу, що не завжди вдається при роботі
дизеля на всіх можливих режимах.
У дизельних двигунах застосовуються дві найбільш поширені
схеми подачі палива: розділена і нерозділена. У розділеної паливоподаючый
апаратурі паливо від окремого насоса високого тиску подається по паливопроводам
до форсунок. У нерозділеного системі паливний насос високого тиску і форсунка
конструктивно об'єднані в один вузол - насос-форсунку, а паливопровід високого
тиску відсутній. Найбільшого поширення набула розділена система живлення.
Метою даної роботи є вивчення роботи, технічного
обслуговування та основних характеристик паливопідкачувального насосу низького
тиску типу ЯМЗ, як елемента системи живлення дизельних двигунів.
І. ОСНОВНА ЧАСТИНА
1.1 Призначення, будова і робота
Для заповнення паливної системи паливом, видалення повітря із
системи перед запуском і подолання гідравлічних опорів фільтрів і трубопроводів
служать паливопідкачувальні насоси різних конструкцій (рис. 1) з насосом для
ручного прокачування палива.
В АТД застосовуються механічні паливопідкачувальні насоси
циклічної (поршневі і діафрагмові) і ротаційної (шестеренні і роторно-лопатеві)
дії з приводом від валу насоса високого тиску або двигуна. В спеціальних
системах багатопаливних двигунів в якості допоміжних застосовують насоси з
електроприводом (як допоміжні) і прецизійні підкачувальні насоси.
Паливопідкачувальний насос засмоктує паливо з бака через
фільтр грубої очистки і через фільтр тонкої очистки. По паливопроводам низького
тиску паливо надходить до ПНВТ. Відповідно до порядку роботи циліндрів ПНВТ по
паливопроводам високого тиску подає паливо до форсунок. Форсунки розпилюють і
впорскують паливо в камери згоряння. Паливопідкачувальний насос подає до ПНВТ
палива більше, ніж потрібно для роботи двигуна, тому надлишкове паливо, а з ним
і повітря, що потрапило до системи, по дренажних паливопроводах відводиться з
насоса і фільтра тонкої очистки назад у паливний бак.
Параметри підкачувальних насосів типу ЯМЗ: діаметр поршня, dп
= 22 мм; хід поршня S = 10 мм; зусилля пружини поршня початкове 155 мм,
максимальне 252 мм; максимальний напір при перекритому штуцері, 0,41МПа; зазор
між поршнем і корпусом в новому насосі 0,006...0,042 мм.
Паливопідкачувальний насос подає паливо під тиском близько
0,4 МПа до насосу високого тиску. При опусканні штовхача 1 поршень 2 під дією
пружини 3 рухається вниз. При цьому в порожнині А створюється розрідження і
впускний клапан 4, стискаючи пружину, перепускає паливо в цю порожнину
паливопровода від фільтра грубого очищення. Одночасно паливо, що знаходиться в
нагнітальній порожнині Б, витісняється до паливного насосу високого тиску
(ПНВТ). На рисунку 2 представлено схему роботи паливопідкачувального насоса
низького тиску дизелів сімї ЯМЗ.
Рис. 2. Схема роботи паливопідкачувального насоса низького
тиску дизелів сімї ЯМЗ: 1 - штовхач; 2 - поршень; 3 - пружина; 4 - впускний
клапан; 5 - насос ручної підкачки палива; 6 - випускний клапан; А - порожнина;
Б - нагнітальна порожнина
паливопідкачувальний насос деталь ремонт
При русі поршня 2 вгору, під тиском палива, що заздалегідь
надійшло, закривається впускний клапан 4 і відкривається випускний клапан 6. У
цьому випадку паливо з порожнини А через перепускний канал надходить у
порожнину Б і при подальшому переміщенні поршня 2 вниз вищеописаний цикл роботи
насоса повторюється.
До флянця насоса низького тиску кріпиться насос 5 ручної
підкачки палива. В системі живлення КамАЗ встановлений другий насос ручної
підкачки палива аналогічного типу, який кріпиться через кронштейн до картера
зчеплення. Цей насос дозволяє підкачувати паливо без перекидання кабіни, що
забезпечує значні зручності при запуску двигуна в умовах експлуатації
автомобілів.
Підкачувальний насос подає значно більше палива, ніж
витрачається форсунками, тому що паливо виконує роль охолоджуючої і змащувальної
рідини для плунжерних пар (коефіцієнт циркуляції палива через насос і фільтри
1,0... 3,0).
Робота підкачувального насоса значно впливає на наповнення
надплунжерного простору а, отже, і на нерівномірність подачі палива.
Реальний процес наповнення надплунжерного простору є
нестаціонарним. Рівень тиску безперервно змінюється і може суттєво відрізнятися
від усереднених значень, що фіксуються за допомогою манометра. Це відбувається
внаслідок розгону потоку палива в період швидкого відкриття наповнювальних
вікон втулки плунжера, виштовхування палива через наповнювальні вікна втулки в
період нагнітаючих ходів плунжера і витікання палива через відсічні вікна
втулки (в випадку, якщо порожнина подачі сполучена з відсічною порожниною
насоса). Крім того, в системі при застосуванні поршневих підкачувальних насосів
виникають хвилі тисків. Найбільш інтенсивні імпульси (1... 3 МПа) з’являються в
системі від виштовхування палива плунжером через наповнювальні вікна.
Для зниження інтенсивності коливальних явищ, що виникають в
порожнині подачі насоса, і підвищення пропускної спроможності тракту системи
живлення можуть бути рекомендовані наступні заходи:
) застосування трубопроводів із еластичних матеріалів
(наприклад, із поліхлорвінілу);
) збільшення об’ємів порожнин подачі і відсікання, що зменшує
інтенсивність хвиль, які розповсюджуються по трубопроводу;
) розділення порожнин живлення і відсікання, яке виключає
вплив процесу витікання палива в період відсікання на протікання процесів в
порожнині подачі насоса;
) виключення виштовхування палива через вікна подачі в період
нагнітального хода плунжера, що здійснюється шляхом перекриття вікон подачі у
втулці до початку нагнітального хода плунжера при обертальному русі
розподільника;
) установка в порожнині подачі зворотного або редукційного
клапана;
) застосування для згладжування пульсацій тисків в порожнинах
подачі і відсікання поршневих демпферів-акумуляторів.
На стабільність наповнення надплунжерного простору паливом
може негативно впливати наявність повітряних пробок і пузирів в тракті подачі
(хоча вони позитивно позначаються на затуханні коливальних процесів). Тому в
системі здійснюється циркуляція палива і встановлюються клапани для видалення
повітря.
Як правило, паливопідкачувальні насоси обладнуються насосом
ручного прокачування для видалення повітря із системи живлення.
Насос для ручного підкачування палива, який встановлений на
корпусі насоса низького тиску, служить для заповнення системи живлення паливом
і виведення з неї повітря після проведення ремонтно-профілактичних робіт або
довгої стоянки автомобіля. Насос складається з циліндра, поршня із штоком і
рукоятки.
Для ручного підкачування палива відкручують рукоятку із різі
хвостика і, діючи нею, як штоком у звичайному поршневому насосі, накачують у
магістраль паливо або виводять із неї повітря. Після закінчення ручного
підкачування ручну рукоятку накручують на хвостовик до щільного прилягання
поршня до прокладки, щоб не допускати підсмоктування повітря в систему живлення
через насос ручного підкачування.
1.2 Технічне обслуговування
Несправності паливопідкачувального насоса викликає падіння
його продуктивності і впливає на пуск і роботу двигуна. Перш за все
утруднюється пуск двигуна, так як на малій частоті обертання колінчастого валу
насос буде подавати менше палива навіть при більш низькому тиску. У разі
зростання навантаження і малої подачі насосом палива спостерігаються перебої в
роботі двигуна, і він не зможе сприймати навантаження.
Основними причинами несправностей і порушень в роботі
паливопідкачувальних насосів є: попадання під клапани бруду; поломки пружин або
втрата ними пружності; зависання поршня; знос стрижня штовхача. При підвищеному
зносі основних робочих поверхонь насоса (поршня і циліндра) знижується його
продуктивність і падає тиск у магістралі. Зниження продуктивності може
відбутися також при зменшенні пружності робочої пружини.
Перевірку працездатності паливопідкачувальні насоса виконують
декількома способами. Найпростішу перевірку без зняття насоса з двигуна
проводять по пульсації палива з від'єднаного від фільтра тонкого очищення
паливопроводу при провертанні стартером колінчастого вала двигуна. Якщо насос
справний, то паливо буде виходити з паливопроводу пульсуючим струменем.
Відсутність струменя або слабка струмінь свідчать про несправність насоса (якщо
при цьому не засмічені паливопроводи, фільтр грубого очищення). Більш глибоку
перевірку паливопідкачувальних насосів проводять на спеціальному обладнанні -
стендах СТДА-1 (рис.3, а), СТДА-2 або СТДА-3. на них можна також перевіряти і
регулювати насоси високого тиску і форсунки.
1.3 Характеристика інструментів і
приспособлень
Для перевірки на стенді СТДА-1 паливопідкачувальні насос
знімають з двигуна. Для привода насоса на стенді служить електродвигун, що
сполучається з валом насоса клиноремінною передачею з варіатором. За допомогою
варіатора плавно регулюють частоту обертання насоса від 120 до 1300 об / хв.
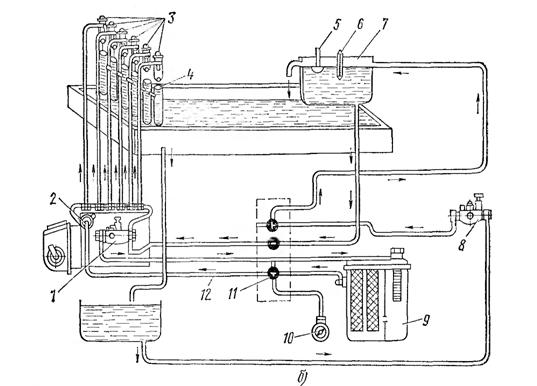
При роботі стенду паливо з нижнього бачка (рис. 3 б) подається підкачуються
насосом 8 стенду в верхній паливний бачок 7, а з нього - у випробуваний
паливопідкачувальний насос 1, що з'єднаний з фільтрами 9 грубого і тонкого
очищення.
Рис. 3. а. Загальний вигляд стенду СТДА-1
Продуктивність паливопідкачувального насоса перевіряють при
частоті обертання валу приводу 1050 об/хв. Перед випробуванням від'єднують від
насоса високого тиску підводящий паливопровід 12 і опускають його в окремий
мірний бачок. Потім при заданій частоті обертання закривають краном 11 вихід
палива з насоса, що перевіряється, створюючи протитиск 0,15-0,17 МПа. Справний
насос повинен прокачувати палива 2,2 л/хв.
Максимальний тиск, що розвивається насосом, перевіряють при
тій же частоті обертання валу приводу. Плавно перекриваючи кран 11 виходу
палива з насоса, спостерігають за показаннями манометра 10. Справний насос
повинен розвивати тиск не менше 0,4 МПа. У разі меншого тиску перевіряють стан
і герметичність клапанів насоса, знос поршня, свободу переміщення штовхача і
пружність пружини.
Стенд СТДА-2 являє собою вдосконалену модель стенду СТДА-1:
кількість гнізд для установки форсунок збільшено до восьми; додатково
вбудований насос високого тиску для перевірки кута початку палива в форсунках
по моменту відкриття їх нагнітальних клапанів; змінений датчик початку
впорскування палива; застосований приводний електродвигун підвищеної
потужності; посилені клиновидні ремені приводу варіатора; змінена схема
з'єднання топливопроводів з відповідними штуцерами стенду; збільшена ємність
паливного бака.
Стенд СТДА-3 є модернізованою моделлю стенду СТДА-2: в його
конструкції передбачена установка 12 форсунок, що дозволяє перевіряти і
регулювати насоси високого тиску з кількістю нагнітальних секцій від 6 до 12;
як приводного електродвигуна використовується електродвигун потужністю 6,5 кВт
з тиристорним регулюванням.
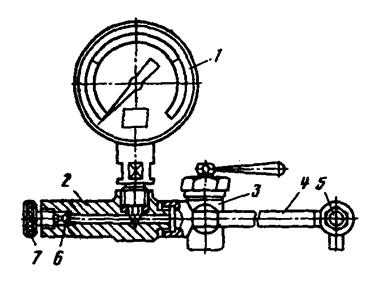
Тиск в системі паливоподачі низького тиску можу бути
визначено пристроєм КІ-4801 (рис. 4).
Одним із наконечників пристрою приєднують до нагнітальної
магістралі підкачувального насоса перед фільтром тонкої очистки палива, іншою -
між фільтром і паливним насосом. Перед перевіркою тиску із системи видаляють
повітря, відкривши запірний клапан 6 і прокачавши систему ручним
паливопідкачувальним насосом. Тиск вимірюють при працюючому двигуні.
Встановивши частоту обертання колінчастого вала, рівну 2100 об/хв. (максимальна
подача палива), і користуючись краном 3, по манометру 1 визначають тиск палива
до і після фільтра тонкої очистки палива. Тиск перед фільтром повинен бути
0,12…1,15 МПа, а за фільтром не менше 0,06 МПа. Якщо тиск перед фільтром, що
розвивається підкачувальним насосом, менше 0,08 МПа, насос підлягає заміні. При
тиску за фільтром менше 0,06 МПа слід перевірити стан перепускного клапана.
Зупинивши двигун, встановлюють на місце робочого клапана контрольний і,
запустивши двигун, знову вимірюють тиск за фільтром при максимальній подачі
палива. Якщо тиск збільшився, знятий клапан регулюють або замінюють. Якщо тиск
залишився попереднім, то це свідчить про засмічення фільтруючих елементів
тонкої очистки палива. При рівності або невеликій різниці тисків до і після
фільтра тонкої очистки слід його розібрати і перевірити стан ущільнень в
фільтруючих елементах.
Рис. 3 б. Схема паливоподачі стенду СТДА-1:
- паливопідкачувальний насос; 2 - насос високого тиску; 3 -
еталонні форсунки; 4 - мірні скляні циліндри; 5 - рівнемір; 6 - термометр; 7 -
паливний бачок; 8 - підкачуються насос; 9 - фільтри грубої і тонкої очистки
палива; 10 - манометр; 11 - кран; 12 - паливо провід
Для заміни пристрою КІ-4801 розроблено пристрій КІ-13943, який
відрізняється простотою виконання, меншими габаритними розмірами і масою, більш
раціональною технологією визначення тиску. В майбутньому він може знайти широке
розповсюдження.
При попаданні повітря в паливну систему перевіряють її
герметичність. Для перевірки герметичності системи до паливного фільтра
викручують пробку на фільтрі для сполучення внутрішньої порожнини фільтра з
атмосферою і підтягують всі з’єднання до паливного фільтра. Відкрутивши
рукоятку ручного паливопідкачувального насоса, прокачують паливну систему до
тих пір, поки із паливного фільтра не піде чисте паливо без домішок повітря,
після чого пробку фільтра закручують. Якщо після цієї перевірки потужність
двигуна не підвищиться, перевіряють паливну систему від паливного фільтра до
ПНВТ. Відкрутивши пробку для видалення повітря на паливному насосі і затягнувши
всі з’єднання до насоса, прокачують ручним паливопідкачувальним насосом паливну
систему до тих пір, поки із отвору в насосі не піде чисте паливо без бульбашок
повітря. Після цього пробку в насосі закручують.

1.4 Основні несправності і ремонт
.4.1 Розбирання
Агрегати, що підлягають повного ремонту, розбирають у
послідовності, визначеною технологічними картами на розбирання. У процесі
розбирання деякі деталі не можна знеособлювати, а вузли, які добре піддаються
промивці в зборі і дефектації по зазору у сполученні, треба розбирати частково.
Не допускається знеособлення корпусів насоса і регулятора, кулачкового і
приводного валів, шестерень приводу насоса і регулятора, установочного фланця з
зовнішніми кільцями шарикопідшипників і кулачкового валу з внутрішніми кільцями
цих же підшипників, корпусу насоса, що підкачує, стрижнів штовхачів і інших
деталей.
Паливний насос розбирають на спеціальному стенді СО-1606А.
Стенд складається з основи, що прикріплюється болтами до верстата, і рухливих
змінних головок і для закріплення і розбирання різних насосів. Паливний насос
спочатку розбирають на вузли, потім за допомогою універсальних двох- або
трьохлапчатих спеціальних знімачів вузли розбирають на деталі. Відєднують тягу
регулятора від рейки насоса (ТН-8, 5х10) чи тягу рейки від проміжного важеля
(УТН-5), знімають регулятор у зборі. Демонтують паливопідкачувальний насос
(помпу) в зборі. Справні прокладки під корпусу регулятора і
паливопідкачувального насоса, якщо вони міцно прикріплені до корпусу паливного
насоса, не знімають. Далі, у насоса знімають голівку паливного насоса в зборі,
кришку люка бічного, рейку, виймають штовхачі з гнізд і розмічають їх по
гніздах. Знімають шліцеву втулку приводу, спресовують з кулачкового валу
приводну шестерню. Спеціальним ключем відвертають гайки фрикційної муфти,
знімають пружини, шестерню, фланець і кулачковий вал в зборі з підшипниками і
масловідбивачем. Зовнішні та внутрішні кільця шарикопідшипників і втулку
шестерні приводу регулятора знімають спеціальними знімачами. Штовхачі, головки
секцій паливних насосів розбирають на спеціальних пристроях і також за
допомогою спеціальних знімачів. Регулятор і паливопідкачувальні насоси
розбирають повністю в тому випадку, якщо їх сполучення і деталі потрібно
відновлювати.
1.4.2 Миття та очищення деталей
Великі деталі корпусу паливного насоса, регулятора, фільтрів
грубого і тонкого очищення та інші миють у загальній мийної установки, якщо
вона є на підприємстві, гарячими розчинами препаратів МЛ-51,-типу МС і ін. Щоб
не розкомплектувати необхідні деталі одного насоса, їх мітять, пов'язують
дротом або укладають в окремі кошики. У цих же мийних установках очищають нові
великі деталі, тобто проводять розконсервацію.
Дрібні деталі, прецизійні не розкомплектовані пари
(розпилювачі, нагнітальні клапани, плунжерні пари) і підшипники очищають в
ультразвукових установках або в спеціальних ваннах гасом. Перед промиванням
гасом прецизійні пари укладають у ванну з ацетоном або етилованим бензином і
витримують від 2 до 12 год. Розм'якшений нагар в каналах деталей очищають
спеціальними чистиками, виготовленими з міді, латуні або дерева. Під час мийки
деталей і прецизійних пар в гасі не можна користуватися бавовняними кінцями,
тому що волокна можуть потрапити в топливопровідні канали. Важкодоступні місця
деталей промивають щітками і йоржами. Прецизійні пари після очищення промивають
дизельним паливом і укладають у спеціальну тару без їх розкомплектування.
1.4.3 Дефектація деталей
Всі деталі паливної апаратури, крім прецизійних пар,
дефектують так само, як і деталі двигунів або інших агрегатів: зовнішнім
оглядом, виміром зносів, виявленням тріщин і т. п.
Знос прецизійних деталей оцінюється тисячними частками
міліметра (мікрометра), і виміряти його дуже важко. Тому знос у прецизійних
парах визначають на спеціальних приладах відносним способом по втраті
гідравлічної щільності, тобто витоку рідини під певним тиском. Витік рідини
залежить не тільки від наявних зазорів в деталях, але і від температури і
в'язкості рідини. Тому перевірку ведуть при постійній температурі 20 ± 2 ° С і
певної в'язкості рідини. Плунжерні пари перевіряють на дизельному паливі або
суміші двох вагових частин зимового дизельного масла і однієї частини зимового
дизельного палива. Розпилювачі і нагнітальні клапани перевіряють на зимовому
дизельному паливі в'язкістю 3,5 ± 0,1 Ст (3,5 ± 0,1 * 10 6 м 2 / с).
Кожну прецизійну пару перевіряють не менше трьох разів. Пари,
придатні до подальшої роботи, укладають комплектно в одну тару, а негідні - в
іншу.
Прецизійні деталі, що мають на робочих поверхнях грубі
ризики, тріщини та інші механічні пошкодження, а також сліди перегріву (кольори
мінливості) або корозії, підлягають вибракуванню без перевірки на приладі.
Гідравлічну щільність плунжерної пари визначають на приладі
КП-1640А за часом, за яке паливо просочиться через зазор між плунжером і
гільзою. Гільзу встановлюють у гніздо приладу і заповнюють її паливом (сумішшю)
з бачка приладу. Потім вставляють плунжер, навантажують його важелем приладу і
включають секундомір. Коли важіль почне швидко падати, секундомір вимикають.
Плунжерна пара має допустимий знос, якщо час падіння одно не менше 3 с. У нової
або відновленої пари воно знаходиться в межах 45-90 с, на суміші і 30-60 с на
дизельному паливі.
Гідравлічну щільність у нагнітальних клапанів перевіряють на
приладі КД-1086 по розвантажувальному паску і запірному конусу. Для цього
перевіряється клапан з прокладкою встановлюють у проріз корпуса приладу на
підшипник спеціального пристрою і замикають його ручкою. Насосом ручної
підкачки піднімають тиск палива в системі до 5,5 кгс/см 2 (5,5-10 5 Па). У
момент зниження тиску по манометру до 5 кгс/см 2 (5 * 10 5 Па) включають
секундомір і виключають його, коли тиск знизиться до 4 кгс/см 2 (4 * 10 5 Па).
Нагнітальний клапан вважається придатним, якщо час падіння тиску на 1 кгс/см 2
(10 5 Па) дорівнює не менше 30 с.
Для визначення гідравлічної щільності клапана по
розвантажувальному пояску піднімають спеціальним пристроєм замкнений у корпусі
клапан на 0,2 мм над сідлом. Накачують паливо в систему до тиску 2 кгс/см 2 (2
* 10 5 Па) і секундоміром вимірюють час падіння тиску до 1 кгс/см 2 (10 5 Па).
Якщо цей час не менше 2 с, нагнітальний клапан вважається придатним.
Гідравлічну щільність розпилювачів перевіряють на приладі
КП-1609А по запірному конусу і зазору між корпусом і циліндричною частиною
голки розпилювача. Для цього збирають форсунку і перевіряють її на приладі, як
описано на стор 230 і 231.
Зношені плунжерні пари, розпилювачі, у яких зазор між
корпусом і циліндричною частиною голки більше допустимого, і нагнітальні
клапани з неприпустимим зносом по розгрузочному пояску відправляють у
спеціалізовані цехи для відновлення.
1.4.4 Ремонт паливопідкачувальних насосів
Ремонт паливопідкачувальних насосів залежить від характеру
дефекту.
Основні дефекти насосів поршневого типу: знос поршня і отвори
під поршень в корпусі; знос клапанів і їх гнізд; знос стрижня штовхача і його
направляє, отвори в корпусі; втрата пружності пружин; зрив різьби під пробку
клапана ручного насоса і під болти поворотних косинців; тріщини і облом фланця
корпусу.
Зношений поршень відновлюють хромуванням з наступним
шліфуванням під ремонтний розмір. Отвір у корпусі розточують по поршню із
забезпеченням зазору між ними в межах 0,015-0,038 мм. Допустима овальність і
конусність отвору складає не більше 0,005 мм.
Текстолітові нагнітальні клапани замінюють новими або
притирають зношені поверхні на чавунній плиті пастою ГОІ або АП14В до виведення
слідів зносу.
Пошкоджені або зношені гнізда клапанів фрезерують спеціальною
фрезою до отримання необхідної чистоти і притирають чавунним притиром. Сильно
зношені гнізда клапанів відновлюють постановкою змінного гнізда. Таке гніздо
виготовляють з пальця гусениці, встановлюють на різьбленні в розсвердлений
отвір і свердлять необхідні паливні канали.
Зношений кульковий клапан поршня ручної підкачки замінюють
новим. Кулька легкими ударами молотка пристукують до гнізда мідної або латунної
наставкою.
Зношений стрижень штовхача замінюють новим, збільшеного
розміру і притирають по отвору корпусу.
Зламані пружини замінюють новими, а втратили пружність -
відновлюють або також замінюють новими.
Різьблення під пробку клапана відновлюють нарізуванням різьби
ремонтного розміру, а при пошкодженні різьби під болти поворотних косинців або
штуцерів встановлюють у корпусі насоса перехідні штуцери.
У шестерних насосів зношуються зуби по товщині і довжині,
кришка корпусу і корпус насоса в місцях прилягання торців шестерень, втулка
провідного валика, вісь і отвір веденої шестірні, різьбові отвори в корпусі.
Шестерні зі зношеними по довжині зубами відновлюють
припаювання до торця (твердим припоєм) диска з маловуглецевої сталі. Припаяний
диск прорізають і обробляють за профілем зуба.
Шестерні з зносом зубів по товщині до розмірів, що виходять
за межі допустимих, замінюють новими.
Площині плити і кришки шліфують або обпилюють і пришабровують
до виведення слідів зносу. Перевіряють їх по контрольній плиті.
1.4.5 Збирання і випробування паливопідкачувальних
насосів
Перед складанням всі деталі промивають в чистому дизельному
паливі та просушують на повітрі.
Спочатку збирають насос ручної підкачки. Поршень повинен
плавно переміщатися на всю довжину циліндра. Місцеві прихвати поршня в циліндрі
і гальмування не допускаються. Ролик повинен вільно без заїдань повертатися на
осі. Потім у корпус насоса встановлюють пружину, штовхач у зборі і кріплять
його стопорним штифтом. Встановлюють стрижень штовхача, поршень, пружину і
загортають пробку, підклавши під неї прокладки. Ставлять нагнітальні клапани,
закривають їх пробок і ввертають насос ручної підкачки. Всі рухомі деталі насоса
повинні вільно переміщатися від руки і під дією пружин.
Шестерний насос починають збирати з установки корпусу
шестерень на корпус насоса. Перекіс корпусу шестерень на штифтах не
допускається. Потім встановлюючи валик в зборі з ведучою шестірнею, ведену
шестерню і плиту корпусу насоса. Притискні кільця встановлюють так, щоб їх
конусні виточки були звернення до сальнику. Напресовують спіральну шестерню до
упору в заплечики і встановлюють редукційний клапан якщо його знімали. Ведучий
валик повинен провертатися від руки без заїдань і гальмувань.
Зібрані насоси встановлюють на стенд КД-921 обкатують й
відчувають. Поршневий насос обкатують протягом 6 хв при частоті обертання 650
об/хв, шестерний - при 500 об/хв. Схема з'єднання топливопроводів на стенді при
обкатці і випробуванні насосів показана на малюнку 110. Під час обкатки кран 3
мірного циліндра 2 відкритий. Відчувають насоси на продуктивність і максимально
розвивається тиск при частоті обертання валу стенду 250 і 650 об/хв для
поршневих, 500 і 250 об/хв для шестерних насосів.
Після обкатки фіксують по тахометру стенду необхідну частоту
обертання, потім однією рукою пускають рахунковий пристрій, а інший одночасно
перекривають зливний кран мірного циліндра і стежать за рукояткою рахункового
пристрою. При початку різкого переміщення рукоятки вгору перекривають кран
подачі палива до насоса і зупиняють стенд. За кількістю палива, зібраному в
мірному циліндрі за час випробувань, визначають продуктивність насоса. Вона
повинна відповідати технічним умовам для даного насоса.
Максимальний тиск визначають у такій послідовності:
відкривають кран мірного циліндра, запускають стенд, плавно перекривають кран
підведення палива до манометру і за його показання визначають тиск. Воно також
має бути у межах, установлених технічними умовами. Наприклад, продуктивність
поршневих паливопідкачувальних насосів при частоті обертання 650 об/хв без
протитиску повинна бути в межах 2,7-3,0 л/хв, а максимальний тиск 2,0-2,5
кгс/см 2 або (2,0 - 2,5) -10 5 Па.
Якщо продуктивність і максимальний тиск, що розвивається
поршневими насосами, не відповідає технічним умовам, то перевіряють
герметичність клапанів і зазор між поршнем і отвором в корпусі. У шестерних
насосів регулюють пропускний клапан і перевіряють торцевої зазор між шестернями
і корпусом.
1.5 Організація робочого місця
Перед початком виробничого процесу на робочому місці
(дільниці) необхідно перевірити нормативну відповідність і безпечність умовам
праці: площу, висоту і об'єм; ступінь небезпеки ураження електричним струмом,
вибуховою, вибухово-пожежною та пожежною небезпекою; умови праці та їх
відповідність санітарно-гігієнічним стандартам; температуру, швидкість руху
повітря, відносну вологість, запорошеність і загазованість, рівень шумів,
вентиляцію, освітлення та захламленість приміщення та робочих місць; огорожі
небезпечних зон; запобіжні, блокувальні та сигнальні пристрої; знаки безпеки,
спецодяг та індивідуальні засоби захисту; вказівки про можливі причини
травматизму, професійних захворювань та їх запобігання.
Аналіз результатів перевірки умов праці є підставою для
введення в експлуатацію робочого місця (дільниці), розробки заходів по
удосконаленню (створенню) безпечних, нешкідливих і максимально полегшених умов
праці. Ці заходи можуть бути поділені на підгрупи: організаційні по поліпшенню
умов праці і удосконаленню техніки безпеки; контроль за дотриманням норм і
правил охорони праці.
До організаційних належать заходи зі своєчасного
обслуговування обладнання дільниці для підтримання його у технічно справному
стані, навчання робітників безпечним прийомам праці, забезпечення робітників
спецодягом та індивідуальними засобами захисту, встановлення і дотримання
протипожежного режиму, забезпечення дільниці первинними засобами пожежогасіння,
розміщення знаків і попереджувальних написів, забезпечення робітників
пам'ятками та інструкціями з техніки безпеки.
До заходів, які сприяють поліпшенню умов праці, належать:
удосконалення опалення приміщень; нормалізація вологості в них та ліквідація
протягів; зниження запорошеності та загазованості повітря; поліпшення
освітленості робочих місць; зниження шумів та вібрацій.
Удосконалення техніки безпеки передбачає: поліпшення огорож,
огляд та випробування парових котлів, повітрозабірників та вантажних засобів,
встановлення запобіжних засобів, автоматичної сигналізації та блокування,
контроль за станом електрообладнання і заземлення, контроль технічного стану
машин, механізмів і обладнання, утримання інструменту та пристроїв у технічно
справному стані, забезпечення надійності індивідуальних засобів захисту.
Якщо виробнича площа дільниці знаходиться в окремому
приміщенні, тоді потрібно виконати перевірний розрахунок вентиляції і
освітлення дільниці. Одержані розрахунки потрібно порівняти з нормативними і
при необхідності внести свої корективи.
Якщо дільниці розташовані у загальному приміщенні, тоді
потрібно навести нормативні параметри, які стосуються безпеки і умов праці на
дільниці (температура повітря, відносна вологість, швидкість руху повітря
(запорошеність, загазованість, рівень звуків).
Нормальна і безпечна робота на дільниці залежить від
організації основи виробничого процесу - робочого місця. Площа робочого місця
мусить відповідати встановленим нормам, організації охорони праці і техніки
безпеки.
Раціональна організація робочого місця - це система заходів
зі створення повного комплексу нормальних і безпечних умов, що сприяють
найбільш раціональному використанню часу, засобів виробництва, забезпечують
безпечні умови роботи, найвищу працездатність і хороше самопочуття.
Інтер'єр проектованої дільниці повинен відповідати
санітарно-гігієнічним вимогам, оскільки раціональне пофарбування приміщень і
обладнання робочих місць надають приємного вигляду приміщенню, позитивно
впливають на працездатність, знижують втомлюваність, поліпшують настрій
робітникам.
Необхідно передбачити випробування транспортних,
вантажно-підйомних засобів, автоматичної сигналізації, запобіжних засобів та
надійності індивідуального захисту.
На робочих місцях усі предмети повинні займати певне місце.
Зайві предмети не допускаються. Розлиті нафтопродукти, мийні засоби тощо слід
прибирати - підлога повинна бути сухою. На робочих місцях із бетонованою
підлогою обладнують переносні дерев'яні настили. Розміри проходів між робочими
місцями (станками, стендами та ін.) і робочих зон мають відповідати
встановленим нормам, захаращувати їх забороняється. Приміщення, в яких
спостерігають загазованість та виділення вибухонебезпечних й шкідливих парів і
газів, ізолюють одне від одного та від інших приміщень, а також забезпечують
припливно-витяжною вентиляцією. Вхідні двері і ворота приміщень мають
відкриватися назовні. Для запобігання протягам усі зовнішні входи та в'їзди
повинні мати тамбури.
Струмоприймачі необхідно заземлювати, електричні про відники
- надійно ізолювати й закривати трубами і кожухами.
Забороняється використовувати запобіжники, що не відповідають
електросхемам, або заміняти їх під напругою. Освітлення, температура, вологість
повітря, вібрація, шум у приміщеннях не повинні перевищувати встановлених меж.
Підйомно-транспортні пристрої, захвати, троси тощо мають бути
справними і випробуваними. Перед підніманням вантажу слід переконатися, що
захват надійно його охоплює.
Підіймати й опускати вантаж необхідно тільки вертикально. Не
можна стояти під піднятим вантажем. При транспортуванні останнього робітник
повинен знаходитись позаду нього.
Відкриті рухомі частини верстатів, стендів, випробовуваних
складальних одиниць і машин повинні бути надійно захищені. Забороняється
працювати на несправному обладнанні, а також при показаннях приладів, що перевищують
допустимі значення; використовувати несправний інструмент, пристосування.
Обслуговувати машину можна тільки при гарантованій стійкості. Перед запуском
обладнання і машин необхідно переконатися в тому, що пристосування і об'єкти,
які випробовуються, перебувають у відповідному (безпечному) положенні.
До роботи з використанням обладнання, механізмів,
механізованого інструменту, приладів тощо робітник допускаються після вивчення
їхньої будови і правил безпечної експлуатації. Вмикання обладнання, підйомно-транспортних
засобів, механізованого інструменту, двигунів, машин здійснюють після того, як
усі працюючі на цьому робочому місці про це попереджені.
При роботі з електрифікованим інструментом потрібно
користуватися діелектричними рукавицями, випробуваними у встановлені строки на
електропровідність. Під час роботи електроінструмент необхідно заземлювати. При
використанні пневмоінструменту повітря подавати після встановлення його в
робоче положення. Заміна робочого інструменту в пневмоелектроінструменті дозволяється
тільки при відключенні його від електричної (повітряної) мережі. Не можна
переходити на інше робоче місце з увімкнутим в мережу інструментом.
Працювати дозволяється тільки у відповідному спецодязі, що не
утруднює рухів. Не допускається наявність звисаючих кінців; рукави повинні бути
застебнуті, а волосся прибране під головний убір.
Роботи, пов'язані із можливістю ураження очей, шкіри рук,
необхідно виконувати тільки в захисних засобах (окулярах, щитках, рукавицях,
чоботах та ін.).
На місці виконання робіт не повинні знаходитись сторонні
особи. На робочих місцях мають бути вивішені правила (інструкції) з техніки
безпеки і таблички з попереджувальними написами. Кожний робітник повинен уміти
надавати собі чи товаришу першу медичну допомогу при механічних (електричних)
травмах та отруєннях.
На всіх робочих місцях мають бути наочні посібники з техніки
безпеки, плакати, попереджувальні написи, написи з відповідних інструкцій та
правил.
Робітники повинні бути забезпечені відповідним спецодягом,
спецвзуттям і захисними пристроями відповідно до діючих норм. До
діагностування, обслуговування, ремонту автомобілів допускаються робітники, які
пройшли спеціальну підготовку і мають відповідні посвідчення, а також отримали
інструктаж з техніки безпеки на одному робочому місці (дільниці) та
продемонстрували безпечні прийоми роботи. Інструктаж повинен бути оформлений у
відповідних документах.
Нормативи умов праці, промсанітарії на виробничих дільницях
ремонту автомобілів: освітлення - люмінесцентне загальне 300 лк; температура
повітря - 16...18 °С; відносна вологість повітря - 40...60 %; кратність обміну
повітря -1:2; шум - до 65...80 дб; вібрація - до 30...50 Гц; запиленість
повітря загальна - до 2 мг/м3; загазованість окисом вуглецю - до 10 мг/м3.
ІІ. ОХОРОНА ПРАЦІ
2.1 Техніка безпеки при виконанні
ремонтних і відновлювальних робіт
При діагностуванні автомобіль повинен бути надійно
загальмований, важелі коробки передач знаходитися в нейтральному положенні.
Випробування механізмів і систем автомобілів проводиться тільки після надійного
закріплення діагностичних засобів (приладів). При використанні діагностичних
засобів потрібно ретельно дотримуватися спеціальних вимог безпеки, що вказані у
відповідних інструкціях. Дії робітника, що виконують дану операцію повинні узгоджуватися.
Діагностування автомобілів краще виконувати, за можливості,
при непрацюючому двигуні. При включеному дизелі діагностування складових частин
автомобіля проводиться тільки тоді, коли важіль переключання передач
знаходиться у нейтральному положенні і в кабіні немає сторонніх осіб.
Забороняється знаходитись під автомобілем при включеному
двигуні. Перед тим, як пускати двигун необхідно впевнитися, що важіль коробки
передач знаходяться у нейтральному положенні. Забороняється торкатися обертових
(рухомих) частин автомобіля.
Під час діагностування і технічного обслуговування
автомобілів поруч не повинні знаходитися сторонні особи.
Засоби, що застосовуються при діагностуванні та технічному
обслуговуванні, мають бути справними, відповідати своєму призначенню.
Об’єкти робіт при діагностуванні, попередженні та усуненні
несправностей оглядають, використовуючи переносну лампу з напругою не більше 36
В. Встановлюючи на трубу ежектор приладу потрібно берегтися від можливих опіків
рук вихлопною трубою.
Перед замірюванням зазорів у з’єднаннях кривошипно-шатунного
механізму із застосуванням компресорно-вакуумної установки необхідно впевнитись
у надійності фіксації колінчастого вала за допомогою дії стиснутого повітря.
Пристрій для перевірки забрудненості повітроочисника слід
під’єднувати до випускного трубопроводу при виключеному двигуні.
Під час перевірки тиску впорскування і якості розпилювання
палива форсунками не можна допустити потрапляння струменя палива на руки, тому
що його частинки вдаряючись великою силою, пробивають шкіру і проникають в
організм, шкідливо на нього діючи. Недопустимо також потрапляння пару палива в
органи дихання, тому випробовувати форсунки без спеціального глушника
забороняється. Щоб уникнути розбризкування палива, яке викидається секціями насоса
при діагностуванні стану плунжерних пар пристроєм типу КИ-4802, на штуцери
секцій, що не перевіряються, накручують захисні ковпачки. Відкривати регулятор
подачі палива у насосах типу ТН-9х10 дозволяється тільки при недіючому двигуні.
При вимірюванні частоти обертання вала приставним тахометром потрібно бути
особливо обережним, щоб не доторкнутися до незахищених рухомих деталей.
Особливо обережним потрібно бути під час діагностування
акумуляторних батарей. Для попередження опіків шкіри не можна допускати
потрапляння електроліту на руки, батареї дозволяється очищувати в рукавицях
гумових обтиральним матеріалом, змоченим у водному розчині аміаку (нашатирному
спирті). При перевірці рівня електроліту користуватись відкритим вогнем не
допускається, оскільки суміш водню, який виділяється з електроліту, з киснем
повітря вибухонебезпечна.
При виконанні операцій діагностування, що пов’язані з
проривом газів, охолоджуючої рідини, палива, масла і т.д. необхідно користуватися
захисними окулярами. Слід остерігатися попадання електроліту, палива і т.д. на
відкриті ділянки тіла, попадання в очі і т.і.
Проводячи діагностичні та регулювальні роботи, що вимагають
піднімання рами автомобіля, піднімають кожен бік почергово, виключивши
можливість переміщення машини.
При використанні засобів діагностування і обслуговування слід
дотримуватися таких правил безпеки - не допускати до роботи осіб, які не
пройшли спеціальну підготовку. У разі використання пересувних засобів
діагностики і технічного обслуговування автомобілів забороняється: залишати
(машину) незагальмованою; знаходитись в автомобілі, що стоїть на домкраті;
виконувати роботи, пов’язані з перебуванням у кабіні автомобіля при включеному
двигуні; користуватися несправними інструментами, пристосуванням, приладами.
При використанні ручних електричних машин і електронних
приладів та інструментів, що живляться від мережі, слід суворо дотримуватися
передбачених спеціальними інструкціями вимог електробезпеки щодо запобігання
ураженню струмом високої напруги.
Необхідно постійно слідкувати за справністю електромережі, не
допускати проводів на масу. Під час тривалої роботи заземлювальний штир
необхідно забивати в землю, а при кожному підключенні електрообладнання до
мережі стежити за тим, щоб корпуси всіх електроспоживачів мали надійний
електричний зв’язок із заземленням джерела струму.
Під час промивання складових частин гасом не можна палити,
необхідно вживати заходи, які попереджували б спалахи пару проливної рідини,
захищати електромережу від замикання на корпус і появи іскри.
Гайки шпильок кріплення головки блока циліндрів підтягують
динамометричним ключем, а у випадку його відсутності - торцевим без
застосування подовжувачів, оскількив такому разі через надмірний крутний момент
можливі зрив різі гайки або поломка ключа і, як наслідок, травма руки.
Для піднімання складових частин автомобіля - передньої або
задньої осі при перевірці або регулюванні підшипників тощо необхідно
застосовувати тільки справний домкрат або підйомний механізм, а під домкрат
підкладати надійні підставки. Виконуючи роботу при піднятій осі, не можна
залишати її на домкраті, слід підставити під неї надійні підставки і
загальмувати автомобіль.
Відкрити люк кожуха муфти зчеплення і регулювати її можна
тільки виключивши двигун. Необхідно слідкувати, щоб у картер муфти зчеплення не
потрапили сторонні предмети (ключі, гайки, болти і т.ін.). Прокручувати
колінчастий вал двигуна під час регулювання зчеплення необхідно обережно, щоб
не пошкодити пальці.
Очищення і миття деталей мийними засобами слід виконувати у
спеціальних ваннах і машинах. Зберігати мийні засоби, а також вогненебезпечні
матеріали як гас, дизпаливо слід тільки в місцях, обладнаних для цієї мети.
Під час користування розчином каустичної соди і іншими мийними
засобами необхідно захищати руки пастами типу ХИОТ-6 або АБ-1, а при
використанні для миття деталей лужних миючих розчинів - пастою типу ПМ-1.
Очищати і промивати деталі та складальні одиниці, наприклад,
масляні фільтри, повітроочисник, форсунки, слід щетинною щіткою, скребками або
спеціальними пристроями, що запобігають пошкодженню шкіри рук абразивами і
задирами, а також забруднення її смолистими речовинами. Для захисту шкіри рук
від дії смолистих речовин застосовують пасту “Ялот” або “Біологічні рукавички”,
мазь “Миколан”, які наносять на шкіру, відповідно розтирають і дають
підсохнути. Після закінчення роботи ці засоби легко змиваються водою.
Робітник, який виконує миття деталей, складальних одиниць
повинен бути в кислотостійкому фартусі, гумових чоботях і рукавицях, а в деяких
випадках - у захисних окулярах, респіраторі (при готуванні мийних розчинів).У
мийному відділенні повинна бути вентиляція з 3...4 кратним обміном повітря, а
також надійне місцеве відсмоктування шкідливих випарів від ванн і мийних машин.
Не допускається на підлозі мийних розчинів. Підлога дільниці повинна бути
облицьована керамічними плитками. Дерев’яне і асфальтове покриття підлоги
забороняється. Трапи і доріжки повинні мати шорстку рифлену поверхню.
Мийне обладнання повинно мати висмоктувальні зонди, не
допускається підтікання мийного розчину. Відкривати двері мийної машини
дозволяється тільки через 4...6 хв. Після закінчення миття. Під час
транспортування автомобіля у мийну камеру забороняється стояти біля троса
лебідки ближче, ніж 1 м.
На дільниці, де видаляється стара фарба змивками, повинен
бути 3...4 кратний обмін повітря, температура - 18...20
ºС, протяги
не бажані. Не допускається застосування відкритого полум’я і
електроінструменту, забороняється проводити зачищення тріщин, правлення,
клепання, зварювання та інші ремонтні роботи, оскільки всі компоненти змивок
фарби - легкозаймисті (вогненебезпечні).
При розбирально-складальних роботах забороняється
користуватися несправними пристосуваннями (знімачами) і інструментами.
Гайкові ключі повинні відповідати розміру гайок і головок
болтів і не мати тріщин, забоїн, задирок. Застосовувати гайкові ключі для
відкручування (закручування) гайок і головок болтів допускається тільки в тих
випадках, коли неможливе застосування торцевих і накидних ключів. Для
відкручування і закручування гайок і болтів забороняється користуватися
зубилом, молотком, підкладати між гайковим ключем і гайкою (головкою болта)
металеві пластини і т.п., подовжувати ключ іншим ключем або трубою.
При розбиранні і складанні нарізних з’єднань гайковими
ключами робочий рух руки повинен бути “до себе”, а не навпаки. Відкручувати і
закручувати гвинти необхідно викрутками, ширина леза яких дорівнює діаметру
головки гвинта.
При використанні електро-пневмоінструментів кабель або шланги
по можливості підвішуються. Заміну інструментів (насадок) виконувати тільки при
відключеному кабелі (шланги) від електромережі (повітропроводу).
Повітропровід не повинен перехрещуватися з електрокабелями
або розташовуватися ближче від них ніж на 0,5 м.
Включати вентиль подачі стисненого повітря можна тільки тоді,
коли інструмент у робочому положенні. Не допускається перегинання під час
роботи пневмоінструмента. Просочування повітря не через шланг і загальну
магістраль не допускається. Тиск повітря в ресивері не повинен бути вищим
встановленого технічними вимогами.
Працювати з електроінструментом дозволяється в гумових
рукавицях, стоячи на гумовому килиму. При продувці деталей, складальних одиниць
стисненим повітрям потрібно бути в захисних окулярах, повітряний струмінь
потрібно направляти від себе.
Роботи, які супроводжуються виділенням пилу при зачистці
зварних швів, припасуванні деталей і т.ін., електро- або пневмошліфуванням,
слід виконувати у спецодязі, рукавицях, окулярах і респіраторі. Перед використанням
пристроїв (знімачів) необхідно перевірити їх на відсутність тріщин, сколів,
зам’ятості різі тощо.
При виявленні цих дефектів користуватися ними забороняється.
При розбиранні і складанні нерухомих спряжень з використанням
знімача необхідно, щоб гвинт знаходився на одній осі з віссю деталі, яка
спресовується (напресовується), а захвати (лапки) надійно охоплювати деталь.
Деформація гвинта, захватів і інших деталей знімача не допускається.
При розпресуванні і запресуванні деталей на пресі необхідно,
щоб вісь деталі і надставки співпадали з штоком преса. Забороняється
підтримувати руками оправки і підкладки.
Стакани підшипників, фланці і інші подібні деталі з нарізними
отворами необхідно знімати тільки з допомогою пристосувань або технологічних
(демонтажних) болтів. Забороняється застосовувати молотки, зубила, клини і т.п.
Знімати і встановлювати пружини необхідно спеціальними знімачами з запобіжними
пристроями (кожух) або технологічними гвинтами, що дозволяють плавно послабити
або стиснути пружину.
Для знімання і установки деталей і вузлів масою більше 200 Н
слід застосовувати вантажопідйомні засоби з використанням схваток, захватів,
скоб, що надійно утримують вантаж.
Розбирати і складати агрегати, складальні одиниці можна
тільки в тому випадку, якщо вони надійно закріплені на стенді, пристосуванні і
т.п.
Не можна розбирати і складати складові одиниці, що підвішені
на підйомних механізмах. При зніманні і установці габаритних і важких деталей,
складальних одиниць (кабін, кузовів і т.ін.) використовують спеціальні схватки
з закріпленням їх не менше, чим в чотирьох точках, а двигуни, коробки передач і
т.ін. - не менше, як в двох точках. Захват необхідно виконувати за визначені
місця конструкцією складальної одиниці.
При розбиранні і складанні рам необхідно звертати увагу, щоб
не допускати вискакування прокладок з під пристосування.
При зрубуванні заклепок вручну потрібно користуватися зубилом
довжиною не менше 150 мм, заточеним під кутом 65...75
º, роботу
виконувати тільки в захисних окулярах. Нагріті заклепки носити тільки
спеціальними кліщами з відповідною формою губок. Електричні засоби для нагріву
заклепок повинні бути заземлені. Виконувати роботу тільки в фартуху, рукавицях
і окулярах.
Обкатування і випробування складових одиниць і автомобілів
дозволяється тільки після надійної установки на стенд і попередження оточуючих.
Перед запуском стенда, двигуна, машини необхідно впевнитися в надійності
огородження захисними пристроями обертових частин, приєднання шлангів,
трубопроводів.
Стенди для обкатування і випробування складальних одиниць,
двигунів, автомобілів повинні бути обладнаними надійним відсосом пари
паливомастильних матеріалів та випускних газів, і, відповідно, дільниці -
проточно-витяжною вентиляцією.
Стенди повинні бути заземлені.
Робітники дільниць обкатки і випробування повинні бути
забезпечені індивідуальними захистами від шуму - наушниками, які вибирають
залежно від частоти шуму.
Під час обкатки і випробування одиниць паливної, масляної та
гідравлічної систем, двигунів і автомобілів забороняється проводити регулювання
за виключенням регулювання карбюраторів. Не допускається підтікання рідини в
шлангах і з’єднувальних пристроях.
Під час обкатки автомобілів забороняється знаходження в
кабіні, в кузові сторонніх осіб. Запускати двигун слід тільки стартером або
спеціальним пристроєм. Забороняється запускати двигун буксируванням автомобіля.
Слюсарні роботи. Приступаючи до роботи, робітник повинен
перевірити наявність і справність захисних огороджень, пристосувань,
інструменту, засобів з техніки безпеки. Перевірити надійність кріплення
заземляючих провідників. Проходи повинні бути не захаращені, вільні для
проходу.
Робітник повинен бути забезпечений захисними окулярами та
спецодягом. Забороняється заточувати інструмент без захисних окулярів і
несправним інструментом.
При виконанні розміточних робіт необхідно надійно встановити
плиту, після роботи слід на рисувалку надіти захисні пробки. Забороняється
заточувати шабери без упору і захисних окулярів, а також працювати без
діелектричних рукавиць електричною шабрувальною машиною.
Під час обпилювання заготовок, деталей з гострими кромками не
можна підгинати пальці лівої руки під напилок при виконанні зворотного ходу.
Стружку потрібно змітати волосяною щіткою. Забороняється змітати стружку голими
руками, здувати її або видаляти стисненим повітрям.
2.2 Електробезпека при виконанні
ремонтних робіт
Нещасні випадки від дії електричного струму відбуваються при
торканні робітника до струмоведучих частин, які знаходяться під напругою
(проводи, шини, рубильники і т.ін.); при появі напруги на металевих частинах
електрообладнання, верстатах тощо, які при нормальних умовах роботи не повинні
знаходитись під напругою; при пошкоджені ізоляції електрообладнання - коротке
замикання на корпус.
Основними заходами захисту від ураження електричним струмом є
огородження, яке виключає можливість торкання до струмопровідних частин;
заземлення обладнання; упровадження захисного відключення струмоприймачів;
забезпечення індивідуальними засобами захисту робітників; застосування зниженої
напруги.
Заземлення є ефективним засобом захисту людини від дії
електричного струму, воно є обов’язковим до застосування джерела струму,
струмоприймачів, розподільчих електрошаф і т.ін. Захисне заземлення для напруги
до 1000 В повинно мати опір 0,4 Ом. Для захисту від блискавок, сила струму яких
досягає 200 000 А, встановлюють блискавковідводи.
При обладнанні заземлення - необхідний контакт з землею
забезпечується за допомогою сталевих стрижнів, труб або кутникової сталі
довжиною 2,5...3 м, які забивають вертикально у землю. Потім торці стержнів
з’єднують зварюванням смуговою або прутковою сталлю. Всі струмоприймачі,
огорожі, кожухи трансформаторів, каркаси розподільчих щитів з’єднують з
заземленням.
Коротке замикання - одна з головних причин пожеж. Щоб уникнути
пожежі, потрібно своєчасно проводити профілактику електрообладнання і не
порушувати правил його використання. Забороняється торкатися струмом ведучих
частин електротехнічного обладнання, яке перебуває під напругою. Наявність
напруги в електричному колі перевіряють індикатором. Не можна користуватися
електричними проводами з пошкодженою ізоляцією, вмикати і вимикати електричні
прилади або ремонтувати їх мокрими руками.
Якщо під час роботи в електричних установках виникла
несправність, негайно потрібно вимикати живлення, а потім усувати несправність.
Вмикати й вимикати електричні прилади потрібно однією рукою,
не торкаючись при цьому водопровідних та газових труб чи іншої арматури.
Торкання людини до струмопровідних частин, які знаходяться
під напругою супроводжується судомим скороченням м’язів. З цієї причини людина
не може звільнитись від дії струму. Якщо таке трапляється - необхідно терміново
вимкнути електромережу або відтягти ураженого від електромережі, яка
знаходиться під напругою. Якщо неможливо швидко відключити електромережу,
необхідно перерубати проводи засобом, який не проводить струм. Відтягти
враженого від електромережі можна за його сухий одяг, якщо одяг вологий,
потрібно надіти на руки діелектричні рукавиці або обмотати руки сухим одягом (ганчіркою).
Враженому потрібно дати понюхати нашатирний спирт, оббризкати водою, розтерти і
зігріти тіло. Одночасно викликати швидку допомогу. Якщо уражений струмом погано
дихає - необхідно робити штучне дихання, масаж серця.
Для місцевого освітлення робочих місць у приміщеннях з
підвищеною небезпекою потрібно користуватися світильниками напругою 36 В, а у
особливо небезпечних - переносними світильниками 12 В.
Працюючи з ручними електричними машинами, перевіряють
справність ізоляції кабелю живлення та заземляючого проводу. Переносні машини
(дрилі) вмикають через штепсельне з’єднання, що має контакти заземляючого
провідника. Живлення машин потужністю до 800 Вт відбувається за допомогою
штепсельного розняття. Більш потужніші - через рубильники закритого типу або безпосередньо
від розподільних щитків.
Перед одягненням перевірити цілість гумових рукавиць.
Електричні проводи до джерел живлення від верстатів, стендів тощо потрібно
прокладати у захисних трубах, щоб виключити можливість дотику до них. Переносні
струмоприймачі (зварювальні апарати) підключають гнучким ізольованим кабелем
відповідного перерізу.
2.3 Пожежна безпека
Пожежна безпека - це система заходів по попередженню пожежі і
організації пожежегасіння, в які входять і профілактика, яка передбачає методи
попередження пожеж. Припинення розповсюдження вогню під час пожеж залежить від
вогнестійкості матеріалів, з яких побудоване приміщення і правильного
розташування дільниць (цехів), дверей, протипожежних розривів.
Найчастіше причиною виникнення пожеж є недотримання вимог
пожежної безпеки: умов зберігання легкозаймистих вибухонебезпечних речовин
(матеріалів); неправильне улаштування або несправність електричних установок і
мереж; невжиті заходи для нейтралізації електричних зарядів; необережне
поводження з вогнем; паління в забороненому місці; несправність освітлювальної
системи і вентиляції; порушення правил зберігання промасленого ганчір’я.
Швидке виявлення запалення і термінове повідомлення про це
працівників, пожежної дружини є важливою умовою усунення пожежі. Для цього
виробниче підприємство (майстерня) повинні мати пожежну сигналізацію,
телефонний зв’язок.
Ремонтне підприємство повинно бути забезпечене водою з
господарської водомережі для гасіння пожежі або мати спеціальний резервуар з
водою. Протипожежним засобом є автоматичні і напівавтоматичні засоби
вогнегасіння водою - це є мережа водопровідних труб з душовими головками на
стелі приміщення.
При досягненні в приміщенні температури граничного значення -
автоматично з’являється (тече) вода у вигляді душа.
При напівавтоматичній системі душ включається вручну. До
первинних засобів пожежегасіння належать вогнегасники, пожежний інвентар: бачки
з водою, ящики з піском, пожежні відра, совкові лопати, покривала з
теплоізоляційного полотна, грубововняної тканини, пожежний інструмент, гаки,
ломи, сокири тощо. До прибуття пожежного підрозділу, надійними засобами гасіння
вогнища є вогнегасники.
Для гасіння твердих матеріалів і горючих речовин невеликої
площі застосовують пінні вогнегасники ОП-М, ОП-9ММ і повітряно-пінні ОВВ-5,
ОВП-9. Ці вогнегасники приводяться в дію натисканням пускогового важеля.
Вуглекислотні вогнегасники типу ВВ застосовують для гасіння
горючих рідких речовин, крім тих, що можуть горіти без доступу повітря, та
електроустаткування під напругою до 1кВ.
Для приведення в дію потрібно видалити запобіжну чеку,
натиснути важіль, при цьому розтруб вогнегасника має бути спрямований в
осередок пожежі. До вуглекислотних вогнегасників відносять аерозольні - ОУ-2,
ОУ-3, ОУ-8 та пересувні - ОУ-25, ОУ-80.
Вогнегасник брометило-хлодоновий ОБХ-3, хлодоновий ОХ-3,
вуглекислотно брометилові АУБ-3Ag і ОУБ застосовують для гасіння горючих
речовин і матеріалів, електроустановок під напругою 380 В, у складських
приміщеннях, на бензиноколонках і т.і. Порошкові вогнегасники типу ОП-1, ОП-1Б,
ОП-1В, ОПУ-2, ОПУ-5 та інші застосовують для гасіння горючих рідин, газів,
електроустановок під напругою до 1 кВ.
Кожен працівник ремонтного підприємства зобов’язаний знати
правила пожежної безпеки, уміти користуватися засобами пожежегасіння в разі
виникнення пожежі. Виробничі дільниці (цехи) повинні бути обладнані первинними
засобами пожежогасіння і утримуватися в справному стані. Проходи, виходи,
коридори, тамбури, сходи приміщення слід постійно тримати в справному стані і
нічим не захаращувати.
Нормативне забезпечення дільниць засобами пожежегасіння, їх
справний стан, своєчасні і точні дії під час пожежі допомагають рятувати людей
і матеріальні цінності, попередити пожежу легше, ніж її загасити.
Робітники повинні знати місця розташування засобів
пожежегасіння і вміти користуватися ними на випадок пожежі.
Використовувати пожежний інвентар в інших цілях
забороняється. На дільницях і робочих місцях повинні бути вивішені правила і
плакати з пожежної безпеки і схема (порядок) евакуації людей і обладнання на
випадок пожежі. При пожежі вимкнути рубильник, ліквідувати її наявними засобами
пожежогасіння, в разі необхідності викликати пожежну службу за телефоном 01.
Людей вивести в безпечне місце.
Використаний обтиральний матеріал зберігати в металевих
ящиках з кришками. Забороняється на робочому місці користуватися відкритим
вогнем. Палити і спалювати відходи виробництва можна тільки у визначеному місці.
Забороняється на робочому місці мити руки бензином, гасом, ацетоном і т.п. і
залишати пролиті на підлозі паливно-мастильні матеріали.
В кузові автомобіля, що надійшов на ремонт, не повинно бути
легкозаймистих матеріалів, сміття. Не допускається відігрівання замерзлих
паливних баків, маслопровідних трубок і баків, кранів водопровідної сітки і
т.п. відкритим вогнем. Для цього слід використовувати гарячу воду або пару.
Про виявлене місце спалаху необхідно невідкладно повідомити
пожежну охорону і організовувати гасіння пожежі засобами, що наявні на
дільниці.
Паливно-мастильні матеріали, що зайнялися, гасять піском,
брезентом, вогнегасником, але не заливають водою, електропроводку гасять після
вимкнення електромережі. З числа працівників дільниць повинна бути створена
добровільна пожежна дружина.
2.4 Медична допомога
Медична допомога. На виробничих дільницях (цехах) повинні
бути медичні аптечки з необхідним нормативним компонентом медичних ліків і
засобів. Аптечка повинна бути розміщена в зручному місці. Біля аптечки повинні
бути розвішані плакати, що пояснюють різні прийоми надання допомоги
травмованому (хворому). Працівники дільниці (майстерні) повинні знати прийоми і
уміти надавати першу медичну допомогу травмованому, при необхідності викликають
швидку медичну допомогу за телефоном 03.
У разі враження робітника електричним струмом, його
запамороченні, потрібно робітника покласти на спину, розстібнути одяг,
забезпечити приток свіжого повітря, дати понюхати нашатирного спирту і зігріти
тіло. Одночасно викликати швидку медичну допомогу. Якщо уражений електрострумом
погано дихає - необхідно зробити штучне дихання, масаж серця.
Зовнішню артеріальну кровотечу повинен уміти зупинити кожний
працівник дільниці. Це необхідно робити до прибуття медичного працівника або на
час транспортування травмованого до лікарні. Є декілька способів зупинення
кровотечі. Пальцеве притискання пошкодженого місця з наступним накладанням
притискувальної стерильної пов’язки. Поверх потрібно накласти туго звернутий
клубок вати, притиснувши його бинтом коловим способом. Замінити вату і бинт
можна м’якою чистою тканиною з одягу.
При дуже великій артеріальній кровотечі накладають гумовий
джгут (вище рани), підклавши під нього невеликий валик із тканини. В петлю
потрібно встановити палицю, олівець і т.п. і закрутити джгут до повної зупинки
кровотечі. Палицю прибинтовують до тіла і прикладають записку, в якій вказують
час накладання джгута. При відсутності лікаря накладають джгут трохи вище
попереднього місця і через 1...1,5 години міняють місце його розташування.
В залежності від місця розташування рани кровотечу можна
зупинити фіксуванням кінцівки при максимальному згині її в суглобі, якщо рана
знаходиться нижче суглоба. Це положення фіксують бинтом, пасом, шарфом тощо.
Травмованій кінцівці необхідно надати підвищене положення.
При капілярній кровотечі накладають пов’язку, а зверху неї -
бажано целофановий пакетик з льодом.
При переломі кістки кінцівки необхідно її частини розмістити
в природний стан, потім накласти шину - дерев’яні, жорсткі пластмасові палиці з
двох протилежних боків і притиснути їх до тіла бинтом коловим способом на всій
довжині палиці. Для полегшення травмованому бажано дати заспокійливі пігулки. У
випадку опіку шкіри обпечене місце необхідно обмотати сухою чистою тканиною, при
відсутності її можна використати суху м’якеньку тканину одягу.
При виникненні гострого болю в області серця хворого потрібно
посадити на стілець, розстібнути комір, розпустити пасок, покласти під язик
нітрогліцерин або пігулку валідолу.
При відсутності цього - можна покласти цукор. Забезпечити
хворому приток свіжого повітря, ноги по кісточки опустити в тазик з теплою
водою. Якщо зупинилося серце і порушилося дихання, не чекати лікаря, необхідно
провести закритий масаж серця і штучне дихання.
Про кожний випадок травматизації керівник дільниці повинен
терміново повідомити адміністрацію, а потім терміново приступити до
розслідування нещасного випадку.
2.5 Захист навколишнього середовища
З метою попередження нещасних випадків і збереження
навколишнього середовища керівнику дільниці необхідно разом з санепідемстанцією
ретельно опрацювати питання нейтралізації і захоронення шкідливих розчинів
кислот, мийних засобів, лугів та інших матеріалів, що застосовуються при
ремонті автомобілів.
На дільниці необхідно передбачити утилізацію використаного
обтирального матеріалу, що застосовується при ремонті автомобілів.
Не допускається, щоб стічні води заносили шкідливі речовини
на дитячі ігрові майданчики, житлові масиви, поля, водосховища, річки і т. п.
У проектах необхідно передбачити організоване відведення
води, використовуваної при митті; її очищення та повторне використання. При
необхідності слід планувати розробку пристроїв для видалення осадів та речовин,
які спливають, центрифугування, фільтрування та хімічне очищення миючих
розчинів з метою одержання замкнутого зворотного циклу миття без зливання їх у
каналізацію.
При змиванні відпрацьованих розчинів у загальну каналізацію
необхідно спроектувати (запропонувати) пристрої для вловлювання нафтопродуктів,
нейтралізації викидних розчинів кислот та лугів (наприклад, електролітів). При
відсутності каналізації слід передбачити вивезення осадів, відпрацьованих
мийних розчинів, електролітів та інших шкідливих речовин автоцистерною у
спеціально відведені санітарно-епідеміологічною станцією місця утилізації.
Слід пам'ятати, що хімічне зараження повітря, питної води,
відкритих водоймищ, житлових масивів шкідливими розчинами і газами викликає
тяжкі захворювання, згубно впливає на навколишнє середовище.
Забруднення навколишнього середовища призводить до виникнення
витрат: на попередження впливу забрудненого середовища, сюди відносяться і
витрати на установку очисних споруд; викликані впливом забрудненого середовища,
на медичне обслуговування хворих внаслідок забруднення середовища, відновлення
загиблої рослинності і зруйнованих пам’ятників тощо.
ВИСНОВКИ
Для заповнення паливної системи паливом, видалення повітря із
системи перед запуском і подолання гідравлічних опорів фільтрів і трубопроводів
служать паливопідкачувальні насоси різних конструкцій з насосом для ручного
прокачування палива.
У даній роботі вивчено будову, принцип дії та технічне
обслуговування паливопідкачувального насосу низького тиску дизелів ЯМЗ.
Основними причинами несправностей і порушень в роботі
паливопідкачувальних насосів є: попадання під клапани бруду; поломки пружин або
втрата ними пружності; зависання поршня; знос стрижня штовхача. При підвищеному
зносі основних робочих поверхонь насоса знижується його продуктивність і падає
тиск у магістралі. Зниження продуктивності може відбутися також при зменшенні
пружності робочої пружини.
Перевірку працездатності паливопідкачувального насоса
виконують декількома способами. Найпростішу перевірку без зняття насоса з
двигуна проводять по пульсації палива з від'єднаного від фільтра тонкого
очищення паливопроводу при провертанні стартером колінчастого вала двигуна.
Якщо насос справний, то паливо буде виходити з паливопроводу пульсуючим
струменем. Відсутність струменя або слабка струмінь свідчать про несправність
насоса, якщо при цьому не засмічені паливопроводи, фільтр грубого очищення.
Більш глибоку перевірку паливопідкачувальних насосів проводять на спеціальному
обладнанні - стендах СТДА-1, СТДА-2 або СТДА-3.
Особлива увага при обслуговуванні та ремонті
паливопідкачувального насосу низького тиску приділяється оснащенню робочого
місця та дотримання правил техніки безпеки та охорони праці.
СПИСОК ВИКОРИСТАНОЇ ЛІТЕРАТУРИ
1.Авдеев
М.В., Воловик Е.Л., Ульман И.С. Технология ремонта машин и оборудования. - М.:
Агропромиздат, 1986. - 247 с.
.
Воловик Е.Л. Справочник по восстановлению деталей. - М.: Колос, 1981. - 351 с.
.
Гаркунов Д.Н. Триботехника. Износ и безызность. - М.: Машиностроение, 2001. -
616 с.
.
Калашников О.Г., Лауш П.В., Некрасов С.С. Ремонт машин. - К.: Вища школа, 1983.
- 360 с.
.
Канарчук В.Є., Лудченко О.А., Чигиринець А.Д. Основи технічного обслуговування
і ремонту автомобілів. - К.: Вища школа. 1994. - Кн..1: Теоретичні основи:
Технологія: Підручник. - 342 с; - Кн..2: Організація, планування і
управління:Підручник. - 383 с.; - Кн..3: Ремонт автотранспортних засобів. - 495
с.
.
Канарчук В.Є., Лудченко О.А., Чигиринець А.Д. Експлуатаційна надійність
автомобілів: Підручник у 2 ч., 4 кн. - К.: Вища школа, 2000. - Ч. 1: кн. 1. -
609 с., кн.2. - 458 с.; Ч.2: кн..3. - 321 с.; кн. 4. - 552 с.
.
Лудченко О.А. Технічне обслуговування і ремонт автомобілів. - К.: Знання-Прес,
2003. - 512 с.
.
Лудченко О.А. Технічне обслуговування і ремонт автомобілів. Організація і
управління. - К.: Знання-Прес, 2004. - 478 с.
.
Черновол М.І., Чабанний В.Я. та ін. Технічна експлуатація автомобілів:
Лабораторний практикум. - Кіровоград: РВП КНТУ, 2007. - 125 с.
.
Бурлаев Ю.В. и др. Устройство, обслуживание и ремонт топливной аппаратуры
автомобилей: Учеб. для сред. ПТУ / Бурлаев Ю.В., Мартиров О.А, Кленников Е.В.
3-е изд. - М.: Высш. шк., 1987. - 288 с.