Нефтегазопромысловое оборудование

  • Вид работы:
    Дипломная (ВКР)
  • Предмет:
    Другое
  • Язык:
    Русский
    ,
    Формат файла:
    MS Word
    1,5 Мб
  • Опубликовано:
    2013-02-10
Вы можете узнать стоимость помощи в написании студенческой работы.
Помощь в написании работы, которую точно примут!

Нефтегазопромысловое оборудование

 

 

 

 

 

 

 

 

 

 

 

 

 

 

НЕФТЕГАЗОПРОМЫСЛОВОЕ ОБОРУДОВАНИЕ

 
















1. Оборудование и инструмент для ремонта скважин


1.1 Общие понятия о ремонте скважин

скважина нефтепромысел оборудование пласт

Все работы по вводу скважин в эксплуатацию связаны со спуском в них оборудования: НКТ, глубинных насосов, насосных штанг и т.п.

В процессе эксплуатации скважин фонтанным, компрессорным или насосным способом нарушается их работа, что выражается в постепенном или резком снижении дебита, иногда даже в полном прекращении подачи жидкости. Работы по восстановлению заданного технологического режима эксплуатации скважины связаны с подъемом подземного оборудования для его замены или ремонта, очисткой скважины от песчаной пробки желонкой или промывкой, с ликвидацией обрыва или отвинчивания насосных штанг и другими операциями.

Изменение технологического режима работ скважин вызывает необходимость изменения длины колонны подъемных труб, замены НКТ, спущенных в скважину, трубами другого диаметра, УЭЦН, УШСН, ликвидация обрыва штанг, замена скважинного устьевого оборудования и т.п. Все эти работы относятся к подземному (текущему) ремонту скважин и выполняются специальными бригадами по подземному ремонту.

Более сложные работы, связанные с ликвидацией аварии с обсадной колонной (слом, смятие), с изоляцией появившейся в скважине воды, переходом на другой продуктивный горизонт, ловлей оборвавшихся труб, кабеля, тартального каната или какого-либо инструмента, относятся к категории капитального ремонта.

Работы по капитальному ремонту скважин выполняют специальные бригады. Задачей промысловых работников, в том числе и работников подземного ремонта скважин, является сокращение сроков подземного ремонта, максимальное увеличение межремонтного периода работы скважин.

Под межремонтным периодом работы скважин понимается продолжительность фактической эксплуатации скважин от ремонта до ремонта, т.е. время между двумя последовательно проводимыми ремонтами.

Коэффициент эксплуатации скважин - отношение времени фактической работы скважин к их общему календарному времени за месяц, квартал, год.

Коэффициент эксплуатации всегда меньше 1 и в среднем по нефте- и газодобывающим предприятиям составляет 0,94¸0,98, т.е. от 2 до 6% общего времени приходится на ремонтные работы в скважинах.

Текущий ремонт делает предприятие по добыче нефти и газа. Организация вахтовая - 3 чел.: оператор с помощником у устья и тракторист-шофер на лебедке.

Капитальный ремонт выполняют конторы капитального ремонта, входящие в НГДУ.

1.2 Установки и агрегаты для подземного и капитального ремонта и освоения скважин


При подземном ремонте глубоких скважин применяют эксплуатационные вышки и мачты, стационарные или передвижные, предназначенные для подвески талевой системы, поддержания на весу колонны труб или штанг при ремонтных работах, проводимых на скважине.

Стационарные вышки и мачты используются крайне нерационально, т.к. ремонтные работы на каждой скважине проводятся всего лишь несколько дней в году, всё остальное время эти сооружения находятся в бездействии. Поэтому целесообразно использовать при подземном ремонте подъемники, несущие собственные мачты. Транспортной базой их служат тракторы и автомобили.

1.3 Подъемники и подъемные агрегаты

Подъемник - механическая лебедка, монтируемая на тракторе, автомашине или отдельной раме. В первом случае привод лебедки осуществляется от тягового двигателя трактора, автомашин, в остальных от самостоятельного двигателя внутреннего сгорания или электродвигателя.

Агрегат - в отличие от подъемника оснащен вышкой и механизмом для ее подъема и опускания.

Широко применяются тракторные подъемники «АзИНмаш-43П», АПТ-8, агрегаты «АзИНмаш-43А, «Бакинец-ЗМ», А50У, УПТ, «АзИНмаш-37» и др.

Тракторный подъемник АзИНмаш-43П - предназначен для проведения подземного ремонта скважин, оборудованных подъемными сооружениями. Подъемник представляет собой самоходную механизированную лебедку, смонтированную на гусеничном болотоходном тракторе Т-100МЗБГС или обычный Т-100МЗ.

Управление основными исполнительными механизмами подъемника - электропневматическое; управление тормозом лебедки - ручное механическое, сдублированное ножным пневматическим; управление остальными механизмами - механическое.

Для обеспечения воздухом пневмосистемы подъемника под капотом двигателя установлен автомобильный компрессор, имеющий привод от шкива вентилятора двигателя.

Масса агрегата 18,2 т, глубина обслуживаемых скважин от 1500 м до 6400 м (при НКТ от 114 до 48 мм).

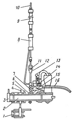
Подъемная лебедка ЛПТ-8

Монтажной базой этого подъемника является гусеничный трактор Т130МЗ, обеспечивающий ремонт скважин глубиной до 2500 м.

Основными узлами подъемной лебедки являются: трансмиссия, электропневматическая лебедка, пневматическая система управления, приводы ротора, упорные домкраты и безопасная катушка.

Лебедка - однобарабанная. Все узлы и механизмы лебедочного блока - барабанный вал в сборе, трансмиссионный вал, тормозная система, храповое устройство, ограничитель подъема талевого блока, кожухи и ограждения собраны в цельносварной станине коробчатого типа. Включение барабана осуществляется посредством фрикционной муфты, собранной внутри тормозной шайбы, прикрепленной к ребордам барабана.

Рис. 1. Подъемная лебедка ЛПТ-8: 1 - рама; 2 - топливный бак; 3 - воздушные баллоны; 4 - компрессор; 5 - пульт управления; 6 - лебедка; 7 - карданный вал; 8 - консольная рама; 9 - коробка передач; 10 - безопасная катушка; 11 - механизм привода ротора; 12 - съемная приставная лестница; 13 - откидной винтовой упор

На правом конце барабанного вала по-ходу установлена безопасная шпилевая катушка, на левом - цепное колесо привода ротора.

Для длительного удержания колонны труб или штанг на весу в лебедке, предусмотрено храповое устройство.

Пневмосистема подъемника предназначена для управления фрикционной муфтой привода тормозной системы лебедочного блока при ножном управлении или срабатывании ограничителя подъема талевого блока.

Пневмосистемы питаются от двухцилиндрового одноступенчатого компрессора, привод которого осуществляется от двигателя трактора посредством карданного вала и ременной передачи.

Универсальный винтовой ограничитель подъема талевого блока приводится от барабана цепной передачей. Привод навесного оборудования подъемника осуществляется от тягового двигателя трактора через коробку отбора мощности КОМ-ЧТЗ, карданный вал и коробку передач КП-100.

Таблица 1 Техническая характеристика лебедки ЛПТ-8

Включенная передача

Частота вращения барабана n, мин-1

Скорость набегания талевого каната на барабан, м/с

Тяговое усилие на ходовом конце каната, кН

Оснастка талевой системы





2´3 (четырех- струнная)

3´4 (шестиструнная)





Скорость подъема крюка, м/с

Грузоподъемность на крюке, т

Скорость подъема крюка, м/с

Грузоподъемность на крюке, т

Прямая

1

44,6

1,13

84,0

0,28

32,3

0,19

47,5

2

75,8

1,92

49,4

0,48

18,8

0,32

27,6

3

124,2

3,15

30,1

0,81

11,5

0,54

16,8

4

211,0

5,35

17,7

1,34

6,7

0,89

9,9

Обратная

1

75,8

1,92

-

0,43

-

0,29

-

2

211,0

5,35

-

1,20

-

1,80

-



Техническая характеристика

Тяговое усилие на втором ряде намотки

каната диаметром 22,5 мм на барабане, кН 84

Лебедка однобарабанная

Емкость барабана при намотке, м:

каната диаметром 13 мм 2300

каната диаметром 15 мм 2000

Управление тормозом ручное, механическое и ножное пневматическое

Электрооборудование:

напряжение, В12

Питание основное от генератора трактора через аккумуляторную батарею дублирующее от промысловлой сети через выпрямительное устройство:

Габариты, мм: 6430´2550´3087

Масса полного комплекта, кг 18600

Удельное давление на грунт, МПа 0,076

К подъемным установкам типа УПТ относятся: УПТ-32, УПТ1-50, УПТ1-50Б, предназначенные для спуско-подъемных операций в процессе текущего и капитального ремонта нефтяных и газовых скважин.

Таблица 2 Техническая характеристика подъемных установок типа УПТ

Показатели

УПТ-32

УПТ1-50

УПТ1-50Б

Монтажная база трактора, тип

Т-130МГ

Т-130МГ

Т-130МБГ

Глубина обслуживания, м

2400

3500

3500

Максимальная длина поднимаемой трубы, м

12,5

12,5

12,5

Мощность привода, кВт

-

88

88


Установки самоходные, смонтированные на гусеничных тракторах. Состоят из следующих основных узлов: однобарабанной лебедки, установленной на специальном основании под оборудование, вышки с талевой системой, задней и передней опор вышки, кабины водителя.

Установки укомплектованы механизмами для свинчивания-развинчивания труб; оснащены устройством противозатаскивания крюкоблока и взрывобезопасной системой освещения рабочей площадки на устье скважины и пути движения крюкоблока.

В отличие от УПТ-32, установки УПТ 1-50-и УПТ-50В снабжены узлом привода ротора, а также укомплектованы гидрораскрепителем.

Привод лебёдки и других механизмов УПТ-32 - от двигателя трактора; подъем вышки и механизма для свинчивания-развинчивания труб - гидравлический; включение фрикционных муфт - пневматическое.

Привод исполнительных узлов и механизмов УПТ1-50 (рис. 2) и УПТ1-50Б - от двигателя трактора; лебедки и ротора - через трансмиссию; подъем вышки, привод гидрораскрепителя и механизм для свинчивания-развинчивания труб гидравлические; включение фрикционных муфт - пневматическое.

Рис. 2. Подъемная установка УПТ1-50: 1 - коробка передач; 2 - однобарабанная лебедка; 3 - компрессор воздуха; 4 - передняя опора вышки; 5 - фара; 6 - вышка с талевой системой; 7 - управление; 8 - кабина машиниста; 9 - гидродомкрат; 10 - задняя опора вышки

Подъемные установки типа АзИНмаш-37 (рис. 3) предназначены для спуско-подъемных операций с укладкой труб и штанг на мостки при текущем и капитальном ремонте нефтяных и газовых скважин, не оборудованных вышечными сооружениями.

Подъемные установки этого типа подразделяются - на АзИНмаш-37А, АзИНмаш-37А1, АзИНмаш-37Б, смонтированные на базе автомобилей повышенной проходимости КрАЗ-255Б и КрАЗ-260.

Подъемные установки АзИНмаш-37А и АзИНмаш1-37А1 комплектуются автоматами АПР для свинчивания и развинчивания насосно-компрессорных труб и автоматическим ключом типа КШЭ с электроприводом для свинчивания насосных штанг.

Рис. 3. Подъемная установка АзИНмаш-37: 1 - талевая система; 2 - вышка; 3 - силовая передача; 4 - передняя опора; 5 - кабина оператора; 6 - лебедка; 7 - гидроцилиндр подъема вышки; 8 - задняя опора

Подъемные установки оснащены ограничителем подъема крюкоблока, системой звуковой и световой сигнализации установки вышки, контрольно-измерительными приборами работы двигателя и пневмосистемы, а также другими системами блокировки, обеспечивающими безопасность ведения работ при монтаже установки вблизи скважины и спуско-подъемных операциях.

Управление всеми механизмами установки при спуско-подъемных операциях осуществляется из трехместной отапливаемой кабины оператора, расположенной между лебедкой и кабиной автомобиля. Управление установкой вышки в рабочее и транспортное положения осуществляется дистанционно - с ручного выносного пульта.

Таблица 3 Техническая характеристика установок типа АзИНмаш-37

Показатели

АзИНмаш-37А

АзИНмаш-37А1

АзИНмаш-37Б

Монтажная база

КрАЗ-255Б

КрАЗ-260

КрАЗ-260

Грузоподъемность, т

32

32

32

Вышка:




Высота от земли до оси кронблока, м

18

18

18

Допустимая длина поднимаемой трубы, м

12,5

12,5

12,5

Габариты установки (в транспортном положении), мм

10050´2750´4300

10320´2750´4300

10470´2750´4300

Масса установки, кг

19600

21135

20630


Подъемная установка АзИНмаш-37Б в отличие от АзИНмаш-37А и АзИНмаш-37А1 оснащена спайдером СГ-32 и манипулятором МТ-З с гидравлическим дистанционным управлением для свинчивания и развинчивания НКТ.

Установки АзИНмаш-37А1 и АзИНмаш-37Б смонтированы на шасси автомобиля КрАЗ-260 с относительно повышенной грузоподъемностью и мощностью двигателя и обладают высокими скоростями подъема крюка.

Лебедка с приводом от двигателя автомобиля оснащена однодисковой фрикционной муфтой.

Агрегаты подъёмные АПРС-32 (рис.4) (АПРС-32-01, .АПРС-32-02) предназначены:

Рис. 4. Агрегат подъемный АПРС-32

для производства спуско-подъемных операций при ремонте скважин, не оборудованных вышечными сооружениями;

для свинчивания и развинчивания насосно-компрессорных труб и глубинно-насосных штанг;

для производства тартальных работ;

для чистки песчаных пробок желонкой;

для возбуждения скважин поршневанием (свабированием).

Техническая характеристика

АПРС-32 АПРС-32-01 АПРС-32-02

Монтажная база шасси КрАЗ-255 шасси КрАЗ-260 УраЛ-4320

Грузоподъемность на крюке, т 32

Высота подъема крюка, м 14

Работоспособность агрегата обеспечивается в районах с умеренным и холодным климатом при температуре окружающего воздуха от минус 45°С до плюс 40°С.

Агрегат подъемный для ремонта скважин АПРС-40 (рис.5) предназначен для производства спуско-подъемных операций при ремонте скважин, необорудованных вышечными сооружениями, для производства тартальных работ, для чистки песчаных пробок желонкой и для возбуждения скважин поршневанием (свабированием). Кроме того, с его помощью промывочным агрегатом и ротором с индивидуальным приводом можно проводить промывку скважин и разбурибание песчаных пробок.

Рис. 5. Агрегат подъемный для ремонта скважин АПРС-40

Агрегат является самоходной нефтепромысловой машиной, смонтированной на шасси трехосного автомобиля высокой проходимости УРАЛ-4320 или КрАЗ-260, и состоит из однобарабанной лебедки и двухсекционной телескопической вышки с талевой системой.

Вышка агрегата имеет повышенную прочность, изготовляется из низколегированной морозостойкой стали.

Кабина машиниста имеет улучшенную теплоизоляцию.

Основные технические данные

Монтажная база шасси автомобиля Урал-4320 или КрАЗ-260

Максимальная грузоподъемность

на крюке, т 40

Высота подъема крюка, м 14

Лебедка однобарабанная с приводом от коробки передач шасси

Вышка телескопическая двухсекционная с открытой передней гранью

Агрегат для освоения и ремонта скважин А-50М (рис. 6) предназначен для:

разбуривания цементной пробки в трубах диаметром 5-6 дюймов и связанных с этим процессом операций (спуска и подъема бурильных труб, промывки скважин и т.д.);

спуска и подъема насосно-компрессорных труб;

установки эксплуатационного оборудования на устье скважин;

проведения ремонтных работ и работ по ликвидации аварии;

проведения буровых работ.

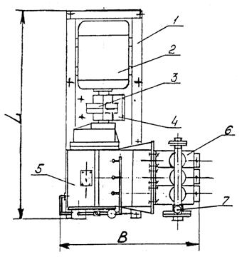
Рис. 6. Агрегат А-50М: 1 - передняя опора; 2 - средняя опора; 3 - электролебедка; 4 - компрессорная установка; 5 - гидросистема; 6 - лебедка; 7 - домкрат; 8 - индикатор веса; 9 - талевый канат; 10 - талевый блок; 11 - подвеска ключей; 12 - подвеска бурового рукава; 13 - вертлюг; 14 - мачта

Техническая характеристика агрегата А-50М

Допустимая нагрузка, кН 600

Мощность привода, кВт 132,4

Максимальное тяговое усилие на

набегающем конце каната, кН 112

Компрессор

Тип М115-2В5

Производительность, м3/мин 0,6

Давление нагнетания, МПа до 10

Промывочный насос

Тип НБ-125 (9МГр-73)

Максимальное давление

(при подаче 6,1 л/с), МПа 16

Максимальная подача

(при давлении 6 МПа), л/с 9,95

Монтажная база - прицеп 710Б или СМ-38326

Масса насоса с прицепом, кг 41444

Габариты установки в транспортном

положении, мм 14000´2900´4300

Масса установки без насосного прицепа, кг 24000

Рис. 7. Высокомеханизированный комплекс КВМ-60 для ремонта скважин

Высокомеханизированный комплекс КВМ-60 (рис. 7) предназначен для капитального ремонта и освоения скважин глубиной до 3000 м, расположенных в кусте или отдельно. Комплекс позволяет также вести буровые работы на глубину до 2000 м.

Техническая характеристика

Нагрузка на крюке, кН

номинальная (при спуско-подъемных

операциях без внешних оттяжек) 600

максимальная (при кратковременных

нагружениях) 800

Привод механизмов Двигатель ЯМЗ-238

Мощность привода, кВт 200

Высота мачты, м 20

Емкость трубохранилища

(для НКТ-диаметром 73 мм), м 3500

Масса комплекса в целом, кг 52000

Мобильная установка УПД-5М используется для:

разрушения гидратных и парафиновых пробок;

закачки в скважину технологических жидкостей;

цементирования скважин в призабойной зоне;

геофизических исследований.

Работы проводятся при герметизированном устье скважины (поставляется специальный превентор), что обеспечивает экологическую защиту окружающей среды.

УПД-5М представляет собой самоходную нефтепромысловую машину совместно с монтажной базой, включающей в себя барабан с укладчиком для намотки длинномерных труб, механизм подачи трубы в скважину, закрепленную на шасси автомобиля КаАЗ-65101/100, или каком-либо другом типе шасси, по желанию заказчика.

Привод всех механизмов установки осуществляется гидромоторами, для проведения вспомогательных работ имеется гидроманипулятор грузоподъемностью 300 кг.

Механизм подачи с помощью специального устройства механизма подъема и перемещения приподнимается над монтажной базой из транспортного положения и выдвигается над устьем скважины в рабочее положение.

Характеристики установки УПД-5М

Установка УДЦ-5М ориентирована на шасси автомобиля КРАЗ-250

Тяговое усилие 5000 кгс

Скорость спуска и подъема непрерывной трубы 0¸0,2 м/с

Давление в трубе 25 МПа

При наружном диаметре трубы 33-мм глубина спуска до 1800 м

При наружном диаметре трубы 25 мм глубина спуска до 2300 м

Одной установкой можно восстановить 100 и более скважина год.

Конструкция установки позволяет переходить с одного диаметра трубы на другой без проведения дополнительных работ.

Изготовитель: Московский завод «Металлист».

Агрегат для ремонта скважин А2-32 смонтирован на базе шасси УРАЛ-4320-1912-30, а агрегат А4-32 на базе шасси КрАЗ-260Г.

Предназначены для производства спуско-подъемных операций при ремонте и эксплуатации скважин, не оборудованных вышечными сооружениями, для производства тартальных работ, для чистки песчаных пробок желонкой и для возбуждения скважин поршневанием.

Агрегат состоит из однобарабанной лебедки и двухсекционной телескопической вышки с талевой системой. За отдельную плату агрегат комплектуется механизмами для свинчивания и развинчивания насосно-компрессорных труб и насосных штанг.

Кабина управления снабжена независимым отопителем 0В-65. Подъем и опускание опор задней стойки производится гидроцилиндрами с выносного пульта управления.

Техническая характеристика

Грузоподъемность, т 32

Высота подъема крюка, м 12,2

Скорость подъема крюка, м/с 0,2¸1,6

Агрегат ремонтно-технологический АРТ-800 предназначен для ликвидации отложений и пробок в нефтяных и газоконденсатных скважинах при герметизированном устье с использованием непрерывной стальной трубы диаметром 26,8 и 33,5 мм при избыточном давлении на устье до 21 МПа.

Кроме того, отечественной промышленностью освоено производство агрегатов для капитального ремонта нефтяных и газовых скважин А60/80 максимальной грузоподъемностью 80 т на спец шасси Брянского автозавода; агрегатов для текущего ремонта нефтяных и газовых скважин АР 32/40 максимальной грузоподъемностью 40 т на спец шасси Уральского автозавода; агрегатов для бурения и ремонта скважин БР-125 грузоподъемностью 125 т, а также других агрегатов для ремонта скважин [7].

1.4 Инструмент для проведения спускоподъемных операций


Все работы по подземному и капитальному ремонту сопровождаются спуском в скважину и подъемом из нее труб, штанг и различных инструментов. Поэтому над устьем скважины устанавливается подъемное сооружение - вышка, мачта с оборудованием для спускоподъемных операций (СПО).

Эксплуатационные кронблоки являются неподвижной частью талевой системы, изготовляются грузоподъемностью 12,5; 20; 32; 50; 80 и 125 т с числом канатных шкивов 3¸6. Кронблоки КБН для работы в районах с умеренным климатом и типа КБ - в умеренном и холодном. Изготавливаются двух видов: исполнение I - для передвижных подъемных установок и стационарных эксплуатационных мачт; исполнение II - для стационарных вышек. Пример обозначения: КБН-50 кронблок грузоподъемностью 50 т.

Талевые блоки, подвижная часть талевой системы при СПО, предназначены для работы с умеренным климатом (типа БТН) и с умеренным и холодным климатом БТ.

По грузоподъемности талевые блоки, подъемные крюки выпускаются как и кронблоки от 12,5 до 125 т. Обозначения: БТ-50 и др.

Подъемные крюки, предназначенные для подвешивания элеваторов, вертлюгов и другого оборудования при СПО, изготавливаются двух типов: однорогие (исполнение I) грузоподъемностью до 20 т и трехрогие (исполнение II) грузоподъемностью 321 т и более. Крюки КН - для работы в умеренном климате, КПШ - в умеренном и холодном. Обозначения: КН-50 и др.

Штропы служат для подвески элеватора на крюк. Конструктивно это замкнутая стальная петля овальной формы, сильно вытянутая по одной оси. Изготавливают их цельнокатанными или сварными в стыке контактной сваркой с последующей термообработкой. Штропы различают по назначению: буровые нормальные - ШБН; буровые укороченные - ШБУ и эксплуатационные - ШЭ. Для текущего и капитального ремонта скважин выпускают штропы ШЭ-28-П-Б и ШЭ-50-Б грузоподъемностью 28 и 50 т.

Трубные элеваторы - для захвата обсадных, бурильных и НКТ применяют нескольких типоразмеров.

Элеваторы ЭЗН [1] - одноштропные (СПО с помощью двух элеваторов) грузоподъемностью 15,25 и 50 т. В комплект входят: два элеватора, захватное приспособление и штроп. Пример обозначения ЭЗН60-50, где 60 - условный диаметр трубы, мм; 50 - грузоподъемность, т.

Элеваторы ЭГ - одноштропные предназначены для работы с автоматами АПР-2ВБ и спайдерами, грузоподъемностью 16, 50 и 80 т.

Элеваторы ЭХЛ (рис. 8) для НКТ с условным диаметром от 48 до 114 мм, грузоподъемностью 10¸40 т.

Рис. 8. Двуштропный элеватор типа ЭХЛ

Таблица 4 Техническая характеристика

Параметры

ЭХЛ-60-15

ЭХЛ-73-25

ЭХЛ-89-35

Грузоподъемность, т

15

25

35

Условный диаметр захватываемых труб, мм

60

73

89

Диаметр расточки под трубу, мм

62

75

92

Габаритные размеры, мм

370´115´110

370´160´130

395´180´145

Масса, кг






Штанговые элеваторы ЭШН (рис. 9) - для захвата колонны штанг и удержания ее в подвешанном состоянии при СПО, грузоподъемностью 5 и 10 т. Конструкция их предусматривает использование двух пар вкладышей для втулок, одна предназначена для штанг Ж12, 16, 19 и 22 мм, вторая - для штанг Ж25 мм.

Автоматы типа АПР (рис. 10) предназначены для механизации операций по свинчиванию и развинчиванию, а также для автоматизации по захвату, удержанию на весу, освобождению и центрированию колонны НКТ [7].

Р

ис. 9. Элеватор штанговый ЭШН: 1 - шайба; 2 - шплинт; 3 - штроп; 4 - винт; 5 - вкладыш; 6 - втулка; 7 - корпус

Рис. 10. Автомат АПР-2ВБМ: 1 - корпус автомата; 2 - червячное колесо; 3 - клиньевая подвеска; 4 - корпус клина; 5 - плашка; 6 - опорный фланец; 7 - водило; 8 - вал вилки включения маховика; 9 - электроинерционный привод; 10 - ось балансира; 11 - направление клиньевой подвески; 12 - центратор; 13 - пьедестал центратора; 14 - фиксатор центратора

Состоят из блоков: электродвигателя, вращателя с водилом, спайдера, центратора. При работе с АПР используются трубные КОТ, КТГ и стопорные КСМ ключи, элеваторы ЭГ и подкладные вилки, а также элеваторы ЭТА и трубные ключи КТГУ-М и КТД. Для механизации процесса свинчивания и развинчивания насосных штанг применяют штанговые ключи АШКТМ, КМШЭ, КАРС (автоматические и механические ключи), принцип аналогичен АПР [7].

Ключи механические универсальные КМУ применяют при текущем ремонте скважин для механизации операций по свинчиванию и развинчиванию НКТ с удержанием на весу и центрированием колонны труб. Наибольшее применение ключ получил при ремонте скважин с погружными центробежными электронасосами. Ключи КМУ-50, КМУ-ГП-50, КМУ-32 имеют электрический инерционный взрывобезопасный с питанием от промысловой сети привод [7].

Универсальный механический ключ КМУ-50 (рис. 11) состоит из блока вращателя с электроприводом, спайдера с блоком клиньев и блока управления электроприводом.

Рис. 11. Ключ механический универсальный КМУ-50: 1 - блокировочная рукоятка; 2 - механизм совмещения прорезей рабочей шестерни и корпуса; 3 - водило; 4 - редуктор; 5 - электропривод; 6 - сменный механизм; 7 - кронштейн; 8 - вращатель; 9 - спайдер

Вращатель - двухступенчатый редуктор с прямозубой цилиндрической передачей, рабочим органом которого является разрезное колесо с установленным на нем водилом. Корпус вращателя и разрезное колесо имеют прорезь для пропуска насосно-компрессорных труб.

Вращатель с электроприводом прикреплен быстросъемными зажимами к поворотной стойке, состоящей из плиты-кронштейна, приваренного к спайдеру.

Инерционное устройство позволяет регулировать величину крутящего момента на водиле ключа путем установки соответствующих сменных маховиков. Управление электроприводом - посредством пускателя и кнопочного поста управления.

Техническая характеристика

Максимальная нагрузка на спайдере, кН 490

Максимальный крутящий момент на водиле

ключа при развинчивании, Н×м 4410

Частота вращения водила, мин-1 60

Диаметр захватываемых труб, мм 48; 60; 73; 89

Габариты, мм 960´590´960

Масса, кг:

ключа в собранном виде 360

полного комплекта 425

Полуавтоматический спайдер состоит из разрезного корпуса, сменных блоков клиньев для труб диаметром 60; 73 и 89 мм, рукоятки управления и хомута. К корпусу спайдера приварен кронштейн для установки вращателя.

Спайдеры предназначены для автоматизации операций по захвату, удержания на весу, освобождения и центрирования колонны насосно-компрессорных или бурильных труб в процессе спуска их в скважину. На рис. 12 показан автоматический спайдер АСГ-80. Он состоит из корпуса, клиньевой подвески, сменных центраторов и механизма подъема клиньев.

Рис. 12. Спайдер АСГ-80: 1 - вкладыш центратора; 2 - корпус; 3 - корпус клина; 4 - плашка; 5 - подвеска; 6 - пружина ползуна; 7 - направляющая

Техническая характеристика спайдера АСГ -80

Условный диаметр захватываемых труб, мм 60, 73.89

Грузоподъемность, т 80

Габариты, мм:

длина 380

ширина 335

высота 365

Масса, кг:

спайдера с подвеской и вкладышем

центратора для труб диаметром 73 мм 67

полного комплекта 135



Рис. 13. Ключ подвесной разрезной КПР-12: 1 - стопор; 2 - ключ; 3 - створка; 4 - упор; 5 - ограничитель ключа и стопора; 6 - болт регулировочный; 7 - рукоятка подъема; 8 - гидроподъемник; 9 - амортизатор; 10 - серьга; 11 - винт; 12 - подвеска; 13 - гидрораскрепитель; 14 - ограничитель крутящего момента; 15 - рукоятка переключения скоростей; 16 - гидрорукав

Состоит из следующих основных узлов: трубного ключа, производящего свинчивание и развинчивание с расчетным крутящим моментом; гидравлической насосной станции, создающей требуемые расход и давление масла в гидросистеме, и подвески ключа с гидроподъемником и амортизатором.

Ключ представляет собой двухскоростной цилиндрический редуктор с разрезной рабочей шестерней, в которой устанавливаются сменные захваты. Комплектуется объемным стопорным устройством.

Гидравлическая насосная станция - электроприводная, соединяется с ключом гидравлическими рукавами высокого давления; устанавливается на расстоянии до 10 м от скважины. Она оснащена ограничителем крутящего момента и предохранительным гидроклапаном.

Техническая характеристика

Условный диаметр свинчивания и

развинчиваемых труб, мм:

насосно-компрессорных 60¸114

бурильных 73¸89

Максимальный крутящий момент, кН×м 12

Диапазон изменения крутящего момента, кН×м 0,9¸12

Мощность привода, кВт 18

Частота вращения, мин-1:

на высшей передаче 75

на низшей передаче 25

Расход рабочей жидкости, л/мин 140

Габариты, мм:

ключа 930´560´615

станции гидропривода СГП-140/16 1200´1010´939

Масса, кг:

ключа с захватом под трубу диаметром 73 мм 315

станции гидропривода СГП-140/16 540

Ключ трубный типа КТЛ (рис. 14) предназначен для свинчивания и развинчивания насосно-компрессорных труб (НКТ) и замков бурильных труб механизированным, а также ручным способом при текущем и капитальном ремонте скважин.

Обеспечивает надежный захват НКТ, сохранность НКТ от деформаций.

Обладает по сравнению с ключами типа КТГУ в зависимости от типоразмера:

меньшей на 20¸43% массой;

большим на 17¸4% передаваемым моментом раскрепления НКТ;

повышенной в 5-10 раз стойкостью сухарей;

повышенным в 3 раза сроком службы.

Рис. 14. Ключ трубный КТЛ: 1 - рукоятка; 2 - ось; 3 - пружина; 4 - скоба; 5 - челюсть; 6 - ось; 7 - сухарь; 8 - ручка

Таблица 5 Техническая характеристика

Показатели

Шифр ключей


КТЛ-33

КТЛ-48

КТЛ-60

КТЛ-73

КТЛ-89

КТУ-95

Условный диаметр НКТ, мм

33

48

60

73

89

95

Максимальный крутящий момент, кН×м

2,0

2,5

3,0

4,5

6,0

7,0

Количество сухарей, шт

1

1

2

2

2

2

Габаритные размеры, мм: длина ширина высота

 285 130 80

 300 135 80

 315 165 80

 330 165 80

 345 190 80

 440 203 84,5

Масса, кг

2,4

2,7

3,3

3,6

4,0

5,3


Освоено производство ключей КТЛ-ЗЗ, КТЛ-48, КТЛ-60, КТЛ-73, КТЛ-89, КТУ-95, КТУ-108.

Круговой ключ штанговый КШК (рис. 15) с регулируемыми зажимными плашками применяется для отвинчивания штанг при закрепленном плунжере глубинного насоса. Во время подземного ремонта скважин при заедании плунжера глубинного насоса приходится поднимать трубы вместе со штангами. Так как муфтовые соединения труб не совпадают с соединениями штанг, то после отвинчивания очередной трубы над муфтой, установленной на элеваторе, будет находиться гладкое тело штанги, захват которого штанговым ключом невозможен. В круговом ключе штанги захватываются плашками, имеющими угловые вырезы с зубьями. Одна из плашек неподвижная, прикреплена двумя штифтами к внутренней части ключа, а вторая - подвижная, прикреплена к внутреннему концу зажимного стержня.

Рис. 15. Ключ круговой штанговый КШК

Техническая характеристика

Диаметр отвинчиваемых штанг, мм 12, 16, 19, 22, 25

Диаметр обода ключа, мм 550

Высота зева, мм 32

Масса, кг 5,5

Таблица 6Техническая характеристика цепных ключей

Показатели

КЦО-1

КЦН-1

КЦН-2

Условный диаметр труб, мм

60¸114

60¸114

114¸146

Допустимое усилие на рукоятке, Н

950

950

1150

Длина цепи, мм

667

667

928

Габариты, мм

680´100´100

1160´100´110

1570´122´135

Масса, кг

11,5

14,0

24,0



Ключи цепные применяются при ручном свинчивании и развинчивании труб различного диаметра.

Ключ состоит из рукоятки, двух шарнирно соединенных щек с зубьями с плоскими шарнирными звеньями. Для придания прочности щеки термически обрабатываются.

Изготавливаются цепные ключи двух типов: КЦН - ключ цепной нормальный, КЦО - облегченный.

Герметизаторы ГУ-48, ГУ-60, ГУ-73 предназначены для герметизации устья в процессе проведения ремонтных работ в скважине.

Область применения:

·   спуск-подъем НКТ диаметром 48, 60, 73мм без утечек скважинного флюида на устье при наличии избыточного давления в скважине,

·   опрессовка эксплуатационной колонны;

- возможность перехода с прямой промывки на обратную и другие работы, связанные с необходимостью герметизации устья скважины.

Таблица 7Техническая характеристика герметизаторов

Показатели

ГУ-48

ГУ-60

ГУ-73

Максимальный диаметр, мм

325

325

325

Высота не более, мм

235

235

235

Диаметр проходного канала, мм

59

76

92

Диаметр уплотняемых НКТ по гладкой части, мм

48

60

73

Диаметр муфт НКТ не более, мм

56

73

89

Рабочее давление, МПа: статистическое при герметизации гладкой части труб при пропускании муфт

 14 1,0

 14 1,0

 14 1,0

Температура окружающей среды, °С

-40¸+100

-40¸+100

-40¸+100

Масса, кг: уплотнение под металлическое кольцо, не более уплотнение под паранитовую прокладку, не более

 90 60

 90 60

 90 60


Отличительные особенности:

·   наличие раздвижных металлических опор, перекрывающих кольцевое пространство над уплотнителем.

Преимущества:

·   надежная герметизация устья;

·   при возникновении затрубного давления автоматически происходит зацепление муфты с раздвижными опорами, что предотвращает выброс труб;

·   улучшаются условия труда при ремонте скважин;

·   компактность.

Находят применение роторные и кабельные герметизаторы [7].

1.5 Ловильный, режущий и вспомогательный инструменты


Инструменты предназначенные для ловли (захвата) и извлечения из скважины бурильных и НКТ, штанг, тартального каната, каротажного кабеля и других элементов оборудования, называют ловильными. Конструкции их чрезвычайно разнообразны.

Универсальный эксплуатационный метчик МЭУ предназначен для захвата с последующим извлечением оставшейся в скважине колонны насосно-компрессорных труб, оканчивающихся муфтой, путем врезания ввинчиванием во внутреннюю поверхность трубы и муфты.

Ловильная резьба универсального метчика - специального профиля, конусностью 1:8.

Выпускается с правой и левой резьбой.

Специальный эксплуатационный метчик МЭС (рис. 16) предназначен для захвата с последующим извлечением оставшейся в скважине колонны насосно-компрессорных труб (гладких и высаженных), оканчивающихся муфтой, путем врезания ввинчиванием в резьбу муфты.

Рис. 16. Ловильные метчики: а) универсальный типа МЭУ; б) специальный типа МЭС 1 - присоединительная резьба; 2 - ловильная резьба

Ловильная резьба метчиков с профилем и размерами резьбы соответствующей насосно-компрессорной трубы, конусностью 1:16.

Таблица 8 Техническая характеристика метчиков типа МЭУ

Типоразмер мечика

Условный диаметр ловильных труб, мм (ГОСТ 633-80)

Условный диа-метр колонны обсадных труб, в которой производится ловля, мм

Гру-зо-подъ-ем-ность, т

Основные размеры, мм





d

d

D

L

МЭУ 36-60 МЭУ 36-60Л

48; В48

114¸168

30

36

60

65

370

МЭУ 46-801 МЭУ 46-80Л

60; В60 73; В73

114¸178

45

46

80

90

455

МЭУ 69-100 МЭУ 69-100Л

89;В89

140¸273

60

69

100

108

450

МЭУ 85-127 МЭУ 85-127Л

102; В102 114; В114

168¸273

75

85

127

134

560


Выпускаются с правой и левой резьбой.

Ловильные метчики для колонн бурильных труб универсальные МБУ и специальные МСЭ изготовляют с резьбой под направление. Ловильная резьба универсального метчика - специального профиля, конусностью 1:16, а специального метчика - с профилем и размерами резьбы соответствующего ниппеля замка бурильных труб, конусностью 1:4 и 1:6. В остальном универсальные и специальные метчики по конструкции аналогичны метчикам для насосно-компрессорных труб [7].

Колокола ловильные (рис. 17) предназначены для извлечения, оставшейся в скважине колонны бурильных или насосно-компрессорных труб. Захват происходит навинчиванием колокола на наружную поверхность труб.

Рис. 17. Ловильные колокола: а - несквозной типа К; б - сквозной типа КС; 1 присоединительная резьба к колонне; 2 - ловильная резьба; 3 - присоединительная резьба к воронке

Ловильные колокола по назначению подразделяются на несквозные К и сквозные КС. Сквозные колокола обеспечивают возможность пропуска сквозь корпус колокола сломанного или безмуфтового конца ловимой трубы с последующим захватом путем нарезания резьбы на наружной поверхности замков или муфты.

Все колокола изготовляют правыми и левыми. Правые колокола применяют для извлечения колонны правых труб целиком и левых труб по частям (отвинчиванием); левые колокола - для извлечения колонны левых труб целиком и правых труб по частям.

Труболовки предназначены для захвата насосно-компрессорных, бурильных и обсадных труб и извлечения их целиком или по частям из нефтяных и газовых скважин при аварийных ловильных работах.

Захват осуществляется путем заклинивания выдвижных плашек между внутренней или наружной поверхностью захватываемой трубой и стержнем или корпусом труболовки.

По характеру захвата труб труболовки подразделяются на две группы: внутренние (для захвата за внутреннюю поверхность) и наружные; труболовки подразделяются на неосвобождающиеся и освобождающиеся (при необходимости освобождение инструмента от захваченных тру б в скважине производится после захвата и фиксации плашек в сомкнутом положении).

Труболовки спускают в скважину на колонне бурильных труб.

Внутренние и наружные освобождающиеся труболовки исполнения I и со спиральным захватным устройством состоят из механизмов захвата и освобождения, а внутренние неосвобождающиеся - только из механизма захвата.

Труболовка внутренняя освобождающаяся типа ТВМ (рис. 18) изготовляется в двух исполнениях: исполнение I - упирающаяся в торец захватываемой колонны; исполнение II - заводимая внутрь захватываемой колонны на любую глубину.

Труболовки изготовляют с резьбами левого направления, они могут извлекать колонны труб как целиком, так и по частям, предварительно отвинчивая. По заказу потребителя труболовки исполнения I могут быть изготовлены с правыми резьбами.

Рис. 18. Трубоголовка освобождающаяся типа ТВМ: а - исполнение I; б - исполнение II; 1 - корпус; 2, 8 - фиксаторы; 3 - стержень; 4 - ниппель; 5 - плашкодержатель; 6 - плашка; 7 - нижний стержень; 9 - пластинчатые пружины; 10 - поводок; 11 - стержень с зубьями

Механизм захвата - шестиплашечный, состоит из плашек, стержня и наконечника, В труболовках ТВМ 60-1 механизм захвата - одноплашечный, состоит из стержня с гребенчатой насечкой, плашки и клина.

Механизм освобождения включает в себя тормозной башмак, ниппель, фиксатор, корпус и плашкодержатель, обеспечивающий синхронное перемещение плашек по наклонным плоскостям, а также удержание плашек в крайнем верхнем или сомкнутом (при освобождении) положении. В труболовке ТВМ60-1 функцию плашкодержателя выполняет поводок, ввинчиваемый в верхний торец плашки и после освобождения удерживающий плашку в сомкнутом положении.

Конструкция труболовок обеспечивает их освобождение от захваченной трубы внутри скважины с фиксацией плашек в сомкнутом положении механическим устройством.

Труболовка внутренняя неосвобождающаяся типа ТВ (рис. 19) изготавливается с резьбами правого и левого направлений. Труболовки с резьбами правого направления могут захватывать и извлекать колонну труб целиком, а труболовки с резьбами левого направления - отвинчивать и извлекать их по частям.

Механизм захвата труболовок - шестиплашечный; состоит из стержня, плашкодержателя, плашки и наконечника. В труболовках ТВ 48-80 и ТВ 60-93 механизм захвата - одноплашечный, состоит из стержня с гребенчатой насечкой, плашки и клина.

Конструкция труболовки позволяет освобождать их от захваченных труб на устье скважины без проведения сварочных работ.

Выпускаются труболовки других типов, например, труболовки наружные освобождающие ТНОС и ТНС [7], труболовки внутренние типа 73 ВТ 60-64, ТВР и т.д. «Ижнефтемаш», кроме оригинальных труболовок, производит комплект ловильного инструмента, который позволяет захватывать и извлекать из скважин насосно-компрессорные трубы, скважинные насосы, забойные двигатели, насосные штанги, штоки сальниковые устьевые, электрические центробежные насосы, а также одновременно извлекать НКТ и насосные штанги при ликвидации аварии [7].

Рис. 19. Труболовка внутренняя неосвобождающая типа ТВ: а, б - в сборе без центрирующего приспособления; в - в сборе с центрирующим приспособлением (направление с вырезом); г - в сборе с центрирующим приспособлением (направление с воронкой): 1 - переходник; 2 - стержень; 3 - плашка; 4 - клин; 5 - плашкодержатель; 6 - наконечник; 7 - специальный переводник; 8 - направление с вырезом; 9 - направление; 10 - воронка

Овершот (рис. 20) с запорной втулкой предназначен для залавливания за муфту насосно-компрессорных труб диаметром 60, 70 и 89 мм в колонне 5 и 6 дюймов.

Принцип работы:

Муфта НКТ, пройдя через овершот, упирается в клапан (3). Клапан, передвигаясь вверх, срезает штифт (5) и запорная втулка (6) падает на овершот (8). Жидкость с НКТ сливается через сливные отверстия упора (2) и клапана (3). Когда аварийных труб в скважине мало, определяем заловились аварийные НКТ или нет по давлению в НКТ, для чего разгружаем инструмент, отверстия в клапане закроются за счет конусной посадки клапана и перекрытия отверстий (А и Б). Давление в НКТ возрастает. Овершоты сменные.

Рис. 20. Овершот: 1 - переводник; 2 - упор; 3 - клапан; 4 - пружина; 5 штифт; 6 запорная втулка; 7 - корпус; 8 овершот; 9 - направляющая

Ловильный инструмент неосвобождающего плашечного типа предназначен для ловли и извлечения насосных штанг и насосно-компрессорных труб из эксплуатационной колонны. Ловители изготовляют с резьбой левого направления, их применяют с центрирующими приспособлениями (воронками).

Ловители ЛКШ-114 (рис. 21) предназначены для ловли, отвинчивания и извлечения (целиком или по частям) насосных штанг- за тело или муфту в эксплуатационной колонне, а также недеформированных насосно-компрессорных труб диаметром до 48 мм.

Ловитель состоит из корпуса 4, удлинителя 1, плашкодержателей 3 и 6, пружины 2, плашек 5 и 8, винта 7 и стопорного винта 9.

Рис. 21. Ловитель ЛКШ-114

К верхней части корпуса ловителя прикреплен удлинитель, а к нижней - воронка 10. В верхней и нижней частях корпуса на внутренней поверхности предусмотрены специальные пазы с профилем сечения типа «ласточкин хвост», в которых сверху расположены плашки для ловли штанг за тело, а снизу - плашки для ловли штанг за муфту.

Плашки перемещаются в корпусе синхронно с помощью специальных плашкодержателей, соединенных между собой винтами, и пружины.

Техническая характеристика

Условный диаметр ловимой колонны, мм:

наносных штанг:

за тело 16; 19; 22

за муфту 38; 42; 46

труб:

за тело В33; В42; В48

за муфту В33

Условный диаметр колонны обсадных труб,

в которой производится ловля, мм 144¸168

Грузоподъемность, т 24

Основные размеры (с воронкой), мм

диаметр 95

длина 913

Масса (с воронкой), кг 31

Ловитель ЛКШТ-136 (рис. 22) предназначен для ловли и извлечения насосно-компрессорных и насосных штанг (отдельных или расположенных в несколько рядов) из эксплуатационной колонны.

Рис. 22. Ловитель ЛКШТ-136

Ловитель состоит из трех захватных ярусов: нижнего - для захвата насосно-компрессорных труб диаметром 73 мм и пучка насосных штанг; среднего - для захвата насосно-компрессорных труб диаметром 48 и 60 мм и насосных штанг за муфту; верхнего - для захвата насосных штанг за тело.

В состав каждого яруса входит корпус - верхний 5, средний 6 и нижний 12. Корпусы соединены между собой резьбой; средний и нижний - при помощи переводника 10.

В верхнем корпусе расположены две откидные плашки 2 с гребенчатой насечкой, которые укреплены в пазах кронштейна 4 на оси 3. Плашки могут поворачиваться в верхнее (раскрытое) положение и возвращаться в исходное.

К верхнему корпусу прикреплен переводник 1 для соединения с колонной бурильных труб, а к нижнему - специальная воронка 15 для направления ловимых штанг и труб внутрь ловителя.

В среднем и нижнем корпусах, на внутренней поверхности предусмотрены наклонные пазы с профилем сечения типа «ласточкин хвост», смещенные относительно друг друга на 120°, в пазах расположено по три плашки 9 и 14. В захватной части плашек имеются острые гребенчатые пазы, а с наружной стороны - конусные выступы с профилем сечения типа «ласточкин хвост», которые входят в соответствующие пазы корпусов. Сверху на торцах плашек установлены стаканы 7 и 13, служащие направляющими для пружин 8 и 11.

Техническая характеристика

Условный диаметр ловимой колонны, мм:

насосных штанг:

за тело 12; 16; 19; 22; 25; 28

за муфту 26; 38; 42; 46; 53; 60

труб:

гладких:

за тело 48¸73

за муфту 56¸73

с высаженными концами:

за тело 33¸60

за муфту 18¸63,5

Условный диаметр эксплуатационной

колонны, в которой производится ловля, мм 168¸273

Грузоподъемность, т 50

Основные размеры (с воронкой), мм:

наружный диаметр 136

длина 1146

Масса (с вороккой), кг 95

Штанголовитель типа ШК (рис. 23) предназначен для извлечения оставшейся в скважине колонны насосных штанг и устьевых штоков.

Штанголовители типа ШК выпускают в двух исполнениях:

- для захвата за тело, муфту или головку насосной штанги;

- для захвата за муфту или головку насосной штанги.

Штанголовители изготовляют с резьбой правого направления; их применяют с центрирующим приспособлением (воронкой).

Штанголовитель состоит из переводника 1, нижнего 6 и верхнего 2 корпусов, соединенных между собой резьбой, нижней 7 и верхней 3 пружин, направляющего винта 3, цанги 5, вилки 4, плашек 5 и воронки 10.

На внутренней конической поверхности верхнего корпуса предусмотрена вилка с плашками для ловли штанг за тело. Плашки, перемещающиеся внутри корпуса на перьях вилки, удерживаются в крайнем нижнем положении с помощью верхней пружины.

Рис. 23. Штанголовитель типа ШК: а - исполнение 1; б - исполнение 2

В стенке нижнего корпуса имеются три сквозных паза 12 для выхода перьев цанги и байонетный паз 11 для перемещения направляющего винта.

Цанга, вставленная в нижний корпус, предназначена для захвата штанг за муфту или головку.

При подъеме ловителя цанга подхватывает штангу под муфту или головку и, не вращаясь, движется вниз до упора в бурт нижнего корпуса. При этом головка направляющего винта из крайней верхней точки перемещается в вертикальный участок байонетного паза и удерживает цангу от вращения.

Штанголовители спускают в лифтовые насосно-компрессорные трубы на колонне насосных штанг.

Таблица 9 Технические характеристики штанголовителей типа ШК

Типоразмер штанго ловителя

Использование

Условный диаметр насосно-компрессорных труб, в которых производится ловля, мм

Диаметр элементов ловимых насосных штанг (ГОСТ 13877-80), мм

Грузоподъемность, т




тела

головки

муфты


ШК´47´19

1

60

12¸19

26¸36

26¸38

6

ШК´47´19-1

2

60

-

26¸36

26¸38

6

ШК´57´22

1

73

12¸22

26¸46

26¸46

10

ШК´57´22-1

2

73

-

26¸46

26¸46

10

ШК´69´36

1

89; 114

16¸36

36¸52

38¸57

11

ШК´69´36-1

89; 114

-

36¸52

38¸57

14


При ликвидации аварии в скважинах значительный объем работ занимает фрезерование аварийных металлических предметов и разбуривание цемента.

Скважинные фрезеры типа ФП предназначены для фрезирования верхнего конца насосно-компрессорных, бурильных и обсадных труб с целью захватывания их ловильным инструментом (рис. 24).

Рис. 24. Скважинный фрезер типа ФП

Фрезер - торцевой, с опорно-центрирующим устройством, позволяющим центрировать его относительно оси колонны. Истирающе-режущие участки фрезера армированы композиционным твердосплавным материалом. В корпусе имеются промывочные отверстия и стружкоотводящие противозаклинивающие каналы.

Для присоединения фрезера к бурильной колонне на верхнем конце корпуса предусмотрена присоединительная резьба.

Скважинные фрезеры-райберы типа ФРЛ (рис. 25, а) предназначены для прорезания окна в обсадной колонне под последующее бурение второго ствола.

Рис. 25. а - скважинный фрезер-райбер типа ФРЛ б - магнитный фрезер-ловитель типа ФМ

Фрезер-райбер состоит из режущей и ловильной частей. Режущая часть включает в себя цилиндрический и конический райберы и кольцевой фрезер. Ловильная часть представляет собой специальный захват, установленный внутри цилиндрического райбера.

Магнитные фрезеры - ловители типа ФМ (рис. 25, б) предназначены для фрезерования и извлечения находящихся на забое скважины мелких металлических предметов с ферромагнитными свойствами.

Выпускаются также фрезеры типа ФЗ, ФТК, ФК, ФЗО, ФЗК и др. [7].

В процессе ремонтных работ применяют различные вспомогательные инструменты и приспособления.

Скважинные механические фиксаторы типа ФГМ (рис. 26) предназначены для определения местонахождения муфтовых соединений эксплуатационной колонны в скважине.

Рис. 26. Скважинный механический фиксатор типа ФГМ

Фиксатор состоит из корпуса, узла фиксации, узла центрирования и патрубка с ловушкой.

Корпус 1 - основная деталь фиксатора изготовлен в виде ствола с приваренными к нему наконечниками и ребрами. Резьба в верхней части корпуса, служит для присоединения к колонне заливочных труб.

Узел фиксации состоит из трех защелок 3 подпружинных консольными пружинами и закрепленных в прорезях корпуса пальцем 4 и штифтом 5, а также поршня 6, закрепленного в корпусе установочным винтом 8.

Узел центрирования представляет собой три центрирующие пружины 9, закрепленные в корпусе.

Патрубок с муфтой и ловушкой 7, соединяемый с нижним концом корпуса при помощи резьбы, служит для создания цементного забоя и улавливания поршня с целью повторного использования (на рис. 26 показана только ловушка).

Труборез обеспечивает:

резку толстостенных труб путем воздействия давления промывочной жидкости на резцы;

возможность использования как самостоятельно, так и с якорем. Присоединительные резьбы по ГОСТ 633-80.

Универсальная печать типа ПУ2 (рис. 27) предназначена для определения по оттиску, полученному на её алюминиевой оболочке, положения верхнего конца объектов, оставшихся в скважине вследствие аварий. Основными узлами печати являются корпус с деталями для получения оттиска предметов и зажимное устройство.

На утолщение в нижней части корпуса 2 надевается резиновый стакан 8, который прикреплен к корпусу четырьмя винтами 7. На резиновый стакан, в свою очередь, надевается алюминиевая оболочка 6, «перья» которой загибаются на кольцевой заплечик корпуса. На средней (цилиндрической) части корпуса установлен направляющий винт 4 и нарезана трапецеидальная резьба. По винту и резьбе движется зажимное устройство, при помощи которого зажимаются «перья» алюминиевой оболочки.

Рис. 27. Универсальная печать типа ПУ2

Зажимное устройство состоит из нажимной втулки 5 и нажимной гайки 3. На верхнюю часть корпуса навинчивается переводник 1 с замковой резьбой бурильных труб для присоединения к колонне труб, на которых печать спускается в скважину.

Печать в собранном виде медленно спускают в скважину на бурильных трубах. При необходимости спуск производят с промывкой, печать устанавливают в скважине на верхнем конце объекта. Нагрузка для получения отпечатка не должна превышать 20 кН.

Таблица 10 Техническая характеристика универсальной печати типа ПУ2

Типоразмер печати

Условный диаметр колонны обсадных и насосно-компрессорных труб, мм

Максимальная рабочая нагрузка для получения отпечатка, кН

Основные размеры, мм




D

L

ПУ2-102

102*

 20

75; 84

295

ПУ2-146

140¸146


106; 112; 118

360

ПУ2-168

168


125; 131; 137; 141

430


Скважинный пробойник для насосно-компрессорных труб типа «ОСА» (рис. 28) - высокоэффективный инструмент для ремонта скважин предназначен:

для сообщения полости труб с забоем скважины путем пробивки стенки НКТ без использования в подземном оборудовании дополнительных устройств, таких как разрушаемые болты и диафрагмы, управляемые и съемные клапаны и др.;

для резки прихваченной в скважине колонны НКТ.

Инструмент выпускается в двух модификациях:

свободного сбрасывания с приводом от столба жидкости;

опускаемый на штангах.

В трубу НКТ сбрасывается или опускается на штангах инструмент. После достижения необходимого интервала из корпуса инструмента выходит жало и после пробивки отверстия в НКТ автоматически утапливается в корпусе (рис. 28).

Рис. 28. Скважинный пробойник «ОСА»

При спуске инструмента на штангах возможно пробивание множества отверстий в одном сечении - т.е. осуществляется резка труб.

1.6 Оборудование для промывки скважин

В скважинах, через которые эксплуатируются нефтяные горизонты, сложенные рыхлыми песками, мощность песчаных пробок достигает 200¸400 м. Приток нефти снижается и может прекратиться.

Ликвидацию песчаных пробок проводят промывкой скважин водой, различными жидкостями, газожидкостными смесями, пенами, продувкой воздухом, очисткой скважины с помощью струйного насоса, желонки или гидробура [5].

1.6.1 Установки насосные

При проведении различных технологических операций в нефтяных и газовых скважинах, включая цементирование, гидравлический разрыв пластов, кислотную обработку, промывку песчаных пробок и другие промывочно-продавочные работы, применяются насосные установки, которые обеспечивают выполнение вышеперечисленных работ.

Агрегат насосный цементировочный АНД 320 (рис. 29) (АНД 320У) предназначен для нагнетания рабочих жидкостей при цементировании скважин в процессе бурения и капитального ремонта, а также при проведении других промывочно-продавочных работ на нефтяных и газовых скважинах.

Рис. 29. Агрегат насосный цементировочный АНД 320

Агрегат АНЦ 320 дополнительно оборудован устройством для подогрева гидравлической части насоса НЦ 320, коллектором для обеспечения одновременной работы нескольких агрегатов, комплектом ЗИП, различными приспособлениями.

Технические характеристики агрегата АНЦ 320

Монтажная база шасси автомобиля КрАЗ,

УРАЛ, КаМАЗ

Насос НЦ320:

предельное давление нагнетания, МПа 40

наибольшая идеальная подача, дм3/с 26

Мощность, кВт, не более 32

Центробежный насос ЦНС 38-154:

подача, дм3/с 10,5

давление, МПа 1,54

Манифольд:

Вместимость, м3

мерного бака 6

бачка для цементного раствора 0,25

Условный диаметр, мм:

приемной линии цементировочного и

центробежного насосов 100

напорной линии цементировочного и

центробежного насосов 50

Габаритные размеры агрегата АНЦ 320,

мм, не более 10150´2700´3225

Масса агрегата полная, кг 16000

Агрегат АНЦ 320 является улучшенным агрегатом Грозненского ЦА-320.

Агрегат наносный продавочный АНП 320 (АНП 320У) предназначен для нагнетания различных жидких сред в скважины в процессе бурения и капитального ремонта, а также при проведении других промывочно-продавочных работ в нефтяных и газовых скважинах.

Технические характеристики агрегата АНП 320

Монтажная база шасси автомобиля КрАЗ-250

(УРАЛ-4320)

Насос НЦ320

Полезная мощность, кВт 108

Предельное давление нагнетания, МПа 40

Наибольшая идеальная подача, дм3/с 26

Габаритные размеры агрегата, мм, не более 10150´2700´3225

Масса агрегата, кг:

полная 15000

комплекта 14460

Установка, насосная УНК предназначена для нагнетания неагрессивных жидких сред в скважины в процессе их текущего и капитального ремонта.

Техническая характеристика УНК

Монтажная база шасси автомобиля повышенной

проходимости КамАЗ- 43101

Наибольшее давление нагнетания, МПа 23

Наибольшая идеальная подача, дм3/с 15,35

Агрегат промывочный ПА-80 (ПА-80-01) предназначен для закачки промывочной жидкости в скважины при геологоразведочном, структурно-поисковом бурении и перекачки жидкости.

Техническая характеристика

Монтажная база шасси автомобиля

УРАЛ-4320 (КрАЗ-260Г)

Предельное давление, МПа 12

Наибольшая объёмная подача, л/с 10,8

Насосные установки УН1-100´200, УНТ1-100´250, УНБ1- 100´250, УНБ1Р-100´250 предназначены для нагнетания различных жидких сред в скважины в процессе текущего и капитального ремонта, а также при проведении других промывочно- продавочных работ.

Насосная установка УНТ1-100´250 (рис. 30) смонтирована на базе трактора Т-130МГ, состоит из насоса, коробки отбора мощности, коробки передач, цепного редуктора, манифольда, вспомогательного трубопровода, системы управления, обогрева и продувки. Привод насоса от тягового двигателя через коробку отбора мощности, карданные валы, четырехскоростную коробку передач и цепной редуктор.

Рис. 30. Насосная установка УНТ 1-100´250:1 - гусеничная транспортная база трактора Т-130МГ; 2 - обогрев; 3 - продувка; 4 - на сос; 5 - манифольд; 6 - цепной редуктор

Насосная установка УНБ1Р-100´250 на раме состоит из силового агрегата, трансмиссии, насоса, манифольда, вспомогательного трубопровода, мерного, бака, системы управления, электрооборудования и кабины оператора. Привод насоса - от дизельного двигателя через коробку передач.

Во всех установках насос - трехплунжерный горизонтальный одностороннего действия.

Насосные установки УН1-100´200 и УНБ1-100´250 (рис. 31) состоят из насоса, коробки отбора мощности, карданного вала, манифольда и вспомогательного трубопровода.

Рис. 31. Насосная установка УНБ1-100´250: 1 - шасси автомобиля УРАЛ-4320; 2 - мерный бак; 3 - насос Н5-160; 4 - манифольд; 5 - вспомогательный трубопровод; 6 - рама

Привод насоса от тягового двигателя автомобиля через односкоростную коробку отбора мощности и карданный вал.

Установка насосная передвижная УНБ-160´32 предназначена для нагнетания различных жидких сред при цементировании, освоении и капитальном ремонте скважин, а также при проведении других промывочно-продавочных работ в нефтегазоперерабатыващей промышленности и других отраслях в условиях умеренного и холодного микроклиматических районов.

Техническая характеристика установки УНБ-160´32

Автомобильное шасси КраЗ-250

(или ТАТРА-815-2)

Насос высокого давления 9ТМ

Полезная мощность, кВт 108

Наибольшее давление нагнетания, МПа 32

Наибольшая идеальная подача, дм3/с 26

Вместимость мерного бака, м3 6

Габаритные размеры, мм 10150´2700´3225

Масса установки полная, кг 16000

1.6.2 Выбор оборудования для очистки скважин от песчаной пробки

Оборудование для очистки скважин от песчаной пробки зависит от технологической схемы (рис. 32 и 33). Промывочный насос определяется исходя из требуемых давления и подачи (производительности).

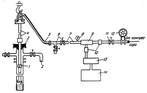
Рис. 32. Схема прямой (а) и обратной (б) промывок скважин: 1 - колонна; 2 - НКТ; 3 - устьевой тройник; 4 - промывочный вертлюг; 5 - промывочный насосный агрегат; 6 - устьевой сальник; 7 - переводник со шлангом

Рис. 33. Оборудование скважины при промывке ее аэрированной жидкостью с добавкой ПАВ: 1 - обратный малан; 2 - манифольд; 3 - устьевой сальник; 4 - НКТ; 5 - шланг; 6 - вентили; 7 - манифольд; 8 - манометр; 9 - смеситель-аэратор; 10 - обратные клапаны; 11 - вентиль; 12 - расходомер; 13 - насос; 14 - емкость

Производительность первоначально целесообразно принять: из условий минимальной подачи насоса (1 передача коробки перемены передач двигателя); из условий размыва песка струей жидкости из насадки.

Для определения необходимого давления следует провести гидравлический расчет промывки.

Способ промывки: 1 - прямая; 2 - обратная; 3 - комбинированная; 4 - непрерывная.

При гидравлическом расчете промывки подлежат определению следующие параметры, которые устанавливают технологические характеристики проведения работ с оценкой требуемого давления и расхода жидкости, а также времени на осуществление процесса.

. Скорость восходящего потока жидкости должна быть больше скорости падения в ней частичек песка:

nn = nв - w

где nn - скорость подъёма песчинок; nв - скорость восходящего потока жидкости; w - средняя скорость свободного падения песка в жидкости, определяемая в зависимости от диаметра частиц песка.

Диаметр частиц песка, мм

0,3

0,25

0,2

0,1

0,01

w, см/с

3,12

2,53

1,95

0,65

0,007


nn = nв - (nв /2) = nв /2.

. Общие гидравлическое потери при промывке

h = h1 + h2 + h3 + h4 + h5 + h6, м.

Здесь h1 - потери напора в промывочных трубах

,

где Н - длина промывочных труб, м; d - внутренний диаметр промывочных труб, м; Vн - скорость нисходящего потока жидкости в трубах, м/с; rж - плотность жидкости, т/м3, l - коэффициент гидравлических сопротивлении (таблица или расчет).

Условный диаметр труб, мм

48

60

73

89

114

l

0,040

0,037

0,035

0,034

0,032


,

где j - коэффициент, учитывающий увеличение потерь вследствие содержания в жидкости песка (j = 1,12¸1,2); Dв - внутренний диаметр эксплуатационной колонны, м; dн - наружный диаметр промывочных труб, м.

При определении гидравлических сопротивлении обратной промывки пользуются теми же формулами, только формула (1.1) используется для восходящего потока, а формула (1.2) - для нисходящего.

,

где m - доля пустот между частицами песка, занимаемая жидкостью, m = 0,3¸0,45; F - площадь сечения обсадной колонны, м2; l - высота пробки, прошиваемой за один прием (l = 6 или 12 м); f - площадь сечения кольцевого пространства, м2; rn - плотность песка (для кварцевого песка rn = (2,65¸2,7)т/м3.и h5 - потери, напора, соответственно, для вертлюга и шланга определяются по опытным данным и могут быть приняты следующие (см. ниже).- потери напора в наконечнике: насадки диаметром Æ 10¸37 мм, фрезер и др.,

,

где rж - плотность жидкости, г/см3; Q - подача жидкости, см3/с; g = 980 см/с2; aн = 0,9 - коэффициент расхода насадки; fн - сечение насадки, см2.

. Время, необходимое для подъема размытой породы на поверхность

T = H/Vn ,

где Vn - скорость подъема размытой породы.

При промывке нефтью изменения в расчет будут внесены только в определение коэффициента l:

при турбулентном режиме

,

при ламинарном режиме

,

где Re - число Рейнольдса; при течении жидкости в трубе

Re = (V×d)/v;

при течении жидкости в кольцевом пространстве

,

где V - скорость течения жидкости, м/с; v - кинематическая вязкость жидкости, м2/с.

При Re < 2320 - режим движения жидкости ламинарный;> 2800 - турбулентный.

1.7 Установки для цементирования скважин


При цементировании скважин, кроме насосных установок применяется различное оборудование: смесительные агрегаты и машины 2АУМ, ОСБ-2-30, УС-4, УС6-30, УС5-30, 1СМР-20, УЦП, цементировочные головки (ГУЦ, ГЦК), цементировочная, арматура.

Смесительные установки предназначены для транспортирования сухих порошкообразных материалов (цемента, тампонажных смесей, песка и др.), регулируемой подачи этих материалов и приготовления тампонажных растворов и других песчано-жидкостных смесей при цементировании нефтяных и газовых скважин и гидравлическом разрыве пластов [7].

Установка смесительная УС6-30 (рис. 34) предназначена для транспортирования сухих порошкообразных материалов (цемента, тампонажных смесей), механически регулируемой подачи этих материалов винтовыми конвейерами и приготовления тампонажных растворов при цементировании нефтяных и газовых скважин. Она состоит из бункера, коробки отбора мощности, трансмиссии, загрузочного и дозировочных винтовых конвейеров, смесительного устройства, системы управления и вспомогательного оборудования.

Таблица 11 Технические характеристики установок

Показатели

УС6-30

УС5-30

Монтажная база

КрАЗ-250

КрАЗ-250

Максимальная производительность при приготовлении тампонажного раствора (плотность 1850 кг/м3), дм3/с

27

30

Плотность приготавливаемого раствора, кг/м3

1300¸2400

1300¸2400

Время выхода на заданную плотность раствора, с, не более

40

60

Число бункеров

1

2

Максимальная масса транспортируемого материала, т

11

8

Максимальная производительность по сухому тампонажному материалу, т/ч: система загрузки система выгрузки

 15 132

 15¸30 132

Вместимость бункера, м3

14,5

4´2

Тип смесительного устройства

Гидровакуумный

Гидроструйный

Габариты установки, мм

8920´2500´3430

9500´2500´3150

Масса установки, кг

12750

12700



Рис. 34. Смесительная установка УС6-30: 1 - шасси автомобиля КрАЗ-250; 2 - коробка отбора мощности; 3 - загрузочный и дозировочный винтовые конвейеры; 4 - бункер; 5 - система управления; 6 - смесительная устройство

Загрузка и выгрузка сыпучего материала механическая, с помощью дозирующих винтовых конвейеров. Привод винтовых конвейеров - от двигателя автомобиля через коробку отбора мощности и карданные валы.

Установка смесительная УС5-30 состоит из двух вертикальных цилиндроконических бункеров с аэроднищем, смесительного устройства, ротационного компрессора, трубопроводной обвязки, массомера, пневматической системы загрузки и выгрузки тампонажного материала, продуктопровода, системы управления, сепаратора, приемной воронки и вспомогательных рукавов.

Загрузка установки осуществляется вакуумным способом с применением того же компрессора или гравитационным способом - через верхние люки бункеров.

Система выгрузки сыпучего материала пневматическая.

Установка цементировочная передвижная УЦП предназначена, для нагнетания различных неагрессивных жидких сред при цементировании скважин в процессе капитального ремонта.

Цементировочные головки предназначены для обвязки устья скважин. Выпускают их под шифрами ГУЦ и ГЦК. Различаются они конструкцией, размерами и эксплуатационной характеристикой и позволяют применять только одну верхнюю разделительную цементировочную пробку типа ПВЦ.

Техническая характеристика установки УЦП

Монтажная база шасси автомобиля повышенной

проходимости КамАЗ-43101

Наибольшее давление нагнетания, МПа 23

Наибольшая идеальная подача, дм3/с 15, 35

Диаметр условного прохода трубопроводов

манифольда, мм:

всасывающего 100

нагнетательного 50

Вместимость мерного бака, м3, не менее 5

Насос водоподающего блока:

наибольшее давление, МПа 1,54

наибольшая подача, дм3/с 10

Габаритные размеры, мм, не более:

длина 8600

ширина 2500

высота 3600

Полная масса, кг 15205

Головки ГУЦ (рис. 35) поставляют с кранами высокого давления (цементировочную пробку вставляют в нее заблаговременно, что исключает необходимость ее разборки в процессе цементирования), а головки ГЦК (рис. 36) - без кранов (цементировочную пробку в нее вставляют после закачки цементного раствора).

Цементировочная арматура, устанавливаемая на устье скважины, предназначена для герметичного соединения НКТ с обсадной колонной, продавки в пласт цементного раствора, нагнетания жидкости при прямой и обратной промывках скважин.

Рис. 35. Головка цементировочная ГУЦ

Рис. 36. Головка цементировочная ГЦК

1.8 Оборудование противовыбросовое и превенторы


Противовыбросовое оборудование (ОП) предназначено для герметизации устья строящихся и ремонтируемых скважин с находящейся в ней колонной труб или при её отсутствии, при проворачивании, расхаживании колонны труб между замковыми и муфтовыми соединениями. Противовыбросовое оборудование позволяет производить циркуляцию промывочной жидкости с противодавлением на пласт.

Основные параметры ОП и его составных частей должны соответствовать ГОСТУ 13862-90.

Технические характеристики

ОП1-180´35 ОП1-180´35К2

Условный проход стволовой части, мм 180 180

Рабочее давление, МПа 35 35

Условный диаметр труб, уплотняемых

плашками превентора, мм 60¸127 60¸114

Рабочее давление в гидросистеме, МПа 6¸10 6¸10

Масса полного комплекта, кг 12950 -

Тип манифольда МПБ2-80´35 МПБ2-80´7035К2

Превенторы типа ППГ и ППМ (рис. 37) обеспечивают возможность расхаживания колонны труб при герметизированном устье, подвешивание колонны на плашки и удержание колонны плашками от выброса под действием скважинного давления.

Рис. 37. Превентор ППМ

Основные узлы и детали превентора - корпус, крышки корпуса с гидроцилиндрами и плашки.

Для освоения и ремонта нефтяных и газовых скважин выпускаются превенторы следующих типов:

ППГ-150´21 с гидравлическим зажимом плашек и механическим поджимом;

ППМ-150´21 с механическим зажимом плашек.

Технические характеристики

ППГ-150´21 ППМ-150´21

Диаметр проходного отверстия, мм 150 150

Рабочее давление, МПа (кГс/см2) 21 (210) 21 (210)

Максимальное давление в рабочих

камерах приводных цилиндров, МПа 10 -

Диаметр уплотняемых труб 50; 60,3; 63,5; 73; 89

глухая плашка позволяет перекрывать

скважину при отсутствии в ней трубы

Пробное давление, МПа (кГс/см2) 42 (420) 42 (420)

Превентор плашечный штанговый ППШ-62´21 (рис. 38) применяется при ремонте нефтяных скважин, эксплуатируемых штанговыми насосами. Превентор ППШ предназначен для герметизации штанг при аварийных работах.

Рис. 38. Превентор плашечный штанговый ППШ-62´21

Техническая характеристика ППШ-62´21

Диаметр проходки, мм 62

Рабочее давление, МПа (кГс/см2) 21 (210)

Диаметр герметизируемых штанг при смене

уплотнителей, мм 16, 19, 22, 25

Привод плашек ручной

Рабочая среда нефть, газ, газоконденсат, вода

Температура рабочей среды и окружающего

воздуха (градусы Цельсия) от -10 до +100°C

Масса, кг 32

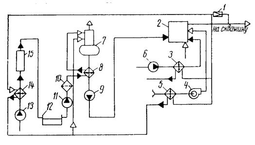
2. Оборудование для поддержания пластового давления

Система оборудования для поддержания пластового давления (ППД) состоит в общем случае из участков водозабора, магистрали подвода воды (с трубопроводом большого диаметра и насосными станциями первого, второго и, если требуется, третьего водоподъема), очистных сооружений подготовки воды к закачке ее в нефтяной пласт, кустовых насосных станций высокого давления на территории промысла, разводящих трубопроводов с водораспределительными гребёнками, от которых вода идет к нагнетательным скважинам.

Скважины оснащены устьевой арматурой по типу фонтанной, насосно-компрессорной колонной труб и часто пакером, предохраняющим основную часть обсадной колонны скважины от действия высокого давления закачиваемой воды.

Плавучие насосные станции применяются при заборе воды из водоемов (реки, озера, моря). При извлечении воды из водоносных пластов скважинами применяется сифонная система (динамический уровень жидкости в скважине до 4 м).

Сифонная система вакуум - котлы, в которых создается разряжение в (0,04¸0,047) МПа. Вакуум поддерживается вакуум-насосами с подачей 0,03 м3/с и наибольшим разряжением в 0,086 МПа. Вода из скважины поступает в вакуум-котлы самотеком и далее отбирается поверхностными насосами. Такая система применяется на Туймазинском и Ромашкинском месторождениях. Это на 20¸30% дешевле, чем извлечение воды из скважин насосами.

При более низких динамических уровнях жидкости (4 м и более уровня приема поверхностного насоса) применяются погружные скважинные насосы. По типу привода они подразделяются на: насосы с вертикальным приводным валом и электродвигателем на поверхности (типа АТН); насосы с погружным электродвигателем.

АТН - артезианские турбинные насосные установки применяют для откачки воды из скважины с динамическим уровнем до 100 м. Они обеспечивают подачу 30¸370 м3/ч и напор от 20 до 115 м. Мощность двигателя насосов АТН от 7 до 55 кВт.

Основными типами скважинных насосов с погружными электродвигателями являются - АП; АПВ (артезианский, погружной, высоконапорный), ЭЦНВ (электрический, центробежный, водоподъемный), ЭПЛ (электрический, погружной, лопастной).

Насосы ЭЦНВ обеспечивают: подачу от 2 до 360 м3/ч, напор 25¸360 м. Мощность двигателя насосов ЭЦНВ от 0,37 до 500 кВт. В обозначении насоса ЭЦНВ-10-120-60: 10 - диаметр скважины в дюймах, 120 - подача в м3/ч и 60 - напор в метрах водяного столба.

В системе ППД широко применяются центробежные насосы типа ЦНС, агрегаты электронасосные скважинные типа УЭЦПК, в состав которых входят погружные центробежные насосы, перспективно использование плунжерных насосов, имеющих жесткую напорную характеристику.

На нефтепромыслах применяют следующие центробежные насосы секционные: ЦНС630-1700, НЦС-300; агрегаты электронасосные многоступенчатые ЦНС180-1900М, ЦНС180-1422, ЦНС180-1050; ЦНС180-1900М, ЦНС180-1422М, ЦНС180-1050М; ЦНС180-85¸425; насосный агрегат ЦНСА63-1400УХЛ4 и другие [7].

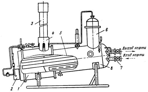
Центробежные насосы типа ЦНС180 (высоконапорные) предназначены для нагнетания воды в скважину с целью поддержания пластового давления. Конструкция насосов типа ЦНС180 разработана с учетом создания на одной корпусной базе трех-модификаций с давлением нагнетания 9,5¸19 МПа.

Центробежные насосы типа ЦНС180 допускают изменение рабочей характеристики посредством уменьшения числа ступеней (не более 2) с установкой проставочных втулок, без изменения привязочных размеров, с обязательной динамической балансировкой ротора.

Рис. 39. Центробежный насос ЦНС 180-1900 1 - крышка всасывания; 2 - рабочее колесо 1 ступени; 3 - направляющий аппарат 1 ступени; 4 - рабочее колесо промежуточной ступени; 5 - направляющий аппарат промежуточной ступени; 6 - секция; 7 - направляющий аппарат промежуточной ступени; 8 - крышка напорная; 9 - концевое уплотнение; 10 - подшипник скольжения; 11 - отжимное устройство; 12 - плита

Рис. 40. Характеристика агрегата ЦНС 180-1900

Таблица 12 Технические характеристики ЦНС

Показатели

Центробежный насосный агрегат


ЦНС180-1050

ЦНС180-1422

ЦНС180-1900

Подача, м3/с

0,05

0,05

0,05

Напор, м

1050

1422

1900

Допускаемое давление на входе, МПа

0,6¸3,1

0,6¸3,1

КПД, %

73

73

73

Частота вращения (синхронная), мин-1

3000

3000

3000

Потребляемая мощность на номинальном режиме, кВт

710

960

1280

Насос: Число секций Диаметр рабочих колес, мм

 8 308

 11 308

 15 308

Габаритные размеры, мм: длина ширина высота

 2263 1396 1434

 2640 1510 1510

 3022 1430 1505

Масса, кг

3500

4000

4860

Электродвигатель: Мощность, кВт Напряжение, В Частота вращения, мин-1

 800 6000 3000

 1200 6000 3000

 1600 6000 3000


Насосы типа ЦНС180 - центробежные секционные, горизонтальные, однокорпусные с односторонним расположением рабочих колес, с гидравлической пятой, подшипниками скольжения и концевыми уплотнениями комбинированного типа (щелевое и сальниковое уплотнения).

Насосы этого типа состоят из двух основных узлов: корпуса - совокупности неподвижных деталей, и ротора - вращающегося вала с расположенными на нем деталями.

Ротор насоса состоит из рабочих колес, посаженных на вал по скользящей посадке, разгрузочного диска, защитных втулок и других деталей.

Опорами ротора служат подшипники скольжения с принудительной смазкой, а для насоса ЦНС180-1050 - с кольцевой смазкой.

Насос соединяется с электродвигателем посредством зубчатой муфты.

Отечественной промышленностью освоен выпуск трехплунжерного насоа типа НП-3-160 и агрегата, электронасосного трехплунжерного типа АНТ-150.

Насос трехплунжерный НП-3-160 (рис. 41) предназначен для нагнетания воды и растворов в пласт в системах поддержания пластового давления, а также для подачи рабочей жидкости при добыче нефти гидропоршневыми и струйными насосами.

Техническая характеристика насоса НП-3-160

Максимальное давление, развиваемое насосом, МПа1 6

Максимальная подача насоса, дм3/с 2,5

Необходимое давление на приеме насоса, МПа 0,05¸0,10

Диаметр плунжера, мм 56

Ход плунжера, мм 60

Количество плунжеров, шт 3

Число оборотов вала насоса, об/мин 370

Номинальная мощность электродвигателя, кВт/об/мин 45/750

Передаточное отношение редуктора 2

Габаритных размеры, мм:

длина L 2210

ширина B 1530

высота H 1130

Рис. 41. Насос трехплунжерный НП-3-160: 1 - рама; 2 - электродвигатель; 3 - муфта; 4 - защитный кожух; 5 - приводная часть; 6 - гидравлическая часть; 7 - клапан предохранительный

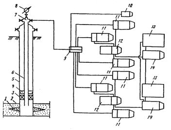
Для обслуживания куста скважин обычно строят блочные кустовые насосные станции (БКНС), техпологическая типовая система которой включает: насосные блоки, блок дренажных насосов, блок напорных гребенок, резервуар сточных вод, трансформаторную комплектную подстанцию и блок управления [7]. Они имеют от 1 до 4 насосных блоков с насосами ЦНС-180, 1 или 2 блока гребенки, обеспечивают подачу от 180 до 720 м3/ч и давление нагнетания 10,5; 14,22 и 19,0 МПа.

Мощность одного двигателя составляет: 800; 1250; 1600 и 4000 кВт.

Блочная кустовая насосная станция - мини - КНС предназначена для обустройства и реконструкции системы ППД с целью экономии энергетических и материальных ресурсов и может быть изготовлена в трех исполнениях. Каждое исполнение станции комплектуется двумя насосными блоками и блоком управления.

Исполнение I - для схемы централизованного водоснабжения. Насосные блоки комплектуются насосными агрегатами, водораспределительной гребенкой, модулем сбора и утилизации утечек сальников и модулем ввода ингибитора коррозии. Блок управления комплектуется щитами НКУ и автоматизации. Экономия энергоресурсов достигается за счет оптимизации системы электроснабжения и регулирования графика нагрузок в течении суток.

Исполнение II - для схем локального водоснабжения (подготовка сеноманской воды для ее закачки в пласт). Насосные блоки комплектуются по исполнению I с добавлением модуля сепарации воды. При данном исполнении мини-КНС экономический эффект достигается за счет экономии на прокладке низконапорных и высоконапорных водоводов. Одновременно реализуется преимущество первого исполнения.

Исполнение III - для схем с предварительным сбросом воды из добываемого на кусте скважин продукта и оборудованием для отделения воды от нефти и подготовки ее для закачки в нефтяной пласт. Насосные блоки комплектуются по исполнений I с добавлением модуля дегазации воды. Эта схема, дает особенно значительный эффект при увеличении обводненности продукции скважин за счет снижения встречной перекачки воды.

Техническая характеристика мини-КНС

Производительность, м3/сут 200¸1200

Давление нагнетания, МПа 16

Установленная мощность, кВт 165¸560

Температура окружающего воздуха, °C -55¸+45

Температура в насосных блоках, °C, не ниже +5

Температура в блоке управления, °C, не ниже +18

Станция блочная кустовая насосная малой производительности МБКНС предназначена для ППД системы заводнения нефтяных пластов месторождений с ограниченной приемистостью скважин и высоким пластовым давлением.

Техническая характеристика

Производительность МБКНС, м3/сут:

минимальная 200

максимальная 1600

Давление нагнетания, МПа:

минимальное 12,5

максимальное 20

Давление на входе, МПа от 0,4 до 1,6

Напряжение питания электродвигателей МБКНС, В 380

Потреоляемая мощность, кВт:

минимальная 300

максимальная 750

Кроме блочных унифицированных наносных станций БКНС с насосами ЦНС-180 выпускаются специальные блочно-кустовые насосные станции «Север» (СБКНС4-150 и СБКНС2-200) с целью проведения работ по ППД в условиях Крайнего Севера [7].

Блок напорной гребенки БГ-1 на кустовых насосных станциях предназначен для распределения, измерения расхода и давления технологической воды, подаваемой на скважины системой ППД [7].

Устьевая арматура (рис. 42) предназначена для герметизации устья нагнетательных скважин в процессе нагнетания в скважину воды, для выполнения ремонтных работ, проведения мероприятий по улучшению приемистости пласта и исследовательских работ, осуществляемых без прекращения закачки. Основные части арматуры - трубная головка и «ёлка».

Трубная головка предназначена для герметизации затрубного пространства, подвески колонны насосно-компрессорных труб и проведения некоторых технологических операций, исследовательских и ремонтных работ. Она состоит из крестовины, задвижек и быстросборного соединения.

«Елка» служит для закачки жидкости через колонну насосно-компрессорных труб и состоит из стволовых задвижек, тройника, боковых задвижек и обратного клапана.

Рис. 42. Арматура устьевая нагнетательная АУН 50-21: 1, 2, 6 - задвижка ЗМС 65-21; 3, 7 - контрольное устройство; 4 - головка; 5 - колонный фланец

Для оборудования устья нагнетательных скважин применяется арматура АНК1-65´21, АНК1-65´35, АУН50-21 и др. [7].

Установки погружных центробежных электронасосов типа УЭЦП и УЭЦПК (табл. 13) предназначены для закачки поверхностных или пластовых вод в нагнетательные скважины с целью поддержания пластового давления и добычи пластовых вод с подачей на кустовые наносные станции при содержании в жидкости механических примесей не более 0,1 г/л, с рН = 5,4¸9 и температурой не выше 60°C.

Таблица 13

Установки

Подача, м3/сут

Напор, м

Внутренний диаметр колонны обсадных труб, мм

Размеры электронасоса, мм





поперечный

длина

У2ЭЦП14-1000-1200

1000

1200

359

320

8620

У2ЭЦП16-2000-1400

2000

1360

396

375

9133

У2ЭЦПК16-2000-1400

2000

1360

396

375

9077

У2ЭЦПК16-3000-1000

3000

930

396

375

7207

У2ЭЦПК16-3000-160

3000

160

396

360

10975

У2ЭЦПК16-2000-200

2000

200

396

360

11170


Установка (рис. 43) состоит из погружного электронасоса (насос и электродвигатель), кабеля, оборудования устья скважины, трансформатора и комплектного устройства для управления и защиты электродвигателя.

Электронасосный агрегат спускают в скважину (или шурф) и подвешивают на ее устье. Жидкость подается насосом по нагнетательным водоводам в группу нагнетательных скважин или на кустовые насосные станции.

Рис. 43. Установки погружного центробежного электронасоса: а - для добычи пластовых вод: 1 - погружной электродвигатель; 2 - погружной насос; 3 - оборудование устья скважины; 4 - силовой кабель; 5 - комплектное устройство; 6 - трансформатортб - для закачки воды: 1 - шурф; 2 - разводящий водовод; 3  электронасосный погружной агрегат; 4 - силовой кабель; 5 - нагнетательный водовод; 6 - комплектное устройство; 7 - трансформатор

В зависимости от поперечного размера погружного агрегата установки подразделяются на две группы - 14 и 16.

Установки группы 14 имеют поперечный размер погружного агрегата 320 мм и применяются в шурфах с внутренним диаметром обсадной колонны (кожуха) не менее 359 мм; установки группы 16 имеют поперечный размер 375 мм и используются в скважинах или шурфах с внутренним диаметром обсадной колонны не менее 396 мм.

В зависимости от развиваемого напора насосы делятся на высоконапорные, состоящие из двух или трех секций, и низконапорные - из одной секции с тремя или пятью ступенями, для добычи пластовых вод.

Высоконапорный насос - погружной многоступенчатый, секционный с вертикальным расположением вала.

Соединение секций высоконапорных насосов типа ЭЦП - фланцевое, типа ЭЦПК - хомутовое.

Из зарубежного оборудования для закачивания пластовой воды можно отметить высокоэффективную горизонтальную насосную установку компании «Рэда», которая позволяет перекачивать свыше 4000 м3 воды в сутки под высоким давлением [7]. В последние годы всё чаще для ППД пытаются применить высоконапорные плунжерные насосы типа PCN и PAH чехословацкого производства, а также трехплунжерные электронасосные агрегаты типа АНТ, выпускаемые совместным предприятием «УИТЛИ-УРАЛ» на Буланашском машзаводе [7].

3. Оборудование для воздействия на пласт

Для увеличения и восстановления производительности и приемистости скважин применяют оборудование, позволяющее воздействовать на пласт тепловыми, механическими и химическими методами.

3.1 Оборудование для теплового воздействия на пласт


Тепловое воздействие на призабойную зону предотвращает образование парафинистых и смолистых отложений в поровом пространстве пласта и способствует увеличению текущей и суммарной добычи нефти. Прогрев зоны удлиняет межремонтный период эксплуатации скважины, так как повышается температура нефти и снижается ее вязкость, уменьшается количество парафина, отлагающегося на стенках подъёмных труб и в выкидных линиях.

Призабойную зону скважины прогревают следующими способами: нагнетанием в пласт на некоторую глубину теплоносителя - насыщенного или перегретого пара, растворителя, горячей воды или нефти; спуском на забой (в фильтровую зону) нагревателя-электропечи или погружной газовой горелки.

Обработка паром. При этом способе теплоноситель - пар получают от полустационарных котельных и передвижных котельных установок ППГУ-4/120 М, «Такума» КSК, а также парогенераторных установок типа УПГ и ППУА. Если давление нагнетания до 4 МПа, то используют паровые котельные общего типа ДКВР-10/39 и скважинное оборудование (устьевое и внутрискважинное). Устье оборудуют арматурой типа АП, лубрикатором типа ЛП 50-150 и колонной головкой ГКС.

Парогенераторные установки УПГ-60/16М, УПГ-50/6М (рис. 44) предназначены для паротеплового воздействия на пласт с целью увеличения коэффициента нефтеотдачи.

Рис. 44. Принципиальная схема парогенераторной установки УПГ-50/6М: 1 - дроссельное устройство; 2 - парогенератор; 3 - подогреватель топлива; 4 - дутьевой вентилятор; 5 - подогреватель воздуха; 6 - топливный насос; 7 - деаэратор; 8 - охладитель деаэрированной воды; 9 - электронасосный агрегат; 10 - сульфоугольный фильтр; 11 - насос химочищенной воды; 12 - бак химочищенной воды; 13 - насос исходной воды; 14 - подогреватель исходной воды; 15 - фильтр химводоочистки

Техническая характеристика УПГ-60/16М УПГ-50/6М

Производительность по пару, т/ч 60 50

Теплопроизводительность, Гкал/ч 34,4 25,4

Номинальное давление, МПа 16,0 6,0

Установленная электрическая мощность, кВт 1528,0 1294,0

Температура обработанных газов, °С 320 343

КПД установки, % 80,0 83,9

Вид топлива газ газ, нефть

Парогенераторная установка ППУА - 1600/100 (рис. 45) состоит из цистерны для воды 1, емкости для топлива 2, парогенератора 3, питательного насоса 4, вентилятора высокого давления 5, топливного насоса 7, привода установки 8, приборов 6 и трубопроводов 9.Техническая характеристика

Производительность по пару, т/ч 16

Давление пара, МПа 9,81

Температура пара, °C 310

Теплопроизводительность, Гкал/ч 0,94

Рис. 45. Парогенераторная установка ППУА-1600/100

Устьевая арматура АП-65/210, АП-65/50´16У1 (рис. 46) предназначена для герметизации устья скважин при паротепловом воздействии на пласт.

Рис. 46. Устьевая арматура АП-65/210, АП-65/50´16У1: 1 - устьевой сальник; 2 - задвижка; 3 - устьевое шарнирное устройство; 4 - специальная труба

Арматура (рис. 46) состоит из устьевого сальника 1, предназначенного для компенсации теплового расширения 4 (удлинения) колонны НКТ, задвижки 2 и устьевого шарнирного устройства 3. Шарнирное устройство обеспечивает компенсацию термических удлинений эксплуатационной колонны и паропровода от парогенератора к скважине.

Техническая характеристика

Тип арматуры АП-65/210 АП-65/50´16У1

Рабочее давление, МПа 15 16

Максимальная температура, °С 320 345

Условный проход, мм 65 65

Рис. 47. Термостойкий пакер: 1 - переводник; 2 - верхний шлипсовый узел; 3 - уплотитель; 4  нижний шлипсовый узел; 5 - гидроцилиндр; 6 - клапанный узел; 7 - фильтр

Термостойкие пакеры ПВ-ЯГМ-Г-122-140, ПВ-ЯГМ-7-140-140, предназначены для герметизации ствола скважины при нагнетании теплоносителя, в том числе для разобщения затрубного пространства в скважине от закачиваемого пара в пласт. Последнее исключает необходимость в спуске дополнительной изолирующей колонны.

Технические характеристики

Тип пакеров ПВ-ЯГМ-Г-122-140 ПВ-ЯГМ-Г-140-140

Диаметр обсадных труб, мм 146 146

Максимальный перепад давлений, МПа 14,0 14,0

Максимальная температура, °С 325 325

Условный диаметр обсадных труб, мм 146 168

Давление при посадке пакера, МПа 20 20

Диаметр пакера, мм 122 140

Длина пакера, мм 1690 2370

Электротепловая обработка. Этот способ проще и дешевле, чем предыдущий. Температуру в призабойной зоне обычно повышают глубинными электронагревателями (рис. 48). Для прогрева больших зон пласта в пласт закачивают пар с тепературой до 300°С или горячую воду с температурой около 200°С. Для поддержания пластового давления используют горячую воду с температурой, близкой к пластовой (60¸100°С).

Рис. 48. Глубинный электронагреватель: 1 - крепление кабель-троса; 2 - проволочный бандаж; 3 - кабель-трос КТГН-10; 4 - головка электронагревателя; 5 - асбестовый шнур; 6 - свинцовая заливка; 7 - нажимная гайка; 8 - клеммная полость; 9 - нагревательный элемент

Для прогрева призабойной зоны выпускается самоходная установка электропрогрева сквашен (СУЭПС). Установки СУЭПС рассчитаны на глубину спуска нагревателя до 1200 и 1500 м. Мощность нагревателей 10,5; 21 и 25 кВт. Установка состоит из нагревателя, спускаемого в скважину на кабель-тросе. На устье кабель закрепляется зажимом. На поверхности имеется автотрансформатор для повышения напряжения и станция управления для включения и отключения нагревателя, защиты оборудования при номинальных или аварийных режимах (коротком замыкании, работе на двух или одной фазах, работе без нагрузки и т.д.) и для регистрации величины напряжения, силы тока и температуры нагрева полости скважины у нагревателя.

Нагреватель состоит из трех трубчатых электронагревательных элементов (ТЭН). ТЭН представляет собой стальную трубку, внутри которой спираль из нихромовои проволоки расположена в кварцевом песке или плавленной окиси магния. Последняя служит изоляцией спирали и являются хорошим теплопередатчиком. Три такие трубки расположены в кожухе и составляют нагреватель.

Кабель-трос имеет три силовые жилы сечением 4 мм2 и три сигнальные жилы сечением 0,56 мм2. Разрывное усилие кабеля - 100кН, наружный диаметр - около 18мм.

Автотрансформатор и станция управления взяты от установок глубинных центробежных насосов (ЭЦН). Это оборудование размещается на прицепе автомашины.

Нагреватели электрические скважинные индукционные типа НЭСИ 50-122 выпускаются двух модификаций; НЭСИ 50-122Т и НЭСИ 50-122М. Первый предназначен для тепловой обработки призабойной зоны скважины, а второй - для магнитной обработки скважинной жидкости с целью борьбы с отложениями парафина.

Оба нагревателя предназначены для работы в скважинах с высоковязкой нефтью, оборудованных скважинными штанговыми насосами.

Нагреватель НЭСИ 50-122М (рис. 49) состоит из сердечника, катушек индуктивности, головки токовода, переводника кожуха, диафрагмы и корпуса.

Рис. 49. Нагреватель электрический скважинный индукционный НЭСИ50-122М: 1 - кабель; 2 - патрубок; 3 - головка токовода; 4 - катушка; 5 - сердечник; 6 - центральная труба; 7 - переводник; 8 - кожух; 9 - диафрагма; 10 - втулка; 11, 14 - крышка; 12, 17 - центратор; 13 - гайка; 15 - термореле; 16 - корпус

Сердечник выполнен из трубы углеродистой стали и присоединяется резьбой к головке токовода. На сердечнике размещены три катушки индуктивности, фазы которых соединены в звезду и имеют три ввода, к которым через выводной кабель и втулку присоединяется вилка силового кабеля.

Нагреватель начинает работать при подаче напряжения по кабелю, при этом на катушке индуктивности в сердечнике и кожухе возникают вихревые токи, которые нагревают кожух и сердечник, а, следовательно, и жидкость протекающую внутри сердечника и омывающую нагреватель снаружи. Трансформаторное масло, находящееся в полости нагревателя, выполняет функцию гидрозащиты, а также является переносчиком тепла от более к менее нагретым частям нагревателя, предотвращая местные перегревы. Диафрагма предназначена для компенсации расширения трансформаторного масла и создания избыточного давления в полости нагревателя.

Нагреватель НЭСИ50-122Т также как НЭСИ50-122М устанавливается ниже скважинного штангового насоса в зоне продуктивного пласта.

Отличительной особенностью нагревателя НЭСИ50-122М является то, что его сердечник изготавливается из немагнитного материала.

Техническая характеристика

Тип НЭСИ50-122Т НЭСИ50-122М

Давление окружающей среды в месте

подвески нагревателя, МПа 30 30

Минимальный внутренний диаметр

обсадной колонны, мм 128 128

Температура нагрева жидкости, °С 90 90

Максимальная мощность, кВт 50 50

Напряжение питания при максимальной

мощности, В 1023 549

Частота тока, Гц 50 50

Габаритные размеры, мм

диаметр 122 122

длина 5300 5300

Масса, кг 192 192

Забойные электронагревательные системы ЕВНН фирмы «Петротерм» (рис. 50) обеспечивают электронагрев продуктивной зоны для снижения вязкости пластовой нефти или предупреждения отложений парафина, благодаря этому производительность скважины увеличивается в 2¸8 раз и более. Стандартные системы пригодны для скважин с начальным дебитом 1¸50 баррел/сут. Сборка нагревателей закрепляется непосредственно на колонне НКТ. Электроэнергия подается по стальному бронированному кабелю или сплошному стальному проводнику, системы переменного тока напряжением 480 В, мощностью 44 кВт являются стандартными для скважин глубиной до 4000 фут. Модели с более высоким напряжением или мощностью рекомендуются для более глубоких скважин. Оборудование, рассчитанное на меньшую мощность, может работать при напряжении 240 В. В течение всего срока обработки скважина остается в насосной эксплуатации. Выбор конкретной модели зависит исключительно от характеристик продуктивного пласта и скважины.

Рис. 50. Забойная электронагревательная система ЕВНН

Характеристики забойных электронагревательных систем ЕВНН (стандартные модели)

3.2 Оборудование механического и химического воздействия на пласт


Воздействие на призабойную зону пласта позволяет интенсифицировать добычу нефти и газа за счет увеличения проницаемости призабойной зоны. Выделяют основные методы воздействия: механические, химические и комплексные.

3.2.1 Оборудование для гидроразрыва пласта

В комплекс оборудования для гидроразрыва пласта входят: насосные установки, пескосместительные установки, автоцистерны для транспортирования жидкостей разрыва, арматура устья скважины, пакеры, якори и другое вспомогательное оборудование.

Для гидроразрыва в частности, может быть использовано следующее оборудование.

Пакеры с опорой на забой: ПМ; ОПМ.

Пакеры плашечные (без опоры на забой): ПШ; ПС; ПГ.

Насосные установки (агрегаты): УН1-630-700А; НА-105-1; 2АН-500; 3АН-500 и 4АН-700.

Пескосместительные установки: 4ПА; УСП-50 (до 9т. песка).

Блок манифольда: 1БМ-700; 1БМ-700С.

Арматура устья: 2АУ-700; 2АУ-700СУ.

Автоцистерны: АЦН-8С-5337; АЦН-14С-65101; АЦ9-5337; АТК-8-65101 и другие вместимостью (6¸21) м3.

Насосные установки (агрегаты) 2АН-500, 3АН-500 и 4АН-700 предназначены для закачки рабочих жидкостей: жидкости разрыва, песконосителя и продавочной жидкости.

Тип и число насосных установок определяют по их технической характеристике, исходя из параметров обрабатываемого пласта: глубины залегания, толщины, проницаемости, степени естественной трещиноватости и т.д. Важное условие при этом - максимальное сокращение потребных установок, что упрощает обвязку устья скважины, управление процессом и снижает стоимость работ.

Насосная установка (агрегат) 4АН-700 монтируется на шасси грузового трехосного автомобиля КрАЗ-275Б1А и состоит из силовой установки 9УС-800, коробки передач ЗКПМ, трехплунжерного насоса 4Р-700, манифольда и системы управления.

Характеристика установок 2АН-500, 3АН-500 и 4АН-700 приведена в табл. 14.

Таблица 14 Характеристика насосных установок

Ско-рость

2АН-500

3АН-500

4АН-700


Диаметр сменных плунжеров, мм


100

115

100

120


Подача, л/с

Давление, МПа

Подача, л/с

Давление, МПа

Подача, л/с

Давление, МПа

Подача, л/с

Давление, МПа

I II III IV V VI

5,10 5,92 7,33 8,92 11,55 14,95

50,8 43,7 35,3 29,0 22,4 17,3

8,8 12,0 15,8 20,0 - -

50,0 37,0 29,0 23,0 - -

6,3 8,5 12,0 15,0 - -

50,0 36,6 26,0 20,7 - -

9,0 12,3 17,3 22,0 - -

71,9 52,9 37,4 29,8 - -


Пескосмесительная установка УСП-50 предназначена для транспортирования песка, приготовления песчано-жидкостной смеси и подачи ее на прием насосных установок при гидроразрыве пластов, а также при гидропескоструйной перфорации. Смонтирована она на шасси автомобиля КрАЗ-257Б1А и состоит из бункера, загрузочного и рабочего шнеков, манифольда, поста управления, гидросистемы управления шнеками и мешалки.

Ниже приведена техническая характеристика установки УСП-50.

Максимальная подача, м3/мин3,6Подача, т/мин 0,3

Вместимость бункера, м3 6,83Наибольшее давление, МПа0,2

Блоки манифольдов 1БМ-700 и 1БМ-700С предназначены для обвязки насосных установок между собой и с устьевым оборудованием при нагнетании жидкости в скважину в районах с умеренным климатом (1БМ-700) и с умеренным и холодным (при температуре до -50°С) климатом (1БМ-700С).

Каждый блок, смонтированный на автошасси ЗИЛ-131, состоит из напорного и приемораздаточного коллекторов, комплекта труб с шарнирными соединениями и подъемной стрелы.

Напорный коллектор состоит из трех клапанных коробок с шестью отводами, служащими для присоединения напорных линий насосных установок. С одной стороны к коробке прикреплен проходной кран с зубчатыми секторами, с другой - центральная труба, заканчивающаяся тройником с предохранительным клапаном и двумя патрубками с пробковыми кранами и накидными гайками для присоединения напорных трубопроводов, которыми оснащена арматура на устье скважины. Каждый отвод снабжен обратным клапаном.

Раздаточный коллектор - труба с приваренными к ней десятью ниппелями, к каждому из которых присоединен пробковый кран, предназначен для подачи рабочей жидкости к насосным установкам. На нем установлен предохранительный клапан многократного действия.

Блок манифольда оснащен насосно-компрессорными трубами вспомогательного напорного трубопровода с шарнирными коленами.

На платформе автомобиля предусмотрена площадка для перевозки устьевой арматуры, погрузка и разгрузка которой осуществляются поворотной стрелой блока манифольда.

Применение блока манифольда при цементировании скважин, гидравлическом разрыве пласта и гидропескоструйной перфорации сокращает время монтажа и демонтажа коммуникаций обвязки установок между собой и с устьевой головкой, а также значительно упрощает эту работу.

Универсальная арматура устья 2АУ-700 предназначена для обвязки насосных агрегатов с устьем скважины при гидравлическом разрыве пласта, гидропескоструйной перфорации, кислотных обработках и цементировании скважин.

Арматура состоит из трубной и устьевой головок, запорной арматуры и элементов обвязки головок. Укомплектована она кранами с цилиндрической пробкой, легко управляемыми при любом рабочем давлении.

3.2.2 Выбор оборудования для проведения гидравлического разрыва пласта (ГРП)

Технология ГРП включает: 1. Промывку скважины; 2. Спуск в скважину высокопрочных НКТ с пакером и якорем на нижнем конце; 3. Обвязку и опрессовку на 1,5- кратное рабочее давление устья и наземного оборудования; 4. Определение приемистости скважины закачкой жидкости; 5. Закачку в пласт жидкости-разрыва, жидкости-песконосителя и продавочной жидкости (собственно гидроразрыв); 6. Демонтаж оборудования и пуск скважины в работу.

Рис. 51. Технологическая схема гидравлического разрыва пласта 1 - трещина разрыва; 2 - продуктивный пласт; 3 - пакер; 4 - якорь; 5 - обсадная колонна; 6 - насосно-компрессорные трубы; 7 - арматура устья; 8 - манометр; 9 - блок манифольдов; 10 - станция контроля и управления процессом; 11 - насосные агрегаты; 12 - пескосмесители; 13 - емкости с технологическими жидкостями; 14 - насосные агрегаты

Давление нагнетания на устье скважины - Ру

Pу = Ргрп + DРmp - Рс ,

где Рс - гидростатическое давление столба жидкости в скважине; DРmp - давление на трение в трубах определяется по формуле Дарси-Вейсбаха (при необходимости с учетом увеличения потерь давления за счет наличия в жидкости песка); Ргрп - забойное давление разрыва пласта устанавливают по опыту или оценивают по формуле:

Ргрп = Рг + sр ,

где Рг = Н×rn×q - горное давление; sр - прочность породы пласта на разрыв в условиях всестороннего сжатия (sр=1,5¸З МПа); Н - глубина залегания пласта, м; rn - средняя плотность вышележащих горных пород равная 2200¸2600 кг/м3, в среднем 2300 кг/м3; g - ускорение свободного падения.

Пример: Н = 2000 м; sр = 2 МПа; rn = 2300 кг/м3

Ргрп = 2000´2300´9,8´10-6 + 2»47 МПа

Минимальный расход закачки жидкости должен составлять не менее 2 м3/мин и может быть оценен при образовании вертикальной и горизонтальной трещин соответственно по формулам:

;

,

где Qверт, Qгор - минимальные расходы, л/с; h - толщина пласта, см; Wверт, Wгор - ширина вертикальной и горизонтальной трещины, см; m - вязкость жидкости, МПа×с; Rт - радиус горизонтальной трещины, см.

В частности для расчетов можно принять следующие значения параметров: h»(5¸20) м; Wверт» (1¸20) см; Wгор» (1¸20) см; m» (50¸500) МПа×с; Rт» (50¸80) м.

Общая продолжительность процесса ГРП

, час,

где Vр - объем жидкости разрыва, м3, Vр» (5¸10) м3; Vжп - объем жидкости песконосителя, м3;

жп = Qп/Сп,

где Qп - количество закачиваемого песка [Q» (8¸10) т на один гидроразрыв; Сп - концентрация песка в 1 м3 жидкости, кг/м3; [Сп = (180¸400) кг/м3 для вязкой жидкости и Сп= (40¸50) кг/м3 для воды]; - объем продавочной жидкости; dвн - внутренний диаметр НКТ (и обвязки); lс - длина НКТ (и обвязки); Qср - средний расход жидкости, м3/час.

Потребное число агрегатов устанавливают, исходя из подачи одного агрегата qаг и максимального расхода Qmax жидкости в процессе ГРП с учетом одного резервного агрегата:

n = Qmax/qаг + 1 .

Давление гидроразрыва может доходить до 70¸100 МПа.

Пакеры и якори рассчитаны на перепад давления 30¸50 МПа, проходное сечение НКТ dвн = 36¸72 мм.

3.2.3 Оборудование для кислотных обработок

Неингибированную соляную кислоту от химических заводов до кислотной базы перевозят в железнодорожных цистернах, гуммированных специальными сортами резины и эбонитами, а ингибированную - в обычных железнодорожных цистернах, покрытых химически стойкой эмалью или лаком. Уксусную кислоту транспортируют также в металлических гуммированных цистернах, а плавиковую доставляют в эбонитовых баллонах.

Концентрированные товарные кислоты хранят в металлических стационарных резервуарах, вместимостью 25, 50; 100 м3, защищенных кислотоупорной футеровкой (покрытие эмалями, лаками, гуммирование).

Для доставки кислоты с базы на скважины используют автоцистерны-кислотовозы, внутреннюю поверхность которых гуммируют или защищают многослойным покрытием химически стойкими эмалями или лаками.

Агрегат позволяет производить, транспортировку и закачку кислотных растворов в нефтяные и нагнетательные скважины с целью воздействия на призабойную зону пласта в процессе их освоения и эксплуатации.

Рис. 52. Агрегат закачки АЗК-32

Главным преимуществом агрегата АЗК-32 является долговечность его цистерны, представляющей из себя две емкости, каждая из которых полностью выполнена из полиэтилена низкого давления (ПНД ГОСТ 16338-17), устойчивого к воздействию кислот.

Состав и основные характеристики АЗК- 32

База а/м УРАЛ-4320-0001912-30

Тип насоса плунжерный Н-200К´50

Привод насоса от тягового двигателя автомобиля

через спец. трансмиссию

Давление нагнетания

максимальное, МПа 32,0

Производительность, м3/час (л/с) 32,4 (9,0)

Вместимость цистерны, м3 4

Масса транспортируемой агрегатом

жидкости, кг, не более 5500

Закачиваемая жидкость раствор ингибированной соляной

кислоты, соляной в смеси с плавиковой

и уксусной кислотами, серной кислоты,

неагрессивные жидкости

Габаритные размеры, мм, не более 9200´2500´3200

3.2.4 Новое оборудование для воздействия на пласт

В настоящее время отечественными и зарубежными предприятиями и фирмами выпускается много нового оборудования для воздействия на пласт. Ниже приведены примеры новых разработок.

Оборудование для вибросейсмического воздействия на продуктивные пласты

АООТ «Юганскнефтегаз», СКБ прикладной геофизики СО РАН и АО «Элсиб» предлагают новую технологию и технические средства повышения нефтеотдачи пластов и интенсификации нефтедобычи - вибросейсмическое воздействие на продуктивные пласты с земной поверхности:

имеет объемный характер воздействия на нефтяную залежь и предназначено для повышения нефтеотдачи и интенсификации нефтедобычи за счет снижения влияния зональной и послойной неоднородности на отдачу и приемистость продуктивных пластов, улучшения охвата разработкой, снижения обводненности добываемой жидкости и улучшения физико-химических свойств пластовой нефти;

оказывает положительное влияние на разработку всех продуктивных пластов многопластовых месторождений с радиусом действия 3¸5 км и более.

не нарушает экологию и безопасно для инженерных сооружений и промыслового оборудования;

апробирована на нескольких высокообводненных месторождениях с терригенными коллекторами и глубиной залегания продуктивных пластов до 2,5¸3 км, при этом дополнительная добыча нефти обеспечивается в основном за счет снижения на 20¸40% обводненности добываемой продукции скважин при себестоимости в 3¸4 раза меньшей, чем у известных химических методов повышения нефтеотдачи пластов;

может применяться для интенсификации добычи и повышения нефтеотдачи неоднородных продуктивных пластов с карбонатными и терригенными коллекторами различной проницаемости на разных стадиях эксплуатации месторождений маловязких, вязких и высоковязких нефтей, а также нефтяных оторочек газонефтяных залежей, разрабатываемых как с поддержанием пластового давления, так и в режиме его падения.

Механизм вибросейсмического воздействия на продуктивные пласты с земной поверхности определяет возможность его применения совместно с другими известными способами повышения нефтеотдачи для взаимного усиления эффективности.

Применение установок гибкой трубы (Hydra Rig, УПД-5М) [7].

Установки гибкой трубы могут применяться при газлифтной добыче, очистке скважины от песка, при цементировочных работах, бурении, резке НКТ, картонажных работах в горизонтальных скважинах, канатных работах, установке мостовых пробок, скважинных закачках со сдвоенными пакерами, кислотных обработках (рис. 53).

Рис. 53. Кислотная обработка гибкой трубой

4. Оборудование для механизации работ при обслуживании нефтепромыслов

В процессе эксплуатации и ремонта скважин требуется выполнение значительных объёмов работ, направленных на повышение добычи нефти и газа. Для механизации наиболее трудоёмких работ серийно выпускается комплекс агрегатов для эксплуатации, обслуживания и ремонта нефтепромыслового оборудования [7].

Агрегат для подготовительных работ при ремонте скважин типа 2 ПАРС (рис. 54) на базе трактора Т-130МГ-1 выполняет работы по планировке площадок для установки агрегатов ремонта скважин, нарезанию щелей под якоря оттяжек, демонтажу и монтажу устьевого оборудования, расчистке подъездных путей к скважинам и другим промысловым объектам.

Агрегат имеет бульдозерный отвал 1, гидравлический кран 5, механизм для разработки грунта, состоящий из редуктора 8, режущего органа 7 с механизмом его подъема 6, прицепного устройства 9, предохранительного клапана 4 и механизма управления 3.

Рис. 54. Агрегат 2ПАРС

Самопогрузчик промысловый ПС-2,5 предназначен для механизированной погрузки, перевозки и разгрузки нефтепромысловых грузов размерами не более 4´1,8´2,4 м в условиях умеренного микроклиматического района по ГОСТ 16350-80.

Рис. 55. Самопогрузчик промысловый ПС-2,5

Агрегат для перевозки штанг АПШ-1,5 (где АПШ - агрегат для перевозки штанг; 1,5 - грузоподъемность устройства в т). Агрегат предназначен для механизированной погрузки, перевозки и разгрузки длинномерного технологического нефтепромыслового оборудования (глубинно-насосных штанг, насосно-компрессорных труб и т.д.), а также для перевозки строительных и др. длинномерных материалов в условиях умеренного макроклиматического района по ГОСТ 16350-80 при температуре окружающего воздуха от минус 40°С до плюс 40°С по всем видам дорог, рассчитанных на пропуск автомобилей с осевой нагрузкой 60 кН.

В состав агрегата входят:

. Седельный тягач на базе УРАЛ 44202 и шасси полуприцепа;

. Грузоподъемное устройство типа МГА-65 для погрузочно-разгрузочных работ;

. Комплект захватных устройств и принадлежности для погрузки штанг;

. Грузоподъемность, кг - от 5494 до 8100;

а) максимальная грузоподъемность, кг - 1500;

б) вылет стрелы, м - не менее 7,1;

. Габаритные, размеры, м, не более:

длина - 17,1;

ширина - 2,5;

высота - 3,8;

. Масса агрегата, кг - полная 23286;

. Погрузка и разгрузка - двусторонняя.

Агрегат 3 АРОК-П (АРК-П) (рис. 56) предназначен для ремонта и обслуживания станков-качалок в нефтяной промышленности в условиях умеренного макроклиматического района.

Рис. 56. Агрегат 3 АРОК-П (АРК-П)

Установка передвижная АНР-1М предназначена для ремонта и профилактического обслуживания устьевого и наземного нефтегазопромыслового оборудования в условиях умеренного и холодного климатических районов.

Монтажной базой установки является шасси автомобиля КрАЗ-255Б или КрАЗ-260 повышенной проходимости. Установка представляет собой самоходную полевую мастерскую (СПМ), укомплектованную грузоподъемным краном и отапливаемым кузовом с естественной и принудительной вентиляцией (для перевозки ремонтной бригады из 7¸8 чел.).

Агрегат для перевозки установок ЭЦН АТЭ-6М (рис. 57) смонтированный на шасси автомобиля КрАЗ-260Г или КАМАЗ-43101, предназначен для механизированной погрузки, разгрузки и перевозки оборудования установок ЭЦН, состоящих из погружного насоса и электродвигателя, кабельного барабана, электротрансформатора и станции управления. Для погрузки и разгрузки оборудования на платформу агрегата установлен гидравлический кран. Погрузка барабана с кабелем производится с помощью лебедки путем накатывания его по откидным трапам на качающуюся раму. Крепление барабана при транспортировке осуществляется растяжками.

Рис. 57. Агрегат АТЭ-6М: 1 - шасси; 2 - стойка; 3 - лебедка; 4 - искрогаситель; 5 - гидравлический кран; 6 - рама агрегата; 7 - качающаяся рама; 8 - откидные трапы

Разгрузка кабельного барабана осуществляется путем его скатывания под действием собственного веса по качающейся раме с откидным трапом при наклоне качающейся рамы с помощью гидроцилиндров двойного действия.

Агрегат АЗА-3 (рис. 58) предназначен для механизированной установки винтовых и вертикальных закладных анкеров в прочных грунтах. При этом агрегат, кроме работ по заглублению-завинчиванию винтовых анкеров, извлечению винтовых анкеров обратным вращением, выполняет и бурение шурфов под закладные анкеры. Агрегат смонтирован на шасси автомобиля 1 высокой проходимости ЗИЛ-131А, включает в себя коробку отбора мощности 2, коробку передач 3.

Рис. 58. Агрегат АЗА-3: 4 - карданные валы; 5 - платформа для инструмента; 6 - угловой редуктор; 7 - верхний редуктор; 8 - мачта; 10 - инструмент винтовых анкеров и шнековых буров; 9 - вращатель

Агрегат для обслуживания подъемных установок 2АОП на базе грузового автомобиля УРАЛ-4320П предназначен для технического обслуживания и текущего ремонта подъемных установок, используемых при текущем и капитальном ремонте нефтяных и газовых скважин.

Агрегат АТЭ-95 предназначен для ремонта и технического обслуживания подъемного оборудования в нефтяной промышленности. Шасси - автомобиль «КАМАЗ-4310».

Агрегат маслозаправочный АМЗ-6.6-4310 предназначен для транспортирования топлива, жидких масел и проведения операций по опорожневанию и заправки маслом редукторов станков-качалок и другого оборудования.

Агрегат сервисного обслуживания электротехнического оборудования АСЭ-1 предназначен для комплексного обслуживания электротехнического оборудования на объектах нефтегазовой отрасли.

Агрегат для обслуживания промысловых электроустановок АОЭ-01 создан на базе автомобиля УРАЛ-43103 для технического обслуживания и текущего ремонта промысловых электроустановок и сетей до 6 кВ.

Машина обслуживания электроцехов МОЭЦ-1 предназначена для обслуживания электроцехов в условиях умеренного микроклиматического района.

Трубовоз механизированный ТВМ (рис. 59) предназначен для длинномерных (до 12 м) грузов (труб, турбобуров и другого длинного сортимента) с механизированной погрузкой в условиях умеренного макроклиматического района по ГОСТ 16350-80 при температуре окружающего воздуха от -40°С до +40°С по всей сети дорог, рассчитанных на пропуск автомобилей с осевой нагрузкой 6 т, а также местности.

Рис. 59. Трубовоз ТВМ

Установки для перевозки и перемотки кабеля УНРКТ-2М и УПК-2000. Установка для намотки и размотки кабеля при спуске и подъеме УЭЦН на нефтяных скважинах УНРКТ-2М смонтирована на раме и имеет меньшие размеры и массу по сравнению с УПК-2000.

Предназначена для: намотки кабеля на барабан; размотки кабеля с барабана при спуско-подъемных операциях на эксплуатационной скважине.

Агрегат для ремонта водоводов АНРВ-1 предназначен для аварийного и планово-предупредительного ремонтов нефтепромысловых водоводов систем поддержания пластового давления и технического водоснабжения в полевых условиях.

Агрегат представляет собой самоходную мастерскую на автомобильном шасси КрАЗ-255Б, укомплектованную гидроприводным грузоподъемным краном, отапливаемым кузовом, автономной электроэнергетической установкой, электросварочным преобразователем, комплектом баллонов, аппаратуры и инструмента для газопламенной обработки.

Агрегат для обслуживания замерных установок АЗУ предназначен для технического обслуживания и текущего ремонта групповых замерных установок и дожимных насосных станций, а также другие подобных технологических установок.

5. Оборудование для сборки и подготовки нефти

Унифицированная схема нефтегазосбора приведена в приложении 1.

5.1 Трубопроводы


Трубы при добыче применяются для крепления стволов скважин и для образования каналов внутри скважин, подвески оборудования в скважине, прокладки трубопроводов по территории промысла.

Основные группы труб: 1 - насосно-компрессорные (НКТ); 2 - обсадные; 3 - бурильные; 4 - для нефтепромысловых коммуникаций.

Насосно-компрессорные трубы. При всех способах эксплуатации скважин подъем жидкости и газа на поверхность происходит обычно по НКТ, которые применительно к способам эксплуатации еще называют фонтанными, компрессорными, насосными, подъемными или лифтовыми.

Насосно-компрессорные трубы используются также для различных технологических процессов (например, для солянокислых обработок пластов, разбуривания цементных пробок и т.д.).

В табл. 15 представлены основные размеры НКТ, предусмотренные существующими стандартами.

Таблица 15

Условный диаметр трубы, мм

27

33

42

48

60

73

89

102

114

Толщина стенки, мм

3

3,5

3,5

4,0

5,0

6,5¸7,0

8,0

6,5

7,0


Отечественная промышленность выпускает НКТ диаметром 60, 73, 89, 114 мм и муфты к ним из стали группы прочности Д, К и Е, механические свойства которых приведены в табл. 16.

Таблица 16

Показатели

Группа прочности стали


Д

К

Е

Временное сопротивление sв, МПа

655

687

699

Предел текучести sт, МПа: не менее

379

491

552

 не более

552

-

758

Относительное удлинение, d, % не менее

14,3

12,0

13,0


Обсадные трубы служат для крепления ствола скважины. По ГОСТ 632-80 отечественные обсадные трубы выпускаются следующих диаметров и толщины (см. табл. 17).

Таблица 17

Æ, мм

114

127

140

146

168

178

194

219

245

d, мм

5,2¸10,2

5,6¸10,2

6,2¸10,5

6,5¸9,5

7,3¸12,2

5,9¸15,0

5,2¸10,2

7,6¸15,1

7,9¸15,9

273

299

324

340

351

377

406

426

473

508

7,1¸16,5

8,5¸14,8

8,5¸14,8

8,4¸15,4

9,0¸12,0

9,0¸12,0

9,5¸16,7

10,0¸12,0

11,1¸16,1

11,1¸16,1


Группа прочности стали Д, К, Е, Л, М, Т. Трубы маркируются клеймением и краской. При спуске в скважину обсадные трубы шаблонируют.

Обсадные трубы могут применяться вместо НКТ, например, при отборе 5000¸7000 м3/сут. воды из скважин большого диаметра. Иногда для этого используют бурильные трубы.

Бурильные трубы приспособлены к длительному свинчиванию-раэвинчиванию. Промышленность выпускает бурильные трубы длиной 6±0,6; 8±0,6; 11,5±0,9 м, наружным диаметром 60, 73, 89, 102 мм. Трубы диаметром 114, 127, 140 и 168 мм выпускают длиной 11,5±0,9 м.

Бурильные трубы изготавливаются из той же стали, что и обсадные. Для уменьшения веса бурильной колонны применяют алюминиевые бурильные трубы (АБТ), изготавливаемые из сплава Д16. Применяются колонны гибких труб с наружным диаметром 27/8” для бурения забойными двигателями.

Для нефтепромысловых коммуникаций используются электросварные, горячекатанные стальные трубы, пригодные по прочности и гидравлическому сопротивлению:

трубы стальные бесшовные, горячедеформированные - ГОСТ 8732-78, наружным диаметром от 20 до 550 мм, с толщиной стенок от 2,5 мм и более сталь 10; 10Г 2; 20, 12ХН 2А и др.);

трубы стальные сварные для магистральных газонефтепроводов - ГОСТ 20295-85, диаметром от 159 до 820 мм (сталь К34, К50, К60 и др.);

отремонтированные трубы нефтяного сортамента (НКТ, обсадные, бурильные);

для выкидных линий могут применяться гибкие непрерывные колонны труб диаметром до 27/8”.

Трубопроводы системы сбора и подготовки нефти и газа предназначены для транспортировки продукции скважин от их устья до сдачи товарно-транспортным организациям, а также для перемещения ее в технологических установках, а трубопроводы системы ППД - для подачи сточных вод от УПВ до нагнетательных скважин. Выкидные линии, нефте- и газосборные коллекторы являются частью общей системы сбора и их общая протяженность достигает сотен километров только лишь по одному промыслу.

Трубопроводы классифицируются по следующим признакам.

По назначению: а) выкидные линии, транспортирующие продукцию скважины от ее устья до групповой замерной установки; б) нефтегазосборные коллекторы, расположенные от АГЗУ до ДНС; в) нефтесборные коллекторы, расположенные от ДНС до центрального пункта сбора (ЦПС); г) газосборные коллекторы, транспортирующие газ от пункта сепарации до компрессорной станции, обычно расположенной рядом с ЦПС.

По величине напора: а) высоконапорные (до 6,27 МПа); б) средненапорные (до 1,55 МПа); в) низконапорные (до 0,588 МПа) и г) безнапорные (самотечные).

По типу укладки: а) подземные; б) наземные; в) подвесные; г) подводные.

По гидравлической схеме: а) простые, не имеющие ответвлений; б) сложные, имеющие ответвления, к которым относятся также замкнутые (кольцевые) трубопроводы.

По характеру заполнения сечения: а) трубопроводы с полным заполнением сечения трубы жидкостью и б) трубопроводы с неполным заполнением сечения.

Полное заполнение сечения трубы жидкостью обычно бывает в напорных трубопроводах, а неполное заполнение может быть как в напорных, так и в безнапорных трубопроводах. С полным заполнением сечения жидкостью чаще бывают нефтепроводы, транспортирующих товарную нефть, т.е. без газа, и реже - выкидные линии, где имеет место высокое давление. Нефтесборные коллекторы обычно работают с неполным заполнением сечения трубы нефтью, т.е. верхняя часть сечения коллектора занята газом, выделившимся в процессе движения нефти.

Трубопроводы, по которым подается вода в нагнетательные скважины с целью поддержания пластового давления, подразделяются на следующие категории: подводящие, прокладываемые от УПВ до кустовых насосных станций (КНС); разводящие, прокладываемые от КНС до нагнетательных скважин.

Для нефтепромысловых коммуникаций используются трубы: стальные (сварные, горячекатанные, прерывные и на барабанах), комбинированные (футерованные, металло-пластмассовые), полимерные (стеклопластиковые и др.).

Диаметры всех трубопроводов определяются гидравлическими расчетами.

Трубопроводы проектируются и изготавливаются в соответствии с правилами, установленными Госгортехнадзором. Исключение составляют трубопроводы для пара, эксплуатируемые с Рабс < 0,2 МПа, для воды с температурой до 120°С, временно устанавливаемые трубопроводы со сроком действия до 1 года и некоторые другие.

Расчет трубопроводов для системы сбора на механическую прочность сводится к определению толщины стенки, которая была бы минимальной, но в тоже время не допускала разрушения труб при эксплуатации.

Минимальная толщина стенки трубы рассчитывается по формуле:

, мм,

где Ри - давление, при котором производится опрессовка труб, МПа; Dвн - номинальный внутренний диаметр трубы, мм; sдоп - допускаемое напряжение, принимаемое равным 0,9s* (s* - нормативное напряжение растяжения материала трубы, принимаемое по минимальному значению предела текучести); j - коэффициент, учитывающий двухосное напряженное состояние труб, определяемый по формуле [6]

,

где Ss - абсолютное значение напряжений определяемых по расчетным нагрузкам и воздействиям.

Для прямолинейных и упруго-изогнутых участков подземных и наземных трубопроводов при отсутствии продольных и поперечных перемещений, просадок и пучения грунта напряжения от воздействия температуры и внутреннего давления Рвн.

,

a - коэффициент линейного расширения (a = 12×10-6 1/°C);- модуль упругости металла, равный 2,1×10-5 МПа;

Dt - температурный перепад, принимаемый положительным при нагревании.

Толщину труб следует принимать не менее 1/140 величины наружного диаметра труб и не менее 4 мм. Расчетная толщина стенки округляется в большую сторону до ближайшей в сортаменте труб.

5.2 Оборудование для замера продукции скважин


Для автоматического измерения дебита скважин при однотрубной системе сбора нефти и газа, для контроля за работой скважины но наличию подачи жидкости, а также для автоматической или по команде с диспетчерского пункта блокировки скважины или установки в целом при возникновении аварийных ситуаций применяют блочные автоматизированные групповые замерные установки, в основном двух типов: «Спутник А» и «Спутник Б».

Примеры модификации установок первого типа: «Спутник А-16-14/400», «Спутник А- 25 -10/1500», «Спутник А-40-14/400».

В указанных шифрах первая цифра обозначает рабочее давление в кгс/см2, на которое рассчитана установка, вторая - число подключенных к групповой установке скважин, третья - наибольший измеряемый дебит в м3/сут.

«Спутник А» состоит из двух блоков: замерно-переключающего блока, КИП и автоматики.

Принципиальная схема установки «Спутник А» приведена на рис. 60.

Рис. 60. Принципиальная схема автоматизированной групповой замерной установки «Спутник А»

Продукция скважин по выкидным линиям 1, последовательно проходя обратный клапан КО и задвижку ЗД, поступает в переключатель скважин типа ПСМ-1М, после которого по общему коллектору 2 через отсекатель ОКГ-4 попадает в сборный коллектор 3, подключенный к системе сбора.

В переключателе ПСМ-1М продукция одной из скважин через замерный отвод 4 с отсекателем ОКГ-3 направляется в двухъемкостный замерный гидроциклонный сепаратор ГС, где газ отделяется от жидкости. Газ по трубопроводу 5 проходит через поворотный затвор ЗП, смешивается с замеренной жидкостью и по трубопроводу 6 поступает в общий сборный коллектор 3.

Отделившаяся в верхней части газосепаратора ГС жидкость поступает в нижнюю емкость и накапливается в ней. По мере повышения уровня нефти поплавок П поднимается и по достижении верхнего заданного уровня воздействует на поворотный затвор, перекрывая газовую линию 5. Давление в сепараторе повышается и жидкость из сепаратора начинает вытесняться через счетчик расхода ТОР-1. При достижении жидкостью нижнего уровня ЗП открывает газовую линию, давление в сепараторе падает, и начинается новый цикл накопления жидкости в нижней емкости.

Измеряемый дебит скважины (в м3) фиксируется электромагнитным счетчиком блока управления. Сигналы на этот блок поступают от счетчика ТОР-1 [8].

Переключение скважин на замер осуществляется блоком управления периодически. Длительность замера определяется установкой реле времени. При срабатывании реле времени включается электродвигатель гидропривода ГП-1, и в системе гидравлического управления повышается давление. Гидроцилиндр переключателя ПСМ-1 под воздействием давления гидропривода ГП-1 перемещает поворотный патрубок переключателя, и на замер подключается следующая скважина.

Продолжительность замера устанавливается в зависимости от конкретных условий - дебита скважины, способов добычи, состояния разработки месторождения.

В установке «Спутник А» турбинный счетчик расхода одновременно служит сигнализатором периодического контроля подачи скважины. При отсутствии подачи скважины, поставленной на замер, блок местной автоматики выдает аварийный сигнал в систему телемеханики об отсутствии за определенный период сигналов от счетчиков ТОР-1.

Аварийная блокировка скважин в установке происходит при давлении в общем коллекторе выше допустимого. В этом случае датчик давления ДД, установленный на общем коллекторе, воздействует на клапан КСП-4, давление в системе гидравлического управления отсекателей ОКГ-З и ОКГ-4 падает, и они перекрывают трубопроводы 2 и 4.

Срабатывание отсекателей приводит к повышению давления в переключателе ПСМ-1 и выкидных линиях и к остановке скважин: фонтанных - за счет отсекателей, установленных на выкиде; механизированных - за счет отключения электропривода.

На установках типа «Спутник Б» принцип измерения продукции скважин тот же. Примеры обозначения их модификаций: «Спутник Б-40-14/400», «Спутник Б-40-24/400». Первая модификация рассчитана на подключение 14 скважин, вторая - 24.

В отличие от «Спутника А» в «Спутнике Б» предусмотрены: возможность раздельного сбора обводненной и не обводненной продукции скважин, определение содержания воды в ней, измерение количества газа, а также дозирование химических реагентов в поток нефти и прием резиновых шаров, запускаемых на скважинах для депарафинизации выкидных линий.

Для измерения количества продукции малодебитных скважин находят применение: установки типа БИУС-40; «Спутник АМК-40-8-7,5; АСМА; АСМА-СП-40-8-20; АСМА-Т; Микрон» и др.

Установки типа БИУС-40 (рис. 61) разработаны в четырех модификациях БИУС-40-50, БИУС-40-2-100, БИУС-40-3-100 и БИУС-40-4-100 для подключения собственно одной, двух, трех и четырех скважин.

Установка БИУС-40 состоит из технологического блока и блока управления.

Газожидкостная смесь по выкидному коллектору скважин и трубопроводу 11 поступает в сепарационную ёмкость 1, где происходит отделение газа от жидкости. Газ отводится в выходной трубопровод 9 и смешивается с жидкостью. Расход газа для замера газового фактора, определяется переносным дифманометром по диафрагме 4. При определенном уровне накопленной в сепараторе жидкости поплавок через систему рычагов перекрывает заслонку 3 на газовой линии и давление в сепараторе повышается. При достижении перепада давления между сепаратором и выходным трубопроводом, установленного регулятором расхода 15, клапан последнего открывается и жидкость под избыточным давлением продавливается через счетчик ТОР-1-150 16 в выходной трубопровод.

Рис. 61. Принципиальная схема установки БИУС-40

Регулятор расхода, независимо от дебита подключенной скважины, обеспечивает циклическое прохождение жидкости через счетчик с расходами, указанными в документации счетчика. При определенном нижнем уровне поплавок через систему рычагов открывает заслонку, давление в сепараторе снижается, клапан регулятора расхода перекрывает нефтяную линию и цикл повторяется. Счетчик ТОР-1-50 интегратором суммирует замеренные сливаемые порции жидкости и преобразовывает их объёмы в электрический сигнал, регистрируемый в счетчике блока управления. При повышении или понижении допустимого давления на установке электро-контактный манометр 14 с блоком управления формирует аварийный сигнал, загорается лампочка в блоке управления, и при наличии КП телемеханики сигнал может передаваться в диспетчерский пульт. Предохранительный клапан 2 не допускает превышение рабочего давления внутри емкости. Обогреватель 8 и вентилятор 10 обеспечивают в зимнее время нормальную работу установки. Перегородка 5 и сетка 17 защищает турбинку счетчика от инородных тел. Инородные тела и парафин, накопленные в грязевом отсеке, периодически сбрасываются через задвижку 6 в выходной трубопровод. Решетка 18 служит для очистки газа от капельной жидкости. При необходимости отключения установки продукция скважины направляется по байпасу закрытием задвижек 13 и 7 и открытием задвижки 12.

В настоящее время выпускается более 10 модификаций замерных установок типа «Спутник».

5.3 Оборудование для отделения нефти от газа и свободной воды


В процессе подъема жидкости из скважин и транспорта ее до центрального пункта сбора и подготовки нефти, газа и воды постепенно снижается давление и из нефти выделяется газ. Объем выделившегося газа по мере снижения давления в системе увеличивается и обычно в несколько десятков раз превышает объем жидкости. Поэтому при низких давлениях их совместное хранение, а иногда и сбор становятся нецелесообразными. Приходиться осуществлять их раздельный сбор и хранение.

Процесс отделения газа от нефти называется сепарацией. Аппарат, в котором происходит отделение газа от продукции нефтяных скважин, называют газосепаратором.

В современных системах сбора нефти и газа газосепараторами оснащаются все блочные автоматизированные групповые замерные установки (за исключением установок, оснащенных массовыми расходомерами), дожимные насосные станции и центральные пункты сбора и подготовки нефти, газа и воды.

На блочных автоматизированных замерных установках отделение газа от нефти осуществляется только с целью раздельного измерения дебита скважин по жидкости и газу. После измерения нефть и газ снова смешиваются и подаются в общий нефтегазовый коллектор.

Часто отвод свободного газа от нефти осуществляется в нескольких местах. Каждый пункт вывода отсепарированного газа называется ступенью сепарации газа.

Многоступенчатая сепарация применяется для постепенного отвода свободного газа по мере снижения давления. Она применяется при высоких давлениях на устье скважин.

Нефтегазовую смесь из скважины направляют сначала в газосепаратор высокого давления, в котором из нефти выделяется основная масса газа. Этот газ может транспортироваться на большие расстояния под собственным давлением.

Из сепаратора высокого давления нефть поступает в сепаратор среднего и низкого давления для окончательного отделения от газа.

Сепарация газа от нефти может происходить под влиянием гравитационных, инерционных сил и за счет селективной смачиваемости нефти. В зависимости от этого и различают гравитационную, инерционную и пленочную сепарации, а газосепараторы - гравитационные, гидроциклонные и жалюзийные.

Гравитационная сепарация осуществляется вследствие разности плотностей жидкости и газа, т.е. под действием их силы тяжести. Газосепараторы, работающие на этом принципе, называются гравитационными.

Инерционная сепарация происходит при резких поворотах газонефтяного потока. В результате этого жидкость, как более инерционная, продолжает двигаться по прямой, а газ меняет свое направление. В результате происходит их разделение. На этом принципе построена работа гидроциклонного газосепаратора, осуществляемая подачей газонефтяной смеси в циклонную головку, в которой жидкость отбрасывается к внутренней поверхности и затем стекает вниз в нефтяное пространство газосепаратора, а газ двигается по центру циклона.

Пленочная сепарация основана на явлении селективного смачивания жидкости на металлической поверхности. При прохождении потока газа с некоторым содержанием нефти через жалюзийные насадки (каплеуловители) капли нефти, соприкасаясь с металлической поверхностью, смачивают ее и образуют на ней сплошную жидкостную пленку. Жидкость на этой пленке держится достаточно хорошо и при достижении определенной толщины начинает непрерывно стекать вниз. Это явление называется эффектом пленочной сепарации. Жалюзийные сепараторы работают на этом принципе.

Наибольшее распространение на нефтяных месторождениях получили горизонтальные сепараторы, характеризующие повышенной пропускной способностью при одном и том же объеме аппарата, лучшим качеством сепарации, простотой обслуживания и осмотра по сравнению с вертикальными.

В настоящее время выпускаются двухфазные горизонтальные сепараторы типа НГС и типа УБС. Наряду с двухфазными организовано производство трехфазных сепараторов, которые, помимо отделения газа от нефти, служат также для отделения и сброса свободной воды. К трехфазным сепараторам относятся установки типа УПС. Перечисленные сепарационные установки служат в качестве технологического оборудования центральных пунктов сбора и подготовки нефти, газа и воды (ЦППН).

В тех случаях, когда на месторождении или группе месторождений пластовой энергии недостаточно для транспортировки нефтегазовой смеси до ЦППН, применяются сепарационные установки с насосной откачкой или дожимные насосные станции (ДНС).

Сепараторы типа НГС предназначены для отделения газа от продукции нефтяных скважин на первой и последующей ступенях сепарации нефти, включая горячую сепарацию на последней ступени.

Выпускается нормальный ряд сепараторов НГС с пропускной способностью по жидкости 2000¸30000 т/сут.

В табл. 18. приведены основные технические данные сепарационных установок типа НГС.

Сепаратор типа НГС (рис.62) состоит из горизонтальной емкости 1, оснащенной патрубками для входа продукции 2, для выхода нефти 10 и газа 7. Внутри емкости непосредственно у патрубка для входа нефтегазовой смеси смонтированы распределительное устройство 3 и наклонные желоба (дефлекторы) 4 и 5. Возле патрубка, через который осуществляется выход газа, установлены горизонтальный 8 и вертикальный 6 сетчатые отбойники. Кроме того, аппарат снабжен штуцерами и муфтами для монтажа приборов сигнализации и автоматического регулирования режима работы.

Газонефтяная смесь поступает в аппарат через входной патрубок 3, изменяет свое направление на 90°, и при помощи распределительного устройства нефть вместе с остаточным газом направляется сначала в верхние наклонные желоба 4, а затем в нижние 5. Отделившийся из нефти газ проходит сначала вертикальный каплеотбойник 6, а затем горизонтальный 8. Эти каплеотбойники осуществляют тонкую очистку газа от капельной жидкости (эффективность свыше 99%), что позволяет отказаться от установки дополнительного сепаратора газа. Выделившийся в сепараторе газ через патрубок 7, задвижку и регулирующий клапан (на рис.62 не показаны) поступает в газосборную сеть.

Таблица 18

Установка

Наибольшая пропускная способность по нефти, т/сут

Наибольшая пропускная способность по газу, тыс. м3/сут

НГС6-1400 НГС16-1400 НГС25-1400 НГС40-1400 НГС64-1400

  2000

150 260 330 420 560

НГС6-1600 НГС16-1600 НГС25-1600 НГС40-1600 НГС64-1600

  5000

340 590 750 960 1260

НГС6-2200 НГС16-2200 НГС25-2200 НГС40-2200 НГС64-2200

  10000

600 1000 1300 1700 2200

НГС6-2600 НГС16-2600 НГС25-2600 НГС40-2600

  20000

1000 1800 2300 3000

НГС6-3000 НГС16-3000 НГС25-3000 НГС40-3000

  30000

1500 2700 3400 4400


В указанных цифрах первая цифра обозначает рабочее давление, вторая цифра - диаметр сепаратора (в мм).

Рис. 62. Нефтегазовый сепаратор типа НГС

Отсепарированная нефть, скопившаяся в нижней секции сбора жидкости сепаратора, через выходной патрубок 10 направляется на следующую ступень сепарации или, в случае использования аппарата на последней ступени, в резервуар. Для устранения возможности воронкообразования и попадания газа в выкидную линию над патрубком выхода нефти устанавливается диск 9.

Комплекс приборов и средств автоматизации обеспечивает:

автоматическое регулирование рабочего уровня нефтегазовой смеси в сепараторе;

автоматическую защиту установки (прекращения подачи нефтегазовой смеси в сепаратор) при:

а) аварийном повышении давления в сепараторе;

б) аварийно-высоком уровне жидкости в сепараторе;

сигнализацию в блок управления об аварийных режимах работы установки.

Сепаратор нефтегазовый НГС по ГП 805 предназначен для сепарации газонефтяной смеси на первой, промежуточной и концевой ступенях в системах сборов и установках подготовки нефти.

Техническая характеристика

Объем аппарата, м3 6,3; 12,3; 25; 50; 100; 150

Производительность по нефти, м3/сут,

не более 20000

Рабочее давление, МПа 0,4; 0,8; 1,4; 2,2; 3,6

Содержание капельной жидкости

в потоке газа на выходе, г/м3 не более 0,1

Содержание свободного газа в

нефти на выходе, % об. 1

Масса, кг, не более 93000

Сепаратор НГС по ГП 805 разработан взамен НГС по ГП 496 и имеет следующие преимущества (на примере аппарата V = 100 м3):

Таблица 19

Показатели

НГС по ГП 496

НГС по ГП 805

Производительность по нефти, м3/сут Объем аппарата, м3 Производительность по газу, м3/сут, Р=0,7 МПа Содержание капельной жидкости в потоке газа на выходе, г/м3

10000 100 1000000 2¸3

12000 100 1500000 0,1



Сепараторы центробежные вертикальные СЦВ-500М, СЦВ-1000М (А.С. 787065, 986461) предназначены для окончательной очистки газа от капельной жидкости после газонефтяных сепараторов.

Сравнительная характеристика сепараторов СЦВ-1000/16 и НГС при использовании его в качестве газосепаратора.

Таблица 20

Показатели

НГС-1-16-3000 по ГП 496

СЦВ-1000/16

Производительность по газу, млн. м3/сут Рабочее давление, МПа Объем аппарата, м3 Масса, кг Степень очистки газа, г/м3

2,5 1,6 100 31000 0,5

2,5 1,6 3 2500 0,05


Установки блочные сепарационные УБС-3000/6; УБС-1500/6; УБС-1500/14; УБС-6300/6; УБС-6300/14; УБС-16000/6; УБС-10000/6 обычно состоят из технологической емкости, каплеотбойника, депульсатора, технологической обвязки трубопроводов, запорно-регулирующей арматуры и системы автоматизации (рис. 63, табл. 21).

Таблица 21

Шифр установки

Условный проход, мм


Ду1

Ду2

Ду3

Ду4

Ду5

Ду6

Ду7

Ду8

УБС-1500/6 УБС-1500/14 УБС-6300/6 УБС-6300/14 УБС-10000/6 УБС-10000/ 14 УБС-16000/6 УБС-16000/14

500 500 500 500 600 600 600 600

500 500 500 500 700 700 700 700

125 125 200 200 300 300 300 300

150 150 250 250 300 300 300 300

50 50 80 100 100 150 100 150

150 150 250 250 300 300 300 300

250 250 400 400 400 400 500 500

80 80 150 150 150 150 150 150



Рис. 63. Принципиальная схема сепарационной блочной установки: 1 - нефтегазовая смесь; 2 - газ; 3 - нефть; 4 - дренаж; 5 - пар; I - депульсатор; II - каплеотбойник; III - технологическая емкость

Технологическая емкость, депульсатор, каплеотбойник с устройством предварительного отбора газа системой обвязки трубопроводами и запорно-регулирующей арматуры объединены в сепарационный блок. Для обслуживания установки предусмотрена площадка.

Работа установки основана на предварительном отборе газа из газонефтяной смеси в депульсаторе I, окончательном разгазировании в технологической емкости III и окончательной очистке газа от капельной жидкости в каплеотбойнике II. Газонефтяная смесь от скважин поступает в депульсатор I, где происходит разделение расслоившихся в подводящем трубопроводе нефти и газа. Отделившийся газ отводится в каплеотбойник II, а нефть поступает в технологическую емкость III. В каплеотбойнике газ проходит через струнные отбойники, очищается от капельной нефти и через регулятор давления направляется в газопровод. Собранная в каплеотбойнике жидкость стекает по патрубкам в технологическую емкость. Из последней нефть проходит через две перегородки из просечно-вытяжных листов, способствующих вытеснению промежуточного слоя между пузырьками газа, их коалесценции и отделению остаточного газа от нефти. Окончательно отсепарированная нефть направляется через выходной патрубок и регулятор уровня жидкости в нефтепровод.

При необходимости подачи газа из депульсатора в каплеотбойник через газовое пространство технологической емкости на газовой линии между каплеотбойником и депульсатором предусмотрена задвижка, а между депульсатором и технологической емкостью - газопровод.

Технологический процесс на установке полностью автоматизирован и обеспечивает:

автоматическое регулирование давления и уровня нефти в технологической емкости;

сигнализацию предельных значений давления верхнего и нижнего уровней нефти в технологической емкости;

местный контроль уровня температуры нефти и давления в технологической емкости;

выдачу сигнала на автоматическое закрытие приемной линии установки при достижении верхнего предельного уровня нефти;

формирование общего аварийного сигнала на диспетчерский пункт.

Сепарационные установки с предварительным сбросом воды типа УПС предназначены для отделения газа от обводненной нефти и сброса свободной пластовой воды с одновременным учетом количества обезвоженной нефти и воды, выходящих из аппарата. Выпускаются установки типа УПС на рабочее давление 0,6 МПа следующих модификаций: УПС-3000/6М, УПС-А-3000/6, УПС-6300/6М и УПС-10000/6М. Одновременно разработаны все модификации УПС и на рабочее давление 1,6 МПа.

В шифре установок приняты следующие обозначения: УПС - установка с предварительным сбросом воды; А - в антикоррозионном исполнении; первая цифра после букв - пропускная способность по жидкости (м3/сут); вторая цифра - допустимое рабочее давление; М - модернизированная.

Автоматизированные установки выполнены в моноблоке и состоят из следующих основных частей: блока сепарации и сброса воды, запорно-регулирующей арматуры, системы контроля и управления (рис. 64).

Блок сепарации и сброса воды глухой сферической перегородкой разделен на два отсека - сепарационный А и отстойный Б. Каждый отсек имеет люк-лаз, предохранительный клапан и дренажные штуцеры.

В сепарационном отсеке для более полной сепарации и предотвращения пенообразования предусмотрена нефтеразливная полка 2. Для равномерного потока в параллельно работающих установках в сепарационных и отстойных отсеках имеются штуцеры для сообщения их по жидкости (в нижней части) и газу (в верхней части).

Рис. 64. Принципиальная схема установок типа УПС-8000 и УПС-6300

В отстойном отсеке для более полного использования объема емкости имеются распределитель 3 жидкости на входе, перфорированная труба со штуцером для вывода воды 8 и два штуцера 5 и 6 для вывода нефти. Расположение штуцеров для вывода нефти позволяет осуществлять, работу установок в режимах полного и неполного заполнения. На установке УПС-6300 применяется выносной каплеотбойник 4, устанавливаемый над отстойной секцией.

Работа установки происходит следующим образом. Продукция скважин поступает в сепарационный отсек А по соплу 1 и нефтеразливной полке 2, где происходит отделение газа от жидкостной фазы. Отделившийся нефтяной газ через регулятор уровня, отводится в отсек Б, откуда через каплеотбойник 4 и регулятор давления - в газовый коллектор.

В случае применения установки на I ступени сепарации предусматривается узел предварительного отбора газа (депульсатор). При использовании установки на II ступени сепарации монтаж узла предварительного отбора газа не требуется.

Водонефтяная эмульсия из отсека А передавливается в отсек Б под действием давления газа. Допустимый перепад давления между отсеками Б и А не более 0,2 МПа (в зависимости от длины каплеобразователя между отсеками).

Водоняфтяная эмульсия поступает в отстойный отсек Б через входной распределитель 3. При этом основная часть струй, вытекающих из распределителя, движется радиально, а меньшая часть - в направлении ближайшего эллиптического днища аппарата. Доходя до стенок аппарата, и теряя кинетическую энергию, струи эмульсии отражаться и принимают горизонтальное направление вдоль аппарата. Отстоявшаяся вода отводится через перфорированный трубопровод 8. Предварительно обезвоженная нефть выводится через штуцеры 5 и 6, связанные с перфорированной трубой 7, расположенной в верхней части емкости.

Система контроля и у правления должна осуществлять:

регулировавшие уровня «нефть-газ» на уровне 2400 мм;

регулирование уровня «нефть-вода» на уровне 900 мм;

регулирование давления в технологической емкости;

измерение количества предварительно обезвоженной нефти;

измерение количества сбрасываемой воды;

измерение количества оборотной воды;

сигнализацию достижения заданных значений давления и предельного уровня нефти в емкости;

аварийную отсечку по входу продукта при достижении уровня нефти в аппарате 2600 мм и заданном давлении;

измерение давления и температуры.

При работе в режиме полного заполнения не осуществляется регулирования уровня «нефть-газ» и сигнализация аварийного уровня, предварительно обезвоженная нефть отводится через верхний щтуцер 5, связанный с перфорированной трубой, а штуцер 6 закрывается.

Сепарационные блочные установки с насосной откачкой предназначены для сепарации нефти от газа и подачи от сепарированной нефти под напором насосов на объекты подготовки нефти в системах герметизированного сбора и подготовки нефти, газа и воды.

Установки в основном состоят из сепарационного блока, блока коллектора, блока измерения и регулирования, комплекса системы автоматизации, межблочной обвязки коммуникаций, укрытия и площадок обслуживания. В качестве сепараторов приняты сепараторы соответствующей производительности и рабочих давлений. Работа установки основана на предварительном отборе газа из газонефтяной смеси в депульсаторе, окончательном разгазировании в технологической емкости и подаче нефти под напором насосов на объекты подготовки нефти.

В табл. 22 приведены основные технические данные трех типов сепарационных установок. Первые два типа установок включают два насосных блока и третий тип - три насосных блока. Отделившийся газ отводится в каплеотбойник, где разделяется на два потока и, проходя через два сетчатых отбойника, очищается от капельной нефти и направляется в газопровод.

Дожимные насосные станции КДНС-1000БТ и ДНС-5000БТ предназначены для герметизированного сбора и сепарации продукции скважин, частичного обезвоживания нефти и транспортировки ее до установок подготовки нефти, очистки воды и закачки ее в пласт.

Новые ДНС позволяют использовать малолюдную технологию на вновь осваиваемых месторождениях; в несколько раз снизить площади застройки, занимаемые ДНС; снизить энергоемкость и металлоемкость при добыче одной тонны нефти.

Система автоматического управления новых ДНС с использованием микропроцессорной техники позволяет вести сбор, обработку, отображение, регистрацию технологических параметров, выдачу команд управления исполнительным органам оборудования, автоматическое включение резервного питания, оптимизацию технологических режимов, обмен информацией и принятие команд с верхнего иерархического уровня.

Таблица 22 Технические характеристики сепарационных блочных установок типа УБСН

Показатели

УБСН-400-1,6/4

УБСН-1600-1,6/4

УБСН-6300-1,6/4

Температура окружающей среды, К (°С)

233¸313 (-40¸+40)

Максимальная производительность по сырью, м3/с (м3/сут)

0,0092 (800)

0,018 (1600)

0,036 (3150)

Максимальное рабочее давление нагнетания, МПа

4,0

Рабочая среда:

сырая нефть

максимальная температура, К (°С)

323 (50)

кинетическая вязкость, м2/с (сСт)

0,00015 (150)

плотность, кг/м3

750¸900

Максимальное содержание в рабочей среде (объемных), %: сероводорода углекислого газа

  0,01 1

Максимальный газовый фактор при нормальных условиях, м3/м3

200

Максимальный унос свободного газа нефтью (объемных), %

2

0,1×10-6

Максимальная потребляемая мощность силовым электрооборудованием, кВт

132

200

315

Режим работы

непрерывный

Объем технологической емкости, м3

10

40

40

Габариты, мм

16090´13510´ ´4748

21765´14450´ ´6148

22010´15106´ ´6880

Масса, кг, не более

26600

44500

61000


Кустовая дожимная насосная станция КДНС-1000БТ, номинальной производительностью 1000 м3/сутки по жидкости, предназначена для размещения непосредственно на кусте нефтяных скважин, либо на отдельных небольших нефтяных месторождениях.

Дожимная насосная станция ДНС-5000БТ, номинальной производительностью 5000 м3/сутки по жидкости, предназначена для размещения в системе сбора крупных и средних месторождений.

Технологический процесс и оборудование в схеме ДНС-5000БТ разработаны на основе эксплуатации и проектирования ДНС на месторождениях Урало-Поволжья и Западной Сибири.

Таблица 23 Технические характеристики КДНС-1000БТ и ДНС-5000БТ

Параметры

Единицы измерения

Величина




КДНС-1000БТ

ДНС-5000БТ

1.

Производительность: по жидкости по газу по закачке воды

 м3/сут. тыс. м3/сут. м3/сут.

 1000 250 1800

 5000 1000 10800

2.

Содержание на выходе: воды в нефти не более мехпримесей и нефти в воде, не более капельной жидкости в газе, не более

 % мг/л г/м3

 10 30 0,1

 10 30 0,1

3.

Давление на выходе не более

МПа

1,4

1,4



Таблица 24 Состав основного оборудования КДНС-1000БТ и ДНС-5000БТ

КДНС-1000БТ

ДНС-5000БТ

1.  2.  3.     4. 5. 6. 7. 8.

Сепаратор-депульсатор вертикальный объемом 6,3 м3 Аппарат совместной подготовки нефти и воды объемом 40 м3 Насосы погружные центробежные для откачки нефти: УЭЦН-6-1000-750 для откачки воды: УЭЦН-16-2000-1400 Узлы учета нефти, газа и воды Буферная емкость объемом 6,3 м3 Дренажная емкость Регулирующая и запорная арматура Система автоматического управления

1.  2.  3.     4. 5. 6. 7. 8. 9. 10. 11. 12.

Нефтегазовый сепаратор НГСВ объемом 100 м3 Сепаратор-каплеуловитель СДВ-1000/16  Гидроциклоны «Буран»     Отстойник очистки воды ОВ-0,6-100 Насосы нефтяные ЦНС-300-240 3шт. Насосы водяные ЦНС-180-1900 4 шт. Узел учета нефти, газа, воды Реагентный блок Буферные емкости объемом 30 м3 Дренажная емкость ЕП-40 Регулирующая и запорная арматура Система автоматического управления


Применяются и другие типы ДНС, например, ДНС-7000, ДНС-14000 и ДНС-20000. Число в каждом типоразмере ДНС указывает подачу рабочих насосных агрегатов по жидкости (в м3/сут). На всех ДНС данного типа в качестве буферной ёмкости используется горизонтальные сепараторы объёмом 100 м3 и насосные агрегаты 8НД-9´З с электродвигателем типа А-114-2М.

Расчет газосепараторов на прочность.

, мм,

где С - принимается равным 2¸3 мм; Р - давление в газосепараторе, МПа; Dвн - внутренний диаметр газосепаратора, мм; j - 0,95 (для сварных корпусов); sдоп - допускаемое напряжение на растяжение материала корпуса газосепаратора, МПа;

,

где s* - нормативное допускаемое напряжение; K = 1¸0,9 - коэффициент условий нагружения газосепараторов; s*=387¸562 МПа, в зависимости от марки стали.

Стальные эллиптические днища изготавливают (ГОСТ9617-76) диаметром от 159 до 4000 мм; отношение высоты эллиптической части днища к диаметру принято H/D = 0,25.

Толщина стенки эллиптических днищ определяется

, мм,

где R - радиус кривизны в вершине днища, равный D2/4H.

Для стандартных днищ, при отношении высоты днища к его диаметру, равном 0,25, R = D. Днища стальные диаметром до 1600 мм, изготавливают из цельного листа, для них j = 1. Толщина днища принимается не меньше, чем у цилиндрической оболочки.

5.4 Нефтяные нагреватели и печи


Устьевые и путевые нагреватели.

При сборе высокопарафинистых, вязких нефтей, а также нефтей, имеющую высокую температуру застывания, с целью обеспечения текучести нефти, необходимо подогревать продукцию скважин, от устья скважин вплоть до ЦПС и подготовки нефти и газа.

Для подогрева продукции скважин в выкидных линиях применяют устьевые нагреватели УН-0,2 и ПТТ-2 (рис. 66), а для подогрева продукции скважин в нефтесборных коллекторах - путевые нагреватели ПП-0,4; ПП-0,63; ПП-1,6 и трубопроводные нагреватели типа ПТ.

Подогреватель нефти ПТТ-0,2 состоит из наклонного цилиндрического сосуда 8 с батареей тепловых трубок 5, газовым сепаратором 6, патрубками ввода нефти 7, топки 1 с газовой инжекционной двухсопловой горелкой 2 и дымовой трубкой 3 с кожухом 4 для защиты обслуживающего персонала от ожогов.

Рис. 66. Подогреватель нефти типа ПТТ-0,2

Поступающая в сосуд подогревателя нефтегазовая смесь нагревается тепловыми трубами и выходит из подогревателя. Часть газа, выделившегося из нефти, очищаясь в сепараторе, поступает через узел регулирования на горелку. За счет сжигания газа в топке происходит нагрев топочных концов тепловых труб. Тепловая труба представляет собой толстостенную цельнотянутую стальную трубу, заполненную на 1/3 своего внутреннего объема дистиллированной водой и герметически заваренную с обоих концов. Во избежание замораживания труб во время возможной остановки печи в них добавлено некоторое количество этилового спирта. Трубы в подогревателе расположены с наклоном в сторону топки, равным 100 мм на 1 м трубы, и приварены к одному из днищ сосуда таким образом, что один конец длиной 2 м находится внутри сосуда, а другой - длиной 1 м в топке.

Устьевой нагреватель ПТТ-0,2 оснащен приборами контроля и автоматического регулирования, поставляемыми комплектно с нагревателем: ртутным техническим термометром АН3-1°-110-220, манометрами ОБМ1-100, регулятором температуры РТ-П25-2 и регулятором давления РД-32М.

Комплекс приборов обеспечивает:

регулирование температуры жидкости в сосуде, давления топливного газа перед горелкой и запальником;

технологический контроль за температурой и давлением.

Технические, характеристики подогревателя ПТТ-0,2

Пропускная способность по жидкости, т/сут до 100

Вместимость сосуда, м3 1

Давление в сосуде рабочее, МПа -1,6

Температура нагрева жидкости, °С 70

Топливо нефтяной газ

Расход газа, расчетный, м3/ч 25

Масса подогревателя без футеровки, кг 2550

Автоматизированные блочные газовые печи с водяным теплоносителем ПП-1,6; ПП-0,63 предназначены для подогрева обезвоженных нефтей, нефтяных эмульсий и воды, для различных технологических нужд.

Таблица 25 Технические характеристики блочных газовых печей

Показатели

ПП-0,63

ПП-1,6

1.

Производительность по жидкости при нагреве на 25°С и обводненности 30 %, т/сут

1150

2350

2.

Теплопроизводительность топочного устройства, МВт (Гкал/час)

0,73 (0,69)

1,86 (1,6)

3.

Давление в змеевике, МПа (кгс/см2)

6,4 (64)

6,4 (64)

4.

Расход газа в нормальных условиях, м3/час

75

180

5.

Топливо

попутный нефтяной газ

6.

Масса, кг: сухого заполненного водой

 13019 25920

 39801 125201


Подогреватели трубопроводного типа ПТ-Р/Д, предназначены для подогрева воды, нефти, газа и их смесей.

Таблица 26 Техническая характеристика подогревателей ПТ-Р/Д

Показатели

ПТ-25/100

ПТ-16/150

ПТ-6,4/200

ПТ 16/100МЖ

Тепловая производительность, МДж/ч

465

1860

3500

465

Пропускная способность до 40°С, тыс. м3/сут: нефти воды газа

  0,57 0,24 490

  2,30 0,96 2000

  4,3 1,8 3600

  0,48 0,2 410


Рекомендуется применять в системе внутрипромыслового сбора на участке «ГЗУ-ЦТН» для нагрева рабочего агента (газа) при газлифтной добыче нефти, а также для подогрева воды в системе поддержания пластового давления.

ПТ-Р/Д - универсальна, комплектна, относительно совершенна.

В шифре приняты следующие обозначения:

ПТ - подогреватель трубопроводный;

Р - допустимое рабочее давление подогреваемой среды;

Д - условный проход труб калорифера, мм.

В случае модернизации добавляется буква М.

Принцип работы: подготовленная в инжекционных горелках газовоздушная смесь поступает на пламераспределитель. Полученный при сгорании газа тепловой поток, проходя через конвективную камеру, омывает оребрённую поверхность труб калорифера, нагревая продукт, проходящий по трубам. В верхней части конвективной камеры отходящие газы подогревают сепаратор и змеевик топливного газа.

Источником топливного газа может быть сама нагреваемая среда, а если она не горюча или имеет низкий свободный газовый фактор (менее 40 м3/м3), то необходимо подключаться к внешнему источнику питания.

Нефтяные нагреватели НН - для подогрева нефтяных эмульсий перед блоками глубокого обезвоживания и обессоливания установок подготовки нефти. Рекомендуется применять для подготовки средних, тяжелых нефтей.

Нагреватель нефти блочный БН-2М предназначен для подогрева обводненных нефтей перед аппаратами глубокого обезвоживания и обессоливания. Допускается на установках подготовки нефти с пропускной способностью до 3 млн. т в год. Основной технологический блок этого нагревателя включает в себя четыре последовательно соединенных подогревателя типа, «труба в трубе».

Масса нагревателя БН-2М - 17,73 т.

Печь трубчатая ПТБ-10-64 предназначена для подогрева обводнённых нефтей перед аппаратами глубокого обезвоживания и обессоливания с УПН пропускной способностью 3,6 и 9 млн. т в год.

В шифре печи приняты следующие обозначения:

ПТБ - печь трубчатая блочная, первая цифра - тепловая производительность в млн.ккал/ч, вторая цифра - допустимое рабочее давление, атм., масса - 57,1 т.

5.5 Отстойники и электродегидраторы


Для отстоя нефтяных эмульсий после нагрева их в блочных или стационарных печах применяются отстойники. Наибольшее распространение получили отстойники с нижним распределенным вводом эмульсии (ОГ-200, ОГ-200С, ОВД-200) и отстойники с радиальным и горизонтальным вводом сырья (ОБН).

Горизонтальный отстойник ОГ-200С (ОГ-200) предназначен для отстоя нефтяных эмульсий с целью разделения последних на составляющие их нефть и пластовую воду. Допускается применение установки для подготовки легких и средних нефтей, не содержащих сероводород и другие коррозионно-активные компоненты. В шифре приняты следующие обозначения: ОГ - отстойник горизонтальный; число - объем емкости (в м3); С - с сепарационным отсеком.

Отстойник ОГ-200С (рис. 67) представляет собой горизонтальную стальную цилиндрическую емкость диаметром 3400 мм с эллиптическими днищами.

Рис. 67. Схема отстойника ОГ-2000С

Перегородкой 3 емкость разделена на два отсека, из которых левый I - сепарационный, а правый II - отстойный. Отсеки сообщаются друг c другом при помощи двух распределителей, представляющих собой стальные трубы 8 с наружным диаметром 426 мм, снабженные отверстиями, расположенными в верхней части. Над отверстиями распределителей располагаются распределители эмульсии коробчатой формы 7, имеющие на своих боковых гранях отверстия.

В верхней части сепарационного отсека находится сепаратор газа 2, соединенный при помощи фланцевого угольника со штуцером выхода газа 11, расположенным в левом днище. В верхней части отстойного отсека расположены четыре сборника нефти 4, соединенные с коллектором и штуцером выхода отстоявшейся нефти. В нижней части этого отсека имеется штуцер 6 для удаления отделившейся воды.

Подогретая нефтяная эмульсия через штуцер 1 поступает в распределитель, расположенный в верхней части сепарационного отсека. При этом из обводненной нефти выделяется часть газа, находящегося в ней как в свободном, так и в растворенном состоянии. Отделившийся газ через штуцер 11 сбрасывается в сборную сеть. Уровень жидкости в сепарационном отсеке регулируется при помощи регулятора межфазного уровня, поплавковый механизм которого врезается в люк 9. Дегазированная нефть из сепарационного отсека попадает в два коллектора 8, находящихся в отстойном отсеке. Над коллекторами находятся распределители эмульсии 7. Из коллекторов нефть поступает под коробчатые распределители и через отверстия, просверленные в их боковых поверхностях, вытекает тонкими струйками под уровень пластовой воды в отсеке. Благодаря наличию коробчатых распределителей нефть приобретает вертикальное движение по значительной плошади аппарата. Обезвоженная нефть всплывает вверх и попадает в сборник 4, расположенный в верхней части отстойного отсека, и через штуцер 5 выводится из аппарата. Отделившаяся от нефти пластовая вода поступает в правую часть отстойника и через штуцер 6 с помощью поплавкового регулятора межфазного уровня сбрасывается в систему подготовки промысловых сточных вод.

Отстойник ОГ-200С поставляется комплектно с контрольно-измерительными приборами, позволяющими осуществлять автоматическое регулирование уровней раздела «нефть - газ» и «нефть - пластовая вода» в отсеках, а также местный контроль за давлением среды в аппарате, уровней раздела «нефть - газ» и «нефть - пластовая вода». Техническая характеристика отстойника ОГ-200С приведена ниже.

Пропускная способность по товарной нефти, т/сут 4000¸8000

Рабочая среда нефть, газ, пластовая вода

Рабочее давление, МПа 0,6

Температура среды, °С до 100

Объем аппарата, м3 200

Габариты, мм:

длина 25420

ширина 6660

высота 5780

Масса, кг 48105

Горизонтальные отстойники ОВД-200 и ОБН-3000/6 предназначены для отстоя нефтяных эмульсий с целью разделения последних на составляющие их нефть и пластовую воду. В шифре приняты следующие обозначения: ОВД - отстойник с вертикальным движением; 200 - объем емкости (в м3); ОБН - отстойник блочный нефтяной; число в числителе - номинальная пропускная способность (в м3/сут); число в знаменателе - рабочее давление.

Отстойник ОВД-200 (рис. 68) представляет собой горизонтальную стальную цилиндрическую емкость диаметром 3400 мм.

Рис. 68. Общий вид отстойника ОВД-200

Отстойник оснащен распределителем эмульсии 2, сборниками нефти 1 и воды 4, выполненными из перфорированных труб. Распределитель эмульсии состоит из двух гребенок (двухсторонних) с четырьмя трубами в ряду. По нижним образующим труб распределителя расположены отверстия, под которыми установлены У-образные отбойные устройства 3. Такое расположение отверстий предотвращает накопление грязи и механических примесей в трубах и способствует равномерному отводу выделяющейся воды. Отбойные устройства предназначены для гашения кинетической энергии вытекающих струй эмульсии, равномерного распределения их по сечению аппарата и предотвращения перемешивания нижележащих слоев воды.

Принцип работы отстойника основан на гравитационном отстое и на эффекте промывки эмульсии, как в слое дренажной воды, так и в промежуточном слое высококонцентрированной эмульсии, выполняющем роль своеобразного коалесцирующего фильтра. Техническая характеристика отстойники ОВД-200 приведена ниже.

Пропускная способность по сырью, м3/сут 4000-8000

Рабочая среда нефть (нефтепродукт), вода

Рабочее давление, МПа 0,6

Температура среды, °С до 100

Обводненность нефти, %:

на входе до 30

на выходе 0,2¸0,5

Вязкость эмульсии не более, мм2/с 10

Объем аппарата, м3 200

Масса, кг 34950

Отстойник ОБН-3000/6 (рис. 69) также представляет собой горизонтальную стальную цилиндрическую емкость диаметром 3400 мм. Он оснащен распределителем эмульсии 3, сборниками нефти 1 и воды 5, а также соответствующими штуцерами для ввода эмульсии 4, вывода нефти 2 и воды 6. Особенность отстойника - применение распределителя эмульсии и сборника нефти в виде перфорированных барабанов, расположенных соответственно вдоль и поперек оси цилиндрической емкости. Принцип работы отстойника основан на гравитационном отстое при относительно горизонтальном движении и разделении эмульсии на нефть и воду.

Рис. 69. Общий вид отстойника ОБН-3000/6

Техническая характеристика отстойника ОБН-3000/6 приведена ниже.

Объем аппарата, м3 200

Масса, кг 34 000

Рабочая среда нефть, пластовая вода

Пропускная способность, м3/сут 3000¸6000

Электродегидраторы предназначены для глубокого обезвоживания и обессоливания нефти.

Рис. 70. Электродегидратор ЭГ-200-10

В шифре приняты следующие обозначения: ЭГ - электродегидратор; первое число - объем емкости в м3, второе - рабочее давление.

Электродегидратор представляет собой горизонтальную стальную, цилиндрическую емкость диаметром 3400 мм. Оснащен распределителем эмульсии, сборниками нефти и воды, выполненными из перфорированных труб.

Эти устройства электродегидратора ничем не отличаются от соответствующих устройств в отстойниках типа ОБД-200. В отличие от отстойников электродегидратор ЭГ-200-10 оснащен двумя электродами - верхним и нижним, куда подается высокое напряжение промышленной частоты. Принцип работы электродегидратора основан на воздействии на эмульсию электрического поля переменной частоты. Под воздействием сил электрического поля глобулы воды в эмульсии испытывают непрерывную деформацию, что способствует эффективному разрушению эмульсий. Техническая характеристика электрогидраторов приведена в табл. 27.

Таблица 27

Показатели

Электродегидраторы


1ЭГ-160

2ЭГ-160

ЭГ-200-10

Пропускная способность по товарной нефти, т/сут

2000-8000

3000-9300

5000-11500

Рабочая температура, °С

до 110

до 110

до 110

Мощность электротрансформаторов, кВ×А

50

50

150

Напряжение между электродами, кВ

до 44

до 44

до 50

Вместимость емкости, м3

160

160

200

 

5.6 Блоки дозирования химреагентов


В настоящее время отечественной промышленностью изготовляются блоки и установки дозирования химических реагентов (деэмульгаторов, ингибиторов коррозии, солеотложения и т.п.) БР-2,5; БР-10; БР-25; НДУ; УДС; УДЭ; УДПВ. Предназначены для приготовления и дозированного ввода жидких деэмульгаторов и ингибиторов коррозии в любой точке трубопровода промысловой системы транспорта и подготовки нефти на участке скважины до установки комплексной подготовки нефти.

Все оборудование установок БР-2,5 и БР-10 (рис. 71) размещено в теплоизолированной будке 1, смонтированной на сварной раме-санях 2. Будка разделена герметичной перегородкой 4 на два отсека (технологический и приборный).

В технологическом отсеке размещены технологическая емкость 8, трубчатый электронагреватель 5, шестеренный 7 и дозировочный 6 насосы, а также средства контроля и управления 3.

Путем подачи в смеситель в определённых соотношениях воды и концентрированного реагента на установке БР-25 при необходимости можно приготовить и дозировать водный раствор реагентов.

Рис. 71. Блоки дозирования химреагентов БР-2,5 и БР-10

Технологическая характеристика блоков БР приведена в таблице 28.

Таблица 28

Показатели

Блок дозирования химреагентов


БР-2,5

БР-10

БР-25

Размер дозы, г/т

10¸50

10¸50

10¸50

Вязкость дозируемой среды, МПа×с

до 1000

до 850

до 850

Подача дозировочного насоса, л/ч

2,5

10

25

Рекомендуемое давление нагнетания, МПа

10

10

4

Температура дозируемого реагента, °С

50¸60

20¸60

20¸60

Температура окружающей среды, °С

-40¸+50

-40¸+50

-40¸+50

Запас химического реагента, сут

15

30

2¸10

Габаритные размеры, мм

3360´2300´ ´2725´300

3770´2250´3090

3770´2400´ ´2680´4500

Масса, кг

3000

3090

4500


5.7 Нефтяные резервуары


Нефтяные резервуары (емкости) предназначены для накопления, кратковременного хранения и учета «сырой» и поворотной нефти. Группу резервуаров, сосредоточенных в одном месте, называют резервуарным парком.

Согласно СНиП объем сырьевых резервуаров должен быть не менее пятикратного суточного объема добычи нефти, а товарных резервуаров - двухратного. На промыслах используют в основном стальные цилиндрические резервуары вместимостью 100¸20000 м3 и реже железобетонные подземные резервуары вместимостью до 100000 м3.

Нефтяные, резервуары строят из несгораемых материалов в наземном, полуподземном и подземном исполнении.

Стальные резервуары сооружают с постоянной или переменной толщиной стенок корпуса. В зависимости от объема и высоты резервуара их изготовляют из листовой стали толщиной от 4 до 10 мм. По технологическим условиям (сварка) листовая сталь толщиной менее 4 мм не может применяться, если даже расчетная толщина стенки получается меньше.

При сооружении корпуса резервуара стальные пояса могут располагаться тремя способами: ступенчатым, телескопическим и встык.

Стенки вертикальных цилиндрических резервуаров при отсутствии избыточного давления над поверхностью жидкости испытывают давление, зависящее от высоты столба уровня жидкости до рассматриваемого пояса резервуара. Например, на глубине h стенки испытывают внутреннее давление Р, равное:

.

Толщину стенки определяют из уравнения:

,

- высота резервуара, мм; r - плотность жидкости, кг/м3; g - ускорение силы тяжести, м/с2; D - диаметр резервуара; sдоп - допустимое напряжение на растяжение.

Толщину листовой стали днищ резервуаров не рассчитывают и принимают обычно не более 5 мм, так как гидростатическое давление воспринимается фундаментом.

Крышки резервуаров изготовляют из листовой стали толщиной не более 2,5мм и бывают: конические, сферические, плоские.

На нефтяных месторождениях применяют чаще всего резервуары с плоскими крышками.

Крыши резервуаров располагаются на строительных перекрытиях (фермах), которые могут опираться как на промежуточные колонны внутри резервуара, так и непосредственно на его стенки.

Оборудование стальных резервуаров и их конструктивные схемы должны обеспечивать их правильную и безопасную эксплуатацию, в частности: 1) накопление и опорожнение резервуаров; 2) замер уровня нефти; 3) отбор проб нефти; 4) зачистку и ремонт резервуаров; 5) отстой нефти и удаление подтоварной воды; 6) поддержание давления в резервуаре в безопасных пределах.

На нефтяных резервуарах монтируется оборудование представленное на рис. 72.

Рис. 72. Схема расположения оборудования на стальном резервуаре: 1 - приемо-раздаточные патрубки; 2 - захлопка для принудительного закрытия; 3 - приемная труба; 4- замерной люк; 5 - световой люк; 6 - люк-лаз; 7 - сифон; 8 - дыхательный клапан; 9 - гидравлический предохранительный клапан

Диаметры приёмо-раздаточных патрубков определяются заданной производительностью перекачиваемой нефти и колеблются в пределах 150¸700 мм. Скорость движения жидкости в них, в пределах 0,5¸2,5 м/с в зависимости от вязкости нефти.

Захлопка 2 устанавливается для предотвращения утечек нефти из резервуаров при неисправности задвижек.

Подъёмная труба 3 монтируется внутри резервуара и предназначена для отбора нефти с требуемой высоты.

Замерный люк 4 служит для замера в резервуаре уровня нефти и подтоварной воды, а также для отбора проб пробоотборником.

Замерный люк устанавливается на патрубке, вваренном вертикально в крышу резервуара. Крышка замерного люка герметично закрывается посредством прокладки и нажимного, откидного болта. Внутри замерного люка расположена направляющая колодка, по которой спускают в резервуар замерную ленту с лотом.

Колодка изготовляется из меди или алюминия, чтобы предотвратить искрообразование.

Световой люк 5 - для проникновения света и проветривания перед зачисткой, ремонтом. Люк-лаз для проникновения людей, при ремонте, очистке, а также освещения и проветривания. Водоспускное приспособление сифонного типа предназначается для отбора пластовой воды.

Высота колена сифона hc определяется расчетом в зависимости от выбранного соотношения высот столбов воды hв и нефти hн в резервуаре по формуле:

,

откуда

.

Дыхательный клапан 8 автоматически сообщает газовое пространство резервуара с атмосферой в тот момент, когда в резервуаре создается предельно допустимое давление или вакуум в результате изменения температуры, а также при наполнении и опорожнении резервуара. Дыхательные клапаны рассчитаны на избыточное давление и вакуум в газовом пространстве резервуара Ризб=20 мм вод. ст. При таком избыточном давлении масса кровли резервуара, изготовленной из листовой стали толщиной 2,5 мм, уравновешивается силой избыточного давления на неё. Масса 1 м2 крыши составляет 20 кг и, следовательно, крыша не будет испытывать напряжения, если давление изнутри не будет превышать давления, создаваемого массой крыши (рис. 73).

При повышении давления изнутри резервуара клапан 2 поднимается и сбрасывает в атмосферу излишний газ, а при понижении давления внутри резервуара открывается клапан 1 и в резервуар поступает воздух.

Во избежание коррозии корпус клапана и седло изготовляют из алюминиевого сплава. Размер дыхательных клапанов выбирают в зависимости от их допустимой пропускной способности.

Рис. 73. Функциональная схема дыхательного клапана: 1 - клапан вакуума; 2 - клапан давления; 3 - фланец для установки клапана на огневом предохранителе

Дыхательный клапан является ответственным элементом оборудования резервуара, в связи, с чем исправному состоянию клапанов и правильной эксплуатации их должно уделяться особое внимание. В зимнее время дыхательные клапаны часто выходят из строя, так как при прохождении влажных паров нефти через клапан влага, конденсируясь на тарелках и седлах, приводит к их взаимному примерзанию. Этот недостаток устраняется путем изоляции смерзающихся поверхностей клапана фторопластом, имеющим большую механическую прочность при низких температурах и высокую химическую стойкость.

Гидравлический предохранительный клапан 9 предназначается для ограничения избыточного давления или вакуума в газовом пространстве резервуара при отказе в работе дыхательного клапана, а также при недостаточном сечении дыхательного клапана для быстрого пропуска газа или воздуха. Предохранительные клапаны рассчитаны на несколько большее давление и вакуум, чем дыхательный клапан: на избыточное давление 60 мм вод. ст. и разряжения 40 мм вод. ст. Его функциональная схема приведена на рис. 75.

Рис. 74. Функциональная схема гидравлического предохранительного клапана

Предохранительный клапан заливают незамерзающими, неиспаряющимися и маловязкими жидкостями - раствором глицерина, этиленгликолем и др. образующими гидравлический затвор, через который происходит барботаж из резервуара излишней смеси газа с воздухом или «вдох» в резервуар.

В случаях резкого повышения давления в резервуаре может произойти выброс жидкости из клапана в кольцевой канал, обратно из него жидкость стекает через отверстия в стенке кармана. Огневые предохранители устанавливаются на резервуарах в комплекте с дыхательными и предохранительными клапанами и предназначаются для предохранения газового пространства резервуара от проникновения в него пламени через дыхательный клапан.

Принцип действия огневых предохранителей заключается в том, что пламя, попадая в огневой предохранитель, проходит через систему клапанов малого сечения, в результате чего дробится на отдельные мелкие потоки; поверхность соприкосновения пламени с предохранителем увеличивается, возрастает отдача тепла стенкам каналов, и пламя затухает.

Основной деталью огневых предохранителей является спиральная ленточная кассета цилиндрической формы, изготовленная из цветных металлов и помещенная в корпус предохранителя.

Резервуары стальные вертикальные цилиндрические (рис. 75) предназначены для хранения нефти, нефтепродуктов с понтоном и без понтона.

Рис. 75. Резервуар стальной вертикальный Изготовитель: Новокузнецкий завод резервуарных металлоконструкций.

Таблица 29 Резервуары стальные вертикальные

Номинал. объем, м3

Геометр. характеристики, мм

Общая масса справочн., т


Диаметр

Высота

Без понтона

С понтоном

Расчетная температура -40°С и выше

100 200 300 400 700 1000 2000 3000 5000 10000 20000 30000

4730 6630 7580 8530 10430 10430 15180 18980 20920 28500 39900 45600

5960 5950 7450 7450 8940 11920 11920 11920 14900 17880 17880 17880

8,2 10,8 13,8 15,4 22,9 26,7 48,0 75,4 103,1 216,6 407,0 534,2

10,3 13,4 16,4 19,5 27,2 32,3 53,6 82,9 118,3 233,8 440,0 581,0

Расчетная температура -40°С до -65°С

100 200 300 400 700 1000 2000 3000 5000 10000 20000

4730 3630 7580 8530 10430 10430 15180 18980 22790 34200 45600

5960 5960 7450 7450 8940 11920 11920 11920 11920 11920 11920

8,4 11,1 14,0 15,7 22,9 27,9 48,1 68,8 101,5 196,8 391,8




Литература


1. Бухаленко Е.И. и др. Техника и технология промывки скважин.- М.: Недра, 1982.- 197 с.

. Молчанов А.Г., Чичеров Л.Г. Нефтепромысловые машины и механизмы.- М.: Недра, 1976.- 328 с.

. Справочник мастера по добыче нефти. Баку.- Азнефтеиздат, 1952.- 424 с.

. Акулышин А.Н. и др. Эксплуатация нефтяных и газовых скважин.- М.: Недра, 1889 г. 480 с.

. Оборудование и инструменты для ремонта нефтяных скважин. Крец В.Г., Шмурыгин В.А. и др.- Томск: Изд. ТПУ, 1996. 72 с.

. Ишмурзин А.А. Машины и оборудование системы сбора и подготовки нефти, газа и воды.- Уфа: Изд. Уфимск. Нефт. ин-та, 1981.- 90 с.

. Нефтепромысловое оборудование. Комплект Каталогов. Крец В.Г., Кольцов В.А., Лукьянов В.Г., Саруев Л.А. и др.- Томск: Изд. ТПУ, 1997.-822

. Крец В.Г. Разработка и эксплуатация нефтяных и газовых местрождений. Уч. пособ. Томск: Изд. ТПУ, 1992.- 112 с.

Приложение 1


Рис. 77. Унифицированная технологическая схема комплекса сбора и подготовки нефти, газа и воды нефтедобывающего района: 1 - скважина; 2 - автоматизированная групповая замерная установка; 3 - блок подачи деэмульгатора; 4 - сепаратор I ступени; 5 - отстойник предварительного сброса воды; 6 - печь для нагрева эмульсии; 7 - каплеобразователь; 8 - отстойник глубокого обезвоживания и II ступени сепарации; 9 - смеситель для ввода пресной воды; 10 - электродегидратор для обессоливания; 11 - сепаратор III (горячей) ступени сепарации; 12 - резервуар товарной нефти; 13; 16; 19 - насос; 14 - автомат по измерению количества и определению качества товарной нефти; 15 - резервуар некондиционной нефти; 17 - блок очистки воды; 18 - резервуар очищенной воды; 20 - блок дегазатора воды с насосом; 21 - узел замера расхода воды; 22 - блок приема и откачки уловленной нефти; 23 - емкость-шламонакопитель; 24 - блок приема и откачки стоков; 25 - мультигидроциклон для отделения от стоячей (дождевой) воды механических примесей; I - товарный нефтяной газ; II - товарная нефть; III - очищенная вода на КНС; IV - пресная вода; V - промысловые ливневые стоки; VI - газ на свечу.

Похожие работы на - Нефтегазопромысловое оборудование

 

Не нашли материал для своей работы?
Поможем написать уникальную работу
Без плагиата!
Без нейросетей!