Литье по выплавляемым моделям ювелирного производства
Литье по выплавляемым моделям
ювелирного производства
Содержание
Введение
Глава 1. Материалы и инструменты
.1 Рабочее место ювелира
.2 Инструменты и оборудования для произведения ювелирных
изделий
.3 Техника безопасности при ручном изготовлении ювелирных
украшений
Глава 2. Литье по выплавляемым моделям в ювелирном
производстве
.1 Литье по выплавляемым моделям
.2 3D
моделирование ювелирных изделий
.3 Формомассы, елки
.4 Виды литья
.5 Центробежное литье
.6 Вакуумное литье
Заключение
Список использованной литературы
Приложения
ювелирный литье центробежный вакуумный
Введение
Ювелирное дело известно со времен глубокой древности. Человек, встретив
на своем пути золото, был очарован его красотой, поражен способностью в любых
условиях сохранять солнечный цвет и блеск, легко поддаваться обработке;
использовав эти удивительные качества металла в сочетании с гармонией линий и
форм, человек создал один из неподражаемых видов народного художественного
творчества.
Вначале для изготовления ювелирных изделий человек использовал только золото,
затем постепенно стал применять серебро, драгоценные и полудрагоценные камни,
жемчуг, янтарь, а в наши дни и выращенные в специальных установках камни,
которые по внешним характеристикам и физико-химическим свойствам не уступают
природным: изумруду, гранату, бирюзе, опалу, малахиту и др.
Ювелирные изделия, созданные мастерами, призваны служить не только в
качестве украшений и предметов быта; они способны нести в себе воспитательное
начало: удовлетворять эстетические потребности человека, формировать его
художественный вкус и культуру, пробуждать интерес к творчеству. Ювелирное дело
на территории России возникло с незапамятных времен. Важнейшими в истории его
развития являются следующие этапы: ювелирное искусство Киевской Руси, ювелирное
дело на Руси в XVI, XVII вв., ювелирные украшения XVIII, XIX вв., ювелирное
дело в советский период. Центрами русского ювелирного творчества в разное время
были Киевская Русь, Владимиро-Суздальское княжество, Новгород, Псков,
Ярославль, Нижний Новгород, Кострома, Казань, Калуга, Вологда, Великий Устюг,
Москва, Петербург, ряд городов Урала. Ювелиры Киевской Руси славились изделиями
из золота с эмалью выемчатой и перегородчатой. Для этого времени характерны
такие украшения, как котлы, которые подвешивались с двух сторон к женскому
головному убору, бармы - драгоценные оплечья, расписанные изображениями
религиозного характера, полые серьги в виде полумесяца, гривны - шейные
украшения в виде обруча, подвески из скрученных золотых нитей, бусы
всевозможных видов. В декоре успешно применялись чернь, зернь, эмаль, скань
(филигрань), чеканка, резьба, позолота. Основной мотив орнаментации изделий -
явно стилизованные растительные формы.
Подобный стиль орнаментации, но уже более точно отражающий живую природу,
сохранился в ювелирных изделиях Руси XVI, XVII вв., хотя их форма, размеры,
декор говорят об изменении условий жизни и быта русских людей: изделия стали
демократичнее и в значительно большей степени, чем раньше, отображали
характерные черты своего времени (значительно меньше вычурности в рисунке,
лаконичнее и яснее его замысел и содержание).
Начало второй половины XVIII в. для мастеров-ювелиров России
ознаменовалось открытием, разработкой и освоением отечественных месторождений
камнесамоцветного сырья. В 1688 г. искатель руд Михайло Тумашев нашел на Урале
в районе бывшего Чурзинского острога самоцветные камни: агат, топаз и др.
Вскоре были открыты месторождения многих других драгоценных и полудрагоценных
камней, которые стали широко применяться в ювелирном деле. Причем в XV-XVII вв.
самыми модными самоцветами были необычайно яркий и нарядный своей зеленью
изумруд, а также вишнево-красные альмандины и алые как заря рубины и шпинели. В
те времена ювелиры любили украшать свои изделия эмалями ярких, насыщенных
палитр, повторяющих гаммы расцветок драгоценных камней.
Глава 1. Материалы и инструменты
.1 Рабочее место ювелира
Рабочее место ювелира - верстак в комплекте со стулом-креслом для сидения
(приложение 1). Внешне верстак похож на обычный однотумбовый стол с
сегментным вырезом (рабочей ячейкой) в верхней плите-крышке. Верстак состоит из
каркаса, верхней плиты или крышки (столешницы), поддона, выдвижных деревянных
ящичков, ряда вспомогательных устройств. Размеры верстака (высота Х длина Х
ширина) 900X1 ЮОХ Х700 мм. Каждое рабочее место
оснащено стулом-креслом для сидения, поворачивающимся, регулируемым по высоте,
переносным, обязательно с жестко закрепленной спинкой.
Столешница. Предназначена для размещения на ней постоянно некоторых
вспомогательных устройств и временно, на требуемый процессом работы период,
инструмента и приспособлений. Во избежание излишних потерь драгоценных металлов
столешница непременно должна иметь совершенно гладкую, ровную поверхность, для
чего верх ее отделывается термостойким сплошного покроя пластиком. Сегментнообразный
вырез (радиус 300-350 мм и глубиной до 300 мм) в столешнице необходим для
беспрепятственного попадания опилок на поддон; к тому же он как бы очерчивает,
определяет непосредственную рабочую зону, в границах которой ювелир выполняет
почти весь объем работы. К торцу столешницы (в центре, прямо перед сидящим на
стуле рабочим) закреплен финагель - клинообразный выступ, изготовленный из
твердых пород дерева и крайне необходимый (как упор) при выполнении операций
опиливания, выпиливания лобзиком, шабрения. В процессе сбора отходов
драгоценных металлов ювелиру приходится часто снимать и снова устанавливать
финагель, поэтому гнездодержатель должен быть исполнен таким образом, чтобы
съем и установку финагеля можно было производить легко, быстро и надежно. По
всему контуру, исключая непосредственную рабочую зону - сегментообразный вырез,
столешница обшита (с небольшим припуском для бортика) полосой из
коррозионно-стойкой стали. Бортик необходим для задержания отходов, а
отсутствие его в рабочей зоне позволяет исполнителю легко и быстро сметать
опилки в поддон. В целях предупреждения возможного падения обрабатываемых
деталей или изделий на пол, особенно при шабрении, по краям столешницы (левой и
задней сторонам) должно быть установлено ограждение из пластика.
Поддон. Представляет возможность ювелиру снизить до минимума,
предотвратить потери драгоценных металлов. На время работы на поддоне ювелир
располагает изделия или детали (слева - необработанные, справа - обработанные),
а также щетки для сметания (сбора) отходов. Изготовляется поддон из листовой
коррозионно-стойкой стали; устанавливается непосредственно под рабочей зоной;
имеет вид большого совка с незаостренной вогнутой передней частью; края его в
целях безопасности работающего покрыты пластиком-.
Пользование поддоном как выдвижным ящиком обеспечивается наличием
направляющих. Специальное углубление (вырез) в лицевой его стороне сделано для
обеспечения максимально плотного соприкосновения, соприлегания между поддоном и
спецодеждой работающего, что создает условия для наиболее полного попадания
отходов в поддон. Выдвижные ящики. Их всего четыре. Он расположены в первой
части верстака- в тумбе под столешницей. Ящики предназначены для хранения
инструмента. Чтобы избежать случаев механического повреждения инструмента,
ящики сделаны из древесины. В первом сверху ящике ювелиры хранят напильники,
надфили, во втором - кусачки, плоскогубцы, пинцеты, ножницы. В третьем, самом
глубоком - молотки, рентригели, финагель (парный инструмент). В самом нижнем -
спецодежду (халат, тапочки). Вспомогательные устройства. К ним относятся
осветительная лампа-светильник, бормашина, гибкие магистрали параллельной
газовоздушной отводки с держателем для горелки. Осветительная лампа-светильник
необходима для создания таких условий освещенности рабочего места, которые в
полной мере способствовали бы производительному и качественному труду ювелира.
Лампа-светильник установлена на противоположном от рабочего крае столешницы.
Положение лампы-светильника в вертикальной и горизонтальной плоскостях можно
свободно регулировать за счет подвижной стойки. Свет от лампы светильника
должен быть мягким и ровным, по возможности как дневной, и падать на рабочее
пятно (район финагеля), а не на рабочее место вообще. Не допускается свет
мерцающий или направленный в глаза рабочего. Бормашина - специальный
механический инструмент для обработки трудоемких и труднодоступных участков
Изделий. Бормашина состоит из электродвигателя, гибкого приводного шланга,
ножного реостата и набора фрез. Принцип действия «ювелирной» бормашины
практически такой же, как и бормашины медицинской, применяемой в зубоврачебных
кабинетах. Один конец гибкого шланга соединен с валом двигателя, а на другой
насажен наконечник с цанговым зажимом для крепления фрез. Частота вращения
боров регулируется с помощью ножного реостата. Гибкий шланг обеспечивает
рабочему необходимый оперативный простор - установку инструмента в любое
положение. Бормашина подвешивается на штангу, которая, в свою очередь, жестко
устанавливается на фланце, закрепленном к боковой (правой) стороне столешницы.
Гибкие магистрали параллельной газовоздушной отводки с держателем для горелки -
это газовоздушная арматура в комплекте с горелкой. Такими устройствами верстак
оборудуется только там, где на нем предусмотрена возможность выполнения
паяльных работ. В таком верстаке имеется специальная панель, расположенная
справа от ювелира над выдвижными ящиками. На панели - две рукоятки. Над каждой
из рукояток соответствующая надпись «Газ», «Воздух». Вращая рукоятку по
направлению стрелки-указателя и изменяя таким образом давление газа и воздуха,
поддерживают постоянно необходимую температуру и размеры пламени горелки. Для
подачи газа и воздуха имеются краны. Они находятся с тыльной стороны верстака.
Выполняется пайка на асбестовом листе, плотно уложенном на металлическую основу
с отбортовкой. Хранится приспособление для пайки под столешницей на
направляющих. Зажигание горелки осуществляется либо с помощью спиртовки, либо
от пламени специального газового рожка, постоянно горящего. Каркас верстака.
Выполняют сварным металлическим, нестационарным. Нестационарность каркаса
верстака достигается за счет того, что ножки его снизу имеют резиновые
подкладки-подушечки. Такие подушечки повышают устойчивость верстака, исключают
порчу пола, а главное, они значительно снижают, гасят вибрации, что очень важно
для качественного выполнения монтировочных операций. С боковых и задней сторон
каркас обшит стальными листами. Предназначен каркас для установки закрепления
на нем всех составных частей верстака. Части верстака, составляя одно целое -
рабочее место ювелира, заметно различимы по конструкции и предназначены, каждая
в отдельности, для выполнения однозначных задач в общем процессе изготовления
ювелирных украшений. В ходе этого процесса предусматривается проведение ряда
похожих на слесарные, но очень специфичных монтировочных операций (разметки,
гибки и правки, пайки, отбеливания, опиливания, выпиливания лобзиком,
сверления, шабрения, штифтовки) и применение самого различного инструмента и
приспособлений. Во время выполнения работы на верстаке ювелира должно
находиться только то, что необходимо в данный момент. Ювелир должен следить за
тем, чтобы инструмент был всегда годен к работе (не портился и не выходил из
строя), а также за сроком службы, его своевременной заточкой и правкой. Ювелир
обязан постоянно следить за сбором отходов драгоценных металлов. Практика труда
ювелиров показывает, что есть четыре основных условия обеспечения наиболее
полного сбора отходов драгоценных металлов, четыре главных слагаемых уменьшения
их потерь: это чистота на рабочем месте, аккуратность в работе исполнителя,
добросовестность самого исполнителя и, наконец, скрупулезный учет. Сбор отходов
производится ювелиром по мере необходимости после выполнения каждой отдельной
операции и обязательно перед уходом с рабочего места (обед, другая
необходимость), а также после завершения всех работ, в конце рабочего дня.
Порядок сбора такой: произведя обметание монтируемых изделий или деталей и
убрав их в специальный металлический ящик, называемый чаще гофтом, рабочий
обметает примененный в работе инструмент, особенно же тщательно напильники и
надфили; затем сметаются в поддон опилки со столешницы, обметаются руки и
одежда. Обметание инструмента, рук и одежды должно производиться жесткой
щеткой; сметание опилок со столешницы и обметание поддона - мягкой щеткой или
кистью. С помощью этой щетки-кисти и Ювелирного совочка отходы с поддона
собирают затем в специальную с плотно закрывающейся крышкой баночку, именуемую
в обиходе биксой. Щетки и совочки всегда находятся под руками ювелира: щетки -
у правой боковой стенки поддона, совочки - в противоположной от рабочей части.
Баночки-биксы с отходами хранятся в ящике-гофте. Накопленные за месяц отходы
драгоценных металлов подвергаются переплаву. Полученный слиток взвешивается,
регистрируется в журнале учета и сдается в кладовую драгоценных металлов цеха.
В кладовую драгоценных металлов после окончания каждого рабочего дня сдается
опечатанный личной печатью ювелира ящик-гофт.
.2 Инструменты и оборудования для производства ювелирных изделий
Линейка. (приложение 2(а)) Обычная, только непременно металлическая
длиной 100-150 мм. Делительная шкала линейки должна быть четкой, хорошо
просматриваться. Не допускаются зазубрины рабочего ребра. Используется линейка
при проведении необходимых замеров, а также при нанесении чертилкой прямых
рисок.
Штангенциркуль, микрометр стандартные. Штангенциркулем (приложение
2(б)) производят замеры внешних и внутренних размеров, глубины отверстий и
выступов. Точность измерения штангенциркулем выше, чем линейкой, потому что,
во-первых, цена деления его шкалы точнее (0,1 мм), а во-вторых, штангенциркуль
плотнее и надежнее соприкасается с измеряемым предметом. Микрометр (приложение
2(в)) необходим ювелиру в тех случаях, когда требуется особая точность
определяемого размера, в первую очередь при измерении толщин заготовок изделий
или деталей. Цена деления шкалы микрометра 0.01 мм.
Разметочный циркуль. Представляет собой (приложение 2(г)) два
металлических стержня, соединенных пружинным кольцом и стопорным винтом.
Пружинное кольцо обеспечивает рабочим концам циркуля возможность раздвигаться,
расходиться в разные стороны, а стопорный винт необходим для фиксации
расстояния между стержнями. Рабочие концы стержней циркуля делают заостренными.
Применяется разметочный циркуль при делении линий на отрезки, построении углов,
делении круга, обозначении окружностей и дуг, а также при переносе линейных
размеров с рисунка на материал.
Нутромер и кронциркуль стандартные. Нутромером (приложение 2(д))
замеряют внутренний диаметр изделия и деталей, а кронциркулем (приложение
2(е)) -внешний.
Напильник. Применяемые в ювелирном деле. Напильники различаются по
размерам, профилю и насечке. По профилю напильники бывают трехгранные,
полукруглые, круглые, плоские, ромбические, разновыпуклые (приложение 3(а)).
Ювелирные напильники в отличие от слесарных, как правило,- остроносые. Насечка
напильников обозначается номерами: 0, 1, 2, 3, 4, 5. Чем выше номер насечки,
тем мельче зуб напильника. Напильники с крупной насечкой (номеров 0, 1,2)
предназначены для предварительного (чернового) опиливания, напильники с более
мелкой насечкой (номеров 3, 4, 5) - для окончательного (чистового). Напильники
изготовляют из инструментальных сталей. Для обеспечения возможности безопасной
и удобной работы на хвостовик напильника насаживают деревянную ручку. Надфиль.
Отличается от напильника меньшей плоскостью сечения и тем, что хвостовик
надфиля одновременно является рукояткой. Как и напильники, надфили (приложение
3(б)) различаются по размерам, профилю и насечкам. Профиль надфилей - самый
разнообразный. Надфили бывают трехгранные, клиновидные (ножевые), ромбические,
плоские, квадратные, круглые, полукруглые, разно- выпуклые, пазовые, овальные,
игольчатые. Насечка надфилей обозначается номерами 1-6. Надфили с насечкой
номеров 1, 2, 3 применяются при черновом опиливании рельефа, контура, паяных
соединений. Надфили с насечкой номеров 4-6 служат для чистовой отделки:
выведения мелких рисок, обработки крапанов. Крепятся надфили в ручках с
цанговым или винтовым зажимом.
Рифель. В отличие от большинства надфилей рифели имеют укороченную,
изогнутую рабочую часть двояковыпуклого, круглого и полукруглого профилей с
изгибами различной конфигурации: кольцевыми, двухрадиусными, лыжевидными. Как
правило, у рифелей (приложение 3(в)) односторонняя насечка. Применяются
рифели для обработки вогнутых поверхностей, доводки внутренних поверхностей
полых изделий. Фреза. Способ опиливания с применением бормашинки и набора
боров-фрез (приложение 3(г))позволяет работать быстрее и
производительнее. Наиболее часто применяются следующие виды фрез: коническая,
цилиндрическая, торцовая, комбинированная, шаровая, полостная, фасонная.
Лобзик или лобзикштейн. По конструкции и принципу действия похож на
обычную ножовку (приложение 3(д)). Закрепление режущей пилки и
стабилизация ее в рабочем положении, а также съем осуществляются вращением в ту
или другую сторону винта-барашка и зажимных щечек, удерживающей поверхности
которых нанесены риски-зубчики. Размер лобзика по длине свободно регулируется и
фиксируется при помощи направляющих и винта-барашка, что позволяет использовать
в работе пилки как стандартной длины, так и укороченные (сломанные). Пилки для
лобзика представляют собой определенной длины закаленную проволоку прямоугольного
сечения с наклонно-зубчатой насечкой на одной грани. Крепится пилка
направлением режущих зубьев вниз, так как рабочее положение лобзика обычно
вертикальное. Сверло. Состоит из рабочей части и хвостовика (приложение
4(е)). Участок рабочей части в виде конуса, образованного режущими
кромками, называется режущим, а угол этого конуса - углом заточки сверла.
Оптимальное значение этого угла при сверлении золотых и серебряных сплавов
колеблется от 125 до 140°. Винтовые канавки, имеющиеся в рабочей части сверла,
необходимы для прохождения, отвода опилок. Хвостовик служит для крепления
сверла в патроне шпинделя.
Шабер. Состоит из стержня с рабочей частью и ручки (приложение 4(ж)).Рабочая
часть шабера (в целях безопасности очень короткая - 20 мм) имеет три лезвия - три
ребра, образованных трехгранной конической заточкой, угол при вершине которых
называется углом заточки шабера. Изготовляются шаберы из инструментальных
сталей, отличаются друг от друга размерами сечения и углом заточки. Рабочая
часть шабера закаливается.
Чекан. Это стальной (из легированной стали) стержень длиной от 9 до 12 см
круглого, квадратного, прямоугольного, восьмигранного сечений. Рабочий конец
чекана должен быть закален, средняя часть не закаливается и имеет утолщение для
повышения устойчивости в работе (при ударах) и снижении вибрации. Хвостовик
чекана делается относительно мягким и вязким, чтобы уберечь его от
расплющивания. На рабочей поверхности чекана не должно быть острых углов и
граней, в целях исключения пробивки насквозь. Чеканы различают по форме рабочей
части, которая может иметь самый разнообразный рисунок-насечку. Сортамент
чеканов в соответствии с выполнением новых конкретных чеканных работ постоянно
меняется и растет. Основные виды чеканов (приложение 4(з)) имеют
следующие названия.
Расходник. Этот чекан (приложение 4(з-2)) используют для
воспроизводства, прочеканивания общего очертания рисунка или шрифта; форма
рабочей части (бойка)., как правило, линейная в виде слегка закругленного клина
и напоминает лезвие отвертки; бывает также с изогнутой формой бойка.
Пурошник и бобошник. Рабочая часть этих чеканов (приложение 4 (з-3))-
полушаровая и овальная; применяются они для получения всевозможных выпуклостей,
обеспечивают глубокую вытяжку рельефа.
Лощатник. Чекан этой разновидности (приложение 4 (з-4) имеет боек
плоских форм; применяется для выравнивания и сглаживания плоских участков
изображения. Различают Полированные лощатники для получения блестящего
изображения и лощатники с различной степенью шероховатости матовые.
Сечка. Применяют для выбивания тонкого линейного рисунка и для
одностороннего ступенчатого смещения металла; имеет форму односторонне
заточенного плоского зубила (приложение 4 (з-5)).
Штихель. Это своеобразный стальной резец длиной 100-120 мм, закрепленный
в деревянной длиной 30-70 мм ручке специальной формы. Штихели различают- по
форме их поперечного сечения и форме режущей части (приложение 4(и)).
Штихели определенного профиля делятся также в зависимости от толщины по
номерам.
Гравировальная зубилка. Очень похожа на штихель, однако применяется только
для выполнения черновой работы, т. е. при необходимости выемки значительного
количества металла. Кусачки, ножницы. Применяют для резки (откусывания,
вырезания) материала в процессе выполнения многих операций изготовления
ювелирных украшений (приложение 4(л)). Основной инструмент для гибки -
гибочные щипцы (приложение 5(а)). Изготовляют их, как правило, из
инструментальной стали; форма их неизменна не одно столетие. Размер щипцов
(длина) колеблется от 13 до 16 см. Бывают еще так называемые малые щипцы. Длина
этих щипцов - около 12 см. Применяются они редко - при исполнении «тонких»
работ, где обычными щипцами трудно достичь требуемую точность формообразования.
Все щипцы различаются по форме рабочих поверхностей губок. К вспомогательным
средствам для гибки относятся различные оправки и ригели, ручные тиски,
специальные приспособления, а для гибки листов и полос - металлические и
деревянные опорные плиты с формообразующим желобком (приложение 5(б)).
Процессы правки осуществляются с помощью следующих средств: металлических,
деревянных, текстолитовых молотков, стальных правочных (рихтовальных)
плит-флакейзенов, наковален-шпераков, плоскогубцев, ригелей, оправок,
волочильных досок, специальных пуансонов (приложение 5(в)). Основной
инструмент для пайки - пламенная горелка, используются также пинцет и ножницы (приложение
6). В качестве топлива для горелок используется газ от сети и баллонный.
Горелки, работающие на газовом топливе, состоят из двух трубок (стальных или
латунных): одна для подачи газа, другая - воздуха. Каждая трубка снабжена
вентилем, играющим одновременно роль запорного и регулировочного. Для
смешивания воздуха с газом конец воздушной трубки впаивается в газовую трубку
или две ведущие трубки впаиваются в третью. Трубка смешения оканчивается насадкой,
в которой происходит окончательное смешение воздуха с газом и которая придает
факелу определенную форму. Конструкции насадок могут быть различны. В качестве
шлифующего инструмента при ручном изготовлении ювелирных украшений применяют
абразивные бруски (точильные камни), шлифовальные напильники стержнеобразные
длиной около 150 мм полукруглой, круглой, квадратной, прямоугольной,
треугольной форм сечения, различной зернистости карбидокремниевые камни, пемзу,
сланец, шлифовальные угли (обычно в виде брусков квадратного сечения),
наждачную бумагу (шкурку), шерстяные, войлочные, фетровые круги, различные
волосяные щетки, бормашинки со сменными резиновыми и керамическими кругами.
Штихели представляют собой стальные закаленные клинки размером от 100 до 120 мм.
Верхняя часть штихеля называется спинкой, нижняя - лезвием (приложение 7(а)).
Нерабочий конец штихеля насаживается на сферической формы деревянную ручку.
Шпицштихели (вырезные штихели). Самый распространенный и наиболее употребляемый
в работе режущий инструмент закрепщика. Шпицштихели могут иметь как прямую, так
и боковую (правую и левую) заточки (приложение 7(б)); при левой заточке
режущая кромка находится на левой стороне штихеля, при правой - на правой. Угол
лезвия шпиц- штихеля колеблется от 30 до 45°, а угол заточки равняется 45°.
Флахштихели (плоские штихели). Имеют плоское лезвие шириной от 0,2 до 0,4 мм.
Штихели с шириной лезвия от 0,2 до 0,3 мм применяются для чистовой подрезки при
корнеровой закрепке, обрезки корнеров, высечки крапанов; штихели с более
широким лезвием используются для чистовой обработки кастов и разделки при всех
видах закрепки, кроме клеевой, для глянцевой подрезки (придания глянца,
блеска). Фрезы для бормашины, надфили, кусачки, сверла при закрепке применяются
те же, что и при выполнении монтировочных операций. Заточка штихелей
производится с помощью мелкозернистых брусков. Для улучшения процесса заточки
точильные бруски смазывают маслом. При заточке необходимо стремиться к тому,
чтобы площадь заточки образовывалась за один прием. Полирование лезвия
происходит с применением паст ГОИ, кожи, брусков на каучуковой основе, а также
мраморных брусков. Ювелир-закрепщик в процессе закатки и обжимки металла
пользуется следующими инструментами: давчиками, обжимками - обдавками
металлическими (обжимными пуансонами), корнер- вертками, корнезерами, накатками
(мелиграфами), закрепочными молоточками (приложение 7(в)). Опорная
прокладка-наковальня. Используется как приспособление в процессе чеканки.
Простой опорной подкладкой является стальная плита с ровной поверхностью, без
острых углов и ребер. Существуют также специальные подкладки, например анка (приложение
8(а)) (стальная плита кубической формы), имеющая полушаровые углубления
различных диаметров, предназначенные для выколачивания сферических заготовок
пустотелых изделий. В ряде случаев применяются мягкие подкладки, ослабляющие
силу ударов при чеканке. Такие подкладки выполняют из дерева, резины, картона,
свинца, смоляной смеси, специальной мастики. Ручные деревянные тисочки. Состоят
из двух равных полукруглой формы общим диаметром 30-35 мм деревянных
дощечек-губок, соединенных между собой закрепочным винтом (приложение 8(б)),
которым регулируется сила сжатия изделия и соответственно подвижка
(расхождение) губок, нег превышающая, как правило, 15 мм. Ручные
деревянные тисочки используют для операций опиливания, выпиливания, сверления,
шабрения, гравирования, закрепки. Дрель. Состоит из металлического сплошного
стержня, цангового зажима, маховика, ручки, ремня. Стержень необходим для
закрепления цангового зажима и маховика, в верхней части которого имеется
отверстие для заправки ремня (приложение 8(в)). Дрель используют для
выполнения операций сверления и рассверливания. Специальное зажимное
приспособление. При гравировании удержать изделие в руке удается лишь в редких
случаях, обычно же оно должно быть закреплено. Это достигается с помощью ряда
приспособлений: деревянных ручных тисков, граверных колодок, крепежных дощечек,
шаровых тисков, граверной подушки. Граверные колодки. Представляют собой две небольшие
(20Х 100 мм) прямоугольного вида металлические пластины (приложение 8(г)),
подвижно соединенные зажимными винтами. Закрепление в них изделий
осуществляется одновременно с применением мягких прокладочных материалов
(дерева, кожи). Шаровые тиски-шрабкугель. Выполняются в виде чугунного шара (приложение
8(д)) диаметром не более 130 мм. Верхняя часть шара срезана. В
сегментообразном срезе вырезан паз, в котором с помощью болтов закрепляется
дощечка с изделием. Для обеспечения свободного маневрирования (перемещения
изделия) под шрабкугель подкладывают кольцо из кожи; как шрабкугель можно
использовать отслуживший зажимной патрон шпинделя токарного станка, добавив к
нему деталь в виде полушара. Граверная подушка. Самое простое граверное
приспособление. Представляет собой круглую подушечку (приложение 8(е)),
набитую песком. Материалом для подушечки служит кожа или парусина. Используется
подушка как подкладка для крепежной дощечки. Изготовить такую подушку трудности
не представляет. Леткал. Используются в качестве огнеупорных приспособлений в
процессе пайки ювелирных украшений. Обычно ювелиры применяют асбестовый леткал
на деревянной основе. Для пайки изделий, которые необходимо паять в
вертикальном положении, на леткале укрепляют пружинные зажимы: изделия или
детали зажимаются между парными проволочными выступами. Для пооперационной
пайки применяют леткал-вертушку, представляющую собой металлический цоколь, на
котором на ножке укреплен вращающий стол (приложение 8(ж)). Упорный
угольник простой и регулируемый. Необходим для проверки перпендикулярности
стойки, выступа, элемента изделия, для определения отклонения поверхности от
прямолинейности и плоскостности (приложение 8(з)). Чертилка.
Металлический стержень, по форме и размерам напоминающий обычный карандаш, только
с более заостренным, чем у карандаша, грифелем (иглой). Чертилка необходима для
нанесения рисок на размечаемой поверхности как от руки, так и по линейке,
угольнику, шаблону. Разметочная плита. При выполнения разметки в качестве
разметочной плиты ювелиры используют металлический незакаленный прямоугольного
или круглого сечения брусок размерами примерно 150Х100 мм. К нижней его
плоскости для уменьшения вибрации наклеивается соразмерный лист плотной,
упругой резины. Верхняя плоскость бруска ровная, гладкая. Многие ювелиры
применяют правочную плиту (флакейзен). Ручные вальцы. Необходимы для обработки
металла давлением при непрерывном изменении его формы по всей длине или в
каком-то заданном участке заготовки. Вальцы (приложение 8(и)) бывают с валками
в форме гладких цилиндров с вырезами различных профилей. Гладкие валки
обеспечивают прокат листов, полос, лент, пластин, а профильные служат для
получения проката круглой, квадратной и других форм. Волочильная доска.
Применяется для осуществления процесса волочения вручную - протягивания
заготовки через коническое отверстие инструмента, называемого матрицей или
фильером. Бывает с отверстиями, просверленными непосредственно в ней самой
(приложение 8(к)), но может быть снабжена вставленным в нее комплектом матриц-фильеров.
Путем волочения получают из проволок большего диаметра проволоку требуемого
диаметра, а из ленты - трубчаты заготовки, идущие на изготовление шарнирных
соединений и оправ для мелких камней. На приложении 9 показаны виды
профилей заготовок, получаемых волочением, а на приложении 10 рисунчатые
поверхности лент и полос, получаемых прокаткой.
.
.3 Техника безопасности при ручном изготовления ювелирных украшений
В процессе изготовления ювелирных украшений исполнитель должен помнить о
следующих требованиях. Одежда работающего должна быть чистой и аккуратно
заправленной; рабочее место должно содержаться в чистоте. Работать следует
только исправным инструментом. Все инструменты с заостренными концами должны
иметь ручки. При разметке, гибке, правке, опиливании, шабрении, штифтовке,
чеканке, гравировании, закрепке необходимо проявлять особую аккуратность и
осторожность в обращении с чертилкой, циркулем, напильниками, надфилями,
шаберами, кусачками, фрезами, чеканами, штихелями; не допускать нахождения указанных
инструментов на краю или близко к краю стола; не применять их в качестве
приспособлений для открывания ящиков и палочек для размешивания; не касаться
руками острых и режущих частей инструмента; по окончании соответствующих работ
убрать инструменты в ящики верстака. Во время выпиливания лобзиком необходимо
быть предельно внимательным; не прилагать излишних усилий на пилку в целях
ускорения процесса выпиливания, не пытаться высвобождать силой заклинившуюся
пилку, не направлять ее пальцами на линию пропила. Выполняя операцию сверления,
нельзя поправлять сверло на ходу. При полировании изделия держать его острыми
гранями по ходу вращения круга. Полируемые поверхности изделия располагать
относительно круга так, чтобы изделие не подхватывалось кругом. Не допускать
сильного нагрева изделия во избежание ожога рук. При заточке инструмента
пользоваться защитным экраном или очками. Не затачивать инструмент боковой
(ториовой) поверхностью круга.
Не мыть руки в масле, эмульсии, керосине и не вытирать их матерчатыми обрезками,
загрязненными стружкой. При проведении паяльных работ особое внимание
необходимо обратить на то, чтобы исключить возможность взрыва газов,
возникновения пожаров и получения ожогов; при утечке газа запрещается: зажигать
горелку, включать и выключать электроприборы; на верстаке не должны находиться
легко воспламеняющиеся предметы; изделия должны остывать на подставках из
огнеупорных материалов; переносить их следует пинцетом. При отбеливании нельзя
допускать загрязнения отбелов и попадания в них инородных металлов; не
допускать попадания отбеливающих растворов на руки и одежду; не опускать в
отбел полностью не остывшие детали и изделия, чтобы избежать появления брызг;
при погружении изделий в отбел и извлечении их из него пользоваться специальным
кислотостойким сетчатым ковшом или медными пинцетами. В случае необходимости
работу выполнять в спецодежде (халате, рукавицах) и с применением средств
индивидуальной защиты (очков, линз). Тару с кислотами держать закрытой; при
попадании (во время пользования) кислот на тело смыть водой и обратиться к
врачу.
После окончания работ (особенно перед приемом пищи) необходимо тщательно
вымыть руки; принимать пищу и курить во время работы нельзя.
Глава 2. Литье по выплавляемым моделям в ювелирном производстве
.1 Литье по выплавляемым моделям
Метод литья по выплавляемым моделям широко применяется в ювелирном
производстве. Этот метод позволяет серийно изготовлять изделия сложной
конфигурации, обеспечивая при этом требуемую точность, а также получать
тонкостенные отливки с отклонением от заданного размера не более 0,5% и
чистотой поверхности 5-6 кл. Это дает возможность использовать их как готовые
элементы ювелирных изделий без дополнительной механической обработки. Чаще
литье по выплавляемым моделям производится на центробежных установках, откуда и
сам метод литья получил название - центробежное литье. Литье может
производиться и на вакуумных установках методом вакуумного всасывания. При этом
схемы обоих технологических процессов литья по выплавляемым моделям идентичны,
различаются лишь процессы заполнения (заливки) литейной формы и оборудование,
на котором эта операция производится. Метод литья по выплавляемым моделям
приобрел широкое применение даже в условиях небольших ювелирных мастерских.
Применяемое оборудование несложно по конструкции, невелико по размерам и может
быть смонтировано в производственном помещении площадью 20-25 м2.
При этом даже мастерские, не имеющие в своем составе высококвалифицированных
ювелиров-модельеров, методом заимствования опыта и использования готовых
резиновых форм могут изготовлять высокохудожественные изделия и таким образом
удовлетворять спрос населения. Основными этапами изготовления элементов
ювелирных изделий по выплавляемым моделям являются изготовление
образца-эталона, изготовление пресс-формы, изготовление восковой модели,
подготовка литейной формы, отливка элементов ювелирных изделий, очистка
отливок. Оборудование. Для выполнения технологического процесса литья ювелирных
изделий по выплавляемым моделям необходимо следующее оборудование:
вулканизационный пресс, инжекторная установка, установка для
вибровакуумирования, муфельная печь, литейная установка (плавильно-заливочная
установка или простейшая настольная центрифуга, установка
"вакуум-металл"), сушильный шкаф, установка для электрохимического
полирования, технические весы 1 кл., оборудование для плавки, баки для выбивки
отливок и размывки опок, опоки из жаропрочной стали, электропаяльник, а также
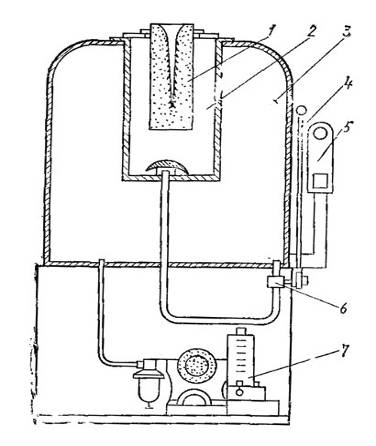
различный инструмент и тара. Вулканизационный пресс (приложение 11)
предназначен для получения резиновых пресс-форм по образцу-эталону изделия
путем вулканизации резины. По конструкции прессы могут быть различными, но все
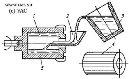
они имеют подогрев в верхней и нижней плите. Инжекторные установки (приложение
12) предназначены для получения выплавленных моделей путем расплавления
воска и заполнения им резиновых пресс-форм. Установка состоит из резервуара для
воска, электронагревателя и терморегулирующего устройства. Конструктивно она
может быть выполнена в различных вариантах. Пресс представляет собой переносную
конструкцию. На жесткой (литой) станине установлена нижняя плита, в которую
вмонтирован электрический нагреватель. По специальным направляющим, вертикально
стоящим и жестко прикрепленным к станине с помощью червячной передачи,
перемещается верхняя плита, в которую также вмонтирован электрический
нагреватель. Установленная между плитами и поджатая опока с сырой резиной
нагревается до определенной температуры. Под действием давления и температуры
пластины сырой резины свариваются между собой. Для регулирования и поддержания
температуры пресс имеет автоматическую или ручную систему регулирования.
Наиболее удачной конструкцией инжекторной установки является вертикально
расположенный цилиндрический кожух. Внутри кожуха смонтирован резервуар для воска,
из которого воск под давлением сжатого воздуха, подаваемого от компрессора
через редуктор, поступает в инжекторное сопло. Давление сжатого воздуха
контролируется манометром, который установлен на верхней крышке кожуха
инжекторной установки. Избыточное давление перед редуктором должно быть не выше
19,62*104-29,43*104 Па (2-3 кгс/см2), а при
вспрыскивании - 1,96*104-7,85*104 Па (0,2-0,8 кгс/см2).
Инжекторное сопло оснащено системой индивидуального обогрева. Под соплом
установлен желоб для направления стекающего воска в специальный поддон. На
передней части кожуха инжекторной установки смонтированы рукоятки управления.
Скорость нагрева воска регулируют рукояткой регулятора мощности (ручка со
шкалой 0-10). Температуру нагрева контролируют дистанционным контактным
термометром. Заполнение резиновой пресс-формы воском происходит через
инжекторное сопло, температуру индивидуального обогрева которого можно изменить
от 0 до 50°С с помощью специально предусмотренного регулятора обогрева.
Муфельная печь. В зависимости от объемов производства применяются печи
различных видов. При мелкосерийном производстве наибольшее применение имеют
сушильный электрический лабораторный шкаф СНОЛ-2,5-2,5-2,5/2М и электропечи
сопротивления СНОЛ-1,6*2,5*1/9-М2У4*2; СНОЛ-1,6*2,5*1/11- М1У4*2. В этих печах
предусмотрена автоматическая регулировка заданного режима нагрева внутренней
шахты печи. Нагреватель выполнен из проволоки высокого омического
сопротивления, Контроль и регулировка температуры осуществляются
милливольтметром. Нагреватель включается с помощью магнитного пускателя.
Пространство между камерой и корпусом шкафа заполняется теплоизоляционным
материалом.
.2. 3D-моделирование ювелирных изделий
Основным
этапом при создании ювелирного изделия в современном мире является 3D моделирование.
Большинство европейских компаний уже не один год используют преимущества,
предоставляемые данной технологией. На этапе 3D проектирования учитываются все
последующие технологические особенности производства от деформации резиновой
пресс-формы и восковок в результате “усадок” до закрепки камней и полировки.
Большим преимуществом является возможность модификации 3D модели: создание
размерного ряда колец <#"604388.files/image001.gif">
Приложение 2
Приложение 3

Приложение 5
Приложение 6
Приложение 7
Приложение 8
Приложение 9
Приложение 10
Приложение 11.
Приложение 12
Приложение 13
Приложение 14
Приложение 15
Приложение 16
Приложение 17
Приложение 18
Приложение 19