Разработка технологии ремонта маховика автомобиля КАМАЗ-5320
Содержание
Введение
1. Характеристика условий
работы детали, ее конструктивные особенности и технические условия на
изготовление
2. Характеристика
материала детали
3. Технические условия на
контроль сортировку деталей. Карта
технических условий на дефектацию детали
4. Назначение, принцип
действия и конструктивные особенности приспособления
5. Техническое
нормирование операций технологического процесса
5.1 Протачивание рабочей
поверхности маховика
Заключение
Список использованных
источников
Введение
Агрегаты и большинство деталей автомобиля являются ремонтируемыми
объектами, их исправность и работоспособность в случае возникновения отказа или
повреждения подлежат восстановлению. В предельном случае нарушения
работоспособности, когда эксплуатация автомобиля или его агрегата должна быть
прекращена полностью или он должен быть подвергнут капитальному ремонту,
состояние объекта называется предельным. Следует отметить, что критерии
предельного состояния различных агрегатов автомобиля определяются и неустранимым
нарушением безопасности движения, и неустранимым отклонением заданных
параметров от установленных пределов, и главным образом неустранимым снижением
эффективности эксплуатации автомобиля. Закономерности переходов технического
состояния деталей, агрегатов и систем автомобиля из исправного,
работоспособного состояния в неисправное, неработоспособное, и, наконец, в
предельное состояние и обратно изучают методами теории надежности технических
объектов. При анализе надежности рассматривают как отдельный технический объект
автомобиль, его систему, агрегат ил деталь.
По мере использования машин их работоспособность и эксплуатационные
показатели (тяговая мощность, тяговое сопротивление, расход топлива,
производительность) не остаются постоянными, а изменяются в широких пределах.
На узлы, механизмы и детали во время их работы оказывают влияние
механические, химические, тепловые и электрохимические факторы. В результате
этого возникают необратимые процессы, например износ, смятие, коррозия,
остаточные напряжения, вызывающие неисправности деталей машин.
Износ поверхностного слоя, изменение свойств материала, формы, размеров и
веса детали - все это непрерывные, медленно нарастающие процессы. Развитие
неисправностей вызывает постепенные или внезапные отказы в работе узла или всей
машины.
Эти изменения становятся ощутимыми, когда работа деталей качественно
видоизменяется: неподвижное соединение переходит в подвижное, а плотное
прилегание - в неплотное; увеличенный зазор в подвижном соединении вызывает
появление ненормальных стуков или изменение показателей работы.
Для приведения неисправной машины в работоспособное состояние существует
определенная совокупность работ называемая технологическим процессом ремонта
машин.
Основным документом для осуществления технологических процессов ремонта
машин служит типовая технология ремонта. Изучение, освоение и внедрение
рекомендаций, содержащихся в этом документе, позволит своевременно и
высококачественно проводить ремонт машин.
Целью данного курсового проекта является разработка технологического
процесса восстановления маховика двигателя КамАЗ-5320, с применением передовых
форм и методов ремонта (организации авторемонтного производства). Так же
курсовое проектирование ставит перед собой цель привить навыки самостоятельного
решения конкретных задач, связанных с организацией ремонта машин на основе
приобретенных знаний при изучении общетехнических и профилирующих дисциплин.
1.
Характеристика условий работы детали, ее конструктивные особенности и
технические условия на изготовление
Маховик изготовлен из серого специального чугуна. Он закрепляется на
заднем торце коленчатого вала и фиксируется двумя штифтами. На маховик в
горячем состоянии напрессовывается зубчатый венец. Характерной особенностью
маховика является наличие приливов, которые показаны на рис. 1. Характерные
дефекты маховика:
обрыв болтов крепления маховика; до 1980 г. с указанным дефектом
поступало в ремонт 5-6 % двигателей от общего их количества; для устранения
этого дефекта Камское объединение с 1980 г. устанавливает болты большего
диаметра с подголовочной шайбой;
износ шипов ведущего и нажимного маховиков сцепления, установочной
втулки, ослабление ее посадки, манжеты первичного вала и поломка в ней пружины;
трещины на рабочей поверхности глубиной до 2 мм, ее износ, задиры, риски.
Рисунок 1 - Маховик двигателя автомобиля КамАЗ-5320
2. Характеристика материала детали
Заготовка для маховика представляет собой отливку из серого чугуна марки
СЧ20 (ГОСТ1412-85). Отливка производится
Таблица 1 - Химический состав чугуна СЧ20 (ГОСТ1412-85)
|
Марка чугуна
|
Хим. состав, % по массе
|
|
С
|
Si
|
Mn
|
P
|
S
|
|
СЧ20
|
3,3 - 3,5
|
1,4 - 2,4
|
0,7 - 1,0
|
<0,2
|
<0,15
|
Метод центробежного литья позволяет получать отливки свободной заливкой
жидкого металла во вращающуюся форму. В процессе вращения центробежные силы
отбрасывают металл от центрального литника к краю формы, после чего происходит
заполнение полости и затвердевание отливки из чугуна. Этот способ предполагает
получать отливки с плотной структурой без усадочных пустот и рыхлости, что
очень важно для получения тел вращения.
После их извлечения из формы и очистки подвергаются заключительной стадии
технологического процесса - выявлению наружных и внутренних дефектов отливки из
чугуна. Для поиска наружных дефектов применяется внешний осмотр. Чугунные
отливки с внутренними дефектами обнаруживаются радиографическими или
ультразвуковыми методами дефектоскопии, с помощью которых определяются размеры
и глубина залегания дефектов.
3. Технические условия на контроль сортировку деталей
Таблица 2
Карта технических условий на дефектацию детали
|
Эскиз детали
|
Деталь
|
Маховик КамАЗ 740
|
|
|
№ детали
|
740.1005115
|
|
Материал
|
маховика - чугун серый СЧ
20; обода зубчатого - сталь 35
|
|
Твердость
|
маховика - НВ 200 - 241;
обода зубчатого - НВ 167-212
|
|
№ дефекта по эскизу
|
Возможные дефекты
|
Способ установления дефекта
и контрольный инструмент
|
Размер, мм
|
Заключение
|
|
|
|
По рабочему чертежу
|
Допустимый без ремонта
|
|
|
1
|
Обломы или трещины на
маховике более 2 мм длинной
|
Магнитный дефектоскоп
|
-
|
-
|
Браковать
|
|
Трещины глубиной до 2 мм,
износ, риски, задиры на рабочей поверхности
|
Осмотр визуальный
|
Др = 7 6,1
|
Шлифовать до устранения
дефект
|
|
2
|
Износ пазов в шипах
|
Калибр 60,15
|
60+0,06
|
60,15
|
Наплавить и прошлифовать
|
|
3
|
Обломы, трещины на зубчатом
ободе
|
Осмотр визуальный
|
-
|
-
|
Заменить зубчатый обод
|
|
Износ зубьев по длине l3
зубчатого обода
|
Эталон замера длины зуба
|
20-0,26
|
-
|
Заменить обод при длине
зуба меньше эталона
|
|
5
|
Износ отверстия под
установочную втулку
|
Пробка 51,97
|
52
|
51,97
|
Восстановить осталиванием
|
Дефектация, восстановление и сортировка маховиков производятся в
соответствии с требованиями технических условий.
Технические условия на контроль, сортировку и восстановление маховика
представлены в табл. 2
Дефекты маховиков устраняются следующим образом. Износ, риски, задиры,
трещины глубиной до 2 мм на рабочей поверхности устраняются шлифованием на
плоскошлифовальном станке. Изношенные пазы наплавляются, после чего шипы
шлифуются. Зубчатый обод, имеющий обломы, трещины и износ зубьев, с маховика
спрессовывается и вместо него напрессовывается новый. При обломах, трещинах
маховики выбраковываются.
Маршруты восстановления маховика
Очистка.
Загрязнения поверхностей удаляют с помощью водных растворов технических
моющих средств (ТСМ). ТСМ представляют собой многокомпонентные композиции
включающие в свой состав поверхностно - активные вещества (ПАВ) и активные
солевые добавки (карбонаты, силикаты, фосфаты). Наиболее эффективная очистка
производится раствором каустической соды. Продолжительность мойки чугунных
деталей в 3-3,5%-ном растворе каустической соды, нагретом до 75-80° С,
составляет 10-12 мин.
Установку для мойки и очистки выбирают в зависимости от среднего объёма
восстанавливаемых деталей. При большом объёме деталей руководствуются картой
типового технологического процесса очистки (КТТП).
Для данного технологического процесса выбрана распылительная моечная
машина Сивер 100 ВТ со следующими параметрами
Таблица 3.
|
Основные характеристики
моечной машины Сивер 100 ВТ
|
|
Внешние габариты*,.мм
|
Температура промывки
|
Напряжение, В
|
Давление рабочее, бар
|
Рабочие характеристики
камеры
|
Мощность, кВт
|
Резервуар ,л
|
Вес, кг
|
|
Д
|
Г
|
В
|
|
|
|
Диам., мм
|
В1, мм
|
Нагрузка, кг
|
|
|
|
|
1450
|
1450
|
1285
|
Выше 65°С
|
220/380
|
2,6
|
970
|
500
|
200
|
7,6-6
|
210
|
152
|
|
(*) без дополнительного
оборудования и оснащения.
|
Дефектация.
Результаты измерений должны заноситься в карту технических требований на
дефектацию, где оформляется заключение о способе устранения дефекта.
Склад металлолома.
При выявлении невосстанавливаемых дефектов или если маховик экономически
не выгодно восстанавливать (трещины длиной или глубиной свыше 2 мм), делают
заключение о его негодности и по предварительной договорённости с заказчиком
отправляют на склад металлолома.
Ремонт рабочей поверхности
Производится проточка рабочей поверхности до удаления дефектов (задиров,
борозд, буртика) или устранения отклонения геометрической формы. Используется
резец из стали ВК-3 Параметры режима обработки следующие: скорость резания
80-100 мм/мин; подача 0,03 мм/об; глубина резания 0,15...0,30 мм; шероховатость
поверхности Ra = 2,5 мкм.
Балансировка
Контроль ОТК.
После механической обработки маховики очищают и моют затем контролируют в
соответствии с техническими требованиями.
Качество проверяют по следующим признакам: внутреннему диаметру отверстия
под направляющую втулку; шероховатости и отклонениям формы рабочей поверхности.
Консервация и упаковка.
При необходимости длительного хранения маховики упаковываются в вощённую
бумагу и сдаются на склад запасных частей, где оформляется Акт приёма -
передачи в двух экземплярах, один из которых остаётся на складе.
Таблица 4
Технологический процесс восстановления маховика автомобиля КамАЗ-5320
(маршрут 6)
|
№ операции
|
Операция
|
Технические условия и
указания
|
Оборудование,
приспособления и инструмент
|
|
10
|
Мойка и очистка гильзы
цилиндра от масляных загрязнений
|
|
Моечная машина
распылительная Сивер 100 ВТ
|
|
20
|
Дефектация
|
|
Стол контролера, индикатор
часового типа ГОСТ 577-68, калибр-пробки
|
|
30
|
Проточка рабочей
поверхности
|
Скорость резания 90 мм/мин,
подача 0,03 мм/об, глубина резания 0,2мм
|
Токарный станок 16К25,
Спец. приспособление, Резец ВК-3, ИЧ-10 ГОСТ 577-68
|
|
40
|
Балансировка
|
Допустимый дисбаланс не
более 120 гс·см
|
Станок БВИ-03-80М2
|
|
50
|
Мойка и очистка рабочей
поверхности
|
|
Моечная машина
распылительная Сивер 100 ВТ
|
|
60
|
Контроль качества
|
|
Стол контролера, индикатор
часового типа ГОСТ 577-68, калибр-пробки
|
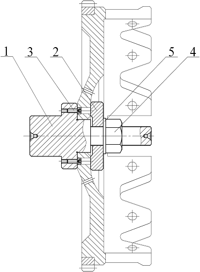
4. Назначение, принцип действия и конструктивные особенности
приспособления
Приспособление является переходником для токарного станка. Такое
устройство позволяет надежно и точно закрепить деталь для обработки.
Приспособление для закрепления маховика под проточку
- фланец, 2 - прижим, 3 - винт, 4 - гайка,
Принцип действия приспособления заключается в следующем.
Во фланце 1 имеется 2 отверстия, в которые закручены винты 3. Головки
этих винтов удерживают закрепленный маховик от проворачивания. На другом конце
фланца нарезана резьба М30 На эту резьбу накручивается гайка 4, которой
осуществляется окончательное закрепление маховика.
Приспособление закрепляется в патроне токарного станка и осуществляется
протачивание рабочей поверхности.
5. Техническое нормирование операций технологического процесса
Норма времени включает ряд элементов:о - основное время;в
- вспомогательное время;орм - время обслуживания рабочего места;п
- время перерыва на отдых;п-з - подготовительно-заключительное
время.
Основное время - время, в течение которого происходит изменение размеров,
формы и свойств обрабатываемых поверхностей детали.
Вспомогательное время включает две составляющие: время на установку и снятие
детали и время, связанное с переходом.
Время обслуживания рабочего места и время перерыва на отдых принимается в
процентах от оперативного времени, которое равно сумме основного и
вспомогательного времени.
Подготовительно-заключительное время даётся на парию и не зависит от
величины этой партии.
Штучное время в общем случае определяется по формуле:
, (1)
Штучно-калькуляционное время определяется по формуле:
, (2)
где n - размер партии деталей;
Размер партии определяется по формуле:
, (3)
где N =
54000 шт. - производственная программа;x - число дней хранения
(10-20 дней);p - число рабочих дней в году.
детали.
Штучно-калькуляционное
время, с учетом годовой программы:
. (4)
Годовой фонд времени:
(5)
где
- количество смен в сутки;
- число
календарных дней в году;
- число
выходных дней в году;
- число
праздничных дней в году;
-
продолжительность смены.
В
дальнейших расчетах принимаем:= 1 см/сут;
= 365
д.;
= 104
д.;
= 12 д.;
= 8 ч.

(6)
5.1 Протачивание рабочей поверхности маховика
, (8)
где Lpx - длина рабочего хода инструмента, мм;- число
проходов;- частота вращения детали, об/мин.;- подача инструмента за один оборот
детали, мм/об.
;
об/мин.
мин.
,
где tву - вспомогательное время на установку-снятие;вп
- вспомогательное время, связанное с переходом.
мин;
мин;
мин;
мин;
.
маховик деталь протачивание
Заключение
В ходе выполнения курсового проекта мной была разработана технология
ремонта маховика автомобиля КАМАЗ-5320. При выполнении проекта были решены
следующие задачи:
. Сформулированы технические условия для контроля и сортировки деталей
при дефектации, а также составлена карта дефектации на маховик автомобиля КАМАЗ-5320.
. Составлен, в виде технологической карты, процесс восстановления
маховика автомобиля КАМАЗ-5320.
. Было спроектировано приспособление для проточки рабочей поверхности
маховика автомобиля КАМАЗ-5320.
Список использованных источников
1. Вердашкин Б.Н. и др. Станочные приспособления. - М.:
Машиностроении, 1984. - 1200 с.
. Козловский Н.С. Виноградов А.Н. Допуски, посадки и
технические измерения. - М.: Машиностроение, 1982. - 284 с.
. Румянцев С.Н., Беднев А.Г. Ремонт автомобилей. - М.:
Транспорт, 1988. - 327 с.
. Суханов Б.Н., Борзых И.О., Бедарев Ю.Ф. Техническое
обслуживание и ремонт автомобилей: Пособие по курсовому и дипломному
проектированию. - М.: Транспорт. 1985. - 223 с.
. Кагордин В.И., Митрохин Н.Н. Ремонт автомобилей и
двигателей. - М.: Мастерство; Высшая школа, 2001. - 496 с.