Автоматическая система коррекции продольного крена четырехгусеничной горной машины

  • Вид работы:
    Дипломная (ВКР)
  • Предмет:
    Другое
  • Язык:
    Русский
    ,
    Формат файла:
    MS Word
    1,08 Мб
  • Опубликовано:
    2013-02-24
Вы можете узнать стоимость помощи в написании студенческой работы.
Помощь в написании работы, которую точно примут!

Автоматическая система коррекции продольного крена четырехгусеничной горной машины

Реферат

В данном дипломном проекте разрабатывается автоматическая система коррекции продольного крена четырехгусиничной горной машины.

Автоматическая система коррекции содержащая гиродатчик, который реагирует на изменения угла остова горной машины относительно горизонта и выдает сигнал пропорциональный этому углу. Затем этот сигнал усиливается и поступает на агрегат исполнения, который управляет гидрораспределителем силовых гидроцилиндров механизма стабилизации. Силовые гидроцилиндры обеспечивают оперативное изменение положения кабины и остова трактора, тем самым повышая устойчивость машины и улучшение условий труда оператора работающего на склонах, так как кабина горной машины автоматически поддерживается в горизонтальном положении, повышая обзорность и качество труда выполняемой данной горной машиной народохозяйственной операции.

Введение

Современное лесозаготовительное производство характеризуется следующим состоянием.

Продуктивные таежные древостои в основной своей массе вырублены, а эксплуатационные запасы на большинстве площадей деконцентрированы. Для более энергичного вовлечения лесных ресурсов в народнохозяйственный оборот ощущается нехватка современной техники и технологий для малых объемов производства.

Удельный вес лесозаготовок перемещается в районы Сибири и Дальнего востока, где сосредоточены значительные лесосырьевые ресурсы страны, значительная часть которых горные леса.

Лесопокрытая площадь горных районов только в Восточной Сибири составляет 48%. На эту площадь приходится 55% эксплуатационного запаса горных лесов РФ. В этом регионе 2012-2015гг. планируется обеспечить основной прирост объемов и вывозки леса.

Отечественная лесоэксплуатационная техника предназначена в основном для сплошных концентрированных рубок в равнинных таежных местах. Она обладает значительной металлоемкостью, высоким удельным давлением (для ТТ-4-0,045 МПа) и не пригодна для работы в лесах первой группы и горных условиях.

Основными направлениями экономического и социального развития РФ на 2012 - 2015 годы и на период до 2020 года предусматривается всемерно ускорить научно-технический прогресс; поднять роль науки и техники в качественном преобразовании производительных сил, переводе экономики на рельсы всесторонней интенсификации, повышении эффективности общественного производства.

Для решения поставленных задач программа технического перевооружения лесной промышленности на 2012-2015 годы предусматривает повышение уровня механизации и автоматизации до 54% как путем эффективного использования существующего парка лесных машин, так и разработку других типов многооперационных машин, совмещающих различные лесосечные операции.

Особенно актуальной задачей является освоение горных лесов Сибири. Сдерживающим начало в этой области механизации является отсутствие мобильных лесосечных машин, способных осуществлять валку на склонах, а так же транспортных и вспомогательных машин для монтажа канатных установок.

Одним из факторов организации применения лесных машин в условиях горной лесосеки является повышенные требования к устойчивости при движении как в грузовом и порожнем направлении, требование к экологии окружающей среды (сохранение надроста, нарушение почвенного покрова и т.д.)

Комплексное решение этих задач является необходимым при эксплуатации лесного фонда.

Существующая технология лесоразработок в горных условиях базируется на применении канатных установок. Главным их недостатком является частое перебазирование, большая доля ручного труда и отсутствие комплексного подхода.

Средством существенного расширения зоны действия канатных установок, повышение производительности труда, следует считать применением.

1. Особенности условий работы создаваемой машины

.1 Общая характеристика горных лесов восточной Сибири

Горные леса РФ занимают 347,9 млн.Га, то есть почти 28% всей лесопокрытной площади страны. На горные леса приходятся более 30% запасов древесины РФ. При том, около 70% древесины является спелой и перестойной. Восточная Сибирь занимает первое место в нашей стране по лесопокрытной площади и запасами древесины в горах. Здесь произрастают преимущественно хвойные леса и в редких случаях лиственные, на долю которых приходятся лишь около 7% запасов.

Лесопокрытная площадь горных лесов Восточной Сибири составляет 48%. На эту площадь приходится 55% эксплуатационного запаса горных лесов РФ. Однако обладая такими большими ресурсами, заготовка леса в этих районах составляет лишь 20% от общего объема горных лесозаготовок. Причин такого положения несколько, но среди них особо следует выделить отсутствие эффективной техники для заготовки леса в горах.

В таблице 2.1. даны значения ряда показателей, характеризующие горные лесные массивы, закрепленные за лесозаготовительными объединениями Восточной Сибири. Анализ состава древостоя, среднего запаса древесины на 1Га и среднего объема хлыстов наказывает на довольно значительную изменчивость этих показателей.

Таблица 1.1- Значение показателей, характеризующие горные лесные массивы предприятий Восточной Сибири

Объединение

Лесопокрытая площадь, тыс.Га.

Эксплуатационный запас, млн. м3.

Объем лесозаготовок в год, тыс. м3

Состав древостоя

Запас на 1 Га, м3

Средний объем хлыста, м3

Способ рубки

Читлес

3092

145

1840

6Л3С1Б

120

0,30

сплошной

Забайкаллес

2587

115

 4000

5С4Л1Б

130

0,6

сплошной

Иркутсклеспром

1187

70

 687

7С2Л1Б

137

0,62

условно-сплошной

КрасноярскЛесПром

581

12

 1416

5П2К2С1Б

171

0,53

сплошной


Таблица 1.2- Примерное распределение лесных склонов по крутизне и протяженности.

Объединение

Крутизна склонов, град

Протяженность склонов в м.


<15

15…25

25

<500

500…1000

>1000

Читлес

00

61

19

53

32

15

Забайкаллес

40

50

10

30

50

20

Иркутсклеспром

30

45

25

35

43

22

КрасноярскЛесПром

45

40

15

25

27

48


Так в объединении «Читлес», которое расположено на востоке региона, преобладающую породу в составе древостоя представляет лиственница, а в других объединениях - сосна и пихта. Отличительной чертой лесов объединения является низкий объем хлыста и невысокий запас древесины. Эти показатели соответственно в 1,08 … 1,42 и 1,77…2,07 ниже, чем у остальных предприятий. Стабильно и с хорошим качеством характеризуются горные леса, расположенные в районе озера Байкал. Основные леса объединений «Забайкаллес» и «Иркутсклес» представляют собой сосняки со значительным запасом древесины и самым большим и средним объемом хлыста.

Горные леса Восточной Сибири произрастают на склонах различной крутизны и протяженности. В таблице 2.2. приведено примерное распределение данных показателей для лесов, тяготеющих к горным лесозаготовительным предприятиям. Их анализ показывает, что более 50% горных лесов расположено в основном а склонах крутизной не более 25 градусов и протяженностью до 100м. Примерно половина (40 … 61%) склонов имеют уклоны от 15 до 25 градусов. Что касается лесов, расположенных в районе озера Байкал, то здесь имеется 15 … 25 % склонов с крутизной более 25 градусов, которые относятся к трудоспособности лесным площадям. Значительно количество этих лесов расположено на склонах с малой протяженностью (менее 300м).

1.2 Особенности валки деревьев в горных условиях

Валка деревьев на горных склонах представляет особую категорию сложности по сравнению с условиями равнинной личности. Здесь необходимо учитывать основные факторы:

сравнительную крупномерность деревьев

центры тяжести подземной части деревьев (особенно лиственных пород), как правило, смещены от продольных осей стволов в сторону подошвы горы из-за некоторого наклона стволов и одностороннего развития крон деревьев.

уклон местности создает трудности передвижению вальщика с пилой и отходу его от падающего дерева.

уклон местности затрудняет также, а в некоторых случаях ограничивает, передвижение мобильной валочной техники.

при валке крупных деревьев на значительных уклонах затруднено управление вальщиком пилой

значительно снежный покров и опасность снежных оползней затрудняют, а иногда делают невозможной валку деревьев в зимнее время.

Особое значение в горных условиях приобретают выбор направления валки деревьев. На склонах крутизной до 15 градусов направление валки обычно определяется способом транспортного освоения лесосеки, наклоном дерева и другими факторами. Наиболее приемлемое при работе на уклонах крутизной более 15 градусов является направление валки вниз по склону и под некоторым углом. Угол между направлением уклона и направлением падения дерева должен изменяться в зависимости от величины дерева его наклона к подошве горы: чем меньше вес и наклон дерева, тем больше должен быть угол.

Большую трудность как в горных так и равнинных условиях представляет валка деревьев, имеющих обратный естественный наклон ствола направлению ковша и валка деревьев в ветреную погоду. Сталкивание деревьев с обратным наклоном ствола с пня требует приложение значительных усилий. Особую опасность в данном случае представляют деревья с большим весом и большим углом наклона. Исходя из требований техники безопасности не рекомендуется производить валку деревьев в ручную, обратный угол наклона которых превышает более 5 градусов. Их валку следует выполнять с помощью трелевочных тракторов и лебедок или в направлении естественного наклона.

В ЦНИИМЭ на основании большого анализа деревьев получены их распределения в древостоях, по величине наклона ствола. Если принять предложение, что половина из этих деревьев имеет попутный наклон от ствола направлению валке, а другая половина - обратный, то можно заключить о встрече с деревьями, представляющих сложность повала.

Важное влияние на процесс валки деревьев оказывает ветер, который имеет вероятный характер изменчивости по направлению, силы порывистости.

Согласно норм техники безопасности и качественного выполнения работ валку деревьев производят при наклоне не более 5 балов по шкале Бофорта. При сильном встречном ветре, когда его скорость V>10 м/с, спиленное дерево при столкновении может оставаться некоторое время стоя на пне при неустойчивом положении, которое может вызвать возможность его падения в любом направлении. В то же время, при сильном попутном ветре могут возникнуть расщепы ствола при распиливании дерева.

Существенное влияние при повале деревьев в ветреную погоду следует уделять порывистости ветра. В данном случае необходимо руководствоваться следующими правилами: при встречном ветре необходимо, что бы момент допиливания ствола совпадал с затишьем, при попутном ветре - с порывом ветра.

2. Обзор малогабаритных горных машин

Наиболее удовлетворяющим приведенным требованием из числа выпускаемых в нашей стране специализированных машин является лесохозяйственные шасси ТЛ-28,Т-25А (Владимирский Т3), которые могут быть переоборудованы для работы на склонах сос нежным покровом до 50 и более сантиметров за счет установки, вместо колес специальных гусеничных агрегатов (например по патенту США №3937289). Такого рода устройства позволяют использовать готовые шасси с минимальными переделками (Рис.1).

Заслуживает внимание созданный ЛенНИИЛХом малогабаритный противопожарный агрегат (АПМ), предназначенный для доставки в заданный район воздушным транспортом.

Из литературных патентных источников представляет интерес гусеничные малогабаритные снегоходы выполненные по двух-гусеничной схеме, такая как шведская машина «AKTIV» которые используются в лесной промышленности и лесном хозяйстве. Четырех гусеничная машина «YAKOTPAK». На данных машинах гусеницы выполняются металлическими или резинометаллическими.

Рисунок 3.1


3. Обзор конструкций систем стабилизации горных тракторов на склонах

.1 Автоматическая система коррекции поперечного крена крутосклонного трактора

Автоматическая система коррекции поперечного крена крутосклонного трактора, имеющего раму в виде шарнирного параллелограмма содержащая датчик положения остова трактора в виде маятника и механизма изменения положения остова трактора и положения рабочего органа, отличающаяся тем, что с целью улучшения условий труда водителя путем обеспечения возможности оперативного изменения величины стабилизирующего воздействия со стороны рабочего органа на трактор для коррекции его траектории движения.

Целью изобретения является улучшение условий труда водителя путем обеспечения возможности оперативного изменения величины стабилизирующего воздействия со стороны рабочего органа на трактор для коррекции его траектории движения, а так же снижения металлоемкости.

На рисунке 4.1 приведена автоматическая система коррекции положения остова трактора на склоне.

Автоматическая система работает следующим образом:

При движении крутосклонного трактора по горизонтальной опорной поверхности маятник удерживает подвижный элемент 6 потенциометра 5 в его среднем положении.

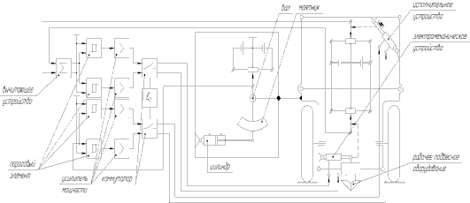
Рисунок № 4.1 Автоматическая система коррекции положения остова трактора на склонах.


- Маятник, 2- вал; 3 - подвеска; 4,7,19 - источник питания; 5,8,12 - потенциометр; 6, 9, 13 - подвижной элемент; 10 - исполнительное устройство; 11 - вычитающее устройство; 14 - электромеханическое устройство; 15 - рабочая подвижное оборудование; 16, 20, 22, 25 - пороговый элемент; 17, 21, 23, 26 - усилитель мощности; 18, 24 - коммутатор; 27 - цилиндр, 28, 29 - отверстие; 30 - поршень; 31 - соединение с маятником.

При этом его напряжение, снимаемое с подвижного элемента 6 относительно средней точки, равно нулю. Это значит, что оба пороговых элемента 22 и 25 находятся в исходном положении, их выходные напряжения близки к нулю и исполнительный механизм 10 соединенный через коммутатор 24управляемый через усилитель мощности 23 и 26 пороговыми элементами 25 и 22, разобщен источником питания 19 и находится в своем нейтральном положении. При выезде трактора на склон и возникновении крена, маятник, стремясь сохранить свое вертикальное положение смещает подвижной элемент 6 потенциометра 5 вправо. В результате этого потенциал на подвижном элементе 6 повышается. При повышении напряжения, снимаемого с указанного подвижного элемента до величины, превосходящей порог срабатывания элементов 22 и 25 пороговый элемент 22 срабатывает и выдает на своем выходе напряжение, близкое к напряжению питания микросхемы. Это напряжение появляется на выходе усилителя мощности 23, коммутатор 24 обеспечивает включение исполнительного механизма 10 вправо. Шток червячного редуктора исполнительного устройства 10 перемещается изменяя положение трактора до тех пор, пока крен не будет устранен и подвижной элемент 6 потенциометра 5 не придет в свое нейтральное положение под воздействием маятника1. После этого пороговый элемент 22 придет в исходное состояние и перемещение штока исполнительного устройства 10 прекратится. Указанный шток, воздействую при своем перемещении на подвижный элемент 9 другого потенциометра 8, смещает его вправо, что приводит к появлению некоторого напряжения на выходе устройства 11, один из выходов которого соединен с подвижным элементом 9 потенциометра 8, а другой вход соединен с подвижным элементом 13 потенциометра 14, который находится пока в нейтральном положении и напряжение на подвижном элементе 13 равно нулю. В результате этого включается пороговый элемент 16 и через усилитель мощности 17 и коммутатор 18 включает исполнительный механизм 14 влево. Ток указанного механизма, перемещаясь влево, смещает подвижной элемент 13 потенциометра 12 до тех пор, пока напряжение на нем не повысится до некоторой величины и разность напряжений на подвижном элементе 13 и подвижном элементе 9 потенциометра 8 не станет меньше порога срабатывания элемента 16. После этого пороговый элемент 16 приходит в исходное состояние и отключает электродвигатель исполнительного механизма 14, таким образом, следящая система обеспечивает строгое соответствие перемещения рабочего органа 15 перемещению штока механизма 10, а следовательно и крену трактора. Диапазон перемещения штока механизма 14 определяется напряжением питания потенциометров 8 и 12.

Устойчивая система обеспечивается наличием демпфирующего звена в виде червячного редуктора, нагруженного значительными силами сопротивления, малым моментом инерции роторов электродвигателя и исполнительных механизмов и наличием в них фрикционного электрического тормоза включающегося при обесточивании электродвигателя.

При съезде со склона на горизонтальную поверхность изменение положения остова трактора, соответствующее углу склона, создает крен трактора в обратную сторону на тот же угол, что приводит к отклонению подвижных элементов 22 и 25, срабатыванию порогового элемента 25 и в конечном итоге, к включению через усилитель мощности 26 и коммутатора 24 исполнительного механизма 10. Последний изменяет положение остова до тех пор пока крен трактора ликвидируется и пороговый элемент 25 не придет в исходное состояние.

Шток механизма 10, перемещаясь сместит подвижной элемент 19 потенциометра 8 к его нейтральному положению. В итоге напряжение на нем приблизится к нулю относительно средней точки. Напряжение на подвижном элементе 13 потенциометра 12 станет ниже напряжения, снимаемого с подвижного элемента 9 потенциометра 8, что приведет к появлению разностного сигнала обратного знака на выходе вычитающего устройства 11 и включенного порогового элемнета20, который своим выходным напряжением че5рез усилитель мощности 21 и коммутатор 18 включает механизм 14 вправо. Последний перемещает шток до своего нейтрального положения, при котором разностный сигнал на входе вычитающего устройства 11 станет меньше порог а срабатывания элемента20. В результате этого вся система приходит в исходное состояние, крен трактора устраняется, а рабочие органы располагаются симметрично продольной оси трактора.

4. Крутосклонный трактор

Известные крутосклонные тракторы содержащие гусеничные движители с рамой, несущей поперечной оси, одна из которых через гидроцилиндр бокового выравнивания связана с остовом трактора, шарнирно-установленным на продольное поле рамы.

В таких тракторах не изменяется продольное расположение центра тяжести, что необходимо при работе на крутых подъемах и спусках.

Целью изобретения является продольное перемещение остова относительно гусеничных движителей для изменения положения центра тяжести трактора. Это достигается тем, что продольная опора трактора выполнена в виде направляющей балки, связанной посредством продольного расположения гидроцилиндра с остовом трактора.

На рисунке 4.2. показан общий вид. Трактор, содержащий остов 1, гусеничные движители 2 с индивидуальным приводом гусениц и раму 3, связывающую гусеничные движители. Рама 3 состоит из передней 4 и задней5 поперечных осей, жестко связанных продольной балкой6. Остов установлен на продольной балке с возможностью поворота и продольного перемещения относительно нее:

Поворот остова для его выравнивания при работе на склоне осуществляется гидроцилиндром 7 связанным с маятниковым датчиком наклона. Корпус гидроцилиндра 7 через шаровой шарнир 8 связан поперечной осью 5, а его шток через шаровой шарнир 9 с боковой стороной остова.

Продольное перемещение остова осуществляется гидроцилиндром 10, корпус которого через шаровой шарнир 11 связан с поперечной осью 4, а шток через шаровой шарнир 12 - с передней частью остова. Шарнир 11 расположен на продольной оси 13 в балке 6. Рычаги 16 направлены в противоположные стороны и шарнирно связаны с шатунами 14, противоположные концы которых шарнирно связаны с рамами 17 гусеничных движителей.

При работе трактора на склонах гидроцилиндр 7, управляемый маятниковым датчиком наклона, постоянно удерживает остов в вертикальном положении путем поворота его вокруг продольной балки 6. При этом гидроцилиндр 10 благодаря шаровым шарнирам 12 и 13 описывает боковую поверхность конуса, не препятствуя работе гидроцилиндра 7. Для изменения положения центра тяжести трактора, например в случае изменения тягового сопротивления орудия или угла продольного склона, включает гидроцилиндр 10 и 15 продольно смещает остов относительно гусеничных движителей на необходимую величину. При этом гидроцилиндр 7, отклоняясь от первоначального положения, поворачивает остов на некоторый угол от вертикали. Одновременно срабатывает маятниковый датчик наклона и гидроцилиндр 7, изменяя свою длину, восстанавливает свое первоначальное положение остова.

Крутосклонный трактор содержащий гусеничные движители с рамой перемещает поперечные оси, одна из которых через гидроцилиндр бокового выравнивания связана с остовом трактора, установленным шарнирным на продольной опоре рамы отличающийся тем, что, с целью обеспечения возможности изменения положения центра тяжести трактора путем продольного перемещения остова относительно гусеничных движителей, продольная опора трактора выполнена в виде направляющей балки, связанной посредством продольного расположения гидроцилиндра с остовом трактора.

Рисунок 4.2. Крутосклонный трактор.



4.1 Устройство стабилизации крутосклонного трактора

Устройство стабилизации крутосклонного трактора, содержащее механизм выравнивания в виде рычагов, связывающих остов трактора с колесами и образующий шарнирный параллелограмм, с которым связан силовой цилиндр установлен на остове трактора и подключенный к источнику рабочего давления жидкости через распределитель, золотник которого связан с маятником, шарнирноустановленным на остове, отличаются тем, что с целью снижения ч3втсвительности маятника к динамическим колебаниям и повышения плавности выравнивания, силовой цилиндр установлен на остове подвижно и подпружинен относительно его, а распределитель закреплен на корпусе силового цилиндра.

На рисунке 4.3 Схематично показано устройство стабилизации.

Устройство состоит из механизма выравнивания 1, посредством которого колеса 2 прикреплены к остову трактора 3 с помощью рычагов, образующих шарнирный параллелограмм. Корпус силового цилиндра 4 связан с остовом 3 через пружину 5. Автомат-стабилизатор содержит маятник крена 6 и трехпозиционный распределитель с золотником 7 и корпусом распределителя 8 закреплен на корпусе силового цилиндра 4, а золотник 7 тягой 9 связан с маятником 6. Полости силового цилиндра 4 сообщены через распределитель с гидросистемой 10 и источником давления рабочей жидкости. Ось подвеса маятника 6 установлена на оси 3 неподвижно.

Устройство работает следующим образом: при движении трактора по горизонтальной поверхности и при отсутствии динамических нагрузок на его ходовую часть золотник 7 распределителя расположен в корпусе 8 в нейтральном положении, обеспечивая подключение нагнитательной магистрали гидроцилиндра 10 на слив и запирания полостей силового цилиндра 4.

При въезде трактора на склон его остов получает боковой крен. В следствии этого маятник 6 перемещает золотник 7 в корпусе 8, обеспечив тем самым подключение одной из полостей цилиндра 4 к нагнитательной магистрали гидроситемы 10, а второй на слив. Под давлением рабочей жидкости силовой цилиндр 4 приводит в движение механизм выравнивания 1. Как только остов 3 трактора будет стабилизирован в вертикальной плоскости, маятник 6 вернет золотник 7 в исходное нейтральное положение.

При воздействии на ходовую часть трактора динамических нагрузок, усилие, полученное колесом 2, передается механизмом выравнивания к силовому цилиндру 4, который перемещаясь сжимает пружину. Вместе с тем перемещение получит и корпус 8 распределителя установленный жестко на корпусе силового цилиндра 4. Золотник 7 при этом находится в покое. В результате перемещения корпуса 8 распределителя относительно золотника 7 нагнитательная магистраль гидросистемы 10 будет сообщена с соответствующей полостью силового цилиндра 4, вторая полость которого при этом подключена на слив. Под давлением рабочей жидкости силовой цилиндр 4 приведет в движение механизм выравнивания 1. В то же время пружина 5 принимая исходное состояние будет перемещать корпус силового цилиндра 4, а следовательно и корпус 8 распределителя, в нейтральное положение. Как только это произойдет распределитель разблокирует обе полости силового цилиндра 4, сообщив нагнитательную магистраль гидросистемы 10 со сливом.

Рисунок 4.3 Устройство стабилизации крутосклонного трактора.


Таким образом схема стабилизации обеспечивает стабилизацию остова ходовой части трактора не только от статических но и от динамических нагрузок. При этом у нее сведена к минимуму вероятность возникновения раскачивания маятника, так как маятник обладает более высокой зоной чувствительности к динамическим возмущениям в следствии неподвижного крепления оси его подвеса к остову трактора. Это позволяет снизить вероятность возникновения колебаний остова трактора при его стабилизации, уменьшить сопротивление демпфера маятника, а вместе с тем, и увеличить чувствительность всей системы к изменениям угла склона.

Перечисленные положительные качества предложенного устройства обеспечивают повышение безопасности труда качество выполняемой трактором технологической и рабочей операции.

4.2 Крутосклонный трактор

Крутосклонный трактор, содержащий остов на котором шарнирно закреплен передний мост и установлены задние ведущие колеса с поворотными бортовыми редукторами связанными тягами с поперечным коромыслом, с плечами которого соединены шарнирно гидроцилиндры управления положением ведущих колес, отличающиеся тем, что с целью выравнивания остова продольные плоскости, коромысло и гидроцилиндры закреплены шарнирно на балки, установленной в продольных направлениях остова и связанной с остовом силовым управляемым цилиндром.

Это достигается тем, что коромысло и гидроцилиндры закреплены шарнирно на балки, установлены в продольных направляющих остова и связанные с остовом силовым управляемым цилиндром.

Рисунок 4.4 Крутосклонный трактор.



Крутосклонный трактор содержит остов 1, заднее ведущее колесо 2 установленных на остове 1 по средством бортовых поворотных редукторов 3, а передние направляющие 4 закреплены на остове 1 шарнирно по средством переднего моста 5. На балке 6 установленной на остове 1 подвижно продольных направляющих, смонтирована поперечное коромысло 7, середина которого шарнирно соединена с балкой 6, а концы связаны тягами 8 с редукторами 3. Коромысло 7 связано с балкой 6 так же посредством двух гидроцилиндров 9, управляемых автоматом - стабилизатором. Для перемещения балки 6 предназначен силовой цилиндр 10, распределитель 11, гиросистема 12, которая управляется датчиком 13 продольного крена маятникового типа.

При въезде трактора на чисто поперечный склонно, гидроцилиндры 9, поворачивают коромысло7 через тяги 8, поворачивают редуктора 3, а следовательно, перемещают и закрепленные на них задние ведущие колеса 2 в противоположные стороны.

Величина перемещений зависит от крутизны склона. Этим достигается выравнивание остова трактора в поперечной плоскости. Управление работой гидроцилиндров 9 осуществляется автоматически стабилизатором поперечного крена.

При везде трактора на чисто продольный склон, цилиндр 10 перемещая балку 6 и смонтированное на ней коромысло, поворачивает редукторы 3, а следовательно, и перемещает колеса 2 вверх или вниз в соответствии с направлением склона. Это будет происходить до тех пор, пока остов не займет горизонтальное положение.

После этого распределитель 11 гидросистемы 12, управляемый датчиком 13, запирает обе полости цилиндра 10, заблокировав тем самым редукторы 3 с остовом 1.

При въезде трактора на косогор обе описанные системы выравнивания вступают в работу одновременно. Этим обеспечивается стабилизированное положение остова 1 трактора как в передней, так и продольной плоскостях. Передний мост благодаря его особой конструкции и шарнирному креплению с остовом не зависимо от положения последнего будет приспосабливаться к склону самостоятельно. Таким образом, обеспечивается выравнивание остова в горизонтальной плоскости не зависимо от того, движется трактор вдоль склона, поперек его или же по косогору.

4.3 Автомат стабилизатор положения тракторного средства

Автомат стабилизатор положения транспортного средства, содержит датчик крена, состоящий из подвесного на горизонтальной оси маятника и связанного с ним гидравлического распределителя исполнительного механизма, снабжен вторым аналогичным первому датчиком крена и двумя односторонними ограничителями хода маятника, один из которых установлен на одной из половин первого маятника, а другой на противоположной половине хода второго маятника, причем выходы распределителей датчиков подключены параллельно к исполнительному механизму.

На рис. 4.5 представлена схема автомата стабилизации и показано его подключение к управляемой им гидросистеме.

Автомат стабилизации положения транспортного средства содержит два датчика крена, выполненных в виде подвешанных на горизонтальной оси 1 к остову 2 тракторного средства физических маятников 3 и 4, связанных посредством шарнирных тяг 5 и 6, с золотником 7 и 8 двухпозиционных распределителей.

Маятник 3 и 4 снабжен односторонним ограничителями 9 и 10 хода, один(9) из которых установлен на одной половине хода (левый) маятника 3, а другой (10) на противоположной половине хода (правый) маятника 4. Это обеспечивает поочередное управление исполнительным механизмом 11, который выполнен в виде силового гидроцилиндра и присоединен к источникам давления 12 и 13 через золотник 7 и 8, снабжены упорами 14 для фиксации их во включенных положениях. Автомат стабилизации также сливы 15, предохранительные клапаны 1, отрегулированные на одно рабочее давление, запорный клапан 17 и демпферы 18.

Рис 4.5 Автомат стабилизатор


Устройства работает следующим образом :

При движении тракторного средства по горизонтальной поверхности, оба маятника 3 и 4 занимают вертикальное положение, удерживая связанные с ним золотники 7 и 8 гидрораспределттелей в исходных включенных позициях, обеспечивающих подсоединение источников 12 и 13 давления на слив 15 и запирание полостей силового цилиндра запорным клапаном 17.

При крене трактора на поперечном склоне, например влево, маятник 4 стремясь вновь занять вертикальное положение, переместит золотник 8 гидрораспределителя налево, сообщив по средством него, штоковую полость силового цилиндра с источником давления 13 а поршневую полость - со сливом 15, приводя тем самым исполнительный механизм 11 в действие и обеспечив возвращение по средством него трактора в вертикальное положение. Второй маятник 3 при этом находится в покое так как опирается на ограничитель 9 и удерживается от перемещения золотника 7. Как только остов трактора займет вертикальное положение, возвращает золотник 8 в выключенную позицию, заперев силовой цилиндр 11 от дальнейших перемещений и переключив источник давления 13 на слив 15. Накопленная маятником 4 при возращении в вертикальное положение кинетическая энергия уйдет в момент столкновения его с ограничителем 10 на удар и не вызовет дальнейших переключений золотника 8.

При крене трактора на склоне в противоположную сторону, маятник 4 опираясь на ограничитель 10 находится в покое, а управление гидросистемы осуществляет уже второй маятник 3, сообщив в поршневую полость силового цилиндра 11 с источником давления 12, а штоковую со сливом 15. Как только трактор займет по средствам силового цилиндра 11 вертикальное положение, маятник 3 возвращается в вертикальное положение, погасив удар об ограничитель9 накопленную кинетическую энергию.

Возможные (хотя и мало вероятно) колебания маятников в их промежуточных положениях гасится демпферами 18, причем степень их демпфирования мала благодаря небольшой амплитуде колебаний маятников 3 и 4, а так же потому что значительная часть их кинетической энергии гасится при взаимодействии упоров 9 и10.

Предлагаемый автомат стабилизации не только не в состоянии войти в режим автоколебаний, но и обладает значительно большим, по сравнению с известными, быстродействием. Так же автомат стабилизации позволяет снизить время запаздывания системы стабилизации, например, крутосклонного трактора с полутора секунд и в результате подять его рабочие скорости на склоне на 30% - 40% повысив безопасность и улучшив условия труда водителя, а так же обеспечить повышение производительности на 20-25%.

4.4 Гидравлическая система стабилизации остова трактора

Для автоматической стабилизации остова трактора вертикальной плоскости и перераспределения крутящим моментов на движителях трактора в зависимости от моментьа сопротивления при работе на склонах, предлагаемая система снабжена гидромоторами, перераспределяющими давление жидкости в системе, включенными между гидромоторами привода движителей гидроцилиндрами стабилизацией остова трактора и связанными своими валами через муфту.

Рисунок 4.6. Гидравлическая система стабилизации.


При этом муфта связывающая валы гидромоторов, выполнена управляемой. На рисунке 4.6. схематически изображена описываемая система остова трактора.

Система состоит из гидронасоса 1, связанных гидравлически с ними гидромоторов 2 и 3, привода движителей, гидромоторов 4 и 5, стабилизации остова трактора, гидромоторов 6 и 7, валы которых соединены муфтой сцепления 8 и предохранительных клапанов 9.

Работает система следующим образом:

Гидронасос через гидромоторы закачивает жидкость в гидромоторы привода движителей и параллельно в гидроцилиндры.

В процессе движения трактора поперек склона на его ведущих колесах возникают разные по величине моменты сопротивления, благодаря чему один из спаренных гидромоторов будет развивать повышенное давление в соответствующем гидроцилиндре, осуществляющем стабилизацию остова.

Гидравлическая система стабилизации остова трактора, содержащая гидронасос, связанные с ним гирдравлически гидромоторы привода движителей, гидроцилиндры стабилизации остова трактора и предохранительные клапаны, отключаются тем, что с целью автоматической стабилизацией остова трактора в вертикальной плоскости и перераспределение крутящих моментов на движителях трактора в зависимости от моментов их сопротивления на склонах, она снабжена гидромоторами, перераспределяющими давление жидкости в системе, включенными между гидромоторами привода движителей и гидроцилиндрами стабилизации остова трактора и связанными своими волами через муфту.

4.5 Вывод по обзору конструкций систем стабилизации

На основании обзора конструкций систем стабилизации горных тракторов на склонах, можно отметить некоторые недостатки конструкции. В данных системах в качестве датчиков угла применяются массивные металлические маятники, которые имеют большую чувствительность к динамическим колебаниям, повышается вероятность возникновения колебаний маятника, что влечет за собой нежелательное явление, колебания остова трактора. При применении гасящих демпферов маятника увеличивается зона нечувствительности данной системы стабилизации. Все эти недостатки устраняются с применением предлагаемой конструкции, которая приводится в пятом разделе. В этой конструкции датчиком угла является гировертикаль, которая обладает высокой стабилизацией в горизонтальном положении, с минимальной зоной нечувствительности, т.к. в ней применяется радиоэлектронная схема, а также обладает быстродействием, что позволит снизить до минимума время запаздывания системы стабилизации, то есть практически следить за траекторией движения ходовой части трактора, в результате чего можно поднять рабочие скорости на склоне, повысив безопасность и улучшив условия труда водителя, а та4к же обеспечить повышение производительности труда.

5. Механизм стабилизации

.1 Общие сведенья

Электрическое питание

а) напряжение переменного тока 36 вольта 400 герц

б) напряжение постоянного тока 24 вольта

Источники гидравлического питания :

Гидросистема на гидросмеси АМГ-10 с давлением 60-210 атм.

Максимальный расход гидросмеси 10.5 л./мин.

Время готовности механизма стабилизации не более100 сек.

Максимальное усилие развиваемое агрегатом исполнения РА-5ВП 155кГ

Температурный диапазон работы механизма стабилизации +50 -60 градусов Цельсия.

Вес агрегатов механизма стабилизации:

а) Центральная гировертикаль (ЦГВ-2) 7.8кг.

б) Магнитный и ламповый усилитель 0.4кг.

в) Агрегат исполнения 4.6кг.

г)Датчик обратной связи 0.4кг.

д) Преобразователь ПТ-125 10.2кг.

Вес механизма составляет не более 25 кг.

5.2 Общий принцип работы механизма стабилизации

Механизм стабилизации предназначен для приведения кабины оператора и рамы малогабаритной горной машины в горизонтальном положении при работах на склонах, и повышая устойчивость малогабаритной машины на склонах.

Основной частью механизма стабилизации является силовой исполнительный элемент РА-5ВП.

Комплект механизма стабилизации состоит из трех основных частей: сумматора - усилителя, агрегата исполнения и устройства измеряющего величину отклонения выходного звена агрегата исполнения называемого датчиком обратной связи.

Рисунок 5.1 Схема общего принципа работы стабилизации.


Назначение каждой из указанных частей следующее: сумматор усилитель - суммирует входные сигналы и усиливает их сумму до такой степени, чтобы она смогла привести в действие исполнительного агрегата.

Характеристика сумматора- усилителя линейная, то есть величина результирующего усиленного сигнала, являющегося выходом сумматора-усилителя, пропорциональна алгебраической сумме входных сигналов. При наличии лишь одного входного сигнала входной сигнал усилителя будет пропорционален входному.

Входом сумматора-усилителя является многообмоточный магнитный усилитель. Входным сигналом является ток в какой-либо из обмоток магнитного усилителя.

Входной ток сумматора - усилителя является входным сигналом для исполнительного агрегата.

Агрегат исполнения приводит в движение гидрораспределитель силового гидроцилиндра управления кабиной малогабаритной машины и рычаг датчика обратной связи от сигнал, поступающего от сумматора-усилителя. Причем скорость перемещения выходного звена агрегата исполнения пропорциональна входному сигналу, то есть выходному сигналу сумматора - усилителя.

Датчик обратной связи является элементом, обеспечивающим пропорциональность между перемещением выходного штока исполнительного агрегата и величиной выходного сигнала.

Датчик обратной связи замеряет величину перемещения выходного штока исполнительного агрегата и подает сигнал, пропорциональный этому перемещению, на вход сумматора-усилителя для остановки агрегата исполнения.

Для уяснения роли датчика обратной связи рассмотрим действие механизма стабилизации, в котором отсутствует сигнал датчика обратной связи.

При поступлении входного сигнала определенной величины-L1 после его усиления шток агрегата исполнения будет перемещаться с соответствующей скоростью V1 и дойдет до предельного положения, определяемого упорами в самом агрегате исполнения.

При снятии входного сигнала выходной шток агрегата исполнения остается в предельно отключенном положении.

Если бы был задан сигнал -L2, отличающийся по величине от L1 допустим в 2 раза, выходной шток, перемещаясь со скоростью V2, отклонился бы тоже до предельного положения.

Таким образом без датчика обратной связи нет соответствия между положением штока агрегата исполнения и величиной входного сигнала.

При наличии сигнала датчика обратной связи процесс будет проходить следующим образом:

Под действием усиленного входного сигналаL1 шток агрегата исполнения начнет перемещаться со скоростью V1. По мере перемещения штока датчик обратной связи, замеряя в каждый момент времени его положение, подает на вход сумматора-усилителя нарастающий сигнал {ioc..} обратной связи.

Сигнал этот подается тихим образом, что бы уменьшить скорость перемещения штока агрегата исполнения, то есть этот сигнал уменьшает действие входного сигнала, вычитается из него.

Таким образом, по мере перемещения выходного штока агрегата исполнения суммарный сигнал уменьшается - уменьшается скорость перемещения.

Наконец, выходной шток достигает такого положения, при котором с датчика обратной связи поступает сигнал обратной связи, равный входному сигналу. Результирующий сигнал становится равным нулю. Шток агрегата исполнения останавливается в этом положении.

При снятии входного сигнала (i1=0) на входе сумматора - усилителя осатется сигнал датчика обратной связи ioc.

Под действием этого сигнала штока агрегата исполнение начнет перемещаться в обратную сторону (к нейтральному положению).

По мере приближения к нейтральному положению сигнал датчика обратной связи ioc уменьшается - уменьшается скорость движения выходного штока. При подходе штока к нейтральному положению сигнал датчика обратной связи становится равен нулю - шток остановится в нейтральном положении, тем самым отключает гидрораспределитель силового гидроцилиндра перемещения кабины оператора.

5.3 Принципиальная схема механизма стабилизации МГМ

Электрическое питание схемы механизма стабилизации малогабаритной горной машины производится от аккумуляторных батарей или генератора постоянного тока входящие в энергосистему горной машины.

Включение механизма стабилизации производится тумблером В-1 «Включение питания». Тумблером В-2 «Запуск преобразования» запускается преобразователь ПТ-125, который преобразует постоянное напряжение24 Вв переменное трехфазное напряжение 36В, 400 герц для питания схемы.

Тумблером В-3 «Включение гиродатчика» срабатывает реле, которое через замкнутые контакты подается переменное напряжение 36 вольт в гироагрегат для питания гиромоторов и на ТР-2 входящее в схему усилителей сигнала гиродатчика и датчика обратной связи.

Тумблером В4 «Включение потенциометров» подается напряжение для питания потенциометрических датчиков крена и обратной связи. После трехминутного прогрева ламп усилителей и набора оборотов гиромоторов ЦГВ-2 нажимаем кнопку «Арретир» для ускоренного восстановления платформы ЦГВ-2 к вертикали из любого положения. Затем включаем тумблер В-5 «Выключение агрегата исполнения», который подает постоянное напряжение на обмотки реле поляризованного и электромеханического клапана, который перекрывает выходные каналы сообщения между двумя полостями гидроцилиндра.

При неисправности схемы механизма стабилизации тумблер В5 отключают и электромеханический клапан открывает сообщение между двумя полостями гидроцилиндра агрегата исполнения и оператор может пользоваться ручным управлением механизма стабилизации кабины горной машины. четырехгусеничный горный машина стабилизация

Потенциометром П-4 регулируется величина сигнала, поступающего в магнитный усилитель при отклонении кабины на определенный угол.

При использовании в качестве датчиков углов крена ЦГВ-2 максимальный сигнал, снимаемый с потенциометра П4 в обмотку магнитного усилителя 12-13, будет примерно 0,33 мА/град ЦГВ-2.

Сопротивление R26 предназначено для обеспечения линейности характеристики сигналов, поступающих с датчика ЦГВ и ограничения их величины.

Сопротивление R37 в цепи датчика обратной связи определяет крутизну характеристики сигнала, поступающего на вход магнитного усилителя 18-19. При сопротивленииR37=10 ком. Эта величина примерно равна 0,05Та/град отклонения датчика обратной связи.

Постоянное сопротивление R18,R19 и R25 обеспечивают необходимую работу магнитного усилителя величину тока подмагничивания. Сопротивления R18, R18 и R25, входящие в схему моста обеспечивают необходимый диапазон и точность регулировки.

Потенциометр R32 для центровой кабины малогабаритной машины, когда остов и гиродатчик находятся в горизонтальном положении.

Усилительная часть охвачена отрицательной обратной связью, обеспечивающий стабильность коэффициента усиления усилителя.

Напряжение обратной связи снимается с выхода фазочувствительного выпрямителя и через ячейку RC состоящую из сопротивлений R16, R16/1и R16/2 и емкости С8 подается на входную обмотку 10-11 усилителя.

Ячейка RCслужит для предотвращения возникновения генерации усилителя при подключении отрицательной обратной связи.

5.4 Назначение и принцип действия отдельных агрегатов механизма стабилизации

5.4.1 Центральная гироскопическая вертикаль ЦГВ-2

Питание:

А) Напряжение переменного тока 36В от +10% до -5% частота 400Гц 2%

Б) Напряжение постоянного тока 27В.

Потребляемый переменный ток в установившемся режиме не более 1,1 А в каждой фазе.

Диапазон предельных углов по продольному крену65%

Время готовности не более 3 минут.

Центральнаягировертикаль используется в механизме стабилизации в качестве чувствительного элемента и служит для измерения углов отклонения кабины оператора от положения вертикали.

Центральная гировертикаль представляет собой двухгироскопическуюсистему с силовой стабилизацией корректируемую по вертикали от жидкостного маятникового переключателя. Съем сигнала пропорционально углу продольного крена производится с потенциометрических датчиков установленных на осях прибора.

Для быстрого восстановления платформы к вертикали применяются механические маятники расположенные на платформе. каждый маятник работает только в одной плоскости и имеет контактное устройство, напряжение на которое подается при нажатии кнопки «Арретир» и приводит платформу к вертикали с точностью 1,5-2 из любого положения. Дальнейшее точное восстановление платформы к вертикали осуществляется системой коррекции, находящееся внутри гировертикали.

5.4.2 Усилитель магнитный

Усилитель магнитный предназначен для суммирования, усиления и преобразования управляющих сигналов постоянного тока в сигналы переменного тока.

Принцип действия магнитного усилителя основан на использовании не линейности кривой намагничивания ферромагнитных материалов.

Для уяснения принципа действия магнитного усилителя рассмотрим сердечник, который подвергается одновременному намагничиванию постоянным и переменным магнитными полями.

Для различных значений постоянной составляющей магнитной индукции можно построить пренебрегая явлением гистерезиса, кривую изменения напряженности магнитного поля Н.

Рисунок 5.2 График работы магнитного усилителя.


Переменная составляющая напряженности магнитного поля (Н) прямо пропорциональна переменному току (№) протекающую через обмотку переменного тока (W)/

На рисунке 5.2 видно, что с увеличением постоянной составляющей магнитной индукции Во, обусловленной подмагничиванием постоянным током, растет величина переменной составляющей Н, следовательно растет величина переменного тока.

Это равносильно тому, что с увеличением подмагничивающего постоянного тока магнитная проницаемость материала сердечника для переменной составляющей магнитного потока уменьшается, а следовательно, уменьшается и реактивное сопротивление обмотки переменного тока W.

Данный магнитный усилитель является мостовым усилителем напряжения и представляет собой два сдвоенных торроидальных сердечника. На сдвоенных сердечниках намотаны обмотки постоянного тока: сигнальные обмотки и обмотка подмагничивания. На одиночных сердечниках намотаны обмотки переменного тока.

Рис5.3

Схема соединения обмоток показана на рисунке 5.3

При отсутствии сигнала и при протекании постоянного тока подмагничивания Jи через обмотки Wn1 и Wn2 в сердечниках возникают магнитные потоки Фn1 и Фn2 направлены по стрелке, как указано на рисунке

В результате этого магнитные проницаемости обоих сердечников одинаковы, а следовательно реактивные сопротивления обмоток W1, W2, W3, W4, равны.

Рисунок 5.3.1


Из принципиальной схемы соединения обмоток переменного тока видно, что при равенстве сопротивлений этих обмоток Ивых=0.

Обмотки Wс1, Wс2 включены на встречу друг другу так, что при протекании через них постоянного тока Jc в указанном на схеме направлении, магнитный поток Фс2, возникающий в результате этого в сердечнике II, складывается с потоком подмагничивания Фn2, а магнитный поток Фn1 в сердечнике I вычитается из потока подмагничивания Фn1.

В результате изменения магнитной проницаемости реактивное сопротивление обмоток W3 и W4 уменьшается, а обмоток W1 и W2 возрастает, мост расбалансируется, и между точками c и d моста появляется разность потенциалов.

При изменении направления тока Jс потоки будут складывается в сердечнике I, а вычитаться в сердечнике II, и между точками c и d моста появится напряжение обратной фазы.

Если на средних стержнях дросселя имеется несколько сигнальных обмоток, то результирующий управляющий поток равен алгебраической сумме потоков, усилений и преобразование сигналов постоянного тока в сигналах переменного тока.

5.4.3 Усилитель

Усилитель предназначен для усиления сигналов переменного тока, поступающих с выхода магнитного усилителя, до величины и преобразования с последующим усилением сигналов до мощности, достаточной для управления поляризованным реле агрегата исполнения.

5.4.4 Агрегат исполнения

А) Источник питания гидросистемы малогабаритной горной машины.

Б) Рабочее давление в гидросистеме 50- 220 кг/с.

В) Допустимый расход рабочей жидкости при неподвижном исполнительном штоке до 1,5л./мин., при максимальной скорости перемещения штока не более 5,5 л/мин.

Г) Ход исполнительного штока  40 мм.

Д) Усилия развиваемое исполнительным агрегатом 150кг.

Е) Рабочее напряжение питания цепи обмоток подмагничивания поляризованного реле и электромагнитного клапана 24В.

Ж) Максимальная скорость движения исполнительного штока 50 мм/с.

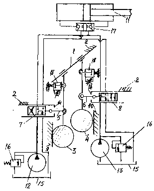
Агрегат исполнения предназначен для включения гидрораспределителя силового гидроцилиндра малогабаритной горной машины для изменения угла наклона кабины оператора. Общий вид агрегата исполнения представлен на рисунке 5.7.

Работа агрегата исполнения основана на электрогидравлическом принципе. Сигнал поступающий с лампового усилителя, принимает электрической частью агрегата исполнения, который представляет собой поляризованное реле 7. Реле через соответствующие узлы и детали воздействуют на гидравлическую часть агрегата, которая приводит в движение дополнительный шток 1 связанный с гидрораспределителем.

Электрический сигнал получаемый от усилительного устройства воздействует на поляризованное реле 7.

Якорь реле 15, отклоняясь в ту или иную сторону в зависимости от знака сигнала, через рычаг 16 приводит в движение иглу 17 клапана управления 10. В след за иглой перемещается сам золотник, так как перемещение иглы нарушает равновесие гидравлических сил, действующих на торцы золотника.

Клапан управления, являясь распределительным устройством открывает доступ к жидкости, находящейся под давлением в одну из полостей гидроусилителя 18, соединяя одновременно вторую со сливом. Гидравлическую систему агрегата рабочая жидкость под давалением поступает из магистрали горной машины через входной штуцер. Проходя через фильтр 4, жидкость подает в редукционный клапан 3, который понижает давление рабочей жидкости до 40 атмосфер.

Рис. 5.7 Агрегат исполнения.


Регулировка давления осуществляется затяжкой пружины редукционного клапана с внешней стороны без разборки агрегата. Далее жидкость под давлением 40 атмосфер поступает по соединительным каналам в проточку между средними буртиками золотника клапана управления 10 и через сетчатый фильтр тонкой очистки 5 к редукционному клапану 6, который редуцирует давление приблизительно до 2-3 атмосфер.

Под этим давлением жидкость поступает по каналу в полость «Н» и через жиклерное отверстие в полость «К» канала управления.

Регулировка жиклерного отверстия достигается выравниванием скорости движения исполнительного штока в ту или другую сторону при подаче на реле сигнала, равных по величине и обратных по знаку. Величина жиклерного отверстия регулируется дроссельным винтом 8. При подаче сигнала, якорь поворачиваясь отклоняет рычаг с иглой вправо или лево. При этом, сечение прорезей в игле перепускающем жидкость из полости «К» на слив, увеличивается или уменьшается. В соответствии с этим изменяется давление в полости «К», нарушается равновесие сил, действующих на торцы золотника и золотник перемещается. Направление движения золотника совпадает с направлением движения иглы. При перемещении золотника средние буртики его прикрывают отверстие в гильзе, соединенные с клапанами «А» и «Б» в результате чего в оду из полостей гидроусилителя подводится жидкость под давлением, а из другой вытесняется в сливную магистраль.

Регулировочные винты 9 регулируют количество жидкости, идущей на слив, обеспечивающей тем самым возможность уменьшения и выравнивания скорости движения исполнительного штока внутрь и наружу. Благодаря разности давлений нагнетательной и сливной полостях гидроусилителя исполнительный шток перемещается в гильзе и воздействует на рычаг гидрораспределителя силового гидроцилиндра управления кабиной горной машины. При переходе на ручное управление, исполнительный шток должен свободно перемещаться в гильзе. Для этой цели предусмотрен электромагнитный соединительный клапан 2. При автоматическом управлении катушка электромагнитного клапана находится под током, крышка (якорь) притянута и соединительные каналы «Е» и «Д» закрыты.

При отключении механизма стабилизации произойдет следующее: якорь реле 7 под действием пружин возвратиться в среднее положение, переместит рычаг с иглой, а следовательно и золотник в нейтральное положение. При этом буртики золотника перекроют отверстие в гильзе, соединенные с клапанами «А» и «Б» - жидкость окажется запертой. В то же время катушка электромагнитного клапана обесточивается, пружина поднимает крышку «М». Рабочие полости гидроусилителя через каналы «Е» и «Д» соединятся, что обеспечит свободное перемещение исполнительного штока, необходимое при ручном управлении. Для нормальной работы агрегата при низких и высоких температурах в конструкции агрегата предусмотрен обогрев и охлаждение потоком жидкости. Количества жидкости, идущие на обогрев, регулируются винтом 19.

5.4.5 Датчик обратной связи

Датчик обратной связи является элементом, обеспечивающим пропорциональность между перемещением входного штока агрегата исполнения и величиной входного сигнала.

Датчик обратной связи замеряет величину перемещения выходного штока агрегата исполнения и подает сигнал, пропорциональный этому перемещению, на вход сумматора - усилителя для остановки агрегата исполнения в нужном положении.

Датчик обратной связи представляет собой сдвоенный потенциометр, соединенный по мостовой схеме, приведенной на рисунке 5.8.

Рис.5.8 Датчик обратной связи.


Примечание: напряжение постоянного тока 24В.

Зона углов отключения рычага от среднего положения в пределах которой включается сигнал, пропорционален углу отклонения 40 .

Угол отклонения рычага до упоров 43-45 .

5.5 Расчет сцепного устройства на прочность механизма стабилизации

5.5.1 Расчетная схема

Наиболее опасным сечением трубы является место в штоке С. Расчет производим на прочность при наиболее тяжелом нагружении четырехгусеничной горной машины, то есть когда стабилизация горной машины производится при спуске со склона с поворотом в горизонтальной плоскости, в этом положении в точке «Д» предлагается максимальный вес РD, вес тележки с технологическим оборудованием, которое составляет 18 500Н и сила создающая поворот РD1. Равнодействующая этих сил Р является силой нагружающей переднее сечение в точке С.

5.5.2 Определяем силу сопротивления поворота

Рассматриваем неблагоприятный случай, когда технологическая тележка является ведомой.

РД1=f*Q

Рис. 5.9 Схема механизма стабилизации.


Где f - коэффициент сопротивления повороту.

Q - вес технологической тележки.

РД1 = 0,4 * 18 500Н = 7 400Н.

5.5.3 Определяем равнодействующую силу приложенной к сцепной трубе

Р=;

Р==19925 Н.

5.5.4 Определяем усилие прилагаемое к точке С

Составляем уравнение суммы моментов относительно точки А.

∑МА=-Р*АД-Рс*АС=0.

Рс=*Р;

Рс= *19925=38743Н

5.5.5 Определяем площадь поперечного сечения трубы в точке С

Fc=(-)

Fc=3.14()=2434м

5.5.6 Определяем напряжение возникающее в сечении С

σс=; σс==16 Н/м

5.5.7 Определяем прочность трубы в сечении С с учетом коэффициента уменьшения φ допускаемого напряжения

nт=;

Где φ- 0,80,9 коэффициент выбирают от гибкости детали и марки стали

σт - предел текучести для стали 20

σт - 23 кк/м

nт =  = 11,5


Следующим наиболее слабым узлом в конструкции механизма стабилизатора 4 является проушины рычагов. Расчет проведен по наиболее нагруженной проушине, такой является место соединения конструкции механизма стабилизации с силовым гидроцилиндром по продольной стабилизации.

Проушины рычагов рассчитывают как кольцо, защемленное на дуге и нагруженной распределенной нагрузкой, изменяющейся по косинусоидальному закону.

Рис. 5.10. Проушина.


.5.9 Определяем наибольшую интенсивность распределенной нагрузки

Po=;

Где Р - сила действующая на проушину

R - средний радиус проушины, он составляет 24,25 мм.

Po==486 Н/мм

5.5.10 Определяем возникающий максимальный изгибающий момент

М=Мо+No*R(1+Sinβ)-P*R();

Где: Мо≈PR(0.012+0.00083β)

Nо≈P(0.522-0.003 β)

R- средний радиус проушины

P-сила действующая на проушину.

β-угол приложения силы на проушину, который составляет из чертежа 45º

M=18500*24.25(0.0127+0.00083*0.7)+18500(0.522-0.003*0.7)-18500*24.25( = 145430 H*мм

5.5.11 Определяем нормальную силу в этом сечении

N=;

N==5323 H.

5.5.12 Определяем максимальное напряжение на внутреннем радиусе проушины

σ=;

где: N- нормальная сила сечения;

F-площадь сечения ;

M -максимальный изгибающий момент;

Zr-расстояние от внутреннего волокна до нейтрального слоя;

S- статический момент площади сечения относительно нейтрального слоя;

R2- внутренний радиус проушины который составляет 12.5 мм.

Для вычисления Zr необходимо определить радиус кривизны нейтрального слоя r;

r =;

где, h-высота сечения проушины, которая из чертежа составляет 15мм

R1-наружний радиус проушины.

r==14.3 мм.

Теперь определяем расстояние от внутреннего волокна до нейтрального слоя

zr= r-R2

zr=14.3-12.5=1.8мм

Статический момент площади определяется из выражения

S=Fzo

Где Zo - расстояние от центра тяжести площади сечения до нейтрального слоя;

Zo=R-r ; Zo=24.25-14.3=9.95мм

Площадь сечения проушины составляет 705 м

S=705м*9.95мм=7014.7м

σ=10,5

Или 1050 H/c

Данная проушина выдерживает прилагаемую к ней нагрузку 1050Н/с

5.5.13 Расчет пальцев шарниров тяг

Пальцы шарниров тяг рассчитывают как двухопорныве балки, нагруженные распределенной внешней нагрузкой, с реакциями на опоры, распределенными по закону треугольника.

Рис.5.11-Схема расчета пальцев шарниров.


Максимальный изгибающий момент для этой схемы равен:

Ммах=RA()

Где S - внешняя нагрузка приложенная к пальцу.

M==150312 Hмм;

σ=, где Mu-изгибающий момент

Wu-момент сопротивления сечения ; для тонкостенного кругового кольца

Wu=πS; где S-толщина стенок.

Wu=3,14**5=100450 м

σ==1,5 Н/с;

6. Безопасность и экологичность проекта

Объектом разработки механизма стабилизации и устройства сигнализации предельных кренов является малогабаритная горная машина(МГМ) выполненная кафедрой тяговых машин совместно с Иркутским филиалом ЦНИИМЭ.

6.1 Анализ условий труда

В конструкции МГМ для удобства работы оператора горной машины на склонах предусмотрена система автоматической стабилизации кабины в горизонтальном положении. При работах на склонах оператор может неправильно оценить предельный крен положения МГМ, сработает психологический фактор, выпрыгнет из кабины или во время выполнения какой-либо операции, внимание оператора будет сосредоточено на выполнении данной операции, в такой момент времени без предупреждения о превышении угла устойчивости может произойти опрокидывание горной машины, что повлечет за собой несчастный случай на производстве.

Для предупреждения случаев опрокидывания горной машины на крутых склонах в конструкции малогабаритной горной машины предусмотрена сигнализация предельного крена в продольном и поперечном положении МГМ.

6.2 Безопасность производственной деятельности

Для создания безопасных условий производственной деятельности и улучшения, предусмотрены организационные, технические, санитарногигиенические мероприятия.

6.2.1 Организационные мероприятия

Для снижения травмотизма предусмотрены:

а) осуществление инструктажа всех видов в соответствии с нормами и правилами их проведения по ГОСТ 12.0.004-90,

б) аттестация переаттестация персонала на знание правил безопасности труда;

в) аттестация рабочих мест по условиям труда;

г) обеспечение рабочих технологическими описаниями процессов и инструкциями по охране труда.

6.2.2 Организация обучения охране труда и безопасности приемам работ

В соответствии с ГОСТ 12.0.004-90 обучение рабочих по охране труда проводят на всех предприятиях и организациях, независимо от характера и степени опасности производства.

6.2.3 Контроль по охране труда

Контроль над выполнением возлагается на работодателя, который постоянно осуществляет контроль над соблюдением работниками безопасных приемов и методов труда, опасными зонами, технологической дисциплиной, исправностью механизмов, оборудования, приспособлений в соответствии с правилами.

6.2.4 Безопасность проектируемой машины

В результате экспериментальных исследований по утвержденной методике были установлены следующие весовые показатели приведенные в таблице 6.1

Таблица 6.1- Весовые показатели шасси МГМ

 №/ п/п

Положение моторно-транспортно блока (град)

Общий вес шасси малогабаритной горной машины, КН



Экспериментальный

Расчетный

1

66⁰

 -

32,748

2

90⁰

32,63

32,637

3

108⁰

32,56

32,555

4

среднее значение

32,595

 32647


Расчет схемы малогабаритной горной машины приведен на рисунке 6.1.

Для определения углов предельных кренов определим продольную и вертикальные коэффициенты центра тяжести.

6.2.5 Продольные координаты центра тяжести малогабаритной горной машины

Продольную координату центра тяжести, шасси МГМ относительно передней поперечины и задней поперечимны определяется по зависимости:

𝑙=*𝑙1

Где 𝑙- продольная координата центра тяжести, мм.

Рис. 6.1


P1-показания динамометра, кН;

G- вес шасси МГМ, равен 32,647кН;

𝑙1- расстояние между поперечинами равное 2415 мм;

 

В результате взвешивания были получены значения продольных координат, которые приведены в таблице 6.2.

6.3 Погрешность измерения продольной координаты центра тяжести шасси МГМ

Сумма значений расстояний продольных координат центра тяжести приведенных в таблице 6.2. должна соответствовать расстоянию между поперечными рамами шасси МГМ. Отклонение от этого расстояния определим статическую погрешность продольной координаты.

𝑙сум = 𝑙I+�尶II; f=𝑙сум-𝑙; σст=

Где f - отклонение

σст- статическая ошибка

Результаты расчетов приведены в таблице 6.3

Таблица 6.2- Расчетные значения продольной координаты.

 

Положение МТБ, град

Весовые параметры кН

Расстояние от центра тяжести до передней, задней поперечины

66⁰14,6441083,3





90⁰

15,45

1142,9


108⁰

16,055

1187,6

66⁰18,1041339,2





90⁰

17,187

1271,4


108⁰

16,5

1220,6


Таблица 6.3- Погрешность продольной координаты.

№/ п/п

Положение МТБ (град)

L в сумме (мм)

f откл. (мм)

σ ст (%)

1

66⁰

2422,5

7,5

0,31

2

90⁰

2414,3

 -0,7

0,03

3

108⁰

2408,2

- 6,8

0,28


6.4 Вертикальная координата центра тяжести шасси МГМ

Для определения вертикальной координаты центра тяжести h были выполнены замеры и расчет координаты центра тяжести в вертикальном направлении определяем по формулам:

h1=ctgα( -); = h1+ h2;

Где Gт - вес трактора Н

α - угол подъема шасси над горизонтальной плоскостью, град.

 - координата центра тяжести в продольном направлении (Таблица 6.2.)

Pz - показание динамометра, Н.

𝑙1- расстояние от точки опоры до точки подвеса, в 2415мм.

h - координата центра тяжести в вертикальном направлении, мм.

h1- расстояние от центра тяжести до точки подвески по перпендикуляру к опорной поверхности в мм,

h2 - расстояние от точки подвески до опорной поверхности шасси по перпендикуляру к ней, мм.

Вертикальную координату h1 определяем от одной базовой линии, то есть, это расстояние от центра тяжести МГМ до точки подвеса по перпендикуляру к опорной поверхности. Полная координата центра тяжести h определяется по зависимости h= h1+ 0,365

Таблица 6.4- Расчетное значение составляющее координату центра тяжести.

 

положение шасси, град

Положение МТП, град.

Показание динамометра Pz, кН.

Продольная координата центра тяжести, lмм

Расстояние от центра тяжести до точки подвеса, h1, мм.

  15⁰

66⁰

16,3

1339,2

498




90⁰

16,95

1339,2

318



108⁰

15,4

1220,6

303,84


20⁰

90⁰

13,8

1149,9

335,35



108⁰

14,5

1187,6

315,9


25⁰

90⁰

13,45

1142,9

317,3



108⁰

14,15

1187,6

302,14


Рассчитываем значение вертикальной координаты центра тяжести и заносим в таблицу 6.5

Таблица 6.5

Положение МТБ (град)

Среднее значение коэффициента по таб.6.3.

Расчетное значение коэффициента центра тяжести h1, мм.

Координата центра тяжести вертикальная h1, мм.

66⁰

310,19

312,25

668,25

90⁰

301,15

303,6

659,6

108⁰

303,84

299,47

655,47


Полученные результаты обобщаем в таблице сводных значений координат центра тяжести шасси МГМ.

Таблица 6.6

Положение МТБ (град)

Координата центра тяжести, мм.


Продольная

Вертикальная


От передней поперечины

От задней поперечины


66⁰

1083,3

1339,2

666,4

90⁰

1142,9

1271,4

671,29

108⁰

1187,6

1220,6

674,93


6.5 Продольная устойчивость шасси МГМ

Продольная устойчивость шасси МГМ определяется предельными углами статической устойчивости, при которых начинается поворот шасси относительно шасси переднего или заднего упорного катка, опрокидывание вокруг оси передней или задней звездочки гусеницы.

Углы статической устойчивости рассчитываются на основании поученных экспериментальных данных и расчетов, по зависимости.

αопр=arctg;

Где а - расстояние по горизонтали от центра тяжести шасси МГМ до кромки опорных поверхностей гусеницы по ее длине, мм.

hg - расстояние от центра тяжести шасси МГМ до его опорной поверхности, мм.

6.6 Предельный угол боковой устойчивости

Конструктивное расположение агрегатов и узлов шасси МГМ выполнено схематично относительно продольной оси.

Поэтому расчет ведем по формуле:

αБ=arctg

Таблица 6.7- Продольная устойчивость шасси МГМ.

Положение МТБ (град)

Расстояние в мм от центра тяжести шасси МГМ до

Предельный угол статистической устойчивости в град.

 

А. оси переднего опорного катка

 

66⁰

757,3

48⁰39΄

90⁰

816,9

50⁰35΄

108⁰

861,6

51⁰56΄

 

Б. оси передней звездочки гусеницы

 

66⁰

1154,3

56⁰38΄

90⁰

1213,9

54⁰35΄

108⁰

1258,6

52⁰56΄

 

В. оси переднего опорного катка

 

66⁰

1012,2

66⁰

90⁰

944,4

61⁰3΄

108⁰

839,6

61⁰47΄

 

Г. оси задней звездочки гусеницы

 

66⁰

1409,2

64⁰41΄

90⁰

1341,4

63⁰25΄

108⁰

1290,6

62⁰24΄


Где В - калия шасси 1808 мм.

hg- высота центра тяжести относительно опорной поверхности по перпендикуляру к ней.

В/2hg - параметры боковой устойчивости.

Таблица 6.8-Поперечная устойчивость.

Положение МТБ (град)

Вертикальная координата центра тяжести l мм.

Параметр боковой устойчивости

предельные углы боковой устойчивости в град.

66⁰

666,44

1,3565

53⁰36΄

90⁰

674,29

3,3467

53⁰24΄

108⁰

674,93

3,3394

53⁰15΄


6.7 Обоснование применение сигнализации предельных кренов малогабаритной горной машины

На основании выше приведенных расчетов наименьший угол поперечной устойчивости при положении моторно-трансмиссионного блока равным 108 градусов составляет 53⁰15΄.

Наименьший угол продольной устойчивости шасси МГМ составляет 50⁰35΄ при положении моторно-трансмиссионного блока равным 66⁰. Разрабатываем конструкцию сигнализации предельных кренов, для индикации световой сигнализации с потенцеметрических датчиков гировертикали равен 30⁰ для продольного и поперечного кренов МГМ. При световой сигнализации оператор должен усилить внимание при работе на склонах и выполнять мероприятия против опрокидывания горной машины. Используем потенцеметрические датчики гировертикали которые включают звуковую сигнализацию при продольных и поперечных кренах МГМ равными 45⁰ положения остова относительно горизонтали. При этой звуковой сигнализации оператору извещает, что крен горной машины близкий к предельному углу устойчивости. Оператор обязан прекратить работы на этих склонах и принять меры для предупреждения опрокидывания МГМ.

6.8 Общий принцип работы схемы сигнализации предельных кренов

Данная схема обеспечивает работу сигнализации световую и звуковую. Электрическое питание схемы сигнализации предельных кренов осуществляется от аккумуляторной батареи или генератора постоянного тока входящих в комплект энергосистемы горной машины.

Постоянное напряжение 24В через тумблер В1 «Включение питания» подается на преобразователь напряжения. Выключатель В2 «Запуск ПТ» запускает преобразователь, который преобразует напряжение 24В в напряжение 36В 400Гц трехфазная переменная. Выключатель В3 «Включает гиродатчик» включает реле которое в свою очередь своими контактами подает переменное 36В на питание гиромоторов. По истечению трех минут нажатием кнопки «Арретир», рамка гировертикали приводится в вертикальное из любого положения, на которой находятся датчики выдачи сигнализации кренов. Выключателем В4 запитываются датчики сигнализации кренов.

На рамке гировертикали расположены датчики по продольному (П5) и поперечному (П13) кренами, которые подают сигнал на световую сигнализацию при кренах 30⁰ и более. Датчики по продольному (П6) и поперечному (П11) крену подают сигнал оператору МГМ звуковой, который подается при кренах МГМ 45⁰ и более, предупреждая оператора об опасной работе на данном склоне. Минимальный запас от подачи звукового сигнала до предельного угла устойчивости составляет 5 º, от подачи светового до предельного угла устойчивости МГМ на склонах составляет 20 º.

6.9 Производственная санитария и гигиена труда

Санитарно-гигиенические мероприятия направлены обеспечение людей индивидуальными средствами защиты от воздействия опасных и вредных производственных факторов.

6.10 Общие правила техники безопасности при работе на лесных машинах

В общие правила техники безопасности при работе на лесных машинах входят следующие положения:

к управлению агрегатом могут быть допущены только лица прошедшие специальную подготовку и имеющие удостоверение соответствующего образца.

лица, имеющие право на управление агрегатом должны пройти месячную стажировку под руководством опытного оператора.

лица, допущенные к управлению агрегатом должны пройти инструктаж на рабочем месте.

сдача экзамена правил безопасной работы и правил противопожарной безопасности должна производиться лицами, работающими на проектируемой машине не реже одного раза в год.

Работающие на лесных машинах должны соблюдать следующие правила безопасной работы:

.        Запрещается выполнять работы с заведомо неисправными машинами, даже если не исправны отдельные узлы.

.        Запрещается выезд на работу на самоходных и прицепных машинах с неисправными тормозами ходовых колес или гусениц.

.        Для работы в ночное время, машины должны быть оснащены достаточным количеством осветительных приборов. Работать ночью без освещения запрещается.

.        Ременные и цепные передачи, валы и другие вращающиеся детали вблизи которых могут находиться люди должны быть закрыты кожухами.

.        Запрещается производить осмотры, смену масла в редукторах, смазку деталей или выполнять монтажные - демонтажные, наладочные, регулировочные или ремонтные работы на машинах с работающим двигателем.

.        Оператору запрещается оставлять работающую машину. При уходе оператор должен заглушить двигатель. При пуске машины в работу, водитель должен дать предупредительный сигнал.

.        Запрещается находиться на металлоконструкции самоходных, прицепных и навесных машин во время работы или при движении. Люди при работе или движении машины могут находиться, либо в кабине водителя либо на площадках управления.

.        Водителям (операторам) запрещается брать в свою кабину людей сверх положенного количества. На площадках управления и в кабинах машин не должны находиться люди, не имеющие отношения к управлению ими.

.        Запрещается входить и выходить из кабины управления независимо от скорости движения трактора.

.        На машинах, имеющие подвижные органы (бульдозеры, скреперы, канавокопатели), запрещается производить осмотры, наладочные и ремонтные работы, находясь под рабочими органами, поднятыми и удерживаемыми канатными или гидравлическими механизмами. Рабочие органы должны быть надежно укреплены специальными упорами и устойчивыми опорами, поставленными на почву.

.        При ремонтах и наладочных аботах, если работающий находится под поднятыми рабочими органами, категорически запрещается кому-либо находиться в близи рычагов управления и трогать рычаги, даже если двигатель машины выключен, а рабочие органы оперты на опору или грунт.

.        При накачива6нии шин колесного хода воздуха, запрещается находиться у колес со стороны съемного бортового кольца. Возможный срыв кольца может приченить тяжелое увечье. Запрещается накачивать воздухом сверх разрешенного максимального давления.

.        Машины, имеющие топливные баки или отопительные системы снабжены огнетушителями; работать на таких машинах при отсутсвии огнетушителей категорически запрещается.

.        При заправке топливом баков машин, категорически зпапрещается курить или иметь вблизи машины открытый огонь, например факел, керосиновый фонарь и т.п.

.        При воспламенении топливом в баках машины нельзя заливать пламя водой, т.к. это может привести к взрыву. Следует пользоваться пенными огнетушителями, засыпать источник пламени песком или землей.

6.11 Обеспечение пожарной безопасности

Для обеспечения пожарной безопасности машина имеет места установки первичных средств пожаротушения: топора и лопаты на раме трак4тора, огнетушитель на облицовке машины с правой стороны.

Наиболее опасными в пожарном отношении на машине являются двигатель, выхлопной коллектор, трубопровод и система питания и гидропривода, топливные и масляные баки, электросистема и внутренняя рама трактора. Содержание их в исправном состоянии и чистоте, а так же своевременная замена неисправных деталей и элементов является залогом пожарной безопасности.

Трактористу во избежание пожара запрещается:

проверять исправность аккумуляторной батареи по силе искры, замыкать клеммы между собой;

курить в машине;

пользоваться открытым огнем и курить при прогреве машины в зимнее время, при осмотре машины, заправке двигателя, заправки бака, узлов гидросистемы;

открывать крышку топливного бака ударами кувалды;

складывать в раме трактора, кабине и других местах мусор и легковоспламеняющиеся предметы и вещества, особенно в зоне расположения выхлопной трубы;

при пожаре топливный бак следует тушить огнетушителем, песком или землей, во избегании взрыва.

При возникновении пожара оператор должен сразу остановить машину и заглушить двигатель, при помощи первичных средств пожаротушения приступить к тушению пожара, направлять огнетушитель следует к основанию пламени. Для тушения пожара можно использовать подручные средства ( снег, земля, песок). После тушения огня, во избегании повторного возгорания, следует в течении двух часов производить наблюдение за машиной.

6.12 Экологичность проекта

6.12.1 Хранение лесохозяйственной машины

При эксплуатации лесохозяйственного шасси необходимо предусмотреть его охраняемую стоянку совместно с другими механизмами. Размеры стояночной площадки зависят от количества техники, которая будет храниться на ней. Техника должна располагаться на ней с противопожарным разрывом не менее 1,75-2м. На площадке необходимо иметь песок. Обычно это ящик из метала емкостью 1-1,5 М3, который при перебазировании техники можно загружать на трейлер или платформу. В случае отсутствия емкости под песок в непосредственной близости от стоянки насыпают бурт из песка, которым можно воспользоваться при воспламенении пожара. Хранение должно осуществляться в соответствии с ГОСТ 12.1.004-85-ССБТ «Пожарная безопасность. Общие требования».

В случае организации стоянки в лесном массиве площадка должна быть очищена от пней, кустарника и спланирована так, что бы не было препятствий к перемещению рабочей техники.

Горюче-смазочные материалы должны храниться в отдалении от стоянки не менее 50 м. Хранилище ГСМ ограждается валом из подручного материала 0,75 - 2 м. На временном складе ГСМ так же оборудуется место под запас песка. В этих местах должны быть надписи «Опасно», «Не курить». Нельзя располагать временный склад ГСМ на берегу озер, ручьев, рек во избежание загрязнения вод нефтепродуктами. В случае разлива ГСМ засыпают песком. Если ГСМ разлито на растительном покрове, то часть покрова с наличием ГСМ снимается и переносится из зоны растительности или почва прокаливается.

6.13 безопасность в чрезвычайных ситуациях

Ежегодно в нашей стране возникают стихийные бедствия, производственные аварии на объектах народного хозяйствах и коммунально-энергетических системах городов. Они вызывают крупномасштабные разрушения, гибель людей, большие потери материальных ценностей.

В России принят федеральный закон «О защите населения и территорий от чрезвычайных ситуаций природного и техногенного характера» (ФЗ- № 68 ст.14), который предписывает организации:

планировать и осуществлять необходимые меры в области защиты работников организации и подведомственных объектов производственного и социального назначения от чрезвычайных ситуаций;

обеспечить создание, подготовку и поддержание в готовности к применению сил и средств по предупреждению и ликвидации ЧС, обучение работников организации способов защиты и действиям в ЧС в составе невоенизированных формирований.

Одной из возможных ЧС может быть пожар, при этом необходимо руководствоваться нормативным правовым источником, при этом режиме повседневной деятельности необходимо провести следующие мероприятия:

убрать с территории ГСМ, склад его хранения;

необходимо поддерживать работоспособное состояние средств оповещении внутри объекта об опасности;

проводить мероприятия с рабочим персоналом по действиям в ЧС;

всегда поддерживать и проверять работоспособность гидрантов, полную укомплектованность противопожарных щитов.

При проведенном анализе для предупреждения и ликвидации ЧС в соответствии с требованием и постановлением правительства №1113 делаем вывод, что предприятие удовлетворяет требованиям безопасности в ЧС.

Для обеспечения безопасности в ЧС предусмотрены укрытия в защитных сооружениях; на предприятии имеются средства индивидуальной защиты в виде противогазов и респираторов, при этом обеспеченность ими составляет 100% всего персонала. Для оповещении в случае ЧС на сладах предусмотрены сирены и громкоговорители, слышимость которых охватывает всю территорию предприятия.

Планирование и высокая степень готовности к реализации мероприятий позволит смягчить отрицательные действия поражающих факторов ЧС мирного и военного времени и обеспечит безопасность персонала.

7. Охрана окружающей среды

При проектировании тракторной системы предназначенной для работы в горных условиях, особое внимание уделялось защите окружающей среды.

Применение гусеничной машины в условиях леса приводит к необратимым повреждениям почвенного слоя и его эрозии ветровой и водной, уничтожение подроста и разрушение структуры почвенного слоя. Эти факторы приобретают особое значение при эксплуатации в горных условиях. По этому заготовка леса на горных склонах ведется по разрешению управления лесного хозяйства РФ с учетом восстановительных работ или применения экологической (чистой) техники. В разрабатываемом дипломном проекте тракторной системе механизма стабилизации решаются следующим образом:

Сокращение структуры от разрушений, сохранение подроста обеспечивается низким давлением до 150 г./сна грунт, с большим шагом грунтозацепов на гусеницах и поворотом четырехгусеничника при помощи специального устройства. Наличие механизма стабилизации обеспечивает перераспределение давления гусениц на подъеме и на спуске. Тем самым предотвратить разрушение почвенного покрова и подроста, предотвратит опрокидывание и даст возможность осуществлять необходимые маневры с объездом деревьев без их повреждения.

В конструкции включена электронная система стабилизации, тем самым до минимума сведено применение гидравлических шлангов, что предотвращает случайный разрыв и вытекания масла из гидросистемы трактора. В данной конструкции применен механизм поворота, который изменяет угол трактора относительно технологической тележки, что увеличивает радиус разворота, а следовательно сохраняет почвенный покров и подрост, под гусинечными движителями.

7. Расчет экономических показателей

Для проведения расчета экономических показателей создания новой валочной машины для горных условий необходимо уточнить исходные данные как по условиям работы, так и в целом по параметрам машины. Данный расчет выполним при работе машины применительно к горным условиям Прибайкалья. По данным Иркутского филиала ЦНИИМЭ лесосеки этой зоны имеют по 315…358 деревьев на 1 Га. Основными породами являются лиственница и сосна. Их средний объем хлыста составляет 0,41…0,5 м3.

Проводя предварительный анализ с целью базового варианта техники для сравнения к новой было установлено, что в настоящее время отсутствует какая либо эффективная техника для валки в горных условиях. В связи с этим за базу приходится брать ручной труд с применением мотопилы МП-5 (Урал) и гидроклина КГМ-1А. данный инструмент наиболее эффективен из существующих и выпускается серийно.

7.1 Расчет капиталовложений на изготовление новой валочной машины

Расчет капиталовложений на изготовление новой валочной машины можно засчитать по сумме всех расходов:

стоимость основных и вспомогательных материалов при изготовлении;

основную и дополнительную заработную плату рабочих, занятых при изготовлении;

отчисления на социальные нужды;

расходы на содержание оборудования, используемого при изготовлении ;

прочие неучтенные затраты на изготовление.

7.1.1 Расчет стоимости материалов приводится в таблице 7.1

Таблица 7.1-Расчет стоимости материалов

Наименование деталей

Вес деталей, кг.

Цена за 1 кг, руб.

Общая стоимость, руб.

Основные




Лист сталь 20 S=10мм

150

23

3450

Вспомогательные




Краска

5

100

500

Электроды

5

40

200

Комплектующие




Гидроцилиндр РЦС-100

3

7000

21000

Электронный блок управл.

1

1500

1500

РВД

6

500

3000

Итого,руб:



29650


7.1.2 Расчет заработной платы рабочих, занятых при изготовлении

Расчет заработной платы рабочих, занятых при изготовлении приводится в таблице 6.2.Изготовлением механизма заняты три рабочих в течении 100 часов.

Таблица 7.2- Расчет заработной платы рабочих

Профессия

Трудозатраты, Чел.-ч

Разряд

Часовая тарифная ставка, руб.

Тарифная заработная плата, руб.

Доплаты, Тыс.

Основная заработная плата, руб.

Дополнительная заработная плата, руб.12%

Общая заработная плата, руб.






Премия 3%

Районный коэффициент 60%




Токарь

25

6

70

1750

52,5

1050

2852,5

342,3

3194,8

Сварщик

40

5

66

2640

79,2

1584

4303,2

516,38

4819,5

Слесарь

35

6

70

2450

73,5

1470

3993,5

479,22

4472,7

Итого

100








12487

Отчисления по страховым взносам (30%)

3746,1

Отчисления на страхование от несчастных случаев(3%)

374,6

Всего

13236,2


7.1.3 Расчет расходов на содержание оборудования

Расчет расходов на содержание оборудования, используемого при изготовлении проектируемого механизма (токарный станок, сварочный аппарат), определяется по формуле:

С=Э+А+Р+П, (7.1)

где С-расходы на содержание оборудования тыс. руб;

Э- стоимость электроэнергии, тыс. руб;

А- сумма амортизационных отчислений, тыс. руб;

П- прочие не учтенные расходы, тыс. руб.

Расходы на электроэнергию определяются по формуле:

W=NэtήЗήС, (7.2)

где W-расход электроэнергии, кВтч;

Nэ - мощность двигателя оборудования, кВтч;

T - время работы двигателя, ч;

ήЗ - коэффициент загрузки оборудования (0,75-0,85);

ήС - коэффициент спроса по мощности(0,58-0,66);

Расход электроэнергии:

токарным станком

Wт=6*25*0,8*0,6=72 кВт ч

сварочным аппаратом

Wсв=5*40*0,75*0,6=90кВт ч

Общий расход электроэнергии:

W=72+90=162кВт ч

Стоимость электроэнергии рассчитывается по формуле:

Э=W*Cэ, (7.3)

Где Сэ- тариф за 1кВт ч (3,1 руб)

Э=162*3,1=502.2 руб.

Результаты расчетов заносим в таблицу 7.3

Таблица 7.3-Баланс расхода электроэнергии на изготовление.

Наименование Оборудования

Мощность, кВт

Время работы Двигателя, ч

Коэффициент загрузки оборудования

Коэффициент Спроса мощности

Расход электроэнергии, кВт ч

Токарный станок

6

25

0,8

0,6

72

Сварочный аппарат

5

40

0,75

0,6

90

Итого


65



162


Амортизационные отчисления А и отчисления на текущий ремонт Р определяются по действующим нормативам от балансовой стоимости оборудования БС пропорционально удельному весу времени работы оборудования при изготовлении стенда t в годовом фонде рабочего времени оборудования Т:

А=(БС*На*t)/(100*T); (7.4)

Р=(БС*Нр*t)/(100*T); (7.5)

где На, Нр- нормативы амортизационных отчислений -10% и отчислений на текучий ремонт 7% от балансовой стоимости БС.

Прочие не учтенные расходы на содержание оборудования определяют в размере 5-7%, от суммы прямых расходов (Электроэнергия, амортизация, текущий ремонт), определяется по формуле:

П=(Э+А+Р)*5% (7.6)

П=(502,2+403+282,1)*5%=59,3руб.

Расходы на содержание оборудования:

С=398,52+403+282,1+59,3=1142,9 руб.

Таблица 7.4-Амортизация затрат на ремонт и техническое обслуживание оборудования

Наименование оборудования

Балансовая стоимость, руб.

Нормы отчислений,

Фонд рабочего Времени, ч.

Отчисления, руб.



На амортизацию 10%

На текущий ремонт 7%

За год

На изготовление механизма

Удельный вес %

На амортизацию

На текущий ремонт

Токарный станок

320000

32000

22400

2040

25

1,2

384

268,8

Сварочный аппарат

10000

1000

700

2040

40

1,9

19

13,3

Итого







403

282,1


7.1.4 Расчет общей стоимости

Расчет общей стоимости оборудования представлен в таблице 7.5

Таблица 7.5-Тасчет общей стоимости оборудования

Перечень затрат

Сумма, руб.

Материалы

29650

Основная и дополнительная заработная плата

12487

Социальные платежи 30%

3746,1

Соц. страхование от несчастных случаев и профзаболеваний 3%

374,6

Расходы на содержание оборудования

1142,9

Прочие расходы

54,18

Итого:

47454,68


7.1.5 Расчет капиталовложений

Капитальные вложения К, руб, определяются по формуле:

К=Цт+Цмех, (7.7)

где К - капитальные вложения проектного варианта, руб;

Цт- цена горного четырехгусиничного трактора=1000000 руб.

Цмех- цена механизма=47454 руб.

Кп=1000000+47454=1047454 руб.

Капитальные вложения в базовый инструмент и трактор трелевщик (МП-5+гидроклин КГМ-1А в трех экземплярах =45000руб., ТТ-4=1529000 руб.о )

Кб=45000+1529000=1574000руб.

7.2 Расчет производительности

Сменную производительность базовой техники примем по нормотивам трудоемкости лесосечных работ, разработанных ИФ ЦНИИМЭ, для горных условий Иркутской области. Согласно данных нормативов выработка на одну мотто-пилу МП-5 «Урал» при среднем объеме 0.4-0.49 составляет 100  в смену. Для новой машины производительность за счет механизации на 20% больше по сравнению с ручным трудом.

В завершении данного расчета определим годовую производительность новой и базовой техники по формуле:

Пг=Псм*Nсм /год. (7.8)

где Nсм-число смен работы машины в год.

Для трелевочных тракторов и спец. Машин число смен работы в год составляет 250, а для пилы МП-5 «Урал» - 285 дней.

Таблица 7.6-Показатели производительности труда

Наименование показателей

Модель аналог МП-5+гидроклин КГМ-1А пила Урал Трелевщик.

Проектный вариант Валочная машина

1.Средний объем хлыста,

0,44

0,44

5.Смена производительность

100

120

6.Годовая производительность

28500

30000


7.3 Расчет текущих затрат

Для оценки экономической целесообразности проекта, необходимо сравнить текущие затраты на эксплуатацию базовой и новой техники.

Расчет затрат на эксплуатацию определим по формуле:

З=ЗП+О+С+П, (7.9)

Расчет заработной платы основных и вспомогательных рабочих.

Таблица 7.7- Расчет заработной платы

Профессия

Трудозатраты, Чел.-ч

Разряд

Часовая тарифная ставка, руб.

Тарифная заработная плата, руб

Доплаты, Тыс.

Основная заработная плата, руб.

Дополнительная заработная плата, руб.10%

Общая заработная плата, руб.






Премия 10%

Районный коэффициент 60%




Базовый вариант:МП5+КГМ-1А










Тракторист ТТ-4

8

6

70

560

56

336

952

95,5

1047,2

Вальщик

 8

6

90

720

72

432

1224

122,4

1346,4

Лесоруб (помошник)

 8

4

60

480

48

288

816

81,6

897,6

Итого









3291,2

Соц. отчисл. 33,1%









1086

Проектный вариант










Машинист

8

6

70

560

56

336

952

95,2

1047,2

Итого.









1047.2

Соц. отчисл. 33,1%









345,5


7.3.1 Расчет расходов на содержание

Расчеты на содержание С, руб, определим по формуле:

С=А+Р+Г+П, (7.10)

где А - амортизационные отчисления, руб/ч;

Г - расходы на КСМ, руб/ч;

П- прочие расходы, руб/ч

Амортизационные отчисления А определяются по формуле:

А= (7.11)

где Цб- балансовая стоимость, руб;

На- норма амортизации, 25% -для трактора и 30%-для пилы с гидроклином

Фр- фонд рабочего времени, ч.

Продолжительность работы горного трактора 2000 часов, для пилы и гидроклина

Составляет 2600 часав.

Для проектного горного трактора:

Ап==130.9 руб./ч.

Для базовой пилы и гидроклина:

Абп==5,2 руб./ч.

Для базового ТТ-4:

Абт==191.1 руб/ч.

Отчисления на текущий ремонт Р, руб/ч, определяется по формуле:

Р=, (7.12)

где Нр- нормы отчислений на текущий ремонт по нормативам составляют 10%- для трактора и 15% для пилы с гидроклином.

Отчисления на текущий ремонт:

проектный горный трактор

Рб==52,3 руб/ч;

базовая пила с гидроклином

Рб==2,6 руб/ч;

базовый трактор ТТ-4

Рбт==76.4 руб/ч.

Затраты на ГСМ, (Г),руб/ч, определяется для трактора по формуле:

Г=, (7.13)

где g-удельный расход топлива, гр/кВт ч;

N- мощность двигателя, кВт;

Кз- коэффициент загрузки;

γ- удельный вес диз. топлива,(0.853кг/ );

Цг- розничная цена горючего, руб.

При g=251 гр/кВт ч - для трактора ТТ-4 и N=88.2 кВт- мощность двигателя

При g=220гр/кВт ч для горного трактора и N= 80 кВт- мощность двигателя

Кз=0.9 при трелевке леса.

Цг=24 руб. диз. топлива

Расход топлива для пилы 20 литров в смену при стоимости бензина АИ-80=22 руб.

Расход для пилы составляет Гп=(20*22)/8=55 руб/ч

Гб==792,3 руб./ч;

Гп==996,6 руб/ч;

Прочие не учтенные расходы для тракторов:

П=(А+Р+Г)*5% (7.14)

Пп=(130.9+52.3+792,3)*5%=48,7 руб/ч;

Пб=(191.1+76.4+996.6)*5%=63,2 руб/ч;

Прочие не учтенные расходы для базовой пилы с гидроклином:

Пбп=(5.2+2.6+55)*5%=3,14 руб/ч.

Прочие расходы расходы П, руб/ч, определяются в размере (5-7%) и находятся по формуле:

П=(ЗП/8+От/8+С)*5% (7.15)

Пб=(547.1+1366,2)*5%=95Руб/ч

Пп=(174+1024)*5%=60 Руб/ч

Таблица 7.7-Расчет затрат на содержание техники.

Наименование оборудования

Отчисления, руб/ч

Расходы на содержание руб.

 


Амортизационные

На текущий ремонт

На ГСМ

На прочие расходы


 

Базовый вариант

 

Трактор ТТ-4

191,1

76,4

996,6

63,2

1327,3

Пила МП5+КГМ

5,21

2,6

55

3,14

 65,9

Итого

169,3

79

1051,6

66,34

1366,2

Проектный вариант

 

Малогобо- ритная горная м.

130,9

52,3

792,3

48,7

1024,2

 


Расчет текущих затрат на базовое и проектное оборудование осуществляется по формуле:

З=ЗП+От+С+П; (7.15)

Зб=547,1+1366,2+95=2008,3 руб/ч или 16066,4руб/смену

Зп=174+1024+60=1258 руб/ч или 10064 руб/смену

7.3.2 Расчет прибыли и срока окупаемости капиталовложений

Изменение прибыли за счет изменения текущих затрат определяется по формуле:

∆П=(Зб-Зп)*Vn (7.16)

где Vn-число смен работы при заготовке леса.

∆П =(16298,4-10064)*250=1558600 руб

7.3.3 Расчет прибыли от использования проектной горной машины

Расчет прироста прибыли от использования проектной горной машины производится по вырожению:

∆П=(Зобщ-Ним)-Нп, (7.17)

где ∆П- прирост прибыли, руб;

Ним- налог на имущество, руб;

Ним=Квл*0,022;

Квл- размер капиталовложений, руб;

.022-процент налога на имущество, 2,2%

Нп- налог на прибыль, руб;

Нп=(Зобщ-Ним)*0.20:

,20- процент на прибыль, 20%.

Подставляя численные значения, получим:

Нимп=1047450*0,022=23043,9 руб.

Нп=(1558600-23043.9)*0,20=307111,22 руб.

∆П=(1558600-23043.9-307111,22=1228444,88руб.

Срок окупаемости оборудования рассчитываем по формуле:

Т=Кп/∆П (7.18)

Т==0,85

Технико-экономические показатели эффективности проекта представлены в таблице 7.8

Таблица 7.8-Показатели эффективности проекта.

Наименование показателей

Базовый вариант

Проектируемый вариант

1.Капитальные вложения, тыс.руб.

1574

1047

2. Производительность, м3



-сменная

100

120

-годовая

28500

30000

3.Текущие затраты, руб/сема, всего: В т.ч.

16066,4

10064

-основная и дополнительная заработная плата рабочих

3291,2

1047,2

-отчисления на социальные нужды

1086

345,5

-амортизация

1354,4

1047,2

- текущий ремонт

632

418,4

-ГСМ

8412

6338,4

-прочие

530,4

389,6

-прочие не учтенные расходы

760

480

4. Прирост прибыли, тыс.руб.

--

1179,3

5.Налог на имущество, 2.2% тыс.руб

--

23,04

6.Налог на прибыль 20% тыс.руб

--

30,71

7.Прирост чистой прибыли, тыс.руб

--

122,84

8. Срок окупаемости капитальных вложений, год.

--

0,8



Выводы и заключения

Внедрение разрабатываемой четырехгусеничной горной машины позволит достигнуть значительных социальных результатов.

Прежде всего, это полное устранение чрезвычайно тяжелого ручного труда. Практически ликвидируя профессии вальщика и его помощника, работающих в весьма трудных и опасных условиях. Их работу будет выполнять оператор машины. Он будет трудиться в комфортабельной кабине, которая при работе будет автоматически поддерживаться в горизонтальном положении, изготовленной согласно требований эргономики, санитарии и техники безопасности для машин данного назначения.

Можно с полной уверенностью считать, что внедрение в производство разрабатываемой машины создаст благоприятные условия труда на валке леса.

Они позволят устранить не только тяжелый ручной труд, но и ликвидировать производственный травматизм и возникновение профессиональных заболеваний, главным образом вибрационной болезни. Кроме вышеперечисленных социальных результатов, внедрение машины улучшит и профессиональную структуру кадров на лесосеке.

Библиографический список

1.   Вагнер В.Ф. Машины и механизмы лесного комплекса: Учеб. Пособие для студентов спеиальности 17.04/В.В.Вагнер, Г.Г. Ворожейкин, В.Н. Холопов.-Красноярск: КГТА,1995.-76с.

2.      Котиков В. М., ЕремеевН. С., ЕрховА. В.Лесозаготовительные и трелевочные машины: Учеб.для нач. проф. образования / Котиков В. М., ЕремеевН. С., ЕрховА. В.; Под ред. В.М. Котикова. - М.: Academia, 2004. - 336с.

.        СТП 3.4. 204-01 СВУД. Требования к оформлению текстовых документов. - Взамен СТП 17-98; Введ. 01.04.01.-Класноярск : СибГТУ,2001.-46 с.

.        Мазуркин П.Манипуляторные машины: Учеб.пособие для вузов / Мазуркин П.. - Йошкар-Ола: Изд-во МарГТУ, 2001. - 353с.: ил. - Библиогр.: с. 335-350.

.        В. Н. Винокуров, В. Е. Демкин, В. Г. Маркин. Машины,механизмы и Оборудование лесного хозяйства: Справ. / В. Н. Винокуров, В. Е. Демкин, В. Г. Маркин и др. - 2-е изд.,стер. - М.: Изд-во МГУЛ, 2002. - 440с.

.        Лебедев Н. И..Объемный гидропривод лесных машин: учеб.для вузов (направ. 250400 (656300) "Технология лесозаготов. и деревоперерабатывающих производств" для лесотехн. спец. 250401 (260100) "Лесоинженер. дело" и др.) / Лебедев Н. И.. - М.: Изд-во МГУЛ, 2007. - 314с.

.        Мазуркин П. М Рациональное природопользование: лес и лесозаготовка (закономерности лесопользования): учеб.пособие для вузов / Мазуркин П. М.. - Йошкар-Ола: Изд-во МарГТУ, 2006. - 76с.

.        Толстоногов Э. Ю.Справочник лесозаготовителя / Толстоногов Э. Ю.. - Хабаровск: РИОТИП, 2002. - 112с.

.        Силаев Г. В., Баздырев Н. Д.Тракторы для лесного хозяйства: Учеб.пособие для студ.спец.260400 / Силаев Г. В., Баздырев Н. Д.; Под общ.ред. Силаева Г.В.. - 2-е изд.,стер. - М.: Изд-во МГУЛ, 2002. - 283с.

.        Машины и оборудование лесозаготовок: Справочник /Е.И. Миронов, Д.М. Беловзоров и др. - М.: Лесн. пром-сть, 1985. - 320 с.

.        Барский И.Б. Конструирование и расчет тракторов/Барский И.Б. - М.: Машиностроение, 1980. 367 с.

.        Юшкин В.В.Основы расчета объемного гидропривода./ Юшкин В.В., Минск, высшая школа, 1982. - 100 с.

.        ПомогаевС.А. Расчет и проектирование специальных лесных машин. Основы компоновки: Учеб.Пособие/ ПомогаевС.А. - Л.: Изд-во ЛТА 1971. - 57 с.

.        Баринов К.Н., Александров В.А.Проектирование лесопромышленного оборудования: Учеб. Пособие/Баринов К.Н., Александров В.А. - Л.: Изд-во Ленингр. Ун-та, 1998. - 240 с.

.        Башта Т.М.Гидропривод и гидропневматика/ Башта Т.М., Машиностроение, 1972.

.        Иванов В.А.Расчет объемного гидропривода. Методические указания, Хабаровск, ТОГУ/Иванов В.А., 2002.

.        Багин Ю.Д., Ерахтин Д.М. Гидросистемы лесозаготовительных машин/Багин Ю.Д., Ерахтин Д.М. -М., Лесная промышленность, 1983.

.        Юшкин В.В.Основы расчета объемного гидропривода/ Юшкин В.В.- Минск, Высшая школа, 1982.

.        Потехина, Е.В. Организация, планирование и управление производством. Организация предприятия и производственного процесса [Текст]: учебное пособие для студентов специальности 1704, 1705, 1706,1711 всех форм обучения/ Е.В. Потехина.-Красноярск:СибГТУ,2002.-48 с.

.        Е.В. Потехина. Экономическое обоснование проекта/ Е.В. Потехина.-Красноярск: СибГТУ, 2010.-67с.

Похожие работы на - Автоматическая система коррекции продольного крена четырехгусеничной горной машины

 

Не нашли материал для своей работы?
Поможем написать уникальную работу
Без плагиата!
Без нейросетей!