Автоматизированная система регулирования расхода аргона на продувку печь-ковша

  • Вид работы:
    Отчет по практике
  • Предмет:
    Другое
  • Язык:
    Русский
    ,
    Формат файла:
    MS Word
    485,69 Кб
  • Опубликовано:
    2013-01-18
Вы можете узнать стоимость помощи в написании студенческой работы.
Помощь в написании работы, которую точно примут!

Автоматизированная система регулирования расхода аргона на продувку печь-ковша

МИНИСТТЕРСТВО ОБРАЗОВАНИЯ И НАУКИ УКРАИНЫ

ДОНБАСКИЙ ГОСУДАРСТВЕННЙ ТЕХНИЧЕСКИЙ УНИВЕРСИТЕТ

Кафедра АУТП






ОТЧЕТ

По практике на ОАО ЕМЗ

На тему : «Автоматизированная система регулирования расхода аргона на продувку печи-ковша»


Выполнила ст гр АКТ 09-01

Григорьева Т.А.

Приняла: доц.каф

Регишевская

Руководитель от предприятия:

Косенко Е.А.



Алчевск 2012

Содержание

Введение

1    Технологическая часть

1 Особенности процесса и основные элементы установки ковш-печь

2 Основные технологические операции, выполняемые на УКП

1.2.1 Нагрев металла

.2.2 Перемешивание металла инертным газом

.2.3 Раскисление металла и шлака

.2.4 Защита металла инертной атмосферой

.2.5 Доводка металла по химическому составу и температуре

.2.6 Буферные возможности

2    Специальная часть

1   Техническое описание системы автоматического регулирования УКП

2.1.1 Посты управления

2.1.2                                                                                                  Функции центрального поста управления

2   Система регулирования расхода аргона

2.2.1 Расход инертного газа, контроль продувки металла

.2.2 Назначение, состав оборудования, работа

3    Организационно-экономическая часть

1   Штат технологического персонала УКП

2   Общие положения

3.3 Обязанности сталевара, подручных сталевара УКП

4    Охрана труда

1   Техника безопасности при работе на УКП

4.1.1 Общие положения

.1.2 Меры безопасности при подготовке УКП к работе

.1.3     Меры безопасности при работе УКП

.1.4     Техника безопасности при обслуживании трайб-аппарата

.1.5 Техника безопасности при обслуживании установки "Штайн"

2   Мероприятия по охране окружающей среды

4.2.1 Система газоотведения от УКП

5    Гражданская оборона

1   Структура гражданской обороны

2   Задачи гражданской обороны

3   Мероприятия гражданской обороны

Заключение

Введение

Практика предприятий металлургической, ориентирующихся на увеличение производительности, получение продукции высокого качества и снижение затрат на ее производство, показывает, что одним из путей решения этих задач, являются совершенствование состава оборудования и технологических приемов для производства стали. Ведущую роль в этом приобрела технология внепечной обработки стали с использованием установки ковш-печь.

Данное решение базируется на возможности переноса ряда технологических операций с плавильного агрегата (дуговая печь, конвертор, мартен) на более энергоэкономную установку ковш-печь. При этом производимая продукция гарантировано обеспечивается высокими показателями качества, а предприятие получает дополнительные возможности в снижении производительной себестоимости.

Достичь высоких производственных показателей в производстве стали невозможно без внедрения в технологичекую цепь установки ковш-печь, для внепечной обработки стали.

1. Технологическая часть

.1      Особенности процесса и основные элементы установки ковш-печь

Процесс обработки металла на УКП происходит в ковше с основной футеровкой. Ковш накрывается водоохлождаемой крышкой. Нагрев на установке аналогичен процессу в электродуговой печи переменного тока Он производится посредством электрических дуг, возникающих между тремя графитированными электродами и поверхностью жидкого металла в сталеразливочном ковше.

УКП постоянного тока практически распространение не получили.

Дуга от погруженных в основной белый шлак электродов экранизируется шлаком, вследствие чего футеровка ковша защищается от воздействия излучения.

Во время процесса нагрева металл непрерывно продувается инертным газом (аргон либо азот),который подводится через продувочные пробки, установленные в днище сталеразливочного ковша. Инертный газ служит дополнительной защитой поверхности стали от окисления кислородом воздуха, который может поступать в рабочее пространство через недостаточно уплотненную крышку установки.

К основным элементам установки ковш- печь можно отнести:

водоохлаждаемый свод с приводом подъема/опускания;

электрододержатели с приводами перемещения;

портал для крепления свода с системой направляющих роликов;

вторичный токопровод (короткая сеть);

трансформатор;

система газоудаления;

система бункеров для хранения шлакообразующих, раскислителей и легирующих добавок, с оборудованием для их взвешивания и дозирования;

устройство для подачи порошковой проволоки (трайб-аппарат);

установки для вдувания в ковш порошкообразных материалов(известь);

устройство для контроля и регулирования расхода инертного газа при продувке металла с системой трубопроводов подвода инертного газа;

оборудования для отбора проб и измерения температуры жидкого металла.

Схема установки приведена на рисунке 1.1

1.2 Основные технологические операции, выполняемые на УКП

Основные функции установки (рисунок 1.2)

Только при совместном воздействии вышеперечисленных функций можно ожидать желаемых результатов по повышению качества металла. Нагрев стали с помощью погруженных в шлак электрических дуг высоокой активной мощности возможен только с предназначенной для этого шлаковой смесью, а также эффективной газовой продувкой.

Скорость протекания металлургических реакций в ковше зависит от степени развития поверхности контакта шлак-металл,увеличению которой благоприятствует эффективное перемешивание посредством продувки инертным азом.

Основные белые шлаки имеют низкое содержание кислорода, что активно влияет на поглащение неметаллических включений и ускорение реакции удаления серы. Эти реакции успешно протекают при высоких температурных и соответствующем химическом составе стали.

Атмосфера инертного газа над металлом позволяет поддерживать содержание кислорода в металле на низком уровне.

При правильной технологии внепечной обработки стали на УКП может быть достигнуто повышение производительности стаеплавильных агрегатов за счет того, что часть необходимых металлургических операций, а именно раскисление и доводка по химическому составу переносится из процесса выплавки на УКП. Легирование легкоокисляющими элементами проводится не при окислительных условиях сталеплавильных агрегатов.

Рисунок 1.1 -схема УКП

-Токопроводящие электродержатели; 2-графитированные электроды33-тракт подачи сыпучих материалов; 4-водоохлаждаемый свод; 5-инертная атмосфера; 6-электрическая дуга; 7-рафинированный шлак; 8-перемешивание газом; 9-жидкий металл; 10-пористая

1.2.1 Нагрев металла

Нагрев металла на УКП проводится аналогично процессу, протекающему в дуговой печи.

Электрическая энергия к расплаву подводится посредством 3-х графитированных электродов. Трансформация электрической энергии в тепловую происходит в разрядном промежутке между торцом электрода и поверхностью металла. Электрическая цепь на этом участке замыкается дуговым разрядом. металл газ аргон печь

Электрические дуги, возникающие между электродами и расплавленным металлом, погружены в расплавленный шлак, который ограничивает излучение дуги на открытую огнеупорную футеровку ковша.

С целью сокращения расхода электродов, стабилизации работы дуги, эффективной передачи тепла и снижения ее влияния на огнеупорную футеровку, избежания науглероживания металла за счет контакта с электродами, необходимо выполнение условия: длина дуги должна соответствовать толщине слоя шлака.

1.2.2 Перемешивание металла инертным газом

Перемешивание металла в ковше инертным газом является одной из главных составляющих функций внепечной обработки стали на УКП и обеспечивает решение следующих задач:

· перенос тепла и выравнивание температуры металла по объему ковша;

· усреднение по химическому составу;

· ускорение протекания металлургических реакций;

· удаление неметаллических включений.

Перемешивание осуществляется путем вдувания в расплав аргона либо азота через одну или две пористые пробки, установленные в днище сталеразливочного ковша. В момент отрыва пузырьков газа от продувочной пробки происходит их расширение за счет нагрева (изобарическое расширение), в процессе подъема пузырей происходит дальнейшее увеличение объема за счет уменьшения давления столба металла в ковше (изотермическое расширение).

Эти виды расширения представляются в виде энергии перемешивания и базируются на следующих предпосылках:

· газовые пузыри должны быть как можно меньше для скорейшего достижения ими температуры стали;

· давление газа в пузырьке должно быть не менее давления столба металла у дна ковша.

Для выполнения этих предпосылок должны быть разработаны соответствующие режимы продувки в различные периоды цикла внепечной обработки.

Как известно основная футеровка ковша обеспечивает достаточную чистоту стали по неметаллическим включениям. Однако при введении в сталь кремния и алюминия образуется значительное количество продуктов раскисления. Флотация и коагуляция (всплывание и укрупнение) включений в спокойной ванне требуют значительных затрат времени. Эти процессы в значительной мере ускоряются при перемешивании ванны. Однако при этом может происходить насыщение кислородом из шлака и атмосферы, следовательно, скорейшее наведение рафинировочного шлака и создание инертной атмосферы во время перемешивания имеют важнейшее значение.

1.2.3 Раскисление металла и шлака

Технологическая операция, при которой растворенный в жидком металле кислород переводится в нерастворимое в металле соединение (твердое или газообразное) или удаляется из металла, называют раскислением. По степени раскисленности различают стали - спокойные с содержанием растворенного в стали кислорода менее 0,005%), кипящие (0,025-0,030% растворенного кислорода) и полуспокойные (0,005 - 0,025%).

Различают следующие методы раскисления: глубинное, диффузионное (и как разновидность его - обработкой синтетическими шлаками), обработкой вакуумом.

Футеровка сталеразливочного ковша, выполненная из основных огнеупоров, в значительной степени способствует понижению активности кислорода в металле, что подтверждают промышленные испытания активности кислорода при использовании кислой и основной футеровок сталеразливочных ковшей.

1.2.4 Защита металла инертной атмосферой

Для поддержания шлака в раскисленном состоянии (белый шлак) необходима инертная атмосфера под крышкой УКП.

При отсутствии подсоса наружного воздуха, обеспечиваемого конструкцией крышки, отходящий газ состоит из окиси и двуокиси углерода, инертного, который используется для перемешивания металла в ковше. Другими компонентами отходящих газов являются ограниченное количество кислорода и пыли.

Инертная атмосфера способствует снижению расхода электродов за счет уменьшения их окисления в контакте с кислородом атмосферы.

Кроме того, раскисленные шлак и металл подвержены в большей степени азотации, чем нераскисленные. Инертная атмосфера в значительной мере способствует ограничению насыщения металла азотом

1.2.5 Доводка металла по химическому составу и температуре

Основная масса легирующих элементов вводится в металл в период выпуска плавки в сталеразливочный ковш.

Обычно количество присаживаемых ферросплавов ведут из расчета: С, Мп, Сг- на нижний предел (на 0,05% ниже нижнего) , Si - на целевое содержание для заданной марки стали.

Ограничение по Мп, Сг связано с возможностью восстановления этих элементов из окислительного шлака, попадающего в сталеразливочный ковш при выпуске плавки, С - из-за возможности внесения его в составе ферросплавов и раскислителя шлака.

Таким образом, в период внепечной обработки существует необходимость в минимальных присадках легирующих элементов.

С целью увеличения коэффициента усвоения, легкоокисляемые ферросплавы присаживаются по ходу внепечной обработки после наведения основного (белого) шлака.

Для ускорения усреднения расплава по химическому составу целесообразно увеличивать интенсивность продувки металла инертным газом в период присадки ферросплавов.

Во избежание выбросов металла и шлака из ковша, а также для ускорения растворения присадок, рекомендуется максимальная величина разовых присадок материалов -до 300 кг.

Примерный порядок подачи материалов в сталеразливочный ковш по ходу внепечной обработки плавки на УКП в случае длительности обработки -25 минут.

1-15 минут от начала обработки:

· известь порошкообразная - порции до 1т;

· известь комовая (в случае замены порошкообразной) - порции до 300 кг, которые присаживаются с периодичностью 1 порция в 2-3 минуты;

· раскислитель - порции до 100 кг;

· плавиковый шпат - порции до 100 кг.

10-20 минут от начала обработки:

· ферросплавы - порции до 300 кг;

· коксик порошкообразный (либо коксовая мелочь) - порции до 300 кг;

· проволока с порошковым наполнителем (углерод) - порции до 500 м.

20-25 минут от начала обработки:

-        проволока с порошковым наполнителем (1-2 типа) - порции до 500 м.

1.2.6 Буферные возможности

В организации высокой серийности разливки плавок на МНЛЗ в сочетании с интенсивным производством стали в плавильном агрегате УКП занимает решающую роль. Она позволяет создавать запас металла перед МНЛЗ и согласовывать график работы технологической линии «конвертер -УКП - МНЛЗ». Качественные показатели продукции остаются неизменно высокими.

Возможны два варианта работы:

работа технологической линией кислородный конвертер - УКП -МНЛЗ, при этом весь выплавляемый металл разливается на МНЛЗ, и темп работы конвертера задаётся работой МНЛЗ;

конвертер работает с максимальной производительностью. Часть плавок разливается на изложницы, при этом часть плавок обрабатываются на установке доводки стали.

2. Специальная часть

.1 Техническое описание системы автоматического управления

.1.1   Посты управления

Для управления УКП используется два основных поста управления:

Центральный пост управления (ЦПУ);

Рабочее место (РМ).

И три местных поста управления:

Местный пост управления гидросистемами;

Местный пост управления трайб - аппаратами используется для заправки проволоки.

2.1.2 Функции центрального поста управления

Функции выполняемые ЦПУ следующие:

·   управление регулированием электродов;

·   управление движением заслонки УКП;

·   управление трактом подачи сыпучих материалов;

·   управление движением сталевоза;

·   управление манипулятором отбора проб и замера температуры;

·   управление гидросистемой для регулирования электродов и движения свода УКП;

·   управление продувкой аргоном через пористые пробки;

·   управление вдуванием порошковых материалов (коксик, известь);

·   управление трайб - аппаратом для подачи четырех типов проволоки с порошковым наполнителем в ковш;

·   управление печным выключателем и ЗРУ-35кУ;

·   контроль давления, расхода и температуры охлаждающей воды короткой сети, элементов УКП, печного трансформатора;

·   контроль температуры и химического состава;

·   визуальный просмотр ниже перечисленных мнемосхем с детализацией до уровня датчиков в динамике:

·   мнемосхема ЗРУ-35кУ;

·   мнемосхема тракта подачи сыпучих материалов ТПС с указанием типа и веса материалов;

·   мнемосхема гидросистемы;

·   мнемосхема механизмов УКП со сталевозом и электрическими параметрами (первичное напряжение, ток, cos ф, активная мощность, вторичные напряжение и ток раздельно для каждой фазы, ступень нагрева, расход аргона для продувки металла через пробки);

·   мнемосхема системы охлаждения трансформатора УКП;

·   мнемосхема системы охлаждения элементов УКП (электрододержателей, кабелей короткой сети, крышки);

·   мнемосхема трайб - аппарата.

Общее управление процессом производится централизованно от пульта управления печи на промышленном мониторе терминала операторской станции (OS). По причинам соблюдения мер безопасности, удобства эксплуатации, а так же для аварийного отключения, предусмотрены дополнительные кнопки управления на ЦПУ.

Поэтому управление с ЦПУ разделено на две части:

· управление, осуществляемое с механических переключателей;

· управление, осуществляемое с клавиатуры OS ЦПУ.

2.2 Система регулирования расхода аргона

2.2.1 Расход инертного газа, контроль продувки металла

При внепечной обработке стали на УКП для перемешивания стали применяется аргон или азот. Наиболее широко используемым газом является аргон.

При расчете минимального давления инертного газа перед продувочным узлом сталеразливочного ковша определяют сумму гидростатического давления столба жидкого металла в ковше и гидравлического сопротивления продувочного узла:

Pr = (p*g*h*10'6 + APn),

где, Рг - давление инертного газа, МПа;

р - плотность жидкой стали, кг/м3;

g - ускорение свободного падения, м/с ;

h - высота жидкой стали в ковше с учетом максимальной выработки пробки, м;

АР„- гидравлическое сопротивление пробки, МПа.

Рг = 7000 * 9,81 * 3,6*10_6 + 0,1 = 035 МПа.

Таким образом, минимальное давление перед продувочным узлом сталеразливочного ковша должно быть не менее 0,35 МПа. Рекомендуемый рабочий диапазон давления: 0,4 - 0,8 МПа.

В этом случае расход инертного газа должен находиться в пределах 50 - 800 нл/мин.

Эти значения являются общими, и в конкретном случае требуется корректировка на основании практического опыта. Диаметр продувочного пятна на поверхности расплава должен составлять не более 200 мм.

Верхние значения интенсивности продувки применяются для улучшения условий удаления серы и в период дачи ферросплавов.

Если время внепечной обработки ограничено, желательно применять для продувки обе пробки.

Рекомендуется иметь на УКП резервную байпасную линию с целью возможности кратковременного увеличения давления продувочного газа в несколько раз (например, до 2,5 МПа).

2.2.2 Назначение, состав оборудования, работа

Система подачи аргона предназначена для продувки жидкого металла в ковше с целью его усреднения по температуре и химсоставу.

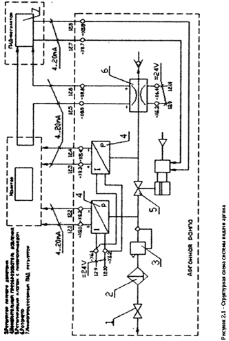
Структурная схема подачи аргона представлена на рисунке 2.1 Данная система позволяет:

·   задать необходимый расход аргона;

·   в автоматическом режиме поддерживать заданный расход аргона на протяжении всего технологического процесса;

·   контролировать потребляемое количество аргона;

·   отслеживать значение давления и расхода на рабочем месте сталевара и в ЦПУ;

·   автоматически сглаживать пульсации давления аргона на входе.

Оборудование входящее в систему

а)      Шаровой клапан с ручным управлением.

Назначение - отсечная арматура на входе в систему. Условный проход: Ду 15 мм, рабочее давление: 0...16 бар.

б)      Фильтр-грязеулавливатель.

Назначение - очистка входящего рабочего аргона от механических включений, защита и обеспечение долговременной и бесперебойной работы регулирующей аппаратуры. Условный проход: Ду 15 мм.

в)      Регулятор прямого действия.

Назначение регулировка давления на заданные значения. Клапан закрывается при повышении давления за клапаном. Условный проход:

 Ду 15 мм, давление на входе: 10... 12 бар, давление на выходе: 6 бар, расход: 50 м /час.

г)       Измерительный преобразователь давления JUMO dTRANS р02.

Назначение - измерение давления аргона на участке до и после

Регулирующего клапана, индикация значения давления на рабочем месте сталевара и передача информации на ЦПУ. Диапазон измерения:

1.. .25 бар абсолютного давления, основная погрешность не более 0,1%, выходной : 4.. .20 тА, питание: 11,5 - 30 V постоянного тока.

д)      Регулирующий клапан с пневмоприводом.

Назначение - регулировка и поддержание заданного расхода газа. Условный проход: Ду 15 мм, давление на входе: 6 бар, давление на выходе: 3.. .4 бар, расход:4.. .50 м3/час, управляющий сигнал: 4.. .20 тА.

е)       Ротаметр.

Назначение - измерение текущего расхода, индикация расхода по месту, подача текущего значения на ПИД-регулятор. Тип: H250/RR/M9/ESR. диапазон измерения 4.. .50 мм /час, питание: 16.. .36 V DS, выход: 4.. .20 тА.

ж) Компактный микропроцессорный ПИД-регулятор dTRON08.1 с индикацией текущего и заданного значения.

Работа системы.

Газ пройдя через шаровой клапан 1 (рисунок 2.1) очищается от механических составляющих в фильтре 2 и поступает на регулятор прямого действия который выравнивает давление до 6 бар. И через регулирующий клапан 5 подается в ковш-печь.

На выходе регулирующего клапана 5 при помощи ротамера 6 производителя измерение текущего значения расхода аргона. Данные с ротамера в виде унифицированного сигнала 4...20 тА передаются на микропроцессорный ПИД - регулятор. Данные обрабатываются в соответствии с рассогласованием текущего и заданного значения и в виде токового сигнала 4...20 тА выдаются на исполнительный механизм 5 который изменяет и поддерживает расход аргона на заданном уровне.


Расход аргона перед и после регулирующего клапана 5 измеряется с помощью измерительных преобразователей давления. С преобразователей деления информационный сигнал в виде токового сигнала 4...20mA вступает на пульт управления сталевара, а также на ЦПУ.

Данная система должна предусматривать работу в ручном и •тематическом режимах. В качестве продувочного газа может использоваться аргон либо азот.

Ручной режим

В ручном режиме система может выполнять следующие операции:

-выбор линии подачи газа;

- регулировку подачи газа

- управление байпасами.

Если нет расхода газа или расход очень мал, то вручную включается байпасная линия. При этом в систему подается азот давлением до 2,5 Мпа. После подрыва пробки байпасная линия отключается. Через 30 с закрыть вручную байпасную линию. Если в течении этого времени подрыва пробки не произошло, металл переливается в другой сталеразливочный ковш.

3. Организационно экономическая часть

3.1 Штат технологического персонала УКП

В состав технологического персонала УКП входят 4 бригады в которых в общем числе трудятся:

· сталевар УКП                                                  - 4 чел;

· подручный сталевара УКП                            - 8 чел.

3.2 Общие положения

· сталевар УКП является непосредственным организатором работ на УКП и руководит действиями первого и второго подручного;

· сталевар организует работу на УКП в соответствии с графиком работы, технологическими картами и инструкциями, должностными инструкциями и правилами техники безопасности;

· сталевар и подручные сталевара УКП в своей работе руководствуются технологическими картами и инструкциями, Правилами эксплуатации и ухода за оборудованием, механизмами и контрольно -измерительными приборами УКП, инструкцией по технике безопасности, правилами пожарной безопасности.

3.3 Обязанности сталевара, подручных сталевара УКП

до начала смены:

-        ознакомиться с заданием на смену. Путем опроса сменщика, просмотра плавильных документов и другой документации ознакомиться с особенностями работы предыдущей смены;

· убедиться в исправности оборудования, приборов, ограждений, блокировок, соответствии состоянии рабочих мест правилам техники безопасности, исправность инструмента, чалочных приспособлений;

· проверить наличие ферросплавов, шлакообразующих и прочих материалов, пробоотборников, термопар;

-        о выявленных недостатках доложить мастеру либо начальнику смены.

в течение смены:

- сталевар.

Управляет процессом внепечной обработки металла - выбор режимов продувки инертным газом, электрический режим, подача материалов по тракту сыпучих, определяет периоды отбора проб и замера температуры, руководит проведением шлакового режима обработки.

- первый подручный сталевара.

Руководит перемещением крана при постановке и снятии сталеразливочного ковша на УКП, управляет сталевозом, производит операции по вдуванию порошкообразных материалов в сталеразливочный ковш, осуществляет ввод проволоки с порошковым наполнителем при помощи трайб - аппарата.

- второй подручный сталевара.

Производит подсоединение отсоединение быстроразъемных соединений трубопровода подачи инертного газа для перемешивания в сталеразливочном ковше, производит отбор проб и замер температуры металла, руководит работой крана при проведении разгрузочно / погрузочных работ при доставке проволоки с порошковым наполнителем, графитированных электродов и др. материалов, производит уборку закрепленной территории.

в конце смены:

· обеспечивают чистоту рабочих мест, необходимый запас расходуемых материалов, наличие и исправность инструмента и чалочных приспособлений;

- ознакамливают сменщиков обо всех недостатках и замечаниях по работе УКП и мерах по их устранению

4. Охрана труда

4.1 Техника безопасности при работе на УКП

УКП представляет собой сложный энерготехнологический агрегат. Для обеспечения безопасной и безаварийной работы необходимо неукоснительное соблюдение требований, изложенных в следующих разделах:

-общие положения;

-меры безопасности при подготовке УКП к работе;

-меры безопасности при работе УКП;

-техника безопасности при обслуживании трайб - аппарата;

-техника безопасности при обслуживании установки "Штайн".

4.1.1 Общие положения

Все технологические операции на УКП проводятся в соответствии с "Правилами безопасности в сталеплавильном производстве", "Общими правилами по технике безопасности для предприятий и организаций металлургической промышленности", а также действующими в цехе инструкциями: технологическими, производственно - техническими, по охране труда и технике безопасности для сталеваров и подручных сталеваров.

Безопасная эксплуатация УКП обеспечивается выполнением требований вышеуказанных правил и инструкций.

Персонал УКП должен пройти аттестацию по правилам техники безопасности при эксплуатации электротехнических установок промышленных предприятий и по правилам пожарной безопасности и взрывоопасности.

К обслуживанию УКП допускается только персонал, прошедший обучение по соответствующей программе и прошедший аттестацию.

Персонал, обслуживающий электрооборудование, должен пройти аттестацию по правилам техники безопасности при эксплуатации электротехнических установок промышленных предприятий и по правилам пожаровзрывобезопасности.

К обслуживанию гидросистем УКП допускается только персонал, прошедший специальную подготовку и сдавший экзамены по правилам Госгортехнадзора.

Обслуживающий персонал, пользующийся ручным инструментом, должен знать и соблюдать требования, предусмотренные правилами безопасности для слесарей по монтажу и ремонту оборудования.

4.1.2 Меры безопасности при подготовке УКП к работе

Все работы по подготовке УКП к работе производятся при отключённых разъединителях. Все работы на узлах и агрегатах УКП ведутся в соответствии с требованиями бирочной системы.

УКП и вспомогательное оборудование должны отвечать следующим требованиям:

- рабочие площадки и проёмы для обслуживания отдельных частей установки должны иметь ограждения;

- все металлические элементы оборудования УКП, доступные для прикосновения и могущие оказаться при работе под напряжением, должны быть заземлены;

-гибкие кабели короткой сети не должны касаться металлоконструкции установки в её рабочем состоянии;

-короткая сеть, кабели короткой сети, а также трайб - аппараты и установки "Штайн" должны иметь сетчатое ограждение;

-не допускается наличие течи масла на узлах, укомплектованных гидросистемами.

При подготовке УКП к работе необходимо тщательно осмотреть, а затем проверить в работе всё оборудование и убедиться в его исправном состоянии.

Не допускается включение УКП при наличии неисправностей.

4.1.3 Меры безопасности при работе УКП

Во время работы УКП запрещается:

-заходить за ограждение УКП;

производить наращивание электрода, перепуск и замену свечи;

-при работающей дуге производить отбор проб, замеры температуры, отбор проб шлака, а также ввод в ковш алюминиевой, силикокальциевой и других видов проволоки, вдувание порошкообразных материалов через расходуемую трубку;

-производить обработку металла при наличии течи воды с водоохлаждаемых элементов установки; нахождение людей на от. О м ближе 2 метров от сталевоза во время обработки металла;

-включать подачу аргона при нахождении людей на площадке для подсоединения аргонопровода к ковшу;

-проведение несогласованных с мастером (или сталеваром) операций по обслуживанию УКП и ремонту отдельных узлов.

4.1.4 Техника безопасности при обслуживании трайб-аппарата

При работе и обслуживании трайб-аппарата должны соблюдаться требования ТБ, изложенные в разделе "Общие положения"

Эксплуатация трайб-аппарата запрещается:

· при неисправной системе смазки;

· с неисправной механической или электрической частью;

· без кожухов;

· безнадёжного заземления.

На период обслуживания, ремонта трайб-аппарат должен быть обесточен.

Хранение бухт с порошковой проволокой должно осуществляться в сухом месте. Из-за возможного возгорания порошковых наполнителей попадание воды, снега на проволоку не допускается.

На месте хранения и эксплуатации бухт с порошковой проволокой необходимо иметь для тушения возможного возгорания ящик с сухим песком и асбестовое полотно.

Запрещается применять для тушения воду, пенные и углекислотные огнетушители.

Применение проволоки с истекшим сроком хранения, или подвергшейся воздействию влаги, допускается только после сушки в течение 3-х часов при температуре 200-250°С.

4.1.5 Техника безопасности при обслуживании установки "Штайн"

Все технологические операции при работе на УКП с использованием установки "Штайн" должны производиться в соответствии с требованиями ТБ, изложенными в разделе "Общие положения". При этом должны неукоснительно соблюдаться следующие требования:

· технологический персонал, выполняющий очистку забитых подающих трубопроводов, должен применять индивидуальные средства защиты: плотно прилегающие к лицу защитные очки непрямой вентиляции, респиратор, суконный костюм, рукавицы;

· обслуживание установки производить при отключенном напряжении и снятом давлении;

-  вентиль подвода сжатого воздуха перекрыть;

- запорную арматуру открывать только при снятом давлении в силосе и баке-дозаторе

4.2 Охрана окружающей среды

4.2.1 Система газоотведения от УКП

Дымовые газы, образующиеся в результате работы УКП (табл.4.1), эвакуируются через водоохлаждаемый газоотсос, расположенный над крышкой УКП (см. рис 21).

Зазор между торцевой частью водоохлаждаемого газоотсоса и стационарной частью газоотсоса, выставляется с помощью устройства подвижной муфты, который подбирается исходя из условий:

·   стационарная часть газоотсоса не должна препятствовать подъему крышки с газоотсосом;

·   в рабочем положении крышки и газоотсоса на ковше должна быть точная центровка в вертикальной и горизонтальной плоскостях относительно стационарной части газоотсоса;

·   зазор между подвижной стационарной частью должен обеспечить подсос воздуха для снижения температуры отходящих газов до 250 С и разбавления отходящих газов до 25^-40 тыс. нм /час.

Далее дымовые газы попадают в пылеосадительную камеру, предназначенную для улавливания коржеобразных выносов и крупнодисперсионной составляющей твердовзвешенных частиц.

На участке газохода за пылеосадительной камерой установлен шибер для регулирования эффективности эвакуации дымовых газов после УКП

Управление шибером выполняет программируемый контроллер в зависимости от выполняемых технологических операций(на нагрев, шлакообразование, вдувание порошкообразных материалов, подача ферросплавов)


Таблица 4.1 - Дымовые газы образующихся в результате работы УКП

№ п/п

Параметр

Размерность

Количество

1

Количество газов, выходящих из-под крышки УКП (без разбавления)

нм3/час

до 10 000

2

Температура отходящих газов

гр.С

до 1050

3

Запыленность (максимальная)

г/нм3

10-15

4

Теоретический химический состав отходящих газов: - смесь СО + С02; - аргон; - NO + N02; - N2; - S02 + S03; - о2

%

до 65 До 1 следы до 30 отсутствуют ДО 5

5

Химический состав пыли (по данным ММЗ): - Fe203; - Si02; - А1203; - СаО; - MgO; - МпО; - Сг203; - Zn02.

%

14,5 9,9 3,5 58,8 8,5 4,6 0,15 0,3

6

Фракция пыли

мм

0-0,5



5. Гражданская оборона

5.1 Структура гражданской обороны

Основным документом о защите населения от последствий чрезвычайных ситуаций является Закон «О гражданской обороне Украины». Согласно с этим Законом граждане Украины имеют право на защиту своей жизни и здоровья от последствий аварий, катастроф, стихийных бедствий. Государство как гарант этого права создает систему гражданской обороны, цель которой защита населения от опасных последствий аварий и катастроф техногенного и военного характера.

Систему гражданской обороны составляют:

-  органы государственной исполнительной власти всех уровней, к компетенции которых относятся функции, связанные с безопасностью и защитой населения, предупреждением, реагированием и действиями в чрезвычайных ситуациях;

· органы ежедневного управления процессами защиты населения в составе центральных и местных органов государственной исполнительной власти и администрации предприятий, организаций независимо от форм собственности и управления;

· силы и средства, предназначенные для исполнения заданий гражданской обороны;

фонды финансовых, медицинских и материально-технических ресурсов, предусмотренные на случай чрезвычайных ситуаций;

системы связи, оповещения и информационного обеспечения. Мероприятия гражданской обороны распространяются на всю территорию Украины, все слои населения, а распределение по объему и ответственность их выполнения осуществляется по территориально-производственному принципу.

5.2 Задачи гражданской обороны

Гражданская оборона ставит перед собой такие задачи:

оповещение населения про угрозу и возникновение черезвычаййных ситуаций в мирное и военное время и постоянное информирование его про существующую обстановку;

защита населения от последствий аварий, катастроф, стихийного бедствия и оружия массового поражения;

Организация жизнеобеспечения населения во время аварий, катостроф, стихийного бедствия и в военное время, организация и проведения спасательных работ в районах стихийного бедствия;

подготовка и переподготовка управляющего состава Гражданской обороны, ее органов и сил, обучение населения умению применять средства индивидуальной защиты и действовать в чрезвычайных ситуациях.

5.3 Мероприятия гражданской обороны

Действия при сообщении химически и радиационноопасной аварии

На работе:

прекратить все виды работ;

выполнить меропрятия по безаварийной остановке оборудования;

отключить все виды энергосистем;

получить и подготовить к использованию средства индивидуальной защиты.

при непосредственной угрозе химического(радиационного) заражения по команде органов ГО или администрации необходимо немедленно надеть средства индивидуальной защиты или укрыться в защитном сооружении, или экстренно эвакуироваться в безопасный район

В дальнейшем действовать по распоряжению органов ГО или администрации.

Дома:

отключить свет, газ и другие источники энергии и теплоснабжения;

закрыть плотно окна, двери, вентиляционные отверстия,

загерметизировать продукты питания и воду;

предупредить о опасности соседей;

оказать помощь больным и престарелым в выполнении указанных действии;

взять документы(паспорт, сберкнижку, свидетельство о рождении, диплом и др), закрыть квартиру и быстро выйти в указанное в сообщении место;

Если вы оказались в очаге химического заражения, необходимо быстро выйти из него. Направления выхода укажут органы ГО или милиция. При не возможности получить такие сведенья надо выходить в одну из сторон, перпендикулярно направлению ветра.

Вероятные стихийные бедствия района и действия работающей смены и населения.

1.      При землетрясении и осадке подработанного грунта необходимо:

безаварийно остановить производство;

отключить источники энергоснабжения(эл. энергию, газ, воздух, воду)

взять документы, запас продуктов питания и воды;

покинуть помещение, разместиться на безопасном расстоянии от строений, линий эл. передач.

Если толчки застали вас в помещении,займите место в дверном проеме

.        При ураганах необходимо:

укрыть на складах или закрепить находящиеся на открытых площадках механизмы, технику и имущество;

организовать наблюдении за обстановкой;

организовать нахождение людей на открытых площадках;

закрыть и надежно закрепить окна, балконные и чердачные двери;

. При снежных заносах, гололедице необходимо:

организовать уборку снега с крыш жилых, служебных и производственных помещений(зданий);

произвести расчистку пешеходных проходов, дорог, путей движения железнодорожного и автомобильного транспорта.

Заключение

В результате прохождения практики было исследовано, что продувка жидкой ванны металла в промковше аргоном обеспечивает рафинирующий эффект в части удаления крупных неметаллических включений. Наибольший эффект может быть достигнут при использовании пористых продувочных блоков, обеспечивающих продувку в пузырьковом режиме с диаметром пузырьков менее 3 мм. При этом продувочные блоки необходимо располагать в днище промковша в поперечном положении относительно движения циркуляционных потоков.

Рисунок 3. Схема САВ-процесса:

- ковш с металлом; 2 - крышка ковша; 3 - устройство для загрузки ферросплавов; 4 - отверстие для отбора проб; 5 - синтетический шлак; 6 - шиберный затвор; 7 - пористая пробка для введения в сталь аргона

Также установлено что в промышленных условиях при продувке стали аргоном в промковше количество крупных одиночных неметаллических включений (1,5 балла и выше) на 10-25% ниже, чем в сравнительных слябах (без продувки). Наилучшие результаты были достигнуты при расходе вдуваемого газа 10-12 л/мин на один продувочный блок. При более высоких расходах аргона (например, 15-16 л/мин) наблюдается интенсивное бурление металла и шлака в зоне выхода пузырьков аргона, что обусловливает дополнительное загрязнение стали в промковше.

В результате продувки интертными газами сталь получается более высококачественной, из которой можно изготавливать металлоконструкции ответственного назначения высококачественные профильные трубы, швелера, уголки стальные, балки двутавровые, лист стальной, арматурный прокат (т.е. арматура), профнастил и другой металлопрокат.

Похожие работы на - Автоматизированная система регулирования расхода аргона на продувку печь-ковша

 

Не нашли материал для своей работы?
Поможем написать уникальную работу
Без плагиата!
Без нейросетей!