Сравнительный анализ газоаэразольных выбросов АЭС и ВВЭР и РБМК
«Сравнительный
анализ газоаэразольных выбросов АЭС и ВВЭР и РБМК»
Выполнила: Шарикпулова Маргарита Олеговна
Учитель: Максимова Станислава Николаевна
2013г.
Барвиха
План
I. ВВЕДЕНИЕ.
.1 Атомная станция. (Классификация,
принцип действия.)
.2 Цель работы. Актуальность работы.
II.
ОСНОВНАЯ ЧАСТЬ. ВЫБРОСЫ.
.1 Выбросы радиоактивных веществ в
атмосферу.
.2 Выбросы и радионуклииды. (Как
образуются, как могут покинуть пределы станции )
.3 Влияние радионуклиидов на
окружающую среду. (Влияние на живые организмы, почвы.)
.4 Виды радионуклиидов.
.5 Краткая характеристика
газообразных выбросов АЭС.
2.6 Нормирование выбросов
радиоактивных газов в атмосферу. Ограничение абсолютных выбросов.
.7 Промышленные системы газоочистки
III.
АТОМНЫЕ СТАНЦИИ. ХАРАКТЕРИСТИКИ ТИПОВ РЕАКТОРОВ.
.1 АЭС РБМК (Описание, история,
текущие данные, «+» и «-», картинки и схемы с описанием работы и отчисткой от
радионуклиидов.)
.2 АЭС ВВЭР. (Описание, история,
текущие данные, «+» и «-», картинки и схемы с описанием работы и отчисткой от
радионуклиидов.)
IV.
ВЫВОД.
4.1 Пути дальнейшего
совершенствования систем отчистки технологических газов АЭС.
.2 Вывод.
Список используемых сокращений.
Используемая литература.
Введение
1.1 Атомная станция
Атомная электростанция (АЭС) - ядерная установка
для производства энергии в заданных режимах и условиях применения,
располагающаяся в пределах определённой проектом территории, на которой для
осуществления этой цели используются ядерный реактор (реакторы) и комплекс
необходимых систем, устройств, оборудования и сооружений с необходимыми
работниками (персоналом).
Ядерная энергетика является важной и
неотъемлемой частью мировой экономики. К началу 1988 г. В 26 странах мира на
атомных электростанциях (АЭС) эксплуатировалось более 420 энергоблоков с
суммарной установленной мощностью около 300*10³ МВт.
Их доля в выработку электроэнергии составляет 16%. Предполагается , что к концу
XX в мировой
структуре топливного баланса доля ядерного топлива составит 45% и к 2020 году -
60%. Развитие ядерной энергетики началось с пуска 27 июня 1954 г. в СССР в г.
Обнинске Первой АЭС мощностью 5000 кВт. Её эксплуатация убедительно доказала,
техническую возможность превращения ядерной энергии в электрическую а
промышленных масштабах. Человечество получило возможность использовать новый,
чрезвычайно высококалорийный источник энергии, который позволит в перспективе
резко сократить потребление традиционного органического топлива для выработки
электроэнергии. Была продемонстрирована возможность создания и использования на
АЭС материалов, оборудования и приборов такого качества и такими
характеристиками, которые обеспечили высокий уровень надежности и безопасности
эксплуатации в отношении окружающей среды, населения и эксплуатационного
персонала.
Классификация:
По типу реакторов
Атомные электростанции
классифицируются в соответствии с типом используемых реакторов:
· с реакторами на
тепловых нейтронах, в том числе с:
водно-водяными
. кипящими
. тяжеловодными
. газоохлаждаемыми
. графито-водяными
. высокотемпературными газоохлаждаемыми
. тяжеловодными
газоохлаждаемыми
. тяжеловодными
водоохлаждаемыми
. кипящими тежеловодными
По виду отпускаемой энергии
Атомные станции по виду
отпускаемой энергии можно разделить на:
· Атомные
электростанции (АЭС), предназначенные для выработки электрической энергии. При
этом на многих АЭС есть теплофикационные установки, предназначенные для
подогрева сетевой воды, используя тепловые потери станции.
· Атомные
теплоэнегоцентрали (АТЭЦ), вырабатывающие как электроэнергию, так и тепловую
энергию.
Рисунок 1. Принцип действия.
1.2 Цель работы. Актуальность работы
Актуальность работы: Рост ядерной энергетики
приводит к росту отходов и выбросов, образующихся на атомных станциях. Поэтому
проблема минимизации выбросов, а значит и оценки количества этих выбросов
является сейчас одной из наиболее актуальных.
II.
ОСНОВНАЯ ЧАСТЬ. ВЫБРОСЫ
Основным потенциальным источником загрязнения
биосферы и облучения населения, проживающего вблизи АЭС, являются газоаэрозольные
отходы, образуемые в процессе эксплуатации станции. Хотя газоаэрозольные
выбросы станции не ведут к заметному загрязнению окружающей среды, сохраняют
актуальность работы, направленные на дальнейшее их снижение.
Схема взаимодействия АЭС с окружающей средой
приведена на рис. 1.
Рис.2. Схема экологического взаимодействия
атомной электростанции с окружающей природной средой.
радиоактивный выброс газоочистка
радионуклиид
Как видно из рисунка, АЭС является источником
поступления во внешнюю среду: радиоактивных веществ в виде газоаэрозольных
выбросов, жидких сбросов и твердых отходов, источником тепловых сбросов, а
также электромагнитного излучения.
2.1 Выбросы
радиоактивных веществ в атмосферу
Любая работающая АЭС оказывает мощное влияние на
окружающую среду по трем направлениям: газообразные (в том числе радиоактивные)
выбросы в атмосферу, выбросы большого количества тепла и неизбежное
распространение вокруг АЭС какого-то количества жидких радиоактивных отходов.
Выброс радиоактивных веществ - поступление
радионуклидов в атмосферу в результате работы ядерной установки (например,
атомной электростанции.
Сброс радиоактивных веществ (сброс) -
контролируемое поступление радионуклидов в водоемы с жидкими отходами ядерной
установки (например, атомной станции).
В процессе работы реактора АЭС суммарная
активность делящихся материалов возрастает в миллионы раз.
С точки зрения радиоактивного загрязнения среды
работающими в штатном режиме АЭС, первостепенный интерес представляют газоаэрозольные
выбросы, как наименее контролируемые после их возникновения. В реакторе любой
АЭС из уранового топлива образуются посредством деления атомов около 300
различных радионуклидов, из которых более 30 могут попасть в атмосферу. Среди
них: иод-129 (период полураспада 16 млн лет), углерод-14 (5730 лет), цезий-137
(30 лет), тритий (12,3 года), криптон (10,6 лет), иод-131 (8 суток), ксенон-133
(5,27 суток), иод-133 (5,27 суток), иод-133 (20,9 часа), аргон-41(1.82 часа),
криптон-87 (78 мин), ксенон-138 (17 мин), азот-16 (7,35 сек).
Замечание: Наработка криптона-85 реактором на
несколько порядков выше, чем всех остальных радионуклидов.
Возникшие газы через микротрещины ТВЭЛов (в
реакторе ВВЭР-1000 находится 48 тыс ТВЭЛов), а также в процессе извлечения
ТВЭЛов в ходе их периодической замены, попадают втеплоноситель.
Замечание: По статистике один из 5000 ТВЭЛов
имеет какие-то серьезные повреждения оболочки, облегчающие попадание продуктов
деления в теплоноситель. Эксплуатационным регламентом российских АЭС допускается
наличие до 1% ТВЭЛов с поврежденной защитной оболочкой.
Большая часть радиоактивности газоаэрозольных
выбросов генерируется короткоживущими радионуклидами и без ущерба для
окружающей среды распадается за несколько часов или дней.
Кроме обычных газообразных выбросов время от
времени АЭС выбрасывает в атмосферу небольшое количество радионуклидов -
продуктов коррозии реактора и первого контура, а также осколков деления ядер
урана - хром-51, магний-54, кобальт-60, ниобий-95, рутений-106, церий-144 и др.
Они прослеживаются на несколько десятков километров вокруг любой АЭС.
2.2 Выбросы и
радионуклииды (Как образуются, как могут покинуть пределы станции.)
Радиоактивные отходы (РАО) - неиспользуемые
жидкие и твердые вещества или предметы, образующиеся в результате деятельности
учреждения, общая активность, удельная активность и радиоактивное загрязнение
поверхностей которых превышает уровни, установленные действующими нормативными
документами. Наиболее значительную роль в формировании радиационной обстановки
в районе размещения АЭС играют инертные радиоактивные газы (ИРГ) и изотопы
йода.

При работе АЭС образуются три вида радиоактивных
отходов: твердые, жидкие или газообразные.
Газообразные отходы после очистки и фильтрации
рассеивают в атмосфере через вентиляционные трубы с соблюдением нормативов по
выбросу радиоактивных веществ.
В целом, в состав газообразных радионуклидов
осколочного происхождения входят: 18 изотопов криптона, 15 изотопов ксенона и
20 изотопов йода. С точки зрения радиационной опасности для населения,
наибольшее значение имеют радионуклиды криптона, ксенона и йода. Кроме этих
нуклидов весьма значительную роль играют аэрозольные выбросы изотопов стронция
- 89, 90 и цезия - 134, 137, которые являются продуктами распада газообразных
нуклидов.
При длительной работе реактора на мощности
радиационное состояние его активной зоны стабилизируется и при реализации
оптимального управления радиационным состоянием поддерживается практически на
одном уровне. Это значит, что нуклидный состав газообразных продуктов деления
также стабилизируется и мало меняется в условиях нормальной эксплуатации
реактора.
2.3 Влияние
радионуклиидов на окружающую среду (Влияние на живые организмы, почвы.)
Влияние радионуклидов на растительность.
Живые организмы обладают различной
радиорезистентностью, т.е. устойчивостью к воздействию ионизирующих излучений.
В целом она снижается по мере усложнения органического мира: максимальна у
низших организмов ( летальная доза для мхов и лишайников 200 - 500 тыс. рад ) и
минимальная у высших ( например, для человека всего 400 рад. Исследования,
проведенные после аварии на ЧАЭС, показали, что наиболее радиочувствительны
растения хвойных пород ( сосна погибает уже при дозе 600 рад), а устойчивость
лиственных деревьев ( березе, осина, ива, дуб и др.) в 10-15 раз выше по
сравнению с хвойными.
Огромны экономические потери от Чернобыльской
аварии: долгосрочное изъятие из хозяйственного оборота 144 тыс. га
сельскохозяйственных угодий, 492 тыс. га лесов т.д. Радиоактивное загрязнение
лесных массивов отмечается и в азиатской части РФ. Так, в Уральском регионе
после крупной аварии на ПО «Маяк» леса загрязнены на площади 647 тыс. га, в том
числе в Челябинской области-244 тыс. га, а также на Алтае-более270 тыс. га.
Появилось печальное понятие «рыжий лес «. Это
лес, погибший в 30-километровой зоне от ЧАЭС вследствие сильного переоблучения
(8-10 тыс. рад). Погибшие хвоинки долгое время не опадали, жесткие, высохшие
иглы усугубляли зловещий вид «рыжего леса». В нем произошла экологическая
катастрофа: гибель сосны-пищевой основы всего живого-привела к полному
разрушению трофической пирамиды. Погибли животные и потеряли корм птицы,
пострадали даже устойчивые к радиации муравьи. Такие леса опасны не только
высокими дозами радиации, но и мощными лесными пожарами.
Радиоактивные загрязнение почвы.
Исследования, проведенные после двух указанных
аварий, показали, что основное количество радионуклидов, особенно плутония (до
80 - 90℅), аккумулируется именно в почвах. Так, на территории Волго -
Уральского радиоактивного следа через 36 лет после аварии во всех типах почв (
дерново - подзолистые, серые лесные, черноземно - луговые и др.) основная масса
радионуклидов (более 70℅ от запаса) сосредоточена в верхнем слое ( 0 -
20см). При этом максимальная миграция радионуклидов, особенно сотронция-90,
отмечается в черноземно - луговых и болотных почвах, которые отличаются
повышенным увлажнением.
Спустя 10 лет после аварии на ЧАЭС установлено
снижение мощности экспозиционной дозы в среднем на 13 - 15℅ в результате
распада основных радионуклидов и экранирования их лесной подстилкой.
Фиксируется также заглубление радиоактивных веществ до 20 см. При этом около 60℅
радионуклидов содержится в лесной подстилке ( особенно сосняков, березняков), а
примерно 30℅ - в слое почвы до 10 см. наибольший уровень загрязнения
лесной растительности цезием-137 отмечается на торфянистых и подзолистых
почвах, наименьший - на суглинистых, богатых обменным калием и аммонием. Такие
данные нужны для решения важной проблемы реабилитации загрязненных территорий.
В 1996 проведены детальные радиологические
исследования почв сельскохозяйственных угодий (сенокосы, пастбища) в Брянской, калужской,
Орловской и Тульской областях на общей площади 523 тыс. га.
Радиоактивное загрязнение животного мира.
После Чернобыльской аварии в 30-километровой
зоне в почвах резко сократилась численность дождевых червей, однако, к 1989г.
Их популяция полностью восстановилась, вероятно, благодаря размножению
радиорезистентных особей. За тот же период и популяция рыжей полевки
восстановила свои потери. Это дает основание считать, что отдельные виды живых
организмов перешли на качественно высокий уровень резистентности, который
объясняется как проявление «прогрессивной эволюции» в приспособлении к
ионизирующей радиации. В частности, в грабовых лесах Черкасской области Украины
9 на удалении 200 км от ЧАЭС), подвергшихся существенному радиоактивному
загрязнению, в послеаварийный период фиксировались увеличение численности и
расширение ареала мелких грызунов (особенно подземной полевки).
Поглощаемые животными вместе с кормами и зеленой
массой радионуклиды стали причиной того, что у крупного рогатого скота и свиней
отмечались нарушение полового цикла, снижение плодовитости, возрастание числа
патологических явлений и т.д. В Национальном докладе «10 лет Чернобыльской
катастрофы» отмечено, что в настоящее время происходит послечернобыльское
генетическое ухудшение животных и людей. Так, до аварии на 8000 житомирских
коров приходилось 83 мутации, теперь-180 (аналогичное происходит и с
растениями-на пшеничном поле за два года зарегистрировано 2000 мутаций)².
При
Житомирском агроэкологическом институте создан музей радиационных мутантов
(коров, телят, поросят и др.) со страшными патологическими отклонениями.
Влияние Радиоактивного облучения на человека.
Известно, что различные экотоксиканты, включая и
радионуклиды, мигрируя по трофическим цепям биологического круговорота веществ
и аккумулируясь в них, в конечном итоге попадают в организм человека.
Значительное количество радионуклидов попадает в
организм человека с продуктами питания животного происхождения, Основные
источники радионуклидов для населения Западной Европы и США-молочные, и мясные
продукты, в странах Восточной Европы и России-молочные и хлебопродукты.
По способности накапливать всосавшиеся
радионуклиды органы человека можно расположить в следующий убывающий ряд:
щитовидная железа - печень - почки - кишечник - скелет - мышцы.
Большую опасность представляет облучение
щитовидной железы радиоизотопами йода. Хотя период полураспада йода-131
составляет всего 8 дней по сравнению с долгоживущими радионуклидами (стронций,
цезий, церий и др.), однако он очень опасен примерно в течение первого месяца
после своего образования. Этот радиоактивный элемент попадает в человеческий
организм главным образом через дыхательные пути, концентрируясь в щитовидной
железе. В зонах радиоактивного загрязнения у местного населения отмечались симптомы
«чернобыльской болезни»: головная боль, сухость во рту, увеличение лимфоузлов,
онкологические опухоли гортани и щитовидной железы.
Поэтому обязательному лабораторному контролю
подлежат: приземный слой воздуха, атмосферные выпадения, грунтовые и поверхностные
воды и донные отложения, водная растительность, рыба, моллюски (водоемов в
районе размещения объекта), почва, растительность, животные, обитающие в данном
районе. Примерный, объем контроля представлен в таблице 1.
Таблица 1. Примерный объем контроля объектов
окружающей среды на АЭС
|
Объект
контроля
|
Что
определяется
|
Ориентировочная
частота отбора проб, или измерений
|
Примерное
число точек наблюдения
|
Примечание
|
|
Мощность
дозы гамма-излучения на местности
|
Гамма
- излучение
|
Непрерывно
с помощью системы ACKPO 1 раз в год ТЛД, 1 раз в 6 месяцев - переносными
приборами
|
15
- 20 50 - 100
|
По
основным маршрутам движения персонала
|
|
Атмосферный
воздух
|
Суммарная
бета-активность, гамма спектрометрия Радионуклидный состав α,
β
|
1
раз в 7 дней Объединенные пробы за месяц
|
15
- 20
|
Гамма
- спектрометрия, альфа - спектрометрия, радиохимическое определение.
|
|
Атмосферные
выпадения
|
Суммарная
бета - активность, гамма спектрометрия Радионуклидный состав
|
1
в месяц
|
15
- 20
|
Планшеты
|
|
Снег
|
Суммарная
бета - активность, гамма спектрометрия. Радионуклидный состав
|
1
раз в год Объединенные пробы
|
30
- 40
|
|
|
Почва
|
Гамма
спектрометрия Радионуклидный состав
|
1
раз в год
|
60
|
Пробы
отбираются по кольцевому маршруту, на характ. ландшафтах
|
|
Растительность
|
Гамма
спектрометр. Радионукпидный состав
|
1
раз в год
|
60
|
Пробы
отбираются на характ. лаидшафтах по радиусам
|
|
Вода
ПЛК, ХФК а также сбросных каналов АЭС
|
Суммарная
бета - активность, гамма спектрометрия Радионуклидный состав
|
Постоянные
измерения
|
По
числу сбросов
|
Возможен
квази непрерывный контроль в местах сброса
|
|
Вода
водоемов, в т.ч. пруда-охладителя
|
Суммарная
бета-активность, гамма спектрометр. Радионуклидный состав
|
1
раз в месяц 1 раз в квартал по объединенной пробе
|
5-20
|
С
учетом водопользования
|
|
Донные
отложения и водоросли
|
-
II -
|
1
раз в год \
|
С
учетом водопользования
|
|
Рыба
|
-
II -
|
1
раз в год
|
5-20
|
|
|
Животные
|
-
II -
|
1
раз в год
|
5-20
|
В
«ближней» зоне АЭС
|
|
Грунтовые
воды
|
-
II -
|
1
раз в месяц
|
По
числу скважин
|
По
специальной программе
|
|
Продукты
питания местн. производства
|
-
II -
|
1
раз в год
|
В
пунктах проживания
|
По
специальной программе
|
2.4 Виды радионуклиидов
Хотя принцип работы всех реакторов, где
используется реакция деления, одинаков, их технологические схемы и оборудование
в зависимости от типа реактора и применяемого теплоносителя различны. Поэтому,
несмотря на практически одинаковые источники радиоактивных отходов на атомных
станциях, возможные пути проникновения радиоактивных веществ в окружающую среду
различаются.
В процессе эксплуатации АЭС, происходит
наработка продуктов деления в топливе. В реакторах большой мощности ежесуточно
образуется несколько килограммов продуктов деления (суммарной активностью
(1-300)*1015 Бк). При этом основная активность продуктов деления обусловлена
короткоживущими осколками ядер. Первым защитным барьером, удерживающим эти
продукты в топливе, являются оболочка твэла. Вследствие возможной
разгерметизации оболочек твэлов продукты деления могут проникать в
теплоноситель. Это относится к газообразным элементам, таким, как Хе, Кr, а
также летучим - I, Ru и др.
Источником радиоактивности в реакторах является
наведенная радиоактивность.
Основными продуктами активации теплоносителя и
содержащихся в нем примесей являются радионуклиды таких элементов, как: Ne, Ar,
F, Cl, Na, K, Mn, Co, Fe, Cu, Zn, Ag, 3H, C и др. Все они находятся в замкнутом
герметичном контуре, включающем в себя бак реактора, насосы, теплообменное
оборудование и трубопроводы. Указанное оборудование является вторым защитным
барьером на пути проникновения радиоактивных веществ в окружающую среду. Протечки
теплоносителя могут стать потенциальным источником радиационной опасности.
Другая часть наведенной радиоактивности - радиоактивные вещества, образующиеся
за счет активации теплоносителя вне первого контура реактора. К ним относят,
например, радиоактивные отходы, получающиеся в результате активации
теплоносителя, охлаждающего графитовую кладку активной зоны или биологическую
защиту.
Третий и четвертый защитные барьеры на пути
проникновения радиоактивных веществ во внешнюю среду - это производственные
помещения первого контура: герметичные боксы и защитная оболочка реактора с
обслуживающими их защитными системами.
Часть образующихся радиоактивных веществ за счет
тех или иных технологических операций непрерывно или периодически выделяется из
первого контура. Если невозможно обеспечить полную изоляцию радиоактивных
веществ от биосферы, то утечки их в окружающую среду необходимо свести до
уровня, допустимого санитарными правилами. Кроме того, нормами проектирования
АЭС предусматривается создание специальных систем по обезвреживанию и удалению
радиоактивных отходов.
При работе АЭС образуются три вида радиоактивных
отходов: твердые, жидкие или газообразные.
Газообразные отходы после очистки и фильтрации
рассеивают в атмосфере через вентиляционные трубы с соблюдением нормативов по
выбросу радиоактивных веществ. Жидкие отходы очищают, фильтруют, разбавляют или
концентрируют и хранят в емкостях в жидком виде или предварительно отверждают.
Это повышает безопасность и надежность хранения.
Твердые отходы в виде деталей загрязненного
радиоактивными веществами демонтированного оборудования, отработанных фильтров
для очистки воздуха, спецодежды, мусора и т.п. захоранивают в специальные
траншеи. При этом принимают меры по уменьшению объема твердых отходов (сжигают,
прессуют) и предотвращению распространения радиоактивных веществ в грунт.
Состав радиоактивных отходов и их активность
зависят от типа и конструкции реактора, от вида ядерного горючего и
теплоносителя и применяемых систем очистки.
Рассмотрим более подробно источники образования
газообразных отходов на АЭС, с медленным реактором, работающим на урановом
топливе.
Первый контур реактора стремятся выполнить
максимально герметичным, чтобы свести к минимуму выход радиоактивного
теплоносителя в окружающую среду. Однако это не всегда возможно, поэтому
большинство реакторов работают с небольшой продувкой теплоносителя первого
контура. Она может быть организованной и технологически обоснованной и
неорганизованной, обусловленной утечками из дефектного оборудования. Для
восстановления потерь теплоносителя проводят его подпитку обессоленной и
обескислороженной водой.
При эксплуатации реактора теплоноситель первого
контура всегда содержит определенное количество растворенных газов. Для
водо-водяных реакторов источники газов следующие:
радиолиз воды; коррозия конструкционных
материалов; газовые компенсаторы объема; подпитка теплоносителя; дефектные
ТВЭлы; химические добавки для поддержания заданного водного режима; ядерные
реакции; радиолиз и терморадиолиз ионитов системы очистки первого контура.
Для реакторов на быстрых нейтронах и с натриевым
теплоносителем источником газов являются защитные газовые полости реактора,
дефектные твелы, примеси теплоносителя.
Радиолиз воды.
Под действием различных видов мощного
ионизирующего излучения молекулы воды и растворенные в ней примеси разрушаются,
возбуждаются и ионизируются.
Происходит радиолиз воды, в результате которого
образуются Н, ОН, Н2, Н2О2, О2, НО2, Н2О.
Многие из них обладают окислительными или
восстановительными свойствами в зависимости от содержащихся примесей в
теплоносителе, температур, давлений в первом контуре и т.п.
Чтобы уменьшить радиолиз повышают концентрацию
водорода в теплоносителе. Это делают путем добавления в теплоноситель гидразина
или аммиака. Обычно концентрация водорода поддерживается на уровне 20 - 50
см3/кг. В этом случае кислород, введенный в контур, например, с подпиточным
теплоносителем, рекомбинирует с водородом. Радиолиз теплоносителя в таких
условиях не является источником кислорода.
Коррозия конструкционных материалов. При работе
реактора все материалы, применяемые для изготовления оборудования первого
контура, с той или иной скоростью коррозируют в зависимости от их коррозийной
стойкости и условий эксплуатации в контуре. Коррозия материала сопровождается
выделением водорода, часть которого входит в структуру металла, образуя
гидриды, а часть либо диффундирует в воду первого контура, либо уходит в
окружающую среду через стенки сосудов и труб. При этом коррозия является
достаточно мощным источником водорода, так как поверхности материалов и
сплавов, омываемые теплоносителем, исчисляются тысячами квадратных метров.
Дефектные твэлы. В современных энергетических
реакторах применяют твэлы самых различных конструкций с использованием
различного топлива (окислы, металлы, карбиды и т.д.).
Наибольшее распространение получило топливо из
двуокиси урана. В качестве материала оболочек широко используют нержавеющие
стали и циркониевые сплавы. Оболочка предохраняет топливо от химического
воздействия теплоносителя, а теплоноситель - от попадания частиц ядерного
топлива и осколков деления. После года работы реактора на 1 кВт его мощности в
активной зоне образуется около 1.8 ТБк (1.8*1012 Бк) нуклидов криптона (83mKr,
85Kr, 87Kr, 88Kr) c массой 5,2 мг; 3.3 ТБк нуклидов ксенона (131mXe, 133mXe,
133Xe, 135Xe) c массой 55.7 мг; 6.4 ТБк нуклидов иода (131I, 132I, 133I, 135I)
c массой 2,6 мг; 0.054 ТБк нуклидов цезия (134Cs, 136Cs, 137Cs) c массой 35 мг;
3,4 ТБк нуклидов стронция (89Sr, 90Sr, 91Sr) c массой 14,6 мг. Приблизительно
0.1 общего количества газообразных продуктов деления (25 см3/(МВт.сут)
диффундирует из объема горючего к поверхности сердечника и далее в зазор между
топливом и защитной оболочкой или в специальный газосборник. Если по какой-то
причине произойдет разгерметизация оболочки твэла, то часть этих газообразных
продуктов и легколетучих продуктов деления через щель дефекта может выйти из
твэла в теплоноситель. Химическая концентрация их будет незначительной.
Однако данный источник газа важен с точки зрения
влияния на радиационную безопасность станции.
Радиолиз и термолиз ионитов. Для очистки
теплоносителя первого контура водо-водяных реакторов от различных примесей и
продуктов коррозии, а также для поддержания заданного водяного режима применяют
ионообменные катионитовые и анионитовые фильтры. Перед подачей воды на фильтр
температуру теплоносителя понижают до 50оС, чтобы обеспечить необходимую
устойчивость анионообменников. В процессе эксплуатации фильтров на них
сорбируются продукты коррозии и деления. Активность на фильтре может достигать
десятков террабеккерелей. Поэтому со временем может иметь место разрушение
ионитов (в основном анионитов) с выделением продуктов термического и
радиационного разрушения в фильтрах.
Попав в первый контур, продукты деления
претерпевают радиационно-химические превращения, давая в конечном итоге
водород, аммиак и углекислоту. Обычно фильтры проектируют таким образом, чтобы
потери емкости анионита в конце срока службы фильтра не превышали 30% исходной.
Ядерные реакции. В процессе работы ядерного
реактора в небольшом количестве образуются газы - продукты ядерных реакций: 14С
- при активации азота и кислорода, содержащихся в виде примеси в топливе и
теплоносителе, при тройном делении в топливе; 3Н - при тройном делении в
топливе и за счет активации Li, B, D, содержащихся в виде примеси в
теплоносителе; 18F, 20F - при активации ядер воды и натрия; 23Ne - при
активации ядер натрия; 41Ar-при активации 40K в натрии и 40Ar в воде и воздухе.
F, 20F, 23Ne из-за малого периода полураспада и
низкой химической концентрации практического интереса не представляют и поэтому
в дальнейшем не рассматриваются. Остальные радионуклиды, хотя и образуются с
низкими химическими концентрациями, однако имеют большой период полураспада,
хорошо (кроме 41Ar) усваиваются объектами внешней среды и поэтому важны с точки
зрения обеспечения радиационной безопасности.
.5 Краткая
характеристика газообразных выбросов АЭС
В процессе эксплуатации АЭС образующиеся в
первом контуре реактора газы выводится из контура (либо утечкой теплоносителя,
либо организованной продувкой) на очистку. По ходу они взаимодействует с
конструкционными материалами, участвуют в радиационно-химических реакциях с
теплоносителем и друг с другом, поглощаются ионитовыми фильтрами, диффундирует
через металлические поверхности и т.д.
Основные источники газообразных отходов -
система байпасной очистки теплоносителя первого контура (АЭС с реакторами типа
ВВЭР) и эжектор конденсатора турбины (АЭС с реакторами типа РБМК). Характер
газообразных радиоактивных выбросов зависит от типа реактора и системы
обращения с этими отходами. В радиоактивные благородные газы (РБГ)
(Радионуклиды Kr, Xe), пары 3Н и 3Н в газообразной форме, активационные газы
(41Ar, 14C, 13N, 16N), галогены и радиоактивные вещества в твердой форме (продукты
деления и активации).
Радиоактивные инертные газы.
При делении топлива образуется более десятка
нуклидов тяжелых благородных газов: Xe и Kr, имеющих различные радиационные
характеристики (Табл.1).
Общий объем их в расчете на 1 МВт.сут равен 25
см3 (при нормальном давлении и комнатной температуре). В теплоноситель они
попадают при разгерметизации оболочек твэлов. В реакторах типа ВВЭР РБГ могут
поступать во внешнюю среду с утечкой воды из первого контура.
Общая их активность равна 0.3 ТБк/МВт(эл).год
(Табл.2 и 3), причем основной вклад в активность этих отходов вносит 133Xe
(Табл. 4).
Табл. 2 Поступление радиоактивных газообразных
отходов в атмосферу (1979 г.)
Табл. 3. Среднее количество радиоактивных
газоаэрозольных выбросов (ГБк на ГВт)
Табл. 4. Состав РБГ и йода в газообразных
отходах АЭС.
В реакторах кипящего типа РБГ во внешнюю
атмосферу могут попасть вместе с неконденсирующимися газами, отсасываемыми
эжектором из конденсатора турбины. Их активность в десятки и сотни раз больше
активности РБГ в выбросах реакторов типа ВВЭР и изменяется в широком диапазоне:
от 0.074 до 4.4 ТБк/МВт(эл).год. Около 60% всей активности приходится на
короткоживущие нуклиды 87Kr, 88Kr, 135Xe, 85mKr.
Криптон трудно улавливается фильтрами и очень
подвижен в атмосфере (в том числе и потому, что не поглощается ни Мировым
океаном, ни почвами). Масштабы образования криптона-85 на несколько порядков
выше, чем всех остальных радионуклидов - 375 Ки-МВатт.год. Криптон как
химический элемент не вовлекается в биологические процессы. Однако он
поглощается тканями тела при дыхании и хорошо растворяется в жировых тканях
человека и животного. Уже поэтому испускаемая им радиация должна оказывать
какое-то влияние на биологические процессы, например, блокируя
электропроводность тканей. Малые дозы облучения криптоном-85 повышают частоту
рака кожи, опасен он для беременных. Особенно отмечается роль криптона-85 в
изменении электропроводности атмосферы, что может вызвать серьезные
геофизические эффекты, например, уменьшение электрического заряда Земли и
изменение магнитного поля, уменьшение электрического сопротивления атмосферы
между океанами и ионосферой, увеличение электризации гроз, изменение характера
осадков, увеличение числа смерчей и торнадо.
Количество криптона-85 в атмосфере ежегодно
увеличивается. Сейчас содержание 85Kr в атмосфере в миллионы раз выше, чем до
начала атомной эры.
Активационные газы (41Ar, 14C, 13, 16N). 41Ar
образуется при захвате нейтрона ядром 40Ar.
Мощность выброса 41Ar в атмосферу на ядерных
реакторах зависит от их конструктивных и технологических особенностей. Как
правило, для рассматриваемых типов реактора относительное содержание его в
выбросах не превышает 0.3% общей активности (Табл.4).
Однако на РБМК для охлаждения графитовой кладки
активной зоны используют воздух или специальный газовый контур с инертным
теплоносителем (Не+N). Содержание Ar в воздухе составляет 0,93, в азоте -
доходит до 0,3-0,5 объемных %. Обычно активность 41Ar в газовых отходах
достигает нескольких десятков терабеккерелей. Однако задержка, которой подвергаются
газы сдувок из этого контура перед выбросом в систему вентиляции, значительно
снижает их активность.
Радиоактивный углерод. 14С может образовываться
на ядерных реакторах в результате реакций 14N(n,p)14С (активации азота,
находящегося в виде примеси в топливе), а также при тройном делении; 17О(n,α)14С
(активации кислорода, содержащегося в окисном топливе и в замедлителе) и 13С(n,γ)14С,
которые по сравнению с другими являются наиболее практически значимыми. На АЭС
с реакторами кипящего типа и водой под давлением выбросы 14С колеблются в
диапазоне 0,22 - 0,67 ГБк/МВт(эл).год. (Гига = 109).
На реакторах с водой под давлением 80% СО
приходится на долю СН4 и С2Н2, на СО2 и СО - менее 5%. На реакторах с водой под
давлением поступающие в атмосферу из теплоносителя первого контура газы
содержат слабощелочные соединения углерода. На реакторах кипящего типа
преобладающим механизмом является окисление углерода до СО2 и СО кислородными
радикалами, образующимися при электролизе охлаждающей воды.
Углерод-14 в большом количестве накапливается в
биосфере, замещая обычный углерод в органических соединениях. При распаде
углерод превращается в азот и органическая молекула разрушается. Если это
происходит в молекуле ДНК или РНК, должен произойти разрыв хромосомы, и
возникнуть мутация. Есть основания предполагать, что накопление углерода-14
ведет к замедлению роста деревьев. Сейчас в составе атмосферы количество 14С
увеличено на 25% по сравнению с до атомной эрой.
Тритий в природе может существовать в
газообразном виде и в окисленных формах НТО, Т2О, может также входить в состав
более сложных органических и неорганических соединений.
Газообразная форма трития неустойчива. Она
сравнительно быстро окисляется. На АЭС с ВВЭР и РБМК в теплоносителе тритий
существует в основном в виде тритиевой воды, в продувочном газе - в
газообразной и окисленной формах. В реакторе тритий образуется при тройном
делении ядерного топлива; в результате реакции нейтронной активации Li и В,
растворенных в теплоносителе первого контура; а также активации дейтерия,
содержащегося в теплоносителе в качестве примеси (до 0,015%). Основным
источником трития в теплоносителе реактора ВВЭР являются реакции 10В(n,2α)3Н
(бор добавляется в теплоноситель в виде борной кислоты) и 6Li(n,α
)3Н (литий попадает в виде примеси к гидроокиси калия), а также выход трития за
счет диффузии и из негерметических твэлов.
В реакторе типа РБМК поддерживается нейтральный
водный режим, и тритий в теплоносителе накапливается только в результате выхода
из твэлов, а также активации дейтерия. Более существенный выброс трития в
атмосферу может дать азотно-гелиевый контур охлаждения графитовой кладки
реактора. Здесь тритий образуется по реакции 3Не(n,p)3Н в количестве 3.3 ГБк/ч.
В АЭС с реакторами типа ВВЭР и РБМК за счет
тройного деления в твэлах образуется около 0,37-0,74 ТБк/МВт(эл).год трития.
Для реакторов типа ВВЭР переход 3Н в жидкие и газообразные отходы принимают
равным 74 и 7,4; для реакторов с кипящей водой - 2,6 и 0,18 ГБк/МВт(эл).год.
Через оболочку из циркониевого сплава в теплоноситель вследствие диффузии
поступает примерно 0,1 трития, находящегося под оболочкой. Если оболочка твэла
сделана из нержавеющей стали, то скорость поступления трития в теплоноситель
приблизительно в 10 раз больше.
Тритий может замещать водород во всех
соединениях с кислородом, серой, азотом. А эти соединения составляют значительную
часть массы животных организмов. Доказано, что он легко связывается
протоплазмой живых клеток и накапливается в пищевых цепях. Когда тритий
распадается, он превращается в гелий и испускает бета-излучение. Эта
трансмутация должна быть очень опасной для живых организмов, т.к. при этом
поражается генетический аппарат клеток.
Радионуклиды иода. При реакции деления, а также
при распаде продуктов деления образуется несколько радионуклидов иода.
Наибольший вклад в дозу облучения дают нуклиды с массовыми числами 129, 131,
132, 133, 134 и 135. Для всех из них за исключением 129I, в активной зоне
реактора достаточно быстро устанавливается равновесное состояние. Попасть в
окружающую среду радионуклиды иода могут только при разгерметизации оболочки
твэла и первого контура.
Как источник облучения наиболее важным нуклидом
иода является 131I. В равновесных условиях его активность колеблется от 0,92 до
1,1 пБк/МВт (теп). Долгоживущий 129I не обнаруживают в окружающей среде вокруг
АЭС, и его выбросы значительно меньше выбросов других радионуклидов иода. 131I
может существовать либо в аэрозольной, либо в газовой форме. Соотношение этих
форм зависит от многих факторов и различно для разных АЭС, более того, оно
может меняться по пути доставки отходов к сбросным устройствам. В отходах 131I
представлен молекулярным иодом и иодом в органических соединениях, главным
образом в виде иодистого метила СН3I.
На реакторах с обычной водой 73% радионуклидов
иода присутствуют в виде органических соединений, 22% иодноватистой кислоты, 5%
элементарного иода. Средние выбросы 131I из реакторов с кипящей водой и водой
под давлением равны 74-185 и 1,85-22,2 МБк/МВт(эл).год.
Выбросы 131I из реактора РБМК существенно ниже,
чем из ВВЭР. Это объясняется тем, что у данного реактора отмечается пониженный
выход иода из негерметичных твэлов в теплоноситель.
Выброс иода из реакторов РБМК и ВВЭР
определяется расходом неограниченных протечек теплоносителя в технологические
помещения и выходом иода в воздух помещений. Обычно протечки теплоносителя на
РБМК больше, чем на реакторах ВВЭР. Однако на АЭС с реакторами РБМК допустима
перегрузка дефектных твэлов на ходу, что позволяет своевременно их заменять.
Это, а также меньший выход иода из-под оболочки
дефектного твэла приводит к уравниванию выброса иода из-за протечки
теплоносителя.
Радиоактивный иод вызывает нарушение
гормонального уровня у человека, летаргию и ожирение.
Аэрозоли.
Часть продуктов деления, продукты распада РБГ и
нуклиды с наведенной активностью образуют аэрозоли, которые с воздушными
потоками могут поступать во внешнюю среду. Количество таких аэрозолей зависит
от типа реактора, его мощности, эффективности систем газоочистки, водоочистки и
ограничивающих барьеров, продолжительности эксплуатации и т.п.
В составе аэрозолей, выбрасываемых из АЭС с реактором
ВВЭР, идентифицируют несколько десятков радионуклидов. Наиболее типичные из
них: 131I, 89,90,91Sr, 103Ru, 137Cs, 141,144Ce, 51Cr,
54,55Mn, 59Fe,
58,60Co, 95Zr,
110mAg, 22,24Na,
88Rb, 99Mo
и др. Аэрозоли, образующиеся в результате деления или распада РБМК, в газовых
выбросах АЭС появляются после разгерметизации оболочки твэла. Их доля в общей
смеси долгоживущих радионуклидов колеблется в широких пределах (10-80% общей
активности) и зависит от состояния активной зоны. Активность отдельных
радионуклидов изменяется от нескольких сотых до нескольких единиц
гигабеккерелей в год. Суммарное содержание твердой фракции в выбросах на
реакторах ВВЭР примерно 2.2 МБк/МВт(эл).год.
Помимо радиоактивных, при работе АЭС образуются
многочисленные стабильныепродукты, в той или иной степени взрывоопасные
(например, водород, озон) или токсичные.
Системы очистки сбросных газов должны эффективно
удалять и их. Многие стабильные вещества (вода, аммиак, углекислый газ и др.)
которые сами по себе может и не опасны, но они крайне негативно влияют на
процессы извлечения радионуклидов из сбросных газов. Есть, наконец, ценные
компоненты, которые нужно выделять из сбросов, очищать 072 аu1080 и возвращать
в технологический процесс. По этим причинам, системы очистки обычно являются комбинированными
- они занимаются переработкой смесей радиоактивных, и стабильных газов.
2.6 Нормирование
выбросов радиоактивных газов в атмосферу
Ограничение абсолютных выбросов
В процессе работы АЭС образуются жидкие,
газообразные, аэрозольные и твердые радиоактивные отходы. На пути поступления
радиоактивных отходов во внешнюю среду предусматривают различные защитные
барьеры. К ним, в частности относят: топливную матрицу, оболочку твэлов, контур
первичного теплоносителя, герметичные помещения реакторной установки, газового
контура, контура очистки теплоносителя и всех остальных контуров и оборудования
с радиоактивными средами, защитные оболочки (для ограничения выбросов при
аварийной ситуации). Кроме того, для всех реакторов ограничивается количество
допустимых негерметичных твэлов в активной зоне. В результате этого
радиоактивные отходы за пределы АЭС выходят в количествах, не превышающих
допустимые.
Ограничение воздействия источников излучения на
человека определены нормами радиационной безопасности (НРБ), основными дозовыми
пределами и производными от них величинами. НРБ допускают облучение отдельных
лиц из населения в пределах дозы (ПД), равной 5*10-3, 1,5*10-2 и 3*10-2 Зв в
год для I, II и III групп критических органов соответственно (Табл. 5).
Табл. 5. Предел дозы (ПД) ограниченной части
населения (категория Б), обусловленный радиоактивными отходами, мЗв/год.
Примечание. 1 группа - все тело, гонады и
красный костный мозг; II - мышцы, щитовидная железа, жировая ткань, печень,
почки, селезенка, желудочно-кишечный тракт, легкие, хрусталик глаза и другие
органы, за исключением тех, которые относятся к 1 и III группам; III группа -
кожный покров, костная ткань, кисти, предплечья, лодыжки и стопы.
Дозовая квота от радиоактивных отходов АЭС
составляет лишь 5% регламентированного НРБ предела дозы. Дозовый предел на все
тело составляет 1/4 дозы, обусловленной естественным радиационным фоном. Ее
практически невозможно измерить на уровне фона, и, следовательно,
контролировать. Поэтому кроме пределов дозы устанавливаются производные
(вторичные) характеристики, полученные из расчета по тем или иным моделям. К
таким производным характеристикам относят предельно допустимые выбросы (ПДВ)
радиоактивных газов и аэрозолей в атмосферу и предельно допустимые сбросы (ПДС)
жидких радиоактивных отходов во внешнюю среду. Современные приборы позволяют
регистрировать достаточно низкие уровни радиоактивности. В связи с этим
санитарные правила (СП АЭС) устанавливают и среднемесячные допустимые выбросы
(ДВ) газоаэрозольных и годовые допустимые сбросы (ДС) жидких радиоактивных
отходов АЭС во внешнюю среду, действующие в период нормальной эксплуатации АЭС.
При этом учитываются все возможные пути воздействия радиоактивных отходов на
человека (внешнее облучение, внутреннее облучение в результате ингаляционного
поступления радионуклидов в организм, с водой и по пищевым цепочкам),
географические, метеорологические и другие факторы. В соответствии с
санитарными правилами (СП) устанавливаются среднесуточный и среднемесячный ДВ
радиоактивных газов и аэрозолей в атмосферу (Через трубу высотой 80-150 м)
(Табл.6 и 7).
Табл. 6. Среднесуточный допустимый выброс.
Табл. 7. Среднемесячный допустимый выброс.
При этом предполагают, что этот выброс не
приведет на местности к дозе, превосходящей предельно допустимую. Разделение
допустимого выброса на среднесуточные и среднемесячные связано с трудностями
определения удельной активности ряда радионуклидов (например, 89Sr, 90Sr и др.)
в пробе выброса, отобранной за одни сутки. Санитарные правила разрешают АЭС
однократно превысить в 5 раз среднесуточный допустимый выброс при условии, что
суммарный выброс за квартал или за год соответственно не превзойдет
соответствующего расчетного значения.
2.7 Промышленные
системы газоочистки
При принятии решения об очистке технологических
газов рассматривают вопросы экономики и защиты окружающей среды и человека. На
АЭС нашли применение преимущественно способы, основанные на адсорбции и
выдержке, поскольку обезвреживанию подлежат в основном радионуклиды инертных
газов. Для удаления трития применяют каталитическое сжигание. Мы ограничимся
рассмотрением очистки технологических газов АЭС в основном от радионуклидов
криптона, ксенона и иода.
В настоящее время нашли применение два способа
удаления криптона и ксенона из технологических газов АЭС: адсорбция на
активированном угле и криогенная дистилляция. Во всех вариантах используемых
методов для совершенствования технологии процесса, обеспечения или повышения
его безопасности приходится предварительно удалять некоторые вредные и мешающие
примеси: водяные пары, метан, окислы азота, углекислый газ, озон, кислород, водород.
Узлы и аппараты, используемые для такой предварительной подготовки газа, часто
составляют большую часть таких систем, ограничивают значения таких основных
параметров, как производительность и эффективность очистки.
III. АТОМНЫЕ
СТАНЦИИ. ХАРАКТЕРИСТИКИ ТИПОВ РЕАКТОРОВ
.1 АЭС РБМК (Описание,
история, текущие данные, «+» и «-», картинки и схемы с описанием работы и
отчисткой от радионуклиидов)
Реактор Большой Мощности Канальный (РБМК) -
серия
энергетических ядерных реакторов, разработанных в Советском Союзе. Реактор РБМК
канальный, гетерогенный, графито-водный, кипящего типа, на тепловых нейтронах.
Теплоноситель - кипящая вода.
Основные положения.
|
Описание
АЭС РБМК
|
История
|
Текущие
данные
|
|
1. Отличительная особенность этого
реактора состоит в том, что пар для вращения турбины получают непосредственно
в активной зоне реактора. 2. Состоит
из вертикальных графитовых колонн, в которых находятся продольные отверстия,
с вставленными туда трубами из циркониевого сплава и нержавеющей стали.
Графит выполняет роль замедлителя нейтронов. Все каналы делятся на топливные
и каналы СУЗ (система управления и защиты). Они имеют разные контуры
охлаждения. В топливные каналы вставляют кассету (ТВС - тепловыделяющую
сборку) со стержнями (ТВЭЛ - тепловыделяющий элемент) внутри которых
находятся урановые таблетки в герметичной оболочке. Понятно, что именно от
них получают тепловую энергию, которая передается непрерывно циркулирующему
снизу вверх теплоносителю под большим давлением - обычной, но очень хорошо
очищенной от примесей воде. 3. Вода,
проходя по топливным каналам, частично испаряется , пароводяная смесь
поступает от всех отдельных топливных каналов в 2 барабан-сепаратора, где
происходит отделение (сепарация) пара от воды. Вода снова уходит в реактор с
помощью циркуляционных насосов (всего из 4 на петлю), а пар по паропроводам
идет на 2 турбины. Затем пар конденсируется в конденсаторе, превращается в
воду, которая снова идет в реактор. 4. Тепловой
мощностью реактора управляют только с помощью стержней-поглотителей нейтронов
из бора, которые перемещаются в каналах СУЗ. Вода, охлаждающая эти каналы
идет сверху вниз. 5. Фактически
у РБМК нет корпуса. Активная зона про которую я вам сейчас рассказывал
помещена в бетонную шахту, сверху она закрыта крышкой весом в 2000 тонн.
|
1. Реактор Первый в мире АЭС был
именно уран-графитовым канальным реактором с водяным теплоносителем АМ-1
(«Атом Мирный»), установленный на Обнинской АЭС (1954 год). 2. Разработка собственно реакторов
РБМК началась с середины 60-х годов и опиралась, в значительной мере, на
большой и успешный опыт проектирования и строительства промышленных
уран-графитовых реакторов. 3. Первый
энергоблок с реактором типа РБМК-1000 запущен в 1973 году на Ленинградской
АЭС. 4. На первых энергетических реакторах
серий РБМК-1000 и ВВЭР-440 не было в достаточном количестве систем
безопасности, что потребовало в дальнейшем серьезной модернизации
энергоблоков.
|
1.
В общей сложности сдано в эксплуатацию 17 энергоблоков с РБМК. Срок
окупаемости серийных блоков второго поколения составил 4-5 лет. 2. Вклад АЭС
с реакторами РБМК в общую выработку электроэнергии всеми АЭС России
составляет порядка 50 %. 3. После аварии на Чернобыльской АЭС были проведены
дополнительные исследования и модернизация. 4. В настоящее время реакторы
РБМК не уступают по безопасности и экономическим показателям отечественным и
зарубежным АЭС того же периода постройки. На сегодняшний день приемлемый
уровень безопасности РБМК подтвержден на национальном уровне, а также
международными экспертизами. 5. По состоянию на 2010 год эксплуатируется 11
энергоблоков с РБМК на трёх АЭС: Ленинградской, Курской, Смоленской. 6.
Ведётся строительство РБМК третьей очереди на пятом энергоблоке Курской АЭС.
|
Плюсы и минусы.
|
«+»
|
«-»
|
|
5. Благодаря поканальному
регулированию тепловой мощности есть возможность менять топливные сборки, не
останавливая реактор. Каждый день, обычно, меняют несколько сборок. 6. Низкое давление в КМПЦ (контур
многократной принудительной циркуляции), что способствует более мягкому
протеканию аварий, связанных с его разгерметизацией. 7. Отсутствие сложного в изготовлении
корпуса реактора. 8. Максимальном
применении опыта уран-графитовых реакторов. 9.
отработанных
связях между заводами, налаженном выпуске основного оборудования; 10. состоянии промышленности и строительной
индустрии СССР; 11. многообещающих
нейтронно-физических характеристиках (малое обогащение топлива). 12. Пониженное, по сравнению с
корпусными ВВЭР, давление воды в первом контуре; 13. Благодаря канальной конструкции
отсутствует дорогостоящий корпус; 14. Нет
дорогостоящих и сложных парогенераторов; 15. Нет
принципиальных ограничений на размер активной зоны (например, она может быть
в форме параллелепипеда, как в проектах РБМКП); 16. Независимый контур системы
управления и защиты (СУЗ); 17. Широкие
возможности осуществления регулярного контроля состояния узлов активной зоны
(например, труб технологических каналов) без необходимости остановки
реактора, и также a. высокая ремонтопригодность; 18. Малое «паразитное» поглощение
нейтронов в активной зоне (более благоприятный нейтронный баланс), как
следствие - более полное использование ядерного топлива; 19. Более легкое (по сравнению с
корпусными ВВЭР протекание аварий, вызванных разгерметизацией циркуляционного
контура, а также переходных режимов, вызванных отказами оборудования; 20. Возможность формировать
оптимальные нейтронно-физические свойства активной зоны реактора
(коэффициенты реактивности) на стадии проектирования; 21. Незначительные коэффициенты
реактивности по плотности теплоносителя (современный РБМК); 22. Замена топлива без остановки
реактора благодаря независимости каналов друг от друга (в частности, повышает
КИУМ); 23. Возможность наработки
радионуклидов технического и медицинского назначения, а также радиационного
легирования различных материалов; 24. Отсутствие
(по сравнению с корпусными ВВЭР) необходимости применения борного
регулирования; 25. Более
равномерное и глубокое (по сравнению с корпусными ВВЭР) выгорание ядерного
топлива; 26. Возможность
работы реактора с низким ОЗР - оперативным запасом реактивности (современные
проекты, например, строящийся пятый энергоблок Курской АЭС); 27. Более дешевое топливо из-за более
низкой степени обогащения, хотя загрузка топливом значительно выше (в общем
топливном цикле используют переработку отработанного топлива от <ВВЭР); 28. Поканальное регулирование расходов
теплоносителя через каналы, позволяющее контролировать теплотехническую
надежность активной зоны; 29. Тепловая
инертность активной зоны, существенно увеличивающая запасы до повреждения
топлива во время возможных аварий; 30. Независимость
петель контура охлаждения реактора (в РБМК - 2 петли), что позволяет
локализовать аварии в одной петле.
|
1.
В ходе эксплуатации были обнаружены многочисленные просчеты в геометрии
активной зоны, устранить которые на действующих энергоблоках 1-го и 2-го
поколений (Ленинград, Курск, Чернобыль, Смоленск) полностью не возможно.
Энергоблоки РБМК 3-его поколения (он один - на 3 энергоблоке Смоленской АЭС)
лишен этих недостатков. 2. Реактор одноконтурный. То есть турбины вращает
пар, полученный непосредственно в реакторе. А это значит, что он содержит
радиоактивные компоненты. При разгерметизации турбины (а такое было на
Чернобыльской АЭС в 1993 году) ее ремонт будет сильно усложнен, а, может
быть, и невозможен. 3. Срок службы реактора определяется сроком службы
графита (30-40 лет). Затем наступает его деградация, проявляющаяся в его
разбухании. Этот процесс уже вызывает серьезные опасения на старейшем
энергоблоке РБМК Ленинград-1, построенном в 1973 году (ему уже 39 лет).
Наиболее вероятный выход из ситуации - заглушение n-нного количества каналов
для уменьшения теплового расширения графита. 4. Графитовый замедлитель
является горючим материалом. 5. Ввиду огромного количества запорной арматуры,
реактор сложен в управлении. 6. На 1 и 2 поколениях существует неустойчивость
при работе на малых мощностях. 7. Большое
количество трубопроводов и различных вспомогательных подсистем требует
наличия большого количества высококвалифицированного персонала; 8.
Необходимость проведения поканального регулирования расходов, что может
повлечь за собой аварии, связанные с прекращением расхода теплоносителя через
канал; 9. Более высокая нагрузка на оперативный персонал по сравнению с ВВЭР,
связанная с большим количеством узлов (например запорно-регулирующей
арматуры); 10. Большее количество активированных конструкционных материалов
из-за больших размеров АЗ и металлоёмкости РБМК, остающихся после вывода из
эксплуатации и требующих утилизации.
|
Отчитска от радионуклиидов .
Объем отводимых от технологического оборудования
газов для реакторов типа РБМК составляет 300 - 350 м3/ч - во много раз больше,
чем для реактора ВВЭР. На АЭС с реакторами кипящего типа (одноконтурными) время
пребывания большой части радиоактивных газообразных продуктов деления (около
95%) в теплоносителе не превышает нескольких десятков секунд (не более 30 с).
Вместе с продуктами радиолиза воды они в виде парогазовой смеси выбрасываются
из конденсатора турбин и направляются в систему спецгазоочистки или газгольдер
выдержки.
В схеме установки для очистки сбросных газов
кипящего реактора типа РБМК использован конденсационный способ очистки газа. Он
более экономичен, что для кипящих реакторов важно ввиду значительного объема
отходящих радиоактивных газов. Сначала влагу конденсирует в пароэжектором
холодильнике до точки росы, близкой к температуре 273К, а затем вымораживают в
газоохладителе. Источником холода служит одноступенчатая фреоновая холодильная
машина.
Сухой и охлажденный газ подают в угольные
адсорберы, причем сначала в головной адсорбер с малым объемом угля. Назначение
головного адсорбера - предотвратить попадание влаги и радиоактивных аэрозолей в
основной адсорбер.
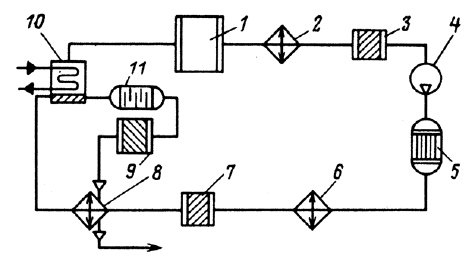
Рис.4. Принципиальная схема РХГС РБМК. 1 -
холодильная машина; 2 - теплообменник; 4 - регенеративный газоохладитель; 5 -
вымораживатель влаги; 6 - фильтр для улавливания аэрозольного снега; 7 -
угольные адсорберы; 8 - фильтр; 9 - турбохолодильная машина; 10 - газодувка.
Активная зона РБМК. Рис.5
Принцип действия РБМК. Рис6.
Конструкция. Рисунок 7.
В целом можно сказать, что РБМК - хороший
реактор для своего времени. В настоящее время принято решение не строить
энергоблоки с этим типом реакторов.
3.2 АЭС ВВЭР.
(Калининская. Описание, история, текущие данные, «+» и «-», картинки и схемы с
описанием работы и отчисткой от радионуклиидов)
ВВЭР (Водо-Водяной Энергетический Реактор)
-водо-водяной корпусной энергетический ядерный реактор с водой под давлением,
одна из наиболее удачных ветвей развития ядерных энергетических установок,
получившая широкое распространение в мире.
На смену РБМК в настоящее время приходит ВВЭР.
Он обладает значительными плюсами по сравнению с РБМК.
Основные положения.
|
Описание
АЭС ВВЭР
|
История
|
|
1.
Водо-водяной энергетический реактор, где первая "водо" означает
воду, облучаемую в реакторе, а вторая "водяной" ту, что в виде пара
крутит турбину, перегреваясь до пара от первой, никогда не кипящей в
реакторе. 2. И именно поэтому не имеющей идиотской положительной паровой
реактивности, губящей не только сам РБМК, но и все вокруг, аж до Атлантики.
Но лучше я вам скажу, почему ВВЭРы победило говно говном под аббревиатурой
РБМК. Это знание - полезнее. 3. Активная зона реакторов собрана из
шестигранных тепловыделяющих сборок (ТВС), содержащих тепловыделяющие
элементы (ТВЭЛ) стержневого типа с сердечником из диоксида урана в виде
таблеток, находящихся в оболочке из циркониевого сплава. 4. Включает в себя
главный циркуляционный контур, систему компенсации давления и пассивный узел
системы аварийного охлаждения зоны (САОЗ).
|
1.
ВВЭР был разработан в СССР параллельно с реактором РБМК и обязан своему
происхождению одной из рассматривающихся в то время реакторных установок для
атомных подводных лодок. 2. Идея реактора была предложена в Курчатовском
институте С. М. Фейнбергом. Работы над проектом начались в 1954 году, в 1955
году ОКБ «Гидропресс» приступило к его разработке. 3. Научное руководство
осуществляли И. В. Курчатов и А. П. Александров. 4. Общее название реакторов
этого типа в других странах - PWR, они являются основой мировой мирной
ядерной энергетики. Первая станция с таким реактором была запущена в США в
1957 году. 5. Первый советский ВВЭР (ВВЭР-210) был введен в эксплуатацию в 1964
году на первом энергоблоке Нововоронежской АЭС. 6. изготовитель: Ижорские
заводы (г. Санкт-Петербург), до начала 90-х реакторы также изготавливались
заводом Атоммаш (г. Волгодонск) и компанией ŠKODA JS
(Чехия).
|
1.
Реактор включает в себя: - корпус; - верхний блок с приводами; - блок
защитных труб; - шахту; - активную зону. 2. Материал деталей корпуса реактора
типа ВВЭР-1000 - сталь 15Х2НМФА. 3. Установка БЗТ в реакторе типа ВВЭР в
заданном положении обеспечивает точную фиксацию головок ТВС по высоте и в
плане в активной зоне, заданное усилие поджатия ТВС, гарантирующее
"невсплываемость" ТВС в нормальных и переходных режимах, а также
возможность свободных осевых и радиальных термических перемещений
(расширений) БЗТ относительно шахты и крышки реактора.
|
Плюсы и минусы.
|
«+»
|
«-»
|
|
1.
Пар, идущий на турбину не радиоктивен. 2. Мощностью реактора можно управлять
не только стержнями-поглотителями, но и раствором борной кислоты, что делает
реактор более устойчивым. 3. Элементы первого контура располагаются очень близко
друг от друга, поэтому их можно поместить в общую защитную оболочку. При
разрывах в первом контуре радиоактивные элементы попадут в гермооболочку и не
выйдут в окружающую среду. Кроме того гермооболочка защищает реактор от
внешнего воздействия (например от падения небольшого самолета или взрыва за
периметром станции). 4. Активная зона полностью находиться в очень прочном
корпусе, который изготавливают на заводе и привозят железнодорожным, а затем
и автомобильным транспортом на строящийся энергоблок в полностью готовом
виде. Замедлителем является чистая вода под давлением. Реактор состоит из 2-х
контуров: вода первого контура под большим давлением охлаждает топливные
сборки, передавая тепло 2-му контуру с помощью парогенератора (выполняет
функцию теплообменника между 2-ми изолированными контурами). 5. В нем вода
второго контура кипит, превращается в пар и идет на турбину. В первом контуре
вода не кипит, так как она находиться под очень большим давлением.
Отработанный пар конденсируется в конденсаторе и снова идет в парогенератор.
6. Двухконтурная схема обладает значительными плюсами по сравнению с
одноконтурной:
|
1.
В отличие от РБМК, топливо нельзя менять при работающем реакторе, т.к. оно
находиться в общем корпусе, а не в отдельных каналах, как в РБМК. Время
перезагрузки топлива обычно совпадает со временем текущего ремонта, что
уменьшает воздействие этого фактора на КИУМ (коэффициент используемой
установленной мощности). 2. Первый контур находиться под большим давлением,
что потенциально может вызвать больший масштаб аварии при разгерметизации,
чем РБМК. 3. Корпус реактора очень сложно перевезти с завода-изготовителя на
стройплощадку АЭС.
|
Реактор ВВЭР. Рис 8.
Отчитска от радионуклиидов .
Для очистки отходящих газов АЭС с ректором ВВЭР
используется адсорбционный метод очистки, в частности способ динамической
адсорбции радионуклидов криптона и ксенона в колонне, работающей в режиме
непрерывного протока.
Газообразные и аэрозольные отходы из монтажных
пространств, боксов парогенераторов и насосов, защитных кожухов оборудования,
емкостей с жидкими отходами выводят с помощью вентиляционных систем. Эти отходы
перед выбросом в вентиляционную трубу очищаются на аэрозольных и иодных
фильтрах.
Рис. 9. Схема обработки и удаления газообразных
продуктов на АЭС с реактором типа ВВЭР или РБМК; Г - фильтр грубой очистки; А
(И) -аэрозольный (йодный) фильтр; РХС -радиохроматографическая система .
Отводимые от технологического оборудования газы
состоят из азота с примесью водяного пара, водорода, газообразных продуктов
деления. Объем этих газов равен 4-70 м3/ч для реакторов типа ВВЭР, в которых
первый контур замкнут и герметичен. Время пребывания в нем радиоактивных
веществ намного больше, чем в разомкнутом первом контуре кипящего реактора типа
РБМК, т.к. расход воды из первого контура реактора типа ВВЭР в систему очистки
с учетом протечек мал: 20 - 50 т/ч. Поэтому период полувыведения радиоактивных
газов из первого контура большой: часы и даже сутки. Дезактивацию
технологических газов осуществляют в камерах выдержки или на специальных
установках, имеющих фильтры с активированным углем. При выдержке в камерах
газов с высокой концентрацией водорода возможно образование взрывоопасной
гремучей смеси. Для устранения этого газы разбавляют азотом, что, однако,
увеличивает габариты камер. Сократить объем дезактивируемых газов можно за счет
сжигания водорода. Схема обработки и удаления газообразных отходов АЭС с
реакторами типа ВВЭР и РБМК приведена на Рис.9.
В качестве примера рассмотрим схему установки
очистки газообразных отходов АЭС с реактором с водой под давлением,
спроектированной в СССР для финской АЭС "Ловица". На этой станции
источники газообразных отходов подключены к циркуляционному газовому контуру. В
контуре в специальном аппарате с платиновым катализатором дожигается
радиолитический водород. Из циркуляционного контура газ поступает в систему
газоочистки, которая состоит из трех параллельных взаимозаменяемых ниток. Одна
нитка работает постоянно, другая принимает на себя газ эпизодически в процессе
дренирования первого контура, когда наблюдается повышенное газовыделение,
третья нитка - резервная.
Рис. 10. Принципиальная технологическая схема
установки газоочистки финской АЭС «Ловица» (реактор ВВЭР).
IV.
ВЫВОД
.1 Пути дальнейшего
совершенствования систем отчистки Технологических газов АЭС
Создание безопасных и экономичных установок для
обезвреживания радиоактивных технологических газов АЭС является задачей комплексной.
Решать ее нужно не только за счет совершенствования таких установок, но и
совершенствования и создания основного и вспомогательного оборудования АЭС,
имеющих минимум технологических сдувок радиоактивных газов. В качестве примера
можно отметить, что в настоящее время расход эжекторных газов на турбинах
отечественных АЭС в 5 раз больше, чем на зарубежных. Следует пересмотреть
некоторые режимы газовых сдувок с целью снижения их объемных расходов.
В настоящее время при создании установок по
подавлению активности (УПАК) для АЭС с РБМК принят вариант единой установки на
два блока электрической мощностью 1000 МВт.
Сложная система с большой тепловой
инерционностью неспособна на быстрые изменения температурных режимов, связанных
с изменением расходов разных источников технологических газовых сдувок. Такую
систему трудно автоматизировать. Кроме того, при выходе из строя оборудования
на самой УПАК сдувки технологических газов двух блоков реактора могут на
какое-то время остаться без очистки. Практика показывает, что в таких случаях
целесообразнее иметь небольшие системы очистки, расположенные на том
оборудовании, где проводят сдувки радиоактивных газов. Поэтому такие устройства
следует создавать на каждом реакторе, на каждой турбине.
Значительного снижения капитальных и
эксплуатационных затрат при создании систем очистки, а главное увеличения
надёжности таких установок, можно достичь, если для отдельных технологических
операций использовать возможности основного и вспомогательного оборудования
АЭС, подключением оборудования УПАК к регенеративной системе турбоустановки.
Примером такого подхода может служить
использование газового контура РБМК с организацией очистки сдуваемых газов
непосредственно в самом контуре. В таком контуре имеются все элементы
криогенной технологической схемы РГХС, кроме угольного адсорбера. В контуре
используют оборудование для сжигания СО и Н2, осушки газов от паров воды и СО2,
охлаждения газа до температуры 110К. Дефлегматор-разделитель азота от гелия
работает в режиме дистилляционной колонны. В жидкий азот переходят все нуклиды
Xe, Kr и 41Ar. После выдержки в жидком виде в сосуде выдержки газовую смесь
пропускают через угольный абсорбер объёмом 0,5 м3, где происходит задержка
криптона и ксенона, достаточная для снижения активности в 100 раз.
Рис.11. Принципиальная схема газового
Контура РБМК: 1 - реактор, 2 - теплообменник; 3
- иодный фильтр; 4 - компрессор; 5 - контактный аппарат; 6 - конденсатор; 7 -
цеолитовый абсорбер; 8 - газоохладитель; 9 - угольный адсорбер; 10 -
дефлегматор; 11 - сосуд выдержки.
Принимаемые меры приводят к постепенному
снижению выбросов радиоактивных газов в атмосферу.
4.2 Вывод
При эксплуатации промышленных или иных объектов
должна обеспечиваться экологическая безопасность людей, рациональное
использование природных ресурсов, соблюдение нормативов вредного воздействия на
окружающую природную среду. При этом должны предусматриваться улавливание,
утилизация, обезвреживание вредных веществ и отходов либо полная их ликвидация,
исполнение других требований относительно охраны окружающей природной среды и
здоровья людей.
Список используемых
сокращений
|
АКНП
|
автоматизированный
контроль нейтронных потоков
|
|
АРМ
|
автоматизированное
рабочее место
|
|
АС
|
атомная
станция
|
|
АСРК
|
автоматизированная
система радиационного контроля
|
|
АСУ
ТП
|
автоматизированная
система управления технологическим процессом
|
|
АЭС
|
атомная
электрическая станция
|
|
БВ
|
бассейн
выдержки
|
|
БД
|
блок
детектирования
|
|
БПУ
|
блочный
пульт управления
|
|
БЩРК
|
блочный
щит радиационного контроля
|
|
ВАО
|
высокоактивные
отходы
|
|
ВВЭР
|
водо-водяной
энергетический реактор
|
|
ВТФ
|
высокотемпературный
фильтр
|
|
ВХР
|
водно-химический
режим
|
|
ГЦН
|
главный
циркуляционный насос
|
|
ДС
|
допустимый
сброс
|
|
ЕВАС
|
емкость
высокоактивных сорбентов
|
|
ЕКО
|
емкость
кубового остатка
|
|
ЕФМ
|
|
ЖРО
|
жидкие
радиоактивные отходы
|
|
ЗКД
|
зона
контролируемого доступа
|
|
ЗП
|
здание
переработки
|
|
ЗПХ
|
здание
переработки и хранения
|
|
ЗСД
|
зона
свободного доступа
|
|
ИРГ
|
инертные
радиоактивные газы
|
|
ККО
|
концентрированный
кубовый остаток
|
|
КО
|
кубовый
остаток
|
|
ЛБД
|
локальная
база данных
|
|
ЛВС
|
локальная
вычислительная сеть
|
|
МПД
|
мощность
поглощенной дозы
|
|
НАО
|
низкоактивные
отходы
|
|
НД
|
нормативный
документ
|
|
НЗК
|
невозвратно-защитный
контейнер
|
|
ОЧГ
|
очень
чистый германий
|
|
ПГ
|
парогенератор
|
|
ПД
|
продукты
деления
|
|
ПДС
|
предельно-допустимый
сброс
|
|
ППР
|
планово-предупредительный
ремонт
|
|
ПУХЖРО
|
узел
промежуточного хранения жидких радиоактивных отходов
|
|
РАО
|
радиоактивные
отходы
|
|
РВ
|
радиоактивные
вещества
|
|
РО
|
реакторное
отделение
|
|
РПУ
|
резервный
пульт управления
|
|
РУ
|
реакторная
установка
|
|
САО
|
среднеактивные
отходы
|
|
СБД
|
сервер
базы данных
|
|
СВБУ
|
система
верхнего блочного уровня
|
|
СВО
|
спецводоочистка
|
|
СГО
|
спецгазоочистка
|
|
СК
|
спецкорпус
|
|
СРК
|
система
радиационного контроля
|
|
СУЗ
|
стержни
управления и защиты
|
|
ТРО
|
твердые
радиоактивные отходы
|
|
ТС
|
технические
средства
|
трубчатый
электронагреватель
|
|
УВ
|
уровень
вмешательства
|
|
ХЖО
|
хранилище
жидких отходов
|
|
ХТРО
|
хранилище
твердых радиоактивных отходов
|
|
ЦЩРК
|
центральный
щит радиационного контроля
|
|
ЭБ
|
энергоблок
|
Используемая
литература
1. Боровой
А.А., Васильченко В.Н., Носовский А.В., Попов А.А., Щербина В.Г. Концепция
радиационного контроля ПО "Чернобыльская АЭС" и основные технические
требования к системе PK. - Чернобыль, 1993.
2. Васильченко
В.Н., Носовский AB., Крючков В.П., Осанов Д.П., Павлов Д.А., Цовьянов А.Г.,
Бондарчук А.С., Ильичев С.В. Принципы организации сбора информации по
дозиметрическим аспектам радиационных аварий. Руководящий документ
Росстандарта, РД-187655/94.-Москва, 1994.
. Голубев
Б.П. Дозиметрия и защита от ионизирующих излучений. / Изд. 3-е, перераб. и доп.
Под редакцией E. Л. Столяровой. Учебник для вузов. - M.: Атомиздат, 1976. Закон
Украины. Об обращении с радиоактивными отходами. Укр ЯО. - Киев, 1995.
. Иванов
В.И. Курс дозиметрии: Учебник для вузов./4-е изд., перераб. и доп.-M.:
Энергоатомиздат, 1988.
. Индивидуальная
защита работающих в атомной энергетике/ В.С Кощеев, Д.С. Гольддггейн, В.Н.
Клочков и др. -M.: Энергоатомиздат, 1992.
. Кононович
А.Л., Осколков Б.Я., Кудрявцева Н.А, Коротков В.Т., Ростовцев А.Л., Носовский
А.В., Васильченко В.Н., Чабан Н.Г. Оценка радиоактивного состояния подземных
вод в районе Чернобыльской АЭС. - Атомная энергия, 1994, т.77, вып.5.
. Культура
безопасности: Доклад Международной консультативной группы по ядерной безопасности
(INSAG). - Вена, МАГАТЭ, 1990. (Серия безопасности 75-INSAG-4).
. Левин
В.Е. Ядерная физика и ядерные реакторы. Учебник для техникумов. /3-е.изд. - M.:
Атомиздат, 1975.
. Мащенко
Н.П., Мурашко В.А. Радиационное воздействие и радиационная защита населения при
ядерных авариях на атомных электростанциях: Учеб. пособие. - К.: Вища шк.,
1992.
10. Машкович
В.П., Панченко А.М. Основы радиационной безопасности. Уч. Пособие для вузов. -
M.: Энергоатомиздат, 1990.
11. Носовский
А.В., Цовьянов А.Г., Кочетков О.А., Чабан Н.Г., Иванов Е.А. Опыт эксплуатации
системы санитарно-пропускного режима на Чернобыльской АЭС. - Атомная энергия,
1997, т. 82, вып.2, с. 140-146.
. Нормы
радиационной безопасности НРБ -76/87. Основные санитарные правила работы с
радиоактивными веществами и другими источниками ионизирующх излучений ОСП - 72/
87 / Минздрав СССР- 3-е изд., перераб. и доп. - M.: Энергоатомиздат, 1988.
. Общие
положения обеспечения безопасности атомных станций (ОПБ-88) ПНАЭ Г-1-011-89 /
Госатомнадзор СССР. - M.: Энергоатомиздат, 1990.
. Правила
работы с радиоактивными веществами и другими источниками ионизирующих излучений
в учреждениях, организациях и на предприятиях Академии наук СССР.-M.: Наука,
1984.
. Радиация:
Дозы, эффекты, риск. Пер с англ. - M.: Мир, 1990.