Проектирование услуги утилизации люминесцентных ламп на ООО 'Эколамп'

  • Вид работы:
    Курсовая работа (т)
  • Предмет:
    Экология
  • Язык:
    Русский
    ,
    Формат файла:
    MS Word
    234,68 Кб
  • Опубликовано:
    2013-01-14
Вы можете узнать стоимость помощи в написании студенческой работы.
Помощь в написании работы, которую точно примут!

Проектирование услуги утилизации люминесцентных ламп на ООО 'Эколамп'













Курсовая работа

Проектирование услуги утилизации люминесцентных ламп на ООО «Эколамп»

Введение

На сегодняшний день одним из самых распространенных источников ртутного загрязнения являются вышедшие из эксплуатации люминесцентные лампы. Каждая такая лампа, кроме стекла и алюминия, содержит около 60 мг ртути. Поэтому отслужившие свой срок люминесцентные лампы, а также другие приборы, содержащие ртуть, представляют собой опасный источник токсичных веществ. Если лампы разбиваются, металлическая ртуть испаряется, попадая в окружающую атмосферу. При наличии в воздухе закрытых помещений паров ртути в концентрации 0,1-0,8 мг/м³ наблюдаются острые отравления людей. Предельно допустимая концентрация (ПДК) паров ртути в воздухе закрытых помещений составляет 0,005 мг/м³.

Чтобы обезопасить окружающую среду от загрязнения ртутьсодержащими отходами необходимо разработать технологии и наладить производства по сбору и переработке таких отходов. Сейчас существует множество технологий по переработке, одной из которых является термическая демеркуризация. Эта технология наиболее развита, и дешевле аналогов, поэтому именно она планируется к применению на ООО «Эколамп».

Цели работы

Разработать технологию оказания услуги по утилизации люминесцентных ламп на предприятии ООО «Эколамп».

Задачи работы

обоснование применения существующей технологии переработки и проектирование производственных помещений;

составление производственно-финансового плана предприятия.

разработка мер по обеспечению безопасности труда и экологической безопасности;

1       Технология производства


1.1 Общие сведения


Люминесцентная лампа - газоразрядный источник света, световой поток которого определяется в основном свечением люминофоров под воздействием УФ излучения электрического разряда. Основной частью газоразрядных ламп является ртуть.

Различают две разновидности ртутных ламп:

лампы низкого давления-трубчатые люминесцентные лампы, содержание ртути в лампе ~60 мг;

лампы высокого давления (105-106 Па) и сверхвысокого давления (более 106 Па) - лампы типа ДРЛ, содержание ртути - до 120 мг.

В состав люминесцентной лампы входит стеклянная колба (обычно покрыта слоем люминофора - вещества, способного светиться, под действием внешних факторов, в частности под воздействием УФ излучения электрического разряда). При производстве ламп колбы подвергаются термовакуумной обработке; в колбу закачивается инертный газ при давлении 2,5 мм ртутного столба, насыщенный парами ртути.

Внутри лампы находятся вольфрамовые спирали, медно-никелевые выводы и латунные штырьки. Общее содержание металлов - 2 - 4%. [2]

Из органических компонентов в состав ламп входят полистирол, клей и гетинакс.

Первоочередной задачей при переработке отработанных ртутных ламп является их демеркуризация. Содержание ртути в твердых отходах процесса демеркуризации не должно превышать 2,1 мг/кг, в отходящих газах не более 0,0003 мг/м³. [13] Кроме того, при обогащении демеркуризованного стеклобоя выделяется пять концентратов цветных металлов:

алюминиевый (извлечение цоколей 92% при содержании около50%);

медно-никелевый (извлечение выводов 78% при содержании 35%);

медно-цинковый (извлечение латунных штырьков 93% при содержании 8%);

оловянно-свинцовый (извлечение припоя 48% при содержании 7%).

1.2 Выбор и обоснование технологии производства

переработка лампа люминесцентный экологический

В процессе термической демеркуризации происходит удаление ртути из раздробленных ртутьсодержащих ламп до остаточного содержания 2,1 мг/кг масс (ПДК для почв). Извлечение ртути из ламп происходит практически полностью. Установки демеркуризации работают под разрежением, исключающим выброс ртути в воздух рабочей зоны. [1]

Применение комплектных автоматизированных установок, а также напольного и подвесного транспорта позволяет создать непрерывный технологический процесс и сократить ручной труд на технологических переходах.

Применение герметичных металлических контейнеров, для хранения ламп и твердых ртутьсодержащих отходов позволяет механизировать погрузочно-разгрузочные, транспортные и складские работы и обеспечивает безопасность при транспортировке.

Выбор оптимальных проектных решений участка сепарации осуществлен с учетом обеспечения максимальной эффективности технологии - рациональной полноты извлечения ценных и удаления вредных компонентов, получения готовой продукции, удовлетворяющей требованиям действующих стандартов, безаварийности и бесперебойности работы (при заданной производительности). Рациональные параметры технологического процесса определены, исходя из характера взаимосвязей между отдельными технологическими операциями как элементами общей системы сортировки демеркуризованного стеклобоя.

Построение технологической схемы обогащения демеркуризованного стеклобоя люминесцентных ламп зависит от четырех основных условий: вещественного состава обогащаемого сырья; числа компонентов, которые должны быть удалены как вредные или бесполезные; числа компонентов, которые в данных технико-экономических условиях представляют практическую ценность и должны извлекаться в самостоятельные продукты; кондиций, предъявляемым к продуктам обогащения (полученные концентраты цветных металлов должны соответствовать требованиям стандартов на вторичные цветные металлы).

Исходя из вещественного и гранулометрического состава демеркуризованного стеклобоя, необходимости достаточно глубокого его обогащения (требования экологии и ресурсосбережения) с получением кондиционных для вторичной цветной металлургии концентратов технологическая схема обогащения должна включать следующие операции:

. Гравитационное обогащение методом аэросепарации с выделением люминофорсодержащего продукта (в виде тонкой фракции), тяжелой фракции (направляемой в операции грохочения, дробления и магнитной сепарации для выделения медноцинкового, медноникелевого, оловянно-свинцового и свинцового концентрата), и легкой фракции (направляемой в операцию грохочения для выделения алюминиевого концентрата и обезвреженного стеклобоя);

. Грохочение тяжелой фракции аэросепарации по классу 5 мм с выделением в подрешетный продукт латунных штырьков и припоя и вторичным грохочением подрешетного продукта по классу 2 мм с получением медно-цинкового концентрата (в класс - 5 + 2 мм переходят латунные штырьки) и оловянно-свинцового концентрата (в класс - 2 мм переходит припой);

З. Дробление класса + 5 мм тяжелой фракции для разъединения медно-никелевых выводов и свинцового стекла и магнитная сепарация дробленого продукта с выделением в магнитную фракцию медно-никелевых выводов (медно-никелевый концентрат), а в немагнитную - свинцового стекла (свинцовый концентрат). При необходимости немагнитная фракция периодически может направляться на грохочение по классу 5 мм для отделения алюминиевых цоколей (+5 мм);

. Грохочение легкой фракции аэросепарации по классу 20 мм с выделением в надрешетный продукт алюминиевых цоколей (алюминиевый концентрат), а в подрешётный - обезвреженного стеклобоя. [1]

Технология позволяет почти на 95% удалить из стеклобоя люминофор и выделить для вторичной цветной металлургии пять самостоятельных концентратов: алюминиевый (извлечение цоколей 92% при содержании около 50%), медно-никелевый (извлечение выводов 78% при содержании около 35%), медно-цинковый (извлечение латунных штырьков 93% при содержании около 8%), оловянно-свинцовый (извлечение припоя около 48% при содержании около 7%). Принятая технология не обеспечивает извлечение в самостоятельный продукт вольфрамовых спиралей, - из-за их низкого содержания в сырье это экономически нецелесообразно. [2]

Содержание металлических компонентов в хвостах обогащения не превышает 0,1%; содержание люминофора - менее 0,1%. Выход хвостов обогащения около 97%.

Хвосты обогащения представляют собой достаточно обезвреженный стеклобой, вторичное использование которого целесообразно и экологически оправдано. Отвальными являются лишь люминофорсодержащие хвосты (выход менее 3%). [2]

Отходами технологического процесса обогащения демеркуризованного стеклобоя является люминофорсодержащая пыль (тонкая фракция аэросепарации).

Распределение компонентов демеркуризованного стеклобоя по продуктам обогащения представлено в таблице 1.1.

Таблица 1.1 - Распределение компонентов демеркуризованного стеклобоя по продуктам обогащения в ходе технологического процесса [2]

Технологические операции и продукты обогащения

Выход продуктов, %

Распределение, % (от исходного)



Al

Cu-Ni

Латунь

Pb

 стекло

Люми нофор

Аэросепарация тяжелая фракция легкая фракция тонкая фракция

 2,88 94,24 2,88

 3 97 -

 91,42 8,58

 95,11 4,89

 49,56 50,44

 85,76 13,71

 - 5,94 94,06

Грохочение тяжелой фракции класс +5 мм класс - 5 мм

   2,18 0,7

   3 -

   87,73 3,69

   2,07 93,04

   0,23 49,33

   81,64 4,12

   -

Грохочение легкой фракции класс + 20 мм класс - 20 мм

   1,92 93,32

   92 5

   0,8 7,78

   0,52 4,37

   - 50,44

   1,29 12,42

   - 5,94

Магнитная сепарация магнитная фракция немагнитная фракция

  0,22  1,96

  -  3

  78,18  9,55

  -  2,07

  -  0,23

  6,4  75,24

  -


1.3 Основное технологическое оборудование


Основная технологическая установка, для переработки люминесцентных ламп, представляет собой комплекс устройств, которые обеспечивают закрытый производственный процесс с исходным сырьём на входе и переработанным сырьём на выходе. В таблице 1.2 приведены технические данные установки MRT Universal Lamp Processor.

Таблица 1.2 - Технические характеристики установки демеркуризации MRT Universal Lamp Processor [20]

Характеристика

Проект

Производительность, ламп/час, кг/час

200 50

Режим работы


Размеры ламп, макс: диаметр, мм длина, мм

 442 1600

Содержание ртути в исходном материале, %

менее 0,02

Содержание ртути в стеклобое - в отходящих газах, мг/кг, мг/м³

2,0 0,01

Количество сбросного газа, н м³/час

макс 10

Температура печи, оС

макс 550

Время разогрева печи, час

3,0

Разряжение в системе, мм. вод. ст.

не менее 10

Расход воды на охлаждение, м³/час

1,0

Расход сжатого воздуха, н м³/час

0,5

Установочная мощность, кВт

50

Масса установки, т

5

Габаритные размеры: длина, мм ширина, мм высота, мм

 10668 6345 4000


Основными элементами установки являются:

. Элеватор представляет собой цепной конвейер с крюками захвата люминесцентных ламп. Для предохранения ламп от повреждения и защиты обслуживающего персонала от поражения осколками, случайно сорвавшейся с конвейера, лампы установлен защитный кожух. В нижней части кожуха расположен съемной щиток, направляющий в сборник упавшие лампы.

. Приёмный стол является промежуточным звеном между элеватором и загрузочным устройством.

Приёмный стол состоит из четырех стоек, закреплённых на двух планках. К стойкам крепятся передвижные по высоте направляющие. Одна из планок стационарная, другая же может передвигаться при перестройке на лампы другой длины. На приёмном конце направляющих имеется петля из листового материала, которая служит как демпфирующее устройство.

. Устройство загрузочное предназначенное для загрузки люминесцентных ламп в окно дробилки.

Загрузочное устройство состоит из валов вращающихся в подшипниковых опорах, установленных на жёсткой раме. На валах установлены шкивы с клиновым ремнём, в котором закреплены штырьки, толкающие лампы. Для направления ламп в загрузочное окно дробилки имеются перестраиваемые направляющие, которые опираются на стойки. Для предотвращения выпадения ламп установлены ограничительные стенки.

. Дробилка предназначена для измельчения люминесцентных ламп диаметром от 25 до 40 мм и длиной от 450 до 1600 мм. и подачи стеклобоя через клапан к печи.

Дробилка состоит из корпуса, подвижных и неподвижных ножей, крышки и винтового транспортёра, расположенного в нижней части корпуса под ножами. Рабочим органом дробилки является ротор с билами, установленный в подшипниках качения. В качестве неподвижных ножей используются планки с пальцами (гребёнки), закреплённые с обеих сторон корпуса. В корпусе имеются два загрузочных (приёмных) окна со сменными уплотнениями соответствующими диаметру ламп, направляющие планки и линейки, обеспечивающие подачу лампы к ножам. В зависимости от исполнения дробилки одно из окон является рабочим, другое заглушено пробкой. Рабочим органом винтового транспортёра является шнек.

. Бункер-дозатор предназначен для складирования ламп при ручной загрузке и поштучной подачи их в дробилку.

Бункер-дозатор состоит из собственно бункера, в нижней части которого расположено дозирующее устройство, и съёмной крышки. Рабочим органом устройства является барабан с пазом, который обеспечивает подачу ламп из бункера в дробилку. Для предотвращения выделения технологических газов из бункера во время загрузки ламп зазор между барабаном дозатора и его корпусом уплотняется листовой резиной, укреплённой на барабане и свободно прилегающей к внутренней поверхности корпуса. Барабан установлен в подшипниках качения. Вращение барабана осуществляется от привода, состоящего из электродвигателя и червячных редукторов, соединённых последовательно. Крышка бункера откидывается на петлях. Уплотнение бункера осуществляется замками при помощи резиновой прокладки.

. Дробилка ртутьсодержащих отходов предназначена для измельчения битых ламп, горелок ламп ДРЛ и других ртутьсодержащих отходов.

Дробилка состоит из бункера, съёмной крышки, шибера, расположенного в нижней части бункера и регулирующего, подачу материала в зону измельчения, и дробилки. Бункер выполнен из листовой стали, крышка бункера откидывается на петле. Уплотнение бункера осуществляется откидными болтами при помощи резинового шнура. Шибер открывается вручную при помощи ручки. Дробилка щекового типа с неподвижными ножами (щека). Рабочим органом дробилки является ротор с щекой, на которых закреплены молотки. С двух сторон загрузочного отверстия в корпусе установлены планки с пальцами (гребенки). Ротор установлен на подшипниках качения. Вращение ротора осуществляется от привода, состоящего из электродвигателя и клиноремённой передачи.

. Клапан предназначен для перемещения стеклобоя из аппаратов установки и разобщения их газового пространства в момент перегрузки стеклобоя.

Клапан состоит из двух конусов попеременного действия. Угол раскрытия конусов составляет 50°. Открытие и закрытие конусов осуществляется электроприводом. Плотность прилегания конусов обеспечивается противовесами. Электропривод состоит из электродвигателя мощностью 0,18 кВт, клиноремённой передачи, червячного редуктора и цепной передачи на кулачки вала конуса. При вращении валов кулачков происходит попеременное опускание конусов. Причём один из конусов всегда закрывает сопрягаемое отверстие.

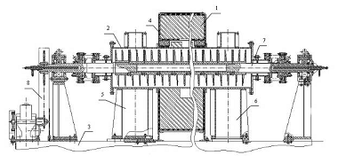
. Печь демеркуризации предназначена для термической обработки стеклобоя. Рис. 1.1

Рисунок 1.1 Печь демеркуризации

Основными узлами печи демеркуризации являются: нагревательная камера (печь) (1) и винтовой транспортёр (2), установленные на раме (3). Печь состоит из корпуса и крышки, футерованных легковесным шамотом, и нагревателей (4), размещенных на боковых поверхностях корпуса. Нагреватели зигзагообразного типа выполнены из проволоки, монтируются на штырях, закрепленных в футеровке. В печи имеется две зоны нагрева. Винтовой транспортёр состоит из корпуса, шнека, подшипниковых опор, уплотнений и привода вращения шнека. В связи с повышенной химической активностью перерабатываемого материала при 550°С все детали, соприкасающиеся с материалом и технологическими газами выполнены из коррозионностойкой стали. Корпус установлен на двух опорах (5, 6), одна из которой имеет возможность перемещаться при температурном удлинении корпуса. Внутри корпуса размещён шнек (7), установленный на двух водоохлаждаемых подшипниковых опорах. Шнек представляет собой трубу, на которую одеты секции в виде колец с шарнирными замками по торцам, причём первая секция закреплена на валу шнека. К каждой секции приварены витки. При сборке секций одна за другой витки составляют непрерывную винтовую поверхность. Корпус герметизирован сальниковым уплотнением с применением сильфона. Зубчатая муфта, соединяющая крышку сальникового уплотнения и корпус, предотвращает передачу крутящего момента на сильфон. Вращение шнека осуществляется при помощи привода (8), состоящего из электродвигателя, цилиндрического редуктора, клиноремённой и цепной передач.

. Конвейер винтовой предназначен для охлаждения и транспортировки обожённого стеклобоя к месту извлечения цветных металлов.

Конвейер состоит из водоохлаждаемого корпуса, в котором размещён шнек. Шнек, установлен на подшипниках качения. Вращение шнека осуществляется при помощи моторедуктора.

. Фильтр предназначен для очистки газа технологического от стеклянной пыли, люминофора и дожигания смолистых органических веществ.

Фильтр состоит из корпуса, нижний фланец которого через сильфон соединён с печью демеркуризации. Внутри корпуса размещён фильтровальный рукав из металлоткани. Внутри рукава расположен дожигатель. Дожигатель представляет собой нагревательный элемент, расположенный в керамических каналах. Для предотвращения перегрева ткани и увеличения пути контакта газов с нагревателем дожигателя нагреватель экранизирован стальной трубой.

. Конденсатор предназначен для охлаждения технологического газа и конденсации паров ртути.

Конденсатор типа труба в трубе. Поверхность конденсации отделена от основного объема металлосеткой. Для сбора конденсата внизу для сбора ступпы - ртутного концентрата. Отвод технологического газа проводится по центральной трубе к адсорберу.

. Адсорбер предназначен для санитарной очистки технологического газа от паров ртути.

Адсорбер кольцевого типа. В центре аппарата установлен рукав, заполненный сорбентом. Рукав представляет собой металлический каркас, обтянутый сеткой. Рукав закреплён на крышке абсорбера. Выгрузка отработанного сорбента производится вручную через нижний фланец при помощи скребка. Подвод газа осуществляется через трубу, приваренную тангенсциалъно к корпусу. Отвод через центральную трубу.

13. Конвейер с магнитоуловителем

. Электрооборудование, КИП и автоматика установки.

. Грохот инерционный ГИТ - 0,63х2-М      2 шт.

. Железоотделитель шкивной                       I шт.

. Дробилка щековая ДЛЩ 80х150              

. Аэросепаратор горизонтальный              

1.4 Технология производства


Описание технологического процесса

1. Разборка ламп

. Загрузка ламп в дробилку из накопителя

. Измельчение ламп в дробилке

. Загрузка стеклобоя в печь

. Термообработка стеклобоя

. Обработка технического газа

. Разделение сырья на фракции (тяжелая, легкая, тонкая)

. Извлечение из тонкой фракции люминофора.

. Грохочение тяжёлой и легкой фракций.

. Извлечение из тяжелой фракции тяжелых металлов (Cu, Pb, Ni, Sn)

. Извлечение из легкой фракции стекла и алюминия.

Отработанные лампы поставляются автотранспортом в герметичных металлических контейнерах на склад предприятия. Транспортировка в зону хранения сырья и отходов демеркуризации и складирование осуществляется платформенной тележкой.

Из зоны хранения сырья контейнеры с лампами перемещаются тележкой. Люминесцентные лампы к установке, дугоразрядные и цокольные - на разборку в цех разборки. Разборка ламп осуществляется на столе, покрытом листовой нержавещей сталью, с отбортовкой 10 мм, бортовыми отсосами и ловушкой для ртути.

Стеклянные колбы и металлическая арматура ДРЛ укладываются в отдельные контейнеры и вывозятся в зону хранения отходов демеркуризации, а затем в соответствии с графиком вывоза.

Горелки ДРЛ и битые лампы ЛЛ складываются в контейнеры и поставляются напольными тележками к установке и подаются в дробилку ртутьсодержащих отходов.

Дробление ламп в дробилке установки происходит до размера 40 мм.

Винтовым транспортером дробленый стеклобой подается через клапан в электропечь установки на термообработку. В печи бой ламп нагревается и перемещается вдоль печи с помощью шнека. В процессе термообработки поддерживается температура 550°С, достаточная для обеспечения быстрого перехода ртути в газовую. Время пребывания материалов в печи - около 20-30 минут.

Обожженный (демеркуризированный) стеклобой, состоящий из отходов стекла, цветных металлов и люминофора, выгружается из печи на винтовой конвейер с водоохлаждаемым корпусом, где происходит охлаждение стеклобоя до 20°С, из него подается на участок обогащения.

Ртуть в печи переходит в газообразное состояние и уносится из нее сжатым воздухом в фильтр-дожигатель. В фильтре-дожигателе технологические газы очищаются от стеклянной пыли и люминофора, а органика разлагается на CO2, газ и воду.

Стеклянная пыль и люминофор, стряхиваемый с рукава фильтра, попадает обратно в печь и удаляется из нее вместе со стеклобоем. Очищенный от пыли технологический газ через боковой патрубок поступает на конденсацию в конденсатор, охлаждаемый водой. Ртутъсодержащий шлам (ступпа), содержащий до 70% масс металлической ртути, стекает на водоохлаждаемый поддон конденсатора и периодически (1 раз в год) извлекается из него в герметичный металлический контейнер, который вывозится в зону хранения.

Выходящие из конденсатора технологические газы направляются на доочистку в рукавный фильтр и после него подвергаются санитарной очистке в адсорбере на поглотителе паров ртути.

Очищенные технологические газы, содержащие ртуть в количестве 0,01 мг/м³, что соответствует ПДК ртути в воздухе рабочей зоны, после повторной очистки выбрасываются в атмосферу.

Загрузка сорбента в адсорбер производится через верхний фланец, а удаление - через нижний шибер.

Отработанный сорбент, содержащий около 10% масс ртути, удаляется из адсорбера по мере насыщения в герметичные контейнеры и на тележке вывозятся в зону хранения.

В зоне хранения отработанный сорбент, как и ступпа, хранятся не более суток и направляются на ртутный комбинат на переработку.

Демеркуризованный стеклобой (отходы термической демеркуризации ртутных ламп) подаётся из термического отделения, конвейером, в приёмную воронку горизонтального аэросепаратора, в котором потоком воздуха делится на три фракции - тяжелую, легкую и тонкую.

Тяжёлая и легкая фракции подвергаются раздельному грохочению (на грохотах типа ГИТ 0,63 х 2М), а тонкая фракция, содержащая преимущественно люминофор и пыль, выводится из процесса (отвальные хвосты); выход отвальных хвостов - около 3%. [2]

Тяжелая фракция аэросепарации поступает на двухдечный вибрационный грохот, на котором выделяются два готовых концентрата: медно-цинковый (класс - 5…+2 мм) и оловянно-свинцовый (класс - 2 мм). Надрешётный продукт двухдечного грохота (класс + 5 мм) подвергается дроблению в щековой дробилке 80х150 и затем - магнитной сепарации на ленточном конвейере с магнитным шкивом с выделением двух концентратов: медно-никелевого - (магнитная фракция) и свинцового (немагнитная фракция).

Лёгкая фракция разделяется на грохоте по классу 20 мм с выделением алюминиевого концентрата (класс + 20 мм) и обогащенного демеркуризованного стеклобоя.

В случае обогащения переизмельченного демеркуризованного стеклобоя до 50% алюминиевых цоколей может содержаться в классе

20 + 10 мм - первоначальная форма цоколей в этом классе не сохраняется, преобладают деформированные цоколи, часто с запрессованными внутри осколками стекла.

В этом случае для обеспечения полноты извлечения алюминия и качества концентрата необходимо при грохочении легкой фракции использовать двухдечный грохот с решетами соответственно 20 мм и 12 мм: при таком грохочении существенно повышается извлечение алюминия и несколько снижается загрязнение алюминиевого концентрата стеклом (по сравнению с грохочением только по классу 12 мм).

Мощность и режим работы производства

Мощность установки составляет 200 ламп в час,

тысяч штук в год, из них:

ламп люминесцентных - 700 тысяч штук;

ламп дугоразрядных ртутных - 68 тысяч штук.

Режим работы участка - 240 рабочих дней в году, на установке работа двухсменная, по 8 часов в смену.

Характеристика и годовой расход сырья представлены в таблице 1.3.

Характеристика и годовой объём производства представлены в таблице 1.4.

Таблица 1.3 - Характеристика и расход сырья

Наименование

Обозначение ГОСТ

Характеристика готовой продукции.

Расход в год. штук

Тара, упаковка

1. Отработанные люминисцентные лампы (ЛЛ)

 -

Содержание компонента, в%: - стекло 90.58 -94.92; - металлы 1.62 -4,  â т.ч. ртуть 0.02; прочее (мастика, люминофор) 1.76 -5.2; масса, г 93 -391

 700

Герметичный металлический контейнер

2. Отработанные ртутные дуговые лампы (ДРЛ)


Содержание ртути не более, % 0.05; масса, г 107,0-

 68

Герметичный металлический контейнер

3. Сорбент - ХПР-3п

ТУ 6-17-579539-112-90

Гранулы чёрного цвета размером 0.5-3.0 мм Содержание хлористого железа 18-25%

 280

 Бочка


Таблица 1.4 Характеристика выпускаемой продукции

Наименование

Обозначение ГОСТ

Характеристика готовой продукции.

Объём в год, кг

Тара, упаковка

1. отходы ртутьсодержащие

ГОСТ 1639-78 Класс Е




Ступпа

I сорт

Шлам, состоящий из сконцентрировавшейся капельной ртути, влаги, люминофора, порошкообразного стекла. Содержание ртути до 70% по массе металлической ртути.

71,4

Металлический герметичный контейнер

Отработанный сорбент

II сорт

Гранулы чёрного цвета, содержащие ртуть и незначительное кол-во порошкообразных веществ. Содержание ртути до 10% по массе металлической ртути.

308

Металлический герметичный контейнер

3. Колбы ртутных ламп ДРЛ


Стекло (4 класс опасности)

12 150


4. Демеркуризованный стеклобой, включающий:


Содержат: стекла - 97-98%; люминофора - 0.2%; цветных металлов (алюминиевого и медно-никелевого концентрата) - 2-3% (4 класс опасности)

200 000     - 191 000  - 4 200  - 2 940  - 672  - 336 - 252


отходы стекла





Алюминий





Медь





Никель





Свинец





Олово






1.5 Организация производственных помещений

 

Пространственное размещение цехов

Для размещения производства арендуется здание в промышленной зоне г. Новосибирска. Размеры помещения определяются размерами рабочей установки, объёмами хранимого на складе сырья. Размеры и расположение помещений производства представлены на Рис. 1. приложения А.

Площадь главного цеха 278 м², позволяет разместить производственную установку и производить транспортировку сырья. Для управления установкой в главном цеху на возвышении 5 м. расположена остекленная операторская кабина с пультом управления установкой. Для проведения ремонта или замены оборудования в торцевой части цеха расположены ворота.

Склад предприятия площадью 68 м² предназначен для хранения поступающего и готового сырья, а также для проведения погрузочных работ. Для этого он оборудован подвесным краном и воротами.

Разборочный цех имеет площадь 68 м² и предназначен для разборки люминесцентных ламп и дальнейшей передачи их на склад. Данный цех оборудован разборочными столами с индивидуальными вытяжками и отсосами для ртути.

Бытовые помещения занимают площадь 50 м² и включают в себя раздевалку, душевую и туалет.

Вентиляция и отопление

Исходя из категорий выполняемых в цехе работ по тяжести, характеристики производственных помещений по избыткам явного тепла, с учетом периодов года (теплый, холодный) устанавливаются параметры воздушной среды для рабочей зоны производственных помещений в соответствии с требованиями ГОСТ 12.1.005-88 (табл. 1.5)

Таблица 1.5 - Значения принятых параметров воздушной среды в рабочей зоне [16]

Характеристика производственных помещений по избыточным тепловыделениям

Категория работ по тяжести

На постоянных рабочих местах

Температура воздуха вне постоянных рабочих мест, ºС



температура воздуха, оС

относительная влажность, %

скорость движения воздуха, м/с


Холодный период года

менее 84 кДж/м²ч

I I б

28…30

менее 65

менее 0,5

11…15

Теплый период года

менее 84 кДж/м²ч

I I б

15…18

менее 60

0,3…0,7

Не более чем на 3ºС выше средней температуры

более 84 кДж/м²ч

I Iб

24…28

менее 50

0,1…1,0

То же


Для создания нормальных санитарно-гигиенических условий труда в производственном корпусе предусматривается естественная и общеобменная приточно-вытяжная вентиляция с механическим побуждением, а также система местных отсосов для удаления загрязненного воздуха.

Производительность вентиляции для каждого помещения рассчитывается по формуле:

L=N·S·H, где (1.1)

L - производительность вентиляции, м³/час; N - норма кратности обмена воздуха, для производственных помещений N = 3; S - площадь помещения, м²; H - высота помещения, м.

L - 3·500·5 = 7 500 м³/час.

Вентсистема состоит из воздуховодов диаметром 160 мм и двух приточно-вытяжных вентиляционных установок EPVS - 4000, по одной для главного цеха и остальных помещений.

В разборочном цехе над каждым рабочим местом подвешены вытяжки, соединенные с вытяжным вентилятором ВР-80-75, установленным на крыше.

Все помещения проектируемого производства отапливаемые.

Расчет отопления помещений выполнен в зависимости от их назначения и в соответствии с санитарными нормами.

Система отопления запроектирована водяная двухтрубная, подключение ее выполнено через элеваторное присоединение.

В качестве нагревательных приборов применены регистры из гладких труб с регулировкой нагрева для помещений зоны хранения и участка демеркуризации отработанных ртутных ламп; в бытовых помещениях и в разборочном цеху применены радиаторы. Температура на поверхности нагревательных приборов в производственном помещении предусмотрена 80°С и ниже [12].

Для обогрева 1 м² помещения высотой 5 м необходимо около 500 см² поверхности нагревательного элемента. [10]

Исходя из этого, для обогрева разборочного цеха и бытовых помещений общей площадью 180 м² потребуется 90000 см² поверхности нагревательного элемента. Это составит 18 регистров стандартных чугунных радиаторов. Для обогрева главного цеха нужно 160000 см² поверхности нагревательного элемента. Если в качестве нагревателей использовать стальные трубы диаметром 100 мм., то потребуется 26 м труб. Система теплоснабжения изображена на Рис. 2 приложения А.

Воздухоснабжение

Годовая потребность в сжатом воздухе для производства составляет 15600 м³ (6,0 м³/ч). [20]

Осушенный и очищенный от масла (класс загрязненности - 1) сжатый воздух давлением 4-6 кгс/см² подается к установке по трубопроводу от компрессора Tecom S 75, установленного в компрессорной.

Водоснабжение

Для данного производства предусматривается снабжение холодной и горячей водой от централизованной системы водоснабжения: холодная вода - не менее 1 м³ в час, горячая вода - 6 м³ в сутки. Вода используется в целях санитарии, а также для охлаждения конденсатора паров ртути.

Система водоснабжения имеет два контура: один питает установку и снабжается холодной водой, второй - для бытовых нужд с холодной и горячей водой. Первый контур состоит из трубопровода диаметром 1 дюйм и длиной 18 м, второй проложен трубами диаметром ½ дюйма и длиной 44 м.

Электроснабжение

Для работы установки демеркуризации и других систем, производство обеспечивается электроэнергией переменного трехфазного тока напряжением 380 В. и однофазного напряжением 220 В. Для этого на производственной площади устанавливается электроподстанция мощностью 150 кВт./час. Элементы управления электросистемой располагаются на щитке в главном цехе и в электрощитовой.

Монтаж электропроводки осуществляется проводом ПМТККнг - 0,2 с тремя или четырьмя жилами для одно- и трёхфазного токов соответственно. Общая длина системы - 130 м.

Для обеспечения электробезопасности в электрощитовой установлены автоматические выключатели ВА50-45 на 220 В и 380 В.

Схема электросети изображена на Рис. 3 приложения А.

Естественное освещение

Естественное освещение предусматривается для помещений с постоянным пребыванием в них людей.

Площадь световых проемов при боковом освещении определяется по формуле: [5]

Sо=, (1.2)

где Sо - площадь боковых проемов при боковом освещении, м²; ен - коэффициент естественного освещения (КЕО); КЕО для VIII разряда зрительной работы в главном цеху, ен = 0,3; для IV разряда в разборочном цеху ен = 0,7; kз - коэффициент запаса, принимается в зависимости от назначения: при наличии пыли, дыма, щелочей и др. принимаем kз = 1,5;  - световая характеристика окон, = 6; Sп - площадь пола помещения, м²; - общий коэффициент светопропускания, = 0,63; [18]

Таким образом, для главного цеха площадь поверхности окон составит:о = = 11,9 м²,

Для разборочного цеха:о = = 6,8 м²

Искусственное освещение

Расчет для главного цеха производится по следующим формулам [6]:

N = , (1.3)

где N - число светильников;

Ен - нормированная освещенность, лк; Ен = 300 лк;- площадь освещаемого помещения, м²; S = 278 м²;з - коэффициент запаса, принимается в зависимости от назначения: при наличии пыли, дыма, щелочей и др. kз = 1,3-1,7, принимаем kз = 1,5;         - коэффициент минимальной освещенности; z = 1,2;

Фл    - световой поток одной ДРЛ лампы, лм; Фл = 12500 лм;

      - коэффициент использования светового потока;  = 0,7;         - количество ламп в светильнике, n = 2;

i - коэффициент высоты подвеса,

i =, (1.4)

где i - индекс помещения;

А - ширина помещения, м; А = 12 м;

В-длина помещения, м; В = 24 м;

Нп - высота подвеса светильников, м; Нп = 7 м.

i =  = 1.14.=  = 7.52; Устанавливаем 8 светильников РСП 05-250-001 в два ряда по 4 светильника.

Санитарно-бытовые помещения

Для удовлетворения санитарных и бытовых нужд работающих на предприятии предусматривается строительство специальных помещений. Состав санитарно-бытовых помещений определяется на основе санитарной характеристики производственных процессов в цехах и в соответствии с требованиями СНиП 23.05.95.

В проекте производится расчет рабочей площади вспомогательного здания, куда входят помещения, предназначенные для обслуживания работающих.

Полезная площадь здания определяется как сумма рабочей площади и площадей тамбуров, коридоров, переходов, лестничных клеток и т.д., принимаемых по укрупненному показателю - как часть от рабочей площади (10…15%). [15]

Расчет необходимых площадей для санитарно-бытовых помещений представлен в таблице 1.6.

Таблица 1.6 - Данные расчета площадей помещений санитарно-бытового назначения

Назначение расчетной площади

Норма площади на одного человека, м²

Количество человек, на которые ведется расчет

Всего площади, м²

Раздевалка

1,20

7

7,2

Душевые

1,20

7

7,2

Санузел

1,20

7

7,2


Санитарно-бытовые помещения на плане цеха располагаются таким образом, чтобы исключить воздействие на эти помещения вредных производственных факторов.

2. Экономические показатели проекта


2.1    Затраты на приобретение оборудования


В данную статью расходов включаются стоимость производственного и вспомогательного оборудования предприятия. Статьи и стоимость расходов перечислены в таблице 2.1

Таблица 2.1 Сумма затрат на приобретение оборудования

Наименование оборудования

Количество

Цена за единицу, руб.

Всего, руб.

Установка демеркуризации MRT Universal Lamp Processor

1

5 194 000

5 194 000

Компрессор Tecom S 75

1

134 000

134 000

Контейнер герметичный для хранения ртути

4

7 000

28 000

Контейнер для хранения сырья

6

1 000

Тележка платформенная

1

11 000

11 000

Вентилятор радиальный ВР-80-75

1

18 400

18 400

Приточно-вытяжная вентиляционная установка EPVS - 4000

2

92 000

184 000

Автоматический выключатель ВА50-45

2

12 400

24 800

Всего:



5 600 000


2.2    Затраты на подготовку производства


Срок подготовки производства составляет 6 месяцев. В этот период производятся строительные работы, монтаж коммуникаций, установка оборудования.

Данный проект предполагает, что в арендованном помещении необходимо провести подготовительные работы, а именно: монтаж оборудования, возведение кирпичных перегородок между помещениями, дверей, окон; монтаж систем отопления и вентиляции, водоснабжения, воздухоснабжения, электроснабжения. Данные работы проводятся по проекту с привлечением подрядных организаций. В таблице 2.2 указаны наименование работ, их объём и стоимость с учетом стоимости материалов.

Таблица 2.2 Затраты на подготовку производства

Наименование работ

Объём работ

Стоимость, руб.

Возведение перегородок

54 м³

202 500

Монтаж электросистемы

130 м

92 900

Монтаж системы воздухоснабжения

18 м

7 250

Монтаж вент. системы

70 м

70 000

Монтаж системы водоснабжения

62 м

8 100

Монтаж отопительной системы

84 м

57 050

Монтаж дверей, окон

23 м² окон, 42 м² дверей

84 075 199 300

Монтаж оборудования


276 000

Монтаж противопожарной системы


113 000

Всего:


1 110 175


Сумма первоначальных затрат составит:

∑ПЗ= 5 600 000+1 110 175 = 6 710 175 руб.

2.3    Расчет годовой суммы затрат


Годовые амортизационные отчисления

В данном случае амортизация будет начисляться линейным способом при сроке службы 10 лет, значит, норма амортизации будет составлять [4]:

НА= = =10% (2.1)

В список основных средств производства входят:

- установка демеркуризации MRT Universal Lamp Processor;

- компрессор Tecom S 75;

вентилятор радиальный ВР-80-75;

приточно-вытяжная вентиляционная установка EPVS - 4000;

Стоимость основных средств производства составляет

∑СП=5194000+134000+184000+28000=5 530 400 руб. соответственно, годовая сумма амортизационных отчислений составит:

А= = = 553 040 руб.

Затраты на оплату труда

В таблице 2.3 указан годовой фонд оплаты труда для каждой должности за вычетом НДФЛ (ГФОТ)

Таблица 2.3 Годовой фонд оплаты труда

Должность

Количество

ГФОТ, руб

Оператор установки

1

480 000

Разборщик

2

360 000

Грузчик

2

360 000

Уборщик

2

288 000

Бухгалтер

1

480 000

Всего:

8

1 968 000


Страховые начисления составляют:

СН = 1 968 000 ∙30% / 100% = 590 400 руб.

Взносы по травматизму 22 класс профессионального риска - 3,4%:

Вт= 1 968 000 ∙3,4% / 100% = 66 912 руб.

Годовая сумма затрат на оплату труда составит:

∑ОТ = 1 968 000 + 590 400+66 912 =2 625 312 руб.

Затраты на аренду и коммунальные услуги       

Годовые затраты на аренду помещения площадью 500 м² в г. Новосибирске:

∑Ар = S ∙ 12 ∙ Амес = 500 ∙ 12 ∙ 150 = 900 000 руб.

Затраты на электроэнергию:

∑Эл = N ∙ TРАБ∙ Д ∙ P, где (2.3)

N - потребляемая мощность, кВт /час;

N установки - 80 кВт /час; N освещения - 2,6 кВт /час; N компрессора - 7 кВт /час; N вентиляционных установок - 7,5 кВт /час;

TРАБ - продолжительность рабочего дня;

Д - количество рабочих дней в году;

P - стоимость 1 кВт / час, P=2,2 руб. /кВт / час;

∑Эл = 97,1 ∙ 16 ∙ 240 ∙ 2,2 = 820 300 руб.

Затраты на теплоснабжение:

∑ ТС = P·М·S, где (2.4)

P - цена за Гкал за м², П = 796,87 руб. /Гкал;

М - количество холодных месяцев в году;

S - площадь помещений.

∑ ТС = 796,87 · 7 · 504 = 2 811 357, 36 руб.

Затраты на водоснабжение:

В= Q · Д · (P + Pc), где (2.5)

Q - расход воды за рабочий день, л;

Д - количество рабочих дней;

Pх - цена за м³ воды, Pх =11,47 руб., Pг =74,10 р

Pc - цена за м³ стока Pc=7,72 руб.

Вх = 16 ∙ 240 ∙ (11,47 +7,72) = 73689,6 руб.

Вг = 6 · 240 · (74,10 +7,72) = 117 820,8 руб.

Итого: 5 314 523,36 руб.

Затраты на покупку расходных материалов

Годовые затраты на приобретение расходных средств:

сорбент - ХПР-3п, расход - 280 кг. в год. Стоимость - 420 руб./кг. Затраты на сорбент - С= 280 · 420 = 117 600 руб.

средства для уборки помещений: Суп = 960 руб.

Всего: 118 560 руб.

Итого сумма годовых затрат составит:

∑ГЗ= 5 314 523 +2 625 312 +118560 = 8 611 435 руб.

2.4    Расчет экономических показателей


Определение годовой суммы чистой прибыли

Цена утилизации одной люминесцентной лампы на ООО «Эколамп» составляет 14 руб., одной лампы ДРЛ - 7 руб. Цена утилизации 700 000 люминесцентных и 68 000 ламп ДРЛ составит:

Цу= 14∙700000 + 7∙68000 = 10 276 000 руб.

Годовая выручка от продажи извлеченного лома металлов представлена в таблице 2.3:

Таблица 2.3 - Данные о произведенном ломе металлов

Наименование продукции

Объём продукции, кг

Стоимость руб./кг.

Стоимость продукции, руб.

Ртуть

42

3000

126 000

Алюминий

4 200

101,3

425 460

Медь

2 940

180

529 200

Никель

672

30

20 160

Свинец

336

40

13 440

Олово

252

600

151 200

Всего:



1 265 460


Выручка от продажи 191 т. стеклобоя:

Стоимость стеклобоя - 1300 руб./т.

Вс = 191· 1300 = 248 300 руб.

Итого годовая сумма выручки составит:

Вг =10276000+248300+1265460= 11 789 760 руб.

Валовая прибыль:

ПРв = Вг - ∑ГЗ = 11 789 760 - 8 611 435 = 3 178 325 руб.

Налоговые отчисления:

Налог на прибыль 20%

∑НО= 3 178 325/100 · 20 = 635 665 руб.

Чистая прибыль:

ПРч = ПРв -∑НО = 3 178 325 - 635 665 = 2 542 660 руб.

Уровень рентабельности [9]:

     (2.6)

Полная себестоимость = ∑годовых затрат + ∑налог на прибыль -

611 435 + 635 665 = 9 247 100 руб.

= 27,5%

Срок окупаемости:

Срок окупаемости = =964 дня, или 2 года, 234 дня.


3. Обеспечение безопасности производства


Данный раздел содержит комплекс технологических и технических решений социального характера, имеющих целью создание на проектируемой фабрике наиболее благоприятных условий труда, защиты окружающей среды.

3.1 Общие решения по охране труда


Переработка ртутных ламп является источником выделения вредных веществ в окружающую среду, поэтому устанавливается санитарно-защитная зона. Для предприятий II класса в соответствии с СанПиН. 2.2.1/2.11. - 567.96 санитарно-защитная зона равна 1000 м [15].

Цех переработки располагается с подветренной стороны по отношению к жилому району и административно-бытовым зданиям.

Для создания наилучших условий аэрации и естественного освещения производственное здание однопролетное.

Стены зданий с оконными проемами, используемыми для аэрации помещений, ориентированы на плане перпендикулярно к преобладающему направлению ветров летнего периода.

Для складирования грузов отводятся специальные места.

Все площадки, расположенные на высоте 0,6 м от пола и более, лестницы, переходные мостики, проемы, люки, канавы и пр. ограждаются перилами высотой не менее 0,9 м со сплошной обшивкой по низу на высоту 0,14 м.

Поверхность полов производственных помещений для удобства очистки располагается под углом 5º к горизонту. Ширина дренажных канав - 250 мм. [7]

Для ухода за остекленными поверхностями обеспечивается свободный доступ к ним на разных уровнях: внутри здания устанавливаются специальные мостики, снаружи - подвесные люльки.

Санитарно бытовые помещения расположены в отдельном отсеке помещения, отделённом от производства герметичными дверьми.

3.2 Анализ условий труда


Условия труда - это комплекс факторов производственной среды: социально-экономических, технических, организационных и естественно-природных, оказывающих влияние на здоровье и работоспособность человека в процессе труда.

Все эти факторы взаимосвязаны и влияют на производительность труда, уровень травматизма и профзаболеваний.

При функционировании производственного процесса могут проявляться потенциально опасные и вредные факторы, в результате воздействия которых возможно возникновение несчастных случаев либо заболеваний.

Анализ потенциально опасных и вредных факторов

Анализ условий труда имеет основное значение для разработки мероприятий, обеспечивающих защиту работающих от опасных и вредных производственных факторов.

Результаты анализа представлены в таблице 3.1. Меры защиты от выявленных опасных факторов представлены в таблице 3.2.

Таблица 3.1 - Анализ потенциально опасных и вредных производственных факторов [5], [7]

Наименование выполняемой операции

Продолжительность операции

Агрегат, оборудование

Опасные и вредные факторы (по ГОСТ 12.0.003-74)

Дробление

непрерывно

Щековые дробилки

Повышенный уровень шума на рабочем месте (ПДУ = 80 дБА, УЗД = 90 дБА) Повышенный уровень вибрации (f = 16 Гц, ПДУ = 92 дБ) Опасный уровень напряжения в электроцепи (U = 380 В, I = 12 А, f = 50 Гц), замыкание которой может пройти через тело человека (Uн=2 В, Iн=0.3мА) Повышенная запыленность воздуха в рабочей зоне (ПДК SiO2 = 1 мг/м³) Незащищенные подвижные элементы производственного оборудования, а также движущиеся машины и механизмы

Грохочение

непрерывно

грохота вибрационные

Повышенный уровень шума на рабочем месте (ПДУ = 80 дБА, УЗД = 90 дБА) Повышенный уровень вибрации (f = 16 Гц, ПДУ = 92 дБ) Опасный уровень напряжения в электроцепи (U = 380 В, I = 12 А, f = 50 Гц), замыкание которой может пройти через тело человека (Uн=2 В, Iн=0.3мА) Повышенная запыленность воздуха в рабочей зоне (ПДК пыли Hg = 0,00001 мг/м³) Незащищенные подвижные элементы производственного оборудования, а также движущиеся машины и механизмы.


Таблица 3.2 - Технические меры защиты от опасных и вредных производственных факторов

Опасный или вредный фактор производственной среды

Проектируемое защитное устройство

Повышенный уровень шума на рабочем месте

противошумные устройства, кабина для оператора облицовка специальной плиткой

Повышенный уровень вибрации

Амортизаторы пружинные фундамент железобетонный

Опасный уровень напряжения в электроцепи, замыкание которой может пройти через тело человека

Заземление

Повышенная запыленность воздуха в рабочей зоне

Вентиляция

Незащищенные подвижные элементы производственного оборудования, а также движущиеся машины и механизмы

Ограждающие устройства решетки, сетки, кожухи со смотровым стеклом и т. д

Повышенная загазованность воздуха рабочей зоны

Местная вытяжная вентиляция


3.3 Разработка мер пожарной безопасности


В комплекс противопожарных мер входят предупреждение возникновения пожаров, ограничение распространения пожаров, создание условий для быстрой локализации и тушения пожаров.

С целью предупреждения пожаров и ограничения распространения огня предусматривают требуемую огнестойкость зданий, принимают необходимую площадку, разделяемую противопожарными преградами в соответствии с нормами этажности зданий, а также разрабатывают проектные решения по охране легковоспламеняющихся и горючих материалов. По степени огнестойкости помещения цеха относятся ко второй категории, так как несущие стены железобетонные (предел огнестойкости 1 час), перекрытия железобетонные (предел огнестойкости 1 час), полы цементные (предел огнестойкости 0,25 часа).

По характеристике веществ, находящихся в помещении, главный корпус относится к пожароопасной категории В.

Максимальные пределы распространения огня принимаются следующими: для несущих и наружных стен, лестничных площадок, ступеней - не допускаются, для внутренних стен - 40, для плит и настилов - 25. [14]

Допустимое расстояние от наиболее удаленного рабочего места до ближайшего эвакуационного выхода - 30 м.

Для пожаротушения в главном цеху проектируется пожарный кран высокого давления на 30 л/с, на складе, в разборочном цеху, компрессорной и бытовом отсеке устанавливаются углекислотные огнетушители. Все помещения оборудуются противопожарной сигнализацией.

3.4 Решения по охране окружающей среды


Технологический процесс по демеркуризации отработанных и бракованных ламп характеризуется выделением паров ртути.

Поддержка нормальных параметров воздушной среды в цехе демеркуризации обеспечивается системой местных отсосов и системой общеобменной вентиляции, исключающих содержание паров ртути в воздухе рабочей зоны.

Воздух, содержащий пары ртути, удаляется от технологического оборудования вентсистемой, а из рабочей зоны вентсистемой с резервным вентилятором. Воздух, удаляемый этими системами, очищается в адсорберах.

Технологический процесс по демеркуризации характеризуется 2-х ступенчатой очисткой паров ртути. Первая ступень санитарной очистки проходит в технологическом адсорбере, входящем в установку, а затем повторная (II-я ступень) очистки осуществляется в адсорбере совместно с выбросами вент. установки. [3]

Остаточное содержание паров ртути в атмосферном воздухе не превышает ПДК 0,0003 мг/м³ для населённых мест. [13]

Воздух рабочей зоны перед выбросом в атмосферу также очищается в адсорберах и содержание паров ртути в атмосферном воздухе от общеобменной вытяжной вентиляции отсутствует.

Вода, использованная при влажной уборке помещений цехов и склада, утилизируется в демеркуризационной печи.

Таким образом, установка для демеркуризации ртутьсодержащих ламп и отделение сепарации является экологически чистой и не представляет опасности для окружающей среды.

Расчет выбросов в атмосферу

Определение концентрации в атмосферном воздухе паров ртути, содержащихся в выбросах производства:

расчет приземной концентрации производится при условии [3]:

, при Н >10 м - Ф = 0,01 Н (3.1)

где М (г/с) - суммарное значение выброса

Н = 20 м - средневзвешенная по предприятию высота источника выброса - больше 10 м

Согласно исходным данным по технологии М = 7 мг/час, [20]

,

что значительно меньше допустимой величины 0,01, поэтому расчет приземной концентрации ртути может не производиться.


Заключение


В данной работе была разработана технология оказания услуги по утилизации люминесцентных ламп. Для этого была выбрана одна из технологий по демеркуризации и представлено обоснование её применения на производстве ООО «Эколамп», произведён расчет мощности производства, проект производственных помещений с коммуникациями.

Для данного предприятия были проведены расчеты по экономическому обоснованию проекта: представлены затраты на приобретение оборудования и на подготовку производства. Также, для обеспечения безопасности предприятия были приведены решения по охране труда и поддержания экологичности производственных процессов.


Библиографический список


1.  Гаев Ф.Ф., Ртутьсодержащие отходы и основные способы их переработки, - М.:, 2005.

2.      Гринин А.С., Новиков В.Н., Промышленные и бытовые отходы. Хранение, утилизация, переработка, - М.: Фаир-Пресс, 2002

.        Родионов А.И., Клушин В.Н., Систер В.Г. Технологические процессы экологической безопасности. - Калуга, Изд-во Н. Бочкаревой, 2000

.        Фёдоров Л.А., Голубцов В.В., Люкманов В.Б. Экономика и организация производства. - М.: Изд-во МИСиС. - 1999

.        Болгов И.В., Голиков А.М., Петросов С.П., Ставровский М.Е. Инженерное обеспечение оборудования предприятий сервиса. - М.: Изд-во МГУ, 2000

.        Анчарова Т.В. Осветительные сети производственных зданий. М.: 2008 г.

.        Арустамов Э.А., Воронин В.А., Зенченко А.Д. Cмирнов С.А. Безопасность жизнедеятельности. М.: 2006

.        Пугачевич П.П., Работа с ртутью в лабораторных и производственных условиях. М.:1972 г.

.        Алексеева А.И., Васильев Ю.В., Малеева А.В., Ушвицкий Л.И. Комплексный экономический анализ хозяйственной деятельности. М.: «ФИНАНСЫ И СТАТИСТИКА», 2006.

.        Дроздов В.Ф. Отопление и вентиляция. М.: Высшая школа., 1976.

.        Торговников Б.М., Проектирование промышленной вентиляции, справочник. М.: Наука, 1989.

.        СНиП 2.04.05-91 Отопление, вентиляция и кондиционирование.

.        ГН 2.1.6.1338-03 Предельно допустимые концентрации (ПДК) загрязняющих веществ в атмосферном воздухе населенных мест. Зарегистрировано в Минюсте РФ 11 июня 2003 г. №4679.

.        СНиП 21-01-97. Противопожарные нормы. М.: ЦНИИСК им. Кучеренко, 1997.

.        СНиП 11-90-81. Производственные здания промышленных предприятий. М., 1982.

.        ГОСТ 12.1.005-88 ССБТ. Общие санитарно-гигиенические требования к воздуху рабочей зоны.

.        СанПиН 4607-88. Санитарные правила при работе с ртутью, ее соединениями и приборами с ртутным заполнением. Главный государственный санитарный врач СССР А.И. КОНДРУСЕВ №4607-88 4 апреля 1988 г.

.        СНиП 23.05-95. Естественное и искусственное освещение.

.        СНиП 11-90-81. Производственные здания промышленных предприятий. М., 1982.

20.    http://www.mrtsystem.com/index.asp? page=40        

Похожие работы на - Проектирование услуги утилизации люминесцентных ламп на ООО 'Эколамп'

 

Не нашли материал для своей работы?
Поможем написать уникальную работу
Без плагиата!
Без нейросетей!