Организация работы в строительстве

  • Вид работы:
    Курсовая работа (т)
  • Предмет:
    Строительство
  • Язык:
    Русский
    ,
    Формат файла:
    MS Word
    45,23 Кб
  • Опубликовано:
    2013-04-15
Вы можете узнать стоимость помощи в написании студенческой работы.
Помощь в написании работы, которую точно примут!

Организация работы в строительстве

Содержание

 

Введение

1. Разработка календарного плана строительства

1.1 Определение объемов и трудоемкостей основных строительно-монтажных работ

1.2 Сетевой график строительства

1.3 Технико-экономическин показатели календарного плана

2. Разработка строительного генерального плана

2.1 Подбор башенного крана

2.2 Продольная и поперечная привязка крана

2.3 Расчёт временного электроснабжения

2.4 Определение потребности во временных зданиях и сооружениях

2.5 Расчёт временного водопровода

2.6 Технико-экономические показатели по проекту

3. Техника безопасности строительного процесса

Список используемой литературы

Введение

В курсовом проекте производится разработка проекта организации строительства девятиэтажного панельного двухсекционного жилого дома на 72 квартиры, возводимого во Владимирской области. Инженерно-геологические условия - обычные.

Здание представляет собой комфортабельный дом с малогабаритными размерами жилых комнат. Подвал, расположен под всем домом. В нем находится: коммунальные сети, кладовая, мастерская. Типовой план этажа секции включает однокомнатную, двухкомнатную, трехкомнатную и четырехкомнатную квартиры. Высота этажа - 2,800 м.

Основные конструкции и материалы:

Фундаменты - ленточные из сборных железобетонных плит.

Стены наружные - однослойные керамзитобетонные панели толщиной 350 мм.

Стены внутренние - сборные железобетонные панели толщиной 160 мм.

Перекрытия - сборные железобетонные плоские панели толщиной 220 мм.

Перегородки - сборные железобетонные панели толщиной 60 мм.

Вентблоки - сборные железобетонные толщиной 300 мм.

Лестницы - сборные железобетонные плоские марши и площадки.

Лоджии и балконы - сборные железобетонные плоские плиты толщиной 120 мм.

Ограждение лоджий - железобетонные сборные панели, толщ.40 мм.

Покрытие - ребристые комплексные трехслойные панели с эффективным утеплителем толщиной 350 мм.

Крыша - сборная железобетонная с теплым чердаком.

Кровля - рулонная трехслойная.

Двери наружные - деревянные, щитовой конструкции.

Двери внутренние - щитовой конструкции по серии.

Окна - деревянные, со спаренными переплетами.

Полы - теплыйоизоляцион линолеум, керамическая плитка.

Внутренняя отделка:

В комнатах и передних - оклейка обоями улучшенного качества, кухнях, уборных и ванных - масляная окраска панелей с частичной облицовкой плиткой, высококачественная клеевая окраска.

Инженерное оборудование:

Водопровод - хозяйственно-питьевой от внешних сетей. Расчетный напор у основания стояка 38,20 м.

Канализация - хозяйственно-бытовая, в городскую сеть. Водосток внутренний с выпуском в сторону оси "Ес".

Отопление - пофасадное водяное центральное, система однотрубная с конвекторами.

Вентиляция - естественная.

Горячее водоснабжение - от внешней сети. Расчетный напор у основания стояка 37,10 м.

Газоснабжение - от внешней сети к кухонным плитам.

Электроснабжение - от внешней сети, напряжение - 380/220 В.

Освещение - лампами накаливания.

Устройство связи - радиотрансляция, коллективные телеантенны, телефонные вводы.

Мусоропровод с камерой на 1 этаже.

Лифт - пассажирский, грузоподъемность 320 кг.

Оснащение здания:

Оборудование кухонь и санузлов - газовые плиты, мойки, унитазы, ванны, умывальники.

Конструктивные особенности:

генеральный план сетевой строительство

Конструктивная схема жилого дома решена с несущими продольными стенами. Прочность и устойчивость здания обеспечивается работой коробки здания как пространственной неизменяемой системы.

Здание по проекту имеет нормальный уровень ответственности, II степень огнестойкости.

Методы монтажа стеновых панелей, плит перекрытия, покрытия, лестничных маршей

Установку панелей цокольного этажа, наружных и внутренних стеновых панелей производим ограниченно свободным методом с применением связей-штанг. Установка каждой панели осуществляется с помощью трех штанг. Две штанги располагаются по верху панелей и одна - по низу. В процессе монтажа панелей штанги соединяются между собой, образуя монтажно-контактную цепь. Использование таких штанг позволяет принудительно приводить панель в проектное положение, исключая при этом операцию выверки. При наличии системы штанг применяется последовательность, при которой монтируются наружные стеновые панели, панели поперечных стен, затем панели продольных стен.

Монтаж панелей и плит перекрытий разрешается производить только после приемки опорных элементов, включающей геодезическую проверку соответствия их планового и высотного положения проектному с составлением исполнительной схемы, а также достижения бетоном замоноличенных стыков прочности, указанной в ППР.

Перед подъемом каждой панели (плиты) необходимо проверить соответствие ее проектной марке, очистить опорные поверхности плиты от мусора, грязи, снега и наледи.

В первую очередь должны устанавливаться и закрепляться с помощью сварки связевые плиты, а затем рядовые плиты.

Укладку плит в направлении перекрываемого пролета надлежит выполнять с соблюдением установленных проектом размеров глубины опирания их на опорные конструкции или зазоров между сопрягаемыми элементами. Установку плит в поперечном направлении перекрываемого пролета следует выполнять по разметке, определяющей их проектное положение.

Замоноличивание стыков следует выполнять после проверки правильности установки плит, приемки сварных соединении элементов в узлах сопряжений и выполнения антикоррозионного покрытия сварных соединений и поврежденных участков покрытия закладных изделий. Бетонные смеси, применяемые для замоноличивания стыков, должны отвечать требованиям проекта. Наибольший размер зерен крупного заполнителя в бетонной смеси не должен превышать 1/3 наименьшего размера сечения стыка.

Монтаж лестничных маршей и площадок разрешается производить только после приемки опорных элементов, включающей геодезическую проверку соответствия их планового и высотного положения с составлением геодезической исполнительной схемы.

С целью обеспечения устойчивости лестничной клетки и связи ее с диском перекрытия монтаж лестничных маршей разрешается производить только после полного заполнения смежных пролетов плитами перекрытия.

Перед подъемом каждого лестничного марша необходимо проверить соответствие его проектной марке, очистить лестничные марши от мусора, грязи, снега и наледи.

Лестничные марши подают к месту установки в проектном положении и укладывают на слой цементного раствора толщиной до 30 мм. Марка раствора должна быть указана в проекте. Подвижность раствора должна составлять 5-7 мм.

1. Разработка календарного плана строительства


1.1 Определение объемов и трудоемкостей основных строительно-монтажных работ


Определение объемов и трудоемкостей основных строительно-монтажных работ представлено в таблице 1.

 

1.2 Сетевой график строительства

Карточка определитель к сетевому графику

Код

Наименование работ

Трудоемкость, чел-дн

Кол-во человек

Сменность

Продолжительность, дн

1-2

Подготовительные работы

111,76

4

1

28

2-3

Земляные работы

9,64

2

1

5

3-7

Устройство фундаментов

13,99

3

1

5

5-8

Устройство гидроизоляции

19,21

3

1

6

10-14

Монтаж наружных и внутренних стеновых панелей

169,13

8

2

21

8-13

Монтаж плит перекрытия и покрытия

58,14

8

2

7

9-12

Монтаж блоков лифтовых шахт, плит балконов, лестничных маршей и площадок

55,61

8

2

7

11-16

Заливка и теплоизоляция швов

198,21

6

2

32

8-15

Электросварка закладных деталей

140

4

2

35

23-24

Устройство кровли

26,5

3

1

9

15-23

Установка оконных и дверных блоков

34,61

8

2

4

24-25

Остекление проемов

18,56

4

1

4

19-20

Окраска потолков

68,95

4

2

17

25-26

Окраска стен

110,98

6

1

18

28-29

Обойные работы

211,81

12

2

18

20-21

Устройство линолеумных полов

8,41

4

1

2

27-28

Устройство керамических полов

51,36

8

2

6

21-22

Устройство отмостки

6,9

3

1

2

15-18

Сантехнические работы

55,88

4

1

8

29-32

Сантехнические работы


4

1

6

17-18

Электротехнические работы

55,88

4

1

8

30-34

Электротехнические работы


4

1

6

29-30

Благоустройство

11,18

4

1

3

16-17

Прочие работы

4,7

4

1

4

26-27

Прочие работы


4

1

1

32-33

Прочие работы


4

1

2

19-20

Сдача объекта

22,35

4

1

6

1.3 Технико-экономическин показатели календарного плана


1.      Фактическая продолжительность строительства объекта: TФ=6 дн. По СНиП 1.04.03-85 нормативное значение равно Tн=6,5 мес.

2.      Общая трудоёмкость возведения объекта: 1360,65 чел×дн.

.        Коэффициент равномерности движения рабочей силы:

a = Rmax / Rср = 18/ (1360,65/119) = 1,6.

.        Коэффициент совмещения работ во время возведения здания:

Kc = St / Tф = 241/119 = 2,03.

2. Разработка строительного генерального плана


2.1 Подбор башенного крана


Монтажный кран выбираем в зависимости от габаритов здания, массы и размеров монтируемых элементов, объёмов работ, условий строительства и т.д. Выбор крана ведется в следующем порядке:

определяем тип монтажного крана.

выбираем кран на основании рабочих параметров.

Основными рабочими параметрами крана являются:

высота подъема крюка, Нк (м);

грузоподъёмность, Q (тонны);

вылет стрелы крана, L (м).


Выбор башенного крана.

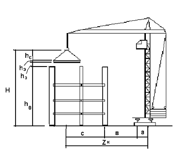
.        Высота подъема крюка

, где

о - высота, на которую монтируется элемент;з - высота запаса;эл - высота монтируемого элемента;с - высота стропы.


. Грузоподъемность

с - вес стропы,

qэл - вес стропильного элемента.


. Вылет стрелы крана

, где

- ширина кранового пути или половина базы крана;- расстояние от кранового пути до ближайшей стены;

с - расстояние от центра тяжести монтируемого элемента до стены здания со стороны крана.


Выбор крана представлен в таблице 2.

Таблица 2

Выбор крана

Наименование монтируемого элемента

Расчётные параметры

КБ-403 А


Hk

Q

L

Hk

Q

L

Плита стеновая

35,4

6,51

18,16

38

5-7,3

5,5-25


По грузоподъёмности и вылету стрелы выбираем башенный кран КБ-403 А.

2.2 Продольная и поперечная привязка крана


Поперечная привязка.

Определяем ось перемещения крана относительно строящегося здания.


-расстояние от оси подкрановых путей до наружной грани сооружения;

 - колея крана КБ-403 А;

 - длина полушпалы;

 - длина откоса балластной призмы;

 - высота слоя балласта из щебня;

 - уклон боковых сторон балластной призмы;

 - безопасное расстояние;

Продольная привязка.


Длина путей башенного крана должна быть кратна 6,25,

 - длина подкрановых путей;

 - расстояние между крайними стоянками крана, определяемое по чертежу;

 - база крана;

 - длина тормозного пути;

 - расстояние от конца рельса до тупиков;

2.3 Расчёт временного электроснабжения

Подсчёт, необходимый для строительной площадки трансформаторной мощности (Р) определяется по формуле:


-коэффициент, учитывающий потери энергии в сети, (1,05-1,1)

 - мощность силовых установок;

 - расход электроэнергии на технологические нужды;

 - расход электроэнергии на наружное и внутреннее освещение, принимается по таблице 10 [2];

 - коэффициенты спроса, принимаемые по таблице 11 [2];

-коэффициент мощности, принимаемые по таблице 11 [2], учитывающий наличие в цепи индуктивного сопротивления, соответственно для силовых и технологических нужд.

Выбираем трансформаторную подстанцию КТП СКБ Мосстроя, мощностью 180 кВт. Принимаем трансформатор ТМ-320/10, мощностью 320 кВт.

2.4 Определение потребности во временных зданиях и сооружениях


Определение площадей временных зданий и сооружений производится по максимальной численности работающих на строительной площадке и нормативной площадью на 1 человека, пользующимся данными помещениями. Численность определяется по формуле:


Nобщ - общая численность рабочих

Nраб-численность рабочих принимается из графика движения рабочих (мах)

Nитр - численность инженерно-технических работников

Nслуж - численность служащих

Nмоп - численность МОП и охраны

K - коэффициент учитывающий отпуска, болезни и. т.д. (1,05-1,06)

Численность ИТР и МОП определяется по таблице:

Вид строительства

Рабочие

ИТР

Служащие

МОП

Жилищно-гражданские

85%

8%

5%

2%


Расчёт:

Nmax=18 чел

Т.о. общая численность работающих составит

-85%

x-100%

x =1% составляет 0,21 чел, тогда

Nитр=8.0,21=2

Nслуж=5.0,21=1

Nмоп=2.0,21=1

 

Подбор временных зданий и сооружений представлен в таблице 3.

 

2.5 Расчёт временного водопровода


При расчёте врем. водоснабжения строит. площадки следует определить схему расположения сети и & трубопровода, подающего воду на следующие нужды:

Производственные Впр

Хоз. бытовые Вхоз

Пожаротушение Впож

Полная потребность в воде составит:

 [л/сек]

Расход воды на производственные нужды определяется на основании календарного плана и норм расхода воды.

Часовой расход воды на производственные нужды:

автомобили, тракторы, экскаваторы:

 [л/ч]


личные нужды

 [л/ч]

душ

 [л/ч]

столовая

 [л/ч]

 [л/ч]

Потребность в воде на пожаротушение для строительной площадки до 50 Га принимаем 20 л/с. На строительной площадке размещаем один гидрант

Полная потребность в воде составит:

 [л/сек]

Диаметр трубы для временного водопровода рассчитываем по формуле


Диаметр трубы принимаем 150 мм. Расчет площадей складов представлен в табл.4

2.6 Технико-экономические показатели по проекту

№ п/п

Наименование показателей

Ед. изм

Кол-во

1

Продолжительность строительства по СНиП 1.04.03-85

мес

6,5

2

Фактическая продолжительность строительства

мес

6

3

Коэффициент сокращения сроков строительства


0,92

4

Максимальное кол-во рабочих

чел

18

5

Среднее количество

чел

11

6

Коэффициент неравномерности движения рабочих


1,6

7

Коэффициент совмещения работ


2,03

8

Общие трудозатраты

ч-дн

1495

 

3. Техника безопасности строительного процесса


Безопасность проведения монтажных работ

На участке (захватке), где ведутся монтажные работы, не допускается выполнение других работ и нахождение посторонних лиц.

При возведении зданий и сооружений запрещается выполнять работы, связанные с нахождением людей в одной секции (захватке, участке) на этажах (ярусах), над которыми производятся перемещение, установка и временное закрепление элементов сборных конструкций или оборудования.

Способы строповки элементов конструкций и оборудования должны обеспечивать их подачу к месту установки в положении, близком к проектному.

Запрещается подъем сборных железобетонных конструкций, не имеющих монтажных петель или меток, обеспечивающих их правильную строповку и монтаж.

Строповку конструкций и оборудования следует производить грузозахватными средствами, удовлетворяющими требованиям пп.7.4.4, СНиП 12-03 <C:Documents and SettingsUserМои документы9-ый семестр\..\Program%20FilesStroyConsultantTemp4900.htm> и обеспечивающими возможность дистанционной расстроповки с рабочего горизонта в случаях, когда высота до замка грузозахватного средства превышает 2 м.

Элементы монтируемых конструкций или оборудования во время перемещения должны удерживаться от раскачивания и вращения гибкими оттяжками.

Не допускается пребывание людей на элементах конструкций и оборудования во время их подъема или перемещения.

Во время перерывов в работе не допускается оставлять поднятые элементы конструкций и оборудования на весу.

Для перехода монтажников с одной конструкции на другую следует применять инвентарные лестницы, переходные мостики и трапы, имеющие ограждение.

Установленные в проектное положение элементы конструкций или оборудования должны быть закреплены так, чтобы обеспечивалась их устойчивость и геометрическая неизменяемость.

Расстроповку элементов конструкций и оборудования, установленных в проектное положение, следует производить после постоянного или временного надежного их закрепления. Перемещать установленные элементы конструкций или оборудования после их расстроповки, за исключением случаев, обоснованных ППР, не допускается.

Не допускается выполнять монтажные работы на высоте в открытых местах при скорости ветра 15 м/с и более, грозе или тумане, исключающем видимость в пределах фронта работ. Работы по перемещению и установке вертикальных панелей и подобных им конструкций с большой парусностью следует прекращать при скорости ветра 10 м/с и более.

Не допускается нахождение людей под монтируемыми элементами конструкций и оборудования до установки их в проектное положение и закрепления.

При необходимости нахождения работающих под монтируемым оборудованием (конструкциями), а также на оборудовании (конструкциях) должны осуществляться специальные мероприятия, обеспечивающие безопасность работающих.

Навесные монтажные площадки, лестницы и другие приспособления, необходимые для работы монтажников на высоте, следует устанавливать и закреплять на монтируемых конструкциях до их подъема.

При производстве монтажных работ в условиях действующего предприятия эксплуатируемые электросети и другие действующие инженерные системы в зоне работ должны быть, как правило, отключены, закорочены, а оборудование и трубопроводы освобождены от взрывоопасных, горючих и вредных веществ.

При производстве монтажных работ не допускается использовать для закрепления технологической и монтажной оснастки оборудование и трубопроводы, а также технологические и строительные конструкции без согласования с лицами, ответственными за правильную их эксплуатацию.

До выполнения монтажных работ необходимо установить порядок обмена условными сигналами между лицом, руководящим монтажом, и машинистом (мотористом). Все сигналы подаются только одним лицом (бригадиром монтажной бригады, звеньевым, такелажником-стропальщиком), кроме сигнала "Стоп", который может быть подан любым работником, заметившим явную опасность.

Монтаж конструкций каждого последующего яруса (участка) здания или сооружения следует производить только после надежного закрепления всех элементов предыдущего яруса (участка) согласно проекту.

В процессе монтажа конструкций, зданий или сооружений монтажники должны находиться на ранее установленных и надежно закрепленных конструкциях или средствах подмащивания.

Монтаж лестничных маршей и площадок зданий (сооружений), а также грузопассажирских строительных подъемников (лифтов) должен осуществляться одновременно с монтажом конструкций здания. На смонтированных лестничных мартах следует незамедлительно устанавливать ограждения.

Охрана труда

В соответствии с действующим законодательством обязанности по обеспечению охраны труда в организации возлагаются на работодателя.

Общее руководство по обеспечению охраны труда возлагается на руководителя организации или лицо, им уполномоченное.

Работники должны выполнять обязанности по охране труда в организации в объеме требований их должностных инструкций или инструкций по охране труда, которые должны быть утверждены работодателем.

Должностные инструкции должны быть доведены до работника под расписку при приеме на работу или назначении на новую должность.

Приказами по организации должны быть назначены лица, ответственные за обеспечение охраны труда в пределах порученных им участков работ, в том числе:

в целом по организации (как правило, заместитель руководителя, главный инженер);

в структурных подразделениях (как правило, руководитель подразделения);

на производственных территориях (как правило, начальник цеха, участка, ответственный производитель работ по строительному объекту);

при эксплуатации машин и оборудования (как правило, руководитель службы главного механика, энергетика и т.п.);

при выполнении конкретных работ и на рабочих местах (как правило, менеджер, мастер).

В организации должно быть организовано проведение проверок, контроля и оценки состояния охраны и условий безопасности труда, включающих следующие уровни и формы проведения контроля:

постоянный контроль работниками исправности оборудования, приспособлений, инструмента, проверка наличия и целостности ограждений, защитного заземления и других средств защиты до начала работ и в процессе работы на рабочих местах согласно инструкциям по охране труда;

периодический оперативный контроль, проводимый руководителями работ и подразделений предприятия согласно их должностным инструкциям;

выборочный контроль состояния условий и охраны труда в подразделениях предприятия, проводимый службой охраны труда согласно утвержденным планам.

При обнаружении нарушений норм и правил охраны труда работники должны принять меры к их устранению собственными силами, а в случае невозможности этого прекратить работы и информировать должностное лицо.

В случае возникновения угрозы безопасности и здоровью работников ответственные лица обязаны прекратить работы и принять меры по устранению опасности, а при необходимости обеспечить эвакуацию людей в безопасное место.

Все лица, находящиеся на строительной площадке, обязаны носить защитные каски. Работники без защитных касок и других необходимых средств индивидуальной защиты к выполнению работ не допускаются.

Работодатель должен обеспечить работников, занятых в строительстве, промышленности строительных материалов и стройиндустрии санитарно-бытовыми помещениями (гардеробными, сушилками для одежды и обуви, душевыми, помещениями для приема пищи, отдыха и обогрева и проч.) согласно СНиП 2.09.04 и коллективному договору или тарифному соглашению.

Организация производственных территорий, участков работ и рабочих мест

Производственные территории (площадки строительных и промышленных предприятий с находящимися на них объектами строительства, производственными и санитарно-бытовыми зданиями и сооружениями), участки работ и рабочие места должны быть подготовлены для обеспечения безопасного производства работ.

Подготовительные мероприятия должны быть закончены до начала производства работ. Соответствие требованиям охраны и безопасности труда производственных территорий, зданий и сооружений, участков работ и рабочих мест вновь построенных или реконструируемых промышленных объектов определяется при приемке их в эксплуатацию.

Окончание подготовительных работ на строительной площадке должно быть принято по акту о выполнении мероприятий по безопасности труда, оформленного согласно приложению И.

Производственное оборудование, приспособления и инструмент, применяемые для организации рабочего места, должны отвечать требованиям безопасности труда.

Производственные территории, участки работ и рабочие места должны быть обеспечены необходимыми средствами коллективной или индивидуальной защиты работающих, первичными средствами пожаротушения, а также средствами связи, сигнализации и другими техническими средствами обеспечения безопасных условий труда, в соответствии с требованиями действующих нормативных документов и условиями соглашений.

Места временного или постоянного нахождения работающих (санитарно-бытовые помещения, места отдыха и проходы для людей) при устройстве и содержании производственных территорий, участков работ должны располагаться за пределами опасных зон.

Проезды, проходы на производственных территориях, а также проходы к рабочим местам и на рабочих местах должны содержаться в чистоте и порядке, очищаться от мусора и снега, не загромождаться складируемыми материалами и конструкциями.

Производственные территории и участки работ в населенных пунктах или на территории организации во избежание доступа посторонних лиц должны быть ограждены.

Конструкция защитных ограждений должна удовлетворять следующим требованиям:

высота ограждения производственных территорий должна быть не менее 1,6 м, а участков работ - не менее 1,2;

ограждения, примыкающие к местам массового прохода людей, должны иметь высоту не менее 2 м и оборудованы сплошным защитным козырьком;

козырек должен выдерживать действие снеговой нагрузки, а также нагрузки от падения одиночных мелких предметов;

ограждения не должны иметь проемов, кроме ворот и калиток, контролируемых в течение рабочего времени и запираемых после его окончания.

Места прохода людей в пределах опасных зон должны иметь защитные ограждения. Входы в строящиеся здания (сооружения) должны быть защищены сверху козырьком шириной не менее 2 м от стены здания. Угол, образуемый между козырьком и вышерасположенной стеной над входом, должен быть 70 - 75°.

При производстве работ в закрытых помещениях, на высоте, под землей должны быть предусмотрены мероприятия, позволяющие осуществлять эвакуацию людей в случае возникновения пожара или аварии.

У въезда на производственную территорию необходимо устанавливать схему внутрипостроечных дорог и проездов с указанием мест складирования материалов и конструкций, мест разворота транспортных средств, объектов пожарного водоснабжения и пр.

Внутренние автомобильные дороги производственных территорий должны соответствовать СНиП 2.05.07, СНиП II-89-80* и оборудованы соответствующими дорожными знаками, регламентирующими порядок движения транспортных средств и строительных машин в соответствии с Правилами дорожного движения Российской Федерации.

Строительные площадки, участки работ и рабочие места, проезды и подходы к ним в темное время суток должны быть освещены в соответствии с требованиями ГОСТ 12.1.046. Освещение закрытых помещений должно соответствовать требованиям СНиП 23-05.

Освещенность должна быть равномерной, без слепящего действия осветительных приспособлений на работающих. Производство работ в неосвещенных местах не допускается.

Рабочие места и проходы к ним, расположенные на перекрытиях, покрытиях на высоте более 1,3 м и на расстоянии менее 2 м от границы перепада по высоте, должны быть ограждены предохранительными или страховочными защитными ограждениями, а при расстоянии более 2 м - сигнальными ограждениями, соответствующими требованиям ГОСТ 12.4.059.

Проемы в стенах при одностороннем примыкании к ним настила (перекрытия) должны ограждаться, если расстояние от уровня настила до нижнего проема менее 0,7 м.

Проходы на рабочих местах и к рабочим местам должны отвечать следующим требованиям:

ширина одиночных проходов к рабочим местам и на рабочих местах должна быть не менее 0,6 м, а высота таких проходов в свету - не менее 1,8 м;

лестницы или скобы, применяемые для подъема или спуска работников на рабочие места, расположенные на высоте более 5 м, должны быть оборудованы устройствами для закрепления фала предохранительного пояса (канатами с ловителями и др.).

При выполнении работ на высоте внизу, под местом работ, необходимо выделить опасные зоны. При совмещении работ по одной вертикали (кроме случая, указанного в 4.10) нижерасположенные места должны быть оборудованы соответствующими защитными устройствами (настилами, сетками, козырьками), установленными на расстоянии не более 6 м по вертикали от нижерасположенного рабочего места.

Требования безопасности при складировании материалов и конструкций.

Складирование материалов, прокладка транспортных путей, установка опор воздушных линий электропередачи и связи должны производиться за пределами призмы обрушения грунта незакрепленных выемок (котлованов, траншей), а их размещение в пределах призмы обрушения грунта у выемок с креплением допускается при условии предварительной проверки устойчивости закрепленного откоса по паспорту крепления или расчетом с учетом динамической нагрузки.

Материалы (конструкции) следует размещать в соответствии с требованиями настоящих норм и правил и ПОТ РМ-007 на выровненных площадках, принимая меры против самопроизвольного смещения, просадки, осыпания и раскатывания складируемых материалов.

Складские площадки должны быть защищены от поверхностных вод. Запрещается осуществлять складирование материалов, изделий на насыпных неуплотненных грунтах.

Материалы, изделия, конструкции и оборудование при складировании на строительной площадке и рабочих местах должны укладываться следующим образом:

фундаментные блоки и блоки стен подвалов - в штабель высотой не более 2,6 м на подкладках и с прокладками;

стеновые панели - в кассеты или пирамиды (панели перегородок - в кассеты вертикально);

стеновые блоки - в штабель в два яруса на подкладках и с прокладками;

плиты перекрытий - в штабель высотой не более 2,5 м на подкладках и с прокладками;

пиломатериалы - в штабель, высота которого при рядовой укладке составляет не более половины ширины штабеля, а при укладке в клетки - не более ширины штабеля;

санитарно-технические и вентиляционные блоки - в штабель высотой не более 2 м на подкладках и с прокладками;

крупногабаритное и тяжеловесное оборудование и его части - в один ярус на подкладках;

стекло в ящиках и рулонные материалы - вертикально в 1 ряд на подкладках;

трубы диаметром до 300 мм - в штабель высотой до 3 м на подкладках и с прокладками с концевыми упорами;

Складирование других материалов, конструкций и изделий следует осуществлять согласно требованиям стандартов и технических условий на них.

Между штабелями (стеллажами) на складах должны быть предусмотрены проходы шириной не менее 1 м и проезды, ширина которых зависит от габаритов транспортных средств и погрузочно-разгрузочных механизмов, обслуживающих склад.

Прислонять (опирать) материалы и изделия к заборам, деревьям и элементам временных и капитальных сооружений не допускается.

Обеспечение электробезопасности

Устройство и эксплуатация электроустановок должны осуществляться в соответствии с требованиями Правил устройства электроустановок (ПУЭ), Правил техники безопасности при эксплуатации электроустановок потребителей (ПТБ), Правил эксплуатации электроустановок потребителей.

Устройство и техническое обслуживание временных и постоянных электрических сетей на производственной территории следует осуществлять силами электротехнического персонала, имеющего соответствующую квалификационную группу по электробезопасности.

Разводка временных электросетей напряжением до 1000 В, используемых при электроснабжении объектов строительства, должна быть выполнена изолированными проводами или кабелями на опорах или конструкциях, рассчитанных на механическую прочность при прокладке по ним проводов и кабелей, на высоте над уровнем земли, настила не менее, м:

,5 - над проходами;

,0 - над проездами;

,5 - над рабочими местами.

Светильники общего освещения напряжением 127 и 220 В должны устанавливаться на высоте не менее 2,5 м от уровня земли, пола, настила.

При высоте подвески менее 2,5 м необходимо применять светильники специальной конструкции или использовать напряжение не выше 42 В. Питание светильников напряжением до 42 В должно осуществляться от понижающих трансформаторов, машинных преобразователей, аккумуляторных батарей.

Выключатели, рубильники и другие коммутационные электрические аппараты, применяемые на открытом воздухе или во влажных цехах, должны быть в защищенном исполнении в соответствии с требованиями ГОСТ 14254.

Все электропусковые устройства должны быть размещены так, чтобы исключалась возможность пуска машин, механизмов и оборудования посторонними лицами. Запрещается включение нескольких токоприемников одним пусковым устройством.

Распределительные щиты и рубильники должны иметь запирающие устройства.

Персонал строительных организаций, выполняющий работы в действующих электроустановках, относится к командированному персоналу.

Допуск к работе этого персонала производится в соответствии с требованиями главы Б 3.14 ПТБ.

Подготовка рабочего места и допуск к работе командированного персонала осуществляются во всех случаях электротехническим персоналом эксплуатирующей организации.

Обеспечение пожаробезопасности

Производственные территории должны быть оборудованы средствами пожаротушения согласно Правилам пожарной безопасности в Российской Федерации.

Не разрешается накапливать на площадках горючие вещества (жирные масляные тряпки, опилки или стружки и отходы пластмасс), их следует хранить в закрытых металлических контейнерах в безопасном месте.

Противопожарное оборудование должно содержаться в исправном, работоспособном состоянии. Проходы к противопожарному оборудованию должны быть всегда свободны и обозначены соответствующими знаками.

На рабочих местах, где применяются или приготовляются клеи, мастики, краски и другие материалы, выделяющие взрывоопасные или вредные вещества, не допускаются действия с использованием огня или вызывающие искрообразование. Эти рабочие места должны проветриваться. Электроустановки в таких помещениях (зонах) должны быть во взрывобезопасном исполнении. Кроме того, должны быть приняты меры, предотвращающие возникновение и накопление зарядов статического электричества.

Рабочие места, опасные во взрыве - или пожарном отношении, должны быть укомплектованы первичными средствами пожаротушения и средствами контроля и оперативного оповещения об угрожающей ситуации.

Обеспечение защиты работников от воздействия вредных призводственных факторов

Предельно допустимые концентрации вредных веществ в воздухе рабочей зоны, а также уровни шума и вибрации на рабочих местах не должны превышать установленных ГОСТ 12.1.003, ГОСТ 12.1.005, ГОСТ 12.1.012.

Контроль за соответствием гигиенических нормативов условий труда на рабочих местах требованиям охраны труда следует осуществлять при проведении аттестации рабочих мест по условиям труда в соответствии с Положением о порядке проведения аттестации рабочих мест по условиям труда.

При выполнении строительно-монтажных работ на территории организации или в производственных цехах помимо контроля за вредными производственными факторами, обусловленными строительным производством, необходимо организовать контроль за соблюдением санитарно-гигиенических норм в порядке, установленном для данной организации.

Лакокрасочные, изоляционные, отделочные и другие материалы, выделяющие взрывоопасные или вредные вещества, разрешается хранить на рабочих местах в количествах, не превышающих сменной потребности.

Материалы, содержащие вредные или взрывоопасные растворители, необходимо хранить в герметически закрытой таре.

Машины и агрегаты, создающие шум при работе, должны эксплуатироваться таким образом, чтобы уровни звукового давления и уровни звука на постоянных рабочих местах в помещениях и на территории организации не превышали допустимых величин, указанных в ГОСТ 12.1.003.

При эксплуатации машин, производственных зданий и сооружений, а также при организации рабочих мест для устранения вредного воздействия на работающих повышенного уровня шума должны применяться:

технические средства (уменьшение шума машин в источнике его образования; применение технологических процессов, при которых уровни звукового давления на рабочих местах не превышают допустимые и т.д.);

строительно-акустические мероприятия в соответствии со строительными нормами и правилами;

дистанционное управление шумными машинами; средства индивидуальной защиты;

организационные мероприятия (выбор рационального режима труда и отдыха, сокращение времени нахождения в шумных условиях, лечебно-профилактические и другие мероприятия).

Зоны с уровнем звука свыше 85 дБ должны быть обозначены знаками безопасности. Работа в этих зонах без использования средств индивидуальной защиты запрещается.

Для устранения вредного воздействия вибрации на работающих должны применяться следующие мероприятия:

снижение вибрации в источнике ее образования конструктивными или технологическими мерами;

уменьшение вибрации на пути ее распространения средствами виброизоляции и вибропоглощения;

дистанционное управление, исключающее передачу вибрации на рабочие места;

средства индивидуальной защиты.

Производственные помещения, в которых происходит выделение пыли, должны иметь гладкую поверхность стен, потолков, полов и регулярно очищаться от пыли.

Эксплуатация строительных машин, транспортных средств, производственного оборудования, ручных машин и инструмента

Строительные машины, транспортные средства, производственное оборудование (машины мобильные и стационарные), средства механизации, приспособления, оснастка (машины для штукатурных и малярных работ, люльки, передвижные леса, домкраты, грузовые лебедки и электротали и др.), ручные машины и инструмент (электродрели, электропилы, рубильные и клепальные пневматические молотки, кувалды, ножовки и т.д.) должны соответствовать требованиям государственных стандартов по безопасности труда, а вновь приобретаемые - как правило, иметь сертификат на соответствие требованиям безопасности труда.

Запрещается эксплуатация указанных выше средств механизации без предусмотренных их конструкцией ограждающих устройств, блокировок, систем сигнализации и других средств коллективной защиты работающих.

Эксплуатация строительных машин должна осуществляться в соответствии с требованиями ГОСТ 12.3.033.

При размещении мобильных машин на производственной территории руководитель работ должен до начала работы определить рабочую зону машины и границы создаваемой ею опасной зоны. При этом должна быть обеспечена обзорность рабочей зоны, а также рабочих зон с рабочего места машиниста. В случаях, когда машинист, управляющий машиной, не имеет достаточного обзора, ему должен быть выделен сигнальщик.

Со значением сигналов, подаваемых в процессе работы и передвижения машины, должны быть ознакомлены все лица, связанные с ее работой. Опасные зоны, которые возникают или могут возникнуть во время работы машины, должны быть обозначены знаками безопасности и (или) предупредительными надписями.

Персонал, эксплуатирующий средства механизации, оснастку, приспособления и ручные машины, до начала работ должен быть обучен безопасным методам и приемам работ с их применением согласно требованиям инструкций завода-изготовителя и инструкции по охране труда для работников строительства и промстройматериалов.

Съемные грузозахватные приспособления и тара в процессе эксплуатации должны подвергаться техническому освидетельствованию лицом, ответственным за их исправное состояние, в сроки, установленные требованиями Правил устройства и безопасной эксплуатации грузоподъемных кранов, а прочая технологическая оснастка - не реже чем через каждые 6 мес., если техническими условиями или инструкциями завода-изготовителя не предусмотрены другие сроки. Результаты осмотра необходимо регистрировать в журнале работ.

Съемные грузозахватные приспособления и тара, не прошедшие технического освидетельствования, не должны применяться.

Грузовые крюки грузозахватных средств (стропы, траверсы), применяемых в строительстве, промышленности строительных материалов и строительной индустрии, должны быть снабжены предохранительными замыкающими устройствами, предотвращающими самопроизвольное выпадение груза.

Конструкция подъемных подмостей (люлек), применяемых при выполнении строительно-монтажных работ, должна соответствовать требованиям ГОСТ 27372.

Транспортные и погрузочно-разгрузочные операции

При выполнении транспортных и погрузочно-разгрузочных работ в строительстве, промышленности строительных материалов и стройиндустрии в зависимости от вида транспортных средств наряду с требованиями настоящих правил и норм должны соблюдаться Правила по охране труда на автомобильном транспорте, ГОСТ 12.3.009, ГОСТ 12.3.020, ПОТ РМ-007.

Транспортные средства и оборудование, применяемое для погрузочно-разгрузочных работ, должно соответствовать характеру перерабатываемого груза.

Площадки для погрузочных и разгрузочных работ должны быть спланированы и иметь уклон не более 1: 10, а их размеры и покрытие - соответствовать проекту производства работ. В соответствующих местах необходимо установить надписи: "Въезд", "Выезд", "Разворот" и др.

Спуски и подъемы в зимнее время должны очищаться от льда и снега и посыпаться песком или шлаком.

На площадках для погрузки и выгрузки тарных грузов (тюков, бочек, рулонов и др.), хранящихся на складах и в пакгаузах, должны быть устроены платформы: эстакады, рампы высотой, равной уровню пола кузова автомобиля.

Движение автомобилей на производственной территории, погрузочно-разгрузочных площадках и подъездных путях к ним должно регулироваться общепринятыми дорожными знаками и указателями.

При размещении автомобилей на погрузочно-разгрузочных площадках расстояние между автомобилями, стоящими друг за другом (в глубину), должно быть не менее 1 м, а между автомобилями, стоящими рядом (по фронту), - не менее 1,5 м.

Если автомобили устанавливают для погрузки или разгрузки вблизи здания, то между зданием и задним бортом автомобиля (или задней точкой свешиваемого груза) должен соблюдаться интервал не менее 0,5 м.

Расстояние между автомобилем и штабелем груза должно быть не менее 1 м.

При выполнении погрузочно-разгрузочных работ необходимо соблюдать требования законодательства о предельных нормах переноски тяжестей и допуске работников к выполнению этих работ.

Освещенность помещений и площадок, где производятся погрузочно-разгрузочные работы, должна соответствовать требованиям СНиП 23-05.

Прицепы, полуприцепы и платформы автомобиля, предназначенные для перевозки длинномерных грузов, должны быть оборудованы:

а) съемными или откидными стойками и щитами, устанавливаемыми между кабиной и грузом;

б) поворотными кругами.

Поворотные круги должны иметь приспособление для их закрепления при движении без груза и стопоры, предотвращающие разворот прицепа при движении назад.

Список используемой литературы


1. Методические указания и задание к курсовому проекту по дисциплине " Организация и планирование в строительстве; ВлГУ;

В.П. Барышников, В.Б. Акимов; Владимир; 2000г; 96 с.

. А.Ф. Гаевой, С.А. Усик Курсовое и дипломное проектирование. Промышленные и гражданские здания.

. Л.Г. Дикман В.И. Сосков Проектирование строительных генеральных планов, учебное пособие.

. Организация, планирование и управление строительным призводством; Л.Г. Дикман; М; Высшая школа; 1982; 480 с.

. Единые нормы и расценки на строительные, монтажные и ремонтно-строительные работы (ЕНиР). Сборник Е20 Ремонтно-строительные работы. Выпуск 1 Здания и промышленные сооружения.

. Единые нормы и расценки на строительные, монтажные и ремонтно-строительные работы (ЕНиР) Сборник Е22 Сварочные работы. Выпуск 1 Конструкции зданий и промышленных сооружений

. Единые нормы и расценки на строительные, монтажные и ремонтно-строительные работы (ЕНиР). Сборник Е4 Монтаж сборных и устройство монолитных железобетонных конструкций. Выпуск 1 Здания и промышленные сооружения.

. Единые нормы и расценки на строительные, монтажные и ремонтно-строительные работы (ЕНиР). Сборник Е6 Плотничные и столярные работы в зданиях и сооружениях.

. Единые нормы и расценки на строительные, монтажные и ремонтно-строительные работы (ЕНиР). Сборник Е2 Земляные работы. Выпуск 1 Механизированные и ручные земляные работы

. Единые нормы и расценки на строительные, монтажные и ремонтно-строительные работы (ЕниР). Сборник Е11 Изоляционные работы

. Единые нормы и расценки на строительные, монтажные и ремонтно-строительные работы (ЕНиР) Сборник Е7 Кровельные работы

. Единые нормы и расценки на строительные, монтажные и ремонтно-строительные работы (ЕНиР). Сборник Е19 Устройство полов

. Единые нормы и расценки на строительные, монтажные и ремонтно-строительные работы (ЕНиР) Сборник Е8 Отделочные покрытия строительных конструкций. Выпуск 1 Отделочные работы

14. СНиП III-4-80* Правила производства и приемки работ. Техника безопасности в строительстве, раздел 13;

. СНиП 12-03-2001 Безопасность труда в строительстве. Часть 1.

. СНиП 12-04-2002 Безопасность труда в строительстве. Часть 2.

СНиП 1.04.03-85 Нормы продолжительности строительства и задела в строительстве предприятий, зданий и сооружений.

. СНиП Организация строительного производства.

. ППБ-01-93 Правила пожарной безопасности при производстве строительно-монтажных работ;

20. ГОСТ Р 51248-99 Пути наземные рельсовые крановые. Общие технические требования

21. ГОСТ 12.3.002 - 75 Общие требования безопасности;

. ГОСТ 12.1.004-76 Пожарная безопасность;

Похожие работы на - Организация работы в строительстве

 

Не нашли материал для своей работы?
Поможем написать уникальную работу
Без плагиата!
Без нейросетей!