Система программного управления промышленного робота МП20
Система программного
управления промышленного робота МП20
1. Назначение, технические характеристики
промышленного робота МП20
Устройство, работа промышленного робота и его составных
частей.
Робот модели МП20.40.01 представляет собой промышленный
робот, работающий в цилиндрической системе координат. Робот может работать в
трех режимах: обучение, повторение и редактирование, которые выбираются при
помощи кнопок режима на панели обучения. Робот может управляться вручную или
автоматически, в зависимости от положения переключателя авто / ручной на панели
оператора или сигналом «авто» на интерфейсах соединения управления станком.
Основные режимы работы робота в трёх базовых режимах:
Обучение: возврат в нулевую точку, ручное управление,
управление обучением.
Повторение: автоматическое управление, управление
повторением.
Редактирование: редактирование данных управления роботом.
Сразу после подачи питания выполняется с помощью блока
обучения возврат робота в исходную позицию (нулевую точку). Нулевая точка
перемещения служит относительной точкой всех позиционных данных управления
роботом. Если отключен блок питания или возникает сигнал тревоги в
сервосистеме, робот теряет свою текущую позиционную информацию и возвращается в
нулевую точку. При возврате в нулевую точку перемещение по контролируемым осям
происходит в последовательности: Z, 0, R.
Робот имеет комбинированный привод, включающий в себя:
) Электропривод выдвижения, подъема и поворота руки робота.
) Пневмодвигатели поворота кисти руки и схвата.
Поворот робота относительно вертикальной оси осуществляется
за счет передачи усилия электродвигателя, червячный редуктор на зубчатую
цилиндрическую шестерню, находящуюся в зацеплении с зубчатым колесом, которое
жестко соединено с поворотной колонной робота.
Подъем руки робота осуществляется через передачу «винт-гайка»
от электродвигателя, расположенного в верхней части поворотной колонны робота.
Выдвижение руки робота осуществляется при помощи передачи
«винт-гайка качения». В старых образцах робота усилие от электродвигателя
передается на вращающийся винт через ременную передачу. В поздних конструкциях
данного робота вал электродвигателя непосредственно соединен с винтом.
Для поворота рабочего органа относительно продольной оси
применяется поворотный электродвигатель.
Рис. 1
|
Наименование
параметра
|
Единица
измерения
|
|
Номинальная
грузоподъемность: суммарная на один захват
|
кг
|
20
|
|
Число степеней
подвижности
|
-
|
5
|
|
Количество: Рук
робота Захватов на одну руку
|
-
|
1 1; 2
|
|
Тип привода
|
-
|
Электропневматический
|
|
Погрешность
позиционирования
|
мм
|
1
|
|
Наибольший
вылет руки (R)
|
-
|
1100
|
|
Тип системы
управления
|
-
|
|
Наибольшее
количество одновременно управляемых координат
|
-
|
2
|
|
Число
программируемых точек
|
-
|
649
|
|
Способ программирования
|
-
|
Обучение
|
Линейные перемещения по координатным осям (величина / скорость) X Z R мм/
/0,008-0,5
|
Габарит системы
ЧПУ «Контур-1»
|
кг
|
450х500х1200
|
|
Масса системы
ЧПУ «Контур-1»
|
кг
|
150
|
|
Габарит робота
(без захватов и УЧПУ)
|
мм
|
|
Масса
механической системы
|
кг
|
594
|
При ручном управлении перемещение по каждой контролируемой
оси происходит на скорости по нажатой кнопке на панели обучения. Для обучения робот
движется в позицию, заданную в режиме ручного явления, после возврата в нулевую
точку до заучивания позиции и т.д. Робот можно устанавливать в позицию
посредством шаговой подачи и т.д. в соответствии с кодом перебега в режиме
ручного управления.
При работе в автоматическом режиме робот осуществляет смену
деталей инструмента на станке параллельно с механической обработкой. В этом
режиме данные управления роботом повторяются по командам обслуживания из ЧПУ
станка. Робот загружает и разгружает детали каждый раз по запросу из ЧПУ
станка. После смены детали робот посылает станку команду пуска цикла для начала
механической обработки.
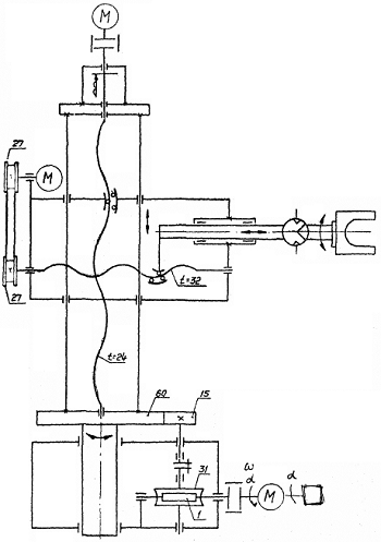
2. Кинематическая схема робота
Кинематическая схема приведена на рис. 2, где представлены
основные элементы робота. На выносках проставлены числа зубьев (Z), шестерен, шаги винтов
и диаметры приводных шкивов.
Рис. 2. Кинематическая схема робота
Описание электрооборудования промышленного робота.
Электрооборудование предназначено для питания, защиты и
управления электроприводами промышленного робота. В составе промышленного
робота имеются следующие электропривода:
привод подач по оси Z (вверх / вниз);
привод подач по оси θ (вращение);
привод подач по оси R (вперед / назад).
Электрооборудование работает от сети трехфазного переменного
тока с глухозаземленной нейтралью, напряжением 380В и частотой 50Гц.
Установленная мощность 2кВт. Рабочие напряжения частей электрооборудования:
~50 Гц, 380В - цепи трансформаторов;
~50 Гц, 110В - цепь управления пускателем;
В - цепи управления релейными аппаратами, электромагнитными
муфтами, электромагнитными пневмозолотниками, сигнализацией.