Разработка программы для работы с массивами
Содержание
1. Описание постановки задачи
2. Инструкция пользования программы
3. Описание метода решения программы
4. Блок-схема всего алгоритма
5. Описание блок-схемы
6. Листинг программы
7. Экраны работы программы и отладки программы
Список литературы
1. Описание
постановки задачи
Дана матрица А (N, N) и целое P. Преобразуйте матрицу по
правилу: строку с номером P сделайте столбцом с номером P, а столбец с номером
P сделайте строкой с номером P.
2. Инструкция
пользования программы
Запускаем программу CHANGE. exe, на вопрос о размерности
квадратной матрицы вводим целое число.
Нажимаем клавишу Enter и программа автоматически вводит массив
случайными вещественными значениями, выводит на экран содержимое матрицы.
Далее задаём переменную P, программа меняет местами
столбец со строкой и выдаёт результат на экран визуально помечая цветом
изменённый столбец серым цветом на изменённую строку голубым.
Для выхода из программы нажимаем клавишу Enter.
3. Описание
метода решения программы
Методика основана на классических алгоритмах работы с
массивами, а именно заполнения массива и понятие о перестановке данных ячеек
матриц.
Так как значение изменённого столбца совпадает со значением
строки, перемену значений можно использовать лишь одним циклом перебора. Для
изменения местами используем классический приём временной переменной SWAP - для
хранения промежуточного результата.
Работа осуществляется двумя вложенными циклами: внешний
переход по столбцам матрицы, внутренний проход по элементам каждого столбца.
В программе задействована процедура OUTM, участка кода который
содержит вывод содержимого матрицы на экран.
Также используется функция randoMatr для заполнения матрицы
случайными вещественными значениями.
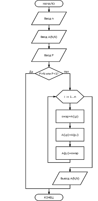
4. Блок-схема
всего алгоритма

Далее при соблюдения условия попадания P в диапазон матрицы
выполняем цикл, тело которого меняет местами значение столбца со значением
строки.
После выполнения цикла выводим содержимое матрицы.
6. Листинг
программы
change;crt;a: array [1.50,1.50] of integer;,p,swap: integer;
i,j: byte;
{n - количество строк и столбцов квадратной матрицы-
переменная для храненения перемены местами- номер строки или столбца для
перемены местами
i,j - счётчики циклов}
function randoMatr (k: integer): integer;
{Функция заполнения матрицы случайными числами}: =random (k);
{Диапазон вещественных чисел}
end;outputM;
{Вывод матрицы на экран}i: =1 to n
doj: =1 to n doi=p then textcolor (11); {строку P выводим голубым цветом}j=p then
textcolor (8); {столбец P серым цветом}(a [i,j]: 2,'
');(15); {остальные белым};;
end;;
{-----------Основной блок
программы---------------------};;('Введите размерность квадратной матрицы
n<50=');
readln (n);
for i: =1 to n do
for j: =1 to n do
a [i,j]:
=randoMatr (99); {заполняем матрицу
элементами}('Исходная матрица: ');; {Вывод матрицы на экран}('Введите целое
P=');(p);
{Проверка входимости числа в матрицу}
if (P>n) or (P<1) then exit;
{Меняем местами столбец со строкой}
for i: =1 to n do: =a [i,p];[i,P]: =a [p, i];[p,
i]: =swap;;('Полученная
матрица: ');; {Вывод матрицы на экран}('Для выхода нажмите Enter');;.
Пишем функцию заполнение матрицы случайными числами:
Процедуру вывода на экран:
Тестируем запуск:
программа алгоритм программа матрица
Пишем остальную часть кода, пробуем запуском программы:
Предоставим несколько вариантов исполнения программы:
Список
литературы
1. В.М.
Питеркин "Основы программирования на языке высокого уровня", М. -
2002 г.
2. Меженный
О.А. "Самоучитель TURBO PASCAL", издат. Диалектика, 2008 год