Разработка модели вычислительной системы

  • Вид работы:
    Курсовая работа (т)
  • Предмет:
    Информационное обеспечение, программирование
  • Язык:
    Русский
    ,
    Формат файла:
    MS Word
    252,34 Кб
  • Опубликовано:
    2013-01-21
Вы можете узнать стоимость помощи в написании студенческой работы.
Помощь в написании работы, которую точно примут!

Разработка модели вычислительной системы

Задание

В ВЦ через каждые 2+1 мин могут приходить пользователи. Доступ пользователей к ЭВМ осуществляется через 1 из 2 терминалов, которые обслуживают пользователей в течении 6+3, 4+1 мин. соответственно. Если все терминалы заняты, пользователю отказывают в обслуживании. Далее программы поступают в очередь, откуда выбираются для обработки на ЭВМ-1. Если же ЭВМ-1 занята, то программа обрабатывается на ЭВМ-2. Время выполнения задания на ЭВМ - 1 распределено по нормальному закону с параметрами m=2 мин, δ=2, на ЭВМ-2 - экспоненциальный закон с параметрами m=1 мин.

Смоделировать процесс обработки на ВЦ 100 заданий. Определить количество обработанных на ЭВМ программ, обслуженных вторым терминалом.

Варьируя параметрами системы, определить её оптимальную структуру, обеспечивающую минимальное время простоя оборудования.

Содержание

Введение

. Формализация концептуальной модели

.1 Построение формальной схемы функционирования системы

.2 Определение закона функционирования системы

. Алгоритмизация модели и её машинная реализация

.1 Выбор технических и программных средств моделирования

.2 Составление алгоритма моделирующей программы

.3 Описание моделирующей программы для детерминированного варианта модели

.4 Верификация (тестирование) программы

.5 Описание моделирующей программы для стохастической модели

. Получение и интерпретация результатов моделирования

.1 Планирование машинного эксперимента

.2 Проведение прогонов модели

.3 Анализ результатов моделирования

Заключение

Список используемой литературы

Приложение 1

Приложение 2

Приложение 3

Приложение 4

Введение

Современные системы характеризуются большой сложностью и нелинейностью, в связи с чем, многие характеристики могут быть получены, зачастую, только моделированием. С другой стороны, вычислительные системы являются мощным исследовательским инструментом и, в свою очередь, его объектом. Это усложняет моделирование, так как с одной стороны требуются знания методом моделирования, а с другой - хорошее знание процессов, происходящих в самих вычислительных системах. Исследуемые процессы носят чаще всего недетерминистский характер, что, в свою очередь, определяет моделирование случайных явлений и их статистический анализ и отображение.

Курсовое проектирование проводится с целью получения практических навыков моделирования сложных вычислительных систем и сетей.

1. Формализация концептуальной модели

.1 Построение формальной схемы функционирования системы

Моделируемая система представляет собой систему массового обслуживания с непрерывно - стохастическим законом функционирования.

Следовательно, в качестве аппарата формализации процессов функционирования рассматриваемой системы будем использовать типовую Q - схему /1/. Построим структурную схему системы, используя стандартные обозначения элементов Q - схемы (рис.1). В данной схеме использованы обозначения: И - источник заявок (пользователь), К1 - терминал 1, К2 - терминал 2, К3 - ЭВМ1, К4 - ЭВМ2, N - очередь пользователей к терминалам.

За единицу модельного времени (емв) примем 1 минуту. Общее время моделирования при 100 заданий неизвестно.

.2 Определение закона функционирования системы

Работу системы отразим временными диаграммами (рис.2). С помощью временных диаграмм рассчитаем ожидаемое значение выходной характеристики - время обработанных 100 заданий.

Через определенное время в ВЦ приходят пользователи. Их обслуживают два терминала в течении 6+3, 4+1 мин. Если терминалы заняты, пользователю отказывают в обслуживании. Далее заявки буферизуются и поступают либо на ЭВМ 1, либо на ЭВМ2, где обрабатываются и далее уходят из системы. На начальном этапе построения модели будем рассматривать детерминированный вариант модели. Для этого при создании детерминированной модели заданной вычислительной системы заменим стохастические потоки их математическими ожиданиями: время приходом пользователей - 2 минуты; время обслуживания 1 терминала - 6 мин; время обслуживания 2 терминала - 4 мин.

Время обработки программы на ЭВМ1 - 2 мин; время обработки программы на ЭВМ2 - 1 мин.

-х двух пользователей обслуживают 1 и 2 терминалы, 3 пользователю отказывают в обслуживании.

терминал обслуживает 6 минут, 2 терминал на 2 минуте захватывает и обслуживает 4 минуты. 4 пользователя обслуживает 1 терминал до 12 минуты, 5 пользователя 2 терминал также до 12 минуты и т д.

Итак, каждый 3-ий пользователь уходит не обслуженным. Обработанные на терминалах заявки поступают для дальнейшей обработки на соответствующую ЭВМ. На ЭВМ1 программы обрабатываются в течении 2 мин, поступая с 1 терминала. До поступления программы 4 пользователя образуется простой размерностью 4 минуты. На ЭВМ2 программы обрабатываются в течении 1 мин, поступая со 2 терминала. До поступления программы 5 пользователя образуется простой размерностью также 4 минуты. За 30 минут работы системы на ЭВМ1 обработаны 4 программы начиная с 6 минуты, простой 4 минуты. На ЭВМ2 также 4 программы начиная с 6 минуты, простой 5 минут. Таким образом, 100 программ будет обработано за: (100*30)/8 = 437,5 емв.


                                                       ==


Рис.1



















Рис.2

2. Алгоритмизация модели и её машинная реализация

.1 Выбор технических и программных средств моделирования

В качестве технических средств для выполнения курсовой работы по моделированию можно использовать ПЭВМ IBM РС/ТА, принтер, в качестве программное средство -комплексная моделирующая программаа для дискретного и непрерывного компьютерного моделирования (GPSS World Student).

.2 Составление алгоритма моделирующей программы





2.3 Описание моделирующей программы для детерминированного варианта модели

Данная моделирующая программа составлена на языке GPSS.Здесь были использованы такие операторы как: TRANSFER ALL, ADVANCE, ASSIGN, DEPART и др. Рассмотрим их подробнее.- это блок, через который транзакты входят в модель. Не существует ограничений на число различных блоков GENERATE в одной модели.

Интервал времени между последовательными появлениями транзактов блока GENERATE называют интервалом поступления. Когда транзакт входит в модель через блок GENERATE, интерпретатор планирует время поступления следующего транзакта путем розыгрыша случайного числа в соответствии с распределением интервалов поступления и с последующим добавлением разыгранного значения к текущему значению таймера. При достижении этого значения времени следующий транзакт вводится в модель через блок GENERATE.позволяет транзакту, в зависимости от условий, заданных в операндах блока, занять устройство.

Блок SEIZE имеет только одно поле (А), которое задает номер или имя устройства. При входе транзакта в блок SEIZE всегда проверяется занято устройство или нет. Если оно свободно, то оно занимается. Устройство свободно до тех пор, пока занимающий его транзакт не войдет в соответствующий блок RELEASE. Блок RELEASE предназначен для освобождения устройства тем транзактом, которым оно было занято.

Блок ADVANCE моделирует задержку вошедшего в него транзакта в течении определенного времени.

Блок ASSIGN является основным средством для задания значений параметров транзактов, он заменяет, увеличивает или уменьшает текущее значение параметра сообщения на заданное значение.

Блок TRANSFER позволяет направить сообщение к любому блоку модели. Он работает в режиме безусловного перехода в данном случае. (ALL).

Блок TERMINATE осуществляет вывод транзактов из системы (подсистемы).

Блоки QUEUE и DEPART описывают объекты типа «очередь». Статистика об очередях собирается в моменты входа сообщения(транзакта) в блок QUEUE (вход в очередь) или в блок DEPART (выход из очереди). Данные блоки являются информационно- статистическими и не влияют на внутренние операции процесса моделирования.

Блок SAVEVALUE сохраняет системные числовые атрибуты по времени моделирования и очередей.

Листинг программы для детерминированной модели представлен в Приложении 1.

.4 Верификация (тестирование) программы

В результате реализации программы и выдачи отчета результаты работы программы совпали с итогами рассчитанными в пункте -Определение закона функционирования системы. Отчет представлен в Приложении 2.

.5 Описание моделирующей программы для стохастической модели

Видоизменим программу путем преобразования из детерминированной модели в стохастическую. Для этого детерминированные параметры заменим стохастическими потоками, формирующимися по указанным в задании законам. А именно интервал прихода пользователей 2+1 мин. Обработка на ЭВМ1 2 мин. На ЭВМ2 1 мин. Листинг моделирующей программы со стохастическими законами описан в Приложении 3.

3. Получение и интерпретация результатов моделирования

.1 Планирование машинного эксперимента

Условимся считать некоторую систему оптимальной, если она в процессе работы удовлетворяет следующим условия:

не имеет простоя оборудования;

не имеет очередей заданий;

не имеет очередей заявок.


.2 Проведение прогонов модели

Результаты прогонов модели представлены в таблице 1.

Усредненные результаты прогонов будут следующими : количество заданий, поступивших на ЭВМ - 169; количество обработанных заданий - 121; количество необработанных заданий - 2.

Таблица 1

количество заданий, поступивших на все ЭВМ

количество обработанных заданий

количество необработанных заданий

153

110

2

156

111

1

171

123

2

159

112

1

206

147

2



3.3 Анализ результатов моделирования

вычислительный программа моделирующий алгоритм gpss

Значения выходных характеристик, полученные при прогонах модели с различными случайными воздействиями, будут отличны друг от друга. Усредненное по многим прогонам модели значение выходной характеристики незначительно отличается от соответствующей детерминированной величины, что подтверждает правильность работы модели. Для повышения количества обработанных заданий рекомендуется приблизить значения входных характеристик к указанным в пункте 3.1.

Заключение

В процессе подготовки курсовой работы была рассчитана и построена формальная схема функционирования системы. Переход моделирующей программы из детерминированной в стохастическую, тем самым усложнив условия. Затем мы провели прогон модели, в результате которой определили усредненные результаты количества поступивших заданий, количество обработанных и необработанных заданий на ЭВМ.

Среди достоинства GPSS было выявленно, что основные блоки, команды и стандартные числовые атрибуты языка GPSS можно представить как процедуры и функции языка C++ или Object Pascal, также GPSS может быть адекватно представлен как последовательность соответствующих вызовов процедур языка программирования.

Как и у любого другого языка программирования, у GPSS имеются недостатки , например, достаточно сложно представить непосредственно процессы обработки данных на уровне алгоритмов.

Список литературы

1. Альянах И.Н. Моделирование вычислительных систем.- Л.: Машиностроение. Ленинградское отделение, 1982.- 222 с.

. Библиографическое описание документа: Общие требования и правила составления: ГОСТ 7.32-81. -.М.: Изд.стандартов,1984.

. Бухараев Р.Г., Захаров В.М. Управление генератором случайных кодов.- Казань: Изд. КГУ, 1978.- 160 с.

. Единая система программной документации. - М., 1985.

. Живетина Т.М., Маврина Л.Н., Песошин В.А. Моделирование вычислительных систем: Лабораторный практикум.- Казань: Изд. КГТУ, 1995.-70 с.

. Колесников Г.С., Прохоров А.Г. Имитационное моделирование систем.- М.: МИРЭ и А, 1990.- 96 с.

. Общие указания по методике проведения курсового проектирования в высших технических учебных заведениях.- В кн.: Высш.шк.-М.: 1978.-С.181-187.

. Советов Б.Я., Яковлев С.Я. Моделирование систем: Курсовое проектирование: Учеб. пособие для вузов по спец. АСУ.- М: Высш.шк., 1988.-135 с.

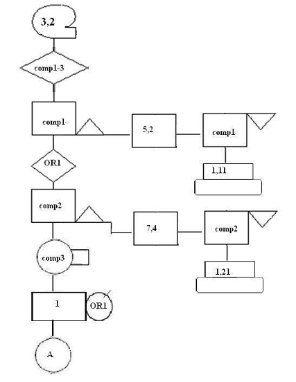
Приложение 1

10 GENERATE 3

TRANSFER ALL,COMP1,COMP3,5

COMP1 SEIZE 1

ADVANCE 5

RELEASE 1

ASSIGN 1,11

TRANSFER ,OR1

COMP2 SEIZE 2

ADVANCE 7

RELEASE 2

ASSIGN 1,21

TRANSFER ,OR1

COMP3 TERMINATE

OR1 QUEUE 1

TRANSFER ALL,EVM1,EVM2,5

EVM1 SEIZE 4

DEPART 1

ADVANCE 8

RELEASE 4

TRANSFER ,METKA1

EVM2 SEIZE 5

DEPART 1

ADVANCE 1

RELEASE 5

METKA1 SAVEVALUE 1+,P1

TERMINATE 1

START 100

Приложение 2

                   Wednesday, January 16, 2013 23:11:11

          START TIME           END TIME  BLOCKS  FACILITIES  STORAGES

               0.000            410.000    26        4          0

         COMP1                           3.000

         COMP2                           8.000

         COMP3                          13.000

         EVM1                           16.000

         EVM2                           21.000

         METKA1                         25.000

         OR1                            14.000             LOC  BLOCK TYPE     ENTRY COUNT CURRENT COUNT RETRY

                   1    GENERATE           136           0         0

                   2    TRANSFER           136            0         0      3    SEIZE                      68            0         0

                   4    ADVANCE              68           1          0

                   5    RELEASE                67            0         0

                   6    ASSIGN                   67            0         0

                   7    TRANSFER             67            0         0      8    SEIZE                      34            0         0

                   9    ADVANCE              34            0         0

                  10    RELEASE               34            0         0

                  11    ASSIGN                  34            0         0

                  12    TRANSFER            34            0         0     13    TERMINATE         34            0         0           14    QUEUE                101            0         0

                  15    TRANSFER          101            0         0       16    SEIZE                     34            0          0

                  17    DEPART                34            0          0

                  18    ADVANCE            34            1          0

                  19    RELEASE              33            0          0

                  20    TRANSFER           33            0          0       21    SEIZE                     67            0          0

                  22    DEPART                67            0          0

                  23    ADVANCE            67            0          0

                  24    RELEASE              67            0          0 25    SAVEVALUE      100            0          0

                  26    TERMINATE      100            0          0        ENTRIES  UTIL.   AVE. TIME AVAIL. OWNER PEND INTER RETRY DELAY

                  68    0.829       5.000  1      135    0    0     0      0

                  34    0.580       7.000  1        0    0    0     0      0

                  34    0.659       7.941  1      133    0    0     0      0

                  67    0.163       1.000  1        0    0    0     0      0             MAX CONT. ENTRY ENTRY(0) AVE.CONT. AVE.TIME   AVE.(-0) RETRY

                  1    0    101    101     0.000      0.000      0.000   0              RETRY       VALUE

                       0       1440.000                            XN   PRI          M1      ASSEM  CURRENT  NEXT  PARAMETER    VALUE

  135    0         405.000    135      4      5XN   PRI         BDT      ASSEM  CURRENT  NEXT  PARAMETER    VALUE

  137    0         411.000    137      0      1

  133    0         412.000    133     18     19       1         11.000

Приложение 3

10 GENERATE 3,2

TRANSFER ALL,COMP1,COMP3,5

COMP1 SEIZE 1

ADVANCE 5,2

RELEASE 1

ASSIGN 1,11

TRANSFER ,OR1

COMP2 SEIZE 2

ADVANCE 7,4

RELEASE 2

ASSIGN 1,21

TRANSFER ,OR1

COMP3 TERMINATE

OR1 QUEUE 1

TRANSFER ALL,EVM1,EVM2,5

EVM1 SEIZE 4

DEPART 1

ADVANCE 8,4

RELEASE 4

TRANSFER ,METKA1

EVM2 SEIZE 5

DEPART 1

ADVANCE 1

RELEASE 5

METKA1 SAVEVALUE 1+,P1

TERMINATE 1

START 100

Приложение 4

                   Wednesday, January 16, 2013 23:14:14 

          START TIME           END TIME  BLOCKS  FACILITIES  STORAGES

               0.000            423.153    26        4          0

             NAME                       VALUE 

         COMP1                           3.000

         COMP2                           8.000

         EVM1                           16.000

         EVM2                           21.000

         METKA1                      25.000

         OR1                              14.000             LOC  BLOCK TYPE     ENTRY COUNT CURRENT COUNT RETRY

                   1    GENERATE               139             0       0

                   2    TRANSFER               139              0       0              3    SEIZE                  62              0       0

                   4    ADVANCE                 62               0       0

                   5    RELEASE                   62               0       0

                   6    ASSIGN                      62               0       0

                   7    TRANSFER                62               0       0              8    SEIZE                 40               0       0

                   9    ADVANCE                 40              1        0

                  10    RELEASE                  39              0        0

                  11    ASSIGN                     39              0        0

                  12    TRANSFER               39              0        0             13    TERMINATE   37              0        0               14    QUEUE                101              0       0

                  15    TRANSFER             101              0        0              16    SEIZE                 39               0        0

                  17    DEPART                   39               0        0

                  18    ADVANCE               39               0        0

                  19    RELEASE                 39               0        0

                  20    TRANSFER              39               0        0              21    SEIZE                62                0        0

                  22    DEPART                  62                0        0

                  23    ADVANCE              62                1        0

                  24    RELEASE                61                0        0            25    SAVEVALUE      100       0        0

                  26    TERMINATE          100              0        0        ENTRIES  UTIL.   AVE. TIME AVAIL. OWNER PEND INTER RETRY DELAY

                  62    0.738       5.038  1        0    0    0     0      0

                  40    0.622       6.580  1      137    0    0     0      0

                  39    0.747       8.103  1        0    0    0     0      0

                  62    0.145       0.991  1      138    0    0     0      0             MAX CONT. ENTRY ENTRY(0) AVE.CONT. AVE.TIME AVE.(-0) RETRY

                  1    0    101     98     0.002      0.010      0.331   0              RETRY       VALUE

                       0       1490.000                            XN   PRI         BDT      ASSEM  CURRENT  NEXT  PARAMETER VALUE

  138    0         423.739    138     23     24       1         11.000

  140    0         425.188    140      0      1

  137    0         426.212    137      9     10

Похожие работы на - Разработка модели вычислительной системы

 

Не нашли материал для своей работы?
Поможем написать уникальную работу
Без плагиата!
Без нейросетей!