Разработка информационной подсистемы для администрации гостиницы 'Парадайс'

  • Вид работы:
    Курсовая работа (т)
  • Предмет:
    Информационное обеспечение, программирование
  • Язык:
    Русский
    ,
    Формат файла:
    MS Word
    687,66 Кб
  • Опубликовано:
    2013-01-16
Вы можете узнать стоимость помощи в написании студенческой работы.
Помощь в написании работы, которую точно примут!

Разработка информационной подсистемы для администрации гостиницы 'Парадайс'

Содержание

Введение

1. ТЕХНИЧЕСКОЕ ЗАДАНИЕ

.1 Наименование программы

.2 Цель разработки

.3 Назначение разработки

. ПОЯСНИТЕЛЬНАЯ ЗАПИСКА

.1 Назначения и область применения

.2 Технические характеристики

. ИНФОРМАЦИОННОЕ И ПРОГРАММНОЕ ОБЕСПЕЧЕНИЕ

3.1 Общие сведения о программе

3.2 Функциональное назначение программы

.3 Описание логической структуры программы

3.4 Входные данные программы

.5 Выходные данные программы

4. ОПИСАНИЕ ИНТЕРФЕЙСА И АППАРАТНОГО ОБЕСПЕЧЕНИЯ ИНФОРМАЦИОННОЙ ПОДСИСТЕМЫ «ГОСТИНИЦА»

4.1 Описание интерфейса информационной подсистемы «гостиница»

4.2 Общие требования

.3 Требования к центральному процессору

.4 Требования к оперативному запоминающему устройству

.5 Требования к наличию свободного места на жестком диске

.6 Требования к монитору

.7 Требования к принтеру

.8 Результаты тестирования программы

ЗАКЛЮЧЕНИЕ

Список использованной литературы

ПриложениЕ

Введение

 

В современном обществе высокие информационные технологии стали фундаментальной инфраструктурой. В последнее десятилетие в мире наблюдается увеличение объема информации. Синхронно с этим процессом в ряде областей науки, техники и управления народно-хозяйственным комплексом появляется все больше задач, требующих для своего эффективного решения новых технологий обработки данных.

Актуальность темы работы обусловлена тем, что в современных условиях жесткой конкуренции успешно могут действовать лишь те субъекты хозяйствования, которые оперативно и эффективно обрабатывают информацию.

Речь идёт о разработке и освоении в производстве информационной подсистемы, с помощью которой можно было бы оперативно обрабатывать информацию и получать результаты. Эта подсистема проста в эксплуатации и понятна обычному пользователю.

Пояснительная записка к работе содержит следующие разделы:

)        Результаты обследования информационной подсистемы администрации гостиницы «Парадайс». В этом разделе была проанализирована информационная система гостиницы, сформулированы задачи проектирования информационной подсистемы администрации гостиницы «Парадайс».

)        Разработка базы данных и системы управления базой данных для администрации гостиницы. В данном разделе создана модель базы данных информационной подсистемы администрации гостиница. После генерации были разработаны система управления базой данных и приложения с помощью среды программирования Delphi 7.0.

)        Информационное и программное обеспечение. В этом разделе показаны функции информационной подсистемы гостиница. Была описана логическая структура программы, рассмотрены входные данные информационной подсистемы, показаны результаты тестирования информационной подсистемы.

)        Требования к техническому обеспечению. Здесь рассмотрены требования к центральному процессору, оперативной памяти, видеопамяти, свободного места на жестком диске, клавиатуре, манипулятору типа мышь.

)        Расчет технико-экономической эффективности проекта информационной подсистемы гостиница. В этой главе выявлены суммарные затраты на создание информационной подсистемы «гостиница». Рассчитаны технико-экономическая эффективность информационной подсистемы «гостиница» и время окупаемости информационной подсистемы «гостиница».

)        Безопасность жизнедеятельности проекта. В этом разделе проанализированы опасные основные и вредные факторы на рабочем месте. Рассчитано естественное освещение на рабочем месте оператора информационной подсистемы гостиница «Парадайс».

1. ТЕХНИЧЕСКОЕ ЗАДАНИЕ

.1 Наименование программы

База данных администратора гостиницы. Полное наименование системы - автоматизированная информационная подсистемы учета и хранения архивной документации клиентов для гостиницы «Парадайс».

Программный продукт создан с применением языка программирования Delphi в среде компилятора Borland Delphi 7.0.

1.2 Цель разработки

Разработать базу данных для администратора гостиницы. База данных должна содержать следующую информацию:

Информация о клиентах, которые проживают в гостинице:

1.      серия и номер паспорта;

.        кем выдан паспорт;

.        дата выдачи паспорта;

.        фамилия;

.        имя;

.        отчество;

.        пол;

.        дата рождения;

.        место рождения;

.        прописка;

.        телефон клиента;

.        гостиничный номер клиента;

.        дата вселения;

.        дата выселения;

.        количество дней;

.        фамилия администратора, оформившего данного клиента.

Информационная подсистема должна обеспечивать ввод и хранение архивных данных:

.        серия и номер паспорта;

.        фамилия;

.        имя;

.        отчество;

.        пол;

.        дата вселения;

.        дата выселения;

1.3 Назначение разработки

Информационная подсистема «гостиница» предназначена для автоматизации места администратора гостиницы «Атлантис». К основным функциям программы можно отнести следующие:

. Информационная подсистема выполняет учет клиентов в гостинице.

. Ведется учет заселенных номеров.

. Ведется учет забронированных номеров.

. Ведется учет номеров, поставленных на ремонт.

. Информационная подсистема поддерживает ускоренные средства поиска информации о состоянии номеров.

6. У программы стандартный оконный интерфейс, от пользователя требуется лишь своевременное заполнение экранных форм.

Программный продукт тестировался на работоспособность на компьютере с необходимым, установленным программным обеспечением (Borland Delphi 7.0.).

Для полноценной работы базы данных необходимо наличие всех компонентов данного программного продукта: модули и таблицы с данными.

2. ПОЯСНИТЕЛЬНАЯ ЗАПИСКА

2.1 Назначения и область применения

Данная программа применима в деятельности Службы быта, справочного бюро.


Программа написана на языке программирования Delphi в среде компилятора Borland Delphi 7.0. Кроме того необходимо наличие Microsoft ActiveX Data Objects (ADO) - машина баз данных Borland. Представляет собой набор DLL -библиотек, обеспечивающих низкоуровневый доступ к локальным и клиент-северным БД. Должна устанавливаться на каждом компьютере, который использует приложения для работы с БД, написанные для Delphi.

3. ИНФОРМАЦИОННОЕ И ПРОГРАММНОЕ ОБЕСПЕЧЕНИЕ

 

.1 Общие сведения о программе


Информационная подсистема гостиница «Парадайс» предназначена для хранения, ввода, корректировки данных

3.2 Функциональное назначение программы


Информационная подсистема «гостиница» предназначена для автоматизации места администратора гостиницы «Атлантис». Базовые модули, обеспечивающие решение общих задач, могут дополняться специализированными модулями, учитывающими специфику деятельности гостиницы.

К основным функциям программы можно отнести следующие:

. Информационная подсистема выполняет учет клиентов в гостинице.

. Ведется учет заселенных номеров.

. Ведется учет забронированных номеров.

. Ведется учет номеров, поставленных на ремонт.

. Информационная подсистема поддерживает ускоренные средства поиска информации о состоянии номеров.

6. У программы стандартный оконный интерфейс, от пользователя требуется лишь своевременное заполнение экранных форм.

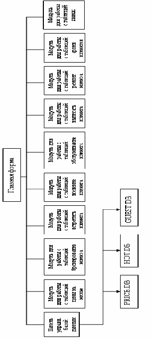
3.3 Описание логической структуры программы

 

 

 





















Структурная схема программного комплекса

На рисунке 3.1 представлена структурная схема программного комплекса «гостиница». В зависимости от выбранного пункта меню - выполняется один из модулей информационной подсистемы.

3.4 Входные данные программы


В качестве входных данных используются данные, которые вводятся в базу данных подсистемы. Процесс ввода происходит, при выборе пунктов меню. Например пункт меню «Сервис» (Рисунок 3.1).

Рисунок 3.1 - Выбор пункта меню «Сервис» и подпункта «бронировать»

При выборе подпунктов меню в пункте меню «Сервис» добавляются, редактируются и удаляются данные.

3.5 Выходные данные программы


В качестве выходных данных используются:

1) данные имеющихся свободных номерах в гостинице;

) данные о клиентах;

) данные о состоянии номеров на данный момент;

4) отчет о проделанной работе за период времени.

4. ОПИСАНИЕ ИНТЕРФЕЙСА И АППАРАТНОГО ОБЕСПЕЧЕНИЯ ИНФОРМАЦИОННОЙ ПОДСИСТЕМЫ «ГОСТИНИЦА»

 

.1 Описание интерфейса информационной подсистемы «гостиница»


Все модули программы откомпилированы в файле «гостиница.exe».

Запуск программы начинается с запуска файла «гостиница.exe».

После запуска программы на экран появляется главное окно программы представленное на рисунке 4.1.

Рисунок 4.1 - Главное окно программы «гостиница»

На рисунке 4.1 показано состояние гостиничных номеров по занятости. Для просмотра бронированных номеров необходимо войти в пункт меню «Состояние», как показано на рисунке 4.2. И выбрать подпункт меню «бронировано».

Рисунок 4.2 - Пункт меню «Состояние»

После этого появиться на экране таблица по занятости бронированных номеров которая показана на рисунке 4.3.

Рисунок 4.3 - Окно данных таблицы по занятости бронированных номеров.

Просмотреть номера, которые стоят на ремонте можно проверить, щелкнув на пункт меню «Состояние» - подпункт «на ремонте», показано на рисунке 4.2. После этого появиться таблица, в которой показано какие номера стоят на ремонте (Рисунок 4.4).

информационный программный интерфейс процессор

Рисунок 4.4 -Окно данных таблицы состояние номеров на ремонте

Для регистрации клиентов в гостиничных номерах необходимо войти в пункт меню «Сервис», подпункт меню «вселить». Появиться окно приложения «Вселение» (Рисунок 4.3)

Рисунок 4.3 -Окно приложения «Вселение»

Для бронирования номеров гостиницы необходимо войти в пункт меню «Сервис» - «бронировать». (Рисунок 4.4)

Далее идет заполнение экранных форм. В окне приложения «Бронировать».

Рисунок 4.4 - Окно приложения «Бронировать»

Если необходимо встретить клиента на жд/вокзале, автовокзале или из аэропорта, то необходимо для этого войти в пункт меню «встретить» и заполнить дату в окне приложения «Встретить». (Рисунок 4.5).

Рисунок 4.5 -Окно данных таблицы встретить.

После заполнения даты в окне приложения встретить появиться таблица, показанная на рисунке 4.6.

Рисунок 4.6 - Таблица окна приложения «Встретить»

Для проживающих клиентов гостиница предоставляет ряд услуг, отдельно оплачиваемых. Чтобы знать, сколько клиент должен будет, и за какие виды услуг необходимо заполнять окно приложения «услуга», которое показано на рисунке 4.7. Зайти пункт меню «Сервис» - «услуга».

Рисунок 4.7 - Окно приложения «услуга»

По окончанию проживания в гостинице делается расчет клиента с гостиницей. В пункте меню выбирается пункт меню «Рассчитать». После этого появится окно приложения «Выписать» (Рисунок 4.8)

Рисунок 4.7 - Окно приложения «Выписать»

Выбирается гостиничный номер, из которого клиенты выписываются, ставим дату вселения и выселения и щелкаем по кнопке «выполнить». После этого на экране выводятся услуги, которые заказывали клиенты и щелкаем по кнопке «просчитать». Теперь известно сколько клиент должен гостинице в сфере предоставления услуг.

Когда клиент расплатился щелкаем по кнопке «удалить». Записи удаляются из таблицы состояния и остаются в таблице базы данных «архив клиентов». Для просмотра архива клиентов необходимо зайти пункт меню «БД» - «архив клиентов» (Рисунок 4.8).

Рисунок 4.8 - Подпункт меню «архив клиентов»

Откроется таблица базы данных «Архив», который показан на рисунке 4.9.

Рисунок 4.9 - Таблица базы данных «архив клиентов»

4.2 Общие требования


Для стабильной работы информационной подсистемы «гостиница» необходимо: процессор не ниже 166 МГц, оперативной памяти 128 Мбайт, свободного места на диске должно быть не менее 5 Мбайт.

Обязательные требования: установленный пакет MS Office 97 и выше.

4.3 Требования к центральному процессору


Информационная подсистема «гостиница» реализована с помощью объектно-ориентированного языка программирования Delphi 7.0. В ходе контрольных прогонов, установлено, что подсистема функционирует на процессоре с тактовой частотой 166 MHz, но рекомендуется использование процессора с тактовой частотой 433 MHz и выше.

4.4 Требования к оперативному запоминающему устройству


Информационная подсистема «гостиница» работает под операционной системой Windows 98 и выше. Для стабильной работы информационной подсистемы рекомендуемый ресурс 128 Мбайта оперативной памяти. Минимальный объем ОЗУ составляет 64 Мбайта.

4.5 Требования к наличию свободного места на жестком диске


Информационная подсистема «гостиница» занимает свободного места на жестком диске 2 Мбайта.

4.6 Требования к монитору


Информационная подсистема не накладывает каких-либо ограничений на использование мониторов.

4.7 Требования к принтеру


Информационная подсистема не накладывает каких-либо ограничений на использование принтеров.

После запуска подсистемы, были произведены следующие проверки:

а)      Ввод в окна приложений данных подсистемы были произведены без проблем.

б)      В таблице базы данных «Выселение» был произведен расчет клиента за обслуживание номеров. Ошибок не обнаружено.

ЗАКЛЮЧЕНИЕ


В данном проекте была разработана информационная подсистема для администрации гостиницы «Парадайс». В процессе разработки проекта было выполнено.

Разработана база данных и система управления базой данных для гостиницы «Парадайс».

Информационная подсистема гостиницы «Парадайс» предназначена для автоматизации данной гостиницы и выполняющая ввод, хранение, корректировку данных.

Для нормальной работы информационной подсистемы гостиница необходимо: операционная система Windows 98/ME/NT4.0/2000/XP, процессор с тактовой частотой не ниже 133 МГц, объем оперативной памяти зависит от операционной системы, которая установлена на персональном компьютере, если это Windows 98/ME, то для нормальной работы информационной подсистемы требуется 64 Мбайта оперативной памяти установленной на персональный компьютер, а если Windows NT4.0/2000/XP, тогда требуется установить 128 Мбайт оперативной памяти, видеокарта не менее 4 Мбайт, свободного места на жестком диске для установки программы вместе с базой данных, в которой хранятся фактические данные необходимые для работы информационной подсистемы - должно быть не менее 5 Мбайт, клавиатура, манипулятор типа мышь.

Список использованной литературы

1.      <http://www.ych-group.ru/3/>

.        <http://abcomp.chat.ru/>

.        <http://www.softportal.com/get-5511-gost.html>

Приложение

Основной модуль

unit Unit1;

interface

uses, Messages, SysUtils, Variants, Classes, Graphics, Controls, Forms,, Menus, Grids, DBGrids, DB, DBTables, StdCtrls;= class(TForm): TGroupBox;: TMainMenu;: TMenuItem;: TMenuItem;: TMenuItem;: TMenuItem;: TMenuItem;: TMenuItem;: TMenuItem;: TMenuItem;: TMenuItem;: TMenuItem;: TMenuItem;: TMenuItem;: TMenuItem;: TMenuItem;: TMenuItem;: TButton;: TButton;: TMenuItem;: TGroupBox;: TEdit;: TMenuItem;: TDataSource;: TDBGrid;: TQuery;N2Click(Sender: TObject);N9Click(Sender: TObject);N10Click(Sender: TObject);N6Click(Sender: TObject);N7Click(Sender: TObject);N13Click(Sender: TObject);N3Click(Sender: TObject);N14Click(Sender: TObject);N12Click(Sender: TObject);N15Click(Sender: TObject);N16Click(Sender: TObject);Button1Click(Sender: TObject);Button2Click(Sender: TObject);N17Click(Sender: TObject);N4Click(Sender: TObject);FormMouseDown(Sender: TObject; Button: TMouseButton;: TShiftState; X, Y: Integer);

{ Private declarations }

{ Public declarations };: TForm1;Unit2, Unit3, Unit4, Unit5, Unit6, Unit7, Unit8;

{$R *.dfm}TForm1.N2Click(Sender: TObject);;;TForm1.N9Click(Sender: TObject);.Show;;TForm1.N10Click(Sender: TObject);.Show;;TForm1.N6Click(Sender: TObject);.Close;.SQL.Clear;.SQL.Add('SELECT Nomer, Familia, Sostoanie, Data_zaezda, Data_viezda FROM HOT WHERE Sostoanie="занят"');.Open;;TForm1.N7Click(Sender: TObject);.Close;.SQL.Clear;.SQL.Add('SELECT Nomer, Familia, Sostoanie, Data_zaezda, Data_viezda FROM HOT WHERE Sostoanie="бронирован"');.Open;;TForm1.N13Click(Sender: TObject);.Show;;TForm1.N3Click(Sender: TObject);.Show;;TForm1.N14Click(Sender: TObject);.Show;;TForm1.N12Click(Sender: TObject);.Show;;TForm1.N15Click(Sender: TObject);.Close;.SQL.Clear;.SQL.Add('SELECT Nomer, Sostoanie, RemontData FROM HOT WHERE Sostoanie="на ремонте"');.Open;;TForm1.N16Click(Sender: TObject);.Show;;TForm1.Button1Click(Sender: TObject);Query1.RecordCount<>0 then.Delete;;TForm1.Button2Click(Sender: TObject);.Locate('Familia', Edit1.Text, [loCaseInsensitive, loPartialKey]);;TForm1.N17Click(Sender: TObject);.Close;.SQL.Clear;.SQL.Add('SELECT Nomer, Data_zaezda, Data_viezda, Familia, Predoplata FROM HOT WHERE Sostoanie="занят"');.Open;.Visible:=True;.Visible:=True;;TForm1.N4Click(Sender: TObject);.Close;.SQL.Clear;.SQL.Add('SELECT * FROM HOT');.Open;;TForm1.FormMouseDown(Sender: TObject; Button: TMouseButton;: TShiftState; X, Y: Integer);.Visible:=True;.Visible:=True;;.Unit2;, Messages, SysUtils, Variants, Classes, Graphics, Controls, Forms,, ComCtrls, StdCtrls;= class(TForm): TGroupBox;: TEdit;: TEdit;: TEdit;: TEdit;: TEdit;: TEdit;: TEdit;: TEdit;: TEdit;: TLabel;: TLabel;: TLabel;: TLabel;: TLabel;: TLabel;: TLabel;: TLabel;: TLabel;: TDateTimePicker;: TDateTimePicker;: TLabel;: TEdit;: TLabel;: TEdit;: TLabel;: TLabel;: TButton;: TButton;: TEdit;: TDateTimePicker;: TEdit;: TEdit;: TComboBox;: TLabel;: TLabel;: TLabel;: TLabel;: TLabel;: TEdit;: TLabel;: TMemo;: TLabel;: TButton;Button1Click(Sender: TObject);Button2Click(Sender: TObject);Edit9DblClick(Sender: TObject);Button3Click(Sender: TObject);FormCreate(Sender: TObject);DateTimePicker2Change(Sender: TObject);

{ Private declarations }

{ Public declarations };: TForm2;Unit1, DB, DBTables, Unit9;

{$R *.dfm}TForm2.Button1Click(Sender: TObject);sost : String;: Integer;:='бронирован';.Query1.Close;.Query1.SQL.Clear;.Query1.SQL.Add('SELECT * FROM HOT');.Query1.Open;Form1.Query1 do;('Familia').AsString:=Edit2.Text;('Ima').AsString:=Edit3.Text;('Otchestvo').AsString:=Edit4.Text;('Gorod').AsString:=Edit5.Text;('Tell').AsString:=Edit6.Text;('E-mail').AsString:=Edit7.Text;('Nomer').AsString:=Edit8.Text;('Data_zaezda').AsDateTime:=DateTimePicker1.Date;('Data_viezda').AsDateTime:=DateTimePicker2.Date;('Predoplata').AsInteger:=StrToInt(Edit11.Text);('Doppol').AsString:=Memo1.Text;('Sostoanie').AsString:=sost;

//--встретить--('TipTransVS').AsString:=ComboBox1.Text;('DataVS').AsString:=DateToStr(DateTimePicker3.Date);('TimeVS').AsString:=Edit12.Text;('ReysVS').AsString:=Edit14.Text;('VagonVS').AsString:=Edit13.Text;('Zaregil').AsString:=Edit15.Text;;( 'данные добавлены', mtInformation, [mbOk], 0);;E:= 0 to ComponentCount -1 do(Components[E] IS TEdit) then

(Components[E] AS TEdit).Text :='';;;TForm2.Button2Click(Sender: TObject);;;TForm2.Edit9DblClick(Sender: TObject);nach, konec, chislo: TDateTime;, Month, Day : Word;:=DateTimePicker1.Date;:=DateTimePicker2.Date;

// n:=StrToInt(nach);

// k:=StrToInt(konec);:=konec-nach;(chislo,Year,Month,Day);.Text:=inttostr(day+1);;TForm2.Button3Click(Sender: TObject);.Show;;TForm2.FormCreate(Sender: TObject);.Date:=Date;.Date:=Date;.Date:=Date;;TForm2.DateTimePicker2Change(Sender: TObject);nach, konec, chislo: TDateTime;, Month, Day : Word;:=DateTimePicker1.Date;:=DateTimePicker2.Date;

// n:=StrToInt(nach);

// k:=StrToInt(konec);:=konec-nach;(chislo,Year,Month,Day);inttostr(day+1)='32' then begin edit9.Text:='1'; Exit; end;inttostr(day+1)='31' then begin edit9.Text:='0'; Exit; end;.Text:=inttostr(day+1);;.Unit3;, Messages, SysUtils, Variants, Classes, Graphics, Controls, Forms,, ComCtrls, StdCtrls;= class(TForm): TGroupBox;: TEdit;: TEdit;: TEdit;: TEdit;: TEdit;: TEdit;: TEdit;: TEdit;: TEdit;: TGroupBox;: TLabel;: TLabel;: TLabel;: TLabel;: TLabel;: TLabel;: TLabel;: TLabel;: TLabel;: TMemo;: TGroupBox;: TEdit;: TEdit;: TEdit;: TLabel;: TDateTimePicker;: TDateTimePicker;: TLabel;: TLabel;: TLabel;: TLabel;: TEdit;: TLabel;: TGroupBox;: TEdit;: TLabel;: TButton;: TButton;: TLabel;: TButton;Button2Click(Sender: TObject);Button1Click(Sender: TObject);Button3Click(Sender: TObject);FormCreate(Sender: TObject);DateTimePicker2Change(Sender: TObject);

{ Private declarations }

{ Public declarations };: TForm3;Unit1, Unit5, Unit9;

{$R *.dfm}TForm3.Button2Click(Sender: TObject);;;TForm3.Button1Click(Sender: TObject);sost:String;: Integer;:='занят';.Query1.Close;.Query1.SQL.Clear;.Query1.SQL.Add('SELECT * FROM HOT');.Query1.Open;Form1.Query1 do;('Nomerpas').AsString:=Edit1.Text;('VidanPas').AsString:=Edit2.Text;('DataPas').AsString:=Edit3.Text;('Familia').AsString:=Edit4.Text;('Ima').AsString:=Edit5.Text;('Otchestvo').AsString:=Edit6.Text;('Pol').AsString:=Edit7.Text;('DataRog').AsString:=Edit8.Text;('Propis').AsString:=Memo1.Text;

//--место рож('Nomer').AsString:=Edit10.Text;('Data_zaezda').AsDateTime:=DateTimePicker1.Date;('Data_viezda').AsDateTime:=DateTimePicker2.Date;

// FieldByName('Kol_dney').AsInteger:=StrToInt(fKolDney.Text);

// FieldByName('Cena_za_den').AsInteger:=StrToInt(fCenaZaden.Text);

// FieldByName('Itogo').AsInteger:=StrToInt(fItogo.Text);('Predoplata').AsInteger:=StrToInt(Edit11.Text);('Zaregil').AsString:=Edit12.Text;('Sostoanie').AsString:=sost;;;Form5.Query1 do; //добавить в архив('Nomer_pas').AsString:=Edit1.Text;('familia').AsString:=Edit4.Text;('Ima').AsString:=Edit5.Text;('Otchestvo').AsString:=Edit6.Text;('Data_zaezda').AsDateTime:=DateTimePicker1.Date;('Data_viezda').AsDateTime:=DateTimePicker2.Date;;;( 'данные добавлены', mtInformation, [mbOk], 0);E:= 0 to ComponentCount -1 do(Components[E] IS TEdit) then

(Components[E] AS TEdit).Text :='';;;TForm3.Button3Click(Sender: TObject);.Show;;TForm3.FormCreate(Sender: TObject);.Date:=date;.Date:=date;;TForm3.DateTimePicker2Change(Sender: TObject);nach, konec, chislo: TDateTime;, Month, Day : Word;:=DateTimePicker1.Date;:=DateTimePicker2.Date;:=konec-nach;(chislo,Year,Month,Day);inttostr(day+1)='32' then begin edit13.Text:='1'; Exit; end;inttostr(day+1)='31' then begin edit13.Text:='0'; Exit; end;.Text:=inttostr(day+1);;.Unit4;, Messages, SysUtils, Variants, Classes, Graphics, Controls, Forms,, ComCtrls, StdCtrls;= class(TForm): TGroupBox;: TLabel;: TDateTimePicker;: TButton;Button1Click(Sender: TObject);FormCreate(Sender: TObject);

{ Private declarations }

{ Public declarations };: TForm4;Unit1;

{$R *.dfm}TForm4.Button1Click(Sender: TObject);q : String;:=DateToStr(DateTimePicker1.Date);Form1 do.Close;.SQL.Clear;.SQL.Add('SELECT Familia, Ima, Otchestvo, DataVS, TipTransVS, ReysVS, TimeVS');.SQL.Add('FROM HOT');.SQL.Add('WHERE DataVS='+chr(39)+q+chr(39));.Open;;;TForm4.FormCreate(Sender: TObject);.Date:=Date;;.Unit5;, Messages, SysUtils, Variants, Classes, Graphics, Controls, Forms,, StdCtrls, DB, Grids, DBGrids, DBTables;= class(TForm): TGroupBox;: TQuery;: TDBGrid;: TDataSource;: TEdit;: TLabel;: TButton;Button1Click(Sender: TObject);

{ Private declarations }

{ Public declarations };: TForm5;

{$R *.dfm}TForm5.Button1Click(Sender: TObject);.Locate('Familia', Edit1.Text, [loCaseInsensitive, loPartialKey]);;.Unit6;, Messages, SysUtils, Variants, Classes, Graphics, Controls, Forms,, StdCtrls, DB, DBTables, Grids, DBGrids, ComCtrls;= class(TForm): TGroupBox;: TDataSource;: TDBGrid;: TQuery;: TGroupBox;: TGroupBox;: TEdit;: TLabel;: TDateTimePicker;: TDateTimePicker;: TLabel;: TLabel;: TButton;: TButton;: TLabel;: TButton;: TButton;: TQuery;: TDataSource;: TDBGrid;Button1Click(Sender: TObject);Button2Click(Sender: TObject);Button3Click(Sender: TObject);FormCreate(Sender: TObject);Button4Click(Sender: TObject);

{ Private declarations }

{ Public declarations };: TForm6;Unit10;

{$R *.dfm}TForm6.Button1Click(Sender: TObject);c, q, a: String;, sum: Integer;:=DateToStr(DateTimePicker2.Date);:=DateToStr(DateTimePicker1.Date);:=Edit1.Text;Query2 do;.Clear;.Add('select Yslyga, DataY, CenaY');.Add('FROM Hot');.Add('WHERE (NomerY='+chr(39)+a+chr(39)+') and (DataY between'+chr(39)+q+chr(39)+ 'AND' +chr(39)+c+chr(39)+')' );

Open;;

//-------расчет по имени---------

with Query1 do;.Clear;.Add('SELECT *');.Add('FROM HOT');.Add('WHERE (Nomer='+chr(39)+a+chr(39)+') and (Sostoanie="занят")');;;;TForm6.Button2Click(Sender: TObject);i, sum, temp: Integer;.First;:=0;not Query2.Eof do:=Query2.Fields[2].AsInteger;:=sum+temp;.Next;;.Caption:='Вы должны: '+ FloatToStr(temp);;TForm6.Button3Click(Sender: TObject);i, j: Integer;i:=0 to Query1.RecordCount-1if Query1.RecordCount<>0 then Query1.Delete;j:=0 to Query2.RecordCount-1if Query2.RecordCount<>0 then Query2.Delete;;TForm6.FormCreate(Sender: TObject);.Date:=date;.Date:=date;;TForm6.Button4Click(Sender: TObject);.QuickRep1.Preview;;.Unit7;, Messages, SysUtils, Variants, Classes, Graphics, Controls, Forms,, StdCtrls, ComCtrls;= class(TForm): TGroupBox;: TDateTimePicker;: TEdit;: TLabel;: TLabel;: TButton;: TButton;Button1Click(Sender: TObject);Button2Click(Sender: TObject);FormCreate(Sender: TObject);

{ Private declarations }

{ Public declarations };: TForm7;Unit1, DB, DBTables;

{$R *.dfm}TForm7.Button1Click(Sender: TObject);sost: String;:='на ремонте';.Query1.Close;.Query1.SQL.Clear;.Query1.SQL.Add('SELECT * FROM HOT');.Query1.Open;Form1.Query1 do;.Query1.FieldByName('Nomer').AsString:=Edit1.Text;.Query1.FieldByName('Sostoanie').AsString:=sost;.Query1.FieldByName('RemontData').AsDateTime:=DateTimePicker1.Date;;;TForm7.Button2Click(Sender: TObject);;;TForm7.FormCreate(Sender: TObject);.Date:=date;;.Unit8;, Messages, SysUtils, Variants, Classes, Graphics, Controls, Forms,, StdCtrls, ComCtrls;= class(TForm): TButton;: TGroupBox;: TEdit;: TEdit;: TEdit;: TDateTimePicker;: TLabel;: TLabel;: TLabel;: TLabel;Button1Click(Sender: TObject);FormCreate(Sender: TObject);

{ Private declarations }

{ Public declarations };: TForm8;Unit1;

{$R *.dfm}TForm8.Button1Click(Sender: TObject);Form1.Query1 do;.Clear;.Add('SELECT * FROM HOT');;;Form1.Query1 do;('Yslyga').AsString:=Edit1.Text;('CenaY').AsInteger:=StrToInt(Edit2.Text);('NomerY').AsInteger:=StrToInt(Edit3.Text);('DataY').AsDateTime:=DateTimePicker1.Date;;;('данные добавлены', mtInformation,[mbOk], 0);.Clear;.Clear;.Clear;;TForm8.FormCreate(Sender: TObject);.Date:=Date;;.Unit9;, Messages, SysUtils, Variants, Classes, Graphics, Controls, Forms,, DB, DBTables, Grids, DBGrids, StdCtrls;= class(TForm): TGroupBox;: TDataSource;: TDBGrid;: TQuery;

{ Private declarations }

{ Public declarations };

Похожие работы на - Разработка информационной подсистемы для администрации гостиницы 'Парадайс'

 

Не нашли материал для своей работы?
Поможем написать уникальную работу
Без плагиата!
Без нейросетей!