Молекулярно-променева епітаксія
Зміст
Вступ
Розділ 1. Загальна
характеристика процесу епітаксії
.1 Основи теорії епітаксійного
росту
.2 Способи проведення епітаксії
.2.1 Епітаксія з газової фази
.2.2 Рідкофазна епітаксія
Розділ 2. Молекулярно-променева
епітаксія
.1 Легування плівок в процесі
МПЕ
.2 Установка та вирощування
плівок у процесі МПЕ
Розділ 3. Епітаксійні плівки
кремнію на кристалах інших речовин
.1 Кремній на сапфірі
.2 Гетероепітаксійні системи Ge1-x-Six
Розділ 4. Використання
гетероепітаксійних кремнієвих структур
Висновки
Список літератури
Вступ
Процеси епітаксійного росту
аналогічні до отримання тонких плівок. Епітаксійні шари можна вирощувати
термовакуумним (ТВН) методом, з парогазової (ПГФ), рідкої чи твердої фази.
Більшість процесів епітаксії здійснюються осадженням з парогазової фази. В
умовах надвисокого вакууму здійснюється молекулярно-променева епітаксія (МПЕ).
Ріст кристала при епітаксії з ПГФ і МПЕ відбувається за температури нижчої від
температури плавлення. Процес рідкофазної епітаксії відбувається шляхом кристалізації
речовини на поверхні підкладки розплавленого металу, використовується переважно
для отримання шарів подвійних чи потрійних напівпровідникових сполук. Також
велике значення має вплив підкладки на кристалізацію речовини, що осаджується.
Атом, який надходить із зовнішньої фази, може передавати їй свою кінетичну
енергію. Сили зв’язку між підкладкою та адсорбованими атомами утримують
останніх на поверхні. Кристалохімічні особливості підкладки повинні впливати на
швидкість поверхневої дифузії адсорбованих атомів і тим самим на
кристалографічну орієнтацію плівку, що осаджується. Недосконалість будови
поверхні підкладки повинна позначитися на характері розподілу і будові
матеріалу, який нарощується. Під час росту епітаксійні шари можна легувати,
тобто в них вводять донорні або акцепторні домішки; унікальною особливістю
епітаксії є можливість отримання високоомних шарів напівпровідника на
низькоомних пластинах; при епітаксії можна одержати рівномірні розподіли або з
різким перепадом концентрації на дуже малій відстані; можна отримати
багатошарові структури в одному процесі.
Мета роботи полягала у вивченні
теорій епітаксійного росту, способу проведення епітаксії, дослідження
епітаксійних плівок кремнію на кристалах інших речовин, застосування
гетероепітаксійних кремнієвих структур в електроніці.
Розділ 1. Загальна характеристика
процесу епітаксії
Епітаксія -
процес нарощування монокристалічних шарів речовини на підкладку (кристал), при
якому кристалографічна орієнтація шару, що нарощується, повторює кристалографічну
орієнтацію підкладки. Епітаксія дозволяє отримувати такі тонкі (1 нм-10 мкм)
однорідні монокристалічні шари будь-якого типу провідності і будь-якого
питомого електричного опору, які неможливо створити іншим способом [1].
Розрізняють гетероепітаксію, коли
речовини підкладки і шару, що нарощується, різні за хімічним складом і
кристалічною структурою, та гомоепітаксію (автоепітаксію), коли підкладка і шар
однакові за хімічним складом або відрізняються тільки домішковим складом.
Епітаксія використовується в технології виробництва широкого класу електронних
приладів та пристроїв для отримання (у вигляді плівок і багатошарових структур)
епітаксійних шарів елементарних напівпровідників, сполук типу AIII BV,
AII BVI, AIV BVI, гранатів,
ортоферитів та інших матеріалів [1, 2].
Властивості епітаксійних плівок в
багато чому визначаються умовами сполучення кристалічних решіток шару, що
нарощується і підкладки, причому важливо, щоб вони мали структурно-геометричну
відповідність. Найлегше сполучаються речовини, кристалічні структури яких
однакові або близькі. Епітаксія легко здійснюється, якщо різниця параметрів
постійних решіток а не перевищує 10%. В цьому випадку тонка епітаксійна
плівка продовжує атомні площини підкладки (виникає псевдоморфний шар). При
великих розбіжностях сполучаються найбільш щільно упаковані площини. При різних
решітках сполучених речовин в епітаксійних плівках виникають дислокації
невідповідності. Щільністю дислокацій невідповідності можна керувати, змінюючи
параметри решітки зростаючого кристала (наприклад, введенням домішок) і
отримувати таким чином бездислокаційні епітаксійні плівки з високою рухливістю
і малою щільністю носіїв заряду. Крім структурно-геометричної відповідності,
спряження речовин залежить від температури процесу, ступеня перенасичення
речовини, яка осаджується, досконалістю підкладки і чистоти її поверхні. Тому
підкладку перед епітаксією зазвичай піддають механічній та хімічній обробці.
Епітаксійна плівка зростає за рахунок атомів і молекул, які складають
абсорбційний шар, і швидкість росту залежить від перенасичення в цьому шарі [3].
Епітаксія можлива з будь-якої фази:
газової (газофазна епітаксія), рідкої (рідинна епітаксія) і твердої
(твердофазна епітаксія). Переважний розвиток отримали газофазна епітаксія і
рідинна епітаксія [1].
1.1 Основи теорії епітаксійного
росту
Процеси епітаксійного росту
аналогічні до отримання тонких плівок. Епітаксійні шари можна нарощувати
термовакуумним методом (ТВН), з парогазофазної (ПГФ), рідкої чи твердої фази.
Більшість процесів епітаксії здійснюються осадженням з парогазової фази. В
умовах надвисокого вакууму здійснюється молекулярно-променева епітаксія (МПЕ).
Ріст кристала під час епітаксії з ПГФ і МПЕ відбувається при нижчих
температурах, ніж температури плавлення (Тпл.).
Процес рідкофазної епітаксії відбувається шляхом кристалізації речовини
кристалізації речовини на поверхні підкладки розплавленого металу,
використовується переважно для отримання шарів подвійних чи потрійних
напівпровідникових сполук [1].
Поверхню, через яку здійснюється
спряження атомів обох речовин, називають когерентною поверхнею розподілу. Існує
кілька моделей, що пояснюють характер спряження суміжних атомних площин двох
речовин. Якщо параметри ґраток речовини відрізняються неістотно, то говорять
про псевдоморфізм - результат пристосування міжатомних відстаней кристала, що
нарощується, до міжатомний відстаней підкладки [1,
2].
Підкладка має істотний вплив на
кристалізацію речовини, що осаджується. Атом, який надходить із зовнішньої
фази, може передавати їй свою кінетичну енергію. Сили зв’язку між підкладкою та
адсорбованими атомами утримують останніх на поверхні. Кристалохімічні
особливості підкладки впливають на швидкість поверхневої дифузії адсорбованих
атомів і тим самим на кристалографічну орієнтацію плівку, що осаджується.
Недосконалість будови поверхні підкладки також позначаються на характері
розподілу і будові матеріалу, який нарощується.
Під час росту епітаксійні шари можна
легувати, тобто в них вводять донорні або акцепторні домішки. Унікальною
особливістю епітаксії є можливість отримання високоомних шарів напівпровідника
на низькоомних пластинах. При епітаксії можна одержати або рівномірні
розподіли, або з різким перепадом концентрації на малих площах. Можна отримати
багатошарові структури в одному процесі. Напівпровідникові епітаксійні
монокристалічні шари, на відміну від монокристалів вирощених з розплаву, не
містять домішок, які є центрами дефектоутворення [1,
3].
У мікроелектроніці, як правило,
використовують гетерогенні процеси росту нової фази, тобто з процесами
нанесення її на поверхню існуючої твердої фази - підкладки. Осадження речовини
на поверхню підкладки здійснюється як у результаті хімічних, так і
фізико-хімічних перетворень. Процес супроводжується або затвердінням
(утворенням безструктурного осаду - скла), або кристалізацією - фазовим
переходом першого роду.
Процеси нанесення речовини проходять
у різних фізико-хімічних системах, де зовнішнім середовищем може бути
газоподібна, рідка або тверда фаза, а підкладкою завжди є тверда фаза у вигляді
моно-, полікристалічної або склоподібної речовини. Отже, під час нанесення
нової фази на поверхню можливі три макромеханізми: газова фаза - тверда фаза,
рідка фаза - тверда фаза і тверда фаза - тверда фаза [4].
1.2 Способи проведення епітаксії
Епітаксія істотно розширює
функціональні можливості елементів, пристроїв електронної техніки. Епітаксія
можлива з будь-якої фази: газової (газофазна епітаксія - ГФЕ), рідкої (рідинна
або рідиннофазна епітаксія - РФЕ) і твердої (твердофазна епітаксія - ТФЕ).
Найбільший розвиток отримали ГФЕ та РФЕ [1].
Методи ГФЕ поділяються на хімічні та
фізичні. Процес хімічної ГФЕ полягає у вирощуванні плівки з газової фази,
отриманої в результаті таких хімічних реакцій:
· відновлення
хлоридів Si та Ge воднем (SiCl4 + 2H2 ↔ Si + H Cl↑
-
хлоридний процес);
· піролітичне
розташування моносилану (SiH4 ↔ Si + 2H2↑);
· диспропорціонування
диіодидів і дихлоридів Si і Ge (2SiCl2 ↔ SiCl4 +
Si);
Ці процеси здійснюються в реакторах
(рис. 2); газова система забезпечує подавання в реакторну камеру газової суміші
необхідного складу. Додаючи до газової суміші сполуки легуючих елементів
(наприклад, AsCl3, B2H6), вирощують
епітаксійні шари n- або p- типу відповідно. Температура процесу коливається в
межах 800-1300 °C.
До фізичних методів належать методи
термічного осадження з молекулярних пучків у вакуумі, миттєвого випаровування,
«гарячої стінки», а також методи катодного розпилення та осадження. За методом
термічного осадження з молекулярних пучків речовина, що випаровується,
нагрівається до необхідної температури у надвисокому вакуумі (<1,3 ´
10-8 Па), при цьому його атоми і молекули потрапляють на підкладку,
де відбувається їх конденсація. Найдосконалішим є електронно-променевий спосіб
нагрівання, тому такий метод отримав назву молекулярно-променевої епітаксії.
Цей метод допомагає в процесі
осадження контролювати структуру і стан поверхні підкладок, регулюючи густину
молекулярного потоку, тобто швидкість росту кристалів, забезпечувати можливість
за допомогою маски виконувати локальну кристалізацію, отримувати чіткі
міжшарові межі, вирощувати надтонкі (10-100 нм) епітаксійні шари
напівпровідників, діелектриків і металів, створювати надрешітки, здійснювати
багатошарову забудову решітки. Метод миттєвого випаровування є найближчим до
методу осадження з молекулярних пучків і полягає в тому, що вихідна речовина
безперервно і рівномірно потрапляє у випарник, між ним і складом газової фази
підтримується термодинамічна рівновага [1,
3].
а б
Рис. 1.1. Схема горизонтальної (а)
та вертикальної (б) реакторних камер для епітаксії з газової фази хлоридним
методом [1]:
1 - реакторна камер; 2 - нагрівач; 3 - підставка для підкладок; 4 - підкладка
Метод катодного розпилення
відрізняється від термічних методів тим, що вихідною речовиною є речовина
твердого тіла, яка нагрівається. Процес відбувається у середовищі інертного
газу при тисках 0,133-13,3 Па, за нижчої, ніж в методах термічного
випаровування, епітаксійної температури.
Суть методу РФЕ полягає в
кристалізації розчину з розплаву та розрізняється залежно від способу видалення
розчину з поверхні плівки (рис. 1. 2).
РФЕ можна вести при відносно
невисоких температурах (400-500 оС). Вона дає змогу отримати
багатошарові епітаксійні структури і плівки певної конфігурації (за допомогою маски
SiO2) [1].
а б
Рис. 1.2. Схема пристроїв для
рідкофазної епітаксії зі зливом розчину з поверхні плівки (а) та вимушеним
видаленням розчину (б) [1]:
- підкладка; 2 - контейнер; 3 - піч
опору; 4 - кварцова ампула; 5 - термопара; 6 - 9 розчини; 10 - повзунок касети
Методи ТФЕ полягають в проведенні
орієнтованого росту епітаксійних шарів у двошарових і тришарових системах при
ізотермічному відпалюванні. Один з шарів - монокристалічна підкладка, інші -
аморфні та полікристалічні шари напівпровідників і металів. Для збереження
розташованих у підкладці приладних структур застосовують імпульсну термічну
обробку [4].
1.2.1 Епітаксія з газової фази
Атоми напівпровідника переносяться в
складі хімічної сполуки, яка дисоціює на підкладці. При цьому відбувається
перенесення реагентів до поверхні кристалічної підкладки, адсорбція та реакція
реагентів на поверхні, десорбція продуктів реакції, перенесення продуктів
реакції з кристала до основного потоку і впорядкування кристалізації адсорбованих
атомів кремнію у гратці. Ріст достатньо товстих досконалих монокристалічних
шарів ускладнюється, утвореними дефектами росту [1].
Газофазні процеси здійснюються в
установках з горизонтальними або вертикальними водоохолоджуваними кварцовими
реакторами, а як метод нагрівання найчастіше використовують індукційний. Форму
підкладок, виготовлених із молібдену або графіту, ураховуючи необхідність
отримання рівномірних покриттів на пластинах великої площі.
Процес епітаксійного нарощення
проводять за температур 1300-1500 K у випадку газофазної епітаксії і 900-1000 К
у випадку рідинної епітаксії [1].
Осадження при нормального тиску.
Технології осадження з газової фази за нормального тиску застосовуються для
епітаксійного нарощування кремнію, осадження плівок SiO2, Si3N4,
напівкристалічного кремнію тощо. Цей метод забезпечує достатню однорідність
нанесених покриттів і може реалізуватись за низької температури. Для осадження
плівок полікристалічного кремнію та нітриду кремнію використовуються установки
вертикального та горизонтально типів з нормальним тиском.
Плазмове осадження. Метод
плазмового осадження нітриду кремнію має значні переваги над іншими
методами. За рахунок регулювання величини потоку газу залежно від рівня
ВЧ-потужності та умов розподілу можна одержати плівку з високою однорідністю на
великій площі [1, 4].
В установці (рис. 1. 3)
використовується система газів N2+NH4+SiH4 і
осаджується плівка складу SixHyNz (температура
обробки 473-573 К, вакуум 0,26 ´
102 Па, ВЧ-потужність 500 Вт, швидкість осадження плівки - 0,67
нм/с).
Сполукою, яку найчастіше
використовують для осадження кремнію, є силан (SiH4), який внаслідок
високої температури осадження, малочутливий до окиснення, що призводить до
виникнення поверхневих дефектів.
Розкладання силану на поверхні кремнієвої
підкладки відбувається згідно з реакцією:
4(газ)→Si(тв)+2H2(газ)
(1. 1)
Рис. 1.3. Конструкція установки
плазмового осадження з газової фази конденсаторного типу [1]:
1- джерело ВЧ-потужності; 2 - вакуумний насос
Установки для епітаксійного
вирощування тетрахлориду кремнію мають вертикальний або горизонтальний реактор.
Перед осадженням пластини кремнію обробляють у потоці хлористого водню при
температурі 1473 К для видалення залишкової поверхневої плівки SiO2,
потім у реактор подається водень, насичений парою тетрахлориду, і на пластині
відбувається відновлення SiCl4 до атомарного кремнію
4+2H2→Si+HCl
(1. 2)
Швидкість росту плівки кремнію
пропорційна до парціального тиску силану.
1.2.2 Рідкофазна епітаксія
Рідкофазна епітаксія полягає в
нарощуванні монокристалічного шару з розплаву металу, насиченого
напівпровідниковим матеріалом, який рекристалізується на поверхні підкладки.
Розчинником може слугувати легкоплавкий компонент сполуки, що нарощується. Це
знижує температуру кристалізації, підвищує чистоту нарощуваного шару та зменшує
концентрацію вакансій. Для отримання епітаксійних шарів сполук АІІІ
ВV використовують тільки монокристалічні підкладки [1].
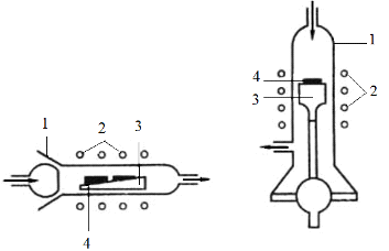
На рис. 1.4 наведена схема пристрою,
який забезпечує одержання гетеропереходів (Ge-Si, GaAs-GaP) товщиною менше, ніж
1 мкм.

- електрична піч; 2 - кварцова
труба; 3 - термопара; 4 - обмежувач; 5 - підкладка; 6 - основний графітовий
тримач; 7 - графітовий ковзний тримач розчину; 8 - штовхач
Якщо епітаксія керується струмом
(електроепітаксія), через граничний шар, який вирощують, пропускають
електричний струм, температура системи підтримується постійною. Таким способом
вирощують напівпровідникові шари InSb, GaAs, InP і шари гранатів.
Удосконалити реактори для рідинної
епітаксії можна пропусканням струму через межу розчин-підкладка (рис. 1.5), що
супроводжується Пельтьє-нагріванням або Пельтьє-охолодженням, залежно від
напрямку струму. Кінематика росту плівки залежить від товщини шару, утвореного
на межі розчину [1, 4].
Рис. 1.5. Епітаксійне нарощування [1]:
а - комірка для епітаксійного
нарощування GaAs з розчинів Ga=As; б - залежність швидкості росту плівки GaAs з
розчину Ga=As від зміни температури на межі; 1 - електроди; 2 - підкладка,
GaAs; 3 - розчин Ga=As; 4 - ізолятор
Розділ 2. Молекулярно-променева
епітаксія
Молекулярно-променева епітаксія
(МПЕ) являє собою процес отримання епітаксійних плівок методом конденсації
молекулярних пучків на підкладці у вакуумі. Джерелом молекулярних пучків є
напівпровідниковий матеріал, в основному кремній. Випаровування матеріалу
відбувається в результаті дії на напівпровідник сфокусованого електронного
пучка або в результаті прямого розігріву електричним струмом кремнієвої
пластини. У останньому випадку зразок (джерело) не плавиться, а здійснюється
сублімація і перенесення речовини на підкладку [1,
2].
Найбільш важливими вимогами, що
пред'являються до молекулярних джерел, є висока чистота молекулярних пучків та
поверхні джерела, стабільна швидкість випаровування в робочому режимі, великий
запас робочої речовини, можливість нагріву речовини, що випаровується, в
широкому інтервалі температур.
Процес МПЕ відбувається в вакуумі
при тиску 1,33 ´ 10-6-1,33
´
10-8 Па, і при температурі 400-800 °С. Швидкість росту епітаксійного
шару при цих умовах становить 0,01-0,03 мкм/хв. і практично дорівнює швидкості
росту плівки, яка отримується в процесі епітаксії з парогазової фази. У той же
час молекулярно-променева епітаксія має ряд переваг в порівнянні з процесом
епітаксії з парогазової фази, основними з яких є:
- більш низька температура
технологічного процесу при МПЕ зменшує дифузію домішок з підкладки та
автолегування;
- шар, отриманий в результаті
МПЕ має високий питомий опір, так як ймовірність потрапляння сторонніх домішок
на підкладку у вакуумній камері мала;
- відсутність проміжних хімічних
реакцій і дифузійних ефектів, мала ймовірність зіткнення часток у високому
вакуумі дають можливість точно керувати процесом МПЕ шляхом зміни параметрів
джерела, наприклад, температури і часу випаровування речовини [1].
Процес росту плівки починається з
появою в різних місцях поверхні підкладки скупчень атомів. В ході процесу
збільшується як кількість цих скупчень, так і їх величина. В результаті вони
замикаються, утворюючи початковий шар плівки. Таким чином, початкова
безперервна плівка вже має мінімальну товщину близько 20-100А, а не є
одноатомною. Це призводить до того, що джерелами дефектів в ній можуть бути як
дефекти, які існують в зародку, так і дефекти, що утворилися в результаті
злиття зародків, що зрослися.
Для отримання досконалих
монокристалічних плівок найважливішою проблемою є те, що потрібно однаково
зорієнтувати зародки, які рівномірно розподілені на підкладці. Розоріентація
зародків навіть на малі кути викликає значне збільшення концентрації дефектів.
Існує певна температура епітаксії, вище якої утворюються зародки однієї
орієнтації [1, 3].
В результаті взаємодії атомів, що
потрапляють на підкладку, з атомами підкладки відбувається захоплення атомів
атмосфери поверхнею підкладки. Цей процес називають адсорбцією. Розрізняють
хемосорбція і фізичну адсорбцію. При хемосорбції енергія взаємодії становить
величину порядку одного електрон-вольта на атом, тобто вона приблизно дорівнює
енергії протікання хімічної реакції. Фізична адсорбція зумовлена слабкими
взаємодіями атомів пучка з атомами підкладки за рахунок сил Ван-дер-Ваальса.
Адсорбований атом, перебуваючи у збудженому станів, мігрує по поверхні
підкладки, потрапляючи з однієї потенційної ями в іншу. Через певний час він
може або затриматися в одній з таких потенційних ям, або провзаємодіяти з
іншими атомами, утворивши стійкі комплекси на поверхні (кластери), або покинути
поверхню, тобто десорбувати [1].
2.1 Легування плівок в процесі МПЕ
Легування в процесі МПЕ здійснюється
двома способами. Перший заснований на випаровуванні легуючої домішки і
розміщенні її в кристалічній решітці за механізмом, аналогічним процесу росту
кремнію. В якості джерел домішки використовують сурму Sb, галій Ga або алюміній
Аl. При виборі легуючих домішок визначальними є значення швидкості осадження
атомів і коефіцієнта акомодації. Малі значення коефіцієнта акомодації свідчать
про високу ймовірність процесу десорбаціі домішки з підкладки, тобто, про
труднощі утворення зародків на її поверхні. Наявність температурної залежності
коефіцієнта акомодації викликає необхідність точного підтримання температури
підкладки [1].
При іншому способі легування
використовується процес іонної імплантації. У цьому випадку для легування шару,
що нарощується, застосовують іонні пучки струмом 1 мкА з енергією 0,1-3,0 кеВ.
Низька енергія імплантації забезпечує введення домішки на невелику глибину під
поверхню шару, що нарощується, і внесення її у кристалічну решітку. При цьому
способі легування поряд з сурмою, галієм і алюмінієм можливе використання таких
домішок як бор, фтор і миш'як.
Застосування іонного легування в
процесі МПЕ дозволяє отримувати складні профілі легування, що практично
неможливо здійснити, використовуючи методи епітаксії з парогазової фази. У той
же час впровадження МПЕ в технологічний процес виготовлення інтегральних
мікросхем та напівпровідникових кремнієвих приладів довгий час стримувалося
відсутністю необхідного промислового обладнання. В останні роки налагоджено
випуск систем для проведення процесу МПЕ, які відрізняються високою вартістю і
складністю [1, 4].
2.2 Установка та вирощування
плівок у процесі МПЕ
плівка променевий
епітаксія кремнієвий
Одна з можливих схем сучасної
установки для здійснення процесу молекулярно-променевої епітаксії кремнію
зображена на рис. 2. 1. ЇЇ основою є вакуумна камера 1, в якій розташовані
джерела молекулярних пучків кремнію і легуючої домішки 2, спрямовані до
нагрітої підкладки 3. Матеріал тигля, в якому знаходиться кремній, повинен бути
термічно стійким і хімічно інертним. В якості такого матеріалу застосовують
піролітичний нітрид бору або графіт, максимальні робочі температури яких
становлять відповідно 1800 і 2000 °С.
Для нагрівання кремнію
використовуються два електронно-промених випарника, потужність яких становить
14 кВт. Постійна інтенсивності потоку атомів забезпечується контролером
температури випаровування. Для більш рівномірного нагріву підкладки повинні
бути розташовані якомога ближче до нагрівача [1].
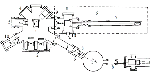
Рис. 2.1. Схема установки для
вирощування плівок методом МПЕ [1]:
- вакуумна камера; 2 - джерело
пучків; 3 - підкладка; 4,5 - вікна; 6 - завантажувальний шлюзовий пристрій; 7 -
пристрій для магнітного переміщення завантажувальної штанги; 8 - завантажуюче
вікно; 9 - клапан; 10 - іонна гармата
Контроль температури процесу
здійснюється різними методами (за допомогою термопар, ІЧ-датчиків, оптичних
параметрів). З метою очищення поверхні зразка використовують потік іонів
інертного газу невеликої потужності, джерелом яких є іонна гармата 10. Контроль
структури і чистоти як вихідної підкладки, так і сформованого шару здійснюють
за допомогою складних пристроїв. Чистота поверхні, її елементний склад
визначаються методом ожеспектроскопіі.
Кристалографічний аналіз підкладок і
плівок проводиться методом дифракції електронів. Пучок електронів, який
направляється на підкладку під кутом близьким до 1°, утворює дифракційну
картину, за якою можна визначити параметри елементарної комірки, виявити в
процесі росту шарів небажані структури і відкоригувати робочі параметри
процесу. Для хімічного аналізу поверхні використовують метод
рентгеноелектронної спектроскопії. Вікна 4, 5 призначені для візуального спостереження
за процесом. В установках МПЕ крім основних технологічних операцій (очищення
поверхні підкладки, епітаксійного осадження, аналізу осадженого шару)
виконуються також допоміжні операції: введення підкладки в зону осадження,
транспортування підкладки з однієї камери в іншу [1,
2].
Для запобігання багаторазових і
тривалих контактів високовакуумної системи з повітрям використовується
завантажувальний шлюзовий пристрій 6, до складу якого входять два вакуумних
сорбційних і один іонний насоси, продуктивністю 30 л/с, пристрій для магнітного
переміщення завантажувальної штанги 7, завантажуюче вікно 8, клапан 9.
На відміну від епітаксії з
парогазової фази виконання МПЕ не пов'язане з прийняттям особливих заходів з
техніки безпеки. Метод МПЕ є досить перспективним у виробництві високочастотних
і оптоелектронних приладів [1].
Розділ 3. Епітаксійні плівки кремнію
на кристалах інших речовин
Кремній на ізоляторі (КНІ) -
технологія виготовлення напівпровідникових приладів, яка базується на
використанні тришарової підкладки зі структурою кремній-діелектрик-кремній
замість монолітних кремнієвих пластин, які звичайно використовуються. Дана
технологія дозволяє досягти істотного підвищення швидкодії мікроелектронних
схем при одночасному зниженні потужності і габаритних розмірів. Так, наприклад,
максимальна частота перемикання транзисторів, виконаних за технологічним
процесом 130 нм, може досягати 200 ГГц. У перспективі, при переході до
технологічних процесів з меншим розміром активних елементів (вже існує 22 нм,
або тільки розробляється зараз 10 нм), можливе ще більше підвищення цього
показника [5, 6].
Рис. 3.1. Схема КНІ-підкладки [5]
Підкладка, виготовлена за
технологією «кремній на ізоляторі», являє собою тришаровий пакет, який складається
з монолітної кремнієвої пластини, діелектрика і розміщеного на ньому тонкого
поверхневого шару кремнію. В якості діелектрика може виступати діоксид кремнію
SiO2 або, набагато рідше, сапфір (в цьому випадку технологія називається
«кремній на сапфірі» або КНС). Подальше виробництво напівпровідникових приладів
з використанням отриманої підкладки за своєю суттю практично нічим не
відрізняється від класичної технології, де в якості підкладки використовується
монолітна кремнієва пластина [5, 6].
В першу чергу технологія КНІ
застосовується в цифрових інтегральних схемах (зокрема, в мікропроцесорах),
більша частина яких в даний час виготовляється з використанням КМОП
(комплементарної логіки на МОП-транзисторах). При побудові схеми за даною
технологією велика частина спожитої потужності витрачається на заряд паразитної
ємності ізолюючого переходу в момент перемикання транзистора з одного стану в
інший, а час, за який відбувається цей заряд, визначає загальну швидкодію
схеми. Основна перевага технології КНІ полягає в тому, що за рахунок тонкого
поверхневого шару та ізоляції транзистора від кремнієвої основи вдається
багаторазово знизити паразитну ємність, а, отже, і знизити час її зарядки разом
зі спожитою потужністю. Інша перевага технології КНІ - радіаційна стійкість до
іонізуючих випромінювань. Тому така технологія широко використовується для
аерокосмічного і військового електронного обладнання. Недолік технології КНІ -
велика вартість [6, 7, 8].
3.1 Кремній на сапфірі
Монокристалічні плівки кремнію
великої площі на кристалі сапфіра (Al2O3) з високою
адгезією отримали Манасевіт і Сімпсон. SiCl4 або SiHCl3
відновлювали воднем, або термічно розкладали силан.
Перед осадженням поверхню сапфіра
обробляють воднем при високих температурах. Обробка у водні при температурі
1260 оС повинна продовжуватися не більше 2 годин, оскільки
відбувається травлення сапфіра. Якість полірування поверхні повинна бути
максимальною, оскільки від неї залежить якість шарів, що ростуть [9].
Хімічне травлення сапфіру здійснюють
в наступних реакціях:
- фосфорна кислота (t=400-500 оС);
- фтористий свинець (t=850 оС);
- боракс (N2B4O7)
(t=1000 оС).
Всі ці реакції видаляють
деформований шар при шліфуванні. Після травлення фосфорною кислотою, ями
травлення та подряпини на поверхні відсутні, але виникає хвилястість, швидкість
травлення при цьому складно регулювати. В другому випадку травлення протікає
швидко, але виникають нерівності. Найбільш досконалу поверхню дає обробка
бораксом, однак при цьому виникає шар травника, який складно видалити, і плівка
кремнію виявляється не якісною.
При відновленні трихлорсилану
швидкість росту, яка лежить в межах 0,2-2,5 мк/хв., не впливає на якість
плівок. З підвищенням температури росту від 1000 до 1200 оС плівки
стають більш якісними, але при подальшому нагріванні рефлекси на рентгенограмах
від цих плівок розмиваються і при температурах вище 1300 оС
утворюється полікристалічний шар [9, 10].
Ріст кремнію на сапфірі в звичайних
умовах проходить шляхом виникнення та подальшої коалесценції трьохвимірних
зародків.
При tn=1100 оС
та 1250 оС (CSiCl4=2 мол.%) кристали кремнію, які виросли
на поверхні сапфіра із зародків, мають неправильну форму. На електронограмі,
яка відповідає початковій стадії росту, спостерігаються кільцеві рефлекси.
При tn=1200 оС
(CSiCl4=2 мол.%) частинки мають чітко виражену форму країв у вигляді
трикутника або шестикутника та мають орієнтування відносно підкладки (111) [1`10]
Si úú (0001) [11`20]
Al2O3. При tn=1300 оС відбувається
травлення підкладки з утворенням ям [9].
При використанні реакцій відновлення
SiCl4 (SiHCl3) або розкладення SiH4 для
утворення та росту зародків кремнію на сапфірі є певні відмінності в утворенні
зародків. По-перше, при піролізі силану швидкість утворення та щільність
зародків значно вища. По-друге, при відновленні SiCl4 кристали мають
огранювання. По-третє, при осадженні із SiCl4 час, який потрібний
для утворення суцільної плівки, на порядок вищий.
Щільність дислокацій на
монокристалічних плівках кремнію на сапфірі виявляється високою (~2
´
108 см-2). Це пояснюється низькою якістю
кристалів-підкладок з густиною дислокацій 105-106 см-2,
а також деформацією плівок внаслідок неоднакового теплового розширення кремнію
та сапфірі. Залишкові напруги, які виникають в плівках кремнію з цієї причини,
приблизно дорівнюють 1010 дин/см2 [9].
Для легування кремнієвих підкладок
кремній осаджували на гранях (0001) та (1`102)
сапфіра по методу піролізу силану. При розкладанні силану без спеціального
легування утворюються плівки з p-провідністю, опором від 1 до 100 Ом´см
т рухливістю носіїв 50-250 см2/В´с.
Плівки з високим опором ростуть при низьких температурах або при меншому часу
попереднього відпалювання підкладки у водні. Плівки з n-провідністю осаджуються
при легуванні силану фосфіном. Для встановлення механізму легування окремі зразки
піддаються додатковій термічній обробці в умовах, які виключають їх
забруднення. На рис. 3. 2 показані типічні профілі розподілення легуючого
елементу в шарі.
Рис. 3.2. Профілі розподілу домішок
за товщиною кремнієвої плівки, осадженої на сапфірі [9]
Криві 1 та 2, які відносяться до
двох зразків кремнію, осадженому на сапфірі при 1160 оС без
додаткової термічної обробки, характеризують розподілення легуючої домішки
внаслідок автолегування. Крива 3 відноситься до зразка, приготовленого
наступним чином: шар кремнію товщиною 7 мк вирощується при 1160 оС,
відпалюється 30 хв. у водні при 1325 оС і потім повторно осаджується
кремній при 1160 оС (h=23 мк). Четвертий зразок (плівку товщиною 14
мк) після осадження при 1160 оС відпалюється 30 хв. при 1375 оС.
Початковий рівень легування - 1017 см-3 [9,
10].
3.2 Гетероепітаксійні системи Ge1-x-Six
Орієнтована кристалізація кремнію на
германії при відновленні SiCl4 відбувається у вузькому інтервалі
температур. При tn=900 оС германій покривається
полікристалічним шаром кремнію і лише при температурі підкладки, близької до
точки плавлення германію, кремній утворює на площині (111) суцільний
орієнтований шар. Плівки кремнію та германію мають n-провідність [9].
Джерело кремнію знаходиться при
температурі 1100 оС, а германієва підкладка - при 900 оС.
Епітаксійні шари осаджують на підкладках з орієнтацією (111) та (100).
Вивчення структури кремнієвих шарів
свідчить про їх низьку досконалість. Крім чисельних мікродефектів в самому осаді,
під плівкою було знайдено кавітаційний шар, який містить великі порожнини. Його
товщина росте зі збільшенням тривалості процесу. Цей шар виникає внаслідок
дифузії германію в епітаксійну плівку кремнію. Після 64-годинного осадження
германієву підкладку товщиною 1 мм розрізнити вже не вдається. За допомогою
рентгенівського мікроаналізу було досліджено розподілення германію по товщині
шару кремнію, що росте (рис. 13). Бачимо, що градієнт концентрації германію
збільшується зі зниженням температури росту. Плівки монокристалічні по всій
товщині, причому вимірювання періодів решітки твердих розчинів, що утворюються,
узгоджуються з результатами мікроаналізу [9,
10].
При високій температурі германієвої
підкладки за присутності парів йоду поряд з осадженням кремнію відбувається
травлення германію.
Орієнтований ріст кремнію на
підкладках із германію з орієнтацією (111) спостерігається до 650 оС.
При більш низьких температурах швидкість росту значно знижується (рис. 13)
причому кремній осаджується в основному на стінках ампули при температурі
близько 800 оС. Орієнтований ріст на підкладках з орієнтацією (100)
проходить лише при tn>800 оС.
Для дослідження механізму
потрапляння германію в кремнієві шари був вивчений вплив подальшого
довготривалого відпалювання шарів (600 год. при 918 оС) на характер
розподілення германію в плівці. Виявилося, що відпал не супроводжується
помітною дифузією. Германій переноситься в шар не дифузійним шляхом, а через
пори в підшарі внаслідок реакції з йодом в газовій фазі [9,
10, 11].
Рис. 3.3. Залежність концентрації
германію від товщини епітаксійної кремнієвої плівки [9]
В останні кілька десятиліть значна
увага приділяється дослідженню властивостей та методів вирощування епітаксійних
шарів Ge1-x-Six [9, 11]. Надзвичайний інтерес до таких
структур обумовлений багатьма причинами. Одна із них полягає в тому, що можна
змінювати фізичні властивості таких структур в заданому напрямку не вдаючись до
додаткового легування, а лише змінюючи відносну концентрацію германію в
епітаксійному шарі. Така зміна концентрації германію впливає, наприклад, на
прозорість структур в оптичному спектрі, що є важливим для технології
виготовлення сонячних елементів. Змінюючи неперервно вміст германію в
гетероструктурі, можна приготувати великий спектр переходів з практично
будь-якими властивостями, що є надзвичайно важливим у виробництві
мікроелектронних приладів. Привабливість таких структур пояснюється ще й тим,
що ґратки германію та кремнію мають однаковий структурний тип і лише незначно
відрізняються періодами трансляцій, що робить можливим вирощування
псевдоморфних перехідних шарів без таких дефектів, як двійники або включення
іншої фази. Варто відзначити також і відносну дешевизну таких структур в
порівнянні з двокомпонентними шарами на базі елементів In, Cd, Te [12,
13].
Таким чином, привабливість
епітаксійних структур Ge1-x-Six визначається наступними
факторами: широким спектром використання (завдяки можливості регулювати
оптичними, електричними та магнітними властивостями без легування), високою
технологічністю (подібність структури ґраток вихідних компонентів, доступністю
і незначною собівартістю вихідних матеріалів.
Існує декілька широковживаних
методів вирощування псевдоморфних шарів Ge1-x-Six, які
умовно поділяються наступним чином:
метод низькотемпературного осадження
з рідинної фази;
метод низькотемпературного осадження
з газової фази;
метод молекулярнопучкової епітаксії.
Метод іонного розпилення вимагає
значних енергетичних затрат. Це пов’язано з нагріванням підкладки і мішені та з
прикладенням поля, необхідного для розгону іонів. Крім того, заряджені іони
можуть утворювати неконтрольовані комплекси із точкових дефектів. Даним методом
вдалося виростити плівки товщиною від 10 Å до
3 мкм. Швидкість росту плівок становить ∼7
Å/с при іонному розпиленні і ∼50
Å/с при термічному випаровуванні.
Найбільш енергетично привабливим
серед даних методів є метод хімічного осадження, оскільки не вимагає нагрівання
і розплавлення вихідних компонентів. Але цей метод не дозволяє контролювати
дифузію чужорідних домішок в перехідні шари, які обов’язково присутні у
вихідних хімічних сполуках. Наприклад, часто спостерігається утворення сполук
іншої фази на основі кремнію та вуглецю, що веде до порушення псевдоморфізму
структури [15, 16, 17].
Розділ 4. Використання
гетероепітаксійних кремнієвих структур
Протягом останніх 15 років
корпорація Intel являється галузевим лідером в області створення діелектриків
затворів транзисторів на основі діоксиду кремнію (SiO2). Провідні
позиції корпорації підтверджуються розробкою семи поколінь логічних виробничих
технологій. Однак зі зменшенням розмірів транзисторів спостерігається
збільшення витоку струму. Запобігання цьому витоку є найважливішим завданням
для забезпечення надійної і швидкої роботи транзисторів і стає все більш
важливим фактором при проектуванні мікросхем. Корпорація Intel зробила значний
прорив на шляху вирішення проблем, пов'язаних з живленням мікросхем, і
впровадила гафній, новий матеріал з високим показником діелектричної
проникності k "high-k", в якості діелектрика затвору замість діоксиду
кремнію. Крім того, корпорація Intel перейшла до використання нових металевих
матеріалів для заміни полікремнієвих електродів затворів транзисторів NMOS і
PMOS. Ці нові матеріали в поєднанні з новою виробничою технологією дозволяють
зменшити витік потужності на затворі більш ніж у 100 разів, забезпечуючи при
цьому рекордну продуктивність транзисторів. Щоб досягти таких виняткових
показників дослідники напівпровідникових технологій корпорації Intel
випробували більше 100 сполучень різних матеріалів [18,
19].
Щоб створити транзистори нового
покоління, корпорація Intel розробляє нові матеріали, які демонструють
потенційну можливість заміни діелектриків затворів з діоксиду кремнію, в яких
при зменшенні розмірів стає все складніше запобігти витоку потужності. Цей клас
матеріалів, званий high-k, замінить використовуваних зараз технологій на основі
діоксиду кремнію і буде використовуватися протягом декількох поколінь.
Позначення "high-k"
означає високий показник діелектричної проникності. За допомогою цього
показника вимірюється обсяг заряду, який може зберегти будь-який матеріал.
Різні матеріали мають різні значення діелектричної проникності. Еталонним
матеріалом для цього показника є повітря, для якого значення "k"
дорівнює одиниці. Матеріали класу "High-k", такі як діоксид гафнію
(HfO2), діоксид цирконію (ZrO2) та діоксид титану (TiO2) мають значення
діелектричної проникності вище 3,9 значення для діоксиду кремнію [18].
Рис. 4.1. Звичайний та новий high-k
транзистори [18]
Після багаторічних досліджень
корпорація Intel підібрала відповідний матеріал high-k і відповідні матеріали
електродів затворів, що дозволяють досягти рекордної продуктивності
транзисторів NMOS і PMOS. Перейшовши на новий матеріал high-k, корпорація Intel
змогла зберегти показники робочого струму на тому ж рівні, що і для старих
матеріалів, і, при цьому, вирішити проблему витоку потужності.
Всі виробники напівпровідникових
пристроїв постійно стикаються з проблемою перегріву мікросхем, що експоненційно
зростає зі збільшенням кількості транзисторів. Скорочення витоку потужності,
завдяки використанню нових матеріалів high-k, є одним з найважливіших кроків
для охолодження транзисторів. Оскільки діелектрики затворів high-k можуть бути
в кілька разів товщі, вони знижують витік потужності на затворі більш ніж у 100
разів, в результаті чого пристрої випромінюють менше тепла. Одночасно з цим
корпорація Intel спроектувала і продемонструвала металеві електроди затворів,
встановлювані поверх діелектриків і сумісні з діелектриками high-k [19].
Перехід на новий матеріал стане
одним з найбільш значних досягнень в області еволюції МОП-транзисторів, де
діелектрики затворів з діоксиду кремнію використовувалися з моменту їх появи в
60-х роках минулого століття. Для нового матеріалу high-k корпорації Intel буде
потрібно нова виробнича технологія, що дозволяє наносити шари товщиною в одну
молекулу. Результати початкових досліджень вже реалізовані в 45-нанометровій
виробничій технології, однак корпорація Intel продовжує дослідження з метою
створення другого покоління матеріалів high-k [19,
20].
Висновки
. Під час виконання курсової роботи
було вивчено загальну характеристику процесу епітаксії та методи її проведення.
Епітаксія - це метод осадження монокристалічної плівки на монокристалічну
підкладку, при якому кристалографічна орієнтація шару, який осаджують, повторює
кристалографічну орієнтацію підкладки. Осаджена плівка називається епітаксійною
плівкою або епітаксійним шаром. Епітаксія може відбуватися з газової
(газофазна), рідинної (рідко) та твердої (твердофазна) фаз. Перевагою першого
та другого методів над третім є простота виготовлення та менша
трудозатрачуваність.
. В залежності від матеріалу
епітаксійного шару та підкладки розрізняють гомоепітаксію та гетероепітаксію.
При гомоепітаксії хімічний склад шару і підкладки співпадають, наприклад, при
осадженні кремнієвого шару на кремнієву підкладку. При гетероепітаксії хімічні
склади епітаксіального шару та підкладки різні. Проте тип та основні параметри
кристалічних решіток повинні бути однаковими.
. Гетероепітаксія дозволяє
отримувати гетеропереходи, які володіють специфічними електрофізичними
характеристиками.
. Епітаксія на діелектричних та
металічних підкладках відкриває великі можливості для розробки нових типів
мікросхем.
. Гетероепітаксія кремнію на
ізолюючих підкладках являється одним з перспективних напрямків в технології
інтегральних мікросхем, так як в цьому випадку природним шляхом вирішується
проблема ізоляції елементів схеми на підкладках.
Список літератури
1.
Готра З.Ю. Технологія електронної техніки: Навч. Посібник: у 2 т. /
З.Ю. Готра. - Львів: Видавництво Національного університету «Львівська
політехніка», 2010. - Т.1. - 888 с.
2.
Броудай И., Мерей Дж. Физические основы микротехнологии: Пер. с англ./ Под ред.
А.В. Шальнова / И. Броудай, Дж. Мерей. - M.: Мир, 1983. - 494 с.
.
Ефимов И.Е. Основы микроэлектроники: Учебник. 3-е изд., стер. / И.Е. Ефимов,
И.Я. Козырь.- СПб.: Издательство
«Лань», 2008. - 384 с.
.
Закалик Л. І. Основи мікроелектроніки. Навчальний посібник. / Л.І. Закалик,
Р.А. Ткачук. - Тернопіль: ТДТУ ім. І. Пулюя, 1998. -352 с.
.
Епітаксійні шари GaAs
отримані газофазною хлоридною епітаксією з використанням галієвого джерела
легованого ітербієм / С.І. Круковський, Д.М. Заячук, І.О. Мрихін та ін.
//Фізика і хімія твердого тіла. - 2009. - Т. 10, №3. - С. 594-597.
6. Богданович Б.Ю. Технологии и методы
исследования структур КНИ. / Б.Ю. Богданович. - М. : МИЭТ, 2003. - 288 с.
. Андрєєв В.М. Кремниевые структуры для приборов
микроэлектроники. / В.М. Андрєєв, Д.В. Зинов'єв. - М.: МИЭТ, 2006 - 346 с.
. Козлов Ю.Ф. Структура кремний на сапфире:
технология, свойства, методы контроля, применение. / Ю.Ф. Козлов, В.В. Зотов. -
М.: МИЭТ, 2004 - 287 с.
9.
Палатник Л.С. Эпитаксиальные пленки. / Л.С. Палатник, И.И. Папиров. - М.:
Наука, 1971 - 480 с.
.
Палатник Л.С. Механизм образования и структура конденсированных пленок. / M.Я.
Фукс, В.M. Косевич. - M.: «Наука», 1972 -318 с.
11.
Електромеханічні, терморезистивні і фотоелектричні перетворювачі на основі
монокристалів системи Si-Ge
/ Р.І. Байцар, С.С. Варшава, Е.П. Красноженов та ін. // Журнал неорганічних
матеріалів. - 1996. - Т.8, №7. - С. 789-793.
.
http://journals.ioffe.ru/ftp/2010/10/p1433-1435.pdf
- Рекристаллизация с границы раздела кремний-сапфир как новый метод
получения структурно совершенных пленок кремния на сапфировой подложке, дата
доступу: 20.11.2012 р.
13.
A one dimentional SiGe superlattice grown by UHV epitaxy / E. Kasper, H.J.
Herzog // Appl.Phys. - 1975. - V.1, №8. - P. 199.
.
Fabrication of n- and p-channel in-plane-gate transistors from Si/SiGe/Ge
heterostructures by focused laser beam writing / M. Holzmann, P. Baumartner, C.
Engel //Appl.Phys. Lett. - 1996.- V.6, №21 - P. 3025-3027.
.
Pseudomorphic growth of GexSi1-x on silicon by molecular
beam epitaxy / J.C. Bean, T.T. Shang //Appl.Phys.Lett. - 1984. - V. 4, №44. -
P.102.
.
Growth contol of GexSi1-x/Si strained layer superlattice
by the RHEED intencity oscillation / T. Sakamoto, K. Sacamoto, H. Oyange
//Journal Phys. Paris. - 1987. - V. 7, №48. - P.5-333.
.
Non-ideal current-voltage characteristics in MBE-grown Si1-XGex/Si
heterojunction bipolar transistors / V. Roberts, D. Allsopp //Semicond. Sci.
And Technol.
- 1996. - V. 9, №9. - P.1346-1353.
18.
http://www.intel.com/cd/corporate/techtrends/emea/rus/376689.htm - Исследования
в области диэлектриков High-k и металлических затворов, дата
доступу: 23.11.2012 р.
19.
http://citforum.ru/hardware/microcon/45_nm/ - 45 нм: все только начинается,
дата доступу: 23.11.2012 р.
.
http://www.3dnews.ru/cpu/intel_penryn/ - Intel Penryn: первые
45 нм процессоры, дата доступу: 24.11.2012 р.