Разработка приборного оснащения беспилотных летательных аппаратов для контроля санитарно-гигиенических характеристик атмосферного воздуха в приповерхностном слое

  • Вид работы:
    Курсовая работа (т)
  • Предмет:
    Информатика, ВТ, телекоммуникации
  • Язык:
    Русский
    ,
    Формат файла:
    MS Word
    625,33 Кб
  • Опубликовано:
    2013-04-03
Вы можете узнать стоимость помощи в написании студенческой работы.
Помощь в написании работы, которую точно примут!

Разработка приборного оснащения беспилотных летательных аппаратов для контроля санитарно-гигиенических характеристик атмосферного воздуха в приповерхностном слое

Астраханский Государственный Университет

Физико-Технический факультет

Специальность "Инженерное дело в медико-биологической практике"








Отчет по преддипломной практике

По теме:

Разработка приборного оснащения беспилотных летательных аппаратов для контроля санитарно-гигиенических характеристик атмосферного воздуха в приповерхностном слое.



Выполнил: Яковлев В.А.

Проверил: к. т. н Брумштейн Ю.М.



Астрахань 2013 г.

Содержание

 

Введение

1. Анализ предметной области

1.1 Загрязнение приповерхностного слоя воздуха и цели контроля его С-ГХ

1.2 Существующие методы контроля состояния воздушной среды

1.2.1 Направления контроля характеристик загрязнения воздуха

1.2.2 Отбор проб

1.2.3 Методы определения содержания пыли в воздухе

1.2.4 Методы определения содержания вредных газов в воздухе

1.2.5 Лазерное зондирование атмосферы

1.3 Анализ существующих систем БПЛА в отношении эффективности решения задач дипломной работы

2. Общее проектирование блоков для мониторинга загрязнения воздушной среды и аппаратно-программных средств их поддержки

2.1 Контингент пользователей разработки

2.2 Проектирование блоков для мониторинга загрязнения воздушной среды

2.2.1 Блок-пробоотборник с фильтром

2.2.2 Блок с лазерным диодом

2.3 Выбор элементной базы проектируемого устройства и инструментария, необходимого при работе с ним

2.3.1 Математический аппарат, используемый для расчета критериев и выполнения оценок

2.3.2 Выбор управляющего микроконтроллера

2.3.3 Выбор аккумуляторной батареи

2.3.4 Выбор сервопривода

2.3.5 Выбор лазерного диода

Литература

Введение

Большие объемы выбросов вредных веществ в атмосферу приводят к её интенсивному загрязнению, поэтому вопросы мониторинга загрязнений являются особо важными. Особую сложность представляет мониторинг загрязнения воздуха в свободном пространстве, то есть не на поверхности земли или каких либо сооружениях.

Основные цели экологического мониторинга состоят в обеспечении системы управления природоохранной деятельности своевременной и достоверной информацией, позволяющей:

) оценить показатели состояния и функциональной целостности экосистем;

) выявить причины изменения этих показателей и оценить последствия таких изменений, а также определить корректирующие меры в тех случаях, когда целевые показатели экологических условий не достигаются;

) создать предпосылки для определения мер по исправлению создающихся негативных ситуаций до того, как будет нанесен ущерб.

В этой связи основными задачами экологического мониторинга являются:

) наблюдение за источниками и факторами антропогенного воздействия, за состоянием природной среды и происходящими в ней процессами под влиянием факторов антропогенного воздействия;

) оценка фактического состояния природной среды, прогноз изменения состояния природной среды под влиянием факторов антропогенного воздействия и оценка прогнозируемого состояния природной среды.

Для решения проблем связанных с трудностями анализа приповерхностного слоя атмосферы возникает необходимость создания портативного, удобного в использовании, недорогого комплекса для мониторинга загрязнения воздушного бассейна.

Актуальность дипломного проекта заключается в том, что существующие методы мониторинга слабо позволяют исследовать загрязнение воздушной среды в свободном пространстве и мониторинг является недостаточно полным.

Цель: разработка проекта достаточно простых портативных модулей для мониторинга загрязнения воздушного бассейна.

Назначение: расширение возможностей мониторинга загрязнения воздушного бассейна на небольшой высоте.

Основные задачи проекта:

анализ существующих методов мониторинга загрязнения воздушной среды и обзор существующих БПЛА с возможностью их использования мониторинге;

общее проектирование блока для мониторинга загрязнения воздушной среды и аппаратно-программных средств их поддержки;

техническое проектирование оборудования и разработка программных средств для обеспечения его эксплуатации;

экономическое обоснование эффективности разработки;

решение вопросов эргономики и техники безопасности.

1. Анализ предметной области


1.1 Загрязнение приповерхностного слоя воздуха и цели контроля его С-ГХ


Одним из главнейших факторов существования жизни человека является окружающий нас воздух (атмосфера). Если остановить поступление воздуха в организм человека через органы дыхания, как через некоторое время наступает смерть. В естественных условиях эта зависимость жизни от постоянного поступления, не содержащего посторонних примесей воздуха для дыхания, не таит в себе никакой опасности, но лишь до тех пор, пока в нашем распоряжении есть достаточное количество чистого, однородного по составу воздуха. Только с того времени, как человек начал применять в своей деятельности вредные для его жизни вещества, которые ранее лишь изредка, да и то в незначительных количествах загрязняли атмосферу, чистота использовавшегося для дыхания воздуха стала подвергаться угрозе. При этом наши органы чувств не позволяют нам с достаточной точностью определять качество загрязнения воздуха.

Наше обоняние не способно сигнализировать о наличии в воздухе всех вредных для нашего организма загрязнений, таких как, оксид и диоксид углерода, оксиды азота (I) и (II). В то же время, хотя мы и ощущаем присутствие в атмосфере даже незначительного количества таких ядовитых веществ как синильная кислота, наш организм не отвечает на это какой-либо защитной реакцией. Неравномерно по своему характеру и воздействие на человека некоторых раздражающих газов. Так, аммиак сначала вызывает раздражающее действие, тогда как его вредное воздействие сказывается с некоторым опозданием; у диоксидов серы и азота мы наблюдаем обратную картину. Ограничены возможности наших органов обоняния и с точки зрения количественного определения содержания в воздухе примесей. Не говоря о том, что восприимчивость людей ко многим обладающим запахом загрязнениям воздуха носит строго индивидуальный характер, по отношению к некоторым ядовитым веществам, таким, как сероводород и диоксид азота, имеет место явление привыкания. Что же касается радиоактивных загрязнений воздуха, которые приобрели особое значение лишь в последние десятилетия, то для их обнаружения мы вообще не обладаем какими-либо органами чувств.

Как показывают приведенные выше примеры, постоянно расширяющееся использование ядовитых веществ и вызванное этим усиление качественного и количественного загрязнения воздуха обусловили необходимость создания дополнительных средств определения качества воздуха. Вначале для этой цели применялись отдельные методы, основанные на практическом опыте, как, например, наблюдение за горящей свечой (если ее пламя начинало мерцать или гасло, это указывало на присутствие в воздухе избыточного количества углекислого газа) или за поведением певчих птиц в помещениях, где существовала опасность внезапного выброса оксида углерода. Позднее для исследования состава воздуха стали применять методы химического анализа, дополненные физическими измерениями.

При этом возникают две основные задачи. С одной стороны, исследование собственно атмосферы населенных пунктов, проводимое с целью охраны здоровья проживающих там людей, а также исследование состава воздуха в сельскохозяйственных районах, призванное выявлять вредное воздействие загрязнений воздуха на растения и животных. С другой стороны, это контроль чистоты воздуха в рабочих зонах производственных помещений, подвергающихся опасности проникновения вредных газов, осуществляемый для защиты работающего там персонала.

Обращает на себя внимание, что анализы состава воздуха в жилых, конторских и подсобных помещениях, где горожане обычно проводят больше времени, чем на улице, проводятся сравнительно редко. При этом, по-видимому, предполагается, что показатели, измеренные вне зданий, действительны и для расположенных в них помещений. Подобное предположение во многих случаях не соответствует истине. Например, в комнате с оштукатуренными стенами уровень содержания проникшего в нее диоксида серы быстро падает. То же можно сказать в отношении диоксида азота, фтористого водорода и других кислых газов. Никогда не бывает также одинаковым содержание пыли в воздухе на улице и внутри расположенного на ней здания.

В этой связи уместно отметить, что хотя современная техника вызвала значительное загрязнение атмосферы, она в то же время, несомненно, позволила немного улучшить качество воздуха в жилых помещениях по сравнению с прежними временами, благодаря повышению в широких масштабах культуры жилища, выразившемуся в применении более совершенного отопления, освещения и использовании канализации. В наши дни трудно представить себе, какое влияние в свое время оказывала на распространение легочных заболеваний копоть - неизменный спутник свечного или керосинового освещения.

Результаты анализов состава воздуха уже обусловили не только совершенствование методики их выполнения, но и повлекли за собой самые разносторонние изменения в области техники, общественной гигиены и т.п. С другой стороны, требования повседневной практики относительно чувствительности, специфичности, длительности и частоты проведения анализов состава воздуха становятся все более жесткими и многообразными. В то же время они послужили толчком к дальнейшему развитию методики проведения анализов с помощью меченых атомов и созданию автоматических, аналитических приборов непрерывного действия, причем определенный "вклад" внесла здесь проблема применения отравляющих газов в период обеих мировых войн. Такое взаимное стимулирование развития методов и средств лабораторного анализа, с одной стороны, и требований повседневной практики, с другой, происходит в полной мере и в наши дни. Результатом этого можно считать постоянное появление интересных и важных новшеств в области методики анализа состава воздуха, что, в свою очередь, приводит к накоплению ценного опыта и прогрессу техники, направленному на сохранение чистоты воздуха.

Что касается нормативов загрязнения атмосферного воздуха, то особенностью нормирования его качества является зависимость воздействия загрязняющих веществ, присутствующих в воздухе, на здоровье населения не только от значения их концентраций, но и от продолжительности временного интервала, в течение которого человек дышит данным воздухом.

Поэтому в Российской Федерации, как и во всем мире, для загрязняющих веществ, как правило, установлены 2 норматива:

) норматив, рассчитанный на короткий период воздействия загрязняющих веществ. Данный норматив называется "предельно допустимые максимально-разовые концентрации" (ПДМКР) [мг/м3]. Эта концентрация при вдыхании в течение 20-30 мин не должна вызывать рефлекторных реакций в организме человека.

) норматив, рассчитанный на более продолжительный период воздействия (8 часов, сутки, по некоторым веществам год). В Российской Федерации данный норматив устанавливается для 24 часов и называется "предельно допустимые среднесуточные концентрации" (ПДКСС) [мг/м3]. Эта концентрация не должна оказывать на человека прямого или косвенного вредного воздействия при долгом вдыхании.

ПДК - предельная допустимая концентрация загрязняющего вещества в атмосферном воздухе - концентрация, не оказывающая в течение всей жизни прямого или косвенного неблагоприятного действия на настоящее или будущее поколение, не снижающая работоспособности человека, не ухудшающая его самочувствия и санитарно-бытовых условий жизни. Величины ПДК приведены в мг/м3. (ГН 2.1.6.695-98)

беспилотный летательный аппарат система

Таблица 1.1 Предельно допустимые концентрации вредных веществ в воздухе.

Наименование примеси

ПДК, мг/м3

Класс опасности вещества


Максимально разовая (ПДК м. р.)

Среднесуточная (ПДК с. с.)


Диоксид азота

0,2

0,04

III

Оксид азота

0,4

0,06

III

Аммиак

0,2

0,04

IV

Гидрофторид

0,02

0,005

II

Пыль

0,5

0,15

III

Пыль SiO2 (20-70%)

0,3

0,1

III

Диоксид серы

0,5

0,05

III

Оксид углерода

5,0

3,0

IV

Формальдегид

0,035

0,003

II

Сероводород

0,008

-

II

Фенол

0,01

0,003

III

Гидрохлорид

0,2

0,1

III

Бенз (а) пирен

-

1*10-6

I


1.2 Существующие методы контроля состояния воздушной среды


1.2.1 Направления контроля характеристик загрязнения воздуха

Автоматические методы анализа - наиболее перспективны для непрерывного контроля загрязнения воздушного бассейна. Применяемые при этом приборы обеспечивают быстроту и непрерывность, большую точность и объективность результатов анализов, но являются сложными и дорогими.

Большинство существующих методов анализа загрязнения воздуха можно разделить по нескольких классификациям:

) периодичность:

а) непрерывные;

б) периодические;

в) разовые;

) локализация технических устройств:

а) наземные;

б) укрепленные на сооружениях;

в) укрепленные на летательные аппараты;

г) космические;

) объекты анализа:

а) определение содержания пыли в воздухе;

б) определение содержания сернистого газа и сероводорода;

в) определение содержания хлора и кислорода;

г) определение содержания СО и др. вредных веществ.

1.2.2 Отбор проб

Процедура отбора проб воздушной среды, в общем случае, включает создание потока воздуха через пробоотборное устройство (с помощью побудителей расхода), измерение расхода воздуха (расходомеры), фиксацию анализируемых ингредиентов пробы внутри пробоотборного устройства. Для удобства отбора проб в производственных условиях широко применяют аспирационные устройства, включающие побудитель расхода, расходомерное устройство, позволяющие отбирать вещества в различном агрегатном состоянии. Аспирационные устройства подразделяют в зависимости от следующих факторов:

) расхода воздуха - на малорасходные и высокорасходные;

) источника энергии - на сетевые, аккумуляторные, универсальные и ручные;

) объекта отбора проб - на устройства для газовых и аэродисперсных примесей;

) степени автоматизации программы работ - на аспираторы ручного управления, при использовании которых начало и режим отбора пробы фиксируются оператором; полуавтоматические, работа которых прекращается по достижении заданного времени или объёма пропущенного воздуха; автоматические, работающие без вмешательства оператора;

) количества одновременно отбираемых проб - на одноканальные и многоканальные;

) условий эксплуатации - на стационарные, переносные, а также индивидуальные пробоотборники.

Для создания потока воздуха через пробоотборные устройства используются ручные и водяные аспираторы, а также различные типы электромеханических аспираторов. Среди ручных аспираторов весьма распространены пружинные мхи с известным объёмом, резиновые груши, ручные насосы (поршневые и беспоршневые), откалиброванные шприцы различной вместимостью, газовые пипетки. В качестве водяных аспираторов обычно используют специальные соизмеренные стеклянные ёмкости, заполненные водой, выполняющие роль рабочего тела.

В электромеханических аспирационных устройствах для отбора проб воздуха рабочей зоны используют ротационные воздуходувки и диафрагменные насосы. Ротационные воздуходувки отличаются малыми габаритами и массой, которые меньше, чем у аналогичных поршневых насосов. В корпусе воздуходувки вращается ротор со вставленными в пазы лопастями, которые при вращении ротора прижимаются к внутренним стенкам корпуса и обеспечивают всасывание воздуха. Применение ротационных воздуходувок весьма ограничено в связи со сложностью регулирования производительности в широких пределах, кроме того, они создают сильный шум при работе.

Простыми и экономичными побудителями расхода воздуха являются диафрагменные насосы. В простейшем виде такой насос подобен поршневому насосу, в котором поршень заменён пульсирующей диафрагмой.

Единственными движущимися деталями, находящимися в соприкосновении с перекачиваемой средой, являются диафрагма и клапаны. В связи с простой конструкцией и отсутствием быстроизнашивающихся деталей диафрагменные насосы наиболее надёжны в эксплуатации. По основным технико-экономическим показателям (масса, рабочее давление, производительность) диафрагменные насосы превосходят широко распространённые плунжерные и поршневые насосы или равноценные. Кроме того, они дешевле.

Диафрагменные насосы более долговечны в эксплуатации, так как срок службы диафрагм намного превышает эксплуатационные данные уплотняющих элементов поршневых насосов.

1.2.3 Методы определения содержания пыли в воздухе

Прямой метод (гравиметрический) заключается в отборе пробы запыленного воздуха и взвешивании осажденных из нее частиц с последующим отнесением их массы к единице объема воздуха. Основным способом определения весовой концентрации пыли является фильтрация запыленного воздуха через предварительно взвешенный фильтр. В связи с осаждением пыли в фильтре, последний получает привеску. Разделив привес пыли на количество просасываемого воздуха, определяют весовую концентрацию пыли. Данный метод регламентирует ГОСТ 17.2.4.05-83. Согласно требованиям стандарта разовую (С30 [мг/м3]) и среднесуточную (С24 [мг/м3]) концентрации взвешенных частиц пыли в воздухе вычисляют по формуле:

С30, С24 = (m1-m2) /V0

Где m1 и m2 - масса фильтра соответственно с пылью и без пыли, [мг];- объем пропущенного воздуха, приведенный к нормальным условиям, [м3].

Косвенные методы используют закономерности изменения физических свойств запыленного воздуха в зависимости от концентрации пыли - величины поглощения световых, тепловых и ионизирующих излучений, способности воспринимать электростатический заряд и прочие.

Оптические методы используют закономерности изменения физических свойств запыленного воздуха. Так, изменение оптической плотности по степени светопоглощения или рассеивания света называют фотометрическим методом анализа.

Радиоизотопный метод измерения концентрации пыли, основан на свойстве радиоактивного излучения поглощаться частицами пыли. Массу пыли в пробе определяют по степени ослабления радиоактивного излучения при прохождении его через запыленный воздух.

Абсорбционный метод, основанный на явлении поглощения света при прохождении его через пылегазовую среду, позволяет измерять концентрацию взвешенных частиц непосредственно в атмосферном воздухе без предварительного отбора пробы.

Радиоизотопные и оптические методы определения запыленности атмосферного воздуха находят применение в системах автоматизированного наблюдения и контроля окружающей среды (АНКОС).

1.2.4 Методы определения содержания вредных газов в воздухе

Содержание оксида углерода, диоксида азота, сернистого газа и других вредных парообразных примесей в атмосферном воздухе определяется с помощью приборов-газоанализаторов. При лабораторном анализе применяют следующие газоанализаторы:

) оптические

) фотоколориметрические

) кондуктометрические

) кулонометрические

) хроматографические газоанализаторы.

Принцип действия оптических газоанализаторов основан на избирательном поглощении газами лучистой энергии в инфракрасной, ультрафиолетовой или видимой областях спектра.

Широкое распространение имеют фотоколориметрические газоанализаторы, действие которых основано на поглощении лучистой энергии в видимой области спектра растворами или индикаторными лентами, изменяющими свою окраску при взаимодействии с определенными газовыми компонентами.

В последние годы получили распространение газоанализаторы, использующие эмиссию излучения анализируемой газовой примеси. Сущность этого метода состоит в том, что молекулы исследуемого газа, например, оксидов азота или соединений серы, приводят в состояние оптического возбуждения и затем регистрируют интенсивность люминесценции, возникающей при возвращении их о состояние равновесия.

В основу принципа действия кондуктометрических газоанализаторов положено поглощение анализируемого компонента газовой смеси соответствующим раствором и измерение его электропроводности. В кулонометрических газоанализаторах электрохимическая реакция протекает в ячейке между анализируемым газом и электролитом, в результате которой во внешней цепи появляется электродвижущая сила, пропорциональная концентрации определяемого компонента воздуха.

Для экспрессного определения токсических веществ применяют универсальные газоанализаторы (УГ-2, ГХ-4 и др.), основанные на линейно-калориметрическом методе. В этом случае при продвижении воздуха через индикаторные трубки, заполненные специальным порошком - поглотителем, происходит изменение его окраски; длина окрашенного слоя пропорциональна концентрации исследуемого вещества.

1.2.5 Лазерное зондирование атмосферы

В зависимости от источника излучения методы дистанционного зондирования атмосферы можно разделить на две обширные категории: активные и пассивные. Пассивные методы используют естественно встречающееся в атмосфере излучение (например, солнечное и отраженное или испускаемое землей излучение). По наблюдениям взаимодействия этого излучения с исследуемыми компонентами (поглощения и рассеяния) извлекают информацию о концентрациях. Активные методы, наоборот, характеризуются введением в атмосферу определенного излучения, но обычно в качестве источников такого излучения используются лазеры. Информация о концентрации исследуемых компонентов извлекается из наблюдений таких видов взаимодействия излучения с атмосферой, как рассеяние, поглощение и флуоресценция.

Рассмотрим лидарные системы, работающие на активных методах.

Рис.1.1 Классификация активных методов дистанционного зондирования атмосферы.

Рассмотрим системы лидарного зондирования атмосферы. В них входят:

) Аэрозольный лидар

Эта схема лидара получила наибольшее распространение из моностатических систем. Она заключается в совмещении источника и приемника излучения, то есть, приемник и источник излучения устанавливают в одном месте, например на поворотном устройстве (как в действующем лидаре в НИИ ПП), что позволяет изменять зенитный угол и азимут зондирования. Для зондирования используют несколько вариантов систем: одноволновые, многоволновые и поляризационные. Многообразие таких систем связано с важностью получения информации о физических параметрах атмосферного аэрозоля, которые зачастую определяют тип загрязнения. В то же время получение такой информации является технически сложной задачей в связи с многообразием типов аэрозолей.

) Лидар на комбинационном рассеянии (лидар на КР)

Лидар на КР используется для измерений ряда молекул атмосферы, включая H2O, SO2 и CO2. Его использование требует мощных лазеров, больших телескопов, длительных времен накопления и обычно ограничено измерениями высоких концентраций молекул.

) Лидар на резонансных эффектах

Лидар на резонансных эффектах характеризуется тщательным подбором как длины волны излучения лазера, так и длины волны излучения, регистрируемого приемником, для того чтобы они совпадали с длиной волны линии поглощения исследуемого компонента атмосферы. Возбуждение молекулы на частоте поглощения приводит к резонансному рассеянию, которое может быть значительно более интенсивным, чем нерезонансное рассеяние. Этот метод успешно применяется для измерения концентраций атомарных натрия и калия на больших высотах.

) Лидар на дифференциальном поглощении рассеянного излучения

Его работа зависит от рассеяния на аэрозолях атмосферы, но измерения выбранного вида молекул осуществляются по их поглощению. В основу ее работы заложено использование по крайней мере двух лазерных пучков с различными длинами волн, которые последовательно или одновременно посылаются вдоль одного и того же направления в атмосферу. Первый лазерный пучок поглощается исследуемыми молекулами, в то время как второй пучок с близкой длиной волны поглощается не очень сильно. Так как пучки отличаются небольшим промежутком длин волн, то сечения аэрозольного рассеяния можно считать практически одинаковыми для обоих случаев. Различие в интенсивности рассеяния лучей в атмосфере можно считать обусловленным разницей в их поглощении исследуемыми молекулами. Анализ зарегистрированных сигналов от обоих лучей как функция времени позволяет осуществлять пространственно-разрешенные измерения концентрации поглощающих молекул.

Разнесенные системы характеризуются тем, что лазерный передатчик и приемный телескоп, либо расположены на определенном расстоянии, либо в одном месте, но имеют на некотором расстоянии отражатель. Существуют два основных вида разнесенных систем:

) Бистатические системы

Бистатические системы в общем случае тоже можно назвать лидарными, однако, в бистатическом лидаре лазерный пучок источника входит в поле зрения приемника только на некотором расстоянии, которое определяется заранее, поэтому измерения проводятся только в ограниченной области пространства.

Рис.1.2 Бистатическая схема зондирования

Характерной особенностью этой схемы является большая база между источником и приемником. Оптические оси приемника и источника в такой схеме пересекаются на определенном расстоянии. Если зафиксировать высоту пересечения, то соответственно можно будет получать информацию от одного и того же участка атмосферы.

) Трассовые методы

Эти методы получения значения концентрации молекул использует в качестве измеряемого параметра поглощение лазерного луча при его распространении в атмосфере. Лазерный источник и приемный телескоп могут быть разнесены и направлены навстречу друг другу, но для облегчения работы лазер и телескоп размещают в одном месте, их оптические оси совмещают и направляют, на, например, топографическую мишень. Два лазерных луча настраиваются по длинам волн так, чтобы излучение одного совпадало с линией поглощения исследуемой молекулы, а другого было вне этой линии. Сравнение двух сигналов после регистрации собранного телескопом излучения дает меру интегральной (вдоль пути прохождения лазерного луча) концентрации молекул данного вида и не дает информации о распределении загрязнения вдоль трассы зондирования.

Существующие методы мониторинга загрязнения воздушной среды не предусматривают возможность исследования в свободном пространстве.

Кроме того, за исключением дорогостоящих Лидаров, точность показателей остается достаточно низкой.

1.3 Анализ существующих систем БПЛА в отношении эффективности решения задач дипломной работы


БПЛА - это БесПилотный Летательный Аппарат. Проще говоря, летающий робот, управляемый с пульта или летающий самостоятельно. Англоязычное название БПЛА - UAV (Unmanned Aerial Vehicle). Также называют беспилотник, дрон, айрдрон.

Существующие БПЛА по данным сайта Wikipedia делятся на 4 категории:

)        "Микро" - массой до 10 килограммов, временем полёта около 1 часа и высотой до 1 километра.

2)      "Мини" - массой до 50 килограммов, временем полёта несколько часов и высотой до 3 - 5 километров.

)        "Средние" - до 1 000 килограммов, временем 10-12 часов и высотой до 9-10 километров.

)        "Тяжелые" - свыше 1 000 килограммов, с высотами полёта до 20 километров и временем полёта 24 часа и более.

Поскольку "Средние" и "Тяжелые" БПЛА дорогие и с трудом могут быть использованы в сочетании с модулями и системами мониторинга загрязнения воздушного бассейна, мы будем рассматривать только "Микро" и "Мини" БПЛА.

При анализе рынка БПЛА нами были выбраны несколько наиболее подходящих моделей:

·        БПЛА "Чибис" самолетного типа

·        БПЛА "AIR 170x" с вертикальным взлетом

·        БПЛА "ZALA 421-21"

·        БПЛА "ArDrone 2.0" с вертикальным взлетом

·        БПЛА "Колибри"

БПЛА "Чибис".

Рис.1.3 Внешний вид БПЛА "Чибис"

БПЛА "Чибис" предназначен для выполнения следующих задач:

проведение разведки и контроля местности, пространственно-распределенных объектов, зон чрезвычайных ситуаций на удалениях до 15 км с передачей в режиме реального масштаба времени видеоинформации на наземный станцию управления (НСУ), как в дневное, так и в ночное время суток;

поиск и обнаружение и распознавание наземных объектов, слежение за неподвижными и подвижными целями, определение и выдача координат наблюдаемых объектов;

оставление фотопланов местности и геокодирование для создания цифровых карт местности;

возможность записи видеоизображения и информации о полете на жестком диске НСУ;

планирование полетного задания для выполнения видео, тепловизионной и фотографической аэросъемки;

автономный полет по запрограммированному маршруту, даже вне радиуса действия НСУ.

Технические характеристики.

Максимальная дальность радиоканала управления БЛА - до 10 км

Максимальная дальность передачи видеоинформации - до 10 км

Скорость полета - 70…120 км/час

Максимальная высота полета - до 3000 м

Максимальное время полета - до 60 мин

Диапазон рабочих температур окружающей среды - 25°. +50°С

Относительная влажность - 0…95%

Масса БЛА в зависимости от модификации - до 2,5 кг

Масса полезной нагрузки - до 0,3 кг

Площадка для взлета и посадки - не более 50×50 метров

Взлет - c резино-жгутовой катапульты

Посадка - на парашюте

Силовая установка - 1 электродвигатель

Энергопитание - Аккумуляторы

Таблица 1.2 Преимущества и недостатки БПЛА "Чибис"

Преимущества

Недостатки

Высокая скорость полета

Малая масса полезной нагрузки

Большая дальность управления

Неудобный способ взлета и посадки

Большая высота полета

Обязательное наличие большой взлетной площадки

БПЛА "AIR 170x".

Рис.1.4 Внешний вид БПЛА "AIR 170x"

Беспилотный летательный аппарат вентиляторного типа. Беспилотник нового поколения. Вертикальный взлёт/посадка.

Технические характеристики.

Вес - 3,5 кг.

Грузоподъёмность (в зависимости от настроек и модификации):

-4 кг.

-6 кг.

Время полёта (в зависимости от настроек грузоподъёмности):

-40 мин

-30 мин

Оптическая гиростабилизированная фото-видео система с обзором 270 градусов.

Применение с ограниченных площадок и транспортных средств.

Не требуется дополнительных устройств для взлёта и посадки.

Применение внутри строений, лесных массивов, горных ущелий и пещер.

Посадка в зоне патрулирования и применение со стационарных точек наблюдения,

Защищенность вентилятора корпусом делает эксплуатацию безопасной.

Все опции системы управления: Стабилизация. GPS - навигация. Полёт по маршруту. Возврат домой и т.д.

Таблица 1.3 Преимущества и недостатки БПЛА "AIR 170x"

Преимущества

Недостатки

Высокая грузоподъемность

Малое время полета без подзарядки

Автоматическая стабилизация

Габбариты

Возможность вертикального взлета и посадки

Быстрый износ сервоприводов управления

БПЛА "ZALA 421-21".

Рис.1.5 Внешний вид БПЛА "ZALA 421-21"

Легкий беспилотный аппарат с режимом зависания позволяет передавать видео в режиме реального времени и получать высококачественные аэрофотоснимки. Cистема подвеса фотокамеры позволяет дистанционно управлять линией визирования фотоаппарата. Аппарат построен по шестироторной схеме - шесть подъёмных винтов размещены по углам летающей платформы. Вращают винты электромоторы, получающие питание от бортовых аккумуляторов. Использование: съемка мест ЧС, контроль сельскохозяйственных угодий (полей) и оперативное картографирование.

Технические характеристики.

Радиус действия радиоканала - 1,5-2 км

Продолжительность полета - до 40 минут

Габариты - 0,6 м

Диаметр основного ротора - 0,22 м

Высота полета - 1000 м

Взлет/посадка - Вертикальный

Тип двигателя - Электрический

Скорость - 0-40 км/ч

Взлетный вес - 1,5 кг

Вес полезной нагрузки - 0,3 кг

Навигация - GPS/Glonass

Видео/Фото/ИК - Pal/12мп/640х480

Таблица 1.4 Преимущества и недостатки БПЛА "ZALA 421-21"

Преимущества

Недостатки

Хорошая оптическая система

Малое время полета без подзарядки

Автоматическая стабилизация

Незащищенность лопастей

Возможность вертикального взлета и посадки

Малый вес полезной нагрузки

БПЛА "ArDrone 2.0"

Рис.1.5 Внешний вид БПЛА "ArDrone 2.0".

Квадрокоптер AR. Drone 2.0 появился в 2012 году и очень быстро завоевал популярность по всему миру, в том числе в России. AR. Drone 2.0 - это 4х-виновой вертолет, невероятно стабильный, оснащенный камерой реального времени, управляемый при помощи устройств наподобие планшетов, сотовых телефонов с сенсорными экранами или компьютерами.

Технические характеристики AR. Drone

Видео возможности:Видеокамера реального времени: 720p 30fps

Широкоугольная линза: 92 градусаформат кодирования видео

Видео передается и записывается на устройство управления или на usb-накопитель

Захват и сохранение изображений в JPEG (720p)

Технические характеристики:

х секционная литий-полимерная (LiPo) батарея 1,000 mAH

Пропеллеры специальной формы для быстрого маневрирования

бесщеточных мотора, 14.5 Ватт и скоростью вращения 28,500 в минуту

Малошумные шестерни Nylatron

Автоматическая остановка всех винтов при контакте с препятствием

Полное программное управление моторами

Устойчивый к попаданию воды контроллер мотора

Вес: 380г с корпусом для полетов на улице, 420г - с корпусом для полета в помещении

Части вертолета сделаны из износоустойчивого и ударопрочного пластика

Электроника и датчики

Процессор 16Hz 32 bit ARM Cortex A8 с 800MHz video DSP TMS320DMC64x

Память 16bit DDR2 RAM на 200MHz

Контроллеры моторов: 8 MIPS AVR CPUFi b/g/n

3х осевой акселлерометр

х осевой гироскоп с углом вращения 2000 градусов/сек

Барометрический датчик с точностью +/ - 10 Па (80см над уровнем моря)

fps вертикальная QVGA камера для измерения горизонтальной скорости

х осевой магнитометр с точностью до 6 градусов

Ультрозвуковые датчики для измерения высоты полета

Операционная система Linux 2.6.32

Таблица 1.5 Преимущества и недостатки БПЛА "ArDrone 2.0"

Преимущества

Недостатки

Видеокамера 720p

Малое время полета без подзарядки

Возможность управления через легкодоступные устройства

Возможность перехвата управления

Возможность перепрограммирования

Малый вес полезной нагрузки


БПЛА "Колибри"

Рис.1.6 Внешний вид БПЛА "Колибри"

Комплекс воздушного мониторинга "Колибри" на основе мини-БПЛА предназначен для решения широкого круга задач:

в интересах визуального мониторинга объектов,

охраны протяженных рубежей;

мониторинга экологических систем, обследования прибрежной защитной полосы водохранилищ, русел и пойм малых рек на предмет выявления нарушений природоохранного законодательства, строительства и земляных работ, наличия вырубок леса и свалок бытового мусора.

проведения аварийно-спасательных работ,

инспекции трубопроводов, крупных строительных площадок;

обеспечения безопасности и общественного порядка;

мониторинга очагов пожаров.

Технические характеристики.

Максимальная скорость набора высоты: 7 м/c

Максимальная скорость снижения: 4 м/c

Максимальная угловая скорость разворота: 90°/с

Максимальная скорость полета: 50 км/ч

Максимальная высота (над уровнем моря): не менее 300 м

Максимальное время полета: не менее 30 минут

Уровень шума на расстоянии в 3 м: 60dB

Диапазон рабочих температур окружающей среды: - 25°. +50°C

Масса БПЛА (в зависимости от модификации): 1,5-2 кг

Грузоподъемность: до 0,8 кг.

Целевая нагрузка: тепловизор; видеокамера; фотоаппарат и т.п.

Таблица 1.6. Преимущества и недостатки БПЛА "Колибри"

Преимущества

Недостатки

Маневренность аппарата

Незащищенность лопастей

Приспособления для крепления целевой нагрузки

-

Габбариты

-


Для реализации задач дипломного проекта на основе проведенного анализа наиболее подходящим оказался БПЛА "Колибри".

Таблица 1.7 Сравнительная характеристика БПЛА по требуемым критериям дипломного проекта


2. Общее проектирование блоков для мониторинга загрязнения воздушной среды и аппаратно-программных средств их поддержки


2.1 Контингент пользователей разработки


Данная разработка позволяет исследовать загрязнение окружающей среды в свободном пространстве. Следовательно, она может использоваться в различных учреждениях, которым необходимы результаты анализа загрязнения воздушного слоя, в определенной точке воздушного пространства.

Разработка будет востребована при:

проведении ежедневных исследований загрязнения воздушного слоя различными экологическими службами;

проведении исследований связанных с выбросами загрязняющих веществ на производстве санитарно-эпидемиологическими службами;

проведении срочных анализов связанных с экологическими авариями органами МЧС;

проведении разовых исследований загрязнения воздуха в определенной точке воздушного пространства различными научными центрами.

2.2 Проектирование блоков для мониторинга загрязнения воздушной среды


Приборное оснащение беспилотных летательных аппаратов весьма разнообразно, но в основном это фото и видеокамеры. Фактически блоков для исследования загрязнения воздуха не существует. Поэтому я считаю целесообразным разработать следующие блоки:

) блок-пробоотборник, для исследования запыленности и наличия в воздушной среде вредных химических и бактериологических веществ, при помощи последующего лабораторного анализа;

) блок исследования запыленности воздуха с использованием лазерного луча, принцип которого основан на рассеивании света при его прохождении через загрязненный воздух.

2.2.1 Блок-пробоотборник с фильтром

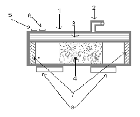
Предлагаемый мной пробоотборник представляет собой блок, который состоит из специального фильтра и системы управления "заслонками", системы сбора данных и прошедшем количестве воздуха. Схематический вид конструкции пробоотборника представлен на рисунке 2.1.

-внешний корпус пробоотборника,

-трубка Пито,

-плата управления и записи данных,

-специальный фильтр,

-разъем для зарядки АКБ,

-разъем для подключения к МК,

-заслонки типа "жалюзи",

-устройство крепления к БПЛА.

Рис.2.1 Схематический вид пробоотборника.

Рассмотрим более подробно плату управления и записи данных.

Рис.2.2 Схема электрическая структурная.

Принцип работы.

Аккумуляторная батарея (АКБ) подает напряжение на стабилизатор и сервопривод (Серв). Стабилизатор выдает на микроконтроллер (МК) выходное напряжение в 5В, необходимое для его работы. Запрограммированный микроконтроллер в определенный момент времени дает сигнал на реле управления сервоприводом для открытия заслонок и в это же время микроконтроллер дает сигнал на начало работы датчика давления (ДД). Реле исполняет роль ключа между АКБ и сервоприводом. Датчик давления собирает информацию об изменении давления прошедшего через фильтр воздушного потока и через аналого-цифровой преобразователь (АЦП) передает цифровую информацию об изменении давления пройденного воздуха в память микроконтроллера. Через определенный период времени, запрограммированный в МК, подается второй сигнал - на закрытие заслонок и отключение датчика давления. Далее с МК списывается информация на компьютер и рассчитывается объем прошедшего за заданный момент времени через фильтр воздуха. Дальнейший анализ фильтра с известным количеством прошедшего через него воздуха позволит сделать выводы о его загрязнении.

2.2.2 Блок с лазерным диодом

Предлагаемый мною модуль с лазерным диодом представляет собой систему, использующую принцип преломления светового луча при прохождении через него запыленного воздуха. Схематический вид конструкции данного модуля представлен на рисунке 2.3.

-внешний корпус модуля,

-разъем для подключения к МК,

-разъем для зарядки АКБ,

-плата управления и записи данных,

-лазерный диод,

-фотоприемник,

-устройство крепления к БПЛА.

Рис.2.3 Схематический вид модуля с лазерным диодом.

Рассмотрим более подробно плату управления и записи данных.

Рис.2.4 Схема электрическая структурная.

Принцип работы.

Аккумуляторная батарея (АКБ) подает напряжение на стабилизатор и сервопривод (Серв). Стабилизатор выдает на микроконтроллер (МК) выходное напряжение в 5В, необходимое для его работы. По таймеру, запрограммированному в МК, подается сигнал и от МК питается маломощный лазерный диод (ЛД) (не более 0,5А). ЛД светит на фотоприемник (ФП), который фиксирует разность падения напряжения при прохождении через лазерный луч загрязненного воздуха. ФП передает результаты падения напряжения в МК, в котором происходит запись этих данных. После окончания заданного в МК времени, подача питания на ЛД прекращается и результаты работы ФП сохраняются в памяти МК. Далее с МК списывается информация на компьютер и на компьютере рассчитывается уровень запыленности воздуха.

2.3 Выбор элементной базы проектируемого устройства и инструментария, необходимого при работе с ним


2.3.1 Математический аппарат, используемый для расчета критериев и выполнения оценок

Для выбора элементной базы будут использоваться критерии цены, функциональности, удобства эксплуатации, а также оценочная функция. Математические зависимости для расчета этих критериев представлено ниже.

Критерий цены определяется по формуле (2.1):

 (2.1)

где

i - порядковый номер рассматриваемой альтернативы;- порядковый номер критерия;j max - максимальное значение критерия для всех рассматриваемых альтернатив;j min - минимальное значение критерия для всех рассматриваемых альтернатив;ij - значение j-го критерия i-ой альтернативы (безразмерной).

Критерий функциональности, удобства эксплуатации определяются по формуле (2.2):

 (2.2)

где

i - порядковый номер рассматриваемой альтернативы;- порядковый номер критерия;- количество возможных параметров рассматриваемого оборудования для определения j-го критерия;- порядковый номер параметра, определяющего j-ый критерий;ij - значение j-го критерия i-ой альтернативы (безразмерной);il - коэффициент, определяющий наличие параметра из числа возможных для i-ой альтернативы;

Рl - весовой коэффициент (важность) l-го параметра.

Весовой коэффициент может принимать значения в диапазоне [0; 1]:

·        0 - если пользователю не нужно наличие данного параметра;

·        1 - если пользователю нужно наличие данного параметра;(0;1) - если наличие параметра для пользователя полезно, но не является необходимым [6].

2.3.2 Выбор управляющего микроконтроллера

Микроконтроллер (англ. Micro Controller Unit, MCU) - микросхема, предназначенная для управления электронными устройствами. Типичный микроконтроллер сочетает в себе функции процессора и периферийных устройств, содержит ОЗУ или ПЗУ. По сути, это однокристальный компьютер, способный выполнять простые задачи. Предназначен для управления различными электронными устройствами и осуществления взаимодействия между ними в соответствии с заложенной в микроконтроллер программой. Программирование микроконтроллеров обычно осуществляется на языке ассемблера или Си, хотя существуют компиляторы для других языков

Структура системы критериев выбора управляющего микроконтроллера представлена на рисунке 2.5, которая позволяет выбрать наиболее подходящую по выбранным критериям микросхему.

Рисунок 2.5 - Схема системы критериев выбора микроконтроллера.

На основе анализа рынка микроконтроллеров было выбрано 4 микросхемы с наиболее подходящими техническими параметрами:

. Микроконтроллер ATmega16A;

. Микроконтроллер PIC16F676;

. Микроконтроллер ATmega8-16PU;

. Микроконтроллер ATTINY40-MMH.

Цена относится ко второму типу критериев. Приведенный критерий цены определяется по формуле (2.1). На основе данного критерия определяется стоимость управляющего микроконтроллера. Результаты расчета приведены в таблице 2.1

Анализ таблицы 2.1 показывает, что по цене наиболее подходят два микроконтроллера: PIC16F676 и ATmega8-16PU. Однако необходим выбор по совокупности критериев.

Таблица 2.1 - Таблица расчета приведенного критерия цены

Параметр (j)

ATmega16A

PIC16F676

ATmega8-16PU

ATTINY40-MMH

Цена (руб.)

87

59

70

78

Критерий цены (К)

0

1

0,6

0,32


Критерии обеспечения продолжительности использования и технические характеристики относятся к третьей группе критериев и определяются по формуле (2.1). Определение этих критериев продемонстрировано в таблице 2.2, 2.3.

Таблица 2.2 - Матрица обеспечения продолжительности использования микроконтроллеров

Параметры

Весовой коэффициент

PIC16F676

ATmega8-16PU

ATTINY40-MMH

ATmega16A


 (Pj)

i=2

i=3

i=5

i=6

минимальное энергопотребление при высоком быстродействии

1

1

1

0

1

высокая надежность

0,8

0,1

0,7

0,7

0,8

Кij (приведенный критерий функциональности)


0,61

0,94

0,4

1


Лидирующими по обеспечению продолжительности использования оказались два микроконтроллера: ATmega8-16PU, ATmega16A.

Далее необходимо определить критерии приведенных параметров, технических характеристик. Значения этих критериев получены и сведены в таблице 2.3

Таблица 2.3 Матрица технических характеристик микроконтроллеров

Параметры

Весовой коэффициент

PIC16F676

ATmega8-16PU

ATTINY40-MMH

ATmega16A


 (Pj)

i=2

i=3

i=5

i=6

возможность многократного перепрограммирования

1

1

1

1

1

наличие защиты кода

0,9

0,9

0,9

0

0,9

простота программирования

1

0

1

1

1

защита прошивки от перезаписи

0,6

0

0

0,6

0,6

Кij (приведенный критерий производительности)


0,54

0,8

0,74

1


Лидирующими по техническим характеристикам оказались 2 микроконтроллера: ATmega8-16PU, ATmega16A.

Теперь определим значения оценочной функции по совокупности критериев по формуле (2.2), что позволит выбрать наиболее подходящий управляющий микроконтроллер. Результаты расчета значений оценочной функции представлены в таблице 2.4.

Таблица 2.4 - Определение значений оценочной функции

Параметры

Весовой коэффициент

PIC16F676

ATmega8-16PU

ATTINY40-MMH

ATmega16A


 (Pj)

i=2

i=3

i=5

i=6

Затраты

1

1

0,6

0,32

0

Обеспечение продолжительности использования

1

0,61

0,94

0,4

1

Технические характеристики

0,9

0,54

0,8

0,74

1

Значение оценочной функции Fi


0,74

0,8

0,5

0,68


По результатам, приведенным в таблице 2.4 в большей степени требованиям отвечает микроконтроллер ATmega8-16PU по цене 70 руб.

В результате проведенного анализа можно выделить микроконтроллеры семейства ATmega, которые по проведенным расчетам оказались наиболее подходящим всем требованиям. Производитель - Atmel,  <#"599471.files/image015.gif">

Рисунок 2.6 - Типовая схема включения стабилизатора КР142ЕН5А.

 

2.3.3 Выбор аккумуляторной батареи

Аккумуляторная батарея - химический источник тока многоразового действия, основная специфика которого заключается в обратимости внутренних химических процессов, что обеспечивает его многократное циклическое использование для накопления энергии и автономного электропитания различных электротехнических устройств и оборудования.

Структура системы критериев выбора аккумуляторной батареи представлена на рисунке 2.7, которая позволяет выбрать наиболее подходящую по выбранным критериям аккумуляторную батарею.

Рис.2.7 Схема системы критериев выбора аккумуляторной батареи.

На основе анализа рынка аккумуляторных батарей было выбрано 4 АКБ с наиболее подходящими техническими параметрами:

)        Futaba 14MZ

2)      HOBBICO LiFe rx U

)        Great Planes LiPo 20C

)        Turnigy nano-tech 450mAh 2S

Цена относится ко второму типу критериев. Приведенный критерий цены определяется по формуле (2.1). На основе данного критерия определяется стоимость аккумуляторной батареи. Результаты расчета приведены в таблице 2.5.

Анализ таблицы 2.5 показывает, что по цене наиболее подходят две АКБ: Turnigy nano-tech 450mAh 2S и Hobbico Life rx U. Однако необходим выбор по совокупности критериев.

Таблица 2.5 - Таблица расчета приведенного критерия цены

Параметр (j)

Futaba 14MZ

Hobbico Life rx U

Great planes Lipo 20C

Turnigy nano-tech 450mAh 2S

Цена (руб.)

2900

780

890

300

Критерий цены (К)

0

0,81

0,77

1


Критерии технических характеристик относятся к третьей группе критериев и определяются по формуле (2.1). Определение этих критериев продемонстрировано в таблице 2.6

Таблица 2.6 Матрица технических характеристик АКБ

Параметры

Весовой коэффициент

Futaba 14MZ

Hobbico Life rx U

Great planes Lipo 20C

Turnigy nano-tech 450mAh 2S


 (Pj)

i=2

i=3

i=5

i=6

Емкость

0,8

0,8

0,1

0,2

0,3

Номинальное напряжение

1

1

0,9

1

1

Вес

1

0,1

1

0,9

0,8

Габариты

0,9

0,1

0,9

0,8

0,8

Кij (приведенный критерий производительности)


0,54

0,78

0,78

0,78


По данным этой таблицы можно судить, что по техническим характеристикам нам подходят три АКБ: Hobbico Life rx, Great planes Lipo 20C и Turnigy nano-tech 450mAh 2S.

Теперь определим значения оценочной функции по совокупности критериев по формуле (2.2), что позволит выбрать наиболее подходящую АКБ. Результаты расчета значений оценочной функции представлены в таблице 2.7.

Таблица 2.7 - Определение значений оценочной функции

Параметры

Весовой коэффициент

Futaba 14MZ

Hobbico Life rx U

Great planes Lipo 20C

Turnigy nano-tech 450mAh 2S


 (Pj)

i=2

i=3

i=5

i=6

Затраты

1

0

0,81

0,77

1

Технические характеристики

0,9

0,54

0,78

0,78

0,78

 

Значение оценочной функции Fi


0,28

0,83

0,81

0,93

 


По результатам, приведенным в таблице 2.7 в большей степени требованиям отвечает АКБ Turnigy nano-tech 450mAh 2S по цене 300 руб.

Характеристики:

ёмкость: 450mAh

напряжение: 2S1P / 2 Cell / 7.4V

разряд: 65C постоянный / 130C пиковый

вес: 26 г (с разъёмами)

размеры: 48x29x11 мм

разъём разряда: E-flite micro connector.

 

2.3.4 Выбор сервопривода

Сервопривод - это система, предназначенная для отработки момента, скорости и позиции с заданной точностью и динамикой. Классический сервопривод состоит из двигателя, датчика позиции и системы управления, имеющей три контура регулирования (по позиции, скорости и тока).

Структура системы критериев выбора сервопривода представлена на рисунке 2.8, которая позволяет выбрать наиболее подходящий сервопривод по выбранным критериям.

Рис 2.8 Схема системы критериев выбора сервопривода.

На основе анализа рынка сервоприводов было выбрано 4 сервопривода с наиболее подходящими техническими параметрами:

1) Corona 928BB

) Futaba S3153

3) GS-2502

) Aeolian Servo AE09

Цена относится ко второму типу критериев. Приведенный критерий цены определяется по формуле (2.1). На основе данного критерия определяется стоимость сервопривода. Результаты расчета приведены в таблице 2.8.

Анализ таблицы 2.8 показывает, что по цене наиболее подходят два сервопривода: Aeolian Servo AE09 и Corona 928BB. Однако необходим выбор по совокупности критериев.

Таблица 2.8 - Таблица расчета приведенного критерия цены

Параметр (j)

Corona 928BB

Futaba S3153

GS-2502

Aeolian Servo AE09

Цена (руб.)

160

1800

250

140

Критерий цены (К)

0,98

0

0,93

1


Критерии технических характеристик относятся к третьей группе критериев и определяются по формуле (2.1). Определение этих критериев продемонстрировано в таблице 2.9

Таблица 2.9 Матрица технических характеристик сервоприводов.

Параметры

Весовой коэффициент

Corona 928BB

Futaba S3153

GS-2502

Aeolian Servo AE09

i=2

i=3

i=5

i=6

Рабочее напряжение

1

0,9

0,9

1

0,9

Скорость отработки

0,9

0,6

0,9

0,9

0,7

Крутящий момент

0,8

0,8

0,6

0,3

0,5

Габариты

0,7

0,4

0,5

0,7

0,4

Вес

1

0,8

0,8

1

0,8

Кij (приведенный критерий производительности)


0,79

0,84

0,88

0,75


По данным этой таблицы мы можем судить, что по техническим характеристикам нам подходят два сервопривода: Futaba S3153 и GS-2502.

Теперь определим значения оценочной функции по совокупности критериев по формуле (2.2), что позволит выбрать наиболее подходящий управляющий микроконтроллер. Результаты расчета значений оценочной функции представлены в таблице 2.10.

Таблица 2.10 - Определение значений оценочной функции

Параметры

Весовой коэффициент

Corona 928BB

Futaba S3153

GS-2502

Aeolian Servo AE09


 (Pj)

i=2

i=3

i=5

i=6

Затраты

1

0,98

0

0,93

1

Технические характеристики

0,9

0,7

0,78

0,8

0,68

 

Значение оценочной функции Fi


0,88

0,41

0,91

0,88

 


По результатам, приведенным в таблице 2.10 в большей степени требованиям отвечает сервопривод GS-2502 по цене 250 руб.

Аналоговый микро-сервопривод маленького размера и веса с пластиковыми шестернями.

Характеристики

Напряжение питания - 3,7-6В

Скорость поворота - 0,11/0,09сек/60о

Усилие - 0,2кг/см

Размер - 16х8х20мм

Вес - 2,2г

 

2.3.5 Выбор лазерного диода

Лазерный диод - полупроводниковый лазер, построенный на базе диода. Его работа основана на возникновении инверсии населённостей в области p-n перехода при инжекции носителей заряда.

Структура системы критериев выбора лазерного диода представлена на рисунке 2.9, которая позволяет выбрать наиболее подходящий лазерный диод по выбранным критериям.

Рис 2.9 Схема системы критериев выбора лазерного диода.

На основе анализа рынка лазерных диодов было выбрано 4 лазерных диода с наиболее подходящими техническими параметрами:

1) HLDH-650-A-10-01

) HLDH-660-A-20-01

) LD-63104TL

4) LD-63153TL

Цена относится ко второму типу критериев. Приведенный критерий цены определяется по формуле (2.1). На основе данного критерия определяется стоимость лазерного диода. Результаты расчета приведены в таблице 2.11

Анализ таблицы 2.11 показывает, что по цене наиболее подходит лазерный диод HLDH-650-A-10-01. Однако необходим выбор по совокупности критериев.

Таблица 2.11 - Таблица расчета приведенного критерия цены

Параметр (j)

HLDH-650-A-10-01

HLDH-660-A-20-01

LD-63104TL

LD-63153TL

Цена (руб.)

150

750

450

520

Критерий цены (К)

1

0

0,5

0,38


Критерии технических характеристик относятся к третьей группе критериев и определяются по формуле (2.1). Определение этих критериев продемонстрировано в таблице 2.12

Таблица 2.12 Матрица технических характеристик лазерных диодов

Параметры

Весовой коэффициент

HLDH-650-A-10-01

HLDH-660-A-20-01

LD-63104TL

LD-63153TL


 (Pj)

i=2

i=3

i=5

i=6

Напряжение питания

1

1

1

0,9

0,9

Рабочая сила тока

0,8

0,8

0,6

0,5

0,5

Длина волны излучения

0,9

0,85

0,9

0,8

0,8

Мощность излучения

1

0,6

1

0,6

0,8

Кij (приведенный критерий производительности)


0,87

0,94

0,76

0,81


Лидирующим по техническим характеристикам оказался лазерный диод HLDH-660-A-20-01.

Теперь определим значения оценочной функции по совокупности критериев по формуле (2.2), что позволит выбрать наиболее подходящий лазерный диод. Результаты расчета значений оценочной функции представлены в таблице 2.13.

Таблица 2.13 - Определение значений оценочной функции

Параметры

Весовой коэффициент

HLDH-650-A-10-01

HLDH-660-A-20-01

LD-63104TL

LD-63153TL


 (Pj)

i=2

i=3

i=5

i=6

Затраты

1

1

0

0,5

0,38

Технические характеристики

0,9

0,82

0,9

0,75

0,8

 

Значение оценочной функции Fi


0,95

0,47

0,66

0,62

 


По результатам, приведенным в таблице 2.13 в большей степени требованиям отвечает лазерный диод HLDH-650-A-10-01 по цене 150 руб.

Техническая информация

Красный 650nm лазерный диод, выходная мощность 10mW, рабочий ток 28mA, расходимость 9.5/28 deg.

Литература


1.       Другов Ю.С. Методы анализа загрязнения воздуха [Текст] / Другов Ю.С., Беликов А.Б., Дьякова Г.А., Тульчинский В.М. - М: Химия, 1984. - 384 с., ил.

2.      Якунина И.В. Методы и приборы контроля окружающей среды. Экологический мониторинг: учебное пособие [Текст] / И.В. Якунина, Н.С. Попов. - Тамбов: Изд-во Тамб. гос. техн. ун-та, 2009. - 188 с. - 100экз. - ISBN 978-5-8265-0864-0

.        Панин В.Ф., Сечин А.И., Федисова В.Д. Экология для инженера. Учебно-справочное пособие [Текст] / В.Ф. Панин. - М.: Издательский дом "Ноосфера", 2001. - 284 с.

.        Лейте В. Определение загрязнителей воздуха в атмосфере и на рабочем месте [Текст] / П.А. Коузов., В.А. Симонова. - С. - Петерб: Химия, 1980. - 340 с., ил.

.        Муравьева С.И. Справочник по контролю вредных веществ в воздухе [Текст] / Муравьева С.И., Казнина Н.И., Прохорова Е.К. - М: Химия, 1988 - 320 с. - ISBN 5-7245-041-8

.        Евстифеев, А.В. Микроконтроллеры AVR семейств Tiny и Mega фирмы "ATMEL" [Текст] / А.В. Евстифеев М.: Издательский дом "Додэка ХХI", 2004.560 с. - ISBN 4-298-82496-6.

.        Бесплатная библиотека стандартов и нормативов [Электронный ресурс] / Бесплатная библиотека стандартов и нормативов - Copyright 2008 - Режим доступа: www.docload.ru, свободный - Яз. рус.

.        Нормативы загрязнения атмосферного воздуха [Электронный ресурс] / ГПБУ "Мосэкомониторинг" - Copyright by Мосэкомониторинг, 2001 г. - Режим доступа: http://www.mosecom.ru, свободный - Нормативы загрязнения атмосферного воздуха - Яз. рус.

.        Википедия свободная энциклопедия [Электронный ресурс] / Википедия свободная энциклопедия; Электронные данные. - Лицензия Creative Commons Attribution-ShareAlike0, 2010. - Режим доступа: http://ru. wikipedia.org, свободный - Беспилотный летательный аппарат - Яз. рус., англ., нем., франц., испан., итал., порт., швед., япон., кит., нидер., норв., катал., финс., укр., вегр., чешс., рум., тур., араб.

.        Информационная система "техника для спецслужб" [Электронный ресурс] / Бюро научно-технической информации; Электронные данные - © БНТИ 1999 - 2013 гг. - Режим доступа: http://www.bnti.ru, свободный - Беспилотные летательные аппараты - Яз. рус.

.        Министерство природных ресурсов и экологии российской федерации [Электронный ресурс] / Министерство природных ресурсов и экологии российской федерации. - Режим доступа: http://www.mnr.gov.ru, свободный - Яз. рус.

.        Радиоуправляемые модели и игрушки [Электронный ресурс] / Столица Хобби; Электронные данные - Copyright © 1997-2012 ООО "Столица Хобби". - Режим доступа: http://www.capitalhobbies.com, свободный - Яз. рус., англ.

.        Продажа светодиодного оборудования [Электронный ресурс] / LEDenter светодиодное освещение. Режим доступа: http://www.ledenter.ru, свободный - Яз. рус.

Похожие работы на - Разработка приборного оснащения беспилотных летательных аппаратов для контроля санитарно-гигиенических характеристик атмосферного воздуха в приповерхностном слое

 

Не нашли материал для своей работы?
Поможем написать уникальную работу
Без плагиата!
Без нейросетей!