Проект макета на основе PIC контроллера

  • Вид работы:
    Дипломная (ВКР)
  • Предмет:
    Информатика, ВТ, телекоммуникации
  • Язык:
    Русский
    ,
    Формат файла:
    MS Word
    1,39 Мб
  • Опубликовано:
    2013-01-26
Вы можете узнать стоимость помощи в написании студенческой работы.
Помощь в написании работы, которую точно примут!

Проект макета на основе PIC контроллера

ВВЕДЕНИЕ

Сегодняшний день развития вычислительной техники характеризуется бурным развитием сетевых технологий. При этом, основной упор делается на технологии, позволяющие в значительной мере повысить полосу пропускания каналов связи и скорость передачи.

Из кабельных технологий можно выделить оптоволокно и витую пару. Витые пары, на данный момент, получили более широкое распространение чем оптоволокно, так как она требуют существенно меньших затрат на сетевое оборудование и саму кабельную систему. Она не требует установки дорогостоящих оптических приемопередатчиков и пассивных компонентов волоконной оптики.

В процессе эксплуатации или прокладки витой пары требуется контроль её целостности. Для поиска обрыва витой пары или проверки её целостности требуется специальное оборудование, которое позволит упростить эту процедуру.

Существует два типа оборудования для проверки сетевого кабеля:

.Кабельный тестер;

.Кабельный пробник.

Кабельные тестеры, кроме обрыва, позволяют определять различные параметры сетевого кабеля, например, тестер может измерять помехи на перекрестном конце, коэффициент сигнал/шум, пропускную способность, импеданс и другие характеристики. Такая многофункциональность сказывается на его стоимости, кабельный тестер может стоить несколько тысяч долларов, а при прокладке домашней сети, сети малого офиса или сети в учебном заведении многие из перечисленных функций не требуются. Для этого достаточно иметь кабельный пробник.

Кабельный пробник, в отличие от тестера, представляет собой несложное устройство, позволяющее определить целостность и правильность следования пар в кабеле. Работает он в основном от батареек. Данным пробником проверяют витую пару после ее прокладки и обжима. Пробник состоит из двух компонентов, приемника и передатчика, которые подсоединяются на разные концы кабеля. Пробник подает напряжение в линию и на ее конце определяет целостность всего кабеля. Если жилы витой пары в каком-то месте имеют обрыв, то пробник указывает на номер жилы. В большинстве случаях этих функций достаточно.

Целью дипломного проекта является разработка кабельного пробника, который может быть использован в учебном процессе при проведении практических занятий по специальным дисциплинам связанных с изучением сетевых технологий. С помощью данного кабельного пробника можно проверить как витую пару, так и любой кабель до 80 жил. Учитывая всё выше сказанное можно считать тему дипломного проекта актуальной.

1. Техническая часть

.1 Постановка задачи

Кабельный пробник должен состоять из двух частей:

) Передатчика

) Приемника

Передатчика и приемника кабельного пробника должны быть реализованы на основе PIC-контролерах PIC16F84A.

Передающая часть пробника должна работать как распределитель импульсов по десяти линиям. Контакты линий должны быть соединены непосредственно с выводами порта микроконтроллера. Управляющая программа должна поочередно настраивать один из выводов на передачу, другие при этом должны работать на прием. На стороне передатчика проводники должны вставляться в пронумерованные зажимы, а на стороне приемной части кабельного пробника к проводникам должны прикасаться щупом.

На приемнике на цифровом табло должен высвечиваться номер зажима, к которому подключен данный проводник. Входы приемника должны быть подключены порту микроконтроллера через токоограничивающие резисторы.

Жилы витой пары или многожильного кабеля, до 80-ти жил, с одной стороны должны подключаться к контактам передатчика, с другой - к таким же контактам приемника. Для нормальной работы пробника необходимо подключить не менее двух жил кабеля.

Питание приемника и передатчика осуществляется от трех элементов типа АА. Приемная и передающая части кабельного пробника должны питаться от отдельных автономных источников питания постоянного тока, напряжением 4,5 В.

Приемник должен последовательно опрашивает входы и отображать на семисегментных индикаторах номера контактов приемника и передатчика, которые подключены к одному и тому же проводу кабеля.

.2 Выбор варианта реализации

.2.1 Возможные варианты реализации

Вариант I.

Самый простейший кабельный пробник, обычная лампочка с токоограничивающим резистором на приемнике и батарейкой на передатчике.


Этот вариант хорош своей простой и минимальной стоимостью, но он может проверить одновременно только одну линию кабеля.

Вариант II.

Данный кабельный пробник имеет возможность идентифицировать до 8-ми жил кабеля.


Но для нормальной работы проверять только витую пару мало.

Вариант III.


Этот вариант также хорош своей дешевизной и простой. А также с его помощью можно прозвонить до 80-ти жил поочерёдно и благодаря семисегментному светодиоду моно узнать номер проверяемой жилы кабеля.

.2.2 Обоснование выбора варианта реализации

С точки зрения простоты и дешевизны реализации хорошо первый вариант, но он позволяет работать только с парой жил. Второй вариант более сложный в реализации, но позволяет прозванивать уже до 8-жил.

Согласно техническому заданию к дипломному проекту пробник должен иметь возможность прозванивать до 80-ти жил кабеля, в соотвестии с этим нас удовлетворяет третий вариант реализации кабельного пробника.

.3 Структурная схема пробника

.3.1 Структурная схема передтчика

Рисунок 1


БП предназначен для форматирования напряжения постоянного тока запитывающиего схему передатчика.

БУ предназначен для управления работы передатчика и формирования номера каждой линии в блоке камутации.

БК предназначен для подключения выхода передатчика к жилам кабеля.

.3.2 Структурная схема приемника

Рисунок 2

БП предназначен для форматирования напряжения постоянного тока запитывающиего схему приемника.

БУ предназначен для управления работы приемника и приема номера жилы кабеля подключенного к щупу приемника.

БИ предназначен для индикации номера жила кабеля подключенного к щупу.

.4 Обзор семейства PIC контроллеров

Контроллеры делятся на 3 больших семейства: PIC10/12/16, PIC12/16 и PIC18.

В 1989 году, когда Microchip приобрела у компании General Instrument интеллектуальные права на микросхему периферийного интерфейсного контроллера (PIC), было разработано первое семейство 8-битных контроллеров с гарвардской архитектурой. Это начальные (или базовые) семейства PIC10FXXX и 12СХХХ, имеющие 33 команды, 12-битную память программ, параллельные порты ввода/вывода и один 8-битный таймер/счетчик. Как и во всех последующих семействах микроконтроллеров PIC, исполнительный блок обрабатывал данные побайтно, что соответствует 8-битной организации памяти данных.

К 1992 году на свет появилось среднее семейство PIC16CXXX. Контроллеры этого семейства имели уже 14-битную память программ, что облегчало доступ к памяти данных больших объемов. По сравнению с младшими семействами появились новые команды. Был значительно расширен базовый набор периферии - добавились такие устройства, как 16-битные таймеры, модуль АЦП, последовательные порты. Также была добавлена поддержка прерываний.

В 1999 году было представлено семейство микроконтроллеров PIC18CXXX с максимальной тактовой частотой 40 МГц и 16-битным набором команд. Количество команд в этих контроллерах было увеличено до 75, причем большинство из них были введены для поддержки языков высокого уровня.

Особенностью контроллеров PIC является то, что память программ и память данных разделены (Гарвардская архитектура).

Присутствует шина данных, которая во всех контроллерах РIС имеет разрядность 8 бит и разделена с шиной адреса, которая соединяет центральный процессор с памятью программ. В результате процессор в состоянии одновременно выполнять доступ к данным и к словам команд.

.4.1 Обобщённая структура PIC контроллеров

Все модели разных семейств контроллеров имеют общие черты. Они будут рассмотрены на обобщенной структуре контроллеров

Опишем значения блоков приведенной схемы:

1.      EEPROM- (англ. Electrically Erasable Programmable Read-Only Memory, электрически стираемое перепрограммируемое ПЗУ, ЭСППЗУ). Память такого типа может стираться и заполняться данными несколько десятков тысяч раз. Используется в твердотельных накопителях. Одной из разновидностей EEPROM является флэш-память (англ. Flash Memory).

2.      Регистр команд - спец. регистр, предназначенный для хранения кода команды на период времени, необходимый для её выполнения.

.        АЛУ - арифметически-логическое устройство - предназначено для выполнения арифметических и логических операций.

4.      33 контакта ввода/вывода (Порты A,B,C,D,E)

5.      TMR0 и TMR2 - два 8-ми разрядных таймера

6.      TMR1 - 16-ти разрядный таймер

.        CCP1 и CCP2 - два модуля сравнения/накопления/ШИМ

8.      PSP - 8-ми разрядный параллельный ведомый порт

9.      SPI/ - синхронный последовательный порт, который может функционировать как трехпроводной последовательный периферийный интерфейс (SPI) или двухпроводная шина ()

10.    USART - последовательный порт. Универсальный синхронно-асинхронный приемопередатчик

11.    ADC - 8-ми разрядный аналогово-цифровой преобразователь с восемью мультиплексированными входными каналами

.        Мультиплексор - позволяет передать сигнал с одного из входов на выход; при этом выбор желаемого входа осуществляется подачей соответствующей комбинации управляющих сигналов.

13.    Регистр W - рабочий регистр

1.4.2 Программирование контроллеров

Раньше, чтобы записать новый или исправить старый код программы, приходилось снимать контроллер с печатной платы, устанавливать в программатор и только потом уже приступать к программированию. Это все-таки не очень удобно и быстро. Поэтому был выбран альтернативный вариант, не требующий лишних действий и занимающий меньше времени. Это подключение к ПК через шину USB микроконтроллера, в который предварительно записана программа bootload. После чего достаточно только установить драйвер макета, скачать программу для общения с контроллером (к примеру KeTerm от фирмы KernelChip) и можно приступать к программированию. Писать программы можно на разных языках программирования таких как С++, Delphi, VisualBasic, HyperTerminal. И из них же можно напрямую управлять контроллером.

.4.3 Выбор контроллера для проекта

Сравнение PIC18x8x «в таблице 1» приведены контроллеры из семейства PIC18 (от компании MicroChip).

Таблица 1

Особености

pic16cr83

pic16f83

pic16cr84

pic16f84a

Память программ, байт

512x14

512x14

1024x14

1024x14

ОЗУ данных

36

36

68

68

Част., МГц

10

10

10

10

Порты вв./выв.

13

13

13

13

АЦП/ЦАП

0/0

0/0

0/0

0/0

Таймеры

1+WDT

1+WDT

1+WDT

1+WDT

Програм. на плате

есть

есть

нету

есть


Эти контроллеры очень схожи друг с другом по своим характеристикам, но PIC18F84A оказался наилучшим вариантом из всех, т.к. он включил в себя все положительные качества предыдущих контроллеров. Поэтому именно он и был выбран для создания макета.

.5 Описание интерфейса программирования

В качестве интерфейса программирования используется USB 2.0.

Cпецификация интерфейса USB.

Спецификация USВ определяет следующие функциональные возможности интерфейса:

.        простота использования для конечного пользователя:

.2.     простота кабельной системы и подключений;

.3.     скрытие подробностей электрического подключения от конечного пользователя;

.4.     самоидентифицирующиеся устройства с автоматическим конфигурированием;

.5.     динамическое подключение и переконфигурирование периферийных устройств;

.        широкие возможности работы:

1.1.    пропускная способность от нескольких Кбайт/с до нескольких Мбайт/с;

1.2.   поддержка одновременно как изохронной, так и асинхронной передачи данных;

.3.     поддержка одновременных операций со многими устройствами (multiple connections);

.4.     поддержка до 127 устройств на шине;

.5.     передача разнообразных потоков данных и сообщений;

.6.     поддержка составных устройств (т. е. периферийное устройство, выполняющее несколько функций);

.7.     низкие накладные расходы передачи данных;

2.      равномерная пропускная способность:

3.1.   гарантированная пропускная способность и низкие задержки голосовых и аудиоданных;

.2.     возможность использования всей полосы пропускания;

.        гибкость:

.1.     поддержка разных размеров пакетов, которые позволяют настраивать функции буферизации устройств;

.2.     настраиваемое соотношение размера пакета и задержки данных;

.3.     управление потоком (flow control) данных на уровне протокола;

.4.     надежность:

.5.     контроль ошибок и восстановление на уровне протокола;

.6.     динамическое добавление и удаление устройств, прозрачно для конечного пользователя;

.7.     поддержка идентификации неисправных устройств;

.8.     исключение неправильного соединения устройств; выгода для разработчиков:

.9.     простота реализации и внедрения;

.10.   объединение с архитектурой Plug and Play;

.        дешевая реализация:

.1.     дешевые каналы со скоростью работы до 1,5 Мбайт/с;

.2.     • оптимизация для интеграции с периферией;

.3.     • применимость для реализации дешевой периферии;

.4.     • дешевые кабели и разъемы;

.5.     • использование выгодных товарных технологий;

.        возможность простого обновления.

подключения USB-устройств. Иконкой, показанной на рис. 3, официально обозначается шина USB, как в Windows, так и на USB-разъемах.

Рис. 3 Иконка USB-шины

Сравнение USB с другими интерфейсами

В таблице 2 приведено сравнение интерфейса USB с другими интерфейсами персонального компьютера. Видно, что достойной альтернативы USB не существует. Интерфейсы сравнимые с USB по скорости обмена, требуют специальных преобразователей. Интерфейсы, не требующие дополнительных элементов, либо низкоскоростные, либо узконаправленные. Кроме того, к несомненным плюсам USB относятся организация помехозащищенности на уровне аппаратного и шинного протоколов и "встроенная" поддержка Plug and Play, а также отсутствие дополнительных элементов для подключения устройств (как, например, терминаторы для SCSI(Small Computer System Interface)-интерфейса). Пожалуй, единственным минусом можно считать довольно короткое кабельное соединение, но следует помнить, что шина USB разрабатывалась как шина для домашних устройств, стоящих на столе, и дальние соединения не закладывались в нее изначально.

Таблица 2 Сравнение USB с другими интерфейсами

Интерфейс

Число устройств/ Число проводов/Длина провода (м)

Скорость

Использование

Последовательные

USB 1.X

127/3/10

1,5 Мбит/с, 12 Мбит/с

Любые устройства с USB 1.Х (USB-порт)

 

USB 2.0

127/3/10

1,5 Мбит/с, 12 Мбит/с, 480 Мбит/с

Любые устройства с USB 1.Х/2.0 (USB-порт)

RS-232

1/6/50-100

115,2 Кбит/с

Модем, мышь, ключи защиты (СОМ-порт)

RS-485

32/2/4000

10 Мбит/с

Промышленные устройства (СОМ-порт через преобразователь)

FireWire (IEEE-1394)

64/3/15

400 Мбит/с

Видеоданные, дисковые массивы (FireWire-порт)

Ethernet

1024/3/1600

10 Мбит/с 100 Мбит/с 1 Гбит/с

Сетевые соединения ПК (сетевая карта)

Токовая петля

MIDI

1/3/50

31,5 Кбит/с

Музыкальные устройства

Параллельные

LPT

1/9/10-30

От 800 Кбит/с до 16 Мбит/с

Принтеры, сканеры, дисковые устройства


Рис. 4 Обычная архитектура USB

Обычная архитектура шины USB подразумевает подключение одного или нескольких USB-устройств к компьютеру (рис. 4). Компьютер в такой конфигурации является главным управляющим устройством и называется хостом. Подключение устройств к хосту производится с помощью кабелей. Для соединения компьютера и устройства используется хаб. Компьютер имеет встроенный хаб, называемый корневым хабом.

Физическая и логическая архитектура шины

Физическая архитектура USB-шины определяется следующими правилами (рис. 5):

.        устройства подключаются к хосту;

.        физическое соединение устройств между собой осуществляется по топологии многоярусной звезды, вершиной которой является корневой хаб;

.        центром каждой звезды является хаб;

.        каждый кабельный сегмент соединяет между собой две точки: хост с хабом или функцией, хаб с функцией или другим хабом;

.        к каждому порту хаба может подключаться периферийное устройство или другой хаб, при этом допускается до 5 уровней каскадирования хабов, не считая корневого.

Рис. 5 Физическая архитектура USB

Детали физической архитектуры скрыты от прикладных программ в системном ПО, поэтому логическая архитектура выглядит как обычная звезда, центром которой является прикладное ПО, а вершинами - набор конечных точек (рис. 6).

Рис. 6 Логическая архитектура USB

Прикладная программа ведет обмен информацией с каждой конечной точкой.

Составляющие USB

Шина USB состоит из следующих элементов:

1.      Хост-контроллер (Host Controller) - это главный контроллер, который входит в состав системного блока компьютера и управляет работой всех устройств на шине USB. Для краткости мы будем писать просто "хост". На шине USB допускается наличие только одного хоста. Системный блок персонального компьютера содержит один или несколько хостов, каждый из которых управляет отдельной шиной USB.

2.      Устройство (Device) может представлять собой хаб, функцию или их комбинацию (Compound Device).

.        Порт (Port) - точка подключения.

4.      Хаб (Hub, другое название - концентратор) - устройство, которое обеспечивает дополнительные порты на шине USB. Другими словами, хаб преобразует один порт (восходящий порт, Upstream Port) во множество портов (нисходящие порты, Downstream Ports). Архитектура допускает соединение нескольких хабов (не более 5). Хаб распознает подключение и отключение устройств к портам и может управлять подачей питания на порты. Каждый из портов может быть разрешен или запрещен и сконфигурирован на полную или ограниченную скорость обмена. Хаб обеспечивает изоляцию сегментов с низкой скоростью от высокоскоростных. Хаб может ограничивать ток, потребляемый каждым портом.

.        Корневой хаб (Root Hub) - это хаб, входящий в состав хоста.

.        Функция (Function) - это периферийное устройство (ПУ) или отдельный блок периферийного устройства, способный передавать и принимать информацию по шине USВ. Каждая функция предоставляет конфигурационную информацию, описывающую возможности ПУ и требования к ресурсам. Перед использованием функция должна быть сконфигурирована хостом - ей должна быть выделена полоса в канале и выбраны опции конфигурации.

7.      Логическое устройство (logical device) USB представляет собой набор конечных точек.

Свойства USB-устройств

Спецификация USВ достаточно жестко определяет набор свойств, которые должно поддерживать любое USB-устройство:

1.      адресация - устройство должно отзываться на назначенный ему уникальный адрес, и только на него;

.        конфигурирование - после включения или сброса устройство должно предоставлять нулевой адрес для возможности конфигурирования его портов;

3.      передача данных - устройство имеет набор конечных точек для обмена данными с хостом. Для конечных точек, допускающих разные типы передач, после конфигурирования доступен только один из них;

.        управление энергопотреблением - любое устройство при подключении не должно потреблять от шины ток, превышающий 100 мА. При конфигурировании устройство заявляет свои потребности тока, но не более 500 мА. Если хаб не может обеспечить устройству заявленный ток, устройство не будет использоваться;

.        приостановка - устройство USB должно поддерживать приостановку (Suspended Mode), при которой его потребляемый ток не превышает 500 мкА. Устройство должно автоматически приостанавливаться при прекращении активности шины;

6.      удаленное пробуждение - возможность удаленного пробуждения (Remote Wakeup) позволяет приостановленному устройству подать сигнал хосту, который тоже может находиться в приостановленном состоянии.

Кабели и разъемы

Спецификация USB предъявляет несколько требований к кабельному соединению:

.        предотвращение ошибки соединения разъемов (рис. 7):

.1.     соединения выходного порта одного хаба с выходным портом другого, поскольку это приводит к образованию замкнутых контуров в иерархии USB;

.2.     соединения входного порта одного устройства с входным портом другого, поскольку в этом случае оба устройства "изымаются" из иерархии;

Рис. 7 Возможные ошибки соединения USB устройств

2.      простота кабельного соединения:

.1.     простое подключение устройств;

.2.     дешевые кабели и разъемы;

2.3.   одинаковые кабели и разъемы для всех устройств;

.        возможность подключения устройств с питанием от шины и возможностью подключения устройств, имеющих внешнее питание.

Типы кабелей

Соединительный кабель, используемый для подключения устройств с интерфейсом USB, представляет собой четырехжильный кабель в экранирующей оплетке и защитным покрытием из полихлорвинила. Цвета проводников в кабеле жестко заданы в спецификации (табл. 3), а цвет самого кабеля выбирается производителем, но рекомендуемые цвета - белый, серый или черный.

Спецификация USB 2.0 определяет три возможных типа используемых кабелей:

.стандартный съемный кабель;

.высокоскоростной (полноскоростной) несъемный кабель;

.низкоскоростной несъемный кабель.

Стандартный съемный кабель служит для соединения хоста или хаба с устройством. С одной стороны он заканчивается разъемом типа "А" для подключения к хосту или хабу, а с другой - разъемом типа "В" или "mini-B" для подключения к устройству. Оба разъема маркируются логотипом USВ.

Несъемный кабель заканчивается с одной стороны разъемом типа "А" (с маркировкой) для подключения к хосту или хабу, а с другой стороны жестко присоединен к устройству, т. е. имеет всего один разъем.

Высокоскоростной и полноскоростной кабель имеет импеданс 90+15% Ом и полную задержку распространения сигнала 26 нс. Кабель обязательно должен иметь витую пару из сигнальных проводников (данные "минус", данные "плюс") и экранирующую оплетку. Такой кабель можно использовать и для низкоскоростного соединения. Низкоскоростной кабель предназначен для работы на скоростях до 1,5 Мбайт/с. В связи с этим к кабелю предъявляются меньшие требования: низкоскоростной кабель не имеет витой пары из сигнальных проводников экранирующей оплетки. Он должен иметь емкость в диапазоне 200-450 пФ и задержку на распространение сигнала не более 18 нс.

Длина кабеля

Длина соединительного кабеля определяется импедансом и задержкой распространения сигнала. В среднем длина составляет три-пять метров, но может быть и до десяти. Определяющим фактором является качество изготовления и используемый материал.

Разъемы

Для предотвращения ошибочных соединений USB использует USB-кабели с различными разъемами. Согласно спецификации, все устройства, работающие с шиной USB, могут использовать только три типа разъемов: "А", "В" и "mini-B". Разъемы "А" (рис. 8, 9) обозначают принадлежность к "ведущему" устройству, они используются в хостах и хабах. Их всегда можно встретить, например, на современных материнских платах персональных компьютеров. Разъемы "В" (рис. 10, 11) используют "ведомые" устройства, например: мониторы, сканеры, принтеры и т. д. Тип разъемов "mini-B" появился в спецификации в 2000 году с введением стандарта USB 2.0. Этот разъем позиционируется для применения в малогабаритных мобильных устройствах, например, в сотовых телефонах, когда габариты самого устройства соизмеримы с размерами разъема.

Рис. 8 Разъем типа А (Кабель подключения устройства к хосту)

Рис. 9 Разъем типа А (на хосте)

Рис. 10 Разъем типа B (Кабель подключения от хоста к устройству)

Рис. 11 Разъем типа B (на устройстве)

Конструктивно разъемы задуманы так, что сначала происходит соединение шины питания, потом шины данных.

Спецификация USB определяет стандартную цветовую гамму для проводников внутри USB-кабеля (таблица 3) что значительно облегчает идентификацию проводов при применении кабелей от разных производителей.

Кабель также имеет линии VBus и GND для передачи питающего напряжения 5В к устройствам. Сечение проводников выбирается в соответствии с длиной сегмента для обеспечения гарантированного уровня сигнала и питающего напряжения.

Таблица 3. Цветовая гамма проводников разъема А и В


.6 Описание используемого контроллера

Архитектура

Неизмененным остался принцип архитектуры PIC: шина данных и шина команд разделены (Гарвардская архитектура). При этом две шины могут иметь различную разрядность. Кроме того, во время выполнения команды из памяти программ уже может выбираться следующая команда (конвейеризация).

Контроллер PIC18F84A с поддержкой полноскоростной шины USB2.0 (12Мбит/с) в первую очередь находит свое применение в устройствах связи с персональными компьютерами, позволяют разработчикам отказаться от традиционного RS-232.

Основные характеристики

.        Высокопроизводительный RISC-процессор:

.        Всего 35 простых для изучения инструкции

.        Все инструкции исполняются за один такт (200 нс), кроме инструкций перехода, выполняемых за два такта

.        Скорость работы: тактовая частота до 20 МГц минимальная длительность такта 200 нс

.        14 битовые команды

.        8 - битовые данные

.        15 аппаратных регистров специального назначения

.        8-уровневый аппаратный стек

.        Прямой, косвенный и относительный режимы адресации для данных и инструкций

.        четыре источника прерывания:- внешний вход RB0/INT- переполнение таймера TMR0- прерывание при изменении сигналов на линии порта B (PORTB<7:4>)- по завершению записи данных в ЭСППЗУ (EEPROM)

.        1000 циклов записи/стирания FLASH памяти программы

.        1 000 000 циклов записи/стирания памяти данных ЭСППЗУ

.        Период хранения данных ЭСППЗУ > 40 лет

Периферия:

.        13 линий ввода/вывода с индивидуальным контролем направления

.        Сильноточные схемы для непосредственного управления светодиодными индикаторами: - 25 мА макс. вытек. ток- 25 мА макс. втек. ток

.        Timer0: 8-разрядный таймер/счетчик с 8-разрядным программируемым предварительным делителем

Особенности микроконтроллера:

.        Программирование на плате через последовательный порт (ICSPT) (с испоьльзованием двух выводов)

.        Сброс при включении питания (POR)

.        Таймер включения питания (PWRT) и таймер запуска генератора (OST)

.        Сброс по падению напряжения питания

.        Сторожевой таймер (WDT) с собственным встроенным RC-генератором для повышения надежности работы

.        Программируемая защита кода

.        Режим экономии энергии (SLEEP)

.        Выбираемые режимы тактового генератора

Технология КМОП:

.        Экономичная, высокоскоростная технология КМОП ЭППЗУ/ЭСППЗУ

.        Полностью статическая архитектура

.        Широкий рабочий диапазон напряжений питания - от 2,0В до 5,5В

.        Коммерческий, промышленный и расширенный температурный диапазоны

.        Низкое потребление энергии:- < 2 мА при 5,0 В, 4,0 МГц- 15 мкА (типичное значение) при 2 В, 32 кГц- < 0,5 мкА (типичное значение) в режиме STANDBY при 2В

Цоколевка:


1.7 Описание принципиальной схемы пробника

.7.1 Описание принципиальной схемы передатчика

Принципиальная схема передатчика приведёна в Приложении А пояснительной записки.

Все выводы порта В наторены на выход и имеют коэффициенты от одного до восьми. Выводы RA0- RA2 используются для выхода значений регистра десятков в двоичном коде. Выводы RA3, RA4 используются как выходы с коэффициентом 9, 10 соответственно. Поскольку выходы RA4 имеет открытый сток, то он нагружен регистром R1. Каждый вход 3 мультиплексоров DD2-DD11 подключен к выходу микроконтроллера со своим коэффициентом. Адресные входы десятков микроконтроллера.

Таким образом, при нулевом значении регистра десятков на всех мультиплексорах будет выбран нулевой адрес. А на выходах 13 всех мультиплексоров будет появляться количество импульсов, равное коэффициенту выхода микроконтроллера, который подключен к входу 3 мультиплексора. На выводе 13 микросхемы DD2 будет постоянно присутствовать только один импульс, а на том же выводе микросхемы DD11 будет 10 импульсов. При увеличении адреса мультиплексора на единицу переключится его вход, а число импульсов на нем увеличиться на десять. Таким образом, на каждом выходе мультиплексоров последовательно будет выдаваться только свое количество импульсов. Нижний по схеме выход необходимо подключать к одному известному проводу, который будет общим для передатчика и для приемника.

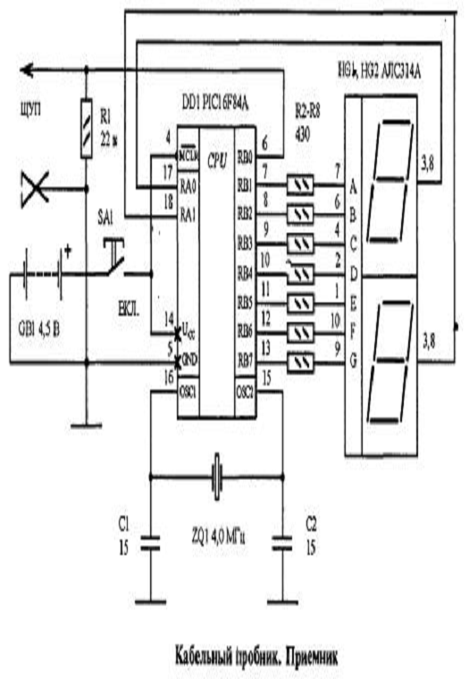
.7.2 Описание принципиальной схемы приемника

Принципиальная схема приемника приведёна в Приложении B пояснительной записки.

Выходы микроконтроллера RB1- RB7 коммутируют сегменты светодиодов HG1, HG2. Выходы RA0, RA1коммутрируют катоды светодиодов. Импульсы со щупа поступают на вход RB0. Зажим щупа подключается к известной жиле кабеля, которая служит общим проводом для приемника и передатчика. Если выход мультиплексора передатчика не выбран адресом, то на нем будет присутствовать неопределенный уровень. Тогда при появлении импульсов на счетчик приемника будет одно ложное событие. Это не зависит от установленного перепада срабатывания счетчика то ли из ноля в единицу, то ли из единицы в ноль. Чтобы не было ложных импульсов, вход зашунтирован резистором R1.

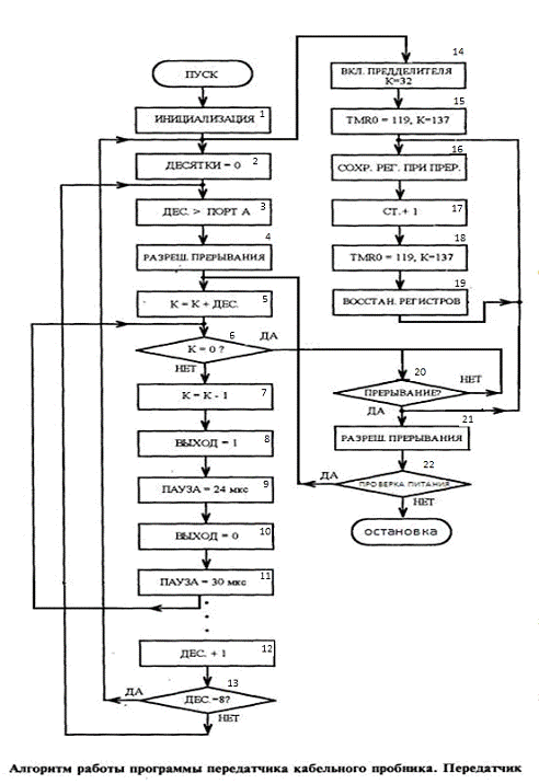
.8 Описание алгоритма работы пробника

.8.1 Описание алгоритма работы передатчика

Алгоритм передатчика приведён в Приложении С пояснительной записки.

После пуска программы и инициализации регистров(1) обнуляется регистр десятков(2). Значение регистра десятков переписываются в порт А(3) для коммутации мультиплексоров. Далее разрешаются прерывания(4) и по двоичному числу десятков находится его десятичное значение(5). Десятичное значение прибавляется к константе первого выхода. Константа для каждого выхода определяется его номером. То есть выход имеет константу К = 1, а десятый выход имеет константу К = 10. При нулевом значении десятков на каждом выходе будет число импульсов, равное номеру выхода. Далее программа проверяет регистр К на ноль(6). Если ноля нет, то из регистра вычисляется единица(7). Вычитание единицы сопровождается переключением выхода в единичное состояние(8). Выдерживается пауза на время 24 мкс(9) и выход переводится в нулевое состояние(10). Нулевое состояние выхода длиться 30 мкс(11). Следовательно, период импульсов равен 24+30=54 мкс. После этого программа проверяет регистр на ноль. Если регистр пустой, то программа переходит в ожидание прерывания. А если значение регистра не равно нулю, то весь цикл формирования импульса на выходах повторяется. Таким образом, на выходе будет сформировано такое число импульсов, которое было записано в регистре К.

После инициализации регистров включается предделитель, имеющий коэффициентом деления, равный 32(14), и таймер с коэффициентом деления, равным 256-199=137(15). При кварце с частотой 4 МГц прерывания по переполнению таймера должно быть через 4,38 мс (32 х 137 = 4384 = 4,38 мс), но возврат из прерывания выполняется командой без разрешения прерывания. К этому времени прибавляется время циклов до разрешения прерывания и, собственно, время на само выполнение прерывания. Общее среднее число циклов равно 16. Поэтому длительность между прерываниями составляет 4,4 мс. Как не трудно подсчитать (54 х 80 = 4320 =4,32 мс), 80 периодов импульсов будут длиться 4,32 мс. То есть 80 импульсов не входят за границы длительности между прерываниями.

После переполнения таймера выполняется обычная процедура сохранения значений регистров при прерывании(16) и прибавляется ( можно и вычитать) единица в счетчик прерываний(17). Значения этого счетчика нигде не используется программой, а сам счетчик необходим для выполнения прерывания. Но его удобно использовать при отладке программы. После восстановления значений регистров(18) разрешается прерывание(21) для формирования импульсов со следующего выхода.

После того как будут сформированы импульсы на десятом выходе, регистр десятков увеличивается на единицу и весь цикл повторится с команды записи двоичного кода десятков в порт А. В новом цикле число сформированных импульсов на каждом выходе будет увеличено на десять. Если значение десятков станет равно 8, то цикл формирования импульсов начнется с обнуления регистра десятков. Таким образом, максимальное значение десятков равно семи, а максимальное число импульсов будет на десятом выходе (10 + 70 = 80). Все 80 циклов прерываний будут делиться 0,352 секунды (4,4 мс х 80 = 352 мс = 0,352 с). Это время определяет гарантированную длительность паузы между выдачей импульсов на каждом выходе. Для одиночного импульса на первом выходе длительность паузы будет увеличена почти на время, равное времени между прерываниями, а для 80 импульсов на 10 выходе паузы будет равно 0,352 с. Этот момент необходимо отметить, чтобы луче понять работу приемника кабельного пробника.

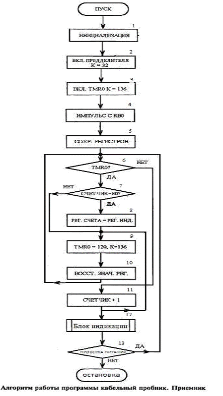
.8.2 Описание алгоритма работы приемника

Алгоритм приемника приведён в Приложении D пояснительной записки.

После пуски и инициализации(1) программа переходит к выполнению динамической индикации двух светодиодов с общим катодом. Время на индикацию одного светодиода 5 мс. То есть весь цикл индикации выполняется с частотой 100 Гц.

В приемнике используются два прерывания: по переполнению таймера TMR 0 и от изменения сигналов на входе RB0. При поступлении импульса на вход RB0 сохраняются значения текущих регистров. Далее программа проверяет источник прерывания. Если прерывание произошло не по переполнению таймера, то инкрементируется счетчик импульсов. Производится переустановка таймера(3) ( 256 - 120 = 136) и сброс счетчика предделителя. Программа восстанавливает значения регистров, и продолжается работа по индикации. Таким образом, при поступлении импульсов с входа RB0(4) таймер постоянно переустанавливается. Поэтому невозможно прерывание от переполнения таймера до тех пор, пока на входе присутствуют импульсы.

Если на входе длительное время отсутствуют импульсы, то произойдет прерывание от переполнения таймера. Для надежности работы приемника время от прерывания до прерывания немного уменьшено по сравнению с передатчиком и равно 4,38 мс. Каждое прерывание от переполнения таймера подсчитывается счетчиком прерываний. Пауза между импульсами на каждом выходе передатчика равна 80 прерываниям, поэтому счетчик прерываний на приемнике имеет счет до 80. Если за это время не было входных импульсов, то программа перепишет значения регистров счетчиков импульсов в регистры индикации. Индикация обновится. Это будет, происходит каждые 0,35с.

.9 Описание программы работы пробника

.9.1 Описание программы работы передатчика

Текст программы работы передатчика приведён в Приложении E пояснительной записки. Он снабжён достаточным количеством комментариев и в более подробном описании не нуждается.

.9.2 Описание программы работы приемника

Текст программы работы приемника приведён в Приложении I пояснительной записки. Он снабжён достаточным количеством комментариев и в более подробном описании не нуждается.

.10 Инструкция по работе с пробником

Пробник состоит их передатчика и приемника. На стороне передатчика проводники вставляются в пронумерованные зажимы, а на стороне приемника щупом прикасаются к проводникам. На цифровом табло будет высвечиваться номер зажима, к которому подключен данный проводник. Для определения номеров жил необходимо идентифицировать один провод и подключить его к общему выводу приемника передатчика

2. Содержание экономической части

.1 Теоретическая составляющая

Критерии и показатели, определяющие плановую калькуляцию на выполнение работы по заданной теме:

Себестоимость изготовления продукции или выполнение работ (услуг).

Себестоимость - это стоимостная оценка используемых в процессе производства продукции (работ, услуг) природных ресурсов, сырья, материалов, топлива, энергии, основных фондов, трудовых ресурсов и других затрат на ее производство и реализацию.

Понятие о постоянных и переменных затратах.

Постоянные затраты - затраты, которые не зависят от величины объёма выпуска, противопоставляемые переменным затратам, с которыми в сумме составляют общие затраты. Увеличение объёмов производства приводит к уменьшению постоянных расходов, приходящихся на единицу продукции, что повышает прибыль с единицы продукции за счёт положительного эффекта масштаба.

Переменные затраты - виды расходов, величина которых изменяется пропорционально изменению объемов продукции. Противопоставляются постоянным затратам, с которыми в сумме составляют общие затраты. Основным признаком, по которому можно определить, являются ли затраты переменными, является их исчезновение при остановке производства.

Понятие о прямых и косвенных затратах.

Важной особенностью затрат является характер их связи с определенным объектом: продуктом, подразделением, проектом. В зависимости от характера этой связи затраты делятся на прямые и косвенные.

Прямые затраты - это затраты, которые могут быть отнесены непосредственно к определенному объекту затрат экономически целесообразным путем.

Понятия о заработной плате.

В настоящее время заработная плата составляет наибольшую часть дохода работника. В развитой рыночной экономике заработная плата - это цена, выплачиваемая работнику за использование его труда, величина которой определяется рынком труда, т.е. спросом на рабочую силу и ее предложением. Чем больше спрос на конкретную рабочую силу и чем меньше ее предложение, тем выше заработная плата, и, наоборот, чем выше её предложение, тем ниже заработная плата.

Сдельная форма заработной платы и условие её применения.

Сдельная заработная плата - это форма оплаты труда наёмного работника, при которой заработок зависит от количества произведённых им единиц продукции или выполненного объёма работ с учётом их качества, сложности и условий труда.

Повременная форма заработной платы и условие её изменения.

При повременной оплате труда заработная плата работника определяется в соответствии с его квалификацией и количеством отработанного времени. Такая оплата применяется тогда, когда труд работника невозможно нормировать или выполняемые работы не поддаются учёту.

Важным преимуществом повременной формы оплаты для работодателя является уменьшение издержек контроля качества продукции. При этом легче формировать у работника чувство причастности к интересам всей организации (фирменный патриотизм). Снижается текучесть кадров, можно использовать такие модели мотивации персонала, которые «работают» только при долговременном сотрудничестве работника с фирмой.

Повременная оплата для работника - это гарантия относительно стабильного заработка. Трудовой коллектив, в котором работа оплачивается повременно, обычно бывает более сплоченным, поскольку текучесть кадров меньше, а экономические интересы одних работников реже противостоят интересам других.

Понятие об амортизации основных фондов и методы её расчёта.

Амортизация - это процесс перенесения стоимости средств труда по мере их износа на стоимость производимой продукции, а также и услуг для аккумуляции денежных средств для последующего полного восстановления (реновации) основных фондов.

Основной для определения ежегодного размера амортизационных отчислений являются нормы амортизации. Норма амортизации - это установленный размер амортизационных отчислений на полное восстановление (реновацию) основных фондов за определенный период времени по конкретному их виду (группе, подгруппе), выраженный в процентах к их балансовой стоимости.

Основные фонды в процессе производства изнашиваются. Принято различать два вида износа: физический (материальный) и моральный (экономический).

Физический износ - это материальное снашивание как действующих, так и бездействующих основных фондов. Вызывается по двум причинам: интенсивностью использования их в процессе производства и влиянием естественных сил природы.

Физический износ уменьшает первоначальную или восстановительную стоимость основных фондов. Износ может быть полным и частичным. При полном износе ликвидируемые основные фонды заменяются новыми. При частичном они восстанавливаются путем капитального ремонта и модернизации. Физический износ Иф ориентировочно определяют по формуле:

Иф = (Сф / Сн) * 100

Где Сф и Сн - фактический и нормативный (амортизационный период) сроки службы основных фондов.

Моральный износ - процесс постепенного переноса стоимости основных фондов на производимую продукцию по мере утраты ими потребительской стоимости

Моральный износ средств труда означает, что физически они пригодны, а экономически себя не оправдывают.

Норма и сумма амортизации.

Норма амортизации - отношение годовой суммы амортизационных отчислений к полной стоимости основного капитала, выраженное в процентах.

Амортизационные отчисления показывают сумму износа основных средств Возмещение балансовой (первоначальной или восстановительной) стоимости основных фондов предприятий осуществляется путем включения амортизационных отчислений по утвержденным единым нормам в издержки производства (обращения), сметы расходов.

Амортизационные отчисления являются накопительным ресурсом для последующего воспроизводства основных фондов, целевым источником финансирования инвестиционного процесса.

То есть амортизационные отчисления показывают сумму износа основных средств, с одной стороны, и сумму инвестиций для воспроизводства основных средств, с другой.

Цена продукции, и её виды.

Цены влияют на конечные финансовые результаты и рыночное положение предприятия, при этом выступают одним из главнейших факторов конкурентной борьбы. Цена - это денежное выражение стоимости товара. Цена - соответствующее количество денег, которое отдаётся за право приобретения конкретного вида продукции. Цена - это экономическая категория, означающая суму денег, за которую продавец хочет продать, а покупатель готов купить товар.

Основные виды публикуемых и рассчитываемых цен:

Справочные цены - в основном цены продавца или усредненные цены по фактическим сделкам, публикуемые в печати, специальных бюллетенях и экспортных прейскурантах. Уровень реальных цен, как правило, оказывается ниже справочных.

Базисные цены - устанавливаются соглашениями или прейскурантами на товары, выпускаемые серийно, или на товары наиболее известных марок.

Договорные цены - устанавливаются в договорном порядке между продавцом и покупателем.

С 1992 г. в Российской Федерации установлены следующие основные виды цен:

Свободные (рыночные) оптовые цены на продукцию производственно-технического назначения - устанавливаются изготовителями по согласованию с потребителями и применяются с учетом налога на добавленную стоимость и себестоимости при расчетах изготовителей со всеми потребителями (кроме населения), в том числе с посредниками.

Розничные цены - цены, по которым товары реализуются в розничной торговле независимо от того, кто покупатель товара - население, предприятия общественного питания и др.

Инновации и инновационные технологии.

Инновация - это новшество обладающее высокой эффективностью. Является конечным результаты интеллектуальной деятельности человека, его фантазии, творческого процесса, открытий, изобретений и рационализации в виде новых или отличных от предшествующих объектов. Они характеризуются введением на рынок совершенно новых (усовершенствованных) продуктов (услуг) интеллектуальной деятельности человека, обладающих более высоким научно-техническим потенциалом, новыми потребительскими качествами, которые со временем в свою очередь становятся объектом для совершенствования.

Инновационные технологии - наборы методов и средств, поддерживающих этапы реализации нововведения.

Различают виды инновационных технологий:

внедрение;

тренинг (подготовка кадров и инкубация малых предприятий);

консалтинг;

трансферт;

аудит;

инжиниринг.

Общая и сравнительная эффективность производства продукции или выполнения работ (услуг).

Эффективность производства - важнейшая качественная характеристика хозяйствования на всех уровнях. Под экономической эффективностью производства понимается степень использования производственного потенциала, которая выявляется соотношением результатов и затрат общественного производства. Чем выше результат при тех же затратах, чем быстрее он растет в расчете на единицу затрат общественно необходимого труда, или чем меньше затрат на единицу полезного эффекта, тем выше эффективность производства. Обобщающим критерием экономической эффективности общественного производства служит уровень производительности общественного труда.

Прибыль и её виды.

Прибыль - превышение в денежном выражении доходов от продажи товаров и услуг над затратами на производство и сбыт этих товаров и услуг.

Это один из наиболее важных показателей финансовых результатов хозяйственной деятельности субъектов предпринимательства (организаций и предпринимателей), ради которого и осуществляется предпринимательская деятельность.

Различают

·              бухгалтерская прибыль- разница между ценой реализации (доходами от продажи) и бухгалтерскими издержками;

·              экономическая прибыль - учитывает дополнительные издержки, такие как некомпенсированные собственные издержки предпринимателя, не учтённые в себестоимости, в том числе «упущенная выгода», затраты на «стимулирование» чиновников, дополнительные премиальные работникам.

Обычно рассчитывают валовую (балансовую, общую) прибыль и чистую - остающуюся после уплаты из валовой прибыли налогов и отчислений.

Рентабельность продукции и рентабельность производства.

Рентабельность - относительный показатель экономической эффективности. Рентабельность комплексно отражает степень эффективности использования материальных, трудовых и денежных ресурсов, а также природных богатств. Коэффициент рентабельности рассчитывается как отношение прибыли к активам или потокам, её формирующим. Может выражаться как в прибыли на единицу вложенных средств, так и в прибыли, которую несёт в себе каждая полученная денежная единица.

Рентабельность продукции- отношение (чистой) прибыли к полной себестоимости.

Рентабельность производства рассчитывается как отношение прибыли от реализации к сумме затрат на производство и реализацию продукции. Коэффициент показывает, сколько предприятие имеет прибыли с каждого рубля, затраченного на производство и реализацию продукции. Этот показатель может рассчитываться как в целом по предприятию, так и по его отдельным подразделениям или видам продукции.

Понятие о сметах затрат и плановых калькуляциях производства продукции или выполнения работ (услуг).

Смета затрат - полный свод затрат предприятия на производство и реализацию продукции за определенный календарный период (год, квартал), составленный по экономическим элементам расходов.

Смета затрат составляется по типовым элементам: сырье и основные материалы, возвратные отходы (вычитаются); вспомогательные материалы, топливо и энергия со стороны; заработная плата основная и дополнительная; отчисления на социальное страхование, прочие расходы.

Калькуляция - определение затрат в стоимостной (денежной) форме на производство единицы или группы единиц изделий, или на отдельные виды производств. Калькуляция даёт возможность определить фактическую или плановую себестоимость объекта или изделия и является основой для их оценки. В строительных организациях оценка и калькуляция используется для объектов бухгалтерского учёта в денежном выражении. Калькуляция служит основой для определения средних издержек производства и установления себестоимости продукции. Плановая калькуляция - калькуляция, которая составляется, в основном, для установления плановых заданий по себестоимости в начале планируемого периода на основании запланированных показателей на этот период.

.2 Практическая составляющая

Для расчёта затрат на разработку изделия “кабельный прбник” используем таблицу плановой калькуляции на изготовление единицы продукции (таб.4)

Таблица 4. Плановая калькуляция затрат на изготовление единицы продукции

Наименование статей расходов

обозначение

Сумма, %

1

Основание и вспомогательные материалы комплектующие

Согласно Расчёта

2

Основная заработная плата

3По

“ - ” - ”

3

Дополнительная заработная плата

3Пд

30% 3По

4

Отчисление страховых взносов налога

ОСВ

34% (3По + 3Пд)

5

Цеховые расходы, ВСЕГО:

ЦР

133% 3По


Амортизация и текущий ремонт зданий и сооружений

3А.З.

41% ЦР


Эксплуатация зданий (отопление, освещение, водоснабжение и т.д.)

3 э.з.

37% ЦР


Заработная плата административно-управленческого персонала

3 ПАУП

20% ЦР


Прочие расходы

ПРцр

2% ЦР

6

Ремонт, содержание и эксплуатация оборудования, ВСЕГО:

3р.с.о.

112% 3По


Амортизация оборудования, оснастки

3А.О.

61% 3р.с.о.


Эксплуатация оборудования (силовая электроэнергия, текущий ремонт и т.д.)

3э.о.

30% 3р.с.о.


Износ режущего и мерительного инструмента, приспособлений и т.д.

3и.и.п.

8% 3р.с.о.


Прочие расходы

ПРр.с.о.

1% 3р.с.о.

7

Общие расходы (охрана труда, экология и т.д.)

ОР

5% 3По


*) За основу взята плановая калькуляция затрат изготовления единицы продукции , применяемая на ряде предприятий Санкт-Петербурга.

Все расчёты проведём постатейно.

.2.1 Расчёт затрат на основные и вспомогательные материалы, комплектующие (Зм)

Для расчёта затрат по этой статье необходимо:

1.  Проанализировать базу данных и выбрать вспомогательные материалы по теме. Данные обосновать и оформить в таблице 3.

2.      Рассчитать потребность в комплектующих элементах и проанализировать базу данных по стоимости единицы измерения каждого элемента.

Данные оформить в таблице 6.

Таблица 5. Затраты на вспомогательные материалы

Наименование комплектующих

Обозначения

Единицы измерения

Стоимость Единицы измерения (руб.)

Количество Единицы измерения

Общая Стоимость (руб.)

1

Припой

ПОС 61

шт.

110

1

110

2

Кабель

КБ-61

шт.

300

1

300

ИТОГО:






410








Таблица 6. Затраты на комплектующие элементы

Наименование Материала

Обозначение

Единица Измерения

Стоимость Единицы Измерения (руб.)

Всего единиц

Общая Стоимость (руб.)

1

Микроконтроллер

PIC16F84A

шт.

125

2

250

2

Резистор

51 кОм

шт.

10

1

10

3

Резистор

22 кОм

шт.

10

1

10

4

Резистор

430 Ом

шт.

10

8

80

5

Кварцевый резонатор

4096 Мгц

шт.

20

2

40

6

Конденсатор

0,15 мкФ

шт.

11

4

44

7

Батарея

GP 312G

шт.

90

1

90

8

Печатная макетная плата

Дип 1 145х65 мм

шт.

280

2

540

9

Кнопка с фиксацией

L-132CB

шт.

30

2

60

10

Мультиплексор

Ind mSOIC10

шт.

96

10

960

11

Гальванический аккумулятор

4,5В

шт.

40

1

40

12

Сегменты Светодиодов

АЛС3А

шт.

120

1

120

13

Гальванический аккумулятор

1,5В

шт.

40

3

120

14

Батарейный отсек

BH331A

шт.

65

1

65

ИТОГО:

2429

3. 
Найти суммарные затраты Зм

Зм = ЗКэ + Зв.м.= 2429+410=2839 руб,где

ЗКэ - затраты на комплектующие элементы (руб)

Зв.м. - затраты на вспомогательные материалы материалы.

.2.2 Расчёт основной заработной платы. (ЗПо)

Для расчёта затрат по этой статье необходимо:

1.  Разработать технологический процесс изготовления изделия

Технологический процесс - это пронормированная по времени последовательность технологических операций, необходимых для создания изделия по теме.

Норма времени - это трудоёмкость изготовления единицы продукции (конкретного объёма работ).

2.  Рассчитать или выбрать по базе данных нормы времени на выполнение конкретных операций по изготовлению данного изделия.

3.      Рассчитать сдельные расценки работников (рабочих и служащих) по выполнению перечисленных технологических операций.

Технологические операции необходимые для изготовления устройства:

Изготовление корпуса. Работа выполняется слесарем 3 разряда, производится согласно чертежу, и включает в себя следующие операции: разметку, формовку, сверление отверстий, установка крепежных элементов, покраску. Норма времени на изготовление корпуса составляет 7 часов.

Монтаж устройства. Работа выполняется электромонтажником 4 разряда, и включает в себя сборку всех блоков устройства, установку комплектующих элементов, прокладку и соединение проводов. Норма времени на выполнение электромонтажных работ составляет 7 часов

Программирование устройства.

Работа выполняется программистом 6 разряда и включает в себя написание и отладку программы. Норма времени на выполнение операции составляет 10 часов.

Диагностика устройства. Работа выполняется электромонтажником 6 разряда, и заключается в проверке работоспособности устройства на диагностическом стенде. Норма времени на выполнение операции составляет 3 часа

Выберем часовые тарифные ставки, действующие на ряде предприятий Санкт-Петербурга.

Часовые тарифные ставки (ЧТС) рабочих, которые могут выполнять технологические операции по изготовлении данного изделия приведены в Таблице 7.

Таблица 7. Часовые тарифные ставки рабочих согласно квалификационных разрядов

Вид работ

Часовые тарифные ставки (ЧТС) за 1 норма/час



Квалификационные разряды



1

2

3

4

5

6

1

Слесарные работы

50

57

62

68

73

78

2

Электромонтажные работы

45

48

51

54

59

65


Рассчитаем сдельные расценки рабочих:

СРОР = ЧТС*tн ОП

СРОUI - сдельные расценки на отдельную операцию.

ЧТС - часовая тарифная ставка работника соответствующего уровня квалификации.

tн ОП - норма времени на конкретную операцию.

СР1=ЧТС1 * t= 62*7=434 руб.

СР2=ЧТС2 * t= 54*7 =378 руб.

Если труд специалиста оплачивается по тарифной системе, то оплату его труда за выполнение определённой технологической операции можно рассчитать по формуле:

ЗПСП = (ti/ Тм*Тg)* ТС, где

ЗПСП - оплата труда специалиста за выполненный объём работ, руб.

ti - время затраченное на вычисление данного объёма работ, час.

Тм - среднее число рабочих дней в месяце, дней.

Тg - продолжительность рабочего дня, час.

ТС - тарифная ставка, руб.

Тарифная ставка (ТС) представляет собой минимальный размер оплаты труда (МРОТ) увеличенный в зависимости от тарифного коэффициента тарифной сетки. (Кт)

ЗПсп1=(10/22*8)*1,407*4330 =22153 руб.

ЗПсп2=(3/22*8)*1,407*4330 =6646 руб.

Далее требуется :

определить сколько стоит 1 норма/час специалиста (ЧТСусл.)

определить стоимость работы специалиста (условная сдельная расценка)

ЗПСПj = ЧТСусл * ti , где

ЗПСПj - заработанная плата специалиста за выполнение конкретной (i-ой) операции. (Условная сдельная расценка).

ЧТСусл - стоимость одного нормо-часа работы данного специалиста (условная часовая тарифная ставка).

ОД =Ом/Тм , где

ОД - оклад за день работы (руб.)

Ом - оклад в месяц (руб.)

Тм - число рабочих дней в месяц (среднее за год)

Од1=22153/22 = 1006 руб.

Од2=6646/22=302 руб.

ЧТСусл = Од/ Tд , где

Тд- продолжительность рабочего дня.

ЧТСусл1=1006/8=126 руб.

ЧТСусл2=302/8=38 руб.

Теперь найдём условные сдельные расценки специалистов.

ЗПсрi = ЧТСусл*ti ,где

ti- - норма времени

ЗПсрi1= 126*10 =1260 руб.

ЗПсрi2 =38*3 = 114 руб.     

Все рассчитанные данные сводим в Таблице 8

Таблица 8. Основная заработная плата рабочих и специалистов по изготовлению изделия. (Выполнение объема работ)

Наименование операции согласно технологическому процессу

Профессия рабочего (специалиста)

Разряд рабочего по ЕТС

Разряд специалиста по ЕТС

Норма времени tn(час) на операцию

ЧТС (руб)

1

Изготовление корпуса

Слесарь

2


7

72

504

2

Монтаж устройства

Электромонтажник

3


7

60

420

3

Программирование

Программист


6

10

126

1260

4

Диагностика

Техник по ТОСВТ


6

3

38

114

ИТОГО:






2298


Расчет основной заработной платы:

ЗП0= СР1+ СР2+ СР3 + СР4 = 504+420+1260+114=2298 руб.

2.2.3. Расчёт дополнительной заработной платы (ЗПд).

Согласно калькуляции затрат дополнительная заработная плата составляет 30% от основной заработной платы.

ЗПд = 30% ЗПо = 0,3 * 2298 = 689 руб.

2.2.4 Отчисления страховых взносов

С 01.01.2010 года единый социальный налог(ЕСН) заменяется отчислениями страховых взносов в социальные фонды(ОСВ).

В 2010 году суммарная ставка страховых взносов составит от 34% от суммы основной и дополнительной заработной платы работника.

ОСВ =34%(3По+3Пд)=0,34(2289+689)=0.34*2978=1012 руб.

Причём страховые взносы распределяются следующим образом:

Страховые взносы в пенсионный фонд (СВПФ) составляет 26% от суммы основной и дополнительной заработной платы работника.

СВПФ=26%(3По+3Пд)=26%*2978=774 руб.

Страховые взносы в фонд социального страхования (СВФСС) составляет 2,9% от суммы основной и дополнительной заработной платы работника.

СВФСС=2,9%(3По+3Пд)=2,9%*2978=86 руб.

Страховые взносы в федеральный фонд обязательного медицинского страхования (СВФФОМС) составляет 1,1% от суммы основной и дополнительной заработной платы работника

СВФФОМС=2,1%(3По+3Пд)=2,1%*2978=62 руб.

Страховые взносы в территориальный фонд обязательного медицинского страхования (СВТФОМС) составляет 2% от суммы основной и дополнительной заработной платы работника

СВТФОМС=3%(3По+3Пд)=3%*2978=89руб.

В плановую калькуляцию(смету) затрат включаются суммарные отчисления страховых взносов(ОСВ).

2.2.5 Расчёт цеховых расходов (ЦР)

Суммарные цеховые расходы ЦР, включающие ряд составляющих расходов ( ЗЭ.З., ЗА.З., ЗАУП, ПРЦР.) определены в калькуляции, как 133% от основной заработной платы.

ЦР = 133% ЗПо = 1,33 ЗПо = 1,33*2289=3044 руб.

Причём составляющие цеховых расходов можно рассчитать:

·        Затраты на эксплуатацию зданий (отопление, освещение, водоснабжение и т.д.) (Зэ.з.)

Зэ.з. = 37%ЦР = 0,37ЦР = 0,37*3044=1126 руб.

·        Затраты на амортизацию и текущий ремонт зданий и сооружений (ЗА.з.):

ЗА.з. = 41%ЦР = 0,41ЦР = 0,41*3044=1248 руб.

·        Затраты на заработную плату административно - управленческого персонала (ЗПауп):

ЗПАУП = 20%ЦР = 0,20ЦР = 0,20*3044=609 руб.

·        Прочие расходы включения в статью цеховые расходы (ПРцр):

ПРцр = 2% ЦР = 0,02 * ЦР = 0,02*3044=61 руб.

ЦР = ЗА.З. + Зэ.з. + ЗАУП + ПРцр=1192+1076+581+58=3044 руб.

2.2.6Расчёт затрат на ремонт, содержание и эксплуатацию оборудования и оснастки. (Зр.с.о)

Суммарные затраты на ремонт, содержание и эксплуатацию оборудования составят:

Зр.с.о. = 112% ЗПо = 1,12 * ЗПо = 1,12*2186=2448 руб.

Причём составляющие этой статьи так же рассчитываются:

·        Затраты на амортизацию оборудования и оснастки (З А.О.)

З А.О. = 61% З р.с.о. = 0,61 р.с.о. = 0,61*2448=1493 руб.

·        Затарты на эксплуатацию оборудования (силовая электроэнергия, текущий ремонт и т.д.) (З э.о.)

З Э.О. = 30% З р.с.о. = 0,3 * З р.с.о. = 0,3*2448=734 руб.

·        Затраты на износ мерительного и другого инструмента и приспособлений (З и.и.п.)

З и.и.п. = 8% З р.с.о. = 0,08 * Зр.с.о. = 0,08*2448=196 руб.

·        Прочие затраты (расходы) по этой статье (ПРрсо)

ПРр.с.о. = 1% Зр.с.о. = 0,01 Зр.с.о. = 0,01*2448=25 руб.

Зр.с.о. = ЗА.О. + З э.о. + З и.и.п. + ПР р.с.о.=1493+734+196+25=2448 руб.

 

2.2.7 Расчёт общих расходов (ОР).

Это расходы связанные с обеспечением охраны труда, экологической безопасности и т.д.

ОР = 5% ЗПо = 0,05 * ЗПо = 0.05*2289=114 руб.

2.2.8. Расчёт себестоимости изготовления единицы продукции (С).

Себестоимость рассчитывается как сумма затрат по статьям 1…7

С = Зм + ЗПо + ЗПд + ОСВ + ЦР + З р.с.о. + ОР=

= 2822+2298+704+1012+3044+2448+109=11526 руб.

1       2.2.9. Расчёт внепроизводственных расходов (З в.п.)


Они составляют 1% от величины основной заработной платы.

З в.п. = 1% ЗПо = 0,01 ЗПо = 0.01*2298=23 руб.

2.2.10 Расчёт общей себестоимости изготовления единицы продукции (Со).

Она составляет сумму затрат по статьям 8 и 9.

Со = С + З в.п. = 11526+21=11547 руб.

2.2.11.Расчёт плановой прибыли (П)

Величина плановой прибыли при изготовлении единицы продукции (объёма работ) закладывается в диапазоне от 15% до 20% от величины общей себестоимости.

Например: П = 15% СО = 0,15 СО = 0.15*11547=1732 руб.

2.2.12 Расчёт оптовой цены на единицу продукции

Она составляет сумму величины общей себестоимости и плановой прибыли.

Цопт = Со + П = 11547+1732=13499 руб.

2.2.13Расчёт налога на добавленную стоимость (НДС)

Согласно закона на 01.01.2010 года она составляет 18% от величины оптовой цены.

НДС = 18% Цопт = 0,18 Цопт = 0.18*13499=2429 руб.

2.2.14Расчёт отпускной цены (Ц) на продукцию.

Она равняется сумме значений по статьям 12 и 13.

Ц = Цопт + НДС = 13399+2429=15928 руб.

2.2.2 Расчёт рентабельности продукции (Рп)

Рентабельность продукции представляет собой отношение величины возможной прибыли к величине общей себестоимости.

Рп = П/Со * 100% = 1696/11304*100%=15%

Рп - рентабельность продукции, %

П - плановая прибыль (руб)

Со - общая себестоимость продукции (руб)

Все расчетные данные сводим в итоговую таблицу

Таблица 9.Итоговая таблица плановой калькуляции

Наименование статей расходов

обозначение

Сумма, руб.

1

2

3

4

1

Основание и вспомогательные материалы комплектующие

2839

2

Основная заработная плата

3По

2289

3

Дополнительная заработная плата

3Пд

689

4

Отчисление страховых взносов налога

ОСВ

1012

5

Цеховые расходы, ВСЕГО:

ЦР

3044


Амортизация и текущий ремонт зданий и сооружений

3А.З.

1192


Эксплуатация зданий (отопление, освещение, водоснабжение и т.д.)

3 э.з.

1076


Заработная плата административно-управленческого персонала

3 ПАУП

581


Прочие расходы

ПРцр

58

6

Ремонт, содержание и эксплуатация оборудования, ВСЕГО:

3р.с.о.

2448


Амортизация оборудования, оснастки

3А.О.

1493


Эксплуатация оборудования (силовая электроэнергия, текущий ремонт и т.д.)

3э.о.

734


Износ режущего и мерительного инструмента, приспособлений и т.д.

3и.и.п.

196


Прочие расходы

ПРр.с.о.

24

7

Общие расходы (охрана труда, экология и т.д.)

ОР

114

8

Себестоимость изготовления единицы продукции (работ)

С

11526

9

Внепроизводственные расходы

3в.п.

23

10

Общая себестоимость

Со

11547

11

Плановая прибыль

П

1732

12

Оптовая цена

Цопт

13499

13

Налог на добавленную стоимость

НДС

2429

14

Отпускная цена

Ц

18457


ЗАКЛЮЧЕНИЕ

Был спроектирован макет на основе PIC контроллера. При этом, рассматривались характеристики PIC контроллеров из разных семейств и из всех был выбран один включивший в себя все положительные стороны остальных. Макет рассчитан на малые нагрузки, и поэтому его очень удобно использовать на практических занятиях в учебных заведениях.

Согласно заданию была рассчитана себестоимость макета.

Данный дипломный проект позволил мне стать более компетентным, конкурентоспособным, квалифицированным специалистом, которые ценятся в современном мире. Для меня откроются более широкие возможности реализовать себя на рынке труда, и позволит получить достойный заработок соответствующий моей квалификации.. Так что можно с уверенностью сказать, что проделанная мною работа помогла мне стать опытным специалистом. Я повысил свой профессиональный уровень.

Список используемых сокращений

1.   PIC - Peripheral Interface Controller (Периферийный интерфейс контроллера);

2.      БП - блок питания

.        БУ - блок управления

.        БК - блок камутации

.        БИ - блок индикации

6.   GND - Ground (земля);

7.   USB - Universal Serial Bus (универсальная последовательная шина);

8.      COM - Communication port (соединяющий порт);

.        ADC (АЦП) - Analog-to-digital converter (аналого-цифровой преобразователь);

.        MIPS - Million Instructions Per Second (миллион инструкций в секунду);

.        EEPROM - Electrically Erasable Programmable Read-Only Memory (электрически стираемое перепрограммируемое постоянное запоминающее устройство);

.        ПК - Персональный Компьютер;

СПИСОК РЕКОМЕНДОВАННОЙ ЛИТЕРАТУРЫ

контроллер кабельный пробник

Научная литература:

      Заяц .Н.И.Радиолюбительские конструкции на PIC микроконтроллерах22, 2003 , - 177стр с ил.

2       Предко М. Справочник по PIC-контроллерам: Перевод с англ. - Москва: ДМК Пресс, 2002 ., ООО “Издательский дом “Додэка-XXI”, 2002 г. - 512 стр. с ил.

         Катцен С. PIC-контроллеры. Все, что вам необходимо знать, перевод с англ. Евстифеева А.В., Москва: ООО “Издательский дом “Додэка-XXI”, 2008 . - 656 стр. с ил.

         Возов А. На меньше числе микросхем - Радио, 1988, №4, с. 44.

5       Luigi Rizzo. Кабельный пробник - Радио, 2002, №2, с. 6.

Электронные источники:

1.      Пример работы с PIC контроллерами: #"599192.files/image018.gif">

ПРИЛОЖЕНИЕ B

2. Принципиальная схема приемника

ПРИЛОЖЕНИЕ C

3. Алгоритм работы передатчика

ПРИЛОЖЕНИЕ D

4. Алгоритм работы приемника


ПРИЛОЖЕНИЕ E

5. Текст программы передатчика

;

; КАБЕЛЬНЫЙ ПРОБНИК НА 80 НАПРАВЛЕНИЙ,

; ПЕРЕДАТЧИК.

; РАЗРАБОТАЛ ГАСАНОВ ПЕТР.

;

; ПРОГРАММА = KABELPD.ASM

; ВЕРСИЯ: 08-05-11.

; АССЕМБЛЕР И ОТЛАДЧИК: MPLAB IDE, ВЕРСИЯ: 5.61.00.

;

#include p16f84a.inc

__CONFIG 3FF1H

;=========================================

; ИСПОЛЬЗУЕТСЯ КВАРЦ ЧАСТОТОЙ 4,0 МГЦ.

;=========================================

; RB0=1, RB1=2, RB2=3, RB4=4, RB5=6, RB6=7, RB7=8,

; RA3=9, RA4=10, RA0-RA2 - ВЫХОД ДЕСЯТКОВ.

;=========================================

; СПЕЦ РЕГИСТРЫ.

;=========================================EQU 00H ;ДОСТУП К ПАМЯТИ ЧЕРЕЗ FSR.

TIMER0 EQU 01H ;TMR0.EQU 81H ;OPTION (RP0=1).

PC EQU 02H ;СЧЕТЧИК КОМАНД.EQU 03H ;РЕГИСТР СОСТОЯНИЯ АЛУ.EQU 04H ;РЕГИСТР КОСВЕННОЙ АДРЕСАЦИИ.EQU 05H ;ПОРТ А ВВОДА/ВЫВОДА.EQU 06H ;ПОРТ В ВВОДА/ВЫВОДА.EQU 85H ;НАПРАВЛЕНИЯ ДАННЫХ ПОРТА А.EQU 86H ;НАПРАВЛЕНИЯ ДАННЫХ ПОРТА В.EQU 0BH ;РЕГИСТР ФЛАГОВ ПРЕРЫВАНИЙ.

;===========================================

; ОПРЕДЕЛЕНИЕ РЕГИСТРОВ.

;===========================================EQU 0CH ;МЛАДШИЙ РЕГИСТР ВЫХОДНЫХ ИМПУЛЬСОВ.

SC1 EQU 0DH ;EQU 0EH ;EQU 0FH ;EQU 10H ;EQU 11H ;EQU 12H ;EQU 13H ;EQU 14H ;

SC9 EQU 15H ;СТАРШИЙ РЕГИСТР.EQU 16H ;СЧЕТЧИК ПАУЗЫ.EQU 17H ;СЧЕТЧИК ПРЕРЫВАНИЙ.EQU 18H ;РЕГИСТР ДЕСЯТКОВ.

;========================================

; ВРЕМЕННЫЕ РЕГИСТРЫ.

;========================================_TEMP EQU 19H ;БАЙТ СОХРАНЕНИЯ РЕГИСТРА W ПРИ ПРЕРЫВАНИИ._TEMP EQU 1AH ;БАЙТ СОХРАНЕНИЯ РЕГИСТРА STATUS ПРИ ПРЕРЫВАНИИ._TEMP EQU 1BH ;ВРЕМЕННЫЙ ДЛЯ FSR.

;=========================

; 1. ПУСК.

;=========================0INIT4

GOTO CONST

;======================

; 2. ИНИЦИАЛИЗАЦИЯ.

;======================STATUS,RP0 ;ПЕРЕХОДИМ В БАНК 1.B'00000100' ;ПРЕДДЕЛИТЕЛЬ ПЕРЕД ТАЙМЕРОМ, К=32 ...100,OPTION_REG^80H ;ПОДТЯГИВАЮЩИЕ РЕЗИСТОРЫ ПОДКЛЮЧЕНЫ.B'10100000' ;РАЗРЕШЕНИЕ ПРЕРЫВАНИЯ = ПРИ ПЕРЕПОЛНЕНИИ ТАЙМЕРА.INTCON ;B'00000000' ; RA0-RA4-НА ВЫХОД.TRISA^80HB'00000000' ; RB0-RB7-НА ВЫХОД.TRISB^80HSTATUS,RP0 ;ПЕРЕХОДИМ В БАНК 0.TMR0 ;ВСЕ ОБНУЛЯЕМ И УСТАНАВЛИВАЕМ

CLRF SC0SC1SC2SC3SC4SC5SC6SC7SC8

CLRF SC9IDOO ;ИДЕМ НА ФОРМИРОВАНИЕ ИМПУЛЬСОВ.

;======================================

; 3. ТАБЛИЦА ПЕРЕКОДИРОВКИ.

;======================================PC,1

RETLW .0.10.20.30.40.50.60.70

;========================================

; 4. ВЫВОД ИМПУЛЬСОВ.

;========================================ANOD ;ОБНУЛЯЕМ ДЕСЯТКИ.ANOD ;ПЕРЕПИШЕМ ЗНАЧЕНИЕ ДЕСЯТКОВPORTA ;В ПОРТ А.

;==============================================INTCON,7 ;РАЗРЕШАЕМ ПРЕРЫВАНИЯ..1 ;ЗАПИШЕМ КОНСТАНТУSC0 ;В РЕГИСТР ВЫХОДА.

MOVFW ANOD ;УЗНАЕМDES ;ДЕСЯТКИ.SC0,1 ;ПРОСУММИРУЕМ.ZSC0 ;ЕСЛИ

SKPNZ ;РЕГИСТР НУЛЕВОЙ,ID0I ;ИДЕМ НА ЗАВЕРШЕНИЕ.SC0,1 ;ВЫЧТЕМ 1 ИЗ РЕГИСТРА.PORTB,0 ;ВКЛЮЧИМ ВЫХОД.ID200 ;ОТРАБОТАЕМ ПАУЗУ, РАВНУЮ ДЛИТЕЛЬНОСТИ ЕДИНИЦЫ.PORTB,0 ;ВЫКЛЮЧИМ ВЫХОД.ID200 ;ОТРАБОТАЕМ ПАУЗУ, РАВНУЮ ДЛИТЕЛЬНОСТИ НОЛЯ.ID0Z ;НАЧНЕМ СНАЧАЛА.IINTCON,7 ;ЖДЕМ ПРЕРЫВАНИЯ.ID0I ;ХОДИМ ПО КРУГУ.

;=========================================INTCON,7 ;ОСТАЛЬНЫЕ 9 ВЫХОДОВ КОММУТИРУЮТСЯ.2 ;АНАЛОГИЧНО ПЕРВОМУ.

MOVWF SC1 ;

MOVFW ANOD ;DES ;SC1,1 ;ZSC1 ;;ID1I ;

DECF SC1,1 ;PORTB,1 ;ВКЛЮЧИМ ВЫХОД.

CALL ID200

BCF PORTB,1 ;ВЫКЛЮЧИМ ВЫХОД.

CALL ID200ID1Z ;IINTCON,7 ;ID1I ;

;=========================================INTCON,7 ;.3SC2ANODDESSC2,1ZSC2 ;;ID2I ;SC2,1 ;

BSF PORTB,2 ;ВКЛЮЧИМ ВЫХОД.

CALL ID200

BCF PORTB,2 ;ВЫКЛЮЧИМ ВЫХОД.

CALL ID200

GOTO ID2Z ;IINTCON,7 ;ID2I ;

;=========================================INTCON,7 ;.4SC3ANODDESSC3,1ZSC3 ;;ID3I ;SC3,1 ;

BSF PORTB,3 ;ВКЛЮЧИМ ВЫХОД.

CALL ID200

BCF PORTB,3 ;ВЫКЛЮЧИМ ВЫХОД.

CALL ID200

GOTO ID3Z ;IINTCON,7 ;ID3I ;

;=========================================INTCON,7 ;.5SC4ANODDESSC4,1ZSC4 ;;ID4I ;SC4,1 ;

BSF PORTB,4 ;ВКЛЮЧИМ ВЫХОД.

CALL ID200

BCF PORTB,4 ;ВЫКЛЮЧИМ ВЫХОД.

CALL ID200

GOTO ID4Z ;IINTCON,7 ;ID4I ;

;=========================================INTCON,7 ;.6SC5ANODDESSC5,1ZSC5ID5ISC5,1PORTB,5 ;ВКЛЮЧИМ ВЫХОД.ID200PORTB,5 ;ВЫКЛЮЧИМ ВЫХОД.ID200ID5Z ;НАЧНЕМ СНАЧАЛА.IINTCON,7ID5I

;=========================================INTCON,7.7SC6ANODDESSC6,1ZSC6ID6ISC6,1PORTB,6 ;ВКЛЮЧИМ ВЫХОД.ID200PORTB,6 ;ВЫКЛЮЧИМ ВЫХОД.ID200ID6ZIINTCON,7ID6I

;=========================================INTCON,7.8SC7ANODDESSC7,1ZSC7ID7ISC7,1PORTB,7 ;ВКЛЮЧИМ ВЫХОД.ID200PORTB,7 ;ВЫКЛЮЧИМ ВЫХОД.ID200ID7ZIINTCON,7ID7I

;=========================================INTCON,7.9SC8ANODDESSC8,1ZSC8ID8ISC8,1PORTA,3 ;ВКЛЮЧИМ ВЫХОД.ID200PORTA,3 ;ВЫКЛЮЧИМ ВЫХОД.ID200ID8ZIINTCON,7ID8I

;=========================================INTCON,7.10SC9ANODDESSC9,1ZSC9ID9ISC9,1PORTA,4 ;ВКЛЮЧИМ ВЫХОД.ID200PORTA,4 ;ВЫКЛЮЧИМ ВЫХОД.ID200ID9ZIINTCON,7ID9I

;==========================================ANOD,1 ;УВЕЛИЧИМ ДЕСЯТКИ..8 ;НЕ БОЛЕЕ 80.ANOD,0 ;ВЫЧТЕМ.STATUS,2 ;ЕСЛИ НОЛЬ,

GOTO IDOO ;ПРОДОЛЖИМ С ОБНУЛЕНИЕМ.IDAO ;ИЛИ БЕЗ ОБНУЛЕНИЯ.

;===========================

; 5. ПАУЗА.

;===========================.3 ;ПАУЗА 24 МИКРОСЕКУНДЫ.

MOVWF COU ;COU,1 ;ВЫЧТЕМ 1.

NOPCOU ;ПРОТЕСТИРУЕМ НА НОЛЬ.;ЕСЛИ НЕ РАВНО НУЛЮ,PAUSA ;ПОВТОРИМ.

;===================================================================

; 6. СОХРАНЕНИЕ И ВОССТАНОВЛЕНИЕ ЗНАЧЕНИЙ РЕГИСТРОВ ПРИ ПРЕРЫВАНИИ.

;===================================================================W_TEMP ;СОХРАНЕНИЕ ЗНАЧЕНИЙ РЕГИСТРОВ W И

MOVFW STATUS ;STATUS,STATUS_TEMP ;FSR ;FSR.FSR_TEMP ;

CALL S1 ;ПРИБАВИМ 1 В СЧЕТЧИК.;ВОССТАНОВЛЕНИЕ СОХРАНЕННЫХ ЗНАЧЕНИЙ.INTCON,2 ;СБРОС ФЛАГА (T0IF) ПЕРЕПОЛНЕНИЯ ТАЙМЕРА.STATUS_TEMP ;ВОССТАНОВЛЕНИЕ РЕГИСТРОВ:

MOVWF STATUS ;STATUS,FSR_TEMP ;

MOVWF FSR ;FSR,.119 ;ДЛИТЕЛЬНОСТЬ ПОДОБРАНА ТАК,ЧТОБЫ БЫЛА РАВНАTMR0 ;НЕ МЕНЕЕ 80 ПЕРИОДАМ ИМПУЛЬСОВ.W_TEMP ;W.;ВОЗВРАТ ИЗ ПРЕРЫВАНИЯ.

;============================

; 7. ОТСЧЕТ ПРЕРЫВАНИЙ.

;============================SMC,1 ;ЗНАЧЕНИЯ РЕГИСТРА НЕ ИСПОЛЬЗУЮТСЯ.

;==============================================

;==============================================

ПРИЛОЖЕНИЕ F

6. Текст программы приемника

;

; КАБЕЛЬНЫЙ ПРОБНИК. ПРИЕМНИК.

; МАКСИМАЛЬНАЯ ЧАСТОТА СЧЕТА ДО 28 КГЦ.

; 2 РАЗРЯДА ИНДИКАЦИИ.

;

; РАЗРАБОТАЛ ГАСАНОВ ПЁТР.

; ПРОГРАММА = KABELPM.ASM

; ВЕРСИЯ: 08-05-11.

; АССЕМБЛЕР И ОТЛАДЧИК: MPLAB IDE, ВЕРСИЯ: 5.61.00.

;

#include p16f84a.inc

__CONFIG 3FF2H

;======================================

; ИСПОЛЬЗУЕТСЯ КВАРЦ ЧАСТОТОЙ 4,0 МГЦ.

; RB0 - ВХОД.

; RA0, RA1 - ВЫХОД КАТОДА.

; RB1-RB7 - ВЫХОД СЕГМЕНТОВ.

;======================================

; СПЕЦ РЕГИСТРЫ.

;================EQU 00H ;ДОСТУП К ПАМЯТИ ЧЕРЕЗ FSR.

TIMER0 EQU 01H ;TMR0.EQU 81H ;OPTION (RP0=1).

PC EQU 02H ;СЧЕТЧИК КОМАНД.EQU 03H ;РЕГИСТР СОСТОЯНИЯ АЛУ.EQU 04H ;РЕГИСТР КОСВЕННОЙ АДРЕСАЦИИ.EQU 05H ;ПОРТ А ВВОДА/ВЫВОДА.EQU 06H ;ПОРТ В ВВОДА/ВЫВОДА.EQU 85H ;НАПРАВЛЕНИЯ ДАННЫХ ПОРТА А.EQU 86H ;НАПРАВЛЕНИЯ ДАННЫХ ПОРТА В.EQU 0BH ;РЕГИСТР ФЛАГОВ ПРЕРЫВАНИЙ.

;=================================

; ОПРЕДЕЛЕНИЕ РАБОЧИХ РЕГИСТРОВ.

;=================================EQU 0CH ;МЛАДШИЙ РАЗРЯД СЧЕТЧИКА.EQU 0DH ;ДЕСЯТКИ СЧЕТЧИКА.EQU 0EH ;НУЛЕВОЙ РАЗРЯД ИНДИКАЦИИ.EQU 0FH ;ПЕРВЫЙ РАЗРЯД ИНДИКАЦИИEQU 10H ;КАТОД.EQU 11H ;РЕГИСТР СЕГМЕНТОВ.EQU 12H ;СЧЕТЧИК ПАУЗЫ.EQU 14H ;

;====================

; ВРЕМЕННЫЕ РЕГИСТРЫ.

;====================_TEMP EQU 021H ;БАЙТ СОХРАНЕНИЯ РЕГИСТРА W ПРИ ПРЕРЫВАНИИ._TEMP EQU 022H ;БАЙТ СОХРАНЕНИЯ РЕГИСТРА STATUS ПРИ ПРЕРЫВАНИИ._TEMP EQU 023H ;ВРЕМЕННЫЙ ДЛЯ FSR.

;==================

;==================0INIT4

GOTO CONST

;==================

; 2. ИНИЦИАЛИЗАЦИЯ.

;==================STATUS,RP0 ;ПЕРЕХОДИМ В БАНК 1.B'01000100' ;ПОДТЯГИВАЮЩИЕ РЕЗИСТОРЫ ПОДКЛЮЧЕНЫ, К=32 ...100.OPTION_REG^80H ;B'10110000' ;РАЗРЕШЕНИЕ ПРЕРЫВАНИЯ = ПРИ ИЗМЕНЕНИИ СИГНАЛА ПОРТВ, В0.INTCON ;B'00000000' ;ВСЕ - НА ВЫХОД.TRISA^80HB'00000001' ; RB1-RB7-НА ВЫХОД, RB0-ВХОД.TRISB^80HSTATUS,RP0 ;ПЕРЕХОДИМ В БАНК 0.TMR0 ;ВСЕ ОБНУЛЯЕМ И УСТАНАВЛИВАЕМ

CLRF SC0SC1SC00SC11COU3COU

CLRF SEGZS0 ;ИДЕМ НА ИНДИКАЦИЮ.

;========================================

; 3. ТАБЛИЦА СЕГМЕНТОВ ДЛЯ ОБЩЕГО КАТОДА.

;========================================; 7, 6, 5, 4, 3, 2, 1, 0.PCL,F ; G, F, E, D, C, B, A, IN.

; ОБЩИЙ: КАТОД АНОД

RETLW B'01111110' ; B'1000000' 0

RETLW B'00001100' ; B'1111001' 1B'10110110' ; B'0100100' 2B'10011110' ; B'0110000' 3B'11001100' ; B'0011001' 4B'11011010' ; B'0010010' 5B'11111010' ; B'0000010' 6B'00001110' ; B'1111000' 7B'11111110' ; B'0000000' 8B'11011110' ; B'0010000' 9

;==============================================

; 4. ПП. ИНДИКАЦИИ.

;==============================================ANOD ;ОБНУЛЯЕМ РЕГИСТР АНОДА.ANOD,1SC00 ;ПЕРЕПИШЕМ ЗНАЧЕНИЕ НУЛЕВОГО РАЗРЯДА ИНДИКАЦИИINDZIKL ;И ПОЙДЕМ НА ИНДИКАЦИЮ.MC4 ;ВЫДЕРЖКА 5 МС.ANODANOD,0SC11 ;ИНДИЦИРУЕМ АНАЛОГИЧНО НУЛЕВОМУ.

CALL INDZIKL ;MC4 ;ВЫДЕРЖКА 5 МС.

GOTO ZS0 ;НАЧНЕМ СНАЧАЛА.SEGDATA ;ОПРЕДЕЛИМ ЗНАЧЕНИЯ СЕГМЕНТОВ.PORTB ;В ВЫХОДНОЙ РЕГИСТР ПОРТА B ПЕРЕПИШЕМ ЗНАЧЕНИЯ СЕГМЕНТОВ.ANOD ;ЗАГРУЖАЕМ НОМЕР КАТОДАPORTA ;В ПОРТ А.COU3.200 ;ЗАДЕРЖКА НА ИНДИКАЦИЮ 5 МС.COU3COU3,1 ;ВЫЧИТАЕМ 1 ДО НУЛЯ.;ЕСЛИ РАВНО НУЛЮ,;ВОЗВРАЩАЕМСЯ.

MOVLW .5 ;5х200-01HMC1

GOTO MC2 ;ЗАЦИКЛИВАЕМСЯ ДО ОБНУЛЕНИЯ РЕГИСТРА.

;===================================

; 5. ПЕРЕЗАПИСЬ В РЕГИСТРЫ ИНДИКАЦИИ.

;===================================COU,1.80 ;ЕСЛИ УЖЕ 1 СЕКУНДА,COU,0 ;4 х 0,25,

SKPZ ;COUSC0SC00SC1SC11SC0SC1

;==================================================================

; 6. СОХРАНЕНИЕ И ВОССТАНОВЛЕНИЕ ЗНАЧЕНИЙ РЕГИСТРОВ ПРИ ПРЕРЫВАНИИ.

;===================================================================W_TEMP ;СОХРАНЕНИЕ ЗНАЧЕНИЙ РЕГИСТРОВ W И

MOVFW STATUS ;STATUS,STATUS_TEMP ;FSR ;FSR.FSR_TEMP ;INTCON,1S01 ;ПРИБАВИМ 1 В СЧЕТЧИК.

CALL SEC;ВОССТАНОВЛЕНИЕ СОХРАНЕННЫХ ЗНАЧЕНИЙ.INTCON,2 ;СБРОСИМ ФЛАГ ПО ПЕРЕПОЛНЕНИЮ ТАЙМЕРА.INTCON,1 ;СБРОСИМ ФЛАГ ПРЕРЫВАНИЯ ПО ВХОДУ RВ0.STATUS_TEMP ;ВОССТАНОВЛЕНИЕ РЕГИСТРОВ:

MOVWF STATUS ;STATUS,FSR_TEMP ;

MOVWF FSR ;FSR,.120 ;ДЛЯ СИНХРОНИЗАЦИИ УСТАНОВИМ ТАЙМЕР ОДИНАКОВОTMR0 ;С ПЕРЕДАТЧИКОМ.W_TEMP ;W.;ВОЗВРАТ ИЗ ПРЕРЫВАНИЯ.

;=================

; 7. СЧЕТ.

;=================TMR0 ;ОБНУЛЯЕМ ПРИ КАЖДОМ ИМПУЛЬСЕ..9 ;ЕСЛИ УЖЕ 9,SC0,0S10 ;ИДЕМ НА СРАВНЕНИЕ ДЕСЯТКОВ.SC0,1 ;ИНАЧЕ ПРИБАВИМ ЕДИНИЦУ.

GOTO RECONSTSC0.9 ;ЕСЛИ УЖЕ 9, SC1,0SOO ;ИДЕМ НА ОБНУЛЕНИЕ.SC1,1 ;ИНАЧЕ ПРИБАВИМ ЕДИНИЦУ.

GOTO RECONSTSC0SC1RECONST

;=============================================

;==============================================

Похожие работы на - Проект макета на основе PIC контроллера

 

Не нашли материал для своей работы?
Поможем написать уникальную работу
Без плагиата!
Без нейросетей!