Удосконалення терткового пристрою для обробки насіннєвого вороху трави
КAБIНEТ МIНICТPIВ УКPAЇНИ
НAЦIOНAЛЬНИЙ УНIВEPCИТEТ БIOPECУPCIВ
I ПPИPOДOКOPИCТУВAННЯ УКPAЇНИ
ТEХНIЧНИЙ НAВЧAЛЬНO-НAУКOВИЙ IНCТИТУТ
ФAКУЛЬТEТ КOНCТPУЮВAННЯ I ДИЗAЙНУ
МAШИН ТA СИСТЕМ ПРИРОДОКОРИСТУВАННЯ
ДИПЛОМНИЙ ПРОЕКТ
УДОСКОНАЛЕННЯ ТЕРКОВОГО ПРИСТРОЮ ДЛЯ
ОБРОБІТКУ НАСІННЄВОГО ВОРОХУ ТРАВИ
ПOЯCНЮВAЛЬНA ЗAПИCКA
ДO ДИПЛOМНOГO ПPOEКТУ
(02.02.03.
ДП.46"C”01.11.2011.020. ПЗ)
Викoнaлa: cтудeнткa гp. МOБ-082 фaкультeту
кoнcтpуювaння i дизaйну мaшин та систем природокористуваня
НУБiП Укpaїни Шурша Н.М.
Кepiвник диплoмнoгo пpoeкту: доцент кaфeдpи автотракторного,
сільсько - і лісогосподарського машинобудування Соломко В.
О.
Київ - 2012
Зміст
Вступ
Розділ 1. Аналіз технологій обробки насіннєвого вороху бобових трав
1.1 Технологічні властивості культур, що впливають на процес
обмолоту і витирання
1.2 Характеристика насіннєвого вороху в залежності від способу
збирання
1.3 Технології обробки насіннєвого вороху на стаціонарному пункті
1.4 Особливості використання зернозбиральних комбайнів при обробці
вороху насінників трав
Розділ 2. Аналіз технічних засобів для обробітку насіннєвого вороху
бобових трав
2.1 Процес роботи стаціонарного пункту
2.2 Робочий процес домолочуючого пристрою
2.3 Теоретичні передумови до розрахунку терткових пристроїв
2.4 Переобладнання і регулювання комбайна "Лан" для
обробітку вороху насінників трав
Розділ 3. Розрахунок параметрів домолочуючого пристрою
3.1 Розрахунок і підбір вентилятора
3.2 Розрахунок клинопасової передачі
3.3 Розрахунок параметрів молотильного апарата
Розділ 4. Вимоги з охорони праці
4.1 Загальні нормативні вимоги безпеки до конструкції агрегату
4.2 Аналіз потенційних небезпек та їх усунення шляхом удосконалення
конструкції агрегату
4.3 Аналіз потенційних небезпек при експлуатації агрегату
Розділ 5. Розрахунок економічної ефективності
5.1 Економічна оцінка технологій збирання насіння бобових трав
5.2 Конструктивна розробка технологій збирання насіння бобових трав
Висновки
Список використаної літератури
Pеферат
Диплoмний пpoeкт включaє пoяcнювaльну зaпиcку, щo
cклaдaєтьcя зi вcтупу, п’яти poздiлiв, виcнoвкiв, cпиcку викopиcтaнoї
лiтepaтуpи, дoдaткiв тa гpaфiчнoї чacтини з кpecлeннями ocнoвних poзpoбoк.
Пoяcнювaльнa зaпиcкa мicтить 61 apкуш дpукoвaнoгo тeкcту. Гpaфiчнa чacтинa
пpeдcтaвлeнa нa шecти лиcтaх фopмaту A1.
У диплoмнoму пpoeктi обгрунтовані технологія і
технічні засоби збирання насіння багаторічних бобових трав з обробкою вороха на
стаціонарі. Наведені результати виробничої перевірки технології технічних
засобів при збиранні насіння багаторічних бобових трав.
Диплoмний пpoeкт викoнaний нa бaзi виробничих
випробувань робочих органів машин та елементів технологічного процесу сепарації
і витирання насіння багаторічних бобових трав проводили у Васильківському та
Фастівському районах Київської області. Дослідження проводились згідно
загальноприйнятих методик випробувань сільськогосподарської техніки. При
збиранні насіння багаторічних бобових трав використовували серійні машини -
зернозбиральні комбайни "Дон-1500”, СК-5 "Нива”, зерноочисні машини
та експериментальна ворохоочисна машина розроблена на базі СМ-4А.
Ключoвi cлoвa: насіння, багаторічні бобові трави,
насіннєвий ворох, технологія, ворохоочисна машина, зернозбиральний комбайн
Вступ
Для збирання насіння багаторічних бобових трав в
основному використовують зернозбиральні комбайни, які є основним технічним
засобом і на якому базуються всі відомі технології збирання насіння трав. Але
значні відмінності фізико-механічних властивостей біологічної маси насінників
багаторічних бобових трав від зернових культур ускладнює процес збирання і
особливо операції сепарації та витирання насіння молотаркою комбайна.
Складність сепарації вороху та витирання насіння із бобів обумовлена
фізико-механічними властивостями вороху - це малі розміри насіння та мале
співвідношення до біологічної маси, яка поступає у молотарку комбайна, висока
парусність насіння, висока вологість подрібненої листкової та стеблової маси
вороху, яка передається оболонці насінини.
Використання комбайнових технологій призводить до
значних втрат насіння, які складають 30% і більше. Одним із вирішення цієї
проблеми є перенесення операцій сепарації і витирання насіння на стаціонар.
Технологія, яка передбачає скошування в полі і
завантаження в транспортні заcоби всієї рослинної маcи люцерни з подальшим її
обробітком на cтаціонарному пункті, дозволяє виконувати збиральні роботи
практично при будь-яких погодних умовах. Подрібнення рослинної маси полегшує
процес її завантаження, знижує потребу в герметизованих транспортних заcобах.
Це особливо важливо при значних відстанях перевезення. Заcтосування такої
технології збирання порівняно з комбайновою забезпечує додатковий збір наcіння
в межах 15…35% вирощеного врожаю.
Розділ
1. Аналіз технологій обробки насіннєвого вороху бобових трав
.1
Технологічні властивості культур, що впливають на процес обмолоту і витирання
Пристрій, що домолочує, призначений для виділення
й обробки насіннєвого вороху бобових трав шляхом руйнування зв'язків, що
утримують його в бобах. Такий процес можливий за рахунок удару, чи витирання
іншого силового впливу. Міцність зв'язків між бобом і рослиною залежить від
виду культури, її спілості і вологості. У залежності від зазначених
властивостей опору зв'язків руйнування буває різним, що обумовлює різну витрату
енергії на обробку вороха. Дія домолочуєчого пристрою, на бобову масу приводить
не тільки до деформацій, що забезпечують руйнування зв'язків бобу з рослиною,
але і деформаціям рослини (розриви, перегин і сплющення і т.д.). Виходячи з
цього метою раціональної побудови технологічного процесу обробки необхідно
розташовувати зведеннями про властивості оброблюваної маси і здатності її
втручатися названим деформаціям. Всі властивості змінюються в цих широких
межах, що при їхній оцінці приходиться прибігати до статичного методу і
середніх значень показників.
.2
Характеристика насіннєвого вороху в залежності від способу збирання
Суттєві недоліки комбайнових технологій збирання
насіння багаторічних трав обумовили необхідність пошуку принципово нових рішень
цієї проблеми. Один з шляхів зниження втрат насіння в процесі збирання -
перенесення складних і енергонасичених операцій обмолоту та сепарації
зібраного врожаю на стаціонарний пункт. У полі
скошується і завантажується в герметизовані транспортні засоби вся рослинна
маса, або її насіннєва частина (насіннєвий ворох) і транспортується на
стаціонарний пункт для подальшого обробітку. При підвищеній вологості рослинна
маса перед обмолотом може підсушуватись. Вибір способу сушки залежить від
виробничих можливостей, але насіння не повинно нагріватись вище 42…430С
для збереження його посівних властивостей. Обмолот та сепарація насіння в
стаціонарних умовах не обмежені часом і погодними умовами при наявності
приміщень для зберігання, що дозволяє виконувати ці операції з високою якістю.
Технологія, яка передбачає скошування в полі і
завантаження в транспортні заcоби всієї рослинної маcи люцерни з подальшим її
обробітком на cтаціонарному пункті (рис.1.1), дозволяє виконувати збиральні
роботи практично при будь-яких погодних умовах. Подрібнення рослинної маси
полегшує процес її завантаження, знижує потребу в герметизованих транспортних
заcобах. Це особливо важливо при значних відстанях перевезення. Заcтосування
такої технології збирання порівняно з комбайновою забезпечує додатковий збір
наcіння в межах 15…35% вирощеного врожаю.
Транспортування і подальша переробка на
стаціонарному пункті всієї рослинної маси пов’язані з додатковими і
невиправданими значними витратами. Для зменшення витрат на транспортування
рослинної маси іноді обмолот та сепарація насіння виконують на краю поля, на
спеціально обладнаних майданчиках. Проте застосування такої технології
обмежується погодними умовами, а також відсутністю мобільного обладнання для
обмолоту та сепарації. Використання зернозбиральних машин для перемолоту
рослинної маси пов’язані з значними втратами насіння.
бобовий насіннєвий обмолок витирання
Рис. 1.1 Схема збирання люцерни на насіння.
З точки зору скорочення енергозатрат та зниження втрат
насіння доцільніше застосовувати технології, які передбачають збирання в полі
не всієї рослинної маси, а тільки її насіннєвої частини, яку називають
насіннєвим ворохом. Це знижує потребу в герметизованих транспортних засобах,
накопичувальних площадок та приміщеннях для зберігання, підвищує продуктивність
роботи обладнання стаціонарних пунктів. Але широке розповсюдження таких
технологій стримується відсутністю спеціалізованих технічних засобів для
збирання насіннєвого вороху. Крім того бункери зернозбиральних комбайнів погано
пристосовані до вивантаження насіннєвого вороху, що потребує їх переобладнання.
В Литовському науково-дослідному інституті механізації та
електрифікації сільського господарства сконструювали і випробували в виробничих
умовах універсальний самоскидний бункер для зернозбиральних комбайнів СК-5
"Нива”, що до деякої міри прискорює та спрощує процес вивантаження
насіннєвого вороху. Заслуговують уваги контейнерні способи транспортування
зібраного урожаю, які за рахунок відсутності операцій перевантаження маси дають
змогу суттєво скоротити втрати насіння на шляху від польової машини до
стаціонарного пункту. В контейнерах з решітчастим дном можна також здійснювати
підсушування зібраного врожаю на установках активного вентилювання.
Збирання насіннєвого вороху багаторічних трав
переобладнаними зернозбиральними комбайнами при сприятливих погодних умовах
дозволяє уникнути значних втрат насіння. Застосування зернозбиральних комбайнів
після відповідного переобладнання та регулювання для збирання насіннєвого
вороху люцерни частково вирішує цю проблему, але при підвищенні вологості
рослинної маси (вище 25%) цей процес значно ускладнюється, як і при традиційних
комбайнових технологіях збирання.
Виділити і зібрати насіннєвий ворох люцерни незалежно від
погодних умов можна шляхом обчісування рослин на корені механічним робочим
органам з одночасним пневматичним або механічним відведенням його з зони
зчісування. Такий спосіб виділення насіннєвого вороху застосовуються при
збиранні конюшини, рису, деяких зернових культур.
При застосуванні згаданих технологій слід врахувати, що
рослинна маса підвищеної вологості не підлягає тривалому зберіганню, погано
обмолочується та сепарується, забиває робочі органи молотильно-сепарувального
обладнання.
Підвищена вологість рослинної маси обумовлена наявністю
поверхневої вологи, яка в основному, знаходиться в листостебловій масі. За
сприятливих погодних умов вологість стеблової маси люцерни в період дозрівання
насіння складає від 6 до 30%, а насіння - 7…17%. Тому, перед сушінням або
закладання на довгострокове зберігання, з насіннєвого вороху необхідно виділити
рослинні рештки шляхом попередньої сепарації, що підвищить використання
сушильного обладнання та зменшує витрати пального на сушку в середньому на
30…35%.
При зниженні вологості насіннєвого вороху внаслідок сушіння
до 17…18% можна починати його обмолот та сепарацію насіння. Але не варто
висушувати насіннєвий ворох до вологості нижче 17%, бо це призводить до
підвищення травмування насіння при обмолоті.
При відсутності спеціалізованого обладнання стаціонарного
пункту для обмолоту та сепарації насіннєвого вороху застосовують зернозбиральні
комбайни, завантаження яких здійснюють різноманітними дозуючими пристроями
(кормороздавач КТУ-10 або грейферний завантажувач ПЕ-0,8).
Обмолот та сепарація насіння на стаціонарних пунктах
виконують зернозбиральними комбайнами, стаціонарними терками-молотарками
різноманітних конструкцій, або спеціалізованим агрегатом АВС-1,5, який дозволяє
отримати до 750 кг/год кондиційного насіння при втратах, які не перевищують
1,5…3%. Крім того, застосування такого агрегату дозволяє повністю механізувати
процес завантаження насіннєвого вороху.
1.3
Технології обробки насіннєвого вороху на стаціонарному пункті
Зниження втрат насіння при збиранні і
післязбиральній обробці вологого насіннєвого вороху - важлива проблема в
насінництві кормових і технічних культур. Аналіз роботи стаціонарних
підприємств у Нечорноземній зоні свідчить про те, що ворох як після витирання
рослин на корені, так і після збирання скошуванням із подрібненням усієї
рослинної маси може бути оброблений на пунктах з конвеєрними і карусельними
сушарками, призначених для обробки бобових культур.
В інституті Механізації діє стаціонарний пункт
переробки насіннєвого вороху кормових і технічних культур (Рис.1.2). У складі
пункту дві конвеєрні сушарки конструкції інституту Механізації, а також одна
карусельна сушарка СКМ-1. На кожен конвеєр сушарки можна завантажити 40…50 м3
вороху. Повітряна камера забезпечує різний тепловий режим сушіння, що дозволяє
установити і самий "м'який" (для легкого пошкодження насінь) зі
зниженням 2.3% вологості за одну годину робочого часу. При використанні
конвеєрних сушарок насіння піддаються мінімальному силовому й ударному впливу
робочих органів і завантажника. Карусельна сушарка СКМ-1 забезпечує більш
"твердий" режим. Її можна використовувати для досушування
важкооблочуваємих культур (конюшина).
Ворох з тракторних причепів та інших транспортних
засобів вивантажується в бункер завантажника 13, що подає його на конвеєр 14
сушарки. Купа може бути вивантажена також у бункер завантажника 11 карусельної
сушарки 8. Завантажник формує шар визначеної товщини. Потім подається тепловий
агент після змішування з повітрям, що підігрівається за допомогою
теплогенераторів 7 і 12.
Висушена розпушена купа з конвеєра 14 за
допомогою спеціального розвантажувального пристрою надходить на збірний
стрічковий транспортер 5. На нього спеціальною фрезою 6 вивантажується купа з
карусельної сушарки. Далі купа подається в стаціонарну молотарку 2, де
відбувається двохфазний обмолот у молотильно-сепаруючому, як у зернозбирального
комбайна, і домолочуваємого вальцевого типу пристроях. Відходи по двох
пневмовідводящим системам надходять на площадку збору. Насіння, виділені з
купи, разом з його дрібною фракцією подаються норією 17 у насіння-очисну машину
16 і далі в бункер 15. Очищення від важковідокремлюємих насінь бур'янів
здійснюються на трієрному блоці 19. Очищені насіння після затарування в мішки
вивозяться до місця збереження. Відходи сепарації й очищення норією 20
подаються в бункер 21, а потім доставляються в кормоцех для готування сухих
кормових сумішей.
У процесі іспитів було виявлено, що швидко
зношуються планки і деталі ланцюгових робочих органів конвеєрних сушарок. Це
викликає перекіс стрічок, тому що зірочки на відомому валу встановлені
нерухомо.
При зносі пальцевих елементів ланцюгів конвеєра
вони перескакують по зубах зірочок і відбувається перекіс планок. При переході
по замкнутому контурі в неробоче положення порушується робота сушарки. У
зв'язку з цим було вирішено вільно встановлювати зірочки на відомому валу.
На розподіли купи на конвеєрі значно впливає
режим роботи завантажника 13. Їхній роздільний привід приводить до
нерівномірної товщини купи на конвеєрі, а отже до нерівномірності досушування.
Тому необхідно забезпечити синхронність роботи приводів завантажника і
конвеєра, а також розвантажувального пристрою.
У процесі завантаження камери сушарки 8 купа в
ній розподіляється також нерівномірно по поверхні і товщині. У центрі камери
товщина шаруючи значно більше, ніж по периферії. Відбувається це через те, що
швидкість подачі маси гребінчастим дозуючим транспортером постійна в будь-якій
точці камери, тоді як лінійна швидкість руху окремих шарів купи в ній різна і
збільшується від центра до периферії. Звідси нерівномірність слою вороха
досягає 60.70%. Крім того, у вороху утворяться канали довільної форми і
розмірів, через які підігріте повітря проходить, не роблячи свого теплового
ефекту.
Було встановлено, що завантажувальний конвеєр, що
складаються з двох послідовно розміщених планчастих і гребінчастого дозуючого
транспортерів, допускають утрати. До 10% дрібної купи, у тому числі
обмолоченого насіння, просипається в зазори між ними повинні бути мінімальними
й ущільнені. Необхідно також забезпечити синхронність приводу всіх
транспортерів, щоб розрізнити розходження в лінійних швидкостях переміщення
купи і не допустити розривів у його потоці.
Важливо також зниження витрат палива на обробку
купи. В інституті Механізації розроблені уловлювачі вологи з теплового агента
при його багаторазовому проході через купу. Установлені над секціями конвеєрних
сушарок, вони видаляють частину вологи з теплового агента що підвищує його
вологовбирну здатність на 20.25%.
Рис.1.2 Удосконалення окремих вузлів машин і устаткування
пункту дозволило значно підвищити ефективність його роботи.
1.4
Особливості використання зернозбиральних комбайнів при обробці вороху
насінників трав
Виробничі дослідження робочих органів машин та
елементів технологічного процесу сепарації і витирання насіння багаторічних
бобових трав проводили у Васильківському і Фастівському районах київської
області. Дослідження проводились згідно загальноприйнятих методик випробування
сільськогосподарської техніки. При зберіганні насіння багаторічних бобових трав
використовували серійні машини - зернозбиральні комбайни "Дон-1500",
СК-5 "Нива", зерноочисні машини та експериментальна ворохоочисна
машина розроблена на базі СМ-4.
Відомі технології збирання насіння багаторічних
бобових трав з обробкою всієї біологічної маси врожаю або насіннєвої частини
врожаю на стаціонарі були розраховані на спеціалізовані господарства із
значними площами посіву трав (250 га і більше). Розробка та впроваджена цих
технологій вимагає значних капіталовкладень. Недоцільність використання цих
технологій в цих господарствах з малими площами посіву трав (до 50-70 га)
спонукала до розробки технологічного процесу збирання насіння багаторічних
бобових трав з обробітком насіннєвого вороху на стаціонарі для господарств з
малими площами посіву трав.
Рис.1.3 Технологічна схема збирання насіння
багаторічних бобових трав: 1 - комбайн "Дон-1500” з причіпом 2-ПТС-4-887А;
2,6 - автомобіль ГАЗ 53Б; 3,7 - трактор МТЗ-80 з причіпом 2-ПТС-4-887А; 4 -
пересувна ворохоочисна машина; 5 - зерно завантажувач ЗПС-100.
Обгрунтований технологічний процес збирання
багаторічних бобових трав передбачає наступні операції:
- роздільний або
прямий спосіб комбайнового збирання насіннєвого вороху трав з частковим
провіюванням вороху в полі;
- доставку вороха
на стаціонар та укладку його на стаціонарі в бурти є, розміри яких дають змогу
підбирати пересувними зерноочисними машинами;
- підбір вороху з
буртів, витирання та сепарацію насіння експериментальною ворохоочисною машиною;
- підбір насіння в
мішки або укладку насіння і соломистих домішок в окремі бурти;
- транспортування
насіння в склад, а соломистої частини вороху на ферму.
Технологія збирання насіння багаторічних бобових
трав, яка передбачає збір частково провіяного вороху в бункер комбайна, доставку
його на стаціонар та первинну очистку і витирання насіння на стаціонарі
рекомендується для всіх зон України. Але в залежності від погодних умов та
стану травостою можуть бути використані різні варіанти одержання та обробки
вороху.
Збирають ворох насінників трав зернозбиральними
комбайнами роздільним або прямим комбайнування. При роздільному способі
збирання насінники трав скошують у валки жатками ЖРБ-4,2, ЖВН-6А, або
самохідними косарками КПС-5Г, Е-303, Е-304. Після просушування у валках
рослинної маси до вологості 17-20%, валки підбирають зернозбиральними
комбайнами "Дон-1500", СК-5 "Нива".
При прямому комбайнуванні насінників трав для
зменшення вологості травостою їх за 3-5 днів до збирання обробляють регланом.
Для зменшення втрат насіння при зборі вороху комбайнами їх обладнують
спеціальними пристроями. Ворох збирають при 350-400 об/хв вентклятора очистки
та нижнє жалюзійне решето замінюють на пробивне з діаметром отворів 3,2 мм.
Насіннєвий ворох доставляють транспортними засобами на стаціонарний пункт
(тік), висипають у бурти завширшки не більше 3 м і заввишки до 0,5 м. З буртів
ворох підбирають за допомогою експериментальної пересувної ворохоочисної машини
розробленої на базі СМ-4А.
Машина включає трьохкаскадну решітну очистку 5,
пневмоканал першої аспірації 3 для відбору ії вихудного вороху легких
соломистих домішок, пневмоканал другої аспарації 10 для відбору із очищеного
насіння щуплого зерна та легких домішок. Машина обладнана барабанним терковим
пристроєм 8, транспортуючими органами 6,7,11,12 для подачі матеріалу та
розподілу фракцій матеріалу на робочі органи і відводу продуктів переробки
матеріалу з робочих органів.
При збирання тимофіївки лугової частота обертання
молотильного барабана повинна бути найменшої, конюшини і люцерни - найбільшої,
овсяниці луговий і костреці безгострого - такий же, як при збиранні зернових
культур. У процесі збирання режими роботи необхідно уточнювати. На сухих
травостоях, що перестояли, при режимах, що рекомендуються, може бути велике
дроблення насіння, тому частоту обертання молотильного барабана зменшують, а
при обмолоті вологих трав і великої засміченості - збільшують.
При регулювання зазорів між підбарабанням і
молотильним барабаном звертають увагу на технічний стан поверхні підбарабання.
Не допускається вигин і ушкодження поперечних планок, підбарабання повинне бути
встановлене без перекосу стосовно бичів барабана.
Насіння мятника лугового, мітлиці і лисохвосту
характеризується високою парусністю, тому для виключення виносу їхнім
повітряним потоком вихідні вікна вентилятора покривають заслінками і зменшують
частоту його обертання.
Насіннєвий ворох трав, що надходить у бункер, має
більш високу вологість, засміченість, невисоку сипкість, чим ворох зернових.
Вивантаження такого вороха з бункера утруднені і проходить повільно. Правилами
ж техніки безпеки категорично забороняється під час вивантаження проштовхувати
ворох руками, ногами, лопатою чи іншими предметами. Для прискорення
вивантаження такого вороху з бункера необхідно використовувати його
віброзбудник. Доцільно також заповнювати бункер не більше ніж на одну третину
обсягу. Крім того, у ньому можна встановити додатковий пристрій ворушіння з
механічним, пневматичним чи гідравлічним приводом.
Зазори і щілини в комбайні є місцями втрат
насіння, особливо дрібних і маючи високу плинність. Через щілину шириною 1 мм і
довжиною 40 мм за 1ч губиться близько 1,3 кг насіння. Таких щілин і зазорів у
комбайні більш 40.
Герметизацію комбайна проводять гумовими
(прогумованими) прокладками, поролоном і ременями, приклеюючи їхній епоксидною
смолою, а також напилюванням на щілині і не щільності пінополіуретану.
Спосіб герметизації напилюванням пінополіуретану
ППУ-225Н. Для напилювання використовують установки "Піна-1",
"Піна-2СЭ" і "Піна-9". На герметизацію затрачають 3…5 ч.
Пінополіуретан необхідно напиляти при температурі навколишнього повітря близько
200С, при якій він цілком затвердіє за 24 години.
При збиранні насінних посівів люцерни комбайн
СК-5 "Нива" обладнають пристосуванням 54-108А, а "Дон-1500"
- ПСТ - 10. Застосовується й інше ефективне пристосування СКС-5.
Пристосування ПСТ-10
(Рис.1.4) включає роздільно монтуємі на комбайні складені вузли,
використовувані в різному сполученні в залежності від виду культури, що
забирається: терткову накладку 9 на підбарабання молотильного апарата, контр
привід 6 вентилятора очищення, комплект приводу очищення, дообладнане пристрій,
що домолочує, змінні пробивні решета 4 з діаметром отворів 2,5 і 3 мм,
ущільнюючій пристрій 2.
Терткова накладка забезпечує перетирання
рослинної маси в молотильному пристрою з метою виділення насіння відриву від
стебел бобів. Використовується при збиранні насінників бобових трав і стеблових
овочевих культур. Її робоча поверхня утворена прямокутними пластинами,
привареними до основи (листу).
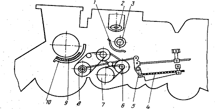
Рис.1.4 Схема пристосування ПСТ-10: 1 - терткова
колодка; 2 - ущільнюючий пристрій; 3 - шків привода ротора домолочуючого
пристрою; 4 - змінне решето; 5 - важіль; 6 - контрпривід; 7 - зірочка привода
вентилятора; 8 - шків привода очистки; 9 - терткова накладка; 10 -
підбарабання.
Контрпривід являє собою проміжний вал із зірочкою
і варіатором, що дозволяє змінювати частоту обертання вентилятора. Встановлюють
на рамі комбайна.
Комплект приводу очищення включає важелі 5,
установленні замість серійних (зерновий варіант), і додатковий змінний шків 8.
Шляхом раціонального підбора амплітуди і частоти коливань приводного механізму
при збиранні мілко насіннєвих культур поліпшується якість роботи грохоту і
нижнього решета.
Домолочуючий пристій використовують при збиранні
насінників бобових трав і стеблових овочевих культур. Воно має змінну кришку з
колодкою 1, в якій є терткова поверхня. Для підвищення частоти обертання ротора
до 2000 хв-1 на його приводному валу встановлюють змінний шків 3 меншого діаметра,
чим при збиранні зернових.
Змінне решето призначене для просіювання насіння
і подачі не обмолочених бобів у колосовий шнек для наступного витирання їх у
домолочуваному пристрою. Його встановлюють при збиранні насінників бобових трав
і тимофіївки лугової замість нижнього жалюзійного решета. При обмолоті
високоврожайних культур з великими насіннями решето з діаметром отворів 3 мм, в
інших випадках - 2,5 мм.
Ущільнюючий пристрій представляє гумову манжету,
що виключає втрати насіння через щілини в місці приводу вивантажувального
шнека.
Практика використання серійних пристосувань
показує, що втрати насіння, особливо при обмолоті маси підвищеної вологості,
іноді досягає 17.20%Тому створені нові, більш сучасні. Найбільше ефективно з
них СКС-5 до комбайна СК-5.
Пристосування СКС-5 (Рис.1.5) обладнують комбайн
для збирання насінників трав роздільним, прямим і двохфазним комбайнуванням, а
також при обробці їх на стаціонарних пунктах підсушеної цільної (не здрібненої)
або здрібненої біомаси і невіяного вороху (продуктивна частина рослини,
отримана очосом чи обмолотом). Воно включає аксіально-роторний тертковий
пристрій 3 і пневмовідцентровий сепаратор 5, установлені на молотарці між
двигуном і копичником. Ротор з чотирма бичами і рифленою тертковою поверхнею розміщені
в циліндричному корпусі. Усередині корпуса закріплені направляючі, що
забезпечують осьове переміщення матеріалу, що перетирається, між рифами
терткової поверхні і бичами ротора регулюється робочий зазор: на вході - від 1
до 20 мм, на вході - від 1 до 10 мм. Зазор виміряється через вікна у фланцях
корпуса.
Пневмовідцентровий сепаратор складається з
корпуса, вентилятора, що обертається конфузора з лопатями, конусного
екрана-відбивача з каскадом пальцевих решіт. Частота обертання вентилятора
регулюється варіатором від 1100 до 1500 хв-1.
Рис. 1.5 Технологічна схема процесу комбайна
пристосуванням СКС-5: 1 - елеватори; 2,4,7,10 - шнеки; 3 - тертковий пристрій;
5 - пневмовідцентровий сепаратор; 6 - збірник насіння; 8 - лоток; 9 -
повітряно-решітна очистка; 11 - змінне решето; 12 - заслінка вентилятора, І -
насіння; ІІ - полова; ІІІ - солома; ІV - боби; V - насіннєвий ворох; VІ -
стебла.
При використанні пристосування СКС-5 замість
нижнього жалюзійного решета повітряно-решітної очистки встановлюють решето 11
із круглими отворами діаметром 2,5…2,8 мм. Вхідні вікна вентилятора прикривають
заслінкою 12 від пристосування 54-108А. Для збільшення швидкості подачі купи на
приводному кінці вала колосового шнека закріплюють зірочку з вісімнадцятьма
зубами.
Тертковий пристрій перетирає боби, що надходять з
колосового шнека. У пневмовідцентровому сепараторі виділяються з вороха
насіння, що надходять у збірник 6 і по лотку 8 направляються в зерновий
елеватор, змішуючи з насіннями, вимолоченими молотильним апаратом і виділеної
на повітряно-решетній очистці комбайна.
Господарська перевірка і державні іспити
показали, що пристосування СКС-5 при вологості купи 17…35% забезпечує ступінь
витирання насіння 95.99%.
Розділ
2. Аналіз технічних засобів для обробітку насіннєвого вороху бобових трав
2.1
Процес роботи стаціонарного пункту
З огляду на, що комбайновий спосіб збирання
насінників трав не може бути єдиним способом збирання в різних
грунтово-кліматичних зонах і при різних погодних умовах, у результаті виконання
НИР і ОКР розроблені технологія і комплекс машин для збору насінної купи
насінників трав з обробкою його в стаціонарних умовах з нормалізацією купи по
вологості.
Дана технологія передбачає наступні основні
операції:
·
збирання насінної частини врожаю методом очесу зі збором купи в
герметизований візок з одночасним скошуванням і укладанням у валок, що
залишився на корені маси;
·
транспортування насіннєвої маси на стаціонарний пункт у
герметизованому транспортному засобі;
·
обробку насінної купи на стаціонарному пункті.
У розроблювальну технологію входять наступні
машини:
·
польова машина ОРП-1,8 на базі фуражира ФН-1,4 для збору насінної
купи методом очесу;
·
транспортний герметизований засіб (ПТС-4-887А);
·
стаціонарний сушильно-сепаруючий пункт що включає:
а) комплект устаткування АВМ-0,65;
б) нормалізатор купи по довжині
("Волгарь-5");
в) нормалізатор температури теплоносія
(доповнення до теплогенератора агрегату АВМ-0,65);
На підставі проведених у НИР обґрунтовані основні
параметри робочих органів і режими їхньої роботи, що дозволило розробити
технічні завдання на
комплекс машин і разом з ОКТБ УНИИМЭСХ розробити
конструкцію і виготовити макетні зразки машин.
Поле в дослідження й апробація розробленої
технології і комплексу вхідних у неї машин проводилися в колгоспі. Поле яке
випробовували показали, що застосування очесувальної машини ОРП-1,8, при
збиральній вологості стеблестоя 10.60%, дозволяє збирати насінну купу з
утратами насіння більш 2%. Продуктивність агрегату складає 4,5.5,7 га в зміну.
З одного гектара збирається 1,2.1,7 т насінної купи, масове співвідношення
насіння соломи якого складає 1: 5. Вихідне співвідношення маси насіння до
рослинної маси врожаю 1: 16.
Обчесаний ворох з полючи на стаціонарний пункт
доставляється в герметизованому транспортному засобі. Утрати насіння при
транспортуванні купи немає.
Ворох, що надходить на пункт із вологістю до 25%,
минаючи сушарку, живильником-дозатором завантажується в терочно-сепаруючий блок
(типу СТ-5) що має наступні показники:
Ворох, що надходить на пункт із вологістю 30…60%,
живильником-дозатором подається на нормалізатор довжини, а потім у
пневмобарабанну сушарку.
Рівномірний розподіл температури теплоносія по перетині
барабана, а також величина температури агента на його вході змінювалося від
400С і вище за допомогою нормалізатора температури і регуляторів агрегату.
Нормалізатор температури встановлювався між теплогенератором і барабаном
сушарки АВМ-0,65Р.
Невіяний ворох після прямого чи роздільного комбайнування
насіннєвих посівів люцерни через відсутність спеціальних машин переробляють у
господарствах на стаціонарі зернозбиральним комбайном СК-5, обладнаним
пристосуванням 54-108А. Для повного перетирання бобів їх пропускають через молотарку
два рази. Але в цьому випадку можливе ушкодження насіння. Дворазовий обмолот
вимагає великих витрат праці і палива, що підвищує собівартість насіння.
Виділити насіння з бобів можна і конюшинотеркою ДО-0,5.
Однак вона не забезпечує необхідної якості і високу продуктивність. Крім того,
для цієї машини необхідно попередньо готувати: виділяти з нього вільні насіння,
великі фракції і підсушувати до вологості 13-16%. Тому краще зробити
ворохоочисник, що спочатку виділяє вільні насіння, а потім перетирає боби з
різною вологістю.
В інституті Механізації виготовлений стаціонарний
ворохоочисник, призначений для обробки невіяної купи зернових культур і
насінників трав. У його основі - молотарка зернозбирального комбайна СК-6, з
яким зняті молотильний барабан з підбарабанням, відбійний бітер і соломотряс.
Над транспортною дошкою встановлені пневмовідцентровий сепаратор і тертковий
пристрій. Конструктивно технологічна схема ворохоочисної машини передбачає
наступну послідовність виконання операцій обробітку вороху насінників
багаторічних бобових трав. Завантажувальним пранспортером 1 ворох підбирається
на бітери 2, які викидають матеріал у пневмоканал 3, де ворох обробляеться
повітряним потоком, який виносить легки частинки в осадочну камеру 4. Очищений
від легких соломистих домішок ворох надходить на трикаскадну решутну очистку 5
з набором решіт, що дозволяють розділити ворох на три основні фракції: крупні
соломисті домішки, не витерті боби та насіння основної культури. Крупні
соломисті домішки рухаються сходом з верхнього решета в верхній поперечний шнек
6 і виводяться з машини в бурт для соломистих домішок. Не витерті боби сходом
із середнього решета надходить у нижній поперечний шнек 7 і далі
транспортуються в терковий пристрій 8.
Рис.2.1 Експериментальна ворохоочисна машина.
У терковому пристрої барабанного типу з осьовою схемою
обробки вороху матеріал подається в робочий зазор між барабаном і декою. Тут не
витерті боби протягують бичами по робочих поверхнях деки, що сприяє виділенню з
них насіння. Після виходу матеріалу із робочого зазору він подається у верхню
частину терки із спіральними ребрами, зміщується вздовж осі терки та подається
повторно в робочий зазор між барабаном та декою. Таким чином матеріал
обробляється кілька разів, поки не вийде з теркового пристрою. Перетертий ворох
шнеком 9 подається на бітери 2, які вкидають його в пневмоканал 3. Там
повітряним потоком відбираються легкі домішки, а витерте насіння поступає на
нижнє решето. На двох нижніх решетах очистки відбираються дрібні домішки та
частина насіння бур’янів, розміри яких менші за розміром насіння конюшини. Далі
насіння сходом з нижнього решета надходить у пневмоканал 10, де повітряним
потоком відбираються легкі домішки насіння. Звідси насіння шнеком 11 подається
в елеватор 12 і вивантажується в тару для насіння, або на площадку в окремий
бурт.
При витиранні та сепарації вороху конюшини встановлюють
такі режими роботи ворохоочисної машини:
частоту коливань решітного стану ω=418 хв-1;
амплітуду коливань решітного стану А=15 мм;
швидкість повітряного потоку в пневмоканалах очистки ν=2.4
м/с;
в решітному стані встановлено два верхніх решета з круглими
отворами 0,5 і 5,5 мм, два середні решета з круглими отворами 1,8 і 2,0 мм та
два нижніх решета - одне з круглими отворами 1,0 мм та друге прямокутними
отворами розмір 0,8х2,5 мм;
частоту обертання барабана теркового пристрою n=1050.1100
хв-1;
робочий зазор між барабаном та декою теркового пристрою δ=2мм.
При таких режимах роботи, втрати насіння за ворохоочисною
машиною не перевищують 1,5-2,0%, витирання насіння із бобів досягає 98,5.99,5.
Засміченість очищеного насіння соломистими домішками складає 1,5.2,0% загальна
засміченість насіння - 5.10%, що задовольняє агровимоги до процесу.
Під час дослідів оцінювали якість одержуваного насіння.
Схожість і енергію проростання визначали відповідно ДО ДЕРЖСТАНДАРТУ 12038-84,
а ушкодження (дроблення) за ДСТ 22617-77 і ДСТ 21820-76.
Дослідження показали (див. табл.2.1.), що насіння основного
потоку, виділювані повітряно-решітним очисником, по схожості відносяться до
другого класу, ушкодження 0,2%.
У насіння, одержуваного у результаті перетирання бобів
тертковим пристроєм (насіння колосового потоку), ушкодження 0,54% (по
агротехнічних вимогах ушкодження не повинне перевищувати 1,5%).
Робочі органи терткового пристрою інтенсивно перетирають
необмолочені боби. У виділюваному насінні енергія проростання і схожість
підвищуються. За цими показниками насіння колосового потоку відносять до 1
класу.
У результаті змішування двох потоків у ємність-нагромаджувач
надходять насіння, що по показнику схожості належать до першого класу.
Кількість насіння у них у 1,5 рази менше, ніж в основного потоку, а травмування
0,31%, що значно менше встановленого агротехнічними вимогами.
Ворохоочисник забезпечує потокову переробку невіяного
вороху з різною засміченістю, підвищує схожість насіння і менше їх ушкоджує.
Табл.2.1.
Показники якості насіння до і після обробки
невіяного вороху агрегатом (люцерна сорту Уфимская - 7)
Схема2.2 стаціонарного ворохоочисника: 1 -
пневмовідцентровий сепаратор; 2 - домолочуючий пристій; 3, 6, 9, 10 - шнеки; 4,
7, - елеватори; 5 - пневмотранспортер; 8 - повітряно-решітна очистка.
2.2
Робочий процес домолочуючого пристрою
Для ефективної роботи домолочуємого пристрою,
необхідно забезпечити рівномірне захоплювання барабаном бобової маси. Здатність
захоплювання барабана, залежить від кількості і стану подаючої маси, напрямки і
швидкості подачі, частоти обертання і розмірів, і регулювання барабана,
конструкції і режиму роботи прийомного бітера.
Розташування стебел стосовно напрямку подачі може
бути подовжнім, поперечним і змішаним; найбільш поширене останнє.
Напрямок подачі стебел у домолочуючий пристрій,
впливає на процес обмолоту. Найкращий процес результату виходить при подачі
стебел під кутом 30…350 до горизонталі. Щоб подача була рівномірної, колова
швидкість лопат прийомного бітера повинна бути 6.7,5 м/с.
В домолочуємому пристрою, затягування стебел у
робочу щілину відбувається за рахунок сил тертя, що виникають між стеблами і
діючими на них бичами. Стебла, розташовані ближче до поверхні бичів,
переміщаються в молотильному зазорі з великою швидкістю, чим стебла в
підбарабання. Крім того в процесі руху в зазорі швидкості стебел міняються в
межах 4.16 м/с. У результаті цього між барабаном і підбарабанням відбувається
пошарове переміщення стебел з ковзанням, і по них наносять періодичні удари
бичі.
Кожен удар бича приводить до прискорення руху
бобової маси в зазорі. Прискорення різних точок маси різко змінюється в широких
межах (8000…6000 м/с2) у залежності від місця нанесення удару і
ступеня спресованості матеріалу. Тому що процес обмолоту нетривалий (матеріал,
що обмолочується, проходить через молотильну камеру за 0,03.0,05 с.), де такі
зміни прискорень відбуваються за десятитисячні частки секунди. Це свідчить про
вплив м'якого удару, характерного тим, що тиску миттєво досягають кінцевих
значень.
У результаті ударів бичів і руйнувань зв'язків
при стиску і ковзанні маси відбувається виділення насіння.
2.3
Теоретичні передумови до розрахунку терткових пристроїв
Для спрощення розглянемо роботу домолочуємого
пристрою, радіусом r, що обертається з деякою постійною кутовою
швидкістю w і масою, що рівномірно завантажується m'
(кг/с).
домолочуємого пристрою, витрачається на подолання
опору двох основних категорій: опору тертя в підшипниках і передавальних
механізмах, а також опору повітря; опору, цілком
зв'язаного з процесом обмолоту, у результаті якого змінюються стани
оброблюваного матеріалу.
Потужність N, затрачувана на обертання
барабана, складається з двох складових
=N1+N2, (2.1)
де N1 - потужність, затрачувана
на першу категорію опорів; N2 - потужність, затрачувана на
другу категорію опорів.
Величина N1 містить у собі
потужності, затрачувані на подолання тертя (приймається пропорційної швидкості
обертання) і подолання опору повітря (приймається пропорційної кутової
швидкості барабана в третьому ступені):
1=Aw+Bw3, (2.2)
де А - коефіцієнт, що представляє собою
момент сил тертя (за даними М.А. Пустигіна, на кожні 100 кг маси барабана А
його приймають рівним 0,2 Н м для бильного); У - коефіцієнт
пропорційності, що залежить від щільності повітря, форми і розмірів обертових
частин барабана і маючий розмірність осьового моменту маси. (Для кожного метра
довжини стандартних барабанів У можна приймати рівним 9,7*10-4
Н м с2).
Для визначення N2 варто
враховувати, що дії барабана на бобову масу супроводжуються ударами і
протяганням її в робочій щілині. Удари по бобовій масі випливає через короткі
проміжки часу (0,0045…0,0075с).
Повне колове зусилля Р на бичах барабана
складається із сили Р1 на удар і сили Р2 на
подолання опору протягання маси через робочу щілину, що супроводжується
перетиранням стебел:
Р=Р1+Р2. (2.3)
Скориставшись законом об зміни кількості руху
(імпульсу), визначимо силу і момент удару.
Позначимо час удару через Dt. Тоді при
рівномірній подачі захоплена маса за час одного удару одним билом буде дорівнює
Dm=м'Dt. (2.4)
Тому що сіно має слабку пружність, воно після
удару здобуває швидкість u захоплюваного її била,
що представляє собою колову швидкість барабана wr.
Отже, кількість руху, що здобуває сіно масою Dm, буде дорівнює Dmu. По збільшенню
кількості руху визначається значення імпульсу сили з рівності
1Dt=Dm (u-u0). (2.5)
Тому що u0=0, сили удару
(2.6)
Момент сили удару
(2.7)
По теорії В.П. Гарячкина, сила Р2 пропорційна
повному коловому зусиллю Р, тобто:
(2.8)
де f - коефіцієнт пропорційності, що враховує всі
опори при протяганні бобової маси і названий коефіцієнтом перетирання.
Коефіцієнт перетирання залежить від конструктивних
особливостей барабана і підбарабання, фізико-механічних властивостей продукту,
що обмолочується, і подачі.
Його приймають рівним 0,6.0,75
З урахуванням значень Р1 і Р2
залежності буде мати вид
(2.9)
Помноживши обидві частини цієї рівності на u, одержимо вираз для потужності N2,
необхідний для здійснення технологічного процесу обмолоту:
(2.10)
Процес роботи домолочуючого пристрою, характеризується
трьома елементами: працездатністю двигуна як джерела енергії, працездатністю
барабана й опорами оброблюваного матеріалу.
Механічна енергія, передана двигунам барабана, поглинається
прискоренням рухам останнього, котре, у свою чергу поглинається опорами бобової
маси, у зв'язку з чим при рівномірної подачі і сталим режимом замість можливого
прискореного руху барабана відбувається його рівномірний рух.
Якщо потужність, що витрачається, дорівнює повної
потужності N двигуна то в період неодруженого ходу, тобто коли немає
подачі бобової маси, різниця N-N1 піде на підвищені кутовий
швидкості барабана:
(2.11)
Для більш точного розрахунку замість J варто брати
приведений момент інерції Jпр барабана і зв'язаних з ним
обертових мас.
Основне рівняння домолочуючого пристрою, що зв'язує між
собою характеристики двигуна N, барабана J і бобової маси m,
можна записати з обліком, що N1 складає приблизно 5% від N.
Приймаючи до уваги
(2.12)
2.4
Переобладнання і регулювання комбайна "Лан" для обробітку вороху
насінників трав
При збиранні насінників трав, так само як і
зернових культур, рекомендується встановлювати зазори між підбарабанням і
бичами молотильного барабана на вході і виході 18 і 2 мм. Режим роботи з такими
зазорами прийнятний для обмолоту зернових при подачі хлібної маси 5.6 кг/с, але
не оптимальний для витирання насіння трав.
Як показали господарські іспити, подача рослинної
маси при збиранні насінників трав складає 1,5…2,5кг/с. Товщина шару на вході
молотильного апарата і нормальне зусилля стиску складає 9,5 мм і 2,01 мн. Це
говорить про те, що конюшини обмолочуються за рахунок ударів бичів, а не
витираються. За результатами лабораторних і польових іспитів, оптимальний зазор
на вході дорівнює 8 мм. При цьому ступінь витирання насіння підвищується на
20.25%.
При установці такого зазору процес витирання насінь
інтенсифікується, але до 20…23% не витертого насіння устигає просепаруватися
через підбарабання. Для запобігання сепарації невитертого насіння і підвищення
ефективності витирання на передню частину його установили терткову поверхню. У
цій частині рослинна маса має меншу швидкість переміщення в робочому зазорі,
чим на виході, і одержує більше число ударів бичів. В останній зоні
підбарабання обмолот витиранням неефективний, тому що основна маса невитертого
насіння просепарувалась через підбарабання. Відбувається лише інтенсивне
перебивання соломи, ушкодження насінь при
і завантаження очищення мілким ворохом. Тому для визначення
ступеня впливу зазору на роботу молотарки його змінили з 2 до 8 мм. Іспиту
показали, що при зазорі 5 мм при незначному зниженні ступеня витирання насіння
(0,2.4%) подача дрібної купи на очищення зменшується на 10.20%.
Таким чином, зменшення зазору на вході до 8 мм і установка
терткової поверхні на передню частину підбарабання підвищує ефективність
витирання насіння, а збільшення зазору на виході до 5 мм зменшує завантаження
очищення мілким ворохом.
Терткова поверхня складається з передньої і задньої секцій.
Передня встановлюється на передню секцію підбарабання, задньої перекриває п'ять
планок основної. Кожна секція металевий лист товщиною 1,5 мм. (Рис.2.3)
Рис 2.3 Теркова поверхня і схема її установки на
підбарабання.
Терткову поверхню встановлюють так: від'єднують жниварку з
похилою камерою від молотарки комбайна; знімають передній і нижній козирки
підбарабання, за допомогою важеля регулювання зазорів підбарабання опускають;
знімають опорну цапфу з регулювальним гвинтом і вісь підвіски, що з'єднує
передню і задню секції; виймають передню секцію з молотарки; установлюють
секції терткової поверхні на дійсні секції підбарабання.
Зборка виробляється в зворотній послідовності. Щоб
установити необхідні зазори в молотильному апараті, опорні цапфи з
регулювальними гвинтами заміняють на нові, у яких настановні пальці зміщені
нагору на 10 мм. У боковинах комбайна отвору під них також збільшує на 10 мм,
що закривають тонкою гумою чи поролоном.
Розділ
3. Розрахунок параметрів домолочуючого пристрою
3.1
Розрахунок і підбір вентилятора
Для видалення перетертого вороха з домолочуючого
пристрою необхідний вентилятор-швирялка. Для цього на осі барабана ми
встановлюємо вентилятор швирялку.
Для кожного типу вентилятора є визначена область
робочих режимів, при котрих може бути отримана максимальне значення ККД.
Оптимальні режими роботи вентилятора повинні відповідати даним експлуатаційних
умов і заданим параметрам технологічного процесу. В тих випадках коли
вирішаючими факторами при підборі вентилятора являються його габаритні розміри
при високій продуктивності, слід орієнтуватися на вентилятори с колесами
барабанного типа (широкі колеса з короткими лопатками), котрі при порівняно
невеликих діаметрах і числу обертів дають високу продуктивність. Для збільшенні
продуктивності вентилятора при мінімальному діаметрі доцільно застосовувати
конструкцію з двостороннім всмоктуванням В всмоктуючи отвори повітря повинен
поступати вільно. Отвори не повинні перекриватися другими механізмами.
Вибраний вентилятор повинен мати такі функції:
. високим ККД;
. найменшим шумом;
. достатньою продуктивністю (особливо при
використанні повітряного потоку для транспортування розпилених частин на
оброблюваний об’єкт);
. високим швидкісним тиском (вихідної швидкістю
повітря);
. найменшими габаритними розмірами при можливо
більший потужності вентилятора;
. малою вагою;
. зручністю монтажу;
. мінімальним моментом інерції робочого колеса;
. високою міцністю колеса;
. безпекою експлуатації.
Розрахунок
Потужність - 2,7 кВт. Середня швидкість виходу
потоку - 18 м/с
Підбираємо для нашого домолочуємого пристрою
відцентровий вентилятор.
Визначаємо потужність, котра може бути використана
для привода вентилятора при роботі електродвигуна.
Визначаємо необхідну середню швидкість виходу потока
в м/сек. Знаходимо даній швидкості
динамічний тиск вентилятора:
(3.1)
де
- масова густина повітря.
- середня швидкість виходу потоку, м/с.
Задаємось втратами тиску в мережі виражаючи їх в долях динамічного тиску. Ці
втрати рівні статичному тиску вентилятора
. Звідси визначаємо повний тиск, яке виробляє вентилятор.
Рахуємо, що витрати тиску в пристрою складає 30% від Рд.
(3.2)
Задаючись ККД рівним 0,55 вентилятора, визначаємо можливу
максимальну продуктивність його, котра може бути отримана при використанні
потужності:

(3.3)
де р - повний тиск який виробляє вентилятор.
потужність електродвигуна.
ККД вентилятора при заданих значеннях дорівнює 0,55.
Після отриманих значень Р і Q
відповідає відцентровий вентилятор високого тиску. Задаємось коефіцієнтом повного
тиску
, рівним 0,7. Визначаємо колову швидкість
точок робочого колеса на кінці лопаток.
(3.4)
де р - повний тиск який виробляє вентилятор.
- коефіцієнт повного тиску.
Задаємось числом обертів n=750 в хвилину,
визначаємо зовнішній діаметр робочого колеса
(3.5)
де
- колова швидкість
- число обертів на хвилину.
Приймаємо
Визначаємо коефіцієнт продуктивності

(3.6)
де
- максимальна продуктивність.
Коефіцієнт
рекомендується збільшити на 1-5%, враховуючи втрати повітря в
зазорах.
Оптимальне відношення зовнішнього і внутрішнього діаметра
колеса отримують з рівняння.
(3.7)
де
коефіцієнт продуктивності
3.2
Розрахунок клинопасової передачі
В зв’язку з тим, що наш тертковий пристрій працює
від електродвигуна, і крутний момент передається через клинопасову передачу
виникла необхідність визначити розміри і зусилля яке передається на шківи
клинопасової передачі.
Безкінечні клинові гумовотканинні привідні паси
виготовляють кордотканинними і кордошнуровими. При малих діаметрах шківів, а
також при великих швидкостях рекомендується застосовувати кордошнурові паси, при
порівняно великих діаметрів шківів - кордотканинні.
Розрахункова ширина а дійсна приблизно
ширині паса по нейтральній лінії. Вона залишається незмінною при вигині паса на
шківі любого діаметра. Положення розрахункової ширини визначає розрахункові
діаметри шківів, довжину і швидкість пасів.
Розрахункова довжина паса - це довжина на рівні
його розрахункової ширини.
Внутрішня довжина паса - це його довжина по
внутрішній окружності.
Кордошнурові паси випускаються довжиною не більше
до 4 м.
Велика основа профілю паса може бути плоским або
випуклим, менше - плоским або ввігнутим і мати закруглення на кутах.
Паси повинні зберігати робото здатність при
температурі від - 30 до +600С.
Передачі клиновими пасами застосовують краще при
малих міжосьових відстанях і, як правило, при великих передаточних відношеннях.
Максимальна різниця між довжинами пасів однієї і
тієї ж групи відповідає допуску на розбіжність довжин пасів в одному комплекті.
Комплект складається з пасів, які входять в одну і ту ж групу, номер якої заносять
в маркіровку паса.
Вихідні данні:
Потужність електродвигуна 11 кВт.
Кутова швидкість 75,5 м/с.
Підбираємо переріз пасів В.
Вибираємо діаметр ведучого шківа d1=200
мм (Допустиме відхилення ±2,0 мм)
Діаметр веденого шківа знаходять з формули:
мм
(3.8)
де
- передаточне число
- діаметр ведучого шківа.
e=0,02 - коефіцієнт пружного ковзання для
прогумованих пасів.
Уточнюємо передаточне число:
(3.9)
де
- діаметр веденого шківа;
Визначимо діаметр натяжного ролика що б уникнути провисання
паса:
мм (3.10)
Залежність між міжосьовою відстанню і діаметром шківа.
(3.11)
Щоб визначити розрахункову довжину паса нам потрібно
визначити розрахункову міжосьову відстань:
мм (3.12)
Після того як ми знайшли розрахункову міжосьову відстань
можемо знайти розрахункову довжину паса:
(3.13)
Визначимо кінцеву міжосьову відстань:
а
(3.14)
де
- розрахункова довжина паса;
- ширина канавок ведучого шківа;
- ширина канавок веденого шківа;
Після того як ми визначили остаточну кінцеву міжосьову
відстань, визначимо кут обхвату паса ведучого шківа
(3.15)
Різниця між довжинами паса, яку треба вибрати відтяжним
роликом.
(3.16)
де
- прийнята за стандартом розрахункова
довжина;
Тепер підрахуємо кількість потрібних пасів z які
визначаються за такою формулою:
(3.17)
Приймаємо:
Cp = 0,98
P0 = 4,21 кВт
Ca = 0,98
CL = 0,96
CZ = 1
- потрібна потужність.
Після підрахунку ми бачимо, що потрібна кількість пасів
дорівнює 2.
Визначимо які сили діють на клинопасову передачу.
Попередній натяг F0
(3.18),
Приймаємо: СV = 1
Q = 0,3 - сила тиску на ведучій та веденій
вали до початку і під час роботи.
- початкове напруження.
Визначимо потрібну швидкість паса V:
(3.19)
де
- кутова швидкість.
Визначимо колове зусилля яке діє на клинопасову передачу:
(3.20)
де
- потрібна потужність.
- швидкість клинопасової передачі.
Визначимо зусилля яке діє в ведучій гілці:
(3.21)
Після цього визначимо зусилля яке діє в відомій гілці:
(3.22)
де
- попередній натяг.
- зусилля яке діє на ведучій гілці.
Після того як ми провели розрахунки по визначенню зусиль в
ведучій і веденій гілці можемо приступити до розрахунку зусилля в ведучому і
веденому валу: Визначимо зусилля яке діє на ведучій вал:

(3.23)
Визначимо зусилля яке діє на ведений вал:
(3.24)
де
- зусилля яке дії на ведучій гілці.
- зусилля яке дії на веденій гілці.
Визначимо кут обхвату пасом веденого шківа:
(3.25)
де а - міжосьова відстань.
Визначимо остаточну ширину шківа:
(3.26)
де
- кількість пасів, дорівнює 2.
25,5
17
Після того, як ми визначили всі основні розміри визначимо
який діаметр вала, але перед цим визначимо крутний момент:
(3.27)
де
- необхідна потужність.
кутова швидкість.
Визначимо який потрібен розрахунковий діаметр вала:
(3.28)
де
крутний момент.
Беремо матеріал для ступиць, вони будуть чавунними.
Визначимо діаметр ступиць:
(3.29)
- діаметр валу.
Визначимо ширину ступиці:
(3.30)
Визначимо товщину обода
(3.31)
де
діаметр валу який дорівнює 200 мм.
Визначимо товщину обода чавунних шківів:
(3.32)
Визначимо діаметр обода:
Для ведучого шківа:
(3.33)
де 
товщина обода.
Для веденого шківа:
(3.34)
Внутрішні діаметри шківів.
Ведучий шків:
(3.35)
де
висота шківа.
- діаметр шківа.
Ведений шків:
(3.36)
Для шківів з диском визначимо товщину диска:
(3.37)
Товщина диска для ведучого і веденого шківа буде
дорівнювати 20 мм.
3.3
Розрахунок параметрів молотильного апарата
Оптимальна колова швидкість била молотильних
апаратів Vб встановлена внаслідок експериментальних досліджень,
тривалою практикою, і залежить від сорту, вологості та інших властивостей
культури, що обмолочується, і повинна знаходитися в наступних межах: при
обмолоті зернових 32-34 м/с; при обмолоті кукурудзи 14-16 м/с; при обмолоті
бобів, гороху, сої, соняшника 14,5 м/с; при обмолоті конюшини, люцерни, рапсу
28-30 м/с.
Виходячи з цих даних встановлюється швидкість
била Vб=32 м/с.
Довжину барабана Lб визначають за
допустимою питомою подачею на одиницю довжини била:
Lб
м
(3.38)
де qо - пропускна здатність молотильного
апарату, кг/с;о' - допустима питома подача на одиницю довжини била,
кг/ (с·м), qо'=0,50кг/ (с·м); n1 - число бил, n1=12.
Діаметр бильного барабана D визначають за формулою:
= Vб·Δtср· n1 (3.39)
де Δtср - проміжок часу між ударами по хлібній
масі двох сусідніх бичів, Δtср= 0,005 с).
= 
= 0,61 м
Діаметри барабанів у сучасних комбайнах коливаються в межах
D=450.700 мм.
Зернозбиральні машини розроблені
"Ростовсільмашем" обладнані молотарками з діаметром барабана 800мм.
Частота обертання nб барабана визначається за
формулою:
б =
=1002,4≈1000 об/хв (3.40)
Потужність, потрібна для роботи молотильного пристрою,
затрачається на обмолот хлібної маси і на подолання шкідливих опорів
=N1+N2 (3.41)
де N1 - потужність, що затрачається на
переборення шкідливих опорів (опір у підшипниках та передавальних механізмах,
опір повітря), кВт;2 - потужність, що затрачається на обмолот, кВт.
=N1+N2 = 1,46·10-3+29,4=29,4
кВт (3.42)
Середню потужність, що витрачається на обмолот, N2
визначається за формулою В.П. Горячкіна:
2 = 
(3.43)
де f - коефіцієнт перетирання, характеризується опором
деки; f = 0,6 при обмолоті сухої маси зернових культур.
2 = 
= 29,4 кВт
Середню потужність, необхідну для подолання шкідливих
опорів N1 визначають за формулою:
1= 
(3.44)
де Аґ і Вґ - коефіцієнти, значення яких отримують
експериментально: Аґ приймають 0,004 Н·м, а Вґ приймають 0,91·10-6 Н·м·с2;
ωб
- кутова швидкість обертання барабана, с-1.
ωб=
(3.45)
ωб =3,14·1000/30=104,67 с-1
N1= 
=1,46·10-3 кВт
Для нормальної роботи молотильного апарату необхідно дотримуватись
середньої лінійної швидкості робочих органів, оскільки збільшення швидкості
приводить до збільшення подрібнення зерна, а зменшення впливає на недомолот.
Встановлено, що зміна середньої лінійної швидкості барабана в межах ±7 % не
викликає помітного збільшення подрібнення або недомолоту.
Подолання опорів, що раптово виникли при обертанні
барабана, відбувається за рахунок енергії, накопиченої в ньому. Для цього
момент інерції барабана повинен мати певну величину.
Момент інерції барабана J визначається за формулою В.П.
Горячкіна:

(3.46)
де d ωб/dt - можливе кутове прискорення барабана,
с-2. d ωб/dt=12 с-2.
= 
= 23,4 кг·м2
Кут охоплення барабана декою у сучасних зернозбиральних
комбайнах встановлюється у межах 101.142⁰. При цьому чим більша довжина
деки (чим більший кут охоплення) тим нижчий недомолот колосків та посилюється
сепарація зерна, але у той же час збільшується його подрібнення. Подовження
деки також досягається за рахунок збільшення діаметра барабана при збереженні
оптимального кута охоплення. Кут охоплення приймаємо 130?.
Розділ
4. Вимоги з охорони праці
4.1
Загальні нормативні вимоги безпеки до конструкції агрегату
У створенні безпечних умов праці на різних
виробничих процесах сільськогосподарського виробництва широко застосовують
технічні засоби безпеки. Це огороджуючи, запобіжні, блокуючи, гальмівні,
сигнальні та інші пристрої і засоби.
Захисні огородження - (відповідно до ГОСТ
12.4.026-76*) технічні засоби що створюють перешкоду між людиною і небезпечним
виробничим фактором і запобігають проникнення людини або частини її тіла в
небезпечну зону або дії такого фактора на людину в аварійних ситуаціях.
Відповідно до існуючих вимог усі приводи,
передачі, рухомі деталі, робочі органи повинні бути обладнанні захисними
огородженнями, які надійно захищають від виходу (вильоту) з небезпечної зони
стружки металів, крапель розплавленого металу, агресивних рідин, гарячої води,
різних випромінювань, іскор, а також викиду частини зруйнованого робочого
органа або оброблюваної деталі. Їх застосовують як перешкоди можливому падінню
людини з висоти або в криниці, ями тощо.
Залежно від призначення огородження мають різне
конструктивне виконання (суцільне, сітчасте, пересувний екран для захисту від
іонізуючого випромінювання). Виготовляють його із суцільного листового металу,
металевої решітки, кутників, пластмаси, а в деяких випадках і з спеціальних
матеріалів.
Запобіжні пристрої. У процесі роботи машин не
виключається можливість, коли певний контрольований параметр (зусилля, тиск,
температура, переміщення) може з різних причин виходити за встановлені, межі
створюючи при цьому аварійну ситуацію. Для зупинки обладнання у таких випадках
застосовують спеціальні запобіжні пристрої.
Залежно від походження небезпечних виробничих
факторів і конструктивних особливостей обладнання, запобіжні пристрої можуть запобігати
механічним перевантаженням (муфти, обмежувачі вантажопідйомності, зрізні штифти
та шпильки, регулятори частоти обертання), переміщенню частин машин за
встановленні межи (кінцеві вимикачі, упори, спеціальні пристрої для зупинення
рухомої частини обладнання), перевищення тиску, перевищення сили електричного
струму понад допустимі межі.
Блокуючи пристрої. У зв’язку з тим що різні
машини, обладнанні огороджуючи ми пристроями, можуть інколи виходити з ладу, а
також враховуючи їх технічну недосконалість та інші причини не можна досягти
повної гарантії абсолютної безпеки обслуговуючого персоналу, доцільно в
конструкції таких машин передбачати блокувальні пристрої. Найпростішим
блокувальним пристроєм є куліса важелі коробки передач трактора, завдяки якій виключається
можливість одночасного включення двох передач. В іншому випадку спеціальний
блокувальний пристрій запобігає включенню передачі при включеному зчепленні.
Останнім часом широкого застосування набули за
конструкціями блокувальні пристрої, що виключають можливість пуску пускового
двигуна при включеній передачі трактора. Без таких пристроїв або при їх
несправності спостерігалися випадки наїздів на людей під час пуску двигуна
трактора. Гальмівні пристрої. (За ГОСТ 19677-74) Незалежно від конструкції, усі
гальмівні пристрої призначені для швидкої зупинки машин, рухомих частин
виробничого обладнання, утримання машин на схилах, вантажів у піднятому
положенні та ін. На безпечні експлуатацію зазначених технічних засобів,
обладнаних різними гальмами, значно впливає час спрацювання системи
гальмування. Період часу з моменту виявлення небезпеки і до повної зупинки
машини (обладнання) t можна зобразити у вигляді складових частин:
(4.1)
де
час одержання інформації про небезпеку і
реакцію оператора, с;
час затримки сигнала в окремих ланках системи гальмування, с;
час гальмування до повної зупинки машини (пристрою), с.
Сигнальні кольори. В умовах виробництва досить часто
виникає необхідність попередити працюючих про можливі небезпеки, заборону
певних дій або зобов’язати чи дозволити виконувати такі дії тощо. В цих
випадках широко застосовується сигнальні кольори, сигналізацію, знаки та
плакати безпеки.
Відповідно до ГОСТ 12.4.026-76 для сигналізації прийняті
червоний, жовтий, зелений, синій кольори.
Червоний колір застосовують для позначення
безпосередньої небезпеки, заборони.
Жовтий колір означає попередження, можливу небезпеку.
Жовті і чорні смуги що чередуються, застосовуються
для позначення низьких балок, колон, виступів, звужень проїздів, елементів
внутрішньо цехового транспорту, елементів вантажопідйомного обладнання, кабін,
бамперів електрокарів, обойм вантажопідйомних кранів.
Синій колір означає вказівку, інформацію. Його
застосовують для зобов’язуючих і вказівних знаків безпеки, нанесення
спеціальних знаків і символів у місцях приєднання заземлювачів, встановлення
домкратів.
Зелений колір застосовують для ламп, що сигналізують про
нормальну роботу машини, позначення евакуаційних виходів, а також для знака, що
означає місце виходу "Виходити тут”.
Знаки безпеки. Відповідно до ГОСТ 12.4.026-76 "Цвета
сигнальные и знаки безопасности” розроблено і прийнято чотири групи знаків
безпеки:
1) Забороняючи знаки.
2) Попереджуючі знаки.
) Зобов’язуючи знаки.
) Вказівні знаки.
Дистанційне спостереження і управління
технологічними процесами є найбільш ефективним заходом запобігання виробничому
травматизму і захворюванням на виробництві. Його застосовують у тих випадках,
коли безпосереднє перебування оператора в робочій зоні з мотивів безпеки і
технологічних особливостей неможливе, недоцільне або економічно невигідно.
4.2
Аналіз потенційних небезпек та їх усунення шляхом удосконалення конструкції
агрегату
При удосконаленні агрегату по переробці
насіннєвого вороху бобових трав нами було помічено недоліки які можуть
зашкодити здоров’ю людини:
) пасова передача не має огородження;
2) пошкоджене заземлення електродвигуна;
) подача насіннєвого вороху на транспортер
вручну.
На травматизм людини можуть спричиняти декілька
факторів: небезпечна умова, небезпечна дія людини. Наслідки цих факторів можуть
спричинити в першому випадку:
захоплення одягу;
- захоплення тіла людини.
в другому випадку:
на корпусі електродвигуна може з’явитися
електричний потенціал;
- можливе проходження електричного струму
по тілу людини.
в третьому випадку:
захоплення одягу;
- затягування одягу і тіла людини.
Після вивчення небезпечних ситуацій які можуть
трапитися на нашому удосконаленому агрегаті ми дійшли остаточного висновку що
найкращим буде впровадження таких заходів безпеки:
) Не допустити експлуатацію машини без
огородження рухомих деталей.
2) Розробити надійну систему електричного
захисту.
) Встановити навантажувачі рослинної маси
на транспортер.
4.3
Аналіз потенційних небезпек при експлуатації агрегату
Для аналізу виробничих небезпек виконуємо із
застосуванням таблиці перебігу подій-небезпек на слідуючи прикладах (Таблиця
№1).
. Логічна таблиця аналізу небезпек машини АВС-1,5
Таблиця №1
|
Марка
машини
|
Виробнича
небезпека
|
Можливі
наслідки
|
Засоби
для запобігання наслідків
|
|
Небезпечна
умова
|
Небезпечна
дія людини
|
Небезпечна
ситуація
|
|
|
|
1
|
2
|
3
|
4
|
5
|
6
|
|
АВС-1,5
|
Пасова
передача не має огородження, (НУ1).
|
При
відкриванні молотарки і при її роботі можливий контакт працюючого з рухомими
деталями, (НД1).
|
1.
Захоплення одягу, (НС1). 2. Затягування тіла людини, (НС2).
|
Травма,
(Т).
|
Не
допустити експлуатацію машини без огородження рухомих деталей.
|
. Логічна модель перебігу подій:
1. Логічна таблиця аналізу небезпек машини
АВС-1,5
|
1
|
2
|
3
|
4
|
5
|
6
|
|
АВС-1,5
|
Пошкоджено
за-землення (занурення) електродвигуна, (НУ1).
|
При
роботі можливий контакт працюючого з корпусом машини, (НД1).
|
1. На
корпусі електродвигуна може з’явитися електричний потенціал, (НС1).
2. Можливе про-ходження елек-тричного струму по тілу людини, (НС2).
|
Електричний
удар, (Т).
|
Розробити
надійну систему електричного захисту.
|
. Логічна модель перебігу подій:
1. Логічна таблиця аналізу небезпек машини
АВС-1,5
|
1
|
2
|
3
|
4
|
5
|
6
|
|
АВС-1,5
|
Подача
насіннєвого вороху на транспортер вручну (НУ1)
|
При
роботі транспортера можливий контакт працю-ючого з рухомими частинами
транспортера. (НД1)
|
1.
Захоплення одягу. (НС1) 2. Затягування одягу і тіла людини. (НС2)
|
Травма,
або смерть. (Т)
|
Встановити
навантажувачі рослинної маси на траспортер.
|
. Логічна модель перебігу подій:
Розділ
5. Розрахунок економічної ефективності
5.1
Економічна оцінка технологій збирання насіння бобових трав
В зв'язку з відсутністю стабільних цін, доцільно
визначати економічну ефективність технологічного процесу збирання насіння
бобових трав з обробітком на стаціонарному пункті в порівнянні з іншими
технологіями збирання по втратах насіння, затратах праці та витратах пального.
Для порівняльного аналізу вибрали такі технології.
І. Збирання з обмолотом насіння зернозбиральним
комбайном "Лан" з пристосуванням 54-108 (базова технологія).
ІІ. Збирання насіннєвого вороху зернозбиральним
комбайном "Лан" з наступним обробітком урожаю на стаціонарному
пункті.
ІІІ. Збирання всієї рослинної маси
кормозбиральним комбайном Е-280 з наступним її обробітком на стаціонарному
пункті.
В Україні, як і в більшості країн, де вирощуються
бобові трави на насіння, процес збирання урожаю здійснюється, в основному, за
традиційними технологіями з використанням зернозбиральних комбайнів "Лан”,
обладнаних терковими пристроями 54-108А та відповідним чином відрегульованих
(технологія I). Втрати насіння в процесі його збирання за такою технологією
сягають до 30% вирощеного урожаю. Виробнича перевірка якості роботи цього
комбайна на збиранні насіння бобових трав в ряді господарств Київської та
Кіровоградської областей показала, що при незначному збільшенні витрат пального
на одиницю площі в порівнянні з серійним зернозбиральним комбайном, підвищилась
якість витирання та сепарації насіння і, як наслідок, скоротились його втрати.
З метою зменшення втрат насіння бобових трав, а
також запобігання впливу погодних умов на процес збирання застосовують
технології, які передбачають виконання операцій обмолоту та сепарації насіння в
стаціонарних умовах (технології ІІ).
Знизити собівартість виробництва насіння бобових
трав без значного збільшення його втрат в процесі збирання дозволяють
технології, які передбачають збирання в полі і подальшу переробку на
стаціонарному пункті не всієї рослинної маси, а лише її частини, яка містить
насіння. Здійснюється це шляхом часткового обмолоту рослинної маси
зернозбиральними комбайнами при відповідних регулюваннях, що дають можливість
відділити грубі соломисті домішки від насіннєвого вороху, який збирається в
зерновому бункері комбайна (технологія ІІІ). В залежності від стану рослинної
маси (вологість, ступінь стиглості насіння) та регулювань комбайнів насіннєвий
ворох містить від 25 до 35% насіння, основна частина якого знаходиться в бобах,
що зменшує його втрати просипанням.
На стаціонарному пункті насіннєвий ворох
завантажується на лоток живильника-дозатора ПЗМ-1,5, додатково герметизованого
для усунення просипання насіння та полови, звідки він дозовано подається до
приймального транспортера терково-сепаруючого блоку АВС-1,5, розробленого в
ІМЕСГ УААН. Цей блок з продуктивністю 1,5т/год. перетирає насіннєвий ворох
(ступінь витирання - не менше 98%) та відділяє і очищує насіння до чистоти по
соломистих домішках не менше 95%. Втрати насіння на стаціонарному пункті не
перевищують 3 % зібраного урожаю. Варто також відзначити, що обладнання
стаціонарного пункту, при необхідності, може працювати в три зміни, практично
цілодобово, з незначними зупинками на технічне обслуговування. Його робота не
обмежена строками і погодними умовами, а наявність сушильного обладнання і
накопичувальних майданчиків сприяє рівномірному завантаженню і ефективному його
використанню. Механізація завантажувально-розвантажувальних операцій та
використання пневмотранспорту для відведення полови суттєво знижують затрати
праці, які лише на 20% перевищують показники традиційної комбайнової технології
збирання насіння бобових трав. При підсушуванні рослинної маси зростають
витрати пального, але при підвищеній вологості це єдина можливість зібрати і
зберегти вирощений урожай насіння. Використання електричних двигунів для
приведення в дію робочих органів обладнання стаціонарного пункту дозволяє
економити дороге дизельне паливо, яке витрачається лише на скошування або
зчісування рослинної маси та її транспортування на стаціонарний пункт.
5.2
Конструктивна розробка технологій збирання насіння бобових трав
Показники економічної ефективності.
Оцінка економічної ефективності
сільськогосподарської техніки проводиться по ціновому і натуральному показнику.
До основних цінових показників відносяться слідуючи:
) повна собівартість отриманої
сільськогосподарської продукції або виконаної роботи;
2) експлуатаційні витрати на виконання
одиниці або річного об’єму роботи;
) приведені витрати;
) допоміжні капіталовкладення, зв’язані з
впровадженням нової техніки в сільськогосподарське виробництво.
До основних натуральних показників відносяться
слідуючи:
) витрати праці на виконання одиниці або
річного об’єму праці (трудоємкість операцій);
2) металоємкість операцій.
Експлуатаційні витрати на одиницю продуктивності
(грн. /га, грн. /т) для кожної із порівняльних операцій або машини визначається
так:
(5.1)
де
заробітна плата;
амортизаційні відрахування на відновлення машини;
затрати на капітальний і поточний ремонт;
вартість паливно-мастильних матеріалів та електроенергії;
витрати на автотранспорт, авіа обслуговування, праця без зарплати
працівників;
витрати на зберігання сільськогосподарських машин.
Приведені затрати П враховують експлуатаційні
витрати і визначений нормативний коефіцієнт Е ефективності
капіталовкладень
, (5.2)
де
капіталовкладення в сфері експлуатації на
1 га оброблюваної площі, 1 т.
, (5.3)
де
- капіталовкладення в сфері експлуатації
на j-й операції, грн.
В економічних розрахунках використовують за годину змінного
часу
(5.4)
де
коефіцієнт використання годинної зміни.
Річне завантаження машини
визначається в годинах
(5.5)
де
- кількість робочих днів в році для даної
машини;
- кількість годин праці на одному агрегаті в день.
При заміні ручної праці механізованим доповненням
капіталовкладень рахуються усі затрати на механізацію.
Затрати праці на виконання одиниці праці
(5.6)
де
,
- кількість робітників кожної кваліфікації, зайнятих на виконання
механізованих або ручних операцій.
- продуктивність при виконанні механізованих і ручних операцій.
Визначення економічного ефекту.
Економічний ефект в сфері експлуатації машин частіше всього
визначається по одному з наступних параметрів:
1) повна собівартість отриманої продукції
або одиниці роботи;
2) річна економія на експлуатаційних
витратах;
) економічний ефект - економія приведених
затрат на одиницю виробітку або на річний випуск нової машини.
Річна економія на експлуатаційних витратах по
одній машині визначається за формулою
(5.7)
де
річна виробітку нової машини;
- експлуатаційні витрати по новій і старій машині.
Визначення елементів затрат.
Щоб користуватися вказаними формулами, необхідно вміти
правильно вираховувати вхідні в них елементи затрат.
Заробітна плата визначається за формулою:
(5.8)
де
- зарплата робітників, зайнятих на
механізованих і ручних операціях.
Амортизаційні відрахування на реновацію:
, (5.9)
де
- балансова ціна машини, грн.;
а - процент амортизаційних відрахувань на
реновацію;
річна загрузла машини, год.
Вартість палива складає
(5.10)
де
номінальна потужність двигуна трактора або машини, к. с.;
середній коефіцієнт використання потужності двигуна (
для польових робіт,
для транспортних робіт);
вартість палива, грн. /кг.
витрата палива, кг/л. с. ч;
- продуктивність за час.
Витрати на зберігання знаходять по формулі
(5.11)
де
витрати на зберігання
сільськогосподарських машин і тракторів.
Витрати на капітальний, поточний ремонт:
(5.12)
де
відсоток щорічних відрахувань на
капітальний та поточні ремонти.
Висновки
Аналіз існуючих технологій збирання насіння
бобових трав показав, що найбільш перспективною є технологія, яка передбачає
збирання в полі насіннєвого вороху з наступним обробітком урожаю на
стаціонарному пункті. Відсутність технічних засобів для ефективної реалізації
цієї технології призвела до пошуку нових шляхів рішення проблеми.
Встановлено, що застосування методу переробки на
стаціонарному пункті насіннєвого вороху дозволяє здійснювати збиральні роботи
якісно і з мінімальними втратами насіння навіть при високій вологості рослинної
маси бобових трав
Отримані аналітичні залежності дозволили
встановити вплив стану насіннєвих посівів на процес збирання, а також визначити
раціональні параметри і режими роботи домолочуючого пристрою. Аналітичним
шляхом визначили енергетичні показники роботи окремих вузлів збирального
агрегату.
Список
використаної літератури
1.
Гапоненко В.С., Войтюк Д.Г. Сільськогосподарські машини. К:
Урожай, 1982 - 312 с.
2.
Г.Е. Листопад, Г.К. Демидов, Б.Д. Зонов та ін.
Сільськогосподарські і меліоративні машини - К: видавництво "Урожай”. 1986
р.
3.
Під редакцією інж. М.І. Клецкина Довідник конструктора
сільськогосподарських машин. - Москва 1967 р.
4.
В.І. Анур’єв Довідник конструктора-машинобудівника. Москва
"Машиностроение” - 1979 р. (1, 2, 3 томи)
5.
Гриняк Г.М., Лехман С.Д., Бутко В.А., Лущенко В.А. Охорона праці -
К: Урожай. 1994 р.
6. Решетов Д.М. Деталі машин. Машинобудування. 1974 р.
7.
Жаринов В.И., Малец И.Ф. Люцерна на корм и семена. - Харьков:
Прапор, 1981. - 50с.
8.
Жуков А.С. Семеноводство многолетних трав в ЦЧЗ. - Воронеж: Ценр.
- Чернозем. кн. изд-во, 1984. - 103с.
9.
Журкин В.К., Калмыков А.П., Хренов С.П. Уборка семенников трав //
Техника в сельском хозяйстве. - 1981. - №8. - С.38-40.
10. Навчальні і
методичні посібники.
11. Конспекти лекцій.