Проект комплексной механизации реконструкции сельхозземель, заросших кустарником с посадкой сосновых сеянцев

  • Вид работы:
    Курсовая работа (т)
  • Предмет:
    Сельское хозяйство
  • Язык:
    Русский
    ,
    Формат файла:
    MS Word
    2,79 Мб
  • Опубликовано:
    2013-01-28
Вы можете узнать стоимость помощи в написании студенческой работы.
Помощь в написании работы, которую точно примут!

Проект комплексной механизации реконструкции сельхозземель, заросших кустарником с посадкой сосновых сеянцев

Министерство образования республики Беларусь

Учреждение образования

Гомельский государственный университет имени Франциска Скорины

Биологический факультет

Кафедра лесохозяйственных дисциплин






КУРСОВОЙ ПРОЕКТ

Проект комплексной механизации реконструкции сельхозземель, заросших кустарником с посадкой сосновых сеянцев




Исполнитель: студентка группы ЛХ-32

Мицкевич Н.Б.

Научный руководитель: Колодий Т.А.




Гомель 2012

Реферат

Курсовой проект выполнен в объеме страниц расчетно-пояснительной записки и двух листов графической части. Пояснительная записка включает в себя 8 таблиц, 7 рисунков и 7 литературных источников.

реконструкция, агротехнический уход за лесными культурами, лесовосстановление, молодняк, сеянец.

РЕКОНСТРУКЦИЯ: замена малоценных лесных насаждений посадкой хозяйственно ценных пород.

АГРОТЕХНИЧЕСКИЙ УХОД ЗА ЛЕСНЫМИ КУЛЬТУРАМИ: комплекс мероприятий, направленных на улучшение условий для приживаемости и роста культивируемых деревьев и кустарников.

ЛЕСОВОССТАНОВЛЕНИЕ: создание лесных культур на не покрытых лесом участках, где прежде был лес.

МОЛОДНЯК: насаждение I класса возраста, т. е. хвойные и твердолиственные семенные древостой в возрасте до 20 лет; мягколиственные и твердолиственные порослевые в возрасте до 10 лет.

СЕЯНЕЦ: молодое растение, выросшее из посевного материала.

Цель работы - подобрать необходимые механизмы для проведения реконструкции сельхозземель, заросших кустарником, коридорным способом с посадкой сосновых сеянцев и произвести расчеты по запроектированной комплексной механизации.

В процессе работы были проведены технологических расчеты, для проведения реконструкции сельхозземель, заросших кустарником.

Данные расчеты позволяют оптимально и наиболее полно использовать человеческие и машинные ресурсы.

СОДЕРЖАНИЕ

Введение

. Характеристика условий выполнения работы

.1 Реконструкция малоценных насаждений

.2 Классификация малоценных насаждений

.3 Характеристика посадочного материала

.4 Способы реконструкции

.5 Схема посадки

. Технология выполнения лесовосстановительной работы

. Подбор системы машин

4. Характеристика машин

.1 Характеристика кустореза КОМ-2,3

.2 Характеристика подборщика сучьев ПС-2,4

.3 Характеристика машины лесопосадочной машины СЛ-2А

.3 Характеристика культиватора бокового лесного КБЛ-1А

.5 Техническая характеристика гусеничного трактора ТДТ-55А

.6 Техническая характеристика лесохозяйственного трактора ЛХТ-55

.7 Техническая характеристика колёсного МТЗ-82

. Расчет технико-эксплуатационных показателей машин

.1 Расчет сопротивлений применяемых машин

.2 Выбор скорости движения и рабочей передачи

. Расчет потребности в машинах и топливно-смазочных материалов

.1 Расчет производительности агрегатов

.2 Определение состава машинотракторного парка

.3 Расчет посадочного материала

.4 Расчет топливно-смазочных материалов

.5 Расчет затрат труда на лесовосстановительные работы

. Организация технического обслуживания машин и оборудования

.1 Техническое обслуживание машин

.2 Техническое лесохозяйственных машин

. Организация охраны труда и техника безопасности при эксплуатации машин

.1 Общие требования к техническому состоянию тракторов и лесохозяйственных машин

.2 Правила безопасности труда на расчистке полос

.3 Правила безопасности труда на посадке леса

ЗАКЛЮЧЕНИЕ

ЛИТЕРАТУРА

ВВЕДЕНИЕ

Лес дает древесину, которая используется как в круглом, так и в обработанном виде. При химической переработке древесины получают целлюлозу, бумагу, спирт, искусственное волокно. Прижизненное использование леса обеспечивает добычу живицы, из которой в результате переработки получают канифоль и скипидар. Последние в свою очередь дают возможность получить около 2 тыс. различных веществ, которые используются в текстильной, медицинской, мыловаренной, электротехнической, резиновой промышленности, бытовой химии, производстве синтетического каучука, лака и т.д.

В лесу заготавливают плоды, ягоды, орехи, грибы, соки, кору, а также организуют пчеловодство. Здесь обитает много полезных зверей и птиц. Лес имеет огромное полезащитное и санитарно-гигиеническое значение. Это значит, что нам необходимо своевременно восстанавливать леса, что обеспечивается созданием лесных культур и содействием естественному возобновлению леса.

Повышение продуктивности лесов является основным направлением их расширенного воспроизводства и удовлетворение все возрастающей потребности в древесном сырье. Так как значение леса в жизни человека и народного хозяйства республики слишком велико.

Лес - одно из важнейших природных богатств, сохранению и приумножению которого в нашей стране уделяется большое внимание. Он выполняет различные экологические, экономические и природоохранные функции. Поэтому работники лесной промышленности и лесного хозяйства, руководствуясь основами лесного законодательства, должны вести освоение лесов так, чтобы удовлетворялись потребности народного хозяйства в древесном сырье и сохранялись и усиливались водоохранные, климаторегулирующие, санитарно гигиенические и другие полезные свойства леса.

В Республике Беларусь лесные насаждения занимают около 40 % территории. В то время как во всем мире ежегодно уничтожаются огромные площади лесных массивов, лесистость Беларуси постоянно увеличивается. Результатом этого служит правильное проведение системы ведения лесного хозяйства, и в этой системе реконструкция малоценных молодняков является важным лесохозяйственным мероприятием. Оно заключаются в посадке сеянцев ценных пород деревьев для выращивания хозяйственно-ценных, высокопродуктивных, устойчивых насаждений и улучшения других полезных свойств леса [4,6].

Целью данного курсового проектирования является разработка проекта комплексной механизации реконструкции сельхоз земель, заросших кустарником с посадкой сосновых сеянцев.

1. ХАРАКТЕРИСТИКА УСЛОВИЙ ВЫПОЛНЕНИЯ РАБОТЫ

.1 Реконструкция малоценных насаждений

Реконструкцией малоценных насаждений называется коренное их улучшение, приводящее к качественно новому состоянию (превращение редин в высокополнотные насаждения, мягколиственных хозсекций в хвойные и твердолиственные и т.д.). К малоценным относятся насаждения искусственного и естественного происхождения, продуктивность или породный состав которых не отвечает плодородию почвы и хозяйственной целесообразности выращивания (низкополнотные, расстроенные, плохо растущие, нежелательных пород).

Реконструкция их осуществляется с применением лесокультурных и лесоводственных методов. Первые проводятся при необходимости уплотнения насаждения, улучшения его состава и структуры, а также при внедрении в состав лесов ценных иноземных и местных быстрорастущих пород. Вторые, в частности реконструктивные рубки разной интенсивности, применяются при выведении в верхний полог имеющихся во втором ярусе сильно угнетенных, хозяйственно ценных пород, а также при наличии расстроенных, затравленных, ослабленных и в сильной степени пораженных гнилью насаждений, которые не могут образовать ценных древостоев и подлежат частичной или полной замене новыми. Реконструктивные рубки могут быть сплошные и частичные - коридорами, гнездами, куртинами, выборочные. Отличаются от рубок по состоянию тем, что могут осуществляться и в молодых насаждениях, удовлетворительных по полноте и санитарному состоянию, но имеющих состав древесных пород, биология которых не в полной мере соответствует данным лесорастительным условиям [1].

Площадь, на которой будут проводиться работы занимает 180га с дренированными сухими почвами. Имеются также деревья малоценных молодняков высотой 2,8м и диаметром 2,4см.

Реконструкция насаждений в зависимости от назначения хозяйства преследует разные цели - повышение продуктивности, санитарной, эстетической роли леса; усиление устойчивости насаждений, почвозащитных и водоохранных свойств; улучшение качества выращиваемой древесины. Начинать ее следует как можно раньше, потому что чем моложе насаждения, тем легче они поддаются исправлению и замене; требуется меньше денежных и материальных затрат, ниже потери на приросте и выше экономическая эффективность проводимого мероприятия [1].

1.2 Классификация малоценных насаждений

Различают следующие категории малоценных насаждений:

а) редины и низкополнотные насаждения (полнота ниже 0,5) всех пород и возрастов, низкопродуктивные, плохо использующие плодородие почв;

б) не отвечающие хозяйственно целесообразному породному составу лесов и уровню плодородия почвы лесохозяйственного предприятия (чрезмерно много березняков, осинников, грабняков, ельники и дубняки низких бонитетов на бедных почвах и т.д.);

в) поврежденные пожарами, скотом, дикими животными, заморозками и морозами, вредителями и болезнями до состояния резкого ухудшения роста и сильного возрастания фаутности древесины;

г) плохо возобновившиеся или заросшие кустарниками площади, погибшие и расстроенные лесные культуры;

д) низкопродуктивные порослевые насаждения более чем второй генерации, а также семенные низкотоварные и плохо эксплуатируемые насаждения (сероольховые, ивовые, грабовые и др.).

В данном курсовом проекте нам необходимо провести реконструкцию заросшей кустарником площади [1].

1.3 Характеристика посадочного материала

Сосна широко распространена на территории Беларуси. Это весьма неприхотливая порода к почвенно-климатическим условиям и культивируется в очень сухих, сухих, свежих, влажных и даже сырых борах, суборях и сложных суборях [1].

1.4 Способы реконструкции

Способы реконструкции малоценных насаждений зависят от полноты, возраста и состава пород. Низкополнотные молодняки исправляются путем посадки в окнах, на прогалинах и свободных местах частичных или сплошных культур ценных пород, биологически совместимых с растущими деревьями (сосна, ель, лиственница, дуб, ясень). Высокополнотные молодняки реконструируются путем прорубки коридоров и посадки в них ценных древесных пород (ель, дуб, ясень и др.). Коридорный способ реконструкции применяют чаще всего в 5…20-летних мелколиственных молодняках порослевого и корнеотпрыскового происхождения высотой до 6…7 метров и с отсутствием хозяйственно-ценных древесных пород.

В таких молодняках прорубают коридоры шириной 3…6 метров с оставлением такой же ширины кулис. Затем коридоры расчищают и проводят обработку почвы, высаживая в неё сеянцы. В последующем кулисы, деревья в которых начинают заглушать сеянцы или саженцы в коридорах, разреживают или вырубают.

Редины в средневозрастных и приспевающих насаждениях обычно назначаются в сплошную рубку, а на вырубках создаются культуры.

В нашем случае мы будем прорубать коридоры шириной 2,3 метра, с шагом посадки 0,8 метра [1].

1.5 Схема посадки

С - С - С - С - С ……………..и т.п. - 5м

С - С - С - С - С ……………..и т.п.

С - С - С - С - С ……………..и т.п. 0,8м

2. ТЕХНОЛОГИЯ ВЫПОЛНЕНИЯ ЛЕСОВОСТАНОВИТЕЛЬНЫХ РАБОТ

Технология лесовосстановительных работ включает главным образом совокупность приёмов и способов при лесовосстановлении на не покрытых лесом землях. Она состоит из определённых и последовательных технологических операций, постоянно обновляется и изменяется по мере развития техники - машин, механизмов и орудий при обработке почвы, посеве семян и посадке сеянцев и саженцев, уходе при выращивании посадочного материала, лесных культур и т.д. Совершенствование технологии лесовосстановления - важное условие ускорения технического прогресса в лесном хозяйстве и лесной промышленности.

Подготовка лесокультурной площади заключается в создании необходимых условий для обработки почвы под лесные культуры и выполнения последующих агротехнических приемов. Она включает в себя сбор порубочных остатков, валежника и неликвидной древесины в валы и кучи.

В странах с интенсивно развивающимся лесным хозяйством нередко производится реконструкция состава молодняков на вырубках и гарях, возобновившимися нежелательными деревьями и кустарниками (осиной, ольхой серой, ивой и др.) на территории лесокультурной площади. Производство культур сосновых пород на этой территории начинается с подготовки лесокультурной площади:

Прокладка коридоров шириной 5 метра (т.к. кусторез КОМ-2,3 имеет ширину захвата 2,3м) с расстоянием между их центрами 5 метров. Для обеспечения прямолинейности коридоров провешивают и прорубают визиры через каждые 10 метров.

Подготовка коридоров к производству лесных культур состоит в удалении и сборе порубочных остатков, валежника и неликвидной древесины в валы и кучи.

Посадка сеянцев по дну борозд лесопосадочными машинами. Такой вид посадки подходит для дренированных сухих почв. Выбор марки лесопосадочной машины определяется почвенно-климатическими условиями, состоянием лесокультурной площади, способом обработки почвы, видом посадочного материала [1].

Посадка леса является наиболее надежным и эффективным методом, производства лесных культур. В первую очередь следует использовать стандартный посадочный материал, выращенный из семян с улучшенной наследственно-генетической основой. Сеянцы должны быть с открытой корневой системой, т.е. освобожденной от почвы или субстрата. При установлении глубины посадки следует учитывать особенности культивируемой породы, т.е. корневая шейка сеянцев сосны заделывается в почву на глубину не менее 5см.

Агротехнический уход за культурами проводится 1 раза в год посадки. Агротехнический уход направлен на улучшение условий приживаемости, сохранности и роста создаваемых культур путем рыхления почвы, уничтожения сорняков, оправки растений от засыпания листвой и почвой [4].

Глубина рыхления при механизированном уходе устанавливается с учетом залегания в почве горизонтальных корней. Рыхление почвы производится с целью уменьшения физического испарения влаги с ее поверхности и обеспечения лучших условий для поглощения атмосферных осадков, увеличения аэрации и снижения плотности почвы, что способствует улучшению ее структуры и микробиологической активности. Удаление сорняков предохраняет культуры от заглушения и снижает расход травянистой растительностью запасов влаги и пищи в почве. Однако травянистая растительность может оказывать иногда и положительное влияние - оттенять культуры, предотвращать процессы ветровой и водной эрозии, снижать возможность выжимания растений [6].

Принимаем следующие технологические операции:

Образование коридоров с помощью кусторезов.

Сбор порубочных остатков в валы.

Посадка сеянцев сосны.

Агротехнические уходы - 1 раза в год посадки.

3. ПОДБОР СИСТЕМЫ МАШИН

Для выполнения какого-либо технологического процесса лесосечных работ или его части машины и механизмы формируют в системы.

Система машин - это набор машин и оборудования (механизмов), взаимоувязанных и согласованных по техническим и технологическим параметрам и предназначенных для выполнения какой-либо стадии технологического процесса лесозаготовок или ее части.

Применение систем машин на заготовке древесины позволяет использовать их более рационально и полно, а, следовательно, и повысить их производительность, улучшить техническое обслуживание лесозаготовительной техники и текущий ремонт; обеспечить, возможно, полное соответствие лесозаготовительной техники природно-производственным условиям и в конечном итоге повысить эффективность лесозаготовительного производства. Создание и внедрение на лесосечных работах систем машин, исключающих ручной труд, является новым этапом технического развития отрасли. Чтобы система машин была эффективной в данных конкретных природно-производственных условиях она должна формироваться с соблюдением следующих основных условий:

В лесном хозяйстве при составлении агрегатов предпочтение надо отдать навесным машинам.

При подборе трактора необходимо предусмотреть его возможно более полное использование в течение всего сезона, поэтому следует принимать во внимание степень универсальности трактора, т.е. способность агрегатироваться с различными рабочими машинами [2]. Согласно данным нашего курсового проекта используем агрегаты на базе тракторов МТЗ-82, ЛХТ-55 и ТДТ-55А.

При проведении реконструкции сельхозземель коридорным способом с посадкой сосновых сеянцев лучше всего применять:

- Кусторез КОМ-2,3 - для создания коридоров, агрегатируется с трактором МТЗ-82.

Подборщик сучьев ПС-2,4 - для сбора порубочных остатков, агрегатируется с трактором ТДТ-55А.

Лесопосадочная машина СЛ-2А - для посадки сеянцев сосны, агрегатируется с трактором ЛХТ-55.

Культиватор лесной КЛБ-1А - для агротехнических уходов, агрегатируется с трактором МТЗ-82.

4. ХАРАКТЕРИСТИКА МАШИН

.1 Характеристика кустореза КОМ-2,3

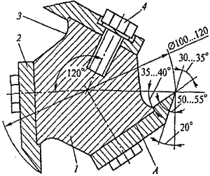
Кусторез-осветлитель КОМ-2,3 (рисунок 4.1) предназначен для ухода за рядовыми культурами. Рассчитан для работы в культурах с междурядьями не менее метра, агрегатируется с колесным трактором МТЗ-82. Для установки кустореза на тракторе в передней части к лонжеронам крепят дополнительно П-образную раму, на поперечном брусе которой выполнены проушины для присоединения рамы кустореза и гидроцилиндра. Рама кустореза имеет Ш-образную конструкцию, обращенную основанием к трактору 10. В передней части рамы между боковыми 4 и центральной 5 балками смонтированы две секции трехножевой цилиндрической фрезы 6. Над тыльной частью рамы расположен щит-отражатель 8, а на боковых балках установлены трубчатые ограждения 7.

Рис.4.1 Кусторез-осветлитель КОМ-2,3:

- боковой ВОМ трактора; 2 - карданный вал; 3 - опора подшипника; 4 - боковая балка рамы; 5 - центральная балка рамы; 6 - рабочий орган (фреза); 7 - трубчатое ограждение; 8 - щит-отражатель; 9 - ограждение; 10- трактор

Щит-отражатель 8 предназначен для наклона срезаемой древесной растительности вперед и предохранения трактора от забивания листьями и стружками. За фрезами между боковыми 4, центральной 5 балками и основанием рамы имеются два сквозных проема (окна), необходимых для прохождения и укладки под трактор срезанной древесно-кустарниковой растительности. Вращающий момент на фрезы 6 передается от бокового ВОМ 1 через карданный вал 2, повышающий конический редуктор и клиноременную передачу.

Срезающий рабочий орган в виде трехножевой цилиндрической (скальчатой) фрезы является общим для всех тракторных кусторезов-осветлителей с активным приводом. Фреза располагается спереди по ходу движения трактора. Она не подвержена заклиниванию в пропиле, значительно устойчивее работает при колебаниях и перекосах во время движения агрегата, не забивается растительными остатками, а также позволяет создавать кусторезы с различной шириной захвата простым увеличением или уменьшением секций.

Трехножевая цилиндрическая фреза (рисунок 4.2) представляет собой фигурный вал 1 с тремя расположенными через 1200 плоскостями А, к которым крепятся плоские ножи 2. Под ножами на валу выфрезерованы специальные стружкоотводящие канавки 3. Ножи изготавливают из высокохромированных инструментальных сталей. Угол заточки ножей должен составлять 30...350. Диаметр фрезы по концам ножей колебается от 100 до 120 мм. Длина одной секции - 880 мм. Толщина ножей 10...12 мм, ширина - 65 мм, длина - не более 1250 мм. Частота вращения фрезы от 2500 до 4000 мин.], направление вращения снизу вверх.

Расчетная рабочая скорость трактора 4,26 км/ч, ширина захвата 2,3 м, масса кустореза 1000 кг. Установка фрезы на заданную высоту срезания осуществляется поворотом вниз или вверх Ш-образной рамы. Максимальный диаметр древесной растительности, срезаемой на проход, Т.е. без остановки трактора, составляет 5см. Технические характеристики характеристика кустореза-осветлителя КОМ-2,3 представлены в таблице 4.1

Рис.4.2 Трехножевая фреза в разрезе: 1 - вал; 2 - нож; 3 - канавка; 4 - болт крепления

Таблица 4.1

Техническая характеристика кустореза-осветлителя КОМ-2,3:

Наименование показателей

Значения

Масса рабочего оборудования , кг

1200

Ширина захвата, м

2,3

Диаметр срезаемой поросли, см

5

Рабочая скорость, км/ч

4,26

Производительность, км/ч

1,24

Диаметр фрезы, мм

110

Габариты: длина ширина высота

 5200 2400 2500

Агрегатируется с трактором

МТЗ - 82


4.2 Характеристика подборщика сучьев ПС-2,4

Подборщик сучьев ПС-2,4 предназначен для сбора порубочных остатков, а также неликвидной стволовой древесины в валы в технологических коридорах при рубках ухода за лесом и на площадях сплошной рубки при отсутствии хозяйственно ценного подроста с одновременным частичным рыхлением поверхностного слоя почвы.

Составные части: траверса, рама, соединительные рычаги, собирающие зубья, поддерживающие тросы.

Подъем подбирающих зубьев осуществляется с помощью гидравлики, действующей от распределителя трактора. Механизм подъема размещен на кронштейне трелевочного щита, что упрощает монтаж и демонтаж подборщика и снижает затраты времени на выполнение этих операций.

Подборщик укладывает порубочные остатки в кучи при проведении рубок ухода и валы при проведении сплошных рубок.

Рис. 4.3 Подборщик сучьев ПС-2,4: 1-рама; 2-подвижная рамка; 3-трактор; 4-поперечный брус; 5-тяговый трос; 6- собирающие зубья; 7-гидроцилиндры.

Таблица 4.2

Техническая характеристика подборщика сучьев ПС-2,4

Показатель

Значения

Производительность за 1ч основного времени, га

0,34

Ширина захвата, м

2,4

Число зубьев

8

Расстояние между зубьями, мм

342

Дорожный просвет, мм

1600

Габариты, мм

2800х2480х1800

Масса

1500

Агрегатируется с трактором

ТДТ-55А


4.3 Характеристика лесопосадочной машины СЛ-2А

Лесопосадочная машина СЛ-2А предназначена для наклонной посадки по непрерывным пластам сеянцев и саженцев ели, сосны, лиственницы с открытой и закрытой корневой системой.

Составные части в посадочном варианте: поперечный навесной брус, опорный каток, левая и правая посадочные секции.

Каждая посадочная секция состоит из рамы с кабиной для сажальщика, прикатывающего катка для уплотнения и выравнивания поверхности пласта, сошника, посадочного аппарата и почвозаделывающего катка. Посадочные секции можно устанавливать на брусе с учетом различной междурядий (2-3,2 м).

Рис. 4.4 Лесопосадочная машина СЛ-2А

- поперечный брус; 2 - прикатывающий каток; 3 - дисковый сошник; 4 - дисковый посадочный аппарат; 5 - щеточное заделывающее устройство; 6 - почвозаделывающий каток; 7 - вал привода щеточного устройства; 8 - кабины сажальщиков.

Таблица 4.3

Техническая характеристика СЛ-2А

Показатель

Значения

Производительность, км/ч

2,3-3,0

Ширина междурядий, м

2-3

Шаг посадки в рядках, м: саженцев сеянцев

 1,5 0,8-1,2

Габариты, мм

2500х3400х2100

Масса, кг

1185

Агрегатируется с трактором

ЛХТ-55, ЛХТ-100

.4 Характеристика культиватора бокового лесного КБЛ-1А

Культиватор боковой лесной КБЛ-1А предназначен для рыхления почвы и уничтожения травянистой растительности в рядах и защитных зонах лесных культур высотой от 10 до 200см. Снабжен двумя рабочими органами: лопастными и зубовыми.

Рис.4.5 Культиватор боковой лесной КБЛ-1А: 1 - арочная рама; 2 - устройство для подъема и опускания рабочих органов; 3 - грядиль; 4 - рабочие органы

Таблица 4.4

Техническая характеристика культиватора бокового лесного КЛБ-

Показатель

Значения

Тип

навесной

Масса рабочего оборудования

365кг

Ширина захвата

0,6-0,7м

Глубина рыхления

8-10см

Габариты: длина ширина высота

 5200 2400 2500

Агрегатируется с трактором

МТЗ -82(Л)

.5 Техническая характеристика гусеничного трактора ТДТ-55А

Трактор ТДТ-55А трелевочный, предназначен для трелевки мелкомерной и среднемерной древесины из лесосек на верхний склад очистки трелевочного волока и выполнения ряда лесовосстановительных и лесохозяйственных работ на вырубках с различным количеством пней.

Таблица 4.5

Техническая характеристика гусеничного трактора ТДТ-55А

Наименование показателей

Значения

Класс тяги, кг

30

Масса конструктивная, кг

8700

Номинальная мощность двгателя, кВт

58,8

Среднее давление на грунт, МПа

0,04

Скорость движения на передачах, км/час I II III IV V VI VII VIII IX

 2,7 3,6 4,7 7,3 11,8

Тяговое усилие на крюке на передачах, кН I II III IV V VI VII VIII IX

 58  41  29  16  8

Габариты при транспортном положении технологического оборудования, мм

5820х2245х2560

.6 Техническая характеристика лесохозяйственного трактора ЛХТ-55

Лесохозяйственный трактор ЛХТ-55 предназначен для выполнения различных лесохозяйственных и лесокультурных работ, расчистки вырубок, борьбы с лесными пожарами, вредителями и болезнями леса [7].

Рис. 4.6. Лесохозяйственный трактор ЛХТ-55:

- передняя навески; 2- толкатель; 3- ВОМ трактора; 4 - лебедка; 5- платформа; 6,7,10- карданный вал;8- редуктор привода лебедки и заднего вала отбора мощности;9- кронштейн; 11- задний вал отбора мощности; 12- механизм задней навески

Таблица 4.6

Техническая характеристика трактора ЛХТ-55

Наименование показателей

Значения

Класс тяги, кг

30

Масса конструктивная, кг

9100

Номинальная мощность двгателя, кВт

58,8

Среднее давление на грунт, МПа

0,05

Скорость движения на передачах, км/час I II III IV V VI VII VIII IX

 2,4  3,2  4,1  6,4  10,5

Тяговое усилие на крюке на передачах, кН I II III IV V VI VII VIII IX

 54  38  27  14  5

Габариты при транспортном положении технологического оборудования, мм

5975х2240х2560

.7 Техническая характеристика колесного трактора МТЗ - 82

Универсальный, с четырьмя ведущими колесами. Применяется в лесном хозяйстве на трелевке древесины, транспортных работах, подготовке почвы, севе и уходе за лесными культурами, на различных работах в лесных питомниках. Обладает повышенными тягово-сцепными качествами и проходимостью.

Рис. 4.7 Колесный трактор МТЗ-82

Таблица 4.7

Техническая характеристика трактора МТЗ-82

Наименование показателей

Значения

Марка двигателя

Д-240

Мощность двигателя кВт(л.с.)

55,16 (75)

Частота вращения, мин-1 коленвала заднего независимого ВОМ

 2200 545; 1010

Удельный расход топлива, г/кВт-ч

251,6 (185)

Скорость движения, км/ч замедленная рабочая

 0,7-1,2 1,9-33,4

Скорость движения на передачах, км\ч: I II III IV V VI VII

 2,50 4,26 7,24 8,90 10,54 12,33 15,15

Наименование показателей

Значения

VIII IX

17,95 33,38

Тяговое усилие на крюке на передачах, кH I II III IV V VI VII VIII IX

 14 14 14 14 11,5 9,5 7,5 6 3

Число передач вперёд

18

Число передач назад

4

Продольная база, мм

2450

Дорожный просвет, мм

470

5. РАСЧЕТ ТЕХНИКО-ЭКСПЛУАТАЦИОННЫХ ПОКАЗАТЕЛЕЙ МАШИН

.1 Расчет сопротивления применяемых машин

Расчёт сопротивления кустореза КОМ-2,3

В общем виде потребная мощность определяется из выражения:

Nпотр = Nдв + Nрез + Nотбр, кВт, (5.1)

Nрез - мощность, необходимая для резания грунта, кВт;

Nотбр - мощность, необходимая на отбрасывание почвенных частиц, кВт;

Nдв - мощность, необходимая на продвижение фрезы в заглубленном положении, кВт.

В развёрнутом виде потребная мощность на фрезы запишется в следующем виде:

Nпотр =+ +, (5.2)

Где Gк - сила тяжести кустореза, 11760 Н;

f - коэффициент трения металла о древесину, 0,6;

Vm - скорость движения трактора, 0,97 м/с;

Кр - удельное сопротивление древесины резанию, Кр= 12·104 - 22·104, Н/м2;

d - средний диаметр срезаемой древесины, 0,035 м;

dδ - диаметр фрезерного барабана, 0,11 м;

nств - количество стволиков срезаемой древесины на 1 м ширины захвата, 4 шт;

ε - коэффициент, учитывающий неодновременность процесса перерезания стволиков; ε = 0,4-0,5;

Котбр - коэффициент отбрасывания древесины рабочими органами;

Котбр = 0,5-0,8;

Gотбр - сила тяжести древесины, отбрасываемой рабочими органами за время t, Н.

Окружная скорость фрезерного барабана записывается в виде:

Vокр = ωδ · rб, м/с, (5.3)

где rб - радиус фрезерного барабана, 0,055 м.

Угловая скорость барабана определяется по формуле:

ωδ =, рад/с, (5.4)

где n - частота вращения барабана фрезы, об/мин; n = 2300 об/мин;

Сила тяжести древесины, отбрасываемой рабочими органами в единицу времени, определяется из выражения:

Gотбр= γ·d·dδ·n·ε·(Vокр-Vт)·t, Н, (5.5)

где γ - удельный вес древесины, Н/м3; γ = 4·103 - 8·103 Н/м3.

Время очередного подхода рабочего органа определяется по формуле:

t =, с, (5.6)

где z - количество ножей на диске фрезерного барабана, 2 шт;

n - частота вращения фрезерного барабана, 38,3 об/с;

Отсюда следующие расчёты:

ωδ == 240,7, рад/с,

Vокр =240,7·0,055=13,2, м/с;

t = = 0,013, с;

Gотбр=6·103·0,035·0,11·38,3·0,45(13,2-0,97)·0,013 = 63,3, Н

Nдв = =6,84, кВт

Nрез== 43,22, кВт

Nотбр = = 1,97, кВт

Nпотр = 6,84 + 43,22+ 1,97 = 52,03, кВт

Для обеспечения работы кустореза необходимо выполнить условие:

Nтр > Nпотр, кВт,

где Nтр - мощность трактора, кВт;

Nпотр - потребная мощность для работы кустореза, кВт.

В нашем случае это соотношение равно 55,16 > 52,03.

Расчет сопротивления подборщика сучьев ПС-2,4

Rпод=(Gпод+Gпач)· g · fпач+Kп · B · h, H (5.7)

где Gпод - масса подборщика сучьев, 1500кг;

Gпач - масса перемещаемой пачки, 700кг;

fпач - коэффициент сопротивления перемещению зубьев подборщика с пачкой, 1,2;

Kп - удельное сопротивление рыхления грунта, 9Н/см2;

B - ширина захвата, 240см;


R = (1500+700) · 9,8 · 1,2+9 · 240 · 5 = 36672, Н

Расчёт сопротивления лесопосадочной машины СЛ-2А

Rлм = Gлм · fm · g+Кп · а · b · n, H (5.8)

где Gс - масса машины, 1185кг;

fm - коэффициент трения металла машину о почву, fm = 0,4;

n - количество сошников, 1 шт;

Кп - коэффициент удельного сопротивления почвы, 35 Н/см2;

a - глубина хода сошника, 20см;

b - ширина сошника, 12см;

Rс = 1185 · 0,3 · 9,8 + 35 · 20 · 12 · 1 = 4524, Н

Расчёт сопротивления культиватора КБЛ-1А

Rдоп = К·Вр, Н, (5.9)

где К - коэффициент удельного сопротивления машины на один метр ширины захвата, 3200Н/м

Вр - рабочая ширина захвата, м.

Рабочая ширина захвата культиваторов при междурядной обработке почвы (кроме строчно-ленточной схемы посева) определяется по формуле:

Вр = тр·(bм -2e), м, (5.10)

где тр - число рядов, обрабатываемых за один проход, 1

bм - рабочая ширина захвата культиватора, 0.7 м;

е - величина защитной зоны, 0,2м.

Вр =1·(0,7 - 0,2) =0,5м,

Rдоп = 3200 · 0,5 = 1600.

реконструкция сельхозземля механизация лесовосстановительный

5.2 Выбор скорости и рабочей передачи

После того, как произведен для каждой операции выбор агрегатов (тяговой и рабочей машины), устанавливаются скоростные режимы работы агрегатов. При этом учитываются агротехнические требования, условия работы и эксплуатационные показатели машин. Целесообразна такая скорость движения при которой обеспечивается хорошее качество работы и оптимальная загрузка трактора.

При выборе рабочей скорости для проведения лесохозяйственных рабат особое внимание необходимо уделять условиям проведения работ.

Агрегат может работать только в том случае, если трактор преодолевает сопротивление, возникающее при работе машины. Сопротивление же машин зависит от: массы машины, типа рабочих органов, ширины захвата, почвы и ее состояния, от условий применения машины.

За рабочую принимается передача, на которой коэффициент использования имеет значения более близкие к оптимальным. Оптимальные значения коэффициента 0,85-0,95. На операциях с малой энергоемкостью он может быть ниже [2].

Скорость и рабочая передача трактора МТЗ-82 при работе кустореза КОМ-2,3

Кусторез КОМ-2,3 агрегатируется с колёсным трактором МТЗ-82.

Учитывая, что движение машинотракторного агрегата при создании коридоров разрешается на I-II передачах .Диапазон скоростей 2,0-5,0 км/ч. Принимаем за рабочую скорость 4,26км/ч. Тяговое усилие на крюке на II передаче составляет 14 кН.

η = 52,03/55,16=0,94.

Скорость и рабочая передача ТДТ-55А при работе подборщика сучьев ПС-2,4

Допустимая скорость машинотракторного агрегата ПС-2,4, который агрегатируется с трактором ТДТ-55А, при расчистке вырубок от порубочных остатков - это скорость на I-II передачах, т.е. 2,7-3,6км/ч. В нашем случае будет скорость на передаче, равная 3,6км/ч.

Коэффициент использования тягового усилия трактора будет равным:

η = 36672/41000= 0,89.

Скорость и рабочая передача трактора ЛХТ-55 при работе лесопосадочной машины СЛ-2А

Допустимая скорость для посадки сеянцев лесопосадочной машиной СЛ-2А входит в предел 2,0-3,5км/ч, что соответствует II передаче трактора ЛХТ-55, скорость которого равна 3,2. Коэффициент использования тягового усилия трактора составляет:

η = 11883/54000= 0,80.

Скорость и рабочая передача трактора МТЗ-82 при работе культиватора КЛБ-1А

Так как диапазон допустимых скоростей при междурядной обработке почвы культиватором КЛБ-1А составляет 4,0 - 7,0 км/ч, то за рабочую передачу принимаем II. При этом скорость движения трактора МТЗ-82, составляет 4,26км/ч.

η = 1600/14000= 0,11.

6. РАСЧЕТ ПОТРЕБНОСТИ В МАШИНАХ И ТОПЛИВО- СМАЗАЧНЫХ МАТЕРИАЛАХ

.1 Расчет производительности агрегата

Производительность агрегата - это работа, выполненная агрегатом в единицу времени (час, смену, сезон).

Пк = 0,1 ·В ·Vp·Тсм·Кт , га/см, (6.1)

где В - ширина захвата агрегата,м.

Vр - рабочая скорость движения агрегата, км/ч.

Кт - коэффициент использования рабочего времени;

Тсм - продолжительность смены, ч;

Vр = Vm · εn (6.2)

где Vm - теоретическая скорость движения агрегата на установленной (для данного вида работ) передаче; берётся из технической характеристики трактора,

εn - коэффициент, характеризующий потери на буксование и извилистость хода; εn = 0,75 - 0,98;

Сменная производительность кустореза КОМ-2,3

Пк =0,1 · 2,3 · 3,4 · 8 · 0,8 =5 га/см.

Сменная производительность подборщика сучьев ПС-2,4

Пп =0,1 · 2,3 · 3,2 · 8 · 0,8 =4,7 га/см.

Сменная производительность лесопосадочной машины СЛ-2А

Пс = 0,1 · 5 · 2,9 · 8 · 0,8 =9,3, га/см,

Сменная производительность культиватора КБЛ-1А

Пк = 0,1 · 5 · 3,8 · 8 · 0,8 = 12,2, га/см

.2 Определение состава машинотракторного парка

Определение оптимального состава машинно-тракторного парка проводится на основе технико-экономических расчётов и анализа показателей тракторного парка.

По каждой запроектированной операции определяют количество тракторо-смен для выполнения установленного объёма работ и количество агрегатов, необходимое для выполнения работы в установленные сроки.

Количество тракторо-смен определяется по формуле:

Nт.с. = , тр/см, (6.3)

где Nт.с. - количество тракторо-смен;

Q - объём работ, га;

Wсм - сменная производительность, га/см.

Количество агрегатов определяется по формуле:

тагр = , (6.4)

где mагр - количество агрегатов;

Др - продолжительность работы в днях.

Если количество агрегатов выражено дробным числом, то уменьшая продолжительность работы Др, получают целое число агрегатов.

Определение количества тракторо-смен и агрегатов при прокладке коридоров кусторезом КОМ-2,3:

Nт.с. =  = 19,4 тр/см,

Для расчёта количества агрегатов принимаем Nт.с. = 19,4 тр/см.

тагр = = 1,02 (1 агрегат);

Расчистка полос производится обычно в летний период предшествующего года посадке культур, следовательно для получения целого числа агрегатов Др принимаем равным 24 дня, с 1.08 по 31.08 августа.

Определение количества тракторо-смен и агрегатов при расчистке территории от порубочных остатков подборщиком сучьев ПС-2,4:

Nт.с. =  = 20,7 тр/см,

Для расчёта количества агрегатов принимаем Nт.с. = 20,7 тр/см.

тагр = = 1,03 (1 агрегат)

Определение количества тракторо-смен и агрегатов при посадке сеянцев лесопосадочной машиной СЛ-2А:

Nт.с. =  = 19,4 тр/см,

Для расчёта количества агрегатов принимаем Nт.с. = 19,4 тр/см.

тагр = =1,9 (2 агрегата)

Посадка культур выполняется в весеннее время в кротчайшие сроки с 10.05 по 29.05 (10 дней), поэтому для вхождения в календарный график выполнения данного вида работ принимаем тагр = 2.

Определение количества тракторо-смен и агрегатов при агротехнических уходах за лесными культурами культиватором КЛБ-1А:

Nт.с. =  = 14,8 тр/см,

Для расчёта количества агрегатов принимаем Nт.с. = 14,8 тр/см.

тагр =  = 1,1 (1 агрегат)

Междурядная культивация проводится один раза в год посадки культур, Др принимаем равным 11 дней, с 1.06 по 15.06 и с 25.07 по 10.08 .

6.3 Расчёт посадочного материала

Потребное количество посадочного материала на заданный объём работ рассчитывается по формуле:

Nп.м. = , тыс.шт., (6.5)

где ψ - поправочный коэффициент на потерю, повреждение и т. п. посадочного материала; ψ = 1,1 - 1,2;

n - количество высаживаемых рядов за один проход лесопосадочной машины;

В - расстояние между центрами проходов, 5 м;

t - шаг посадки, 0,8 м.

Nп.м. =  =540 тыс.шт.

6.4 Расчет топливно-смазочных материалов

Расчет горюче-смазочных материалов

Экономичность тракторного агрегата в значительной степени определяется расходом топлива на единицу площади (гектар). Затраты на топливо составляют около 25% всех эксплутационных расходов.

Расход топлива изменяется в зависимости от нагрузки двигателя, тягового и скоростного режима работы агрегатов.

При расчёте топлива учитываются 3 основных режима работы трактора: рабочий ход, холостое движение агрегата (рабочая машина находится в транспортном положении) и работа двигателя в холостую (на остановке).

Для каждой марки трактора рассчитывается сменный расход топлива по формуле:

Qсм = qр·tр + qх·tх + qо·tо, кг/см, (6.6)

где qр, qх, qо - расход топлива (кг) за час при рабочем режиме; при холостых переездах и на остановках;

tр, tх, tо - время работы двигателя (в час) в течении смены на соответствующих режимах. Можно принять:

tр - 80% от продолжительности смены;

tх - 15% от продолжительности смены;

tо - 5% от продолжительности смены;

Часовой расход топлива при работе трактора рассчитываем сменный расход топлива:

Qсм = 9 · 6,4 + 6 · 1,2 + 1,2 · 0,4 = 65,3 кг/см.

По видам работ рассчитывается расход топлива на один гектар

Qга = , кг/га, (6.7)

где Wсм - сменная производительность агрегата, га/см.

Расчёт горючих материалов для трактора МТЗ-82

1. На образования коридоров расход топлива на 1га составил:

Qга = =13,1 кг/га, на 97,2га - 1269кг;

. На культивацию расход топлива на 1 га составил:

Qга = =5,4 кг/га, на 180га - 972кг;

Расчёт горючих материалов для трактора ТДТ-55А

На сбор порубочных остатков расход топлива на 1га составил:

Qга = =13,9 кг/га, на 97,2га - 1351кг;

Расчет горючих материалов для трактора ЛХТ-55

На посадку сеянцев расход топлива на 1га составил:

Qга = =7,02 кг/га, на 180га - 1264кг.

Таблица 6.1

Потребность в основном топливе для выполнения заданного объема работ

№ п\п

Марка трактора

Вид топлива

Вид операции

Объем работ

Расход топлива кг\га

Расход топлива на весь объем работ, кг

1

МТЗ-82

Дизельное

Срезание кустарниковой растительности

97,2

13,1

1269

2

МТЗ-82

Дизельное

Культивация

180

5,4

972

3

ЛХТ-55

Дизельное

Посадка сеянцев

180

13,9

1351

4

ТДТ-55А

Дизельное

Сбор порубочных остатков

97,2

7,02

1264


Итого:


4856


Итого в л.


4006,2


Таблица 6.2

Потребность в смазочных материалах и пусковом бензине на сезон работы

Трактор

Операция

Объем работ, га

Потребность в основном топливе, кг

Расход смазочных материалов, кг





Автол

Дизельное масло

Солидол

Нигрол

Пусковой бензин

МТЗ-82

Срезание куст. растительности

97,2

1269

60,9

3,8

10,2

12,7

12,7


2. Культивация

180

972

46,7

2,9

7,8

9,7

9,7

ЛХТ-55

Посадка сеянцев

180

1351

72,3

4,1

10,8

12,6

12,6

ТДТ-55А

Сбор порубочных остатков

97,2

1264

60,7

3,8

10,1

48,6

48,6

Итого

4856

240,6

14,6

38,8

83,6

83,61

Итого, л


216,5

13,1

35,0

75,3

61,87

.5 Расчёт затрат труда на лесовосстановительные работы

Затраты труда характеризуют степень механизации производства и эффективность использования средств механизации. Затраты труда можно рассчитать по формуле:

H=, чел, чел\га (6.8)

(1+nр) - бригада, обслуживающая агрегат ;

пр - дополнительные рабочие, обслуживающие агрегат (прицепщики,

сажальщики и др.);

Wr - производительность агрегата, га/ч

Расчет затрат труда на срезание кустарниковой растительности

Н==0,2 чел\ га

Расчет затрат труда на сбор сучьев

Н==0,2 чел\ га

Расчет затрат труда на посадку сеянцев

Н==0,5 чел\ га

Расчет затрат труда на культивацию

Н==0,1 чел /га

6.6 Построения графика машиноиспользования

Определение необходимого количества энергетических средств для машинно-тракторного парка производится по пиковым нагрузкам в графике машиноиспользования (Рисунок 6.1).

График строится в отдельности для каждой марки трактора. Он составляется на основании технологической карты.

На вертикальной оси в определённом масштабе откладывается количество агрегатов, необходимых для выполнения данной операции, а на горизонтальной оси - время выполнения операции.

Получившийся на графике прямоугольник отображает определённую операцию (на графике она отмечается порядковым номером, который соответствует номеру данной операции по технологической карте). Площадь прямоугольника в масштабе соответствует количеству агрегато-дней, необходимому для выполнения данного объёма работ в установленный срок. Операции, совпадающие по срокам, показываются на графике прямоугольниками, которые построены последовательно один над другим. Верхняя граница этих прямоугольников определяет потребное количество тракторов в данный календарный период. Периоды с максимальной (пиковой) и минимальной потребностью в данном типе трактора можно несколько уравнять.

По графику также устанавливается количество рабочих машин для проектируемого машинно-тракторного парка (по периодам наибольшей потребности) [2].

Рис. 6.1 График машиноиспользования

7. ОРГАНИЗАЦИЯ ТЕХНИЧЕСКОГО ОБСЛУЖИВАНИЯ МАШИН И ТЕХНИКА БЕЗОПАСНОСТИ ПРИ ЭКСЛУАТАЦИИ МАШИН

.1 Техническое обслуживание машин

Периодическое техническое обслуживание включает следующие виды: ежесменное техническое обслуживание (ЕТО); техническое обслуживание №1 (ТО-1), №2 (ТО-2), №3 (ТО-3); сезонное техническое обслуживание (СТО); периодический технический осмотр, ремонт.

Ежесменное техническое обслуживание выполняется в начале или в конце смены непосредственно на месте работы агрегата или на пункте технического обслуживания лесхоза. Оно заключается в проверке крепления нарушенных узлов и деталей, устранении подтекания масла, воды, топлива, электролита, в осмотре состояния трактора, очистке его от пыли и грязи. От качества ЕТО тракторов, работающих в лесу, во многом зависит продолжительность работы агрегата.

Техническое обслуживание №1 осуществляется через каждые 125 мото-часов работы трактора, включает операции ежесменного технического обслуживания и дополнительные по проверке и подтяжке нарушенных креплений, проверке и регулировке механизмов трактора, смазыванию сборочных единиц. ТО-1 проводится на пункте технического обслуживания лесхоза.

Техническое обслуживание №2 предусматривает ежемесячное техническое обслуживание и обслуживание № 1, осуществляется через 500 мото-часов работы. В него входят смена масла и промывка картера, диагностирование технического состояния трактора. ТО-2 проводится на пункте технического обслуживания лесхоза.

Техническое обслуживание №3 выполняется после 1000 мото-часов и содержит все вышеназванные виды технического обслуживания и дополнительные по безразборной проверке технического состояния трактора. При ТО-3 определяется возможность дальнейшей работы как отдельных узлов, так и всей машины.

Сезонное техническое обслуживание производится 2 раза в году при подготовке трактора к весенне-летнему и осенне-зимнему периодам работы. Дополнительно к вышеуказанным видам работ выполняются замена масла в соответствии с сезоном, изменение плотности электролита в аккумуляторных батареях, промывка системы охлаждения двигателя и ряд других мероприятий по нормализации теплового режима при работе трактора.

При техническом обслуживании тракторов применяются типовые технологические карты и инструкции по выполнению и организации обслуживания. Периодичность, продолжительность и трудоемкость технических уходов за тракторами приводятся в справочной литературе.

Периодичность обслуживания тракторов в лесном хозяйстве устанавливается по отработке в моточасах, по израсходованному топливу в килограммах и наработке в условных эталонных гектарах (табл. 7.1).

Таблица 7.1

Периодичность технического обслуживания тракторов по израсходованному топливу

Марка трактора

ТО-1

ТО-2

ТО-3

МТЗ-82

550

2200

8800

ТДТ-55А

1080

3240

9720

ЛХТ-55

1080

3240

9720


Технический осмотр осуществляется один или два раза в году по графику. В результате осмотра устанавливаются техническое состояние машины, возможность дальнейшей ее работы потребность в ремонте. Перед техническим осмотром проводится очередное техническое обслуживание машин и составляется документация по использованию и техническому обслуживанию. Комиссия для технического осмотра утверждается директором предприятия. Осмотр осуществляется на специализированных постах или, при выполнении технического обслуживания и ремонта.

Ремонт машин необходим для восстановления их работоспособности и устранения неисправностей. Различают текущий и капитальный ремонт.

При текущем ремонте заменяют поврежденные или износившиеся узлы на исправные. Одновременно с заменой и ремонтом сборочных единиц проверяют техническое состояние машины и устраняют неисправности. Текущий ремонт выполняется по потребности в мастерских самого хозяйства.

Наиболее широко распространен агрегатный метод ремонта машин при котором изношенные детали или узлы заменяются восстановленными или новыми. Этот метод сокращает простои, повышает качество ремонта, исключает необходимость капитального ремонта.

Капитальный ремонт предусматривает полную разборку машины, замену и ремонт всех изношенных деталей и агрегатов, сборку. После капитального ремонта машина подвергается комплексной проверке и обкатке.

7.2 Техническое обслуживание лесохозяйственных машин

Для технического обслуживания лесохозяйственных машин разработаны технологические карты по каждой марке. Техническое обслуживание подразделяется на ежесменное, периодическое (для сложных машин) и сезонное.

Ежесменное техническое обслуживание лесохозяйственных машин осуществляется одновременно с техническим обслуживанием тракторов с которыми они агрегатируются, и заключается в наружной очистке от почвенных, растительных и древесных остатков, осмотре узлов и креплении, устранении обнаруженных неисправностей.

Периодическое техническое обслуживание лесохозяйственных машин проводится через 60 ч работы и состоит из операции ежесменного технического обслуживания и проверки всех наружных креплений необходимой регулировки механизмов и смазывания узлов

Послесезонное техническое обслуживание выполняется после окончания каждого вида лесохозяйственной работы. При этом производится проверка комплектности машин, замена или ремонт деформированных деталей, разборка, промывка и смазывание узлов, покраска деталей. Машины, прошедшие послесезонное техническое обслуживание устанавливаются на хранение до следующего рабочего сезона [5].

8. ОРГАНИЗАЦИЯ ОХРАНЫ ТРУДА И ТЕХНИКА БЕЗОПАСНОСТИ ПРИ ЭКСПЛУАТАЦИИ МАШИН

Техника безопасности - совокупность приемов и правил, выполнение которых предупреждает случаи и травмы людей, обслуживающих машины. Основная задача техники безопасности заключается в создании безопасных условий труда в производстве. Для каждой группы лесохозяйственных машин и выполняемых технологических операций предусмотрены особые правила техники безопасности.

.1 Общие требования к техническому состоянию тракторов и лесохозяйственных машин

Тракторы и лесохозяйственные машины должны быть исправны, отрегулированы, работоспособны, полностью укомплектованы инструментами и приспособлениями. К управлению трактором допускаются лица, достигшие 17 лет, прошедшие специальный курс обучения и инструктаж по технике безопасности.

При подготовке трактора к работе необходимо проверить рулевое управление, тормоза, муфту сцепления, ходовую часть, коробку передач, сигнализацию, навесную систему, прицепное устройство. Перед началом движения агрегата надо убедиться, что вблизи нет людей, а при начале движения с места подать предупредительный сигнал.

Тракторист обязан до начала работы ознакомиться с объектом, где предстоит работать, обозначить вешками канавы, ямы и другие препятствия, наметить поворотные полосы, вдоль опасных склонов провести контрольные борозды, за которые заезжать запрещается. При работе на вырубках в лесу надо быть особенно осторожным, чтобы не допустить повреждения деревьев и опрокидывания трактора.

При работе нескольких агрегатов на одном участке необходимо соблюдать интервал между ними не менее 30-50 м. Опускать навесную машину в рабочее положение только после заезда в загон.

При длительных переездах с поднятым в транспортное положение орудием необходимо следить за его положением. Чтобы навесная машина самопроизвольно не опускалась, необходимо включать силовые цилиндры. Для большей герметичности рекомендуется ослабить накидную гайку запорного клапана маслопровода, присоединенного к задней полости цилиндра. Если осадок остается, масло между поршнем и цилиндром перетекает. Необходимо заменить или отремонтировать цилиндр.

При переездах с навесными машинами необходимо выбирать ровный путь следования, без ям, крутых поворотов, канав. Переезжать канавы, бугры и другие препятствия необходимо под прямым углом на малой скорости, избегая крена трактора и разных толчков.

При работе машинно-тракторного агрегата запрещается стоять на подножке или сидеть на прицепном устройстве, навесной машине, крыльях трактора, выскакивать из кабины трактора и садиться во время движения. Прицепные машины, орудия, прицепы необходимо сцеплять с тракторами жестким прицепным устройством.

При подготовке трактора к работе с навесной машиной необходимо проверить исправность гидросистемы, состояние шлангов, плотность затяжки соединительных штуцеров, маслопроводов, уровень масла в баке. При проверке технологического состояния машин, работающих с тросами, следует обратить внимание на их исправность. Габариты машин и агрегатов должны обеспечивать безопасный проезд по дорогам, надежную работу под пологом леса и на вырубках.

Выполнение правил техники безопасности должно сочетаться со строгим соблюдением требований пожарной безопасности [3,5].

8.2 Правила безопасности труда на расчистке полос

На кусторезы должны быть нанесены специальные надписи с указанием мер безопасности при работе на кусторезе.

К работе допускаются аттестованные, изучившие устройства и принцип работы кусторезного оборудования.

При снятии и установке ножей фрезы необходимо зафиксировать вал от вращения, заклинив его деревянным клином или зажав деревянной рейкой; пользоваться только торцовым ключами и работать в рукавицах.

При запуске двигателя трактора при включении привода фрезы необходимо следить, чтобы никто не находился впереди фрезы на расстоянии менее 5 м. Все вращающиеся элементы кустореза, кроме рабочего органа, должны быть закрыты защитными кожухами.

Запрещается работа кустореза: при наличии неисправностей у трактора или кустореза; при снятых или неисправных ограждениях; при наличии препятствий; в условиях плохой видимости и при сильном дожде.

В случае забивания фрезы древесными остатками необходимо остановить трактор, отключить привод, поднять раму с рабочим органом вверх и отъехать на 2 м. назад, после чего снова включить привод фрезы и провести несколько раз подъем и опускание рабочего органа.

Категорически запрещается производить подтяжку креплений, регулировку и другие работы с кусторезным оборудованием при работающем двигателе трактора [6].

8.3 Правила безопасности труда на посадке леса

К работе на лесопосадочной машине допускаются рабочие, прошедшие инструктаж по технике безопасности. При обслуживании агрегата назначается старший, который следит за выполнением инструкций по технике безопасности.

Перед началом работы рабочие-сажальщики обязаны надеть спецодежду (фартук), головной убор и при необходимости предохранительные приспособления (респиратор, наушники и т. д.).

Движущиеся и вращающиеся части машин должны быть ограждены защитными кожухами, сигнальная система находиться в исправном состоянии, рычаги управления рабочими органами машин и орудий иметь надежные фиксирующие устройства.

К эксплуатации не допускаются лесопосадочные машины, переоборудованные и изготовленные в порядке рационализации без предварительных испытаний. Перед началом работы проверяют техническое состояние машины, и производится опробование. На участках следует установить направление движения агрегата, выделить поворотные полосы, выявить и ликвидировать препятствия. Опасные места обозначить вешками. Во время работы требуется особая внимательность во избежание наездов на пни, камни, порубочные остатки. Устранять неисправности следует при полной остановке трактора, заглушенном двигателе на опущенной на землю пли специальную подставку машине.

Крутые повороты и развороты в конце гона следует производить при транспортном положении лесопосадочной машины. Места для разворотов агрегата не должны иметь препятствий. Преодолевать препятствия следует на первой передаче. Перед началом движения подается звуковой сигнал, надо убедиться, что поблизости нет людей и опасности задеть препятствие.

Агрегат должен быть укомплектован аптечкой. После завершения работы машину следует поставить на хранение и провести техническое обслуживание [3].

ЗАКЛЮЧЕНИЕ

В результате выполненного курсового проекта разработана система мероприятий комплексной механизации реконструкции сельхозземель коридорным способом с посадкой сосновых сеянцев. Это повысит продуктивную, санитарную и эстетическую роль леса, усилит устойчивость насаждений, почвозащитных и водоохранных свойств, улучшит качество выращиваемой древесины.

Подобрана система машин для выполнения следующих технологических операций:

прокладка коридоров;

сбор порубочных коридоров;

посадка сеянцев;

агротехнический уход.

Технико-экономические расчёты показали, что для выполнения работ по реконструкции нежелательных молодняков целесообразно иметь в хозяйстве следующие технические средства: колёсный трактор МТЗ-82, лесохозяйственный трактор ЛХТ-55, гусеничный трактор ТДТ-55А, кусторез КОМ-2,3, лесопосадочную машину СЛ-2А и культиватор боковой лесной КБЛ-1А.

Все работы будут по реконструкции выполнены в установленные агротехнические сроки с 1 мая по 18 августа текущего года.

Затраты на создание культур составляют млн рублей, в том числе на 1 гектар млн. рублей.

ЛИТЕРАТУРА

1. Н.Б. Набатов «Технология лесовосстановления», Москва-2002.

. Г.В. Силаев, А.А. Золотаревский «Система машин в лесном хозяйстве», Москва: МГУЛ-2002.

. Зинин, Козаков, Климов «Технология и механизация лесохозяйственных работ», Москва-2004.

. Н.М. Набатов, Ильяков «Лесные культуры и механизация лесохозяйственных работ», Москва-2003.

. Л.С. Застенский «Механизация лесохозяйственных работ с основами теоретической механики», Минск «Высшая школа»-1995.

. Г.А. Ларюхин, П.С. Златоусов «Механизация лесохозяйственных работ и лесозаготовок», Москва-1980.

. В.Н. Винокуров «Машины, механизмы и оборудования лесного хозяйства», справочник, МГУЛ-2002.

Похожие работы на - Проект комплексной механизации реконструкции сельхозземель, заросших кустарником с посадкой сосновых сеянцев

 

Не нашли материал для своей работы?
Поможем написать уникальную работу
Без плагиата!
Без нейросетей!