|
Общая информация
|
|
Статус производства
|
снят с производства
|
|
Начало выпуска
|
июль 1995 г.
|
|
Конец выпуска
|
январь 1999 г.
|
|
Кузов
|
|
Тип кузова
|
седан
|
|
Количество дверей
|
4
|
|
Двигатель
|
|
Тип двигателя
|
нет данных
|
|
Наддув
|
есть
|
|
Объем двигателя, куб. см
|
1896
|
|
Мощность, л.с./об мин
|
90 / 4000
|
|
Крутящий момент, Нм/об мин
|
210 / 1900
|
|
Максимальная скорость,
км/час
|
179
|
|
Разгон до 100 км/час, с
|
14.3
|
|
Марка топлива
|
дизельное топливо
|
|
Минимальный расход топлива,
л на 100 км
|
5.7
|
|
Средний расход топлива, л
на 100 км
|
6.9
|
|
Максимальный расход
топлива, л на 100 км
|
9,5
|
|
Клапанов на цилиндр:
|
2
|
|
Расположение клапанов и
распределительного вала
|
ohc
|
|
Система питания
|
прямой впрыск
|
|
Диаметр цилиндра и ход
поршня, мм
|
79.5 x 95.5
|
|
Выхлоп CO2, г/км
|
нет данных
|
|
Привод
|
|
Тип привода
|
передний
|
|
Коробка передач
|
|
Коробка передач
|
5МКПП
|
|
Тормоза
|
|
Передние
|
дисковые
|
|
Задние
|
дисковые
|
|
Габариты
|
|
Длина, мм
|
4480
|
|
Ширина, мм
|
1730
|
|
Высота, мм
|
1420
|
|
Колесная база, мм
|
2620
|
|
Прочее
|
|
Размер шин
|
195/65TR15
|
|
Снаряженная масса, кг
|
1360
|
|
Полная масса, кг
|
1600
|
|
Объем багажника, л
|
нет данных
|
|
Объем топливного бака, л
|
62
|
|
Диаметр разворота, м
|
11.1
|
|
Гарантия от коррозии, лет
|
12
|
|
Подвеска
|
|
Тип задней подвески
|
Гидравлический элемент
|
|
Тип передней подвески
|
Поперечный рычаг
|
|
Тормоза
|
|
Передние тормоза
|
Дисковые вентилируемые
|
|
Задние тормоза
|
Дисковые
|
|
ABS
|
есть
|
|
Рулевое управление
|
|
Тип рулевого управления
|
Шестерня рейка
|
|
Усилитель руля
|
Гидроусилитель
|
скорость автомобиль математический модель
4. Преобразование формального описания в математическую
модель
Внешняя скоростная характеристика двигателя определяется по формулам
Лейдермана:
Мощность при частоте вращения n
кВт;
(1)
Крутящий
момент при частоте n
Н×м. (2)
Mp, a, b, c - вычисляются по
формулам:
Максимальный момент при Nemax
; (3)
; (4)
; (5)
. (6)
-
коэффициент приспосабливаемости по крутящему моменту и
- коэффициент приспособляемости по мощности вычисляем
по формулам:
; (7)
. (8)
где
Nemax- максимальное значение мощности,
- частота вращения коленчатого вала при максимальной
мощности;
- максимальное значение крутящего момента;
- частота вращения коленчатого вала при максимальном
крутящем моменте;
- номинальная частота вращения коленчатого вала.
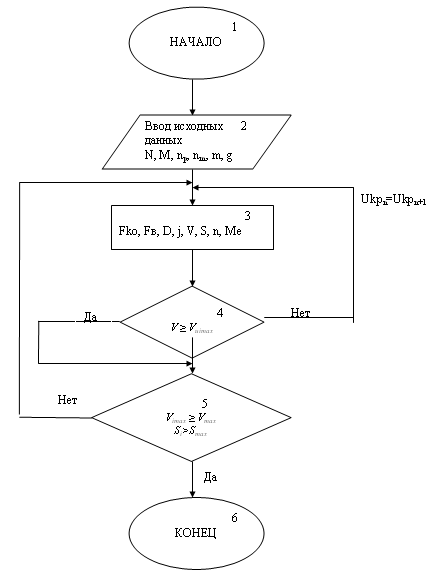
Движение автомобиля рассматривается под действием сил, действующих на
него на всех режимах и условиях движения.
Рис 1. Силы, действующие на автомобиль при его движении.
- сила
инерции;
- сила тяги;
- сила
лобового сопротивления;
- сила тяжести автомобиля;
- сила сопротивления качению.
Сила
тяги на ведущих колёсах при вращении их без буксования при коэффициенте
сцепления
:
, Н; (9)
где
- радиус колеса
, м;
- передаточное число коробки передач;
- передаточное число главной передачи;
- КПД трансмиссии =
;
- посадочный диаметр колеса;
- высота профиля шины;
-
крутящий момент.
Сила лобового сопротивления:
, Н; (10)
где
- коэффициент обтекаемости;
- скорость автомобиля;
- площадь
лобового сопротивления.
, м2;
(11)
где
- коэффициент заполнения площади;
- габаритная высота автомобиля ;
- габаритная ширина автомобиля.
Сила сопротивления качению:
, Н;
(12)
где
- коэффициент сопротивления качению;
- полная масса автомобиля;
- ускорение свободного падения;
Уравнение
тягового баланса
Уравнение
тягового баланса основывается на принципе Даламбера:
; (13)
; (14)
; (15)
где
- ускорение автомобиля.
Разность между силой тяги и силы сопротивления воздуха - свободная сила
тяги, которая может быть использована для преодоления сил трения качения и
разгона автомобиля. Отношение свободной силы тяги к весу автомобиля называется
динамическим фактором:
; (16)
где
, Н - вес автомобиля.
, м/с2 (17)
где
- коэффициент учёта вращающихся масс.
, (18)
;
Поскольку
этап трогания автомобиля с места зависит от темпа включения сцепления и темпа
подачи топлива, т.е. определяется индивидуальными особенностями водителя, то
при расчёте принимается, что разгон начинается с минимальной устойчивой
скорости на передаче, с которой происходит трогание автомобиля. Минимальная
устойчивая скорость определяется исходя из частоты вращения коленчатого вала,
обеспечивающей максимальный крутящий момент. Разгон осуществляется при полной
подаче топлива, т.е. двигатель работает по внешней скоростной характеристике.
Для
определения скорости, пути и времени разгона автомобиля проводится численное
интегрирование с заданным шагом по времени. Примем
секунды. При этом считается, что ускорение автомобиля
на шаге интегрирования постоянно и по нему определяется приращение скорости и
пути:
, м/с;
(19)
, м;
(20)
(21)
Максимальная
скорость на данной передаче:
, км/ч. (22)
При
переключении передачи, начальная скорость разгона автомобиля на следующей
передаче равна конечной скорости на предыдущей за вычетом потери скорости при
переключении передачи из за разрыва потока мощности. Конечная скорость
автомобиля на предыдущей передаче равна максимальной скорости на той передаче,
которая достигается при частоте вращения коленчатого вала двигателя, обеспечивающую
максимальную мощность np.
Потеря
скорости
при переключении передачи и путь
, пройденный автомобилем за время переключения
, определяется из следующих выражений
, км/ч
, м.
где
- коэффициент учета вращающихся масс при переключении
передач.
, с.
После
разгона до максимальной скорости или до конца участка 2 км начинается выбег
автомобиля. Выбег автомобиля начинается при достижении максимальной скорости в
конце разгона на прямой передаче с последующим переводом коробки передач в
положение «N». При этом на автомобиль действуют только силы
сопротивления качения и воздуха.
Заканчивается
выбег автомобиля его полной остановкой или достижением минимальной скорости
движения <0.1 км/ч.
Составляется
таблица исходных данных и идентификаторов программы. Составляется схема
алгоритма решения задачи и составляется программа расчета. В схеме алгоритма
программы должны быть отражены три основных ветви алгоритма:
1. Разгон на передаче.
2. Переключение передачи.
3. Выбег.
Допущения и ограничения, принятые в модели:
1. Ускорение автомобиля на шаге интегрирования постоянно.
2. Путь разгона не превышает 2000 м.
. Максимальная скорость разгона автомобиля на данной передаче
определяется на последней передаче при частоте вращения коленчатого вала nр, соответствующей максимальной мощности.
. Выбег автомобиля начинается при достижении максимальной скорости
автомобиля на последней передаче или при достижении конца участка 2000 м.
. Выбег автомобиля заканчивается при достижении скорости менее 0,1
км/ч.
. Частота вращения коленчатого вала в процессе разгона изменяется
в пределах nx.x. <n<nр.
. Шаг интегрирования принимаем 0,1 сек.
5. Алгоритмизация и программирование
5.1 Алгоритм расчета математической модели
Расчет модели производится в приложении Microsoft Office EXCEL:
В поле ячеек А1-С45 вводятся исходные данные для данной модели
автомобиля. В поле ячеек H2-P18 производится вычисление
используемых в расчетах по следующим формулам: в ячейке O3 рассчитывается сила
сопротивления качению Ff= m*g*f , в ячейке O4
рассчитывается сила тяжести автомобиля Ga=m*g, в ячейке O5 - крутящий момент при
максимальной мощности Mp=
9549*Nemax/np . Радиус колеса определяется в ячейке O6 по формуле
rо=(0,5*d+ H)/1000.
Коэффициенты:
Кm=Memax/Mp, Kw=np/nm, a=(1+Kw*Km*(Kw-2))/ (Kw-1)2,
b=2*Kw*(Km-1)/(Kw-1)2, c=(Kw2*(1-Km)/(Kw-1)2
рассчитываем в ячейках О7-О11.
Проводим расчёт для первой передачи. В столбец H начиная с ячейки H25
вводим значения времени с интервалом 0,2 и растягиваем до нужного значения
времени. В столбце N вводим значение n=nm , а начиная с ячейки N30 n вычисляем по формуле
n=30*V*U1*U0/(p*r0).
В столбце O, начиная с ячейки O25 записываем формулу вычисления крутящего
момента
Ме=Мp*(a+b*(n/np)+c(n/np)2),
растягивая данную зависимость на определенное число ячеек получаем нужные
значения Ме. В столбце P начиная с ячейки P25 рассчитываем
Fko=0,9*Me*U1*U0*nt/r0.
Растягиваем данные значения до необходимых для дальнейшего вычисления.
В столбце M, начиная с
ячейки M25 рассчитываем значения силы
лобового сопротивления Fв=Cx*Ab*Ba*Ha*V2. Растягивая на необходимое число ячеек данную зависимость
получаем необходимые значения силы Fв. В столбце Q начиная с ячейки
Q25 рассчитываем значение
динамического фактора по формуле
D= (Fko-FB)/Ga.
Аналогично растягивая и данную зависимость получаем необходимые значения D.
В столбце L, начиная с ячейки L25 рассчитываем значения ускорения
=(g/d)*(D-f).
Также данную зависимость растягиваем до необходимого значения. В столбце
В в ячейке I25 задаемся начальной скоростью V=0, а начиная с ячейки I26 вычисляем значение скорости по
следующей формуле
V=a*(tn-tn-1)+ Vn-1.
Растягиваем данные значения до необходимых. Так как в данном столбце
происходит вычисление скорости в м/с, то в соседнем столбце J производится
перевод данной скорости в км/ч по формуле
V(км/ч)=V(м/с)*3.6.
В столбце K производим
вычисление перемещения, предварительно задавшись в ячейке K25 значением начального
перемещения S0=0. Начиная с ячейки K26 перемещение вычисляется по
формуле:
Sn=Sn-1+ Vn*(tn-tn-1)+an*((tn-tn-1)2)/2.
Аналогично делаем для следующих 4-х передач и для выбега.
Для построения графиков выделяется два необходимых столбца и с помощью
встроенного Мастера диаграмм строятся графики требуемых зависимостей.
5.2 Исходные данные
Таблица 2. Исходные данные.
|
Исходные данные
|
|
|
Автомобиль - Audi A4 1,9
TDI
|
|
|
Максимальная мощность
|
Nemax
|
90
|
л.с.
|
|
|
|
|
66,0
|
кВт
|
|
|
Обороты при максимальной
мощности
|
np
|
4000
|
об/мин
|
|
|
Максимальный крутящий
момент
|
Memax
|
210
|
Нм
|
|
|
Обороты при максимальном
крутящем моменте
|
nm
|
1900
|
об/мин
|
|
|
Посадочный диаметр колеса
|
d
|
15
|
inch
|
|
|
|
|
381,0
|
мм
|
|
|
Ширина шины
|
B
|
195
|
мм
|
|
|
Высота профиля шин
|
H
|
65
|
%
|
|
|
|
|
126,75
|
мм
|
|
|
Коэффициент сопротивления
качению
|
f
|
0,010
|
|
|
|
КПД трансмиссии (0.8-0.92)
|
nt
|
0,88
|
|
|
|
Число передач
|
nper
|
5
|
|
|
|
Передаточное отношение 1
передачи
|
U
|
3,45
|
|
|
|
Передаточное отношение 2
передачи
|
|
1,87
|
|
|
|
Передаточное отношение 3
передачи
|
|
1,15
|
|
|
|
Передаточное отношение 4
передачи
|
|
0,82
|
|
|
|
Передаточное отношение 5
передачи
|
|
0,66
|
|
|
|
Передаточное отношение
главной передачи
|
Uo
|
4,43
|
|
|
|
Коэффициент обтекаемости
|
Cx
|
0,15
|
|
|
Коэффициент заполнения
площади
|
Ab
|
0,78
|
|
|
Габаритная ширина
|
Ba
|
1,74
|
|
|
Габаритная высота
|
Ha
|
1,42
|
|
|
Масса
|
m
|
1360
|
|
|
Частота вращения на
холостом ходу
|
nn
|
900
|
|
|
Ускорение свободного
падения
|
g
|
9,82
|
|
|
|
|
|
|
|
Таблица №3. Промежуточные вычисления
|
Промежуточные вычисления
|
|
Сила сопротивления качению
|
Ff
|
133,42
|
Н
|
|
Сила тяжести автомобиля
|
Ga
|
13341,60
|
Н
|
|
Крутящий момент при
максимальной мощности
|
Mp
|
143,24
|
Нм
|
|
Радиус колеса
|
r0
|
0,32
|
м
|
|
Коэффициенты
|
Km
|
1,47
|
|
|
Максимально допустимые
скорости на данной передаче
|
Kw
|
2,32
|
|
|
a
|
1,20
|
|
|
b
|
1,25
|
|
|
c
|
-1,44
|
|
|
V1
|
34,28
|
км/ч
|
|
V2
|
63,24
|
км/ч
|
|
V3
|
102,83
|
км/ч
|
|
V4
|
км/ч
|
|
V5
|
179,18
|
км/ч
|
5.3 Алгоритм расчета разгона автомобиля
5.4 Алгоритм расчета выбега автомобиля
Таблица №4. Идентификаторы программы.
|
Наименование
|
Обозначение
|
|
В описании
|
В программе
|
|
Полная масса автомобиля
|
m
|
|
|
Габаритная ширина
|
Ba
|
|
|
Габаритная высота
|
Ha
|
|
|
Передаточное число главной
передачи
|
U0
|
|
|
Передаточное число коробки
передач
|
U
|
|
|
Максимальный крутящий
момент
|
Memax
|
|
|
при частоте вращения
|
nm
|
|
|
Максимальная мощность
|
Nemax
|
|
|
при частоте вращения
|
np
|
|
|
Посадочный диаметр шины
|
d
|
|
|
Ширина шины
|
B
|
|
|
Высота профиля шины
|
H
|
|
|
Радиус колеса
|
r0
|
|
|
Коэффициент сопротивления
качению
|
f
|
|
|
Частота вращения на
холостом ходу
|
nn
|
|
|
Коэффициент обтекаемости
|
Cx
|
|
|
Коэффициент заполнения
площади
|
Ab
|
|
|
КПД трансмиссии
|
nt
|
|
|
Ускорение свободного
падения
|
g
|
|
|
Коэффициент
приспосабливаемости по крутящему моменту
|
Km
|
|
|
Коэффициент
приспосабливаемости по мощности
|
Kw
|
|
|
Скорость автомобиля
|
V
|
|
|
Сила тяжести автомобиля
|
Ga
|
|
|
Коэффициент учёта
вращающихся масс
|
d
|
|
|
Частота вращения
коленчатого вала
|
n
|
|
|
Крутящий момент двигателя
|
Me
|
|
|
Мощность двигателя
|
Ne
|
|
|
Сила инерции
|
|
|
|
Сила тяги на колёсах
|
Fko
|
|
|
Сила лобового сопротивления
|
Fв
|
|
|
Динамический фактор
|
D
|
|
|
Пройденный путь
|
S
|
|
|
Ускорение автомобиля
|
j
|
|
|
Крутящий момент при
максимальной мощности
|
Mp
|
|
6. Результаты моделирования
Таблица 5. Результаты моделирования
|
Моделирование разгона и
выбега
|
|
t, с
|
v, м/с
|
V, км/ч
|
s, м
|
j, м/с2
|
Fв, Н
|
n, мин-1
|
Me, Нм
|
Fko, Н
|
Д
|
d
|
№п
|
|
начало разгона-включение I
передачи
|
|
0,0
|
0,00
|
0,00
|
0,00
|
3,86
|
0,00
|
1900
|
210,00
|
8048,63
|
0,6033
|
1,5061
|
1
|
|
0,2
|
0,77
|
2,78
|
0,08
|
3,86
|
0,18
|
1900
|
210,00
|
8048,63
|
0,6033
|
1,5061
|
1
|
|
0,4
|
1,55
|
5,56
|
0,31
|
3,86
|
0,74
|
1900
|
210,00
|
8048,63
|
0,6032
|
1,5061
|
1
|
|
0,6
|
2,32
|
8,35
|
0,70
|
3,86
|
1,66
|
1900
|
210,00
|
8048,63
|
0,6031
|
1,5061
|
1
|
|
0,8
|
3,09
|
11,13
|
1,24
|
3,86
|
2,95
|
1900
|
210,00
|
8048,63
|
0,6031
|
1,5061
|
1
|
|
1,0
|
3,86
|
13,91
|
1,93
|
3,86
|
4,61
|
1900
|
210,00
|
8048,63
|
0,6029
|
1,5061
|
1
|
|
1,2
|
4,64
|
16,69
|
2,78
|
3,86
|
6,64
|
1900
|
210,00
|
8048,63
|
0,6028
|
1,5061
|
1
|
|
1,4
|
5,41
|
19,47
|
3,78
|
3,79
|
9,03
|
2499
|
206,16
|
7901,59
|
0,5916
|
1,5061
|
1
|
|
1,6
|
6,17
|
22,20
|
4,94
|
3,68
|
11,74
|
2849
|
200,37
|
7679,60
|
0,5747
|
1,5061
|
1
|
|
1,8
|
6,90
|
24,85
|
6,24
|
3,52
|
14,71
|
3189
|
192,24
|
7367,99
|
0,5512
|
1,5061
|
1
|
|
2,0
|
7,61
|
27,38
|
7,69
|
3,33
|
17,87
|
3515
|
182,13
|
6980,59
|
0,5219
|
1,5061
|
1
|
|
2,2
|
8,27
|
29,78
|
9,27
|
3,11
|
21,14
|
3823
|
170,49
|
6534,18
|
0,4882
|
1,5061
|
1
|
|
2,4
|
8,90
|
32,03
|
10,99
|
2,88
|
24,45
|
4111
|
157,77
|
6046,91
|
0,4514
|
1,5061
|
1
|
|
2,6
|
9,47
|
34,10
|
12,82
|
2,62
|
27,71
|
4377
|
144,47
|
5536,89
|
0,4129
|
1,5061
|
1
|
|
2,8
|
10,00
|
35,99
|
14,76
|
2,37
|
30,87
|
4619
|
131,00
|
5020,84
|
0,3740
|
1,5061
|
1
|
|
выключение I передачи
|
|
2,9
|
10,24
|
36,88
|
15,61
|
-0,12
|
32,41
|
4733
|
0,00
|
0,00
|
-0,0024
|
1,03
|
N
|
|
3,0
|
10,23
|
36,83
|
16,63
|
-0,12
|
32,33
|
4728
|
0,00
|
0,00
|
-0,0024
|
1,03
|
N
|
|
3,1
|
10,22
|
36,79
|
17,65
|
-0,12
|
32,26
|
4723
|
0,00
|
0,00
|
-0,0024
|
1,03
|
N
|
|
3,2
|
10,21
|
36,75
|
18,67
|
-0,12
|
32,18
|
4717
|
0,00
|
0,00
|
-0,0024
|
1,03
|
N
|
|
3,3
|
10,20
|
36,70
|
19,69
|
-0,12
|
32,11
|
4712
|
0,00
|
0,00
|
-0,0024
|
1,03
|
N
|
|
3,4
|
10,18
|
36,66
|
20,71
|
-0,12
|
32,04
|
4706
|
0,00
|
0,00
|
-0,0024
|
1,03
|
N
|
|
3,5
|
10,17
|
36,62
|
-0,12
|
31,96
|
4701
|
0,00
|
0,00
|
-0,0024
|
1,03
|
N
|
|
3,6
|
10,16
|
36,58
|
22,75
|
-0,12
|
31,89
|
4695
|
0,00
|
0,00
|
-0,0024
|
1,03
|
N
|
|
3,7
|
10,15
|
36,53
|
23,76
|
-0,12
|
31,81
|
4690
|
0,00
|
0,00
|
-0,0024
|
1,03
|
N
|
|
включение II передачи
|
|
3,8
|
10,14
|
36,49
|
24,79
|
2,58
|
31,74
|
2539
|
205,64
|
4271,96
|
0,3178
|
1,169876
|
2
|
|
4,0
|
10,65
|
38,35
|
26,86817
|
2,55
|
35,05386
|
2668
|
203,69
|
4231,57
|
0,3145
|
1,169876
|
2
|
|
4,2
|
11,16
|
40,19
|
29,04921
|
2,52
|
38,4957
|
2796
|
201,42
|
4184,31
|
0,3107
|
1,169876
|
2
|
|
4,4
|
11,67
|
42,01
|
31,33169
|
2,49
|
42,05273
|
2923
|
198,83
|
4130,51
|
0,3064
|
1,169876
|
2
|
|
4,6
|
12,17
|
43,80
|
33,71423
|
2,45
|
45,71273
|
3047
|
195,94
|
4070,55
|
0,3017
|
1,169876
|
2
|
|
4,8
|
12,65
|
45,56
|
36,19534
|
2,40
|
49,46287
|
3170
|
192,78
|
4004,84
|
0,2965
|
1,169876
|
2
|
|
5,0
|
13,13
|
47,29
|
38,77334
|
2,36
|
53,28996
|
3290
|
189,36
|
3933,81
|
0,2909
|
1,169876
|
2
|
|
5,2
|
13,61
|
48,98
|
41,44643
|
2,31
|
57,18052
|
3408
|
185,71
|
3857,93
|
0,2849
|
1,169876
|
2
|
|
5,4
|
14,07
|
50,64
|
44,21266
|
2,25
|
61,12097
|
3523
|
181,84
|
3777,68
|
0,2786
|
1,169876
|
2
|
|
5,6
|
14,52
|
52,26
|
47,06999
|
2,20
|
65,09777
|
3636
|
177,80
|
3693,56
|
0,2720
|
1,169876
|
2
|
|
5,8
|
14,96
|
53,84
|
50,01625
|
2,14
|
69,09754
|
3746
|
173,58
|
3606,07
|
0,2651
|
1,169876
|
2
|
|
6,0
|
15,38
|
55,38
|
53,04919
|
2,08
|
73,10721
|
3854
|
169,23
|
3515,70
|
0,2580
|
1,169876
|
2
|
|
6,2
|
15,80
|
56,88
|
56,16649
|
2,02
|
77,11411
|
3958
|
164,77
|
3422,95
|
0,2508
|
1,169876
|
2
|
|
6,4
|
16,20
|
58,34
|
59,36574
|
1,96
|
81,10611
|
4059
|
160,21
|
3328,31
|
0,2434
|
1,169876
|
2
|
|
6,6
|
16,60
|
59,74
|
62,64449
|
1,89
|
85,07168
|
4157
|
155,59
|
3232,23
|
0,2359
|
1,169876
|
2
|
|
6,8
|
16,97
|
61,11
|
66,00026
|
1,83
|
88,99997
|
4252
|
150,92
|
3135,18
|
0,2283
|
1,169876
|
2
|
|
7,0
|
17,34
|
62,43
|
69,43053
|
1,77
|
92,8809
|
4343
|
146,22
|
3037,58
|
0,2207
|
1,169876
|
2
|
|
7,2
|
17,69
|
63,70
|
72,93274
|
1,70
|
96,70516
|
4432
|
141,51
|
2939,85
|
0,2131
|
1,169876
|
2
|
|
выключение II передачи
|
|
7,3
|
17,86
|
64,31
|
74,70133
|
-0,17
|
98,57576
|
4475
|
0
|
0,00
|
-0,0074
|
1,03
|
N
|
|
7,4
|
17,85
|
64,25
|
76,48695
|
-0,17
|
98,39307
|
4471
|
0
|
0,00
|
-0,0074
|
1,03
|
N
|
|
7,5
|
17,83
|
64,19
|
78,27091
|
-0,17
|
98,2107
|
4466
|
0
|
0,00
|
-0,0074
|
1,03
|
N
|
|
7,6
|
17,81
|
64,13
|
80,05322
|
-0,17
|
98,02864
|
4462
|
0
|
0,00
|
-0,0073
|
1,03
|
N
|
|
7,7
|
17,80
|
64,07
|
81,83388
|
-0,17
|
97,84689
|
4458
|
0
|
0,00
|
-0,0073
|
1,03
|
N
|
|
7,8
|
17,78
|
64,01
|
83,61289
|
-0,16
|
97,66545
|
4454
|
0
|
0,00
|
-0,0073
|
1,03
|
N
|
|
7,9
|
17,77
|
63,96
|
85,39024
|
-0,16
|
97,48433
|
4450
|
0
|
0,00
|
-0,0073
|
1,03
|
N
|
|
8,0
|
17,75
|
63,90
|
87,16595
|
-0,16
|
97,30351
|
4446
|
0
|
0,00
|
-0,0073
|
1,03
|
N
|
|
8,1
|
17,73
|
63,84
|
88,94001
|
97,123
|
4442
|
0
|
0,00
|
-0,0073
|
1,03
|
N
|
|
включение III передачи
|
|
8,2
|
17,72
|
63,78
|
90,72125
|
1,60
|
96,9428
|
2729
|
202,66
|
2589,10
|
0,1868
|
1,0829
|
3
|
|
8,4
|
18,04
|
64,93
|
94,29625
|
1,59
|
100,4801
|
2778
|
201,76
|
2577,61
|
0,1857
|
1,0829
|
3
|
|
8,6
|
18,35
|
66,08
|
97,93511
|
1,58
|
104,0577
|
2827
|
200,81
|
2565,53
|
0,1845
|
1,0829
|
3
|
|
8,8
|
18,67
|
67,21
|
101,6374
|
1,57
|
107,6733
|
2876
|
199,82
|
2552,88
|
0,1833
|
1,0829
|
3
|
|
9,0
|
18,98
|
68,34
|
105,4027
|
1,56
|
111,3248
|
2924
|
198,79
|
2539,68
|
0,1820
|
1,0829
|
3
|
|
9,2
|
19,30
|
69,47
|
109,2305
|
1,55
|
115,0098
|
2972
|
197,72
|
2525,94
|
0,1807
|
1,0829
|
3
|
|
9,4
|
19,61
|
70,58
|
113,1205
|
1,53
|
118,7262
|
3020
|
196,60
|
2511,69
|
0,1794
|
1,0829
|
3
|
|
9,6
|
19,91
|
71,68
|
117,072
|
1,52
|
122,4717
|
3067
|
195,45
|
2496,93
|
0,1780
|
1,0829
|
3
|
|
9,8
|
20,22
|
72,78
|
121,0847
|
1,51
|
126,244
|
3114
|
194,25
|
2481,70
|
0,1765
|
1,0829
|
3
|
|
10,0
|
20,52
|
73,87
|
125,1579
|
1,50
|
130,0407
|
3161
|
193,02
|
2466,00
|
0,1751
|
1,0829
|
3
|
|
10,2
|
20,82
|
74,94
|
129,2912
|
1,48
|
133,8597
|
3207
|
191,76
|
2449,85
|
0,1736
|
1,0829
|
3
|
|
10,4
|
21,11
|
76,01
|
133,4841
|
1,47
|
137,6985
|
3252
|
190,46
|
2433,29
|
0,1721
|
1,0829
|
3
|
|
10,6
|
21,41
|
77,07
|
137,736
|
1,45
|
141,555
|
3298
|
189,13
|
2416,31
|
0,1705
|
1,0829
|
3
|
|
10,8
|
21,70
|
78,11
|
142,0463
|
1,44
|
145,4269
|
3342
|
187,78
|
2398,95
|
0,1689
|
1,0829
|
3
|
|
11,0
|
21,99
|
79,15
|
146,4145
|
1,42
|
149,3118
|
3387
|
186,39
|
2381,22
|
0,1673
|
1,0829
|
3
|
|
11,2
|
22,27
|
80,18
|
150,8399
|
1,41
|
153,2075
|
3431
|
184,97
|
2363,15
|
0,1656
|
1,0829
|
3
|
|
11,4
|
22,55
|
81,19
|
155,3221
|
1,39
|
157,1118
|
3474
|
183,53
|
2344,74
|
0,1640
|
1,0829
|
3
|
|
11,6
|
22,83
|
82,20
|
159,8603
|
1,38
|
161,0225
|
3517
|
182,07
|
2326,03
|
0,1623
|
1,0829
|
3
|
|
11,8
|
23,11
|
83,19
|
164,4541
|
1,36
|
164,9374
|
3560
|
180,58
|
2307,02
|
0,1606
|
1,0829
|
3
|
|
12,0
|
23,38
|
84,17
|
169,1026
|
1,35
|
168,8544
|
3602
|
179,07
|
2287,75
|
0,1588
|
1,0829
|
3
|
|
12,2
|
23,65
|
85,14
|
173,8055
|
1,33
|
172,7713
|
3643
|
177,54
|
2268,22
|
0,1571
|
1,0829
|
3
|
|
12,4
|
23,92
|
86,10
|
178,5619
|
1,32
|
176,6861
|
3684
|
176,00
|
2248,47
|
0,1553
|
1,0829
|
3
|
|
12,6
|
24,18
|
87,05
|
183,3713
|
1,30
|
180,5968
|
3725
|
174,43
|
2228,50
|
0,1535
|
1,0829
|
3
|
|
12,8
|
24,44
|
87,98
|
188,233
|
1,28
|
184,5012
|
3765
|
172,86
|
2208,33
|
0,1517
|
1,0829
|
3
|
|
13,0
|
24,70
|
88,91
|
193,1464
|
1,27
|
188,3976
|
3804
|
171,26
|
2187,99
|
0,1499
|
1,0829
|
3
|
|
13,2
|
24,95
|
89,82
|
198,1108
|
1,25
|
192,284
|
3843
|
169,66
|
2167,49
|
0,1480
|
1,0829
|
3
|
|
13,4
|
25,20
|
90,72
|
203,1255
|
1,23
|
196,1584
|
3882
|
168,04
|
2146,86
|
0,1462
|
1,0829
|
3
|
|
13,6
|
25,45
|
91,61
|
208,19
|
1,22
|
200,0192
|
3920
|
166,42
|
2126,09
|
0,1444
|
1,0829
|
3
|
|
13,8
|
25,69
|
92,49
|
213,3034
|
1,20
|
203,8645
|
164,79
|
2105,23
|
0,1425
|
1,0829
|
3
|
|
14,0
|
25,93
|
93,35
|
218,4652
|
1,18
|
207,6927
|
3994
|
163,14
|
2084,27
|
0,1407
|
1,0829
|
3
|
|
14,2
|
26,17
|
94,20
|
223,6747
|
1,17
|
211,5021
|
4031
|
161,50
|
2063,25
|
0,1388
|
1,0829
|
3
|
|
14,4
|
26,40
|
95,04
|
228,9312
|
1,15
|
215,2911
|
4067
|
159,85
|
2042,17
|
0,1369
|
1,0829
|
3
|
|
14,6
|
26,63
|
95,87
|
234,2341
|
1,13
|
219,0581
|
4102
|
158,20
|
2021,05
|
0,1351
|
1,0829
|
3
|
|
14,8
|
26,86
|
96,69
|
239,5826
|
1,12
|
222,8018
|
4137
|
156,54
|
1999,90
|
0,1332
|
1,0829
|
3
|
|
15,0
|
27,08
|
97,49
|
244,976
|
1,10
|
226,5206
|
4171
|
154,88
|
1978,74
|
0,1313
|
1,0829
|
3
|
|
15,2
|
27,30
|
98,28
|
250,4138
|
1,08
|
230,2133
|
4205
|
153,23
|
1957,59
|
0,1295
|
1,0829
|
3
|
|
15,4
|
27,52
|
99,06
|
255,8952
|
1,07
|
233,8784
|
4239
|
151,57
|
1936,46
|
0,1276
|
1,0829
|
3
|
|
15,6
|
27,73
|
99,83
|
261,4196
|
1,05
|
237,5148
|
4271
|
149,92
|
1915,36
|
0,1258
|
1,0829
|
3
|
|
15,8
|
27,94
|
100,58
|
266,9862
|
1,03
|
241,1212
|
4304
|
148,28
|
1894,31
|
0,1239
|
1,0829
|
3
|
|
16,0
|
28,15
|
101,33
|
272,5945
|
1,02
|
244,6966
|
4336
|
146,63
|
1873,31
|
0,1221
|
1,0829
|
3
|
|
16,2
|
28,35
|
102,06
|
278,2437
|
1,00
|
248,2399
|
4367
|
144,99
|
1852,38
|
0,1202
|
1,0829
|
3
|
|
16,4
|
28,55
|
102,85
|
283,9332
|
0,98
|
251,75
|
4398
|
143,36
|
1831,54
|
0,1184
|
1,0829
|
3
|
|
выключение III передачи
|
|
16,5
|
28,65
|
103,14
|
286,736
|
-0,28
|
253,5143
|
4413
|
0
|
0,00
|
-0,0190
|
1,03
|
N
|
|
16,6
|
28,62
|
103,04
|
289,5995
|
-0,28
|
253,0257
|
4409
|
0
|
0,00
|
-0,0190
|
1,03
|
N
|
|
16,7
|
28,59
|
102,94
|
292,4602
|
-0,28
|
252,5381
|
4404
|
0
|
0,00
|
-0,0189
|
1,03
|
N
|
|
16,8
|
28,57
|
102,84
|
295,3182
|
-0,28
|
252,0517
|
4400
|
0
|
0,00
|
-0,0189
|
1,03
|
N
|
|
16,9
|
28,54
|
102,74
|
298,1735
|
-0,27
|
251,5663
|
4396
|
0
|
0,00
|
-0,0189
|
1,03
|
N
|
|
17,0
|
28,51
|
102,64
|
301,0259
|
-0,27
|
251,082
|
4392
|
0
|
0,00
|
-0,0188
|
1,03
|
N
|
|
17,1
|
28,48
|
102,54
|
303,8757
|
-0,27
|
250,5988
|
4388
|
0
|
0,00
|
-0,0188
|
1,03
|
N
|
|
17,2
|
28,46
|
102,44
|
306,7227
|
-0,27
|
250,1167
|
4383
|
0
|
0,00
|
-0,0187
|
1,03
|
N
|
|
17,3
|
28,43
|
102,34
|
309,5669
|
-0,27
|
249,6356
|
4379
|
0
|
0,00
|
-0,0187
|
1,03
|
N
|
|
включение IV передачи
|
|
17,4
|
28,40
|
102,25
|
312,4171
|
1,46
|
249,1556
|
3119
|
194,11
|
2479,92
|
0,1672
|
1,056896
|
4
|
|
17,6
|
28,69
|
103,30
|
318,1165
|
0,96
|
254,3021
|
3152
|
193,27
|
1760,58
|
0,1129
|
1,056896
|
4
|
|
17,8
|
28,88
|
103,98
|
323,8741
|
0,95
|
257,6994
|
3173
|
192,70
|
1755,43
|
0,1123
|
1,056896
|
4
|
|
18,0
|
29,07
|
104,67
|
329,6698
|
0,94
|
261,0978
|
3193
|
192,13
|
1750,22
|
0,1116
|
1,056896
|
4
|
|
18,2
|
29,26
|
105,35
|
335,5034
|
0,94
|
264,4969
|
3214
|
191,55
|
1744,96
|
0,1110
|
1,056896
|
4
|
|
18,4
|
29,45
|
106,02
|
341,3746
|
0,93
|
267,896
|
3235
|
190,97
|
1739,66
|
0,1103
|
1,056896
|
4
|
|
18,6
|
29,64
|
106,69
|
347,2831
|
0,93
|
271,2946
|
3255
|
1734,30
|
0,1097
|
1,056896
|
4
|
|
18,8
|
29,82
|
107,36
|
353,2288
|
0,92
|
274,6923
|
3275
|
189,79
|
1728,90
|
0,1090
|
1,056896
|
4
|
|
19,0
|
30,01
|
108,02
|
359,2113
|
0,91
|
278,0884
|
3296
|
189,19
|
1723,46
|
0,1083
|
1,056896
|
4
|
|
19,2
|
30,19
|
108,68
|
365,2305
|
0,91
|
281,4824
|
3316
|
188,59
|
1717,98
|
0,1077
|
1,056896
|
4
|
|
19,4
|
30,37
|
109,33
|
371,286
|
0,90
|
284,8738
|
3336
|
187,98
|
1712,45
|
0,1070
|
1,056896
|
4
|
|
19,6
|
30,55
|
109,98
|
377,3777
|
0,89
|
288,2621
|
3355
|
187,37
|
1706,89
|
0,1063
|
1,056896
|
4
|
|
19,8
|
30,73
|
110,62
|
383,5053
|
0,89
|
291,6468
|
3375
|
186,76
|
1701,29
|
0,1057
|
1,056896
|
4
|
|
20,0
|
30,91
|
111,26
|
389,6686
|
0,88
|
295,0274
|
3395
|
186,14
|
1695,65
|
0,1050
|
1,056896
|
4
|
|
20,2
|
31,08
|
111,89
|
395,8672
|
0,88
|
298,4034
|
3414
|
185,52
|
1689,98
|
0,1043
|
1,056896
|
4
|
|
20,4
|
31,26
|
112,52
|
402,1009
|
0,87
|
301,7743
|
3433
|
184,89
|
1684,28
|
0,1036
|
1,056896
|
4
|
|
20,6
|
31,43
|
113,15
|
408,3696
|
0,86
|
305,1396
|
3452
|
184,26
|
1678,55
|
0,1029
|
1,056896
|
4
|
|
20,8
|
31,60
|
113,77
|
414,6728
|
0,86
|
308,4988
|
3471
|
183,63
|
1672,79
|
0,1023
|
1,056896
|
4
|
|
21,0
|
31,77
|
114,39
|
421,0105
|
0,85
|
311,8515
|
3490
|
182,99
|
1667,00
|
0,1016
|
1,056896
|
4
|
|
21,2
|
31,94
|
115,00
|
427,3823
|
0,84
|
315,1973
|
3509
|
182,36
|
1661,19
|
0,1009
|
1,056896
|
4
|
|
21,4
|
32,11
|
115,61
|
433,7879
|
0,84
|
318,5356
|
3527
|
181,72
|
1655,35
|
0,1002
|
1,056896
|
4
|
|
21,6
|
32,28
|
116,21
|
440,2272
|
0,83
|
321,8661
|
3546
|
181,07
|
1649,50
|
0,0995
|
1,056896
|
4
|
|
21,8
|
32,45
|
116,81
|
446,6998
|
0,82
|
325,1882
|
3564
|
180,43
|
1643,62
|
0,0988
|
1,056896
|
4
|
|
22,0
|
32,61
|
117,40
|
453,2055
|
0,82
|
328,5016
|
3582
|
179,78
|
1637,72
|
0,0981
|
1,056896
|
4
|
|
22,2
|
32,78
|
117,99
|
459,7441
|
0,81
|
331,8059
|
3600
|
179,13
|
1631,81
|
0,0974
|
1,056896
|
4
|
|
22,4
|
32,94
|
118,58
|
466,3153
|
0,81
|
335,1006
|
3618
|
178,48
|
1625,88
|
0,0967
|
1,056896
|
4
|
|
22,6
|
33,10
|
119,16
|
472,9188
|
0,80
|
338,3854
|
3635
|
177,83
|
1619,94
|
0,0961
|
1,056896
|
4
|
|
22,8
|
33,26
|
119,73
|
479,5544
|
0,79
|
341,6597
|
3653
|
177,17
|
1613,98
|
0,0954
|
1,056896
|
4
|
|
23,0
|
33,42
|
120,30
|
486,2218
|
0,79
|
344,9234
|
3670
|
176,52
|
1608,01
|
0,0947
|
1,056896
|
4
|
|
23,2
|
33,57
|
120,87
|
492,9207
|
0,78
|
348,1759
|
3688
|
175,86
|
1602,03
|
0,0940
|
1,056896
|
4
|
|
23,4
|
33,73
|
121,43
|
499,651
|
0,77
|
351,4169
|
3705
|
175,21
|
1596,05
|
0,0933
|
1,056896
|
4
|
|
23,6
|
33,88
|
121,98
|
506,4124
|
0,77
|
354,646
|
3722
|
174,55
|
1590,05
|
0,0926
|
1,056896
|
4
|
|
23,8
|
34,04
|
122,54
|
513,2045
|
0,76
|
357,8629
|
3739
|
173,89
|
1584,06
|
0,0919
|
1,056896
|
4
|
|
24,0
|
34,19
|
123,08
|
520,0272
|
0,75
|
361,0673
|
3755
|
173,23
|
1578,05
|
0,0912
|
1,056896
|
4
|
|
24,2
|
34,34
|
123,63
|
526,8801
|
0,75
|
364,2588
|
3772
|
172,57
|
1572,05
|
0,0905
|
1,056896
|
4
|
|
24,4
|
34,49
|
124,16
|
533,7631
|
0,74
|
367,437
|
3788
|
171,91
|
1566,04
|
0,0898
|
4
|
|
24,6
|
34,64
|
124,70
|
540,6758
|
0,73
|
370,6017
|
3805
|
171,25
|
1560,03
|
0,0892
|
1,056896
|
4
|
|
24,8
|
34,79
|
125,23
|
547,6181
|
0,73
|
373,7526
|
3821
|
170,59
|
1554,02
|
0,0885
|
1,056896
|
4
|
|
25,0
|
34,93
|
125,75
|
554,5896
|
0,72
|
376,8892
|
3837
|
169,93
|
1548,02
|
0,0878
|
1,056896
|
4
|
|
25,2
|
35,08
|
126,27
|
561,5901
|
0,72
|
380,0115
|
3853
|
169,27
|
1542,01
|
0,0871
|
1,056896
|
4
|
|
25,4
|
35,22
|
126,79
|
568,6194
|
0,71
|
383,1189
|
3868
|
168,62
|
1536,02
|
0,0864
|
1,056896
|
4
|
|
25,6
|
35,36
|
127,30
|
575,6772
|
0,70
|
386,2114
|
3884
|
167,96
|
1530,02
|
0,0857
|
1,056896
|
4
|
|
25,8
|
35,50
|
127,80
|
582,7632
|
0,70
|
389,2886
|
3899
|
167,30
|
1524,04
|
0,0851
|
1,056896
|
4
|
|
26,0
|
35,64
|
128,31
|
589,8772
|
0,69
|
392,3502
|
3915
|
166,64
|
1518,06
|
0,0844
|
1,056896
|
4
|
|
26,2
|
35,78
|
128,80
|
597,019
|
0,68
|
395,396
|
3930
|
165,99
|
1512,09
|
0,0837
|
1,056896
|
4
|
|
26,4
|
35,92
|
129,29
|
604,1882
|
0,68
|
398,4257
|
3945
|
165,34
|
1506,14
|
0,0830
|
1,056896
|
4
|
|
26,6
|
36,05
|
129,78
|
611,3847
|
0,67
|
401,4392
|
3960
|
164,68
|
1500,19
|
0,0824
|
1,056896
|
4
|
|
26,8
|
36,19
|
130,27
|
618,6082
|
0,67
|
404,4362
|
3974
|
164,03
|
1494,25
|
0,0817
|
1,056896
|
4
|
|
27,0
|
36,32
|
130,75
|
625,8584
|
0,66
|
407,4164
|
3989
|
163,38
|
1488,33
|
0,0810
|
1,056896
|
4
|
|
27,2
|
36,45
|
131,22
|
633,1351
|
0,65
|
410,3796
|
4004
|
162,73
|
1482,42
|
0,0804
|
1,056896
|
4
|
|
27,4
|
36,58
|
131,69
|
640,438
|
0,65
|
413,3257
|
4018
|
162,09
|
1476,53
|
0,0797
|
1,056896
|
4
|
|
27,6
|
36,71
|
132,16
|
647,767
|
0,64
|
416,2545
|
4032
|
161,44
|
1470,65
|
0,0790
|
1,056896
|
4
|
|
27,8
|
36,84
|
132,62
|
655,1217
|
0,63
|
419,1657
|
4046
|
160,80
|
1464,79
|
0,0784
|
1,056896
|
4
|
|
28,0
|
36,97
|
133,07
|
662,5019
|
0,63
|
422,0591
|
4060
|
160,16
|
1458,95
|
0,0777
|
1,056896
|
4
|
|
28,2
|
37,09
|
133,53
|
669,9073
|
0,62
|
424,9347
|
4074
|
159,52
|
1453,13
|
0,0771
|
1,056896
|
4
|
|
28,4
|
37,22
|
133,98
|
677,3378
|
0,62
|
427,7922
|
4088
|
158,88
|
1447,33
|
0,0764
|
1,056896
|
4
|
|
28,6
|
37,34
|
134,42
|
684,7931
|
0,61
|
430,6315
|
4101
|
158,24
|
1441,54
|
0,0758
|
1,056896
|
4
|
|
28,8
|
37,46
|
134,86
|
692,2729
|
0,60
|
433,4525
|
4115
|
157,61
|
1435,78
|
0,0751
|
1,056896
|
4
|
|
29,0
|
37,58
|
135,29
|
699,777
|
0,60
|
436,2548
|
4128
|
156,98
|
1430,04
|
0,0745
|
1,056896
|
4
|
|
29,2
|
37,70
|
135,72
|
707,3052
|
0,59
|
439,0386
|
4141
|
156,35
|
1424,32
|
0,0739
|
1,056896
|
4
|
|
29,4
|
37,82
|
136,15
|
714,8572
|
0,59
|
441,8035
|
4154
|
155,73
|
1418,63
|
0,0732
|
1,056896
|
4
|
|
29,6
|
37,94
|
136,57
|
722,4328
|
0,58
|
444,5496
|
4167
|
155,11
|
1412,96
|
0,0726
|
1,056896
|
4
|
|
29,8
|
38,05
|
136,99
|
730,0317
|
0,58
|
447,2766
|
4180
|
154,49
|
1407,31
|
0,0720
|
1,056896
|
4
|
|
30,0
|
38,17
|
137,41
|
737,6538
|
0,57
|
449,9845
|
4192
|
153,87
|
1401,69
|
0,0713
|
1,056896
|
4
|
|
30,2
|
38,28
|
137,82
|
745,2987
|
0,56
|
452,6732
|
4205
|
153,26
|
1396,09
|
0,0707
|
1,056896
|
4
|
|
30,4
|
138,22
|
752,9663
|
0,56
|
455,3425
|
4217
|
152,64
|
1390,53
|
0,0701
|
1,056896
|
4
|
|
30,6
|
38,51
|
138,62
|
760,6564
|
0,55
|
457,9924
|
4229
|
152,04
|
1384,99
|
0,0695
|
1,056896
|
4
|
|
30,8
|
38,62
|
139,02
|
768,3686
|
0,55
|
460,6229
|
4242
|
151,43
|
1379,47
|
0,0689
|
1,056896
|
4
|
|
31,0
|
38,73
|
139,41
|
776,1028
|
0,54
|
463,2337
|
4254
|
150,83
|
1373,99
|
0,0683
|
1,056896
|
4
|
|
|
31,2
|
38,83
|
139,80
|
783,8588
|
0,54
|
465,8249
|
4265
|
150,23
|
1368,53
|
0,0677
|
1,056896
|
4
|
|
|
31,4
|
38,94
|
140,19
|
791,6362
|
0,53
|
468,3964
|
4277
|
149,63
|
1363,11
|
0,0671
|
1,056896
|
4
|
|
|
31,6
|
39,05
|
140,57
|
799,435
|
0,52
|
470,9481
|
4289
|
149,04
|
1357,71
|
0,0665
|
1,056896
|
4
|
|
|
31,8
|
39,15
|
140,95
|
807,2548
|
0,52
|
473,48
|
4300
|
148,45
|
1352,35
|
0,0659
|
1,056896
|
4
|
|
|
32,0
|
39,26
|
141,32
|
815,0955
|
0,51
|
475,9921
|
4312
|
147,87
|
1347,01
|
0,0653
|
1,056896
|
4
|
|
|
32,2
|
39,36
|
141,69
|
822,9569
|
0,51
|
478,4842
|
4323
|
147,29
|
1341,71
|
0,0647
|
1,056896
|
4
|
|
|
32,4
|
39,46
|
142,06
|
830,8386
|
0,50
|
480,9565
|
4334
|
146,71
|
1336,44
|
0,0641
|
1,056896
|
4
|
|
|
32,6
|
39,56
|
142,42
|
838,7406
|
0,50
|
483,4087
|
4345
|
146,13
|
1331,20
|
0,0635
|
1,056896
|
4
|
|
|
32,8
|
39,66
|
142,78
|
846,6625
|
0,49
|
485,841
|
4356
|
145,56
|
1325,99
|
0,0630
|
1,056896
|
4
|
|
|
33,0
|
39,76
|
143,13
|
854,6042
|
0,49
|
488,2532
|
4367
|
144,99
|
1320,82
|
0,0624
|
1,056896
|
4
|
|
|
33,2
|
39,86
|
143,48
|
862,5655
|
0,48
|
490,6455
|
4378
|
144,43
|
1315,67
|
0,0618
|
1,056896
|
4
|
|
|
33,4
|
39,95
|
143,83
|
870,5462
|
0,48
|
493,0177
|
4388
|
143,87
|
1310,57
|
0,0613
|
1,056896
|
4
|
|
|
33,6
|
40,05
|
144,17
|
878,5459
|
0,47
|
495,3699
|
4399
|
143,31
|
1305,49
|
0,0607
|
1,056896
|
4
|
|
|
33,8
|
40,14
|
144,51
|
886,5646
|
0,47
|
497,7021
|
4409
|
142,76
|
1300,45
|
0,0602
|
1,056896
|
4
|
|
|
выключение IV передачи
|
|
|
33,9
|
40,19
|
144,68
|
890,5765
|
-0,45
|
498,8575
|
4414
|
0
|
0,00
|
-0,0374
|
1,03
|
N
|
|
|
34,0
|
40,14
|
144,51
|
894,593
|
-0,45
|
497,7375
|
4409
|
0
|
0,00
|
-0,0373
|
1,03
|
N
|
|
|
34,1
|
40,10
|
144,35
|
898,605
|
-0,45
|
496,6208
|
4404
|
0
|
0,00
|
-0,0372
|
1,03
|
N
|
|
|
34,2
|
40,05
|
144,19
|
902,6125
|
-0,45
|
495,5073
|
4399
|
0
|
0,00
|
-0,0371
|
1,03
|
N
|
|
|
34,3
|
40,01
|
144,03
|
906,6156
|
-0,45
|
494,3971
|
4394
|
0
|
0,00
|
-0,0371
|
1,03
|
N
|
|
|
34,4
|
39,96
|
143,87
|
910,6141
|
-0,45
|
493,29
|
4389
|
0
|
0,00
|
-0,0370
|
1,03
|
N
|
|
|
34,5
|
39,92
|
143,71
|
914,6081
|
-0,45
|
492,1861
|
4384
|
0
|
0,00
|
-0,0369
|
1,03
|
N
|
|
|
34,6
|
39,87
|
143,54
|
918,5977
|
-0,45
|
491,0854
|
4380
|
0
|
0,00
|
-0,0368
|
1,03
|
N
|
|
|
34,7
|
39,83
|
143,38
|
922,5828
|
-0,45
|
489,9879
|
4375
|
0
|
0,00
|
-0,0367
|
1,03
|
N
|
|
|
включение V передачи
|
|
|
34,8
|
39,78
|
143,22
|
926,5694
|
0,73
|
488,8935
|
3517
|
182,07
|
1658,53
|
0,0877
|
1,047424
|
5
|
|
|
35,0
|
39,93
|
143,75
|
934,5407
|
0,72
|
492,4757
|
3530
|
181,62
|
1654,47
|
0,0871
|
1,047424
|
5
|
|
|
35,2
|
40,07
|
942,541
|
0,72
|
496,0444
|
3543
|
181,17
|
1650,40
|
0,0865
|
1,047424
|
5
|
|
|
35,4
|
40,22
|
144,78
|
950,57
|
0,71
|
499,5993
|
3555
|
180,73
|
1646,34
|
0,0860
|
1,047424
|
5
|
|
|
35,6
|
40,36
|
145,30
|
958,6277
|
0,71
|
503,1402
|
3568
|
180,28
|
1642,27
|
0,0854
|
1,047424
|
5
|
|
|
35,8
|
40,50
|
145,80
|
966,7137
|
0,70
|
506,6669
|
3580
|
179,83
|
1638,20
|
0,0848
|
1,047424
|
5
|
|
|
36,0
|
40,64
|
146,31
|
974,8278
|
0,70
|
510,1792
|
3593
|
179,39
|
1634,13
|
0,0842
|
1,047424
|
5
|
|
|
36,2
|
40,78
|
146,81
|
982,9698
|
0,69
|
513,6768
|
3605
|
178,94
|
1630,07
|
0,0837
|
1,047424
|
5
|
|
|
36,4
|
40,92
|
147,31
|
991,1396
|
0,68
|
517,1595
|
3617
|
178,49
|
1626,00
|
0,0831
|
1,047424
|
5
|
|
|
36,6
|
41,06
|
147,80
|
999,3368
|
0,68
|
520,6271
|
3629
|
178,05
|
1621,94
|
0,0825
|
1,047424
|
5
|
|
|
36,8
|
41,19
|
148,29
|
1007,561
|
0,67
|
524,0794
|
3641
|
177,60
|
1617,89
|
0,0820
|
1,047424
|
5
|
|
|
37,0
|
41,33
|
148,77
|
1015,813
|
0,67
|
527,5161
|
3653
|
177,16
|
1613,83
|
0,0814
|
1,047424
|
5
|
|
|
37,2
|
41,46
|
149,26
|
1024,091
|
0,66
|
530,9372
|
3665
|
176,71
|
1609,78
|
0,0809
|
1,047424
|
5
|
|
|
37,4
|
41,59
|
149,73
|
1032,397
|
0,66
|
534,3424
|
3677
|
176,27
|
1605,74
|
0,0803
|
1,047424
|
5
|
|
|
37,6
|
41,72
|
150,21
|
1040,728
|
0,65
|
537,7314
|
3689
|
175,83
|
1601,70
|
0,0797
|
1,047424
|
5
|
|
|
37,8
|
41,85
|
150,68
|
1049,086
|
0,65
|
541,1043
|
3700
|
175,38
|
1597,66
|
0,0792
|
1,047424
|
5
|
|
|
38,0
|
41,98
|
151,14
|
1057,47
|
0,64
|
544,4607
|
3712
|
174,94
|
1593,64
|
0,0786
|
1,047424
|
5
|
|
|
38,2
|
42,11
|
151,61
|
1065,879
|
0,64
|
547,8005
|
3723
|
174,50
|
1589,62
|
0,0781
|
1,047424
|
5
|
|
|
38,4
|
42,24
|
152,07
|
1074,315
|
0,63
|
551,1236
|
3734
|
174,06
|
1585,60
|
0,0775
|
1,047424
|
5
|
|
|
38,6
|
42,37
|
152,52
|
1082,775
|
0,63
|
554,4297
|
3745
|
173,62
|
1581,60
|
0,0770
|
1,047424
|
5
|
|
|
38,8
|
42,49
|
152,97
|
1091,261
|
0,62
|
557,7188
|
3757
|
173,18
|
1577,60
|
0,0764
|
1,047424
|
5
|
|
|
39,0
|
42,62
|
153,42
|
1099,772
|
0,62
|
560,9907
|
3768
|
172,74
|
1573,62
|
0,0759
|
1,047424
|
5
|
|
|
39,2
|
42,74
|
153,87
|
1108,308
|
0,61
|
564,2453
|
3778
|
172,31
|
1569,64
|
0,0754
|
1,047424
|
5
|
|
|
39,4
|
42,86
|
154,31
|
1116,868
|
0,61
|
567,4824
|
3789
|
171,87
|
1565,67
|
0,0748
|
1,047424
|
5
|
|
|
39,6
|
42,98
|
154,74
|
1125,452
|
0,60
|
570,7019
|
3800
|
171,44
|
1561,71
|
0,0743
|
1,047424
|
5
|
|
|
39,8
|
43,10
|
155,18
|
1134,061
|
0,60
|
573,9036
|
3811
|
171,00
|
1557,76
|
0,0737
|
1,047424
|
5
|
|
|
40,0
|
43,22
|
155,61
|
1142,694
|
0,59
|
577,0875
|
3821
|
170,57
|
1553,83
|
0,0732
|
1,047424
|
5
|
|
|
40,2
|
43,34
|
156,03
|
1151,351
|
0,59
|
580,2535
|
3832
|
170,14
|
1549,90
|
0,0727
|
1,047424
|
5
|
|
|
40,4
|
43,46
|
156,46
|
1160,031
|
0,58
|
583,4014
|
3842
|
169,71
|
1545,99
|
0,0721
|
1,047424
|
5
|
|
|
40,6
|
43,58
|
156,87
|
1168,734
|
0,58
|
586,5311
|
3852
|
169,28
|
1542,09
|
0,0716
|
1,047424
|
5
|
|
|
40,8
|
43,69
|
157,29
|
1177,461
|
0,57
|
589,6425
|
3863
|
168,86
|
1538,20
|
0,0711
|
1,047424
|
5
|
|
|
41,0
|
43,81
|
157,70
|
1186,211
|
0,57
|
3873
|
168,43
|
1534,33
|
0,0706
|
1,047424
|
5
|
|
|
41,2
|
43,92
|
158,11
|
1194,983
|
0,56
|
595,8102
|
3883
|
168,01
|
1530,47
|
0,0701
|
1,047424
|
5
|
|
|
41,4
|
44,03
|
158,52
|
1203,778
|
0,56
|
598,8663
|
3893
|
167,58
|
1526,62
|
0,0695
|
1,047424
|
5
|
|
|
41,6
|
44,14
|
158,92
|
1212,596
|
0,55
|
601,9038
|
3902
|
167,16
|
1522,79
|
0,0690
|
1,047424
|
5
|
|
|
41,8
|
44,25
|
159,32
|
1221,435
|
0,55
|
604,9226
|
3912
|
166,74
|
1518,97
|
0,0685
|
1,047424
|
5
|
|
|
42,0
|
44,36
|
159,71
|
1230,297
|
0,54
|
607,9226
|
3922
|
166,33
|
1515,17
|
0,0680
|
1,047424
|
5
|
|
|
42,2
|
44,47
|
160,10
|
1239,181
|
0,54
|
610,9038
|
3932
|
165,91
|
1511,38
|
0,0675
|
1,047424
|
5
|
|
|
42,4
|
44,58
|
160,49
|
1248,086
|
0,53
|
613,8662
|
3941
|
165,50
|
1507,60
|
0,0670
|
1,047424
|
5
|
|
|
42,6
|
44,69
|
160,87
|
1257,013
|
0,53
|
616,8096
|
3951
|
165,08
|
1503,85
|
0,0665
|
1,047424
|
5
|
|
|
42,8
|
44,79
|
161,25
|
1265,96
|
0,52
|
619,734
|
3960
|
164,67
|
1500,10
|
0,0660
|
1,047424
|
5
|
|
|
43,0
|
44,90
|
161,63
|
1274,929
|
0,52
|
622,6393
|
3969
|
164,26
|
1496,38
|
0,0655
|
1,047424
|
5
|
|
|
43,2
|
45,00
|
162,01
|
1283,919
|
0,52
|
625,5256
|
3978
|
163,86
|
1492,67
|
0,0650
|
1,047424
|
5
|
|
|
43,4
|
45,10
|
162,38
|
1292,93
|
0,51
|
628,3927
|
3987
|
163,45
|
1488,98
|
0,0645
|
1,047424
|
5
|
|
|
43,6
|
45,21
|
162,74
|
1301,961
|
0,51
|
631,2407
|
3996
|
163,05
|
1485,30
|
0,0640
|
1,047424
|
5
|
|
|
43,8
|
45,31
|
163,11
|
1311,012
|
0,50
|
634,0695
|
4005
|
162,65
|
1481,65
|
0,0635
|
1,047424
|
5
|
|
|
44,0
|
45,41
|
163,47
|
1320,084
|
0,50
|
636,879
|
4014
|
162,25
|
1478,01
|
0,0630
|
1,047424
|
5
|
|
|
44,2
|
45,51
|
163,83
|
1329,175
|
0,49
|
639,6693
|
4023
|
161,85
|
1474,39
|
0,0626
|
1,047424
|
5
|
|
|
44,4
|
45,61
|
164,18
|
1338,286
|
0,49
|
642,4404
|
4032
|
161,45
|
1470,78
|
0,0621
|
1,047424
|
5
|
|
|
44,6
|
45,70
|
164,53
|
1347,417
|
0,48
|
645,1922
|
4040
|
161,06
|
1467,20
|
0,0616
|
1,047424
|
5
|
|
|
44,8
|
45,80
|
164,88
|
1356,567
|
0,48
|
647,9246
|
4049
|
160,67
|
1463,63
|
0,0611
|
1,047424
|
5
|
|
|
45,0
|
45,90
|
165,23
|
1365,737
|
0,47
|
650,6378
|
4057
|
160,28
|
1460,08
|
0,0607
|
1,047424
|
5
|
|
|
45,2
|
45,99
|
165,57
|
1374,926
|
0,47
|
653,3317
|
4066
|
159,89
|
1456,55
|
0,0602
|
1,047424
|
5
|
|
|
45,4
|
46,08
|
165,91
|
1384,133
|
0,47
|
656,0062
|
4074
|
159,51
|
1453,04
|
0,0597
|
1,047424
|
5
|
|
|
45,6
|
46,18
|
166,24
|
1393,359
|
0,46
|
658,6614
|
4082
|
159,12
|
1449,55
|
0,0593
|
1,047424
|
5
|
|
|
45,8
|
46,27
|
166,57
|
1402,604
|
0,46
|
661,2974
|
4091
|
158,74
|
1446,07
|
0,0588
|
1,047424
|
5
|
|
|
46,0
|
46,36
|
166,90
|
1411,867
|
0,45
|
663,914
|
4099
|
158,36
|
1442,62
|
0,0584
|
1,047424
|
5
|
|
|
46,2
|
46,45
|
167,23
|
1421,149
|
0,45
|
666,5113
|
4107
|
157,99
|
1439,19
|
0,0579
|
1,047424
|
5
|
|
|
46,4
|
46,54
|
167,55
|
1430,448
|
0,44
|
669,0894
|
4115
|
157,61
|
1435,77
|
0,0575
|
1,047424
|
5
|
|
|
46,6
|
46,63
|
167,87
|
1439,765
|
0,44
|
671,6482
|
4122
|
157,24
|
1432,38
|
0,0570
|
1,047424
|
5
|
|
|
46,8
|
46,72
|
168,19
|
1449,1
|
0,44
|
674,1878
|
4130
|
156,87
|
0,0566
|
1,047424
|
5
|
|
|
47,0
|
46,81
|
168,50
|
1458,453
|
0,43
|
676,7081
|
4138
|
156,50
|
1425,65
|
0,0561
|
1,047424
|
5
|
|
|
47,2
|
46,89
|
168,81
|
1467,822
|
0,43
|
679,2093
|
4146
|
156,13
|
1422,32
|
0,0557
|
1,047424
|
5
|
|
|
47,4
|
46,98
|
169,12
|
1477,21
|
0,42
|
681,6913
|
4153
|
155,77
|
1419,01
|
0,0553
|
1,047424
|
5
|
|
|
47,6
|
47,06
|
169,43
|
1486,614
|
0,42
|
684,1542
|
4161
|
155,41
|
1415,71
|
0,0548
|
1,047424
|
5
|
|
|
47,8
|
47,15
|
169,73
|
1496,035
|
0,42
|
686,598
|
4168
|
155,05
|
1412,44
|
0,0544
|
1,047424
|
5
|
|
|
48,0
|
47,23
|
170,03
|
1505,472
|
0,41
|
689,0227
|
4175
|
154,69
|
1409,19
|
0,0540
|
1,047424
|
5
|
|
|
48,2
|
47,31
|
170,33
|
1514,927
|
0,41
|
691,4284
|
4183
|
154,34
|
1405,96
|
0,0536
|
1,047424
|
5
|
|
|
48,4
|
47,39
|
170,62
|
1524,397
|
0,40
|
693,8152
|
4190
|
153,99
|
1402,75
|
0,0531
|
1,047424
|
5
|
|
|
48,6
|
47,48
|
170,91
|
1533,884
|
0,40
|
696,183
|
4197
|
153,64
|
1399,56
|
0,0527
|
1,047424
|
5
|
|
|
48,8
|
47,56
|
171,20
|
1543,387
|
0,40
|
698,5319
|
4204
|
153,29
|
1396,40
|
0,0523
|
1,047424
|
5
|
|
|
49,0
|
47,63
|
171,48
|
1552,906
|
0,39
|
700,862
|
4211
|
152,94
|
1393,25
|
0,0519
|
1,047424
|
5
|
|
|
49,2
|
47,71
|
171,77
|
1562,441
|
0,39
|
703,1733
|
4218
|
152,60
|
1390,12
|
0,0515
|
1,047424
|
5
|
|
|
49,4
|
47,79
|
172,05
|
1571,991
|
0,38
|
705,4658
|
4225
|
152,26
|
1387,02
|
0,0511
|
1,047424
|
5
|
|
|
49,6
|
47,87
|
172,32
|
1581,557
|
0,38
|
707,7397
|
4232
|
151,92
|
1383,94
|
0,0507
|
1,047424
|
5
|
|
|
49,8
|
47,94
|
172,60
|
1591,138
|
0,38
|
709,995
|
4238
|
151,59
|
1380,87
|
0,0503
|
1,047424
|
5
|
|
|
50,0
|
48,02
|
172,87
|
1600,734
|
0,37
|
712,2317
|
4245
|
151,25
|
1377,83
|
0,0499
|
1,047424
|
5
|
|
|
50,2
|
48,09
|
173,14
|
1610,345
|
0,37
|
714,45
|
4252
|
150,92
|
1374,82
|
0,0495
|
1,047424
|
5
|
|
|
50,4
|
48,17
|
173,40
|
1619,971
|
0,37
|
716,6498
|
4258
|
150,59
|
1371,82
|
0,0491
|
1,047424
|
5
|
|
|
50,6
|
48,24
|
173,67
|
1629,612
|
0,36
|
718,8312
|
4265
|
150,26
|
1368,84
|
0,0487
|
1,047424
|
5
|
|
|
50,8
|
48,31
|
173,93
|
1639,268
|
0,36
|
720,9943
|
4271
|
149,94
|
1365,89
|
0,0483
|
1,047424
|
5
|
|
|
51,0
|
48,39
|
174,19
|
1648,937
|
0,36
|
723,1392
|
4277
|
149,62
|
1362,95
|
0,0480
|
1,047424
|
5
|
|
|
51,2
|
48,46
|
174,44
|
1658,622
|
0,35
|
725,2659
|
4284
|
149,30
|
1360,04
|
0,0476
|
1,047424
|
5
|
|
|
51,4
|
48,53
|
174,70
|
1668,32
|
0,35
|
727,3746
|
4290
|
148,98
|
1357,15
|
0,0472
|
1,047424
|
5
|
|
|
51,6
|
48,60
|
174,95
|
1678,032
|
0,34
|
729,4652
|
4296
|
148,67
|
1354,28
|
0,0468
|
1,047424
|
5
|
|
|
51,8
|
48,67
|
175,20
|
1687,758
|
0,34
|
731,538
|
4302
|
148,35
|
1351,43
|
0,0465
|
1,047424
|
5
|
|
|
52,0
|
48,73
|
175,44
|
1697,498
|
0,34
|
733,5928
|
4308
|
148,04
|
1348,61
|
0,0461
|
1,047424
|
5
|
|
|
52,2
|
48,80
|
175,69
|
1707,252
|
0,33
|
735,6299
|
4314
|
147,73
|
1345,80
|
0,0457
|
1,047424
|
5
|
|
|
52,4
|
48,87
|
175,93
|
1717,019
|
0,33
|
737,6492
|
4320
|
147,43
|
1343,02
|
0,0454
|
1,047424
|
5
|
|
|
52,6
|
48,93
|
176,17
|
1726,799
|
0,33
|
739,651
|
4326
|
147,13
|
1340,25
|
0,0450
|
1,047424
|
|
|
52,8
|
49,00
|
176,40
|
1736,593
|
0,32
|
741,6352
|
4332
|
146,83
|
1337,51
|
0,0447
|
1,047424
|
5
|
|
|
53,0
|
49,07
|
176,64
|
1746,399
|
0,32
|
743,602
|
4338
|
146,53
|
1334,79
|
0,0443
|
1,047424
|
5
|
|
|
53,2
|
49,13
|
176,87
|
1756,219
|
0,32
|
745,5514
|
4343
|
146,23
|
1332,09
|
0,0440
|
1,047424
|
5
|
|
|
53,4
|
49,19
|
177,10
|
1766,051
|
0,31
|
747,4835
|
4349
|
145,94
|
1329,42
|
0,0436
|
1,047424
|
5
|
|
|
53,6
|
49,26
|
177,32
|
1775,896
|
0,31
|
749,3984
|
4354
|
145,64
|
1326,76
|
0,0433
|
1,047424
|
5
|
|
|
53,8
|
49,32
|
177,55
|
1785,753
|
0,31
|
751,2962
|
4360
|
145,36
|
1324,12
|
0,0429
|
1,047424
|
5
|
|
|
54,0
|
49,38
|
177,77
|
1795,623
|
0,31
|
753,177
|
4365
|
145,07
|
1321,51
|
0,0426
|
1,047424
|
5
|
|
|
54,2
|
49,44
|
177,99
|
1805,505
|
0,30
|
755,0409
|
4371
|
144,78
|
1318,92
|
0,0423
|
1,047424
|
5
|
|
|
54,4
|
49,50
|
178,21
|
1815,399
|
0,30
|
756,8879
|
4376
|
144,50
|
1316,35
|
0,0419
|
1,047424
|
5
|
|
|
54,6
|
49,56
|
178,42
|
1825,306
|
0,30
|
758,7182
|
4381
|
144,22
|
1313,79
|
0,0416
|
1,047424
|
5
|
|
|
54,8
|
49,62
|
178,63
|
1835,224
|
0,29
|
760,5319
|
4387
|
143,94
|
1311,26
|
0,0413
|
1,047424
|
5
|
|
|
55,0
|
49,68
|
178,85
|
1845,154
|
0,29
|
762,329
|
4392
|
143,67
|
1308,75
|
0,0410
|
1,047424
|
5
|
|
|
55,2
|
49,74
|
179,05
|
1855,095
|
0,29
|
764,1096
|
4397
|
143,40
|
1306,27
|
0,0406
|
1,047424
|
5
|
|
|
55,4
|
49,79
|
179,26
|
1865,048
|
0,28
|
765,8739
|
4402
|
143,12
|
1303,80
|
0,0403
|
1,047424
|
5
|
|
|
выключение V передачи
|
|
|
начало выбега
|
|
|
55,5
|
49,82
|
179,36
|
1870,025
|
-0,64
|
766,7477
|
0
|
0,00
|
0,00
|
-0,0575
|
1,03
|
N
|
|
|
60,5
|
46,61
|
167,80
|
2111,962
|
-0,57
|
671,0432
|
0
|
0,00
|
0,00
|
-0,0503
|
1,03
|
N
|
|
|
65,5
|
43,74
|
157,46
|
2338,549
|
-0,52
|
590,9104
|
0
|
0,00
|
0,00
|
-0,0443
|
1,03
|
N
|
|
|
70,5
|
41,15
|
148,15
|
2551,384
|
-0,47
|
523,1174
|
0
|
0,00
|
0,00
|
-0,0392
|
1,03
|
N
|
|
|
75,5
|
38,81
|
139,72
|
2751,809
|
-0,43
|
465,2372
|
0
|
0,00
|
0,00
|
-0,0349
|
1,03
|
N
|
|
|
80,5
|
36,67
|
132,02
|
2940,961
|
-0,39
|
415,4167
|
0
|
0,00
|
0,00
|
-0,0311
|
1,03
|
N
|
|
|
85,5
|
34,71
|
124,97
|
3119,814
|
-0,36
|
372,2207
|
0
|
0,00
|
0,00
|
-0,0279
|
1,03
|
N
|
|
|
90,5
|
32,91
|
118,47
|
3289,208
|
-0,33
|
334,5227
|
0
|
0,00
|
0,00
|
-0,0251
|
1,03
|
N
|
|
|
95,5
|
31,24
|
112,46
|
3449,874
|
-0,31
|
301,4281
|
0
|
0,00
|
0,00
|
-0,0226
|
1,03
|
N
|
|
|
100,5
|
29,69
|
106,87
|
3602,45
|
-0,29
|
272,2189
|
0
|
0,00
|
0,00
|
-0,0204
|
1,03
|
N
|
|
|
105,5
|
28,24
|
101,66
|
3747,495
|
-0,27
|
246,3135
|
0
|
0,00
|
0,00
|
-0,0185
|
1,03
|
N
|
|
|
110,5
|
26,88
|
96,78
|
3885,508
|
-0,25
|
223,236
|
0
|
0,00
|
0,00
|
-0,0167
|
1,03
|
N
|
|
|
115,5
|
25,61
|
92,20
|
4016,927
|
-0,24
|
202,5946
|
0
|
0,00
|
0,00
|
-0,0152
|
1,03
|
N
|
|
|
120,5
|
24,41
|
87,88
|
4142,147
|
-0,23
|
184,0638
|
0
|
0,00
|
0,00
|
-0,0138
|
1,03
|
N
|
|
|
125,5
|
23,28
|
83,80
|
4261,519
|
-0,21
|
167,3713
|
0
|
0,00
|
0,00
|
-0,0125
|
1,03
|
N
|
22,20
|
79,94
|
4375,36
|
-0,20
|
152,2884
|
0
|
0,00
|
0,00
|
-0,0114
|
1,03
|
N
|
|
|
135,5
|
21,18
|
76,26
|
4483,954
|
-0,19
|
138,6212
|
0
|
0,00
|
0,00
|
-0,0104
|
1,03
|
N
|
|
|
140,5
|
20,21
|
72,77
|
4587,56
|
-0,19
|
126,2048
|
0
|
0,00
|
0,00
|
-0,0095
|
1,03
|
N
|
|
|
145,5
|
19,29
|
69,43
|
4686,412
|
-0,18
|
114,8984
|
0
|
0,00
|
0,00
|
-0,0086
|
1,03
|
N
|
|
|
150,5
|
18,40
|
66,24
|
4780,723
|
-0,17
|
104,5807
|
0
|
0,00
|
0,00
|
-0,0078
|
1,03
|
N
|
|
|
155,5
|
17,55
|
63,18
|
4870,686
|
-0,16
|
95,14723
|
0
|
0,00
|
0,00
|
-0,0071
|
1,03
|
N
|
|
|
160,5
|
16,74
|
60,25
|
4956,479
|
-0,16
|
86,5073
|
0
|
0,00
|
0,00
|
-0,0065
|
1,03
|
N
|
|
|
165,5
|
15,95
|
57,42
|
5038,263
|
-0,15
|
78,58211
|
0
|
0,00
|
0,00
|
-0,0059
|
1,03
|
N
|
|
|
170,5
|
15,19
|
54,70
|
5116,187
|
-0,15
|
71,30286
|
0
|
0,00
|
0,00
|
-0,0053
|
1,03
|
N
|
|
|
175,5
|
14,46
|
52,07
|
5190,388
|
-0,14
|
64,60928
|
0
|
0,00
|
0,00
|
-0,0048
|
1,03
|
N
|
|
|
180,5
|
13,76
|
49,52
|
5260,99
|
-0,14
|
58,4484
|
0
|
0,00
|
0,00
|
-0,0044
|
1,03
|
N
|
|
|
185,5
|
13,07
|
47,06
|
5328,108
|
-0,13
|
52,77358
|
0
|
0,00
|
0,00
|
-0,0040
|
1,03
|
N
|
|
|
190,5
|
12,41
|
44,66
|
5391,849
|
-0,13
|
47,54361
|
0
|
0,00
|
0,00
|
-0,0036
|
1,03
|
N
|
|
|
195,5
|
11,76
|
42,34
|
5452,31
|
-0,13
|
42,72201
|
0
|
0,00
|
0,00
|
-0,0032
|
1,03
|
N
|
|
|
200,5
|
11,13
|
40,07
|
5509,581
|
-0,12
|
38,2764
|
0
|
0,00
|
0,00
|
-0,0029
|
1,03
|
N
|
|
|
205,5
|
10,52
|
37,87
|
5563,746
|
-0,12
|
34,17801
|
0
|
0,00
|
0,00
|
-0,0026
|
1,03
|
N
|
|
|
210,5
|
9,92
|
35,72
|
5614,879
|
-0,12
|
30,40122
|
0
|
0,00
|
0,00
|
-0,0023
|
1,03
|
N
|
|
|
215,5
|
9,34
|
33,61
|
5663,053
|
-0,11
|
26,92319
|
0
|
0,00
|
0,00
|
-0,0020
|
1,03
|
N
|
|
|
220,5
|
8,76
|
31,55
|
5708,331
|
-0,11
|
23,72354
|
0
|
0,00
|
0,00
|
-0,0018
|
1,03
|
N
|
|
|
225,5
|
8,20
|
29,53
|
5750,775
|
-0,11
|
20,78407
|
0
|
0,00
|
0,00
|
-0,0016
|
1,03
|
N
|
|
|
230,5
|
7,65
|
27,55
|
5790,438
|
-0,11
|
18,08851
|
0
|
0,00
|
0,00
|
-0,0014
|
1,03
|
N
|
|
|
235,5
|
7,11
|
25,60
|
5827,37
|
-0,11
|
15,62234
|
0
|
0,00
|
0,00
|
-0,0012
|
1,03
|
N
|
|
|
240,5
|
6,58
|
23,69
|
5861,619
|
-0,10
|
13,37259
|
0
|
0,00
|
0,00
|
-0,0010
|
1,03
|
N
|
|
|
245,5
|
6,06
|
21,80
|
5893,227
|
-0,10
|
11,32768
|
0
|
0,00
|
0,00
|
-0,0008
|
1,03
|
N
|
|
|
250,5
|
5,54
|
19,94
|
5922,231
|
-0,10
|
9,477319
|
0
|
0,00
|
0,00
|
-0,0007
|
1,03
|
N
|
|
|
255,5
|
5,03
|
18,11
|
5948,667
|
-0,10
|
7,812358
|
0
|
0,00
|
0,00
|
-0,0006
|
1,03
|
N
|
|
|
260,5
|
4,53
|
16,29
|
5972,566
|
-0,10
|
6,324705
|
0
|
0,00
|
0,00
|
-0,0005
|
1,03
|
N
|
|
|
265,5
|
4,03
|
14,49
|
5993,956
|
-0,10
|
5,007234
|
0
|
0,00
|
0,00
|
-0,0004
|
1,03
|
N
|
|
|
270,5
|
3,53
|
12,72
|
6012,862
|
-0,10
|
3,853709
|
0
|
0,00
|
0,00
|
-0,0003
|
1,03
|
N
|
|
|
275,5
|
3,04
|
10,95
|
-0,10
|
2,858726
|
0
|
0,00
|
0,00
|
-0,0002
|
1,03
|
N
|
|
|
280,5
|
2,56
|
9,20
|
6043,31
|
-0,10
|
2,017652
|
0
|
0,00
|
0,00
|
-0,0002
|
1,03
|
N
|
|
|
285,5
|
2,07
|
7,46
|
6054,886
|
-0,10
|
1,326581
|
0
|
0,00
|
0,00
|
-0,0001
|
1,03
|
N
|
|
|
290,5
|
1,59
|
5,73
|
6064,051
|
-0,10
|
0,782298
|
0
|
0,00
|
0,00
|
-0,0001
|
1,03
|
N
|
|
|
295,5
|
1,11
|
4,00
|
6070,814
|
-0,10
|
0,382245
|
0
|
0,00
|
0,00
|
0,0000
|
1,03
|
N
|
|
|
300,5
|
0,63
|
2,29
|
6075,185
|
-0,10
|
0,124493
|
0
|
0,00
|
0,00
|
0,0000
|
1,03
|
N
|
|
|
305,5
|
0,16
|
0,57
|
6077,168
|
-0,10
|
0,007731
|
0
|
0,00
|
0,00
|
0,0000
|
1,03
|
N
|
|
|
306,5
|
0,06
|
0,23
|
6077,279
|
-0,10
|
0,001224
|
0
|
0,00
|
0,00
|
0,0000
|
1,03
|
N
|
|
|
307,0
|
0,02
|
0,06
|
6077,299
|
-0,10
|
7,26E-05
|
0
|
0,00
|
0,00
|
0,0000
|
1,03
|
N
|
|
|
дистанция выбега - 4212 м,
время выбега - 251,6 с
|
|
|
конец выбега
|
|
|
|
|
|
|
|
|
|
|
|
|
|
|
|
|
|
|
|
|
|
|
|
|
|
|
|
|
|
|
|
|
|
|
|
|
|
|
|
|
|
|
7. Построение графиков зависимости скорости от времени и пути
Рис. 2. Разгон автомобиля по времени.
Рис. 3. Разгон автомобиля по пути

Рис. 4. Выбег автомобиля по времени.

Рис. 5. Выбег автомобиля по пути
По результатам моделирования можно утвердить, что наша модель
автомобиля Audi A4 B5 может использоваться по ее прямому назначению. По
скоростным характеристикам отклонение от заводских характеристик происходит на
8,23 % , что соответствует норме. Сделаем выводы по всему исследованию.
Выводы
В ходе моделирования мы получили следующие основные характеристики:
o Разгон до 100 км/ч: 15,8 с (паспортные данные: 14,5 с).
o Разгон на 400 м.: 20,4 с.
o Разгон на 1000 м.: 36,8 с.
o Максимальная достигнутая скорость 179 км/ч.
o Условная максимальная скорость: 163,9 км/ч.
o При выбеге пройден путь 4212 м., время выбега 251,6 с.
Погрешность моделирования: ∆=[ (15,8 -14,5)/14,5]*100%=8,23%
Данная погрешность моделирования обусловлена несоответствием формулы
крутящего момента для данного типа двигателя, также в программе не учтен
турбонаддув двигателя, однако результаты моделирования можно считать
удовлетворительными, а само моделирование успешным.
Список использованных источников
1. Бармин
В.А. Математическое моделирование производственных процессов - конспект лекций.
- Мн: БНТУ,46с.
2. Горинштейн
А.М. Практика решения инженерных задач на ЭВМ. - М.: Радио и связь, 1987. - 232
с.
. Гришкевич
А.И. Автомобили. Теория. - Мн: Высшая школа, 1986. - 208 с.