Акушерство в скотоводстве

  • Вид работы:
    Контрольная работа
  • Предмет:
    Сельское хозяйство
  • Язык:
    Русский
    ,
    Формат файла:
    MS Word
    154,91 Кб
  • Опубликовано:
    2012-08-31
Вы можете узнать стоимость помощи в написании студенческой работы.
Помощь в написании работы, которую точно примут!

Акушерство в скотоводстве

1. Физиологические особенности влагалищного и маточного типов естественного осеменения у домашних животных

Естественное осеменение происходит при половом акте, то есть при непосредственном контакте самки и самца, когда проявляется весь комплекс половых рефлексов, характерных для спаривания.

На основе анатомо-топографических и физиологических особенностей половых органов самок акад. В.К. Милованов выделил два основных типа естественного осеменения - влагалищный и маточный.

Влагалищный тип осеменения характерен для жвачных. Самки с данным типом (коровы, овцы, козы, олени) отличаются более укороченной маткой и расширенной краниальной частью влагалища (свод влагалища). Своеобразное строение шейки матки и недостаточное раскрытие ее канала при половом акте не обеспечивают поступление спермы непосредственно в матку. Сперма в основном остается во влагалище, на влагалищной части шейки матки и не вытекает из влагалища благодаря малому объему эякулята и кратковременности полового акта.

Маточный тип осеменения наблюдают у кобыл, свиней, верблюдиц. У самок с этим типом осеменения рога матки характеризуются значительной длиной. Попаданию спермы непосредственно в матку способствуют: продольная складчатость шейки матки, хорошее ее раскрытие при коитусе, возможность ввести пенис в цервикальный канал, а также плотное прилегание его головки к слизистой оболочке шейки матки. Характерные особенности: большой объем эякулята, низкая концентрация спермиев, продолжительный половой акт и очередность в выведении секретов придаточных половых желез. Продвижение спермиев в матке обеспечивается их собственной подвижностью, а также волнообразными сокращениями рогов матки.

2. Организация и проведение искусственного осеменения в скотоводстве и коневодстве (способы выявления самок в охоте, время и кратность осеменения)

В Российской Федерации искусственное осеменение сельскохозяйственных животных проводится как плановое государственное мероприятие, направленное на повышение на повышение продуктивности животных путем повышения их породных качеств.

Чтобы правильно выбрать время осеменения, необходимо уметь определять стадию полового цикла. У коров течка характеризуется выделением из половых органов стекловидно-прозрачных нитей, а затем вязкой слизи ндлится2…3 сут. Течку диагностируют осмотром наружных половых органов и вагинальным исследованием. При осмотре половых губ устанавливают, что они отечны, мелкие складки исчезли. Большим и указательным пальцами обеих рук раздвигают половые губы и осматривают клитор и начальную часть преддверия влагалища: на поверхности слизистой оболочки обнаруживают прозрачную слизь. С помощью влагалищного зеркала осматривают влагалище и устье шейки матки: их слизистая оболочка набухшая, гиперемированная, канал шейки матки приоткрыт, можно видеть скопление слизи на дне влагалища.

Половое возбуждение диагностируют по изменению в поведении коровы: она становится беспокойной, у нее уменьшается аппетит, снижается удой. Появляется самый характерный признак полового возбуждения - обнимательный рефлекс на самку: корова беспрепятственно позволяет прыгать на себя другим самкам, но еще не допускает садку быка. Поэтому очень важно выявить состояние охоты.

Во время охоты корова сама отыскивает самца, принимает позу для полового акта и беспрепятственно допускает садку. Охота у коров длится в среднем 12…18 ч и проявляется обычно утром и вечером. Чтобы не пропустить половую охоту и правильно выбрать момент осеменения, используют самца-пробника.

Самым надежным способом диагностики овуляции у коров служит ректальный метод.

С помощью быка-пробника устанавливают начало охоты и ректальным методом в одном из яичников обнаруживают развивающийся фолликул. Определяют его размеры (в среднем 1…2 см в диаметре), консистенцию и напряженность. Второй раз исследуют через 16… 18 ч, а затем каждые 2 ч до наступления овуляции. Перед овуляцией при прощупывании фолликула создается впечатление, что от прикосновения он может лопнуть. Это лучшее время для осеменения коровы.

У овец течка и половое возбуждение проявляются так же, как и у коров, но признаки выражены слабо; практически их не диагностируют. При выборе времени осеменения в основном учитывают охоту.

Продолжительность ее у овец сильно варьирует в зависимости от породы и возраста животного, климата, сезона. У тонкорунных овец охота в среднем длится 38 ч, у ярок романовской породы - 48, а у взрослых овец - 59 ч. Овец в охоте выявляют при помощи баранов-пробников, так как внешние признаки данной стадии у самок выражены слабо. Овца при садке барана-пробника стоит спокойно. Обычный режим исследования 1…2 пробника на 100 маток.

Сроки овуляции у овец зависят от породы и условий содержания животных. У тонкорунных овец она чаще наступает через 30 ч после начала охоты, у овец романовской породы - через 44…48 ч. В условиях практики овуляцию у овец не диагностируют.

У свиней обычно учитывают только состояние половых губ, преддверия влагалища. Признаки течки: припухлость и покраснение половых губ, клитора, выделяется полужидкая или жидкая слизь серовато-беловатого цвета.

Половое возбуждение определяют по изменению в поведении свиноматки; она сильно беспокоится, обнюхивает других свиней, вскакивает на них, но садки хряка не допускает, пищевой рефлекс понижен или отсутствует. Течка у свиней начинается за 1 день до охоты и продолжается 3…4 дня, иногда дольше. Основным признаком стадии охоты служит рефлекс неподвижности, самка допускает садку хряка. Охота длится 40…60 ч и повторяется через 19. - .21 день. Признаки ее не у всех свиней проявляются четко, поэтому, чтобы ее выявить, используют хряка-пробника.

Овуляция у свиноматок начинается через 24…30 ч после начала охоты и продолжается до 48 ч и более. В производственных условиях овуляцию у свиноматок не диагностируют.

У кобыл признаки течки выражены слабее, чем у коров. Течку определяют по набуханию наружных половых органов, выделению из поло-вой щели слизи, расслаблению мышц шейки матки, покраснению слизистой оболочки влагалища. Половое возбуждение проявляется беспокойством, неподчинением животного ухаживающему персоналу и другими признаками. У большинства кобыл охота после родов наступает через 7…10 дней и продолжается в среднем 3…7 дней. Во время охоты у кобыл изменяется поведение, снижается аппетит. Они сильно реагируют на различные внешние раздражители.

Охоту у кобыл выявляют при помощи жеребца-пробника. При меняют один из следующих способов. •

Проба «с рук». В открытом дворе или просторном манеже пробника подводят сначала к голове кобылы, затем к паху и крупу.

Проба через барьер. С одной стороны барьера ставят жеребца, а с другой - кобылу. Жеребцу, как и при пробе «с рук», сначала дают обнюхать кобылу с головы, а затем, если она стоит спокойно, постепенно допускают к паху и крупу. При отсутствии охоты кобыла быстро поворачивается к пробнику задом и стремится ударить его («отбивает»).

У кобыл холостых и молодых, которых впервые допускают к осеменению, необходимо выявлять состояние охоты с начала случного сезона, у выжеребившихся - с 5…6-го дня после родов. Проверять следует рано утром или к вечеру, через день, а лучше ежедневно, чтобы не пропустить охоту у тех кобыл, у которых она продолжается всего лишь 2…3 дня. Овуляция у кобыл происходит за 24…36 ч до окончания половой охоты, но поскольку сроки овуляции, как и скорость роста и созревания фолликула, могут сильно варьировать, установить наилучшее для осеменения время труднее, чем у коров и свиней.

В большинстве случаев яркому проявлению охоты у кобыл соответствует созревание фолликула (4…6 см и более в диаметре) в яичнике и овуляция. У некоторых кобыл проявление охоты тормозится сильно развитым материнским инстинктом или строптивостью. Таких кобыл желательно после родов периодически (через 2…4 дня) исследовать ректально, чтобы определить степень зрелости фолликула и установить оптимальное время для осеменения.

При ректальном исследовании кобылу необходимо надежно фиксировать. Кисть правой руки вводят в глубь кишки, затем подвигают к левому паху, через стенку кишки захватывают яичник в горсть и прощупывают со всех сторон. После исследования левого яичника руку перемешают вправо вниз по связке, отыскивают вершину рога матки. Прощупывают матку, затем сдвигают кисть руки к правому яичнику и исследуют его.

Устанавливают форму яичников, их размер, консистенцию (степень упругости, мягкости), флюктуацию жидкости в фолликулах.

В период полового покоя оба яичника бобовидной формы, равномерно плотной консистенции. Во время течки в одном из яичников прощупывается созревающий фолликул в виде нерезко обособленного выпячивания, флюктуирующего под пальцем. У кобыл различают четыре последовательные стадии развития фолликула:

-я стадия (Ф1) - яичник в форме неправильного боба - одна поло-вина больше другой;

-я стадия (Ф2) - фолликул округляется, и в нем прощупывается не-ясная флюктуация;

-я стадия (Ф3) - яичник грушевидной формы, фолликул приобретает форму шара, наполненного жидкостью, и отчетливо флюктуирует со всех сторон;

-я стадия (Ф4) - характеризуется дальнейшим увеличением фолликула, которое завершается разрывом его стенки и овуляцией.

После овуляции фолликул превращается в дряблый комочек.

Ректальное исследование не исключает необходимость выявлять состояние охоты у кобыл жеребцом-пробником. Через 8…10 дней со дня последнего осеменения кобыл снова исследуют с помощью жеребца, повторяют пробу через день до установления беременности. При появлении новой охоты кобылу осеменяют повторно.

Дозы осеменения. 0 вцам при влагалищном осеменении вводят 0,1 мл неразбавленной спермы, разбавленной - 0,2-0,3 мл; при цервикальном - соответственно 0,05 - 0,1 и 0,1-0,15 мл.

Коровам при влагалищном осеменении вводят 1-2 мл неразбавленной и 2-3 мл разбавленной спермы, при цервикальном - соответственно 0.3 - 0,5 и 1-1,5 мл.

По материалам Н.И. Мунтаниолова, влагалищный способ осеменения телок в дозе 1 мл разбавленной спермы при ректальном массаже матки и выливании спермы над шейкой матки не уступает самому совершенному из всех существующих ныне способов - цервикальному с ректальной фиксацией шейки матки.

Успех осеменения зависит также от качества спермиев. Чем активнее их движение, тем меньшую дозу спермы можно применять. До недавнего времени при всех способах хранения спермы быков-производителей в одной дозе (1 мл) для осеменения коров и телок предусматривалось не менее 25 млн активных спермиев. Уменьшение концентрации спермиев до 12,5 млн спермиев обусловливает снижение оплодотворяемости телок на. 11,9-20% (А.В. Поздняков). Поэтому рекомендовано государственным станциям по искусственному осеменению сельскохозяйственных животных использовать замороженную в жидком азоте сперму быков с содержанием в дозе после оттаивания не менее 10-15 млн спермиев с прямолинейным поступательным движением (подвижность не ниже 3-4 баллов). Такое количество спермиев в дозе допустимо только при использовании спермы с высокой оплодотворяющей способностью.

У животных с маточным типом естественного осеменения сперма продвигается по просвету рогов матки к яйцепроводам. Поэтому малые дозы спермы при искусственном осеменении не дают положительных результатов.

Кобылам вводят 20-40 мл спермы.

Дозу спермы для свиней при фракционном способе введения устанавливают в зависимости от концентрации и активности спермиев. При этом число подвижных спермиев в дозе должно быть 3 млрд для основных и 2 млрд для ремонтных маток. При нефракционном способе осеменения используют разбавленную сперму. По методу ВИЖ ее вводят из расчета 1 мл на 1 кг массы тела, однако общее количество спермы не должно превышать 150 мл. В дозе должно содержаться не менее 4-5 млрд активных спермиев.

Птицу осеменяют раз в 5-7 дней с помощью пипеток или приспособленных шприцев. Инструмент вводят в левый яйцепровод на глубину 4-5 см. Применяют сперму с активностью не ниже 7 баллов, курам и индейкам - по 0,025-0,03 мл (около 100 млн живых спермиев); гусыням - 0,05-0,2 мл (30-50 млн подвижных спермиев). Осеменение проводят во второй половине дня, когда заканчивается яйцекладка.

3. Трансплантация зародышей, цели и задачи. Подготовка доноров и рецепиентов. Приемы пересадки


Под трансплантацией зародышей понимают перенос зародышей из половых органов животных-доноров в половые органы животных-рецепиентов. При этом в организме наступает нормальная беременность с развитием зародышей, а затем и плодов.

Пересадка зародышей животных мясных пород молочным коровам имеет неоспоримое преимущество по сравнению со скрещиванием мясных быков с такими коровами и, следовательно, будет способствовать увеличению производства говядины. Возможно получение двоен путем пересадки одного зародыша в каждый рог матки или введением дополнительного зародыша в небеременный рог матки. Можно получать ценный в племенном отношении приплод от коров местных пород, имеющих иммунитет к различным болезням.

Пересадку зародышей можно использовать и для изучения многих вопросов физиологии и патологии беременности, межвидовой гибридизации. Например, после пересадки овцам зародышей коз рождаются нормальные козлята, а от коз после трансплантации им зародышей овец - ягнята.

Однако преимущество от трансплантации зародышей в условиях хозяйства достигается только при четком повседневном осуществлении комплекса агрозооветорганизационных мероприятий. Важнейший элемент его - наличие здоровых, конституционально крепких доноров и реципиентов, обеспеченных полноценным кормлением, хорошим содержанием и правильной эксплуатацией: высококвалифицированных акушеров-гинекологов: специального центра (пункта) трансплантации зародышей с необходимым оборудованием и оснащением.

Важным моментом в трансплантации зародышей является отбор донора. Донор - это высокоценное, выдающееся животное, от которого после гормонального вызывания полиовуляции и осеменения спермой проверенного производителя-улучшателя получают несколько зародышей. Отбирают только тех животных, которые обладают способностью к множественной овуляции и дают в течение длительного срока их использования большое количество зародышей, пригодных к пересадке. В качестве доноров лучше использовать здоровых коров в возрасте от 4 до 5 лет с хорошо развитой молочной железой, пригодной к машинному доению, и у которых не было каких-либо осложнений родов и послеродового периода. Первая стадия возбуждения полового цикла после родов должна быть синхронной и полноценной, с ярко выраженными феноменами: течки, полового возбуждения и охоты.

Операция пересадки зародышей экономически выгодна только в том случае, когда в качестве доноров берут выдающихся в племенном отношении животных. В некоторых случаях для получения зародышей рекомендуют использовать ценных в племенном отношении коров в заключительные сроки их продуктивной жизни, чтобы получить от них больше потомков.

Оплодотворение яйцеклеток происходит в яйцепроводе. Образовавшиеся зиготы подвергаются дроблению, и большинство из них у крупного рогатого скота попадают в матку на 4-и день. Зародыши целесообразно извлекать у коров на 7-8-й день, а у овец - на 5-6-й день после первого осеменения (до освобождения зародыша из прозрачной оболочки). Для извлечения зародышей используют два способа: нехирургический и хирургический.

При нехирургическом способе извлечения зародышей животных фиксируют в станке. Прямую кишку освобождают от содержимого и проводят тщательное ректальное исследование. Определяют, сколько желтых тел находится в каждом яичнике. Хвост с помощью тесемки фиксируют. Проводят туалет и дезинфекцию наружных половых органов и промежности. Для прекращения перистальтики прямой кишки эпидурально вводят 10 мл 2с%-ного раствора новокаина. Для вымывания зародышей из матки применяют различные инструменты.

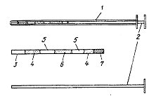
Рис. 1 Катетер для извлечения зародышей:

- корпус катетера; 2 - мандрен; 3 - труба для нагнетания воздуха; 4 - баллончик для воздуха

Рис. 2 Извлечение зародышей нехирургическим способом:

- катетер для извлечения зародышей; 2 - шейка и 3 - рог матки; 4 - надувной баллончик; 5 - яичники

Большинство авторов используют гибкий одноходовой катетер Фолея с упругим мандреном и надувным баллончиком (рис. 1). Инструмент должен быть стерильным. Сперва катетер вводят во влагалище по верхнему его своду и проводят под ректальным контролем через канал шейки матки в рог матки (рис. 2). Для более полного извлечения зародышей нужно, не травмируя слизистую оболочку, как можно глубже ввести инструмент в рог матки. После того как катетер достигнет в роге матки необходимого положения, мандрен удаляют и в баллончик катетера накачивают 10 - 15 мл воздуха. При этом катетер фиксируется в роге матки и промывная жидкость не вытекает мимо катетера.

Закрепив катетер, промывают полость рога матки с помощью шприца Люэра вместимостью 50-60 мл. В рог матки в зависимости от его величины вводят порциями от 40 до 60 мл промывной жидкости, затрачивая на промывание каждого рога не более 500 мл. Наполнение матки промывной средой и степень ее оттока контролируют ректально.

Для более полного извлечения зародышей верхушку рога матки приподнимают и выпрямляют. Некоторые авторы рекомендуют яйцепровод вблизи верхушки рога матки осторожно зажать большим и указательным пальцами. При этом предотвращается поступление в брюшную полость жидкости, содержащей зародыши. Однако практика показывает, что поступление в брюшную полость жидкости из рога матки отмечается только при наличии большого давления в матке, поэтому яйцепровод можно не зажимать. Перед извлечением катетера следует удалить воздух из баллончика. Таким же образом промывают и второй рог.

В качестве среды для промывания используют фосфатно-буферный солевой раствор (ФБС).

Раствор готовят на тридистиллированной воде. Первые 4 вещества растворяют в 800 мл, а 5-е и 6-е - каждое отдельно в 100 мл. В итоге получают три раствора, которые автоклавируют, а затем смешивают. В таком виде их можно хранить при 40С до 2 нед. Непосредственно перед употреблением в ФБС вводят следующие компоненты (в расчете на 1 л):

альбумин бычьей сыворотки - 4 г:

глюкоза- 1 г (5.56 ммоль);

Na-пируват - 0,036 г. (0.33 ммоль);

пенициллин (калиевая соль) - 100 тыс. ЕД.

Собранную в цилиндр промывную жидкость отстаивают 20-35 мин при температуре 20-37°С, чтобы зародыши опустились на дно, после чего верхний слой удаляют с помощью сифона. Нижний слой жидкости порционно по 20 - 30 мл для обнаружения зародышей исследуют в больших часовых стеклах или чашках Петри под бинокулярной лупой при 10-50-кратном увеличении. Найденных зародышей с помощью пастеровской пипетки переносят в среду для кратковременного хранения (среда Дюльбекко с добавлением 20% фетальной сыворотки теленка). После оценки зародышей их культивируют при 37°С до момента пересадки или оставляют для хранения.

Хирургическим способом зародышей извлекают при общем или местном обезболивании. Разрезают брюшную стенку по белой линии или чаще в области голодной ямки справа или слева, подтягивают рог матки к поверхности раны, делают разрез вблизи его основания и вставляют специальный катетер. Затем через иглу, введенную в полость рога у его верхушки, или через канюлю, вставленную в яйцепровод, вводят специальную среду, которую вместе с зародышами собирают через катетер. При этом методе получают до 70% жизнеспособных зародышей. У кролика, свиньи, овцы, коровы и кобылы можно извлекать зародышей непосредственно из яйцепровода (в течение первых 4 дней после осеменения). Однако хирургический способ, по мнению многих специалистов, имеет лишь научное значение. Он трудоемок, требует больших расходов, и поэтому в настоящее время его применяют только у мелких животных: овец, коз и др.). После операции у животного значительно снижается уровень молочной продуктивности, имеется риск потери высокоценного донора при общем обезболивании. Его нельзя часто повторять, так как в послеоперационный период образуются спайки, из-за чего возникают трудности в извлечении зародышей, а затем могут развиваться необратимые изменения, приводящие к бесплодию доноров.

Следующим важным моментом в трансплантации является отбор реципиента. Реципиент - животное, которому трансплантируют (пересаживают) в матку одного или двух зародышей на ранней стадии их развития. После пересадки в организме реципиента должны быть обеспечены оптимальные условия для дальнейшего развития зародыша и рождения жизнеспособного плода. Реципиентов отбирают в количестве 6-8 гол. на каждого донора из числа животных, не имеющих большой племенной ценности. При этом используют телок в возрасте 16-18 мес с массой 350-380 кг или коров не старше 7 лет. Животные должны быть здоровыми, без признаков нарушения обмена веществ. Успех пересадок в значительной степени зависит от физиологически полноценного течения половых циклов и правильного определения охоты у реципиентов. Необходимо тщательно контролировать течение последних двух половых циклов и все дальнейшие показатели регистрировать в соответствующей документации (календарь полового цикла). Половые циклы должны протекать регулярно, быть полноценными, с синхронным формированием стадии возбуждения. Животных с нерегулярными, неполноценными половыми циклами, с ненормальной продолжительностью отдельных феноменов стадии возбуждения полового цикла исключают из числа реципиентов. Реципиенты должны быть в состоянии средней упитанности, с хорошим физическим развитием, иметь крупный, правильной формы таз. Яичники и матка должны быть нормально развиты, без патологических изменений.

Отобранных реципиентов еще раз обязательно обследуют перед трансплантацией зародышей. Яичники должны быть типичными для соответствующей стадии полового цикла, без кист. Уточняют степень развития и положение желтого тела.

Рис. 3 Катетер для пересадки зародышей:



Рис. 4 Введение зародышей в рог матки нехирургическим способом:

- прибор для осеменения; 2 - шейка и 3 - рог матки; 4 - яичник; 5 - рука, введенная в прямую кишку

Пересадку зародышей осуществляют хирургическим и нехирургическим способами. Непосредственно перед пересадкой еще раз обследуют состояние здоровья и половой системы реципиентов, выявляют, в каком яичнике находится желтое тело, соответствуют ли его величина и консистенция срокам полового цикла. Наилучшим местом пересадки считают верхушку рога матки, прилегающего к яичнику с желтым телом.

Хирургический способ пересадки зародышей чаще применяют на телках. Можно использовать оперативный доступ с разрезом по белой линии живота. Подготовка и техника операции такие же, как при извлечении зародышей. Рог матки подтягивают к разрезу, его стенку перфорируют тупой иглой в участке с наименьшим количеством сосудов, примерно в 4 см от верхушки рога. Затем через маленькую ранку с помощью пастеровской пипетки в небольшом количестве среды для культивирования вводят зародыш в направлении верхушки рога. После этого зашивают брюшную стенку по всем правилам хирургической операции.

Более удобным, практичным и быстрым является хирургический способ пересадки зародыша с разрезом брюшной стенки в области голодной ямки. Оперируют животных в стоячем положении с использованием успокаивающих средств и местного обезболивания. Разрез должен быть расположен как можно дальше в каудальном направлении. Верхушку рога матки подводят к разрезу, удерживая пальцами за широкую маточную связку. Зародыш пересаживают по направлению к верхушке рога матки, как при операции по белой линии живота; приживляется до 85% зародышей.

Нехирургический способ пересадки зародышей более пригоден для использования его в производственных условиях. Для этого применяют различные катетеры (рис. 3). Часто используют прибор для искусственного осеменения Касу в модифицированной форме с длиной трубки-50 см и наружным диаметром 2,5 мм. Зародыш подготавливают к пересадке в стерильной тонкой трубочке диаметром 1 мм и объемом 0,25 мл. Присоединив шприц к трубочке со стороны фильтра, набирают столбик среды для культивирования (высотой 1 см), затем такой же столбик воздуха и среду с зародышем (контролируя под бинокулярной лупой). После этого вновь набирают столбик воздуха и среду для культивирования. Набранная в трубочку среда достигает фильтра с поливиниловым спиртом; фильтр набухает и больше не пропускает воздух, поэтому из пластиковой соломинки ничего не вытекает. Подготовленную трубочку с зародышем вставляют в стерильный прибор для пересадки. Чтобы предотвратить инфицирование прибора при пересадке, на него почти во всю длину надевают пластиковую оболочку.

Реципиентов к пересадке зародышей подготавливают так же. как и доноров при нехирургическом извлечении. Для уменьшения сокращений матки, снижения возможности повреждения эндометрия применяют маточный релаксант.

Прибор вводят во влагалище и при достижении шейки матки снимают тонкую оболочку. После этого прибор продвигают под ректальным контролем через канал шейки матки и далее в рог матки ближе к его верхушке (примерно на глубину 10 см) (рис. 4). Затем содержимое из трубочки выталкивают движением внутреннего поршня и прибор быстро, но осторожно извлекают из матки. Приживаемость зародышей составляет 50%.

После подсадки животным создают условия кормления и содержания в соответствии с зоогигиеническими требованиями, не допускают травмирования и сильных отрицательных стрессовых воздействий. Организуют раннюю рефлексологическую диагностику беременности, что исключает возможность пропуска повторной охоты. Через 2 мес после пересадки проводят диагностику беременности и бесплодия ректальным способом.

Пересадки на 7-й день после оплодотворения более успешны, поскольку зародыши в этом возрасте меньше повреждаются при колебаниях температуры. К этому времени снижается моторика матки, что уменьшает возможность изгнания зародышей. Результативность пересадок снижается под влиянием стресса при манипуляциях с маткой, травмирования эндометрия. Пересадка зародышей является одним из способов получения большого количества телят продуктивных животных, но гарантии, что полученное потомство будет повторять или превосходить по продуктивности своих родителей, нет.

4. Что такое аборт? Причины абортов и их классификация

Аборт (abortus от лат. аbortoi - рождать преждевременно). Это - прерывание беременности с последующим рассасыванием зародыша, мумификацией, мацерацией, путрификацией либо изгнанием из матки мертвого неизмененного плода (выкидыша) или незрелого живого плода (недоноска).

Аборты часто осложняются заболеваниями половых органов, ведущими к бесплодию, понижению продуктивности, утрате работоспособности, а иногда и к смерти животного. Особенно опасны инфекционные аборты, так как болезнь может быстро распространиться на здоровых животных. Однако практика показывает, что наибольшее количество абортов бывает послеинфекционного происхождения.

Д. Хэммонд выделяет три основные причины аборта: 1) генетически обусловленная неполноценность зародыша, передаваемая родителями: 2) аномалии, вызванные химическими веществами, поступающими в материнский организм: 3) вредное действие или неполноценность маточного секрета до прививки зародыша.

В настоящее время принято целесообразным подразделять аборты сельскохозяйственных животных по их этиологии на три вида: 1) незаразные: 2) инфекционные; 3) инвазионные (табл. 1).

Таблица 1. Классификация абортов по А.П. Студенцову

Незаразные аборты

Инфекционные аборты

Инвазионные аборты

Идиопатический (врожденные аномалии, патология плода и плодных оболочек) Симптоматический а) нарушение взаимоотношений плода и материнского организма вследствие заболеваний матки, сердца, легких, почек, печени и других органов б) алиментарный в) травматический г) привычный Искусственный

Идиопатический (бруцеллез, сальмонеллез, лептоспироз, листериоз, кампилобактериоз и др.) Симптоматический (инфекционная анемия лошадей, туберкулез и другие инфекционные болезни матери, микозы)

Идиопатический (трихомоноз, токсоплазмоз и др.)  Симптоматический (кровопаразитарные и другие заболевания матери)


В каждой разновидности абортов выделяют две формы: 1) идиопатический аборт (idios - особый, самостоятельный, собственный), который характеризуется более пли менее ярко выраженной специфичностью патогенного (реактора, непосредственно воздействующего на плод или его провизорные органы: 2) симптоматический аборт, служащим признаком заболевания матери пли погрешностей в ее содержании, кормлении.

Патогенез аборта всегда сводится к нарушению нормальных взаимоотношений между организмом матери и развивающимися плодами вследствие ненормального состояния плода и его оболочек, заболевании полового аппарата, а также других органов и организма в целом. В зависимости от свойств патогенного фактора, а также состояния организма и его реактивной способности и возникают различные вариации в клиническом течении аборта.

Обычно аборты возникают в результате действия на организм беременных самок разнообразных стресс-факторов: кормовых, физических, химических, травматических, транспортных, биологических и др. При возникновении стресса, если организм был не в состоянии обеспечить нормальное течение адаптационного синдрома, наступает стадия истощения и беременность прерывается. Кроме того, при стрессе происходит сокращение продукции гонадотропных гормонов и соответственно ослабление гормональной функции яичников. В результате сильных гормональных нарушений в регуляции половой системы беременность прерывается. Повышенная концентрация адреналина и дезоксикортикостероидов наблюдаемая при стрессе, ослабляет или нейтрализует действие окситоцина и эстрогенов плаценты, поэтому погибший плод часто остается на более или менее длительное время в полости матки.

5. Маститы, их классификация и профилактика

осеменение коневодство аборт мастит

Мастит - это воспаление молочной железы, возникающее в ответ на действие болезнетворных факторов и характеризующееся патологическими изменениями как в тканях, так и в секрете молочной железы.

Маститы наблюдают у всех сельскохозяйственных животных в любое время года.

По клиническим признакам, отражающим характер воспалительного процесса, наиболее приемлемой для практики считают классификацию маститов по А.П. Студенцову. Ученый выделяет серозный мастит; катаральный (катар молочных ходов и цистерны и катар альвеол); фибринозный; гнойный (гнойно-катаральный, абсцесс и флегмона вымени); геморрагический; специфический (ящур, туберкулез и актиномикоз вымени); а также осложнения маститов (индурация и гангрена вымени).

По течению различают острый мастит (до 10 дней), подострый (до 3 нед) и хронический (свыше 3 нед).

В зависимости от стадий проявления воспаления выделяют мастит клинический - с ясно выраженными признаками воспаления и скрытый (субклинический) - без заметных симптомов болезни, который выявляют при исследовании молока.

Возникающим в вымени воспалительным процессам не свойственны ни стабильность, ни строгое течение по определенной схеме. Они могут легко переходить из одного вида в другой и принимать смешанный характер. Например, серозный мастит при переохлаждении вымени или под влиянием других причин может перейти в серозно-фибринозный или флегмону вымени; катаральный мастит часто представляет собой начальную стадию гнойно-катарального и т.д.

Острые маститы. Встречаются чаще в период раздоя.

Серозный мастит характеризуется выпотом серозного экссудата в подкожную клетчатку, междольковую и межуточную ткан и вымени.

Катаральный мастит характеризуется поражением эпителия слизистой оболочки молочной цистерны, молочных ходов и каналов, а также железистого эпителия альвеол. В зависимости от локализации воспаления различают: катар цистерны и молочных ходов или катар альвеол.

Фибринозный мастит - это воспаление вымени, при котором в толще его тканей, а также в просвете альвеол и молочных протоков откладывает фибрин.

Гнойно-катаральный мастит - это воспаление молочных протоков и альвеол вымени с выпотеванием гнойного экссудата.

Абсцессы вымени характеризуются образованием одиночных или множественных гнойничков, последние могут быть рассеяны в тканях пораженной четверти вымени или сгруппированы на одном или нескольких участках, иногда они сливаются между собой и расплавляют паренхиму железу.

Флегмона вымени - это разлитое гнойное или гнойно-гнилостное воспаление подкожной клетчатки и межуточной соединительной ткани вымени, возникающее в результате осложнения серозного мастита, абсцессов и травм вымени.

Геморрагический мастит - это острое воспаление вымени, характеризующееся множественными кровоизлияниями и пропитыванием тканей вымени геморрагическим экссудатом.

Основу профилактики маститов должны составлять следующие мероприятия.

Организуют рациональное кормление животных, исключающее возможность нарушения обмена веществ и появления желудочно-кишечных расстройств и кормовых интоксикаций.

Соблюдают гигиенические нормы содержания животных: организуют ежедневные прогулки, не допускают скученного размещения животных, создают для них условия, исключающие возможность травмирования молочной железы, поддерживают чистоту в помещениях, где содержатся лактирующие самки, регулярно чистят животных и бесперебойно обеспечивают их чистой сухой подстилкой, изолируют животных с гнойными выделениями, про водят текущую и профилактическую дезинфекцию скотных дворов.

Своевременно (за 60 дней до отела) и правильно запускают коров. Если перед запуском удой не превышает 3…4 кг в день, то корову прекращают доить сразу, при этом ограничивают дачу сочных и концентрированных кормов наполовину. Высокопродуктивных коров запускают постепенно, с трехкратного доения их переводят на двукратное, а через 5…6 дней начинают доить по одному разу в день, затем через день, а когда удой снизится до 2 кг, доение прекращают. У коров, которые трудно запускаются, полностью исключают из рациона сочные и концентрированные корма и ограничивают водопой. Через 7…10 дней после запуска следует обследовать вымя клиническим методом с пробным сдаиванием содержимого для исследования на мастит.

За 7…10 дней до отела коров переводят в родильное отделение. Организуют контроль за течением родов и послеродового периода, своевременно оказывают животным акушерскую помощь при патологических родах, задержании последа и принимают другие меры, способствующие предупреждению послеродовых заболеваний половых органов самок.

Соблюдают правила доения, ухода за молочной железой, в частности рекомендуют следующее:

строго подбирать группы коров для машинного доения с учетом строения сосков вымени и равномерности молокоотдачи из всех его четвертей. Наиболее желательная форма вымени ваннообразная, чашеобразная, с сосками средних размеров (6…8 см), цилиндрической формы, расположенными под прямым углом к железе. Перед постановкой на машинное доение необходимо проверить коров на заболевание маститом;

доить в строго определенное время, в случае привязного содержания коров соблюдать очередность доения;

тщательно обмывать вымя проточной теплой водой из шланга с распылителем за 1…2 мин до доения и затем вытирать вымя полотенцами разовыми бумажными или хлопчатобумажными, но пропитанными 1%-м раствором хлорамина;

после обмывания делать массаж вымени, осторожно разминая и поглаживая его ладонями в течение 30…40 с, и только после этого приступать к доению. Первые струйки молока необходимо сдоить в отдельную посуду; для ручного доения рекомендуют кулачный способ, но если соски короткие, разрешается доить «щипком»;

при машинном доении, если температура в помещении ниже 10°С, перед тем как надеть на соски доильные стаканы, последние необходимо подогреть, погрузив в ведро с теплой водой (температура 40…45°С);

поддерживать вакуум в вакуум-проводе во время доения при использовании трехтактных аппаратов в пределах 380…440 мм рт. ст., двухтактных - 360…380 мм, а доильной установки «Молокопровод-100» (200), «Даугава» - 450…500 мм рт. ст.;

после прекращения молокоотдачи вначале выключить вакуум и только после этого снимать доильные стаканы с сосков легким потягиванием за коллектор. Нельзя оставлять доильные стаканы на сосках после окончания молокоотдачи (доить 5…6 мин);

окончив доение, соски вытереть и смазать медицинским вазелином или специальной антисептической эмульсией, чтобы предупредить высыхание кожи и образование трещин;

регулярно мыть и дезинфицировать доильную аппаратуру. Закончив доить всю группу коров, аппараты промыть теплой (25…30°С) чистой водой, моюще-дезинфицирующими растворами (1%-м гипохлорита натрия, 0,5%-м дезмола, порошка А, Б, В или кальцинированной соды и др.) и горячей водой. Один раз в сутки следует разбирать и мыть коллектор;

постоянно контролировать состояние доильных аппаратов, регулярно заменять сосковую резину;

соблюдать правила гигиены;

регулярно, не реже 1 раза в месяц, всех дойных коров проверять на скрытые маститы и своевременно их лечить. Коров со скрытыми маститами следует доить в последнюю очередь и только вручную с соблюдением предосторожностей, чтобы исключить перенос инфекции на других животных.

6. Хранение, транспортировка, способы оттаивания и правила использования замороженной спермы

Хранение спермы вне организма, цель которого - увеличить срок выживаемости спермиев и сохранить оплодотворяющую способность спермы при хранении в замороженном или незамороженном состоянии, основано на снижении интенсивности обменных процессов в сперме, иными словами, на создании условий, при которых спермин впадают в анабиоз.

Разработаны различные методы хранения спермы: кратковременное хранение (спермы быков, баранов, хряков и жеребцов) при температурах выше 0°С и длительное хранение в жидком азоте (спермы быков и жеребцов).

Хранение спермы быка и барана при 2…5°С. Свежеполученную сперму быков и баранов после оценки ее качества разбавляют средой, снова проверяют под микроскопом активность спермиев и фасуют.

Слишком быстрое охлаждение спермы приводит к гибели спермиев от температурного шока. Поэтому фасованную сперму охлаждают до температуры 2…50С постепенно - в течение 2…3 ч. Для этой цели разбавленную сперму быка вначале помещают в стеклянный стакан с теплой водой (30°С), а затем переносят на водяную баню (220С) на 20 мин, после чего фасуют при комнатной температуре.

Сперму барана (фасованную) выдерживают при комнатной температуре 10…15 мин. Ампулы, пробирки или флаконы обертывают слоем ваты или упаковывают в поролоновые амортизаторы, помещают в полиэтиленовые или резиновые мешочки, которые герметически закрывают, и постепенно охлаждают до 2…5°С в бытовом электрохолодильнике или в пищевом термосе со льдом. Упаковку со спермой кладут на лед или обкладывают ее льдом со всех сторон.

Разбавленную сперму быка, сохраняемую при 2…50С, используют для искусственного осеменения коров и телок в течение 3 сут при активности спермиев не ниже 7 баллов; сперму барана используют в течение 1 сут, иногда 36 ч при активности спермиев не ниже 8 баллов.

Хранение спермы быка при температуре 2…200С. Были предложены синтетические среды, благодаря которым можно сохранять сперму при сравнительно высоких температурах, например разбавитель ТВТ-12 (температура хранения от 15 до 180С), а также сульфатная среда НСС (температура хранения от 2 до 20°С).

Хранение спермы жеребца при 2…50С. Разбавленную сперму жеребца после повторной проверки на активность спермиев фасуют в стерильные стеклянные баночки объемом 50…100 мл и закрывают притертыми пробками, которые закрепляют резиновым кольцом. Баночку со спермой помещают в трехслойный марлевый или полиэтиленовый мешочек и переносят в термос со льдом. Для хранения и перевозки спермы используют термос конструкции Всесоюзного научно-исследовательского института коневодства. Сперму жеребца, сохраненную при температуре 2…5°С, можно использовать для осеменения кобыл в течение 48 ч.

Хранение спермы хряка при 16…200С. Полученную сперму разбавляют средами ГХЦС или ГХЦ, оценивают активность спермиев. Сперму разливают в стеклянные колбы или полиэтиленовые флаконы, которые негерметично прикрывают целлофаном или пергаментной бумагой и хранят в темном месте при температуре 16…20°С. При более низкой температуре (но не ниже 6°С) сперму разбавляют ГХЦСЖ или ГХЦЖ. Сперму, сохраняемую при плюсовых температурах, используют для осеменения свиноматок в течение 3 сут при активности спермиев не ниже 6 баллов.

При температурах выше 0°С обменные процессы в сперме хотя и замедляются, но не прекращаются. Продолжается накопление вредных продуктов распада и начинается процесс разрушения передней части головки спермия - акросомы, которая выполняет важную функцию при оплодотворении яйцеклеток.

Удлинить сроки хранения спермы можно путем еще большего замедления обменных процессов, для чего необходимо охладить ее до отрицательных температур. Но уже при -0,6°С сперма начинает замерзать, а спермии погибают. Основная причина гибели - кристаллическое замерзание воды. Теоретической основой метода быстрого замораживания спермы послужила гипотеза о возможности стеклообразного некристаллического замерзания (витрификация) биологических объектов (в том числе и спермы).

Если сперму охлаждать медленно, то вся вода, содержащаяся в ней, успеет превратиться в ледяные кристаллы и спермии погибнут. При очень быстром охлаждении удается «проскочить» опасную температурную зону кристаллизации и достичь зоны витрификации, где протоплазма спермиев затвердевает как единое целое, без вымерзания воды и образования кристаллов льда; при этом сохраняется тонкая структура протоплазмы и ядра. Глубокое охлаждение спермы до температуры жидкого азота достигается в течение нескольких минут.

Замораживание спермы быка. Для замораживания в жидком азоте пригодна сперма с концентрацией спермиев не менее 0,8 млрд/мл и активностью не ниже 8 баллов. На фторопластовых пластинах в форме гранул сперму замораживают так. После получения и оценки сперму разбавляют лактозо-желточной средой с глицерином. Среду подогревают до 30…350С. Сперму разбавляют в 2… 10 раз и более в зависимости от объема гранул. Если объем гранул 0,1…0,2 мл, то необходимы меньшие степени разбавления, и тогда на пункте искусственного осеменения сперму перед использованием надо разбавить: для этого гранулы размораживают во флаконе с 1 мл 2,9%-го раствора цитрата натрия, подогретого до 38…400С. Сперму, предназначенную для размораживания в гранулах объемом 0,5 мл, разбавляют в 10 раз и более и перед осеменением больше не разбавляют. Для осеменения коров две гранулы помещают в стерильный флакон и погружают его в теплую воду (38…40°С).

Разбавленную сперму охлаждают до 2…5°С в течение 3…4 ч, а затем разливают градуированными пипетками, полиэтиленовым шприцем или разливочной машиной в лунки охлажденной в жидком азоте фторопластовой пластины. Пластину выдерживают над поверхностью жидкого азота на расстоянии 5…10 см в течение 1,5…2 мин, а затем погружают ее в жидкий азот на 1…2 мин. После замораживания спермы пластину вынимают из жидкого азота, гранулы собирают в сачок или контейнер и пересыпают в охлажденный контейнер, который помешают в сосуд Дьюара с жидким азотом для хранения. Уровень азота в сосудах должен быть значительно выше чашек с замороженной спермой. Перед осеменением из чашек пинцетом достают охлажденные до -1960С гранулы, размораживают их, оценивают активность спермиев и используют для осеменения коров при активности спермиев не ниже 4 баллов.

В облицованных гранулах (но Остатка) (рис. 5) замораживают свежеполученную сперму, разбавленную средами №1 и 2. Приготовленные среды наливают в стерильные полиэтиленовые флаконы по 200…400 мл, которые подсоединяют к специальному устройству для разбавления. Сперму сначала разбавляют средой №1 в соотношении 1:1 и выдерживают при комнатной температуре 5…10 мин, затем средой №2 до требуемой концентрации (15 млн в дозе).

Сперму разбавляют с помощью специального устройства, благодаря которому можно дозировано вводить среды в отдаленную часть одноразового полиэтиленового спермоприемника со спермой.

Рис. 5 Схема замораживания спермы в облицированных гранулах (по Ф.И. Осташко):

- спермоприемник; 2 - дозирующее устройство; 3 - перефасовка спермы в тонкостенную трубку; 4 - дозирующий аппарат для герметизации спермы; 5 - замораживание спермы; 6 - инструмент для осеменения коров

Спермоприемник соединяют с тонкостенной полимерной трубкой диаметром 3,8…4 мм и толщиной стенки 120 мкм, выдавливают в нее разбавленную сперму. Заполненную спермой трубку разделяют с помощью автомата ПРЖ на дозы 0,25…0,33 мл и герметизируют путем термической сварки. Облицованные (герметизированные) гранулы помещают в алюминиевые тубы, которые закрывают поролоновыми пробками и закрепляют в обоймах специального устройства для эквилибрации и замораживания спермы. Устройство помещают в холодильник и выдерживают при 2…5°С 4…6 ч, затем обойму аппарата с тубами погружают в жидкий азот на 8… 10 мин, после чего переносят на длительное хранение в сосуд Дьюара.

Активность спермиев после замораживания спермы проверяют через 24 ч. Из каждой тубы берут по одной грануле и помешают в воду температурой 400С. Упаковку гранулы вытирают марлевой салфеткой, вскрывают ножницами и определяют активность спермиев. Для дальнейшего хранения в жидком азоте допускают сперму с активностью спермиев не ниже 4 баллов. При хорошем качестве спермы тубы закрывают поролоновыми пробками, отсоединяют от обоймы и помещают в сосуды Дьюара с жидким азотом.

В полипропиленовых трубочках, или соломинках (пайеттах), замораживают сперму, предварительно разбавленную средой ЛФРМГЖ с таким расчетом, чтобы после оттаивания в соломинке содержалось не менее 15 млн подвижных спермиев. Каждую соломинку маркируют: указывают наименование предприятия, кличку и номер быка, дату получения спермы. Разбавленную сперму расфасовывают по 0,25 мл с помощью машины, которая автоматически наполняет спермой соломинки и закупоривает их с обоих концов стерильными шариками. Один шарик служит пробкой-поршнем, а другой герметизирует соломинку.

Можно использовать вакуумный способ. Соломинки с одного конца закупоривают пробкой-поршнем, связывают в пачку и подвешивают к штативу специальной вакуумной камеры. На поддон камеры ставят стакан со спермой и откачивают насосом воздух до давления 0,92 атм, затем насос выключают, при помощи ручки поднимают поддон со спермой так, чтобы открытые концы соломинок погрузились в сперму на 4…5 мм, и в камеру медленно впускают воздух, который нагнетает сперму в соломинки. Затем соломинки раскладывают на штативе с 125 пазами. Счетную рейку заполнят соломинками легким движением ладони руки. Штативы с соломинками кладут в пластмассовые коробки, которые переносят в холодильник, и выдерживают при 40С в течение 3…4 ч. После охлаждения оценивают подвижность спермиев и к замораживанию допускают сперму с активностью не ниже 8 баллов. Сперму замораживают в газообразном азоте на медном сите в стационарном хранилище КВ-6202 при температуре - 120-130°С в течение 5 мин. В пластмассовые стаканы помещают по 500 соломинок и хранят в стационарном хранилище в жидком азоте при температуре -196 0С. Для транспортирования спермы на пункты искусственного осеменения используют другие пластмассовые стаканы на 150 доз спермы, которые хранят в сосудах Дьюара в жидком азоте. Для осеменения берут сперму не раньше 14…20 дней после замораживания.

Замораживание спермы жеребца. Перед замораживанием сперму жеребца разбавляют в 4 раза лактозо-хелато-цитратно-желточной (ЛХЦЖ) или лактозо-желточно-сульфатной (ЛЖС) средой. Разбавленную сперму разливают по 25 мл в охлажденные алюминиевые пакеты, плотно закрывают и замораживают в парах над жидким азотом на пенопластовом поплавке на расстоянии 1…2 см от поверхности в течение 5…7 мин, а затем пакеты переносят в жидкий азот. При замораживании спермы в виде гранул ее наносят по 0,2 мл в лунки плашки, помещенной на сухой лед. Через 5 мин замороженные гранулы собирают, упаковывают в алюминиевые тубы или пластмассовые стаканы и помещают на хранение в сосуд с жидким азотом.

Для перевозки спермы используют различной конструкции сосуды Дьюара и термосы. Для перевозки в жидком азоте применяют специальные стальные двустенные сосуды на 4…50 л с вакуумно-порошковой либо вакуумной многослойной изоляцией: АТ-4, АТ-6, СДС-20 м, СДС-50, «Харьков-34А» и др. Суточный расход жидкого азота в них колеблется от 5 до 10%, в зависимости от размеров сосуда. Правила обращения с ними такие же, как и с жидкоазотными хранилищами большого объема. При транспортировании замороженной спермы самое главное - постоянно поддерживать низкую температуру.

В хозяйстве при получении сосуда с замороженной спермой прежде всего выясняют, достаточно ли в сосуде хладагента, то есть покрыты ли ампулы им сверху. Хранить сперму без хладагента нельзя; размороженную сперму можно использовать только в ближайшие часы.

Если в хозяйстве на пункте искусственного осеменения есть сосуд с жидким азотом, где хранится замороженная сперма, то кассеты или канистры с гранулами, пакеты со спермой в капиллярах-соломинках быстро переносят из одного сосуда в другой, соблюдая технику безопасности.

Обычно со станции искусственного осеменения сперму производителей доставляют на пункты автотранспортом, нередко используют авиа- и железнодорожный транспорт. Основные правила при перевозках спермы: предохранить термосы и сосуды от тряски, не допустить их повреждения и нарушения температурного режима. Сперму важно доставить в возможно короткие сроки. Вместе со спермой в хозяйство направляют в двух экземплярах ордер (один возвращают на станцию), в котором указывают качество спермы. При перевозках по железной дороге или самолетом термосы, упаковки со спермой пломбируют и снабжают этикетками с указанием места назначения и адреса отправителя.

Для перевозки спермы производителей в хозяйства и хранения ее на пунктах при 0…4 и 5…20°С используют термосы разной конструкции (термосы-ящики, бытовые сумки-холодильники), чаще пищевые термосы - двустенные стеклянные колбы с безвоздушным пространством между стенками, помещенные в пластмассовый или жестяной футляр. Колбу закрывают корковой пробкой и крышкой. Пищевые термосы хорошо сохраняют температуру, но они очень хрупки.

Сперму быков и баранов при температуре хранения 0…5 0С перевозят в широкогорлых пищевых или пластмассовых термосах.

Полиэтиленовый термос (конструкции ВИЖ и др.) представляет собой двустенный сосуд на 3,7 л из полиэтилена с порошково-вакуумной термоизоляцией. Температура 2…4°С поддерживается в нем в течение 2 ч. Пробирки, ампулы, флаконы со спермой укладывают в вату или специальные поролоновые амортизаторы. Последние вместе с ордером помещают в прозрачные полиэтиленовые мешочки, которые запаивают, укладывают на лед термоса и сверху кладут небольшое количество льда или снега температурой 0 0С. При более низких температурах спермии погибают.

При транспортировке спермы зимой следует учитывать, что при температуре воздуха ниже -5 0С необходимо утеплить термос.

Для перевозки разбавленной спермы быков и баранов и хранения ее при 10…18 0С используют те же термосы, но заполненные прохладной водой; для поддержания указанной температуры добавляют кусочки льда.

Разбавленную сперму хряков транспортируют в термосах различных конструкций («Харьков ТС-3», поролоновый термос, термос-ящик «Полтавский» или бытовые сумки-холодильники и др.). Сперму, предназначенную для хранения при 10…20 0С перевозят так: колбы (бутылочки, флаконы) со спермой плотно закрывают пергаментной бумагой или целлофаном, закрепляют на горлышке резиновым кольцом и помещают в термос. После доставки спермы на место с колбы снимают резиновое кольцо и хранят сперму негерметически закрытой.

Сперму жеребцов после разбавления транспортируют при температуре 0…5 0С в баночках (50…100 мл) или флаконах из-под антибиотиков с притертыми пробками (последние фиксируют резиновым кольцом), погруженных в термос со льдом (конструкции ВНИИК и др.). Чтобы сперма охлаждалась постепенно, сосуды предварительно помещают в полиэтиленовые или марлевые мешочки, обернув тонким слоем ваты. Сверху кладут лед тонким слоем и закрывают термос крышкой.

Правила техники безопасности при работе с жидким азотом. Работать нужно в защитных очках, кожаных рукавицах или перчатках. Попадание жидкого азота на незащищенные участки кожи вызывает ожог (обморожение). Попавший на открытый участок тела жидкий азот надо немедленно смыть водой. Заливая азот в неохлажденный сосуд, нельзя заглядывать в горловину последнего, так как есть риск того, что может произойти выброс жидкости азота вследствие образования большого количества газа. Повышенная концентрация азота в воздухе вызывает головную боль, головокружение и даже потерю сознания, поэтому помещения, где хранят жидкий азот, оборудуют приточно-вытяжной или принудительной вентиляцией. Если пострадавший в обморочном состоянии, его немедленно выносят на свежий воздух.

Во время эксплуатации сосуда Дьюара нельзя плотно закрывать его горловину, так как при испарении жидкого азота и прекращении выхода газа в атмосферу будет создаваться повышенное давление внутри сосуда и он может взорваться. Сосуды Дьюара с жидким азотом при транспортировании необходимо хорошо закреплять, чтобы избежать их падения и возможного взрыва. Сосуды, предназначенные для перевозки авиатранспортом, заливают жидким азотом на половину гидравлической емкости. Чтобы предотвратить накопление взрывоопасной смеси в сосуде от обогащения жидкого азота кислородом, содержание последнего контролируют с помощью переносного газоанализатора ГХП-3. Анализ необходим в хранилище 1 раз в год, а в сосудах на пунктах 1 раз в 6 мес. Если содержание кислорода достигло 15%, сосуд опорожняют в месте, очищенном от предметов органического происхождения: дерева, бумаги, тряпок, навоза и пр.

Санитарно-гигиенические требования к перевозке спермы. Цель их - профилактика заразных болезней. Инструменты, термосы и посуду после обеззараживания возвращают на станцию, где их вновь стерилизуют. Особенно за этим надо следить при обслуживании неблагополучного по инфекционным болезням хозяйства (кампилобактериоз, трихомоноз и др.); в данном случае их обеззараживают в обособленном помещении; мягкий упаковочный материал (бумагу, стружку и пр.) немедленно сжигают. Выполнение работ контролирует ветеринарный персонал.

На пунктах искусственного осеменения оценивают только активность движения спермиев. Для проверки качества спермы, сохраняемой при температуре 2-5°С, открывают термос, берут из флакона каплю спермы, кладут на предметное стекло и исследуют под микроскопом подвижность спермиев. Пробу надо брать быстро, чтобы не допускать нагревания спермы.

Исследуют сперму при температуре 40-41 0С, для этого используют обогревательные столики различных конструкций (В.А. Морозова и др.) или термостаты. Нельзя подогревать предметное стекло на пламени спиртовки или другими методами без контроля температуры. При активности спермиев быка ниже 7 баллов, барана - 8. жеребца - 5 и хряка - 6 баллов сперму не используют для осеменения.

Порядок оттаивания замороженной спермы приведен в таблице 2. Оттаянную сперму в любой расфасовке вынимают из водяной бани и оставляют при температуре 18-20 0С до использования, но не более 10-15 мин. Вновь замораживать оттаянную сперму нельзя. Подвижность спермиев в оттаянных необлицованных гранулах определяют так же, как в сперме, сохраненной при температуре 2-5°С. Оболочку упаковки доз спермы в облицованных гранулах 2 после оттаивания гранул насухо вытирают марлевой салфеткой, край упаковки зажимают между двумя предметными стеклами с помощью специальных кается использование оттаянной специальных пружинных зажимов пли бельевых прищепок. Ставят на обогревательный столик микроскопа под малое увеличение и просматривают спермии через пленочную упаковку. Допускается использование оттаянной спермы с подвижностью спермиев не ниже 3 - 4 баллов для коров и телок, 4 баллов для овец и 2 баллов для кобыл.

Таблица 2. Оттаивание замороженной спермы

Вид животно-го

Фасовка спермы и доза

Температура оттаивания, 0С

Порядок оттаивания

Продолжительность оттаивания

Бык                        Баран       Жеребец

Необлицованные мелкие гранулы по 0,1-0,2 мл      Необлицованные крупные гранулы по 0,5 мл   Облицованные гранулы по 0,25 мл   Соломинки по 0,25 мл       Гранулы по 0,2 мл       Алюминиевые пакеты по 25 мл    Гранулы по 0,5 мл

40 - 42        40 - 45     40    38       70 - 80       40     40

Ампулу или флакон с 0,8-1 мл 2,9%-ного стерильного раствора цитрата натрия помещают в водяную баню на 2 -3 мин, затем в теплый раствор опускают одну гранулу Выдержав в водяной бане 2 - 3 мин стерильный флакон, в него опускают две гранулы Дозу спермы пинцетом с широкими браншами опускают в водяную баню Соломинки погружают в водяную баню заводской пробкой вниз, оставляя верхний конец ее на 0,5-1 см выше поверхности воды В разогретый водяной или электрический оттаиватель засыпают одновременно до 20 гранул; оттаявшая сперма стекает в стерильный флакон Удерживают пакет пинцетом, его погружают в водяную баню и слегка покачивают В стерильную коническую колбу быстро насыпают гранулы в один слой и погружают в колбу в водяную баню

5-8        90 - 120     8 - 10    10-11       До полного оттаивания      45 - 50     До полного оттаивания



Не нашли материал для своей работы?
Поможем написать уникальную работу
Без плагиата!
Без нейросетей!